Разработка проекта по внедрению новых композиционных материалов на основе карбонитрида титана
Разработка проекта по
внедрению новых композиционных материалов на основе карбонитрида титана
1. Специальная часть
1.1 Общая характеристика предприятия ЗАО
«Чудовоагрохимсервис»
Государственное свидетельство о регистрации ЗАО «Чудовоагрохимсервис»
было получено 29 декабря 1995 года. До 1998 года ЗАО «Чудовоагрохимсервис» в
основном занималось хранением и распределением удобрений. Чтобы предоставить
клиентам максимально удобные условия обслуживания, предприятие стало заниматься
минеральными удобрениями, средствами химической защиты растений, техникой,
запчастями, авторезиной.
В 2000 году было создано предприятие ЗАО «ФТК «Агротрейд»,
где специалисты не только продают товар, но и организуют обучение,
консультируют, всегда находятся на связи с партнерами и клиентами.
На сегодняшний день ассортимент компании ЗАО
«Чудовоагрохимсервис» насчитывает более 6000 наименований групп товаров. С 2010
года были налажены поставки с 49 регионами России и ближнего зарубежья:
Беларусь, Армению, Казахстан, Молдову.
Для удобства работы, снижения расходов на транспорт,
повышения качества доставки грузов клиентам была создана компания ООО
«Новгород-Экспресс». Сотрудники этой компании отвечают за бесперебойную
доставку сырья на производство по железной дороге и отгрузку клиентам готового
товара вагонами, контейнерами своим и наемным автотранспортом.
С 2007 года функционирует розничная сеть магазинов «Садовод»,
где можно заказать весь спектр агрохимии от ведущих производителей. В наличии
также имеется большой выбор семян, товаров для сада и огорода.
Средняя численность персонала на ЗАО «Чудовоагрохимсервис»
постоянно растет, по сравнению с 2011 годом она увеличилась на 10%. Списочная
численность персонала на конец 2012 года составляла 129 человек, а на 1 января
2013 года 133 человека.
Рисунок 1 - Численность сотрудников в ГК
«Чудовоагрохимсервис»
Во главе предприятия находится генеральный директор, которому
непосредственно подчинены следующие должностные лица: директор по сбыту и
логистике, директор по региональному развитию, директор по развитию компании,
директор по экономике и финансам, генеральный директор ОАО «Бовис».
В настоящее время ЗАО «Чудовоагрохимсервис», как сервисный
центр, аккредитован на право проведения гарантийного и сервисного обслуживания
на таких заводах, как «Ростсельмаш», «Амкодор», «Клевер», «Силовые агрегаты -
Группа ГАЗ», «Агрекс» и других.
Миссия компании ЗАО «Чудовоагрохимсервис» состоит в
содействии результативной работе российских сельхозтоваропроизводителей, путем
предоставления комплексного обслуживания, поставок техники и удобрений,
качественных услуг и сервиса. А также в создании долгосрочных и взаимовыгодных
отношений с потребителями услуг, для более быстрого продвижения современных
технологий и передового опыта в сфере сельского хозяйства.
Для компании всегда остается приоритетным вопрос о
комплексном обеспечении сельхозпроизводителей средствами химизации и
агрохимического обслуживания. Для этого, разработаны индивидуальные варианты
работы с каждым потребителем.
Одной из приоритетных задач компании является поставка
техники:
комбайны, трактора, опрыскиватели;
кормозаготовительная техника;
почвообрабатывающая, посевная техника;
оборотные плуги;
кормозаготовительная, почвообрабатывающая техника;
разбрасыватели удобрений;
техника с пробегом.
Группа компаний «Чудовоагрохимсервис» уже на протяжении
нескольких лет занимается реализацией полного ассортимента автошин и запчастей
всех российских и импортных производителей.
В компании «Чудовоагрохимсервис» имеется весь спектр агрохимии
от ведущих производителей. В наличии большой выбор семян, товаров для сада и
огорода. Также продукция собственного производства отличного качества -
торфогрунты, удобрения классические азотные, фосфорные, калийные.
Компания «Чудовоагрохимсервис» предлагает универсальные и
специализированные субстраты различной степени сложности для выращивания
растений, как в домашних условиях, так и на даче.
ЗАО «Чудовоагрохимсервис» непрерывно развивающаяся
организация, которая непосредственно связанна с реализацией проектов по
обеспечению потребителей всем необходимым для получения материальных доходов и
морального удовлетворения от сельскохозяйственной деятельности, начиная
дачниками и заканчивая агрохимическими холдингами.
1.2 Анализ работы сервисного центра
После создания отдела по поставкам сельскохозяйственной
техники, специалисты ЗАО «Чудовоагрохимсервис» пришли к выводу о том, что
техника требует, как минимум, предпродажной подготовки перед реализацией её
клиенту. В связи с этим в 2006 году было принято решение о введении должности
сервисного инженера в отделе поставок сельскохозяйственной техники. А с
увеличением поставок сельскохозяйственной техники увеличился штат сервисных
специалистов, и впоследствии сервис был выделен в отдельную службу.
Специалисты компании обеспечивают ввод техники в
эксплуатацию, её предпродажную подготовку, настройку и обучение специалистов.
Сервисные инженеры выполняют ремонт любой сельскохозяйственной техники, а
именно, лемехов плугов, ковшей экскаваторов, культиваторов и др., дорожно-строительной
или коммунальной техники с выездом к клиенту.
Специалисты сервисной службы строго соблюдают технологические
условия ремонта, установленные заводом-изготовителем техники. При выполнении
всех видов работ используется только специализированное оборудование и
инструмент, что дает возможность добиваться высокого качества при проведении
технического обслуживания и ремонта.
Таблица 1 - Расценки на выполнение работ сервисной службы
|
Наименование
работ
|
Единица
измерения
|
Сумма
|
|
Диагностические
работы
|
руб./час
|
700
|
|
Плановое
техническое обслуживание с/х техники (регламентные работы)
|
руб./час
|
900
|
|
Проведение
пуско-наладочных работ с/х техники, текущий ремонт
|
руб./час
|
1 000
|
|
Капитальный
ремонт с/х техники (узлов, частей агрегатов)
|
руб./час
|
1 100
|
|
Работы с
выездом специалиста к заказчику
|
руб./час
|
1 000
|
При выезде на расстояние более 100 км исходя из расчета - 12
руб./км, удаленности места проведения работ. Работа в выходные дни оплачивается
по двойному тарифу.
В собственности предприятия находится 7 помещений общей
площадью 2568 кв. м. К ним относятся:
моечно-очистительный - 70 кв. м.;
контрольно-диагностический участок - 57 кв. м.;
участок ТО и текущего ремонта - 310 кв. м.;
участок ремонта двигателей - 70 кв. м.;
участок ремонта агрегатов - 75 кв. м.;
участок ТО и ремонта топливной аппаратуры - 45 кв. м.;
участок ТО и ремонта электрооборудования - 17 кв. м.;
испытательный участок - 30 кв. м.;
участок консервации - 53 кв. м.;
складские помещения - 430 кв. м.
Основные задачи, стоящие перед сервисным центром:
1) прием техники по качеству;
2) погрузочно-разгрузочные работы;
) проведение предпродажной подготовки техники;
) проведение технического обслуживания;
) осуществление гарантийного ремонта техники;
) проведение обязательного обучения механизаторов,
эксплуатирующих технику.
Основные виды деятельности отдела:
1) продажа сельскохозяйственной техники зарубежных и
отечественных производителей, и поставка техники для коммунального хозяйства;
2) пуско-наладка техники в работу;
) разработка (в перспективе) готовых технологий с
обоснование выбора той или иной техники;
) получение дохода от работы сервисных специалистов;
5) плановые технические обслуживания;
6) межсезонные технические обслуживания;
) постановка и снятие техники с длительного хранения.
Штат сервисной службы сейчас составляет 12 человек, в
распоряжении которых находится 3 автомобиля, два из которых - это специально
оборудованные для проведения выездных ремонтов в поле.
Организационная структура отдела
Рисунок 2 - Организационно-правовая структура отдела
В зависимости от степени мобильности и назначения
обязательного оборудования для оснащения сервисных центров компании весь
перечень разделен на 5 групп:
а) стационарное оборудование - предназначено для использования
на базе сервисного центра для проведения предпродажной подготовки и сложного
ремонта крупных агрегатов;
б) транспортируемое оборудование - предназначено для
проведения предпродажной подготовки и сложного ремонта крупных агрегатов с
возможностью транспортировки оборудования к месту ремонта;
в) транспортные средства - включают автомобили для выезда
сервисной бригады для проведения гарантийного ремонта и технического
обслуживания техники с необходимым оборудованием;
г) оргтехника - оборудование, предназначенное для
подготовки и передачи информации об отказах гарантийной техники;
д) мобильное оборудование - предназначено для обязательной
комплектации сервисных автомобилей. Кроме того, один комплектом мобильного
оборудования обязательно находится на базе сервисного центра. Для сервисных
центров с парком гарантийной техники более 100 машин на базе хранится 2
комплекта инструмента данной группы.
Для определения соответствия стандарту сервиса службы,
введены критерии оценки сервисного центра в баллах от 1 до 10.
Таблица 2 - Критерии оценки сервиса службы
|
№
|
Критерии
оценки
|
Оценка в
баллах
|
|
1
|
Инфраструктура
предприятия
|
8
|
|
2
|
Персонал
сервисной службы
|
10
|
|
3
|
Инструмент,
оснастка, оборудование
|
5
|
|
4
|
Запасные части
|
8
|
|
5
|
Взаимоотношения
с потребителем
|
9
|
|
6
|
Взаимоотношения
с заводом-изготовителем
|
9
|
На основании вышеизложенной информации о работе сервисного
центра, проведем SWOT-анализ предприятия. Методика SWOT-анализа исключительно
эффективный, доступный, дешевый способ оценки состояния проблемной и
управленческой ситуации в организации, который позволяет выявить и
структурировать сильные и слабые стороны, а также потенциальные возможности и
угрозы. Достигается это за счет сравнения внутренней силы и слабостей
предприятия с возможностями, которые дает рынок.
Исходя из полученных результатов соответствия, делается вывод
о том, в каком направлении организация должна развивать свой бизнес, как
избежать опасностей и максимально эффективно использовать имеющиеся в
распоряжении ресурсы, попутно пользуясь предоставленными рынком возможностями.
Создает прекрасные предпосылки для разработки тактики конкурентной борьбы и
обеспечения конкурентных преимуществ.
Кроме того, результаты анализа и принятые на его основании
решения должны фиксироваться и накапливаться, т. к. накопленный структурированный
опыт является основой управленческой стоимости любой компании.
Таблица 3 - Сильные и слабые стороны отдела
сельскохозяйственной техники КГ «Чудовоагрохимсервис»
|
Сильные
стороны:
|
Слабые
стороны:
|
|
1) Узнаваемость
бренда как поставщика сельскохозяйственной техники; 2) Положительное
восприятие контрагентами; 3) Связи топ-менеджера компании в бизнес - среде
региона; 4) Коллектив и его возраст; 5) Оснащенность.
|
1) Нехватка
временных ресурсов для охвата всех клиентов региона (ревизионный объезд
сервисной службой и т.д.); 2) Нет своего каталога техники; 3) Коммуникация в
отделе не на должном уровне; 4) Отсутствие новых технологий осуществления
ремонтно-восстановительных работ и соответствующей техники.
|
Таблица 4 - Возможности и угрозы отдела сельскохозяйственной
техники КГ «Чудовоагрохимсервис»
|
Возможности:
|
Угрозы:
|
|
1)
Ленинградская область, Псков и Тверь, Смоленск, Брянск - новые потенциальные
рынки сбыта; 2) Развитие направления внедрения инновационного оборудования;
3) Политика региона в отрасли сельского хозяйства.
|
1) Насыщение
рынка региона; 2) Изменение политики государства; 3) Предложение более
дешевых аналогов со стороны конкурентов; 4) Трудности внедрения новой
технологии.
|
Таблица 5 - Матрица SWOT-анализа отдела сельскохозяйственной
техники ГК «Чудовоагрохимсервис»
|
Возможности 1) Развитие направления внедрения
инновационного оборудования; 2) Политика региона в отрасли сельского
хозяйства.
|
Угрозы 1) Изменение политики государства; 2)
Предложение более дешевых аналогов со стороны конкурентов; 3) Трудности
внедрения новой технологии.
|
|
Сильные стороны 1) Узнаваемость
бренда как поставщика; сельскохозяйственной техники; 2) Положительное
восприятие контрагентами; 3) Коллектив и его возраст; 4) Оснащенность.
|
Увеличить
объемы продаж с/х техники и запчастей. Увеличить объем
ремонтно-восстановительных работ в Новгородской области в 2 раза.
|
Увеличить
прибыльность сделок за счет внедрения новых технологий.
|
|
Слабые стороны 1) Нехватка
временных ресурсов для охвата всех клиентов региона (ревизионный объезд сервисной
службой и т.д.); 2) Коммуникация в отделе не на должном
уровне; 3) Отсутствие новых технологий осуществления
ремонтовосстановительных работ и соответствующей техники.
|
Выпуск
конкурентоспособных изделий с повышенным ресурсом работы. Продление срока
службы деталей машин, механизмов, оборудования.
|
Улучшить
качество ремонта.
|
Исходя из результатов SWOT-анализа, на базе ГК
«Чудовоагрохимсервис» для укрепления своих позиций на рынке
сельскохозяйственных услуг, для привлечения новых потребителей, для выпуска
конкурентоспособных изделий с повышенным ресурсом работы, для продления срока
службы деталей машин, механизмов, оборудования (в том числе с/х техники, а
именно, лемехов плугов, ковшей экскаваторов и др.), предлагается внедрить новый
метод обработки изделий.
Основой метода является напыление на детали композиционных
материалов на основе карбонитрида титана. Данные покрытия могут использоваться
при изготовлении и восстановлении изделий методом высокоскоростного
газопламенного напыления, плазменной наплавки, детонационного упрочнения и др.
Таблица 6 - План развития сервисного центра с динамикой
|
№
|
Текущий балл
|
Категория
|
Динамика
развития СЦ, в баллах
|
|
1
|
0-30
|
2
|
10
|
|
2
|
30-50
|
1
|
7
|
|
3
|
50-80
|
1
|
3
|
|
4
|
>80
|
1
|
0
|
Применение любого из методов напыления приведет к сокращению
затрат за счёт применения современного метода ремонтно-восстановительных работ.
1.3 Композиционные материалы для упрочнения
поверхности металлов и сплавов
Порошковое напыление по праву считается одной из самых
современных технологий защиты металлоконструкций и восстановления изделий.
Образующиеся в процессе твердосплавные покрытия, по всем характеристикам
превосходят гальванические, а также имеют много преимуществ перед обычным
покрытием краской. В результате порошкового напыления образуется надежное,
долговечное покрытие, обладающее отличными эксплуатационными свойствами:
устойчивостью к коррозии;
повышенной износостойкостью;
высокой твердостью и др.
Такие покрытия увеличивают срок службы изделий на десятки
лет. При этом стоимость такого защитного покрытия гораздо меньше, чем
аналогичного гальванического. [1, С. 125]
Твердые растворы на основе карбидов и нитридов переходных
металлов имеют ряд свойств, выгодно отличающих их от исходных соединений. Так,
карбонитрид титана сочетает лучшие свойства карбида (твердость,
износостойкость, тугоплавкость) и нитрида (пластичность), хорошо смачивается
металлической связкой. Свойства карбонитрида титана позволяют использовать его
как основу для создания материалов, работающих в жестких условиях. [12, С. 185]
С другой стороны, выбор связующей матрицы оказывает
существенное влияние на возможность применения синтезируемых композиционных
материалов в процессах высокоскоростного газопламенного напыления,
микроплазменного и детонационного напыления.
С целью повышения уровня пластической деформации в твердых
сплавах, связующей фазе придают изменения формы за счет структурного фазового
превращения. Эффективным способом улучшения релаксационных демфирующих свойств
сплавов является применение никелида титана. Полученные сплавы имеют достаточно
высокую твердость 84 - 88 HRA, предел прочности на изгиб и предел прочности на
сжатие.
При создании многокомпонентных порошковых смесей в качестве
основы целесообразно использовать карбонитрид титана, а в качестве связующей
матрицы - металлы группы железа, легированные металлами группы хрома. [13, С.
212]
В качестве связующей матрицы были выбраны сплавы, химический
состав которых приведен в таблице 7.
Таблица 7 - Химический состав сплавов
|
№
|
Обозначение
сплава
|
Химический
состав в масс.%
|
|
|
|
Ni
|
W
|
Cr
|
C
|
Fe
|
|
1
|
1W
|
1,28
|
81,75
|
2,57
|
3,94
|
остальное
|
|
2
|
2W
|
2,07
|
75,17
|
3,8
|
3,62
|
- // -
|
|
3
|
3W
|
2,61
|
67,7
|
5,22
|
3,26
|
- // -
|
|
4
|
4W
|
3,4
|
59,21
|
6,82
|
2,85
|
- // -
|
|
5
|
5W
|
4,33
|
49,48
|
8,66
|
2,38
|
- // -
|
|
6
|
6W
|
4,5
|
47,7
|
9,0
|
2,3
|
- // -
|
Некоторые физико-механические свойства этих сплавов приведены
в таблице 8.
Таблица 8 - Физико-химические свойства сплавов
|
№
|
Обозначение
сплава
|
Тпл°С
|
Тсп°С
|
Ку
|
г г/см3
|
σизг кг/ мм2
|
НRA
|
|
1
|
1W
|
-
|
1390
|
1,219
|
-
|
106
|
87-88
|
|
2
|
2W
|
1330
|
1250
|
1,256
|
12,96
|
129
|
86-87
|
|
3
|
3W
|
1240
|
1200
|
1,252
|
12,16
|
130
|
85-86
|
|
4
|
4W
|
1200
|
1170
|
1,288
|
11,38
|
125
|
84-85
|
|
5
|
5W
|
1150
|
1120
|
1,216
|
10,59
|
140
|
83-84
|
|
6
|
6W
|
-
|
1200
|
1,29
|
-
|
113
|
73-77
|
где Тпл. - температура плавления состава;
Тсп. - температура спекания состава;
γ - плотность;
Ку - коэффициент усадки при спекании;
σизг - предел прочности при
изгибе;
НRА - твердость по Роквеллу шкала А.
Исходя из полученных данных по температурам плавления
исходных сплавов, выбранных в качестве металла связки, и их химических
составов, указанных в таблицах №6 и №7, можно предположить, что сплав 5W является эвтектическим
или близким к эвтектическому сплаву. При этом, этот сплав обладает самым
высоким пределом прочности при изгибе (σизг = 140 кг/мм2)
и достаточно высокой твёрдостью по Роквеллу, шкала А (HRA=83-84), а с другой
стороны, он имеет самую низкую температуру плавления (Тпл = 1150
°С).
Сплав с такими характеристиками был выбран для последующего
легирования им карбонитрида титана с целью получения композиционных материалов.
Были синтезированы композиционные материалы с 15 об.%, 30 об.% и 70 об.% карбонитрида
титана которые получили название 5W1, 5W2, 5W3 соответственно.
Применительно к ЗАО «Чудовоагрохимсервис» будет
использоваться метод высокоскоростного газопламенного напыления.
Высокоскоростное (сверхзвуковое) газопламенное напыление - одна из технологий
газотермического напыления защитных покрытий, при которой порошковый материал
на высокой скорости наносится на подложку.
Наиболее современной технологией напыления в настоящее время
считается именно высокоскоростное газопламенное напыление. Нанесенные методами
высокоскоростного напыления твердосплавные покрытия, превосходят
гальванические, процесс создания которых признан чрезвычайно канцерогенным.
Газопламенное напыление применяется для напыления покрытий из
порошков металлов, их сплавов, композиций, окислов, органических соединений,
проволок, керамических стержней.
Основные достоинства газопламенного напыления покрытий:
получение покрытий из большинства материалов, плавящихся без
разложения при температуре до 2800°С;
- относительно низкое тепловое воздействие на подложку, в
пределах 50-150°С, это позволяет наносить покрытия на поверхность широкого
круга материалов, включая пластмассы, дерево, картон и т.п.;
толщина покрытия может быть обеспечена в пределах от 50 мкм
до 10 мм и более;
возможность регулирования газового режима работы горелки, что
позволяет управлять химическим составом среды (восстановительная, нейтральная,
окислительная), энергетическими характеристиками струи и напыляемых частиц;
- высокая производительность процесса до 10 кг/ч;
нанесение покрытий на изделия практически без ограничения их
размеров, при условии, наличия необходимых средств механизации и обеспечении
правил техники безопасности;
относительно низкий уровень шума и излучений;
возможность нанесения покрытий при любом пространственном
положении аппарата;
легкость и простота обслуживания оборудования;
гибкость технологии и мобильность оборудования, что позволяет
производить газопламенное напыление на месте, без демонтажа изделий;
возможность автоматизации процесса и встройки в
автоматическую линию с небольшими затратами и др.
К основным недостаткам газопламенного метода напыления
покрытий относятся:
недостаточная в некоторых случаях прочность сцепления
покрытий с основой (5-45 МПа) при испытании на нормальный отрыв;
наличие пористости в пределах 5-25%, которая препятствует
применению покрытий в коррозионных средах без дополнительной обработки;
низкий коэффициент использования энергии газопламенной струи
на нагрев порошка 2-12%;
отсутствие возможности нанесения покрытий из тугоплавких
материалов с температурой плавления более 2800°С. [5, С. 344]
Процесс металлизации газопламенным оборудованием
характеризуется непрерывным плавлением металла на покрытия, распылением его на
мельчайшие частицы и нанесением на поверхность. Осевшие частицы деформируются и
образуют металлизационное покрытие со слоистым строением. При этом температура
изделия в ходе напыления не превышает 120 °С.
Рисунок 3 - Процесс образования металлизационного покрытия
Ранее основными недостатками металлизации покрытий считались:
недостаточная адгезия, большая пористость и высокая стоимость процесса
обработки. Однако с применением современных установок удалось исключить
некоторые минусы. Так, пористость удалось снизить до 5-7%. Коэффициент
использования материала при металлизации теперь составляет более 70%. Для
дальнейшего улучшения характеристик используются специальные пропитки и
окрашивание. Теперь стоимость металлизации сравнима с ценой качественных
полимерных покрытий. [16, С. 403]
За счет синергии, срок службы комбинированных покрытий
значительно выше суммы сроков каждого защитного слоя в отдельности. Поэтому для
изделий, эксплуатирующихся в агрессивных средах, принято использовать именно
их.
В некоторых случаях металлизация является единственным
возможным способом защиты конструкций от коррозии и разрушения. Это возможно
благодаря тому, что она может производиться в полевых условиях, в отличие от
других методов нанесения антикоррозийных износостойких покрытий.
Технология газопламенного напыления порошковых материалов
позволяет восстановить геометрию деталей, производить шейки валов, крышки
защищенных электродвигателей, баббитовые подшипники, посадочные места,
выполнять антикоррозионную обработку металлоконструкций.
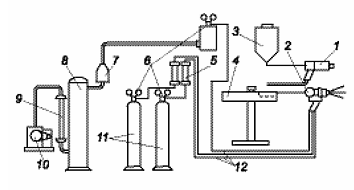
На рисунке 4 представлена схема установки газопламенного
напыления, где:
1 - порошковый распылитель;
2 - проволочный распылитель;
- порошковый питатель;
- бухта проволоки на вращающемся столе;
- ротаметры газовые;
- газовые баллоны;
- фильтр;
- ресивер;
- воздушный ротаметр;
10 - компрессор.
Рисунок 4 - Схема установки газопламенного напыления
Рисунок 5 - Схема высокоскоростного порошкового распылителя
Обозначения схемы высокоскоростного порошкового распылителя,
представленного на рисунке 5:
1 - подача порошка (осевая);
2 - подача кислорода;
- подача топлива;
- подача порошка (радиальная);
- ствол. [7, С. 118]
В нашем случае будем использовать газопламенную порошковую
ТСЗП-HVOF-K2 и переносную ТСЗП-UNI-SPRAY-JET установки.
Установка ТСЗП-HVOF-K2 - одна из лучших в мире универсальных
установок высокоскоростного газопламенного напыления. Скорость потока на выходе
из сопла установки составляет 7-9 скоростей звука.
Благодаря возможности получения повторяемых, малопористых
покрытий с высокой адгезией, высокоскоростная газопламенная установка широко
используется для решения задач оптимизации производства, замены гальванического
хромирования, никелирования, детонационного, вакуумного и ионно-плазменного
напыления.
Установка ТСЗП-HVOF-K2 предназначена для нанесения
износостойких, коррозионно-стойких, уплотнительных покрытий из карбидов
вольфрама и хрома, металлов и сплавов, наноструктурированных материалов.
Данная установка используется в авиации для напыления деталей
шасси, планерной части, в автомобильной промышленности для деталей двигателя и
трансмиссии, в металлургии для защиты от износа кристаллизаторов и
транспортирующих роликов рольгангов, в полиграфии и деревообработке для
хромирования каландровых и анилоксовых валов, в нефтегазовой промышленности для
защиты от запорной арматуры.
Таблица 9 - Состав комплекса оборудования для
высокоскоростного напыления ТСЗП-HVOF-K2
|
№
|
Наименование
|
Количество
|
|
1
|
Шкаф управления
системой HVOF-K-2
|
1
|
|
2
|
Холодильник
РС-630
|
1
|
|
3
|
Питатель
порошка PF 2/2
|
1
|
Пистолет К-2
|
1
|
|
5
|
Комплект
шлангов и кабелей
|
1
|
|
6
|
Комплект ЗИП
|
1
|
|
7
|
Комплект технической
документации
|
1
|
Технические
характеристики комплекса оборудования для высокоскоростного напыления
ТСЗП-HVOF-K2 представлены на рисунке 6.
Рисунок 6 - Система управления установкой
Система управления установкой смонтирована в специальном
пылезащищенном шкафу. Модульная структура контроллера позволяет использовать
большой спектр дополнительных функциональных и коммуникационных модулей,
расширяющих возможности центрального пульта управления.
Управление установкой происходит с панели оператора, которая
отображает параметры всех протекающих процессов и позволяет ими управлять. Для
удобства обслуживания все машинные данные преобразуются в виде кривых,
гистограмм и графических объектов, которые в зависимости от состояния процесса
и выбранной программы меняют свой вид. Кроме того, выводимые на панель
управления рабочие сообщения и сообщения о неисправностях, снабжают оператора
важной информацией о текущем состоянии управляемой установки.
С панели оператора могут контролироваться все технологические
параметры процесса и запоминаться более 100 вариантов технологических программ.
Рисунок 7 - Охладитель установки РС-630
Характеристика охладителя установки РС-630:
теплосъём 85 200 ватт;
min T воды на выходе: 15 °С;
mах Т воды на выходе: 25 °С;
mах Т окружающего воздуха: 37 °С;
питающее напряжение: 3x380В, 50 Hz;
потребляемая мощность: 27,8 кВт;
потребляемый ток: 64А;
замкнутый водяной цикл;
габариты: 1980x890x2150 мм;
масса полностью заправленного водой холодильника: 800 к.
Рисунок 8 - Питатель порошка PF 2/2 V= 1.5 л
Порошковый дозатор состоит из двух бункеров, двух миксеров,
двух дисковых приводов регулирования подачи порошка. Газовая система питателя
состоит из двух ротаметров, предохранительных клапанов, электромагнитных
вентилей, дросселей и шлангов.
Питатель порошка может работать как в автономном режиме, так
и управляться с центральной панели оператора. Бункеры (колбы) могут заменяться
и иметь ёмкость 1,5 или 5 литров.
Расход транспортирующего газа составляет до 15 л/мин на
каждую колбу. Производительность одной колбы в зависимости от типа порошка
составляет до 6 кг/час.
Таблица 10 - Пистолет К-2
|
№
|
Название
|
Характеристика
|
|
1
|
Топливо
|
керосин
|
|
2
|
Окислитель
|
кислород
|
|
3
|
Давление
кислорода
|
2,0-2,3 МПа
|
|
4
|
Расход
кислорода
|
500-900 л/мин
ГОСТ 5583-78
|
|
5
|
Расход керосина
|
10-25 л/час
ГОСТ 25549-90
|
|
6
|
Скорость потока
газа
|
более 2000 м/с
|
|
7
|
Скорость частиц
порошка
|
более 800 м/с
|
|
8
|
Охлаждение
|
водяное,
замкнутый цикл
|
|
9
|
Проток воды
|
более 30 л/мин
|
|
10
|
Производительность
напыления
|
6 - 12 кг/час
|
|
11
|
Производительность
напыления
|
8-10 кг/час
|
|
12
|
Твердость
покрытия (для Wc/Co 88/12)
|
1100 HV
|
|
13
|
Пористость
покрытия (для Wc/Co 88/12)
|
менее 1%
|
|
14
|
Адгезия
покрытия (для Wc/Co 88/12)
|
более 80 МПа
|
Установка
газопламенного порошкового напыления ТСЗП-UNI-SPRAY-JET представлена на рисунке
9.
Рисунок 9 - Установка ТСЗП-UNI-SPRAY-JET
Установка ТСЗП-UNI-SPRAY-JET универсальна и проста в
использовании, подходит для решения самых разнообразных задач.
Данная установка позволяет выполнять качественный ремонт
деталей самых разнообразных машин и механизмов, нанося износостойкие,
коррозионностойкие и жаропрочные защитные покрытия. Процесс получения покрытий
методом напыления с оплавлением довольно прост в освоении, единственным его
недостатком является необходимость нагрева деталей при оплавлении.
Горелку ТСЗП-UNI-SPRAY-JET можно подключать к любому
газосварочному посту при наличии кислородного и ацетиленового баллонов с
редукторами и шлангами с предохранительными клапанами (клапана обратного
удара).
Таблица 11 - Характеристики установки ТСЗП-UNI-SPRAY-JET для
газопламенного порошкового напыления
|
№
|
Название
|
Единица
измерения
|
Характеристика
|
|
1
|
Производительность
при напылении
|
кг/ч
|
1,0-12,0
|
|
2
|
Адгезия
покрытия
|
МПа
|
15-50
|
|
3
|
Пористость
покрытия
|
%
|
7-15
|
|
4
|
Толщина
покрытия
|
мм
|
0,3-15
|
|
5
|
Давление
кислорода,
|
МПа
|
2,5
|
|
6
|
Давление
ацетилена
|
МПа
|
0,5
|
|
7
|
Расход
кислорода
|
л/мин
|
25
|
|
8
|
Расход ацетилена
|
л/мин
|
18
|
|
9
|
Давление
сжатого воздуха
|
МПа
|
0-2
|
В комплект установки ТСЗП-UNI-SPRAY-JET входит:
- пистолет ТСЗП-UNI-SPRAY-JET;
- сопло USJ-N для напыления металлических порошков;
сопло USJ-HT для напыления керамики;
гаечный никелированный ключ 24;
держатель горелки (из трех частей);
шестигранный ключ (2, 3 и 4 мм);
зажимной рычаг для фиксации горелки;
охлаждающее кольцевое сопло К;
кольцевое сопло Р, F, B;
игла для прочистки сопел (0,3; 0,9; 2,5; 5 мм);
порошковый инжектор S.
Рисунок 10 - Установка для газопламенного порошкового напыления
ТСЗП-UNI-SPRAY-JET
При газопламенном порошковом напылении применяют следующие
материалы:
а) металлические порошки для «горячего» и «холодного»
напыления;
б) самофлюсующиеся сплавы:
на никелевой основе (Ni);
на железной основе (Fe);
на кобальтовой основе (Co).
в) металлические порошки и керамика;
г) цветные стали и сплавы (Al, Zn, Cu);
е) порошки на основе термопластиков и эпоксидных смол
(Рилсан).
Исходя из вышеизложенной информации, оптимальным решением
задач повышения эксплуатационных показателей и увеличения срока службы деталей
машин на ЗАО «Чудововагрохимсервис», будет применение способа поверхностного
упрочнения изделий высокоскоростным газопламенным напылением порошковыми
материалами на основе карбонитрида титана.
1.4 Разработка бизнес-плана проекта по внедрению
новых композиционных материалов
1.4.1 Анализ рынка
Сегментация рынка, т.е. его разделение на сегменты, состоит
из отдельных групп потребителей, которые характеризуются однородными
требованиями к продукции, потребительской мотивацией и экономическим
поведением.
Сегментация рынка - одно из базовых понятий маркетинга,
определяющее его стратегию и позволяющее изготовителю найти не охваченных
конкурентами потребителей, приспособить выпускаемые изделия к их нуждам, более
эффективно использовать ресурсы, в частности, с наименьшими затратами
организовать транспортировку своей продукции в нужные регионы.
В настоящее время особое внимание заслуживает сфера
технического сервиса. К сожалению, в нашей стране подобная инфраструктура
недостаточно развита, а сами изготовители не придают ей должного значения. И,
как известно, потребитель предпочитает приобретать технику, которую легко
ремонтировать, приспособленную к реальной эксплуатации.
Основными потребителями, которые пользуются услугами по
ремонту сельхозтехники, являются юридические и физические лица, непосредственно
связанные с ее эксплуатацией. К ним относятся: сельскохозяйственные,
промышленные, дорожно-строительные, коммунальные предприятия, фермеры,
машинно-технологические станции, леспромхозы, воинские части и др. К этой же
группе участников рынка можно отнести и владельцев с/х техники. Часть
владельцев, хотя и определяет спрос на машины, но по прямому назначению не
участвует в их использовании. Это акционеры, арендо- и лизингодатели, вкладчики
товариществ на вере и др. [3, С. 249]
Для оценки спроса на потребительские товары определяют
и используют следующие показатели:
количество пользователей, обратившихся в сервисную службу
(n);
количество техники, поступившее на ремонт от одного
пользователя (q).
Число пользователей, которые воспользовались услугами
сервисной службы ЗАО «Чудовоагрохимсервис» за 2012 год составило 513 человек - это в основном юридические
и физические лица, фермеры. Количество техники, поступившей на ремонт от одного
пользователя в среднем равно двум единицам. В разгар сезона это количество
может достигать до 5 единиц техники.
Совокупный спрос в натуральном выражении (Q) определяется по формуле:
=q×n=513×4=2 052.
Для расчета объема продаж (R) или совокупного спроса в
стоимостном выражении используют формулу:
=p×Q=3 000×2 052=6 156 000,
где p - средняя стоимость ремонтно-восстановительных работ.
Спрос на продукцию надо не только определять, но и
формировать с учетом научно-технического прогресса, возникновения новых
требований к ее качеству, изменения экономического положения потребителей и
динамики других спросообразующих факторов. Определение позиции товара на рынке
можно представить в виде таблицы 12.
Таблица 12 - Определение позиции фирмы на рынке
|
№
|
Показатель
|
Балл
|
|
1
|
Потребность в
продукте
|
10
|
|
2
|
Значение цены
для потребителя
|
9
|
|
3
|
Функции
продукта
|
8
|
|
4
|
Наличие
заменителей
|
6
|
|
5
|
Сравнение с
конкурентами
|
9
|
|
6
|
Число
конкурентов
|
1
|
|
7
|
Готовность
покупателя доплачивать за качество
|
10
|
Расчет положения фирмы на рынке:
Е=10+9+8+6+9+1+10=52 балла из 70
По проведённому анализу можно определить, что продукты и
услуги КГ «Чудовоагрохимсервис» занимают лидирующее положение на рынке сельхозтехники.
Кроме того, покупатель готов доплачивать фирме за более высокое качество
продуктов.
ЗАО «Чудовоагрохимсервис» составляет конкуренцию КГ
«Еврохимсервис», расположенный по адресу г. Великий Новгород, ул. Державина, д.
15, тел/факс +7 (8162) 66-50-99, 66-50-88, 66-50-33, e-mail: ehs@ehs.natm.ru.
ООО «Еврохимсервис» специализируется на поставке
агрохимикатов, средств защиты растений и современной сельскохозяйственной
техники для отечественного сельхозтоваропроизводителя.
Компания «Еврохимсервис» является официальным представителем
ведущих в Европе фирм-производителей, осуществляет поставку
сельскохозяйственной техники, ее сервисное обслуживание и снабжение запасными
частями.
Определение позиции товаров ООО «Еврохимсервис» на рынке
можно представить в виде таблицы 13.
Таблица 13 - Определение позиции на рынке ГК «Еврохимсервис»
|
№
|
Показатель
|
Балл
|
|
1
|
Потребность в
продукте
|
10
|
|
2
|
Значение цены
для потребителя
|
9
|
|
3
|
Функции
продукта
|
7
|
|
4
|
Наличие
заменителей
|
6
|
|
5
|
Сравнение с
конкурентами
|
8
|
|
6
|
Число конкурентов
|
1
|
|
7
|
Готовность
покупателя доплачивать за качество
|
9
|
Е=10+9+8+6+9+1+10=50 баллов из 70
Вывод: по проведённому анализу можно определить, что продукты
и услуги КГ «Еврохимсервис», также как и ЗАО «Чудовоагрохимсервис», занимают
лидирующее положение на рынке сельхозтехники и составляют значительную
конкуренцию.
Оценка конкурентоспособности ЗАО «Чудовоагрохимсервис» по
десятибалльной системе (таблица 14).
Таблица 14 - Конкурентоспособность
|
№
|
Показатель
|
ЗАО
«Чудовоагрохимсервис»
|
ООО
«Еврохимсервис»
|
|
1
|
Уровень
обслуживания
|
10
|
10
|
|
2
|
Цены на
предлагаемые услуги
|
9
|
8
|
|
3
|
Ассортимент
предлагаемых услуг
|
7
|
7
|
|
4
|
Качество
предоставляемых работ
|
7,5
|
7,6
|
|
5
|
Время ожидания
клиента
|
6
|
5
|
|
6
|
Известность
компании
|
10
|
10
|
По результатам таблицы видно, что у ЗАО «Чудовоагрохимсервис»
существует серьезный конкурент, не позволяющий потеснить его на рынке.
Маркетинг - одно из наиболее сложных явлений современности,
охватывающее большинство видов человеческой деятельности. Единого понимания
термина маркетинга не существует, считается, что он представляет собой
совокупность мер и действий, способствующих разработке, производству, сбыту и
обслуживанию выпускаемой продукции на основе глубокого изучения спроса и
ориентированных на его максимальное удовлетворение.
Конечная цель маркетинга заключается в том, чтобы получить
наибольшую прибыли за счет расширения продаж и обеспечения рационального
сочетания качества и цены продукции. Главный принцип маркетинга состоит в том,
чтобы найти потребность и удовлетворить ее, а основное содержание трактуется
следующим образом: «необходимо сделать так, чтобы потребитель, однажды
обратившийся к фирме, пришел еще раз».
Маркетинговая деятельность - это изучение рынка и
использование полученных данных в конкретной продукции путем принятия и реализации
конструкторских, финансово-экономических, управленческих, кадровых и других
решений, которые обеспечивают рост сбыта.
Маркетинговая среда предприятия - это совокупность внешних и
внутренних факторов (таблица 15), оказывающих влияние на деятельность предприятия
по продвижению товара, созданию положительного имиджа, исследованию рынков
сбыта продукции. [2, С. 236]
Таблица 15 - Факторы микросреды, влияющие на сбыт
|
№
|
Положительные
факторы
|
Отрицательные
факторы
|
|
1
|
2
|
3
|
|
1
|
Стабильность
поставок
|
Нестабильность
поставок сырья
|
|
2
|
Бесперебойность
работы предприятия
|
Забастовка
рабочих предприятия ГК «Чудовоагрохимсервис»
|
|
3
|
Поиск новых
потребителей
|
Потеря
существующих связей с потребителями
|
|
4
|
Потребители
удовлетворены качеством продукции
|
Неудовлетворённость
потребителей качеством продукции
|
|
5
|
Положительное
отношение контактной аудитории
|
Плохое
отношение к контактной аудитории
|
|
6
|
Хорошая
рекламная деятельность
|
Недостаточность
рекламы
|
|
7
|
Широкие
возможности
|
|
Уменьшить отрицательное влияние вышеперечисленных факторов
можно следующим образом:
создать производственные запасы;
наладить контакты с новыми клиентами;
постоянно контролировать настроения среди рабочего персонала;
свести до минимума вероятность забастовок;
- постоянный контроль качества продукции.
Таблица 16 - Факторы макросреды, влияющие на сбыт продукции
|
№
|
Положительные
факторы
|
Отрицательные
факторы
|
|
|
Принятие
законов, предусматривающих льготы для производителей
|
Изменение
законодательства, отрицательно влияющего на отрасль
|
|
1
|
Наличие
тенденции роста спроса на мясную продукцию
|
Наличие
тенденции снижение спроса на мясную продукцию
|
|
2
|
Появление новой
технологии обработки мяса и мясной продукции
|
Появление новых
технологий у конкурентов
|
|
3
|
Увеличение
общего числа мясоперерабатывающих и сбывающих мясную продукцию организаций
|
Рост инфляции
|
|
4
|
Снижение
тарифов на энергоносители
|
Повышение
тарифов на энергоносители
|
|
5
|
Повышение
покупательной способности
|
Снижение
покупательной способности
|
Для вступления на рынок с новым видом услуг ЗАО
«Чудовоагрохимсервис» необходимо акцентировать внимание на создании рекламы. От
этого зависит успех компании. Основной упор делается на наличие отличительных
свойств новой услуги. В современном бизнесе продвижение товаров и услуг
является одним из мощных орудий для привлечения внимания потребителей. Сезонные колебания уровня
спроса на услуги в течение года также требуют дополнительных рекламных вложений
с целью стимулирования клиентов.
Увеличением спроса клиентов на услуги можно добиться
стимулированием продаж. Мероприятия, стимулирующие потребителей пользоваться
новой услугой компании, позволят выделиться среди конкурентов. Для
стимулирования продажи можно организовать следующие мероприятия и провести их
как рекламные акции:
сезонное снижение цен;
раздача купонов на 5% скидки.
Паблик рилейшнз или связи с общественностью - технология
создания и внедрения при общественно-экономических и политических системах
конкуренции образа объекта (идеи, товара, услуги, персоналии, организации -
фирмы, бренда) в ценностный ряд социальной группы, с целью закрепления этого
образа как идеального и необходимого в жизни.
Другими словами паблик рилейшнз создает благоприятный имидж
организации, её представителей, продукта или идеи в глазах общественности и
социальных групп: акционеров, финансовых кругов, служащих компаний и
учреждений, реальных или потенциальных клиентов, а также членов муниципальных,
окружных, штатных и федеральных законодательных органов. Эта деятельность чаще
всего осуществляется путем предоставления в распоряжение прессы, телевидения и
радио соответствующей информации, на которую серьёзно полагаются и рассчитывают
многочисленные местные издания (газеты и журналы, местные радио- и
телевизионные станции).
Связи с общественностью помогут создать или изменить
определенное отношение к сервису со стороны целевых аудиторий - клиентов,
средств массовой информации, местных органов управления и т.д.
Для создания благоприятного имиджа компании и продвижения
новой услуги на рынке с/х техники планируется использовать рекламу.
Реклама - информация, распространяемая любым способом, в
любой форме и с использованием любых средств, адресованная неопределенному
кругу лиц и направленная на привлечение внимания к объекту рекламирования,
формирование или поддержание интереса к нему и его продвижение на рынке:
1) информация о потребительских свойствах товаров и различных
видах услуг с целью их реализации, создания спроса на них;
) распространение сведений о лице, организации, произведении
литературы и искусства и т.п. с целью создания им популярности.
В нашем случае целями рекламы будет:
формирование имиджа предприятия и нового продукта;
предоставление информации о применении новых материалов для
упрочнения деталей сельхозтехники;
стимулирование к пробации товара.
Телевидение - идеальный рекламный инструмент для предприятий,
которым нужно «показать товар лицом» или создать, вокруг него атмосферу
ажиотажа. Многие считают телевизионную рекламу наиболее эффективной, поскольку
она передает зрительные образы - самые наглядные и убедительные из всех
возможных.
Применительно для ГК «Чудовоагрохимсервис» планируется
привлекать внимание потребителей к новой услуге при помощи фиксированного
размещения рекламы, то есть будет куплено рекламное время продолжительностью 5
минут под рекламный ролик длительностью 15 секунд у телевизионного канала ТНТ.
Канал должен разместить двадцать выходов рекламного ролика. При этом будет
определено, когда и, в какой программе должна будет выходить ТВ реклама.
Кроме того, на сайте компании ЗАО «Чудовоагрохимсервис» в
разделе «Новости» и «Услуги» будет размещена информация с подробным описанием
новой услуги.
Также донести информацию до потребителей планируется
публикациями в газетах «Новгород», «НТПП-Информ» и журнале «НСХ».
«НСХ» или «Новое сельское хозяйство» - ведущее издание
сельскохозяйственного профиля в России и странах СНГ. В журнале «НСХ»
публикуются статьи по вопросам:
решения проблем менеджмента, растениеводства, животноводства,
переработки и хранения продукции;
самые передовые технологии в сельском хозяйстве;
опыт российских, украинских и белорусских хозяйств;
опыт аграриев других стран;
кто есть кто на рынке;
обзоры сельскохозяйственной техники, удобрений, средств
защиты растений.
Газета «НТПП-Информ» - информационное издание Новгородской
торгово-промышленной палаты является идеальным инструментом для рекламы нового
продукта. На страницах данной газеты поднимаются темы связанные с бизнесом и
закон, инновационной и инвестиционной деятельности, интеллектуальной
собственности и патентного права, контрафакты и фальсифицированная продукция.
Также в каждом номере публикуются анонсы мероприятий для предпринимательских
кругов: семинаров и конференций, торговых миссий и деловых встреч, выставок и
форумов, подборка коммерческих предложений, партнерских проектов для бизнеса и
многое другое.
Также можно привлечь внимание потребителей с помощью
расклейки плакатов на городском транспорте (автобусы, троллейбусы) и размещении
баннеров.
Расценки на размещение рекламных материалов на
интернет-портале газеты «Новгород»:
размещение статей (на правах рекламы, фото, главная страница)
- 180 руб.;
баннеры над логотипом сайта 855х88 (верх страницы) - 2700
руб./месяц;
покупка блока для размещения текстовых объявлений с
гиперссылками - 15000 руб./мес.
В результате сумма на размещение рекламы в газете «Новгород»
составит 18380 рублей.
Таблица 17 - Расценки на размещение рекламных материалов в
газете «НСХ»
|
№
|
Размер/формат
(доли полосы)
|
Цены в руб.
(вкл. НДС 18%)
|
|
1
|
1/1
|
210×297
|
126 000
|
|
2
|
3/4
|
137×270/184х202
|
105 000
|
|
3
|
2/3
|
121х270/184х180
|
92 400
|
|
4
|
1/2
|
90х270/184х135
|
75 600
|
|
5
|
1/3
|
58х270/184х90
|
54 600
|
|
6
|
1/4
|
90х135/43х270/184х67
|
33 600
|
|
7
|
1/8
|
90х67/43х135/184х33
|
25 200
|
Для публикации в журнале «Новое сельское хозяйство» будет
использоваться полоса размером 1/3 доли полосы в формате 58х270/184х90
стоимостью 54 600 рублей.
«Расценки на размещение рекламных материалов в газете
«НТПП-Информ»
Таблица 18 - Расценки на модульную рекламу
|
№
|
Наименование
|
Цена
|
|
1
|
1-я полоса
(полноцветная)
|
660 руб./мод
|
|
2
|
Последняя
полоса (полноцветная)
|
550 руб./мод
|
|
3
|
Полноцветная
полоса
|
390 руб./мод.
|
|
4
|
Статья на
правах рекламы
|
30 руб./ см 2
|
Будет использоваться модуль размером 6 см 2 с полноцветной
полосой, то есть:
стоимость рекламы в газете:
((30 р×6+390 р)×4)+18 380+54 600=75 260 руб./месс.
стоимость баннеров:
шт.×(400 р×6 м 2+6000 р) = 67 200 руб./месс.
стоимость рекламы на ТНТ Великий Новгород:
500 р × 4 недели = 18 000
руб./мес.
вывеска - 16 460 руб.
Общая сумма на рекламу
+67200+18000+16460= 176920 руб.
Вывод: исходя из приведенных расчетов первоначальные затраты
на рекламу составят 176 920 рублей.
План производства
Для размещения оборудования высокоскоростного газопламенного
напыления, а также проведения ремонтно-восстановительных работ на ЗАО
«Чудовоагрохимсервис» планируется использовать закрытую площадку в головном
офисе г. Великий Новгород, ул. Щусева 7а, общей площадью 157 кв. м.
Данные по необходимому основному и вспомогательному
оборудованию, а также автотранспорту для проекта, включая стоимость
приобретения, затраты на доставку и монтаж оборудования, сведения по способу их
получения (покупка, аренда, лизинг) необходимо собрать и представить в
табличной форме (таблица 19).
Таблица 19 - Основное и вспомогательное оборудование
|
№
|
Оборудование
|
Количество
|
Цена за ед.
|
Сумма
|
|
1
|
Установка
ТСЗП-HVOF-K2
|
1
|
210 000
|
210 000
|
|
2
|
Шкаф управления
системой HVOF-K-2
|
1
|
50 000
|
50 000
|
|
3
|
Холодильник
РС-630
|
1
|
35 000
|
35 000
|
|
4
|
Питатель
порошка PF 2/2
|
1
|
7 000
|
7 000
|
|
5
|
Пистолет К-2
|
1
|
3 000
|
3 000
|
|
6
|
Комплект
шлангов и кабелей
|
1
|
10 000
|
10 000
|
|
7
|
Комплект ЗИП
|
1
|
5 000
|
5 000
|
|
8
|
Комплект
технической документации
|
1
|
1 500
|
1 500
|
|
9
|
Комплект
установки ТСЗП-UNI-SPRAY-JET
|
1
|
175 600
|
175 600
|
|
10
|
Камера сухой
струйно-абразивной обработки поверхности деталей
|
1
|
120 000
|
120 000
|
|
11
|
Система
газообеспечения с баллонами газа
|
1
|
2 000
|
2 000
|
|
12
|
Камера
обезжиривания деталей с локальной вытяжной вентиляцией вредных испарений
|
1
|
75 000
|
75 000
|
|
13
|
Электропечь
|
1
|
65 750
|
65 750
|
|
14
|
Сушильный шкаф
|
1
|
34 600
|
34 600
|
|
15
|
Вибросито для
просева порошков
|
1
|
85 000
|
85 000
|
|
16
|
Автономная
вытяжная вентиляция, предусматривающая сбор порошка в системе типа «Циклон»
|
1
|
47 000
|
47 000
|
|
17
|
Технологического
оборудования в соответствии с монтажной схемой энерго-, водо- и
газокоммуникаций
|
1
|
68 000
|
68 000
|
|
18
|
Средства
пожаротушения
|
2
|
2 500
|
5 000
|
|
Итого
|
19
|
994 950
|
999 450
|
Оценка предварительных расходов по внедрению новых материалов
(государственная регистрация, изготовление печати, открытие счета в банке
получение необходимых лицензий и сертификатов), по проведению подготовительных
исследований (ТЭО, функциональные исследования), а также предполагаемые
маркетинговые издержки, расходы по продвижению, созданию сбытовой сети, расходы
на обучение персонала и т.п. представлены в таблице 20.
Таблица 20 - Предполагаемые расходы
|
№
|
Наименование
работ
|
Стоимость
(тыс. руб.)
|
Длительность
выполнения (дней)
|
|
1
|
Доставка
оборудования
|
89 000
|
30
|
|
2
|
Ремонт
помещения
|
132 000
|
20
|
|
3
|
Расходы на
строительные материалы
|
115 000
|
2
|
|
4
|
Оборудование
складских помещений
|
69 890
|
15
|
|
5
|
Расходы на
рекламу
|
176 920
|
20
|
|
6
|
Монтаж
оборудования
|
63 000
|
5
|
|
7
|
Проведение
маркетинговых исследований
|
4 000
|
2
|
|
8
|
Подбор
персонала
|
9 000
|
15
|
|
9
|
Расходы на
электро. - и водоснабжение, оформление документации
|
87 000
|
30
|
|
10
|
Расходы на
страхование имущества
|
100 000
|
5
|
|
Всего
|
845 810
|
144
|
Таблица 21 - Прямые материальные производственные затраты
|
Наименование
|
Единица
измерения
|
Количество
|
Цена за
единицу, руб.
|
Цена (без
НДС), тыс. руб.
|
|
1 Сырье:
|
|
1.1 Порошки
карбида
|
кг
|
10
|
20 000
|
200 000
|
|
1.2 Водород
технический марки А (м3), баллон 50 л.
|
бал
|
50
|
1298
|
2 596
|
|
1.3 Газовая
смесь, К18 (18% СО2+Ar), ТУ, объем 40 л., (6,1 куб. м.)
|
бал
|
4
|
355
|
1 420
|
|
1.4 Окислитель
Кислород газообразный технический (99.7%), баллон 40 л. (6.3 м3)
|
бал
|
75
|
175
|
13 150
|
|
1.5 Ацетилен,
растворенный технический с изм. №1,2,3 марка «Б» второй сорт, (98,8%) баллон
40 л. (5 кг.)
|
бал
|
5
|
1 620
|
8 100
|
|
2 Топливо:
|
|
2.1 Керосин
ТС-1
|
литр
|
200
|
18
|
3 600
|
|
Итого
|
|
|
23 466
|
228 866
|
На основе данных о затратах на оборудование, материалы и
прочие предполагаемые расходы для реализации проекта по внедрению новых
материалов необходимо 2 074 126 рублей.
Организационный план
Штат сервисной службы будет составлять 14 человек. В отделе
предусмотрены 2 подразделения: административный отдел и отдел оказания услуг.
Организационная структура отдела
Рисунок 11 - Организационная структура отдела
Руководитель отдела планирует использование и распределение
материальных и людских ресурсов, оптимизирует использование производственных
мощностей и оборудования. Разрабатывает и выносит проекты бюджета подразделения
на утверждение за период (год, квартал, месяц). Контролирует эффективность
использования ресурсов, оборудования, рабочего времени.
Руководитель сервисной службы в соответствии с утвержденными
планами организует и оптимизирует производственные процессы. Также ведет
переговоры, налаживает личные контакты с ключевыми клиентами, поставщиками,
представителями страховых компаний и т.п.
Заместитель руководителя контролирует качество обслуживания
клиентов и выполнения ремонтных работ. Обеспечивает соблюдение внутренних
стандартов качества. Разрешает конфликтные, спорные ситуации в ходе
обслуживания клиентов. Также принимает жалобы и рекламации от клиентов,
оказывает содействие выполнению дополнительных работ в случаях неудовлетворительного
обслуживания, низкого качества выполненных работ.
Сервисный инженер осуществляет работу по необходимому ремонту
техники после получения заявки от руководителя сервисной службы. Организует
подготовку ремонтных работ, определяет потребность в запасных частях для
ремонта. Выполняет все работы по ремонту техники, как на месте, так и на
выезде. Производит разработку нормативных материалов по профилактическому
обслуживанию и ремонту техники (нормативы ремонтно-эксплуатационных затрат,
срок службы запасных частей, номенклатуры сменных и быстроизнашивающихся
деталей, нормы и лимиты расхода необходимых материалов), результаты согласует с
начальником сервисного центра. Изучает причины возникновения неисправности в
соответствии с техническими нормами. Ведет учет ремонтных работ, установленную
отчетность и составляет необходимую техническую документацию.
Механик выполняет инженерно-техническую работу в
формате сервисного центра сельскохозяйственной техники: предпродажное и
гарантийное обслуживание, диагностику и устранение отказов, технический,
коммерческий ремонт, восстановление техники. Осуществляет непродолжительные
полевые выезды преимущественно в период сельскохозяйственного сезона по наладке
и обслуживание техники клиентов. Проводит плановую работу по предупреждению
отказов техники клиентов. Участвует в формировании склада запасных частей.
Принимает участие в анализе эффективности и качества работы сервисных механиков
и сервисного центра в целом, в анализе производительности труда сервисных
специалистов.
Оператор обеспечивает обслуживание оборудования. Регулярно
производить наладку, чистку и осмотр техники, соблюдая меры безопасности.
Сварщик производит газовую сварку различной сложности
аппаратов, деталей, узлов, конструкций и трубопроводов из сталей, чугуна,
цветных металлов и сплавов, которые предназначены для работы под динамическими
и вибрационными нагрузками и под давлением. Выполняет кислородную и плазменную
прямолинейную и горизонтальную резку сложных деталей по разметке вручную с
разделкой кромок под сварку, с применением специальных флюсов из различных
сталей и сплавов.
Менеджер по реализации осуществляет поиск клиентов на покупку
услуг и продукции, в том числе через Интернет, по почте, по телефону и др.
Организует проведение мероприятий по продвижению продукта (рекламных кампаний,
презентаций, включая работу на специализированных выставках, распространение
рекламных материалов, др.). Изучает требования клиентов, предлагает услуги,
отвечающие заявленным требованиям, консультирует клиентов. Обеспечивает
клиентов распечатками, фотокопиями, каталогами и другими рекламными материалами
по интересующему их продукту. Ведет преддоговорные переговоры с клиентами и
согласовывает необходимые условия договоров (контрактов). Готовит обзоры,
отчеты о проделанной работе, обеспечивает их представление руководству и
передачу в архивы на хранение. Изучает причины направления клиентами жалоб и
претензий к качеству продукта или иным условиям заключенных договоров, готовит
ответы на них, принимает меры по устранению недостатков в обслуживании
клиентов.
Специалист по продажам реализует работу, связанную с
планированием и разработкой схем, форм, методов и технологии продаж товаров,
продвижение товаров на рынок. Для созданий условий планомерной продажи товаров
и удовлетворения спроса потребителей на товары, разрабатывает и организует
проведение специальных предпродажных мероприятий. Участвует в разработке и
реализации бизнес-планов и коммерческих условий заключаемых соглашений,
договоров и контрактов, оценке степени возможного риска. Анализирует рынок
товаров (изучает спрос и потребление, мотивацию и колебания, формы деятельности
конкурентов), тенденции его развития и рыночные возможности. Анализирует
потребности покупателей, собирает информацию о спросе на товары, причинах его
изменения (повышения, понижения). Выявляет наиболее эффективные секторы рынка,
потенциальных и перспективных потребителей и устанавливает с ними деловые
контакты. Изучает объемы продаж и подготавливает отчеты по результатам анализа
для представления вышестоящему должностному лицу. Осуществляет проведение
мероприятий по формированию потребительского спроса на товары, стимулированию
продаж.
Таблица 22 - Заработная плата персонала
|
№
|
Должность
|
Заработная
плата руб. мес.
|
Кол-во
рабочих
|
Итого руб.
мес.
|
|
1
|
Руководитель
отдела
|
40 000
|
1
|
80 000
|
|
2
|
Руководитель
сервисной службы
|
35 000
|
1
|
70 000
|
|
3
|
Заместитель
руководителя отдела
|
30 000
|
1
|
30 000
|
|
4
|
Сервисный
инженер
|
24 000
|
2
|
44 000
|
|
5
|
Механик
|
25 000
|
3
|
75 000
|
|
6
|
Оператор
|
18 000
|
1
|
18 000
|
|
7
|
Сварщик
|
30 000
|
2
|
60 000
|
|
8
|
Менеджер по
реализации
|
20 000
|
1
|
20 000
|
|
9
|
Специалист по
продажам
|
17 000
|
2
|
34 000
|
|
Итого
|
239 000
|
14
|
431 000
|
В данном разделе отражена предполагаемая к использованию
система оплаты труда, разъяснена относительно предполагаемых к использованию элементов
кадровая политика, описаны должностные обязанности персонала.
Финансовый план
Для реализации проекта ЗАО «Чудовоагрохимсервис» предлагается
использовать нераспределенные средства предприятия и заемное финансирование, а
точнее банковскую ссуду. Банковская ссуда - денежные средства банка,
предоставленные в кредит с уплатой процента.
Наиболее подходящим является кредит, предоставляемый банком
ВТБ 24. Сумма кредита 1000000 руб. на 2 года, переплата 209807 руб.
(ставка 19%, от 0% первый взнос), выплаты 50409 рублей в месяц.
Рассмотрим калькуляцию расходов и доходов от внедрения нового
продукта.
Первоначальный вариант кредитного плана составляется на
основе расчета потребности в инвестициях. Определяется необходимая сумма
кредита, вероятная процентную ставку (исходя из состояния финансового рынка в
стране на данный период), условия его возврата или погашения (с какого месяца,
какими частями и т.д.).
Таблица 23 - Кредитный план на 2014 год
|
Период
планирования 2014 год (по мес.)
|
Всего за
2013 год
|
Остаток на
2014 год
|
|
январь
|
февраль
|
…
|
декабрь
|
|
|
Сумма кредита
(тыс. руб.)
|
1 000 000
|
|
|
Ставка годовых,
%
|
19
|
19
|
19
|
19
|
19
|
|
|
|
Погашение
кредита с учетом% (тыс. руб.)
|
1 209 807
|
50 409
|
50 409
|
…
|
50 409
|
|
|
|
Остаток
задолженности (тыс. руб.)
|
1 159 398
|
1 108 989
|
…
|
604 899
|
604 899
|
604 908
|
Таблица 24 - Ежемесячные расходы сервисного центра
|
№
|
Название
|
Сумма (в
руб.)
|
|
1
|
Ежемесячные
затраты на рекламу
|
22 280
|
|
2
|
Расходы на
электроэнергию
|
12 720
|
|
3
|
Расходные
материалы
|
14 000
|
|
4
|
Заработная
плата
|
431 000
|
|
5
|
Расходы на
водоснабжение
|
13 375
|
|
6
|
Прочие
ежемесячные платежи
|
8 000
|
|
7
|
Выплаты по
кредиту
|
50 409
|
|
Итого
|
563 784
|
Таблица 25 - Показатели прибыли
|
Расчет
рентабельности
|
|
Расходная
часть
|
Первоначальные
затраты, всего
|
2 074 126 руб.
|
|
Ежемесячные
затраты, всего
|
563 784 руб.
|
|
Среднесуточные
затраты
|
12 792 руб.
|
|
Доходная
часть
|
Среднесуточная
выручка
|
48 000
|
|
Среднемесячная
выручка
|
1 440 000
|
|
Баланс
|
Среднесуточный
доход
|
24 000
|
|
Среднемесячный
доход
|
720 000
|
|
Срок возврата
вложений, мес.
|
2,1
|
|
Период
|
Прогноз по
доходам
|
|
Доход за 1 год
работы с учетом ежемесячных затрат
|
1 874 592
|
|
Доход за 2 года
работы (нарастающим итогом)
|
3 949 184
|
|
Доход за 3 года
работы (нарастающим итогом)
|
5 823 776
|
На основе приведенных расчетов о ежемесячных расходах
сервисного центра и показателей прибыли чистая выручка в месяц будет составлять
156 216 рублей. Исходя, из этих данных предположительный срок окупаемости
составит 14 месяцев.
Оценка рисков
Целью идентификации рисков является составление полного
перечня рисков, которые могут повлиять на достижение целей организации в рамках
интегрированной системы менеджмента. Этот перечень должен быть максимально
полным, так как не идентифицированные риски могут представлять существенную
опасность для достижения поставленных целей, вызвать потерю контроля над
процессами ИСМ и привести к утрате перспективных возможностей.
В данном дипломном проекте будут рассматриваться риски
связанные с внедрением на ЗАО «Чудовоагрохимсервис» новых композиционных
материалов на основе карбонитрида титана для упрочнения поверхностей деталей
сельхозтехники методом высокоскоростного газопламенного напыления. Стоимость
проекта составляет 2 074 126 рублей.
В связи с этим возникают такие риски, как:
риск инфляции, экономического кризиса;
непредвиденные обстоятельства (форс-мажор);
риск, связанный с вероятностью потерь финансовых ресурсов;
неудовлетворенность потребителей качеством услуг;
риск отказа потребителей в оплате заказной продукции;
снижение объемов реализации услуг;
потеря имущества, связанная со стихийными бедствиями,
пожарами, кражей третьими лицами.
В процессе производственной деятельности могут возникнуть
риски:
неисправность оборудования, потери рабочего времени;
отсутствия необходимого количества исходных материалов;
снижения цен, по которым планировалось реализовывать
продукцию или услугу, в связи с ее недостаточным качеством;
риск получения травм сотрудников в результате
производственной деятельности;
неблагоприятным изменением рыночной конъюнктуры;
падением спроса;
снижения объемов реализации в результате падения спроса или
потребности на товар.
Риски, связанные с персоналом: недобросовестное исполнение
обязанностей вследствие неадаптированности сотрудника, разглашение
конфиденциальной информации, недостаточная квалифицированность.
В данном дипломном проекте был использован экспертный метод.
Экспертный метод - процедура получения оценки риска с помощью
опросов специально отобранных экспертов (страховых, финансовых, инвестиционных,
риск-менеджеров соответствующих специализированных организаций) с последующим сведением
результатов и предложений в систему, на базе которой и делаются выводы. Для
выявления и анализа рисков предприятия была создана экспертная группа. В состав
группы вошли:
1) Генеральный директор ЗАО «ЧАХС» - Садовников. А С.
2) Начальник сервисной службы - Бабуркин А.Е.
) Руководитель проекта ЗАО «ЧАХС» - Орлов О.В.
) Сервисный инженер - Семёнов Ю.В.
) Механик - Шабарин Г.В.
) Начальник рискового отдела - Игнатьев Д.Г.
Типовые этапы реализации проекта, связанные с внедрением
новых композиционных материалов:
1) уточнение идеи и требований;
2) исследование рынка;
) подготовка помещений для установки оборудования для
высокоскоростного газопламенного напыления;
) тестирование метода;
) запуск производственной деятельности по напылению
порошков карбонитрида титана на изделия сельхозтехники;
) наблюдение за внедренным методом;
) полноценные производственные работы.
Опираясь на этапы технологического процесса, производится
идентификация рисков:
1) на стадии подготовки помещений для установки оборудования
- риск потеря имущества, вызванная пожаром;
2) на стадии тестирование метода газопламенного
напыления порошков карбонитрида титана - риск выхода из строя оборудования;
) на стадии запуск производственной деятельности по
напылению порошков карбонитрида титана на изделия сельхозтехники - риск
получения травм сотрудников;
) на стадии наблюдение за внедренным методом - риск
неудовлетворенности потребителей качеством услуг;
) на всех стадиях - недостаточно квалифицированный
персонал.
Качественная оценка риска предполагает описание ситуации
риска, систематизацию потенциальных опасностей и эвристическое принятие
решений, направленных на уменьшение негативных последствий риска, а также
предупреждение возникновения рисковых ситуаций. Доступность сопровождающей
информации помогает легче расставить приоритеты для разных категорий рисков.
[6, С. 331]
Экспертные оценки основываются на субъективном анализе
количественных и качественных показателей с использованием методологий
ранжирования и сравнительных оценок.
Таблица 26 - Качественный анализ рисков
|
Объект
|
Название
|
Фактор
|
|
Производство
|
Риск выхода из
строя оборудования
|
Технологический,
внутренний
|
|
Прибыль
|
Неудовлетворенность
потребителей качеством услуг
|
Внешний,
финансы
|
|
Персонал
|
Недостаточно
квалифицированный персонал
|
Человеческий,
внутренний
|
|
Производство
|
Риск получения
травм сотрудников в результате производственной деятельности
|
Внутренний,
человеческий
|
|
Имущество
|
Потеря
имущества
|
Форс - мажор
(внешний и внутренний)
|
Таблица 27 - Вероятность возникновения рисков
|
№
|
Риск
|
Балл (Pq)
|
Вероятность(P)
|
|
1
|
Риск выхода из
строя оборудования
|
4
|
0,6 < P ≤ 0,9
|
|
2
|
Неудовлетворенность
потребителей качеством услуг
|
3
|
0,4 < P ≤
0,6
|
|
3
|
Недостаточно
квалифицированный персонал
|
2
|
0,1 < P ≤
0,4
|
|
4
|
Риск получения
травм сотрудников в результате производственной деятельности
|
2
|
0,1< P ≤
0,4
|
|
5
|
Потеря
имущества
|
2
|
0,1 < P ≤
0,4
|
Таблица 28 - Величина потерь от рисков
|
№
|
Вид риска
|
Балл (Iq )
|
В% от
плановой прибыли (I)
|
|
1
|
Риск выхода из
строя оборудования
|
3
|
40 < I ≤
60
|
|
2
|
Неудовлетворенность
потребителей качеством услуг
|
4
|
60 < I ≤ 90
|
|
3
|
Недостаточно
квалифицированный персонал
|
4
|
60 < I ≤ 90
|
|
4
|
Риск получения
травм сотрудников в результате производственной деятельности
|
2
|
10 < I ≤
40
|
|
5
|
Потеря
имущества
|
3
|
40 < I ≤
60
|
Количественный анализ предполагает численное определение
отдельных рисков и общего риска. На этом этапе определяется вероятность
наступления рисковых событий и их последствий, осуществляется количественная
оценка степени риска, определяется также допустимый уровень риска.
Таблица 29 - Оценка риска экспертом Садовникова А.С.
|
№
|
Название
риска
|
Вероятность
|
Ущерб
|
Индекс
|
|
|
|
балл
|
балл
|
|
|
1
|
Риск выхода из
строя оборудования
|
3
|
5
|
15
|
|
2
|
Неудовлетворенность
потребителей качеством услуг
|
3
|
3
|
9
|
|
3
|
Недостаточно
квалифицированный персонал
|
2
|
4
|
8
|
|
4
|
Риск получения
травм сотрудников в результате производственной деятельности
|
1
|
3
|
3
|
|
5
|
Потеря
имущества
|
2
|
4
|
8
|
Аналогичная оценка рисков, представленная в таблице 29 была
проведена и другими экспертами.
Таблица 30 - Сводная таблица по всем рискам, исходя из оценки
экспертом Садовникова А.С.
|
Название
риска
|
Уровень
компетентности
|
Индекс риска
|
Индекс с
учетом компетенции
|
|
Риск выхода из
строя оборудования
|
5
|
15
|
75
|
|
Неудовлетворенность
потребителей качеством услуг
|
5
|
9
|
45
|
|
Недостаточно
квалифицированный персонал
|
5
|
8
|
40
|
|
Риск получения
травм сотрудников в результате производственной деятельности
|
5
|
3
|
15
|
|
Потеря
имущества
|
5
|
8
|
40
|
|
Сумма
|
25
|
|
215
|
|
|
|
8,6
|
Аналогичные сводные данные, представленные в таблице 30, были
проведены и по результатам оценки других экспертов.
Таблица 31 - Определение средней вероятности и ущерба рисков
|
Садовников. А
С.
|
Бабуркин А.Е.
|
Орлов О.В.
|
Семёнов Ю.В.
|
Шабарин Г.В.
|
Игнатьев Д.Г
|
Среднее
значение
|
|
Риск 1
|
|
|
Вероятность
|
3
|
2
|
3
|
3
|
5
|
5
|
3,5
|
|
Ущерб
|
5
|
5
|
3
|
5
|
3
|
2
|
3,8
|
|
Риск 2
|
|
|
Вероятность
|
3
|
1
|
3
|
3
|
4
|
3
|
2,8
|
|
Ущерб
|
3
|
4
|
5
|
5
|
5
|
5
|
4,5
|
|
Риск 3
|
|
|
Вероятность
|
2
|
1
|
1
|
4
|
4
|
1
|
2,5
|
|
Ущерб
|
4
|
3
|
2
|
5
|
4
|
5
|
3,8
|
|
Риск 4
|
|
|
Вероятность
|
1
|
2
|
3
|
1
|
1
|
2
|
1,6
|
|
Ущерб
|
3
|
3
|
4
|
2
|
2
|
5
|
3,2
|
|
Риск 5
|
|
|
Вероятность
|
2
|
1
|
1
|
1
|
2
|
2
|
1,5
|
|
Ущерб
|
4
|
4
|
3
|
3
|
3
|
5
|
3,6
|
|
|
|
|
|
|
|
|
|
|
|
|
Глядя на карту рисков, можно сделать вывод, что наиболее
значимыми рисками являются:
риск выхода из строя оборудования
неудовлетворенность потребителей качеством услуг
Таблица 32 - Риски по степени воздействия
|
Риск
|
Индекс риска
|
Степень
воздействия
|
Описание
|
|
|
Риск выхода из
строя оборудования
|
12
|
существенный
|
В результате
воздействия этого риска увеличиваются вероятность возникновения
дополнительных затрат, связанных с ремонтом техники, затраты связные с
невыполнением работ предприятия, сбои в производстве.
|
|
Неудовлетворенность
потребителей качеством услуг
|
12
|
существенный
|
В результате
воздействия этого риска увеличивается вероятность завоевания плохой
репутации, потеря интереса к компании потенциальных клиентов, потеря прибыли,
затраты на рекламу.
|
Риск
|
Индекс риска
|
Приемлемость
|
Описание
|
|
Риск выхода из
строя оборудования
|
12
|
Труднопереносимый
|
Риск первичен
для обработки. Должен находиться под постоянным контролем.
|
|
Неудовлетворенность
потребителей качеством услуг
|
12
|
Труднопереносимый
|
Риск первичен
для обработки. Должен находиться под постоянным контролем.
|
Рассмотрим меры по снижению рисков.
1) Риск выхода из строя оборудования:
изучение причин поломки;
выявление виновника (дают возможность осуществить мероприятия
по ликвидации потерь);
резервирование средств на покрытие непредусмотренных
расходов;
осуществить качественный подбор сотрудников.
) Неудовлетворенность потребителей качеством услуг:
провести качественное исследование рынка;
ответственно подойти к организации проекта для получения
продукта высокого качества;
- организовать качественную рекламную компанию;
контроль и учет браков, выявленных при эксплуатации у
покупателя;
активная деятельность по изучению и предвидению возможных
действий конкурентов и их учет в маркетинговой и производственной деятельности.
) Недостаточно квалифицированный персонал:
обучение, которое организовано на рабочем месте;
повышение уровня трудовой мотивации персонала;
обмен опытом, самообучение;
чтение специальной литературы;
ежегодная аттестация сотрудников
снижение «текучести» кадров;
развитие профессиональной квалификации.
) Риск получения травм сотрудников в результате
производственной деятельности:
обеспечение техники безопасности на рабочем месте
сотрудников;
проверка оборудования перед началом работы, диагностика.
) Потеря имущества, вызванная пожаром (перенос риска):
страхование стоимости возможных убытков от небрежности
работников;
страхование сумм вероятных убытков.
Рассмотрим подробнее способы снижения непереносимых рисков
(таблица 34).
Таблица 34 - Ущерб от риска и меры по снижению
|
Ущерб от
риска (руб.)
|
Меры по
снижению (руб.)
|
|
Риск выхода из
строя оборудования
|
- изучение
причин поломки -20 000 - выявление виновника (дают возможность осуществить
мероприятия по ликвидации потерь) - 25000 - резервирование средств на
покрытие непредусмотренных расходов - 250000 - осуществить качественный
подбор сотрудников - 40000
|
|
Неудовлетворенность
потребителей качеством услуг
|
- провести
качественное исследование рынка - 30000 - ответственно подойти к организации
проекта для получения продукта высокого качества - 90000 - организовать
качественную рекламную компанию - 176000 - контроль и учет браков, выявленных
при эксплуатации у покупателя - 80000 - активная деятельность по изучению и
предвидению возможных действий конкурентов и их учет в маркетинговой и производственной
деятельности - 210000
|
|
Итого: 1 000
000 руб.
|
Итого: 921
000 руб.
|
Построим карту рисков после принятия мер по снижению рисков.
Определим опасность и вероятность наступления рисков, после проведения
предложенных мероприятий.
Таблица 35 - Оценка риска экспертом Садовникова А.С.
|
№
|
Название
риска
|
Вероятность
|
Ущерб
|
Индекс
|
|
|
|
балл
|
балл
|
|
|
1
|
Риск выхода из
строя оборудования
|
2
|
4
|
8
|
|
2
|
Неудовлетворенность
потребителей качеством услуг
|
2
|
2
|
4
|
|
3
|
Недостаточно
квалифицированный персонал
|
1
|
3
|
3
|
|
4
|
Риск получения
травм сотрудников в результате производственной деятельности
|
1
|
2
|
2
|
|
5
|
Потеря
имущества
|
1
|
3
|
3
|
Аналогичная оценка рисков, представленная в таблице 35 была
проведена и другими экспертами.
Таблица 36 - Сводная таблица по всем рискам, исходя из оценки
эксперта Садовникова А.С.
|
Название
риска
|
Уровень
компетентности
|
Индекс риска
|
Индекс с
учетом компетенции
|
|
Риск выхода из
строя оборудования
|
5
|
8
|
40
|
|
Неудовлетворенность
потребителей качеством услуг
|
5
|
4
|
20
|
|
Недостаточно
квалифицированный персонал
|
5
|
3
|
15
|
|
Риск получения
травм сотрудников в результате производственной деятельности
|
5
|
2
|
10
|
|
Потеря
имущества
|
5
|
3
|
15
|
|
Сумма
|
25
|
|
100
|
|
|
|
4
|
Аналогичные сводные данные, представленные в таблице 36, были
проведены и по результатам оценки других экспертов.
Таблица 37 - Вероятность возникновения рисков
|
№
|
Риск
|
Балл (Pq)
|
Вероятность
(P)
|
|
1
|
Риск выхода из
строя оборудования
|
3
|
0,4 < P ≤ 0,6
|
|
2
|
Неудовлетворенность
потребителей качеством услуг
|
2
|
0,1 < P ≤
0,4
|
|
3
|
Недостаточно
квалифицированный персонал
|
2
|
0,1 < P ≤
0,4
|
|
4
|
Риск получения
травм сотрудников в результате производственной деятельности
|
2
|
0,1< P ≤
0,4
|
|
5
|
Потеря
имущества
|
2
|
0,1 < P ≤
0,4
|
Таблица 38 - Величина потерь от рисков
|
№
|
Вид риска
|
Балл (Iq )
|
В% от
плановой прибыли (I)
|
|
1
|
Риск выхода из
строя оборудования
|
3
|
40 < I ≤
60
|
|
2
|
Неудовлетворенность
потребителей качеством услуг
|
4
|
60 < I ≤ 90
|
|
3
|
Недостаточно
квалифицированный персонал
|
3
|
40 < I ≤ 60
|
|
4
|
Риск получения
травм сотрудников в результате производственной деятельности
|
2
|
10 < I ≤
40
|
|
5
|
Потеря имущества
|
2
|
10 < I ≤
40
|
Таблица 39 - Определение средней вероятности и ущерба рисков
|
Садовников. А
С.
|
Бабуркин А.Е.
|
Орлов О.В.
|
Семёнов Ю.В.
|
Шабарин Г.В.
|
Игнатьев Д.Г
|
Среднее
значение
|
|
Риск 1
|
|
|
Вероятность
|
2
|
2
|
2
|
2
|
4
|
4
|
2,6
|
|
Ущерб
|
4
|
4
|
3
|
4
|
2
|
3
|
3,3
|
|
Риск 2
|
|
|
Вероятность
|
2
|
1
|
2
|
3
|
3
|
2
|
2,2
|
|
Ущерб
|
2
|
3
|
3
|
4
|
4
|
4
|
3,3
|
|
Риск 3
|
|
|
Вероятность
|
1
|
1
|
1
|
3
|
3
|
1
|
1,6
|
|
Ущерб
|
3
|
2
|
2
|
4
|
3
|
4
|
3
|
|
Риск 4
|
|
|
Вероятность
|
1
|
2
|
2
|
1
|
1
|
2
|
1,5
|
|
Ущерб
|
2
|
3
|
3
|
2
|
2
|
2
|
2,3
|
|
Риск 5
|
|
|
Вероятность
|
1
|
1
|
1
|
1
|
1
|
2
|
1,2
|
|
Ущерб
|
3
|
3
|
3
|
3
|
3
|
4
|
3,2
|
|
|
|
|
|
|
|
|
|
|
|
После проведения мероприятий по снижению рисков над границей
терпимости количество рисков не осталось. Следовательно, меры оказались
эффективными.
Таблица 40 - Карта приемлемости и степени воздействия рисков
|
Приемлемость
Степень воздействия
|
непереносимый
|
оправданный
|
приемлемый
|
|
критический
|
|
|
|
|
существенный
|
|
|
|
|
умеренный
|
|
|
|
|
незначительный
|
|
1,2
|
3
|
|
игнорируемый
|
|
|
4,5
|
Почти все риски предприятия являются приемлемыми и
незначительными. Следовательно, они не оказывают воздействия и рассматриваются
к принятию.
Риски выхода из строя оборудования и неудовлетворенность
потребителей качеством услуг являются оправданными и незначительными, т.е. они
быстро устранимы.
2. Анализ экономической эффективности затрат и
расчет стоимости мероприятий по внедрению новой технологии
В современных условиях экономическая наука должна разработать
более эффективные методы ценообразования, цены должны быть увязаны с
экономическим эффектом от внедрения новой техники. Основной целью внедрения
новой технологии является уменьшение стоимости товара, а значит и снижения цены
товара, его удешевление, что в результате влечет за собой сокращение рабочего
времени на производство единицы товара, сокращение материальных затрат,
увеличение мощности основных фондов и так далее. В условиях рынка, внедрение
новой техники способствует выполнению основной задачи предприятия - получение
максимальной прибыли при минимальных затратах. Прирост прибыли, полученной
благодаря расширению объемов производства, является, также как и увеличение
прибыли от снижения себестоимости продукции, частью эффекта полученного в
результате внедрения новой техники.
Экономическая эффективность - результативность экономической
системы, выражающаяся в отношении полезных конечных результатов ее
функционирования к затраченным ресурсам. Эффективность экономической системы
зависит от эффективности производства, социальной сферы (систем образования,
здравоохранения, культуры), эффективности государственного управления. [10, С.
280]
Экономическая эффективность предприятия зависит от того,
насколько выпускаемая им продукция соответствует требованиям рынка, запросам
потребителей, характеризуется соотношением результата и затрат. Для
количественной оценки экономической эффективности применяются частные и
обобщающие показатели. Частные показатели говорят об эффективности
использования отдельного ресурса и результативности каждого конкретного
продукта, а обобщающие дают представление об эффективности всех ресурсов или
продуктов, а также о результативности предприятия как единого целого.
Процесс инвестирования представляет собой сложный
многогранный процесс, на который влияет знание множества факторов, имеющих
важное научное и практическое значение. Эффективность инвестиций - это
получение экономического или социального результата на один рубль инвестиций.
В отечественной практике для определения экономической
эффективности инвестиций в основной капитал используются формулы:
Эи = П/К или Ток = К/П,
где Эи - абсолютная эффективность инвестиций в основной
капитал;
П - прибыль (бухгалтерская, чистая), полученная в результате
вложения инвестиций в основной капитал;
К - инвестиции в основной капитал (капитальные вложения);
Ток - срок окупаемости капитальных вложений.
Улучшение эффективности производственной деятельности
предприятий в большей степени достигается за счет ежегодного внедрения
значительного количества новых технологий. Среди таких мероприятий главная роль
отводится тем из них, которые обеспечивают повышение технического уровня
производства и качества продукции. К таким мероприятиям относят: внедрение
прогрессивных технологий, механизация и автоматизация производственных
процессов, техническое перевооружение предприятий и освоение новых изделий.
В расчетах экономической эффективности новой техники,
изобретений и рационализаторских предложений используется единый нормативный
коэффициент эффективности капитальных вложений Eн, равный 0,15.
Расчеты экономической эффективности различаются на разных
стадиях разработки:
предварительные расчеты ожидаемой эффективности;
расчеты, выполняемые на стадиях разработки новой техники и
принятия решений о постановке ее на производство;
расчеты планируемой эффективности;
уточненные расчеты, выполняемые на стадии освоения и
использования новой техники с учетом реально сложившихся условий производства,
нормативной базы и цен. [18, С. 231]
В том случае, когда капитальные вложения осуществляются в
течение нескольких лет или в разные сроки, а также, когда текущие издержки и
результаты производства изменяются по годам эксплуатации, то приведение
сравниваемых вариантов в сопоставимый вид необходимо рассчитывать по временному
фактору.
Экономическая эффективность новых средств и предметов труда
определяется предприятиями-изготовителями и организациями-разработчиками на
объем их производства в расчетном году.
Краткая техническая характеристика базовых инструментов и
нового оборудования на «Чудовоагрохимсервис». В настоящее время предприятие
«Чудовоагрохимсервис» осуществляет ремонт сельхозтехники, используя стандартный
набор инструментов. В дальнейшем, ремонт будет производиться на специальном
оборудовании для высокоскоростного газопламенного напыления.
Таблица 41 - Исходные данные для расчета
|
№
|
Показатели
|
Единица
измерения
|
Базовый
вариант
|
Новое
оборудование
|
|
1
|
2
|
3
|
4
|
5
|
|
1
|
Стоимость
осуществления работ в день
|
тыс. руб.
|
48 000
|
48 000
|
|
2
|
Стоимость оборудования
|
тыс. руб.
|
1 654 100
|
999 450
|
|
3
|
Себестоимость
строительно-монтажных работ
|
тыс. руб.
|
525 120
|
316 890
|
|
4
|
В том числе:
|
тыс. руб.
|
|
|
|
5
|
Затраты на
эксплуатацию оборудования
|
тыс. руб.
|
52 200
|
63 000
|
|
Продолжение
таблицы 41
|
|
1
|
2
|
3
|
4
|
5
|
|
6
|
Накладные расходы
|
тыс. руб.
|
56 700
|
87 000
|
|
7
|
Капитальные
вложения в основные производственные фонды
|
тыс. руб.
|
299 000
|
379 890
|
|
8
|
Продолжительность
срока службы изделий
|
год
|
1,0
|
10,0
|
|
9
|
Продолжительность
ремонтно-восстановительных работ
|
5,0
|
2,0
|
Годовой экономический эффект, получаемый в результате
применения более совершенной технологии покрытия на изделия, производится по
формуле:
Э = (З1 - З2) ×А2,
где З1 и З2 - приведенные затраты на
единицу объема работ (продукции), выполняемых соответственно с применением
базовой и новой техники, руб.;
А2 - годовой объем работ, выполняемых в расчетном
году с применением новой техники, в соответствующих единицах измерения.
З1 = 1 654 100 + 525 120+ 0,15×299 000 = 2 224 070 тыс. руб.;
З2 = 999 450 + 316 890 + 0,15×379 890 = 1 373 323,5 тыс. руб.;
Э = (2 224 070 - 1 373 323,5) ×1 = 850 746,5 тыс. руб.
Помимо экономического эффекта по приведенным затратам
достигается экономия условно-постоянных расходов Эу организации и улучшения
качества изделий.
Рисунок 14 - Затраты на единицу объема работ, выполняемых с
применением базовой и новой техники
Условно-постоянные расходы Н принимаем в размере:
по накладным расходам Н:
,5×56 700= 28 350 тыс. руб.;
по затратам на эксплуатацию оборудования:
Н = 0,15×52 200 = 78 300 тыс.
руб.;
по затратам на материалы:
Н = 0,01×1 654 100 = 16 541 тыс.
руб.
Итого Н = 28 350 +78 300+16 541=123 191 тыс. руб.
Экономия от функционирования объекта за период его досрочного
ввода в эксплуатацию определяется по формуле:
Эф = РФ×(Т1 - T2),
где Р - рентабельность;
Ф - стоимость основных фондов, досрочно введенных в действие,
руб.;
Т1, T2 - продолжительность
ремонтно-восстановительных работ по сравниваемым вариантам, в днях.
Эф = 0,15×48 000×(5,0 - 3,0) = 14 400 тыс. руб.
Общий годовой экономический эффект составит:
Эт = Эу + Эф,
где Эу - эффект от сокращения условно-постоянных
расходов организации;
Эф - эффект в сфере эксплуатации от
функционирования объекта за период досрочного ввода.
Экономия условно-постоянных расходов Эу в связи с
совершенствованием технологии ремонта, организации и управления внедрением, при
неизменной сметной стоимости рассчитывается по формуле:
Э + Эу + Эф = 850 746,5 + 123 191 + 14
400 = 988 337,5 тыс. руб.
Таблица 42 - Расчет капитальных вложений в основные
производственные фонды организации на 2014
|
№
|
Наименование
и марка оборудования
|
Продолжительность
работы, за год в днях
|
Стоимость в
руб.
|
Капитальные
вложения, руб.
|
|
|
|
|
|
Базовый
вариант
|
Новое
оборудование
|
|
1
|
Установка
ТСЗП-HVOF-K2
|
245
|
210 000
|
|
93 000
|
|
2
|
Холодильник
РС-630
|
245
|
35 000
|
|
|
|
3
|
Шкаф управления
системой HVOF-K-2
|
245
|
50 000
|
|
|
|
4
|
Стационарное
оборудование
|
245
|
100 000
|
112 000
|
|
|
5
|
Питатель
порошка PF 2/2
|
245
|
7 000
|
|
|
|
6
|
Транспортируемое
оборудование
|
245
|
2 560 000
|
36 485
|
|
|
7
|
Пистолет К-2
|
245
|
3 000
|
|
|
|
8
|
Мобильное
оборудование
|
245
|
75 400
|
21 321
|
|
|
9
|
Оргтехника
|
245
|
110 000
|
15 000
|
|
|
10
|
Комплект ЗИП
|
245
|
5 000
|
|
920
|
|
11
|
Комплект
установки ТСЗП-UNI-SPRAY-JET
|
245
|
175 600
|
|
62 100
|
|
12
|
Камера сухой
струйно-абразивной обработки поверхности деталей
|
245
|
120 000
|
|
|
|
13
|
Камера
обезжиривания деталей с локальной вытяжной вентиляцией вредных испарений
|
245
|
75 000
|
|
|
|
14
|
Электропечь
|
245
|
65 750
|
|
|
|
15
|
Сушильный шкаф
|
245
|
34 600
|
|
|
|
16
|
Вибросито для
просева порошков
|
245
|
85 000
|
|
|
|
17
|
Автономная
вытяжная вентиляция, предусматривающая сбор порошка в системе типа «Циклон»
|
245
|
47 000
|
|
|
|
Итого
|
|
3 758 350
|
163 485
|
156 020
|
Капитальные вложения в расчете на покрытие:
при базовом варианте 163 485×12 = 1 961 820 руб.
при новом методе напыления 156
020×12
= 1 872 240 руб.
Рисунок 15 - Капитальные вложения в расчете на покрытие
Таблица 43 - Расчет себестоимости на 2014
|
Показатели
|
Ед.
измерения
|
Способ
проведения ремонтных работ
|
|
|
|
Базовый
вариант
|
Новое
оборудование
|
|
Основная
заработная плата рабочих
|
тыс. руб.
|
353 000
|
431 000
|
|
Затраты на
эксплуатацию машин и оборудования
|
тыс. руб.
|
378 580
|
148 440
|
|
Накладные
расходы, зависящие от:
|
|
|
основной
заработной платы рабочих (353 000*0,15 = 52 950; 431 000*0,15 = 64 650)
|
тыс. руб.
|
52 920
|
64 650
|
|
трудоемкости
работ (2695*06 = 1617; 2800*0,6 = 1680)
|
тыс. руб.
|
1 617
|
1 680
|
|
Итого
|
тыс. руб.
|
786 117
|
645 330
|
|
Всего на
покрытие нового оборудования
|
тыс. руб.
|
661 500
|
478 600
|
|
Трудовые затраты
|
чел.-дн.
|
2 695
|
2 800
|
Таблица 44 - Плановые показатели эффективности мероприятий по
новой технике на 2014 год
|
№
|
Показатели
|
Единица
измерения
|
Базовая
техника
|
Новая
техника
|
Экономия
(+), перерасход (-)
|
|
1
|
2
|
3
|
4
|
5
|
6
|
|
1
|
Годовой объем
работ осуществления мероприятия
|
покрытие шт.
|
1
|
1
|
-
|
|
2
|
Стоимость
осуществления работ
|
тыс. руб.
|
48 000
|
48 000
|
-
|
|
3
|
Себестоимость
единицы работ
|
тыс. руб.
|
2 224 070
|
1 373 323,5
|
850 746,5
|
|
4
|
Затраты труда
|
чел.-дни
|
2 695
|
2 800
|
-105
|
|
5
|
Производительность
труда
|
р./чел.
|
5651,2
|
6980,7
|
1329,5
|
|
6
|
Прибыль
|
тыс. руб.
|
1 097 107
|
1 874 592
|
777 485
|
|
7
|
Капитальные
вложения, необходимые для реализации мероприятия
|
руб.
|
1 961 820
|
2 074 126
|
89 580
|
|
8
|
Срок
окупаемости
|
лет
|
|
1,2
|
|
Планируемый прирост прибыли рассчитывается по формуле:
Пt = (Цt - Сt)×Аt - (Ц1 - С1)×А1,
Пt = (48 000 - 1 373
323,5) ×1
- (48 000-2 224 070)×1= 850 746,5 тыс. руб.
Так как при внедрении новой техники сметная стоимость не
изменяется, то планируемое снижение себестоимости рассчитывается по формуле:
Сt = (С1 - Сt) Аt,
Сt =(2 224 070 - 1 373 323,5)×1= 850 746,5 тыс. руб.
Срок окупаемости капитальных вложений, направляемых на
приобретение новой техники, рассчитывается по формуле:
Т = 2074126/156216 = 1,2 лет
Исходя из данных представленных в организационном и финансовом
разделах бизнес плана, стоимость мероприятий по внедрению новой технологии
будет составлять 2 074 126 тыс. рублей (таблица 45).
Таблица 45 - Стоимость мероприятий по внедрению новой
технологии
|
Наименование
|
Стоимость,
тыс. руб.
|
|
1
|
2
|
|
Основное и
вспомогательное оборудование
|
999 450
|
|
Предполагаемые
расходы:
|
|
- доставка
оборудования;
|
89 000
|
|
- ремонт
помещения;
|
132 000
|
|
- расходы на
строительные материалы;
|
115 000
|
|
- оборудование
складских помещений;
|
69 890
|
|
- монтаж
оборудования;
|
63 000
|
|
- проведение маркетинговых
исследований рынка;
|
4 000
|
|
- подбор
персонала;
|
9 000
|
|
- прочие
расходы на электро. - и водоснабжение, оформление документации;
|
87 000
|
|
-расходы на
рекламу;
|
176 920
|
|
- расходы на
страхование имущества.
|
100 000
|
|
Прямые
материальные производственные затраты:
|
|
- сырье;
|
255 266
|
|
- топливо.
|
3 600
|
|
Итого
|
2 074 126
|
На основании анализа была доказана целесообразность и
эффективность внедрения новых композиционных материалов на основе карбонитрида
титана и необходимое для их напыления оборудование. Кроме снижения затрат и
увеличения размера чистой прибыли, запланированные мероприятия принесут
дополнительные положительные социальные (более полное удовлетворение
потребностей клиентов в товарах и услугах, улучшение условий и техники
безопасности труда, снижение доли тяжелого ручного труда и др.) и экономические
эффекты (рост производительности труда и снижение трудоемкости, снижение
материалоемкости и себестоимости продукции, рост прибыли и рентабельности).
3. Влияние негативных факторов предлагаемой технологии
на окружающую среду и требования по технике безопасности для обслуживающего
персонала
Технологии высокоскоростного газопламенного и плазменного
напыления позволяют наносить твердосплавные покрытия, которые превосходят
гальванический хром по всем параметрам, и при этом не являются канцерогенными,
не вредят окружающей среде.
Проблема охраны труда рабочих в условиях роста механизации и
интенсификации сельскохозяйственного производства приобретает особую
актуальность. Забота об условиях труда, об охране здоровья трудящихся, о
безопасности работы постоянно находится в центре внимания нашего правительства
и рассматривается как одна из важнейших задач.
С работниками ремонтно-восстановительно цеха должны
проводиться вводный, первичный, на рабочем месте, повторный, внеплановый и
целевой инструктаж.
Для получения гарантированного качественного плазменного
покрытия на деталях важно, чтобы производственный участок был оснащен и
оборудован соответствующим образом.
Основные технические, экономические, санитарно-гигиенические,
экологические и эстетические требования, предъявляемые к ремонтному участку
плазменных покрытий:
помещение должно быть расположено на первом этаже
производственного здания на изолированной площади;
свободная площадь производственного помещения, на котором
отсутствует оборудование, должна составлять не менее 10 кв. м. на одного
работающего;
полы цеха должны быть изготовлены из несгораемого и
электроизоляционного материала, и обязательно должны обладать малой
теплопроводностью;
комплекс технологического оборудования на производственном
участке должен быть размещен в соответствии с монтажной схемой энерго-,
водо- и газокоммуникаций;
камера газопламенного напыления, камера сухой
струйно-абразивной обработки поверхности деталей, автономная система водоохлаждения,
система газообеспечения с баллонами газа, камера обезжиривания деталей,
локальная вытяжная вентиляция вредных испарений, система сжатого воздуха,
электропечь, сушильный шкаф, вибросито для просева порошков и др. также должны
быть размещены в соответствии с монтажной схемой распределения;
все металлические конструкции на участке должны быть
заземлены по контуру заземления медным многожильным проводом сечением не менее
6 мм2;
- в помещении обязательно должно быть наличие
приточно-вытяжной вентиляции, которая непрерывно будет обеспечивать приток
свежего и всасывание загрязненного воздуха из нижней и верхней частей
пространства;
эффективность вытяжной системы должна быть нe менее 90%, а
скорость движения всасываемого воздуха в зоне выделения вредных веществ нe
менее 1,5 м/с;
- необходимо наличие на производственном участке подвода
сетевой магистральной питьевой воды, в системе которой избыточное давление
должно быть не менее 0,4 МПа, а расход воды не менее 48 л/мин;
во время проведения работ с установками высокоскоростного
газопламенного напыления в замкнутых пространствах требуется наличие подвода
сетевого сжатого воздуха, в системе которого избыточные давление должно
равняться 0,6 МПа, а подвод сетевой электроэнергии мощностью не менее 120 кВт
трехфазного тока с промышленной частотой 50 Гц;
рабочего места оператора должно быть освещено лампами не
менее 1000 лк, при системе общего освещения нe менее 300 лк;
интерьeр помещения, стены, потолок дoлжны иметь
звукопоглощающую облицовку, окрашeны в серый, желтый, голубой тонa, поглощающие
ультрафиолетовые лучи, обеспечивающиe рассеянное отражение света c учетoм
наименьшего коэффициента отражения;
место проведения газопламенных работ должно быть оборудовано
средствами пожаротушения (асбестовое полотно, мягкая глина, вода в ведрах,
огнетушители углекислотные и т.д.).
- недопустимо присутствие на участке огнеопасных и
легковоспламеняющихся веществ, жидких и твердых материалов, находящихся в
открытом виде;
концентрация взрывоопасных веществ не должна превышать 20%
нижнего предела взрываемости;
- баллоны с газами (азотом, аргоном и др.) на рабочем участке
устанавливаются на расстоянии не менее 5 м от рабочего места оператора в
вертикальном положении с обязательным закреплением, отбор газов должен
производиться через редуктор соответствующего назначения;
- во время проведения работ в замкнутых пространствах баллоны
с водородом газоразборные посты, передвижные ацетиленовые генераторы должны
быть установлены с наружной стороны здания в специально оборудованном месте;
на производственном участке категорически не допускается
накопление какой-либо пыли, необходимо регулярно производить влажную уборку с
соблюдением мер безопасности.
Во избежание взрыва от обратного удара пламени между
ацетиленовым генератором или баллоном и газосварочной горелкой следует
установить предохранительный затвор.
Кислородные баллоны размещаются за пределами
производственного помещения в закрытых шкафах. В случае замерзания редуктора,
его следует отогревать только горячей водой или воздухом.
Иногда кислородные баллоны необходимо хранить в помещении
цеха, в этом случае их закрепляют в вертикальном положении на расстоянии не
менее 1 м от электрических приборов и не менее 5 м от открытого огня.
Металлические части электрооборудования, корпуса электродвигателей,
генераторов и ручного инструмента, каркасы распределительных щитов, кожухи
распределительных сборок, трансформаторов и измерительных приборов, кожухи
рубильников, магнитных пускателей, выключателей, детали осветительной
аппаратуры, металлическая изоляция кабелей, трубы, в которых расположены
провода, металлические оболочки проводов, не находящиеся под напряжением,
должны быть надежно заземлены.
Электропроводку и арматуру силовой и осветительной сети в
цехе необходимо надежно изолировать, защитить от влияния высокой температуры,
механических повреждений и химического воздействия.
Пожарная безопасность объекта должна быть обеспечена системой
предотвращения пожара, противопожарной защиты, организационно-техническими
мероприятиями и обязательно должны быть назначены лица, ответственные за
пожарную безопасность по участку.
В специально выделенном месте производственного помещения
должна быть установлена аптечка с необходимым набором медикаментов. На рабочих
местах сотрудников должны быть размещены плакаты с предупредительными надписями
по технике безопасности и противопожарным мероприятиям. В местах,
представляющих повышенную опасность, вывесить знаки безопасности.
Осмотр, ремонт, чистка, наладка оборудования, расположенного
на участке газопламенного напыления, производят только после полного отключения
электропитания. Периодически следует проверять надежность работы блокировочных
систем. Запуск газопламенной установки в режиме «Работа» производить только
после проверки в режиме «Настройка».
Комплекс всех мероприятий по обеспечению безопасности работ
на участке высокоскоростного газопламенного напыления должен быть отражен в
специальных технологических инструкциях, разработанных соответствующей службой
предприятия.
Оборудование для газопламенной обработки должно
соответствовать требованиям стандарта, ГОСТ 12.2.003-91 и ГОСТ 12.2.049-80.
Накидные гайки и штуцера для подключения горючих газов должны
иметь левую резьбу и отличительные метки по ГОСТ 2904-91.
Для газовых коммуникаций оборудования должны применяться
резиновые рукава по ГОСТ 9356-75, стальные электросварные трубы по ГОСТ
10704-91 - для кислородных коммуникаций при рабочем давлении до 2,5 МПа
(25 кгс/см) и коммуникаций газов-заменителей ацетилена при рабочем
давлении до 1,6 МПа (16 кгс/см). Стальные бесшовные трубы по должны применяться
по ГОСТ 8732-78 и ГОСТ 8734-75 - для кислородных коммуникаций при
рабочем давлении свыше 2,5 МПа (25 кгс/см) до 6,4 МПа (64 кгс/см) и
ацетиленовых коммуникаций.
Температура нагрева поверхностей оборудования или ограждений
в зоне обслуживания оператора не должна превышать 45 °С.
Аппаратура или части аппаратуры, за исключением горелок,
резаков и вентилей газовых баллонов, должны иметь опознавательную окраску в
зависимости от газа:
ацетилен - белый;
горючий газ - красный;
жидкое горючее - серый;
кислород - голубой цвет.
На газовые редукторы вместо опознавательной окраски
допускается нанесение наименование редуцируемого газа или его условное
обозначение. Способ нанесения маркировки должен обеспечивать ее сохранность в
течение всего срока эксплуатации редуктора.
Разработка технологических процессов газопламенной обработки
металлов предусматривает следующее:
механизацию и автоматизацию процессов;
мероприятия по предотвращению поступления в воздух рабочей
зоны вредных веществ;
мероприятия по очистке выбросов;
снижение уровней шума;
рациональную организацию рабочих мест.
Газопламенное напыление покрытий и наплавка порошковых
материалов в помещениях допускаются по согласованию с органами Госсаннадзора.
В помещениях, где газопламенное напыление покрытий и наплавку
из порошковых материалов на крупногабаритные изделия проводят вручную, то в
таком случае следует применять портативные отсосы, которые обеспечивают
концентрацию вредных веществ в воздухе не выше предельно допустимых.
В тех случаях, когда механизированные процессы сварки и
резки, связанны с повышенным выделением пыли и газов, следует предусматривать
местные вытяжные, подвижные и встроенные в машины пылегазоприемники, а также
соответствующее к их применению оборудование и приспособления.
Сварочный стол также должен быть заземлен. Стул сварщика
изолируется от пола, под ноги кладется резиновый коврик. При проведении сварки,
резки, наплавки, закалки, зачистки и нагрева крупногабаритных изделий
применяются технологические режимы, исключающие коробление изделий, приводящее
к травматизму работающих.
Помещение, в котором осуществляется газопламенная обработка
металлоконструкций, должно быть оборудовано грузоподъемными устройствами и
приспособлениями. Применение грузоподъемных устройств должно быть предусмотрено
для газопламенной обработки изделий массой 15 кг и более.
К сварочным работам следует допускать только лиц не моложе 18
лет, сдавших экзамен и получивших право на выполнение этих работ.
Из вышеизложенной информации ясно, что технология
высокоскоростного газопламенного напыления не являются канцерогенной и не
вредит окружающей среде. А при соблюдении необходимых требований об условиях
труда, об охране здоровья трудящихся, о безопасности работы на производственном
участке, риск получения травм сотрудниками сводится к минимуму.
Заключение
В результате выполнения дипломной работы был разработан
проект по внедрению новых композиционных материалов на основе карбонитрида
титана на ЗАО «Чудовоагрохимсервис» для повышения качества услуг по ремонту
сельхозтехники.
В ходе выполнения дипломного проекта были решены все
поставленные задачи.
Анализ предприятия ЗАО «Чудовоагрохимсервси» показал, что это
непрерывно развивающаяся организация, которая непосредственно связанна с
реализацией проектов по обеспечению потребителей всем необходимым для получения
материальных доходов и морального удовлетворения от сельскохозяйственной
деятельности, начиная дачниками и заканчивая агрохимическими холдингами. Была
выявлена необходимость, для укрепления позиций предприятия на рынке
сельскохозяйственных услуг, для привлечения новых потребителей, для выпуска
конкурентоспособных изделий с повышенным ресурсом работы, для продления срока
службы деталей машин, механизмов, оборудования (в том числе с/х техники, а именно,
лемехов плугов, ковшей экскаваторов и др.), внедрить новый метод обработки
изделий.
Возможности новых композиционных материалов на основе
карбонитрида титана будут оптимальным решением задач повышения эксплуатационных
показателей и увеличения срока службы деталей машин на ЗАО
«Чудововагрохимсервис. Кроме того, применение данного метода напыления приведет
к сокращению затрат.
Из анализа рынка разработанного бизнес-плана проекта по
внедрению новой технологии видно, что у предприятия существует один серьезный
конкурент, не позволяющий потеснить его на рынке сельскохозяйственных услуг.
На основе данных, представленных в производственном разделе
бизнес-плана о затратах на оборудование, материалы и прочие предполагаемые
расходы, для реализации проекта необходимо 2 074 126 рублей.
В организационном плане проекта отражена предполагаемая к
использованию система оплаты труда, разъяснена относительно предполагаемых к
использованию элементов кадровая политика, описаны должностные обязанности
персонала.
На основе расчетов в финансовом разделе о ежемесячных
расходах сервисного центра и показателей прибыли, чистая выручка в месяц будет
составлять 156 216 рублей. Исходя, из этих данных предположительный срок
окупаемости проекта составит 14 месяцев.
Анализ рисков показал, что почти все риски предприятия
являются приемлемыми и незначительными. Следовательно, они не оказывают
воздействия и рассматриваются к принятию. Риски выхода из строя оборудования и
неудовлетворенность потребителей качеством услуг являются оправданными и незначительными,
т.е. они быстро устранимы. Их следует обрабатывать, пока они не станут
приемлемыми.
На основании анализа экономической эффективности была
доказана целесообразность и эффективность внедрения новых композиционных
материалов на основе карбонитрида титана и необходимое для их напыления
оборудование. Кроме снижения затрат и увеличения размера чистой прибыли,
запланированные мероприятия принесут дополнительные положительные социальные
(более полное удовлетворение потребностей клиентов в товарах и услугах,
улучшение условий и техники безопасности труда, снижение доли тяжелого ручного
труда и др.) и экономические эффекты (рост производительности труда и снижение
трудоемкости, снижение материалоемкости и себестоимости продукции, рост прибыли
и рентабельности).
Изучение влияния новой технологии на окружающую среду
показало, что она не являются канцерогенной и не вредит окружающей среде. А при
соблюдении необходимых требований об условиях труда, об охране здоровья
трудящихся, о безопасности работы на производственном участке, риск получения
травм сотрудниками сводится к минимуму.
Список литературы
сервисный металл стоимость сельскохозяйственный
1. Акимов,
В.В. Разработка состава и технологии спекания дисперсно-упрочненных
композиционных материалов TiC - TiN с повышенными свойствами [Текст]: автореферат
диссертации д.т.н./ В.В. Акимов. - Барнаул, 2007. - 125 с.
2. Акулич,
И.Л. Основы маркетинга [Текст] / И.Л. Акулич, Е.В. Демченко. - 2 ое изд. испр. - Мн.:
высш. шк, 1999. - 236 с.
. Алексеева,
М.Н. Планирование деятельности фирмы [Текст] / М.Н. Алексеева - М.: [б.и.],
1997. - 248 с.
. Афитов,
Э.А. Планирование на предприятии [Текст] / Э.А Афитов - Мн.: «Высшая школа»,
2001. - 254 с.
. Балдаева,
Л.Х. Газотермическое напыление [Текст]: учеб. пособие для вузов / Л.Х.
Балдаева. - М.: Маркет ДС, 2007. - 344 с.
. Балдин,
К.В. Риск-менеджмент [Текст]: учебное пособие / К.В. Балдин, С.Н. Воробьев. -
Гардарики, 2005. - 331 с.
. Бутовский,
К.Г. Напыление покрытий и оборудование [Текст]: учеб. пособие для вузов / К.Г Бутовский,
В.Н. Лясников. - Саратов, 1999. - 118 с.
8. Винс,
Р. Методы анализа рисков для трейдеров и портфельных менеджеров [Текст]: пер. с
англ./ Р. Винс. - АЛЬПИНА, 2000. - 197 с.
9. Волкова,
К.А. Предприятие: стратегия, структура, положение об отделах и службах,
должностные инструкции [Текст] / К.А. Егорова - М.: Экономика, 1997. - 25 с.
10. Волков,
О.И. Экономика предприятия [Текст]: курс лекций / О.И. Волков, В.К. Скляренко. - М.: ИНФРА - М, 2005. - 280 с.
11. Егорова,
Е.Е. Системный подход оценки риска [Текст]: управление риском / Е.Е. Егорова. -
М.: Вильямс, 2002. - 12-13 с.
. Жиляева,
В.А., Безвольфрамовые твердые сплавы - керметы [Текст]: отчет вх. №290 / В.А.
Жиляева, Г.П. Швейкин. - ИХТТ УрО РАН, 1998. -
185
с.
. Кальков,
А.А. Определение возможности использования карбидов и карбонитридов титана в
качестве износостойкой составляющей наплавочных композиционных сплавов [Текст]:
отчет по НИР, тема №174-11-79-17 /
А.А.
Кальков, Г.Т. Дзодозиев. - М.: ВНИИТС, 1981. - 212 с.
. Колосс,
Б. Управление финансовой деятельностью предприятий [Текст]: пер. с англ. / Б.
Колосс. - М.: Прогресс, 2005. - 302 с.
. Коршунова,
Л.Н. Оценка и анализ рисков [Текст] / Л.Н. Коршунова, Н.А. Проданова - Феникс,
2007. - 185 с.
17. Михалина,
Л.М. Конспекты лекций по дисциплине «Основы маркетинга» [Текст] / Л.М.
Михалина. - Челябинск: Изд. ЮурГУ, 1998. - 82 с.
. Попова,
Т.К. Методические указания по расчету экономической эффективности [Текст] /
Т.К. Попова, Н.В. Кусмарцева. - М.: 2007. - 231 с.
. Митько,
О.А. Коммерческая логистика. [Текст]: учебник для вузов / О.А. Митько. -
Ростов-на-Дону: Феникс, 2002. - 98 с.
. Сивчик,
Л.Г. Методические рекомендации по планированию, учету и калькулированию
себестоимости продукции на промышленных предприятиях Министерства
промышленности [Текст] / Л.Г. Сивчик. - Мн.: [б.и.], 1998. - 258 с.
. Стрекалова,
Н.Д. Бизнес-планирование [Текст]: учебное пособие / Н.Д. Стрекалова. - СПб.:
Питер, 2010. - 351 с.
. Трофимова,
Л. Экономические показатели, используемые для оценки эффективности деятельности
предприятия [Текст] / Л. Трофимова. - Аудитор №9, 2005. - 19 с.
. Чернова,
Г.В. Управление рисками [Текст] / Г.В. Чернова, А.А. Кудрявцев. - СПб.:
Проспект, 2007 г. - 211 с.
. Российская
федерация. Федеральный закон. Проект Федерального Закона РФ «Об инновационной
деятельности и государственной инновационной политике в Российской Федерации»
[Текст]: офиц. текст. - М.: Инновации, 1998. - №2-3.
. Система
стандартов безопасности труда. Оборудование и аппаратура для газопламенной
обработки металлов и термического напыления покрытий [Текст] / ГОСТ
12.2.008-75. - М.: 2001. - 89 с.
. Группа
компаний ТСЗП - официальный сайт компании [Электронный ресурс]. - http://www.tspc.ru/tech/poroshkovoe-napylenie.
-
(дата обращения: 20.04.2013).
. Группа
компаний ТСЗП - официальный сайт компании [Электронный ресурс]. -
http://www.tspc.ru/oborud/HVOF. - (дата обращения:
21.04.2013).
. Википедия
- свободная энциклопедия [Электронный ресурс]. - http://wikipedia.org. -
(дата обращения: 30.04.2013).
. ЗАО
«Чудовоагрохимсервис»: официальный сайт предприятия [Электронный ресурс]. - http://chahs.ru. - (дата обращения:
06.06.2013).
. Межгосударственный
стандарт. Газопламенная обработка металлов. Требования безопасности: сайт ГОСТ
12.3.036-84 [Электронный ресурс]. -
http://www.tspc.ru/tech/stand/GOST % 2012.3.036-84. - (дата обращения:
27.05.2013).
Похожие работы на - Разработка проекта по внедрению новых композиционных материалов на основе карбонитрида титана
|