Поверочный тепловой расчёт теплогенерирующей установки
ПРЕДИСЛОВИЕ
Цель данного пособия - показать студентам
перспективы использования персональных компьютеров (ПК) для автоматизации
трудоёмких инженерных расчётов, научить практически, выполнять поверочный
тепловой расчёт теплогенерирующей установки на базе предлагаемой математической
модели. Пособие предназначено для оказания методической помощи
пользователю-специалисту, а именно будущему инженеру по специальности
“Теплогазоснабжение и вентиляция” в выполнении теплового расчета котельного
агрегата с использованием ПК в процессе изучения дисциплин: “Теплогенерирующие
установки”, “Повышение эффективности теплогенерирующих установок”, “Очистка и
утилизация выбросов теплогенерирующих установок”, курсового и дипломного
проектирования.
Пособие состоит из трёх глав.
В главе I
“Применение ПК в расчётах теплогенерирующих установок” приведена структурная
схема взаимодействия студента и ПК при поверочном тепловом расчёте
теплогенерирующей установки, описана методика применения ПК. Раскрыты основные
этапы решения технической задачи с использованием ПК: постановка задачи и
построение математической модели, алгоритмизация, запись алгоритма на языке
программирования, анализ полученных результатов.
В главе II
“Структура теплового расчёта теплогенерирующих установок” рассматривается
влияние исходных данных на выбор оптимальных характеристик котлоагрегатов,
технические характеристики современных и перспективных теплогенераторов, особое
внимание уделяется раскрытию и анализу методов снижения и подавления вредных
выбросов теплогенерирующих установок в окружающую среду и связанной с этим - их
экологической безопасности, а также методам повышения эффективности их работы.
Приводятся принципиальные схемы основных котлоагрегатов, таблицы и графики
зависимости от различных факторов.
В главе III
“Методика теплового расчёта теплогенерирующей установки, математические модели
и блок-схемы алгоритмов” приводятся общие указания к выполнению теплового
расчёта котлоагрегата и его последовательность, а также таблицы, рисунки и
графики необходимые для его расчёта. Подробно рассмотрены методики расчёта:
теоретического объёма воздуха и продуктов сгорания, теплового баланса
поверхностей нагрева, невязки теплового баланса. Даны блок-схемы алгоритмов
расчёта каждого этапа в отдельности и блок-схема алгоритма расчёта
теплогенерирующей установки в целом. Методика теплового расчёта топки учитывает
экологические требования к составу дымовых газов. Расчёт котлоагрегата в целом
основан на учёте технико-экономических показателей установки.
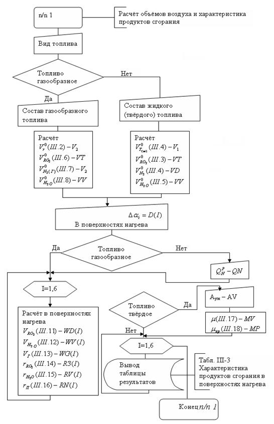
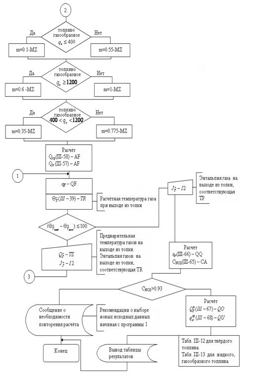
Глава I.
ПРИМЕНЕНИЕ ПК В РАСЧЁТАХ ТЕПЛОГЕНЕРИРУЮЩИХ УСТАНОВОК
Структурная схема взаимодействия студента и ПК
при расчёте котельного агрегата в соответствии с методикой, описанной в гл.III,
представлена на рис.I.1. Из схемы
следует, что расчёт разбит на 7 отдельных блоков. Такой подход позволяет вести
поверочный расчет, как всего котельного агрегата, так и независимый расчёт его
отдельных поверхностей нагрева.
После получения студентом задания на расчёт
котельного агрегата расчёт каждого блока осуществляется в три этапа: подготовка
и ввод данных, расчёт на ПК, анализ полученных результатов. Пользователь при
таком подходе играет активную, а не пассивно-созерцательную роль, так как ему
полностью отданы инициативы: переход к следующему блоку расчёта или его
прекращение; повторный расчёт блока на ПК с той же, или изменённой исходной
информацией к данному блоку; возврат, в случае необходимости, на один из
предыдущих блоков расчёта. При расчёте котельного агрегата в целом результаты
расчёта отдельного блока являются частью исходных данных для расчета,
следующего блока. Пользователь в процессе работы с программами, реализующими
алгоритмы, может совершать несколько вариантов расчета отдельного блока или
агрегата в целом и выбрать из них лучший оптимальный вариант.
В соответствии со схемой на рис.I.1
поверочный расчёт котельного агрегата осуществляется в следующем порядке:
Блок 1.
студент получает задание на расчёт котельного
агрегата;
осуществляется подготовка исходных данных для
программы расчёта характеристик продуктов сгорания и теплового баланса
котельного агрегата;
загружается и запускается на исполнение
программа расчёта характеристик продуктов сгорания и теплового баланса
котельного агрегата, вводятся в режиме диалога необходимые исходные данные к
программе;
результаты расчёта теплового баланса
анализируются студентом, и принимается одно из возможных решений:
) повторить расчёт с теми же исходными данными;
) изменить исходные данные и повторить расчёт с
новыми исходными данными;
) перейти к расчёту теплообмена в топке.
Блок 2.
осуществляется подготовка исходных данных для
расчёта теплообмена в топке;
загружается и запускается программа расчёта
теплообмена в топке;
анализируются результаты расчёта теплообмена в
топке и принимается одно из возможных решений:
) повторить расчёт с теми же исходными данными;
) изменить исходные данные и повторить расчёт с
новыми исходными данными;
) вернуться на блок 1 и повторить расчёт
характеристик продуктов сгорания и теплового баланса;
) перейти к расчёту фестона (конвективного
пучка).
Блок 3.
осуществляется расчёт фестона в аналогичном
порядке и в соответствии со схемой.
Блок 4.
осуществляется расчёт перегревателя в
аналогичном порядке и в соответствии со схемой.
Блок 5.
осуществляется расчёт экономайзера в аналогичном
порядке и в соответствии со схемой.
Блок 6.
осуществляется расчёт воздухоподогревателя в
аналогичном порядке и в соответствии со схемой.
Блок 7.
осуществляется расчёт невязки котельного
агрегата в аналогичном порядке и в соответствии со схемой, но на этапе анализа
результатов решения возможно принятие дополнительного решения о повторе расчёта
всего котельного агрегата, начиная с блока 1.
® основной путь расчёта
- ®возможное
возвращение на предыдущие этапы расчёта
Рис. I.1.
Структурная схема взаимодействия студента и ПК при поверочном расчёте
котельного агрегата.
Основной путь расчёта и возможные итерационные
процессы в расчёте (возврат на предыдущие этапы) указаны на рис. I.1
соответствующими линиями: сплошная линия - основной расчёт, пунктирная линия -
возможные итерации.
Перед непосредственным использованием программ,
соответствующих предлагаемым алгоритмам, и их загрузкой в оперативную память
ПК, необходимо детально ознакомиться с содержанием главы III,
уяснить физический смысл задачи и методику последовательного расчёта
теплогенерирующей установки. Алгоритмы расчёта строятся на базе математических
моделей поверхностей нагрева, включающих соответствующие уравнения с
ограничениями на переменные и дополнительными взаимосвязями. В блок- схемах
алгоритмов даны обозначения переменных, принятых в математической модели при
изложении методики расчёта и даны ссылки на соответствующие формулы.
Методология решения задачи на компьютере, в том
числе и конкретной технической, такой как расчёт и проектирование котельного агрегата,
предусматривает следующие этапы:
. Постановка задачи.
. Математическое описание задачи.
. Алгоритмизация задачи.
. Программирование.
. Разработка тестовой задачи.
. Перенос программы на машинный носитель.
. Отладка программы.
. Расчёт и анализ полученных результатов.
Постановка задачи.
На этом этапе необходимо участие специалиста,
хорошо представляющего предметную область задачи, её физический смысл. Для
каждой задачи формулируется её конечная цель, определяется объём и структура
исходной информации, даётся словесное описание задачи, предлагается общий
подход к её решению.
Математическое описание задачи.
Цель этого этапа - создание такой математической
модели решаемой задачи, которая может быть реализована на ПК. Математические
модели задач по тепловому расчёту котельного агрегата построены на основе
уравнений: теплового баланса, материального баланса, теплопередачи, логических
условий, дополнительных ограничений на переменные.
Алгоритмизация задачи.
На данном этапе разрабатывается алгоритм решения
для каждой из задач на основании математических моделей.
Программирование
На этом этапе алгоритм решения задачи
представляется в виде программы на одном из языков программирования,
позволяющей реализовать алгоритм на ПК, а значит и поставленную задачу.
Разработка тестовой задачи
Этап выполняется совместно программистом и
специалистом в конкретной предметной области. Тестовая задача - это
совокупность таких исходных данных, имеющих конкретный физический смысл для
решения задачи, на основании которых специалистом заранее определяются значения
выходных данных, т. е. ожидаемые результаты работы программы. Наличие тестовой
задачи позволяет убедиться в правильности составленной программы, выявить
возможные ошибки на предыдущих этапах: неправильная постановка задачи,
некорректное математическое описание, ошибки в алгоритме программы.
Перенос программы на машинный носитель.
Текст программы в виде файла записывается на
магнитный диск или другой носитель.
Отладка программы.
Работы по отладке программы выполняются программистом.
Программа загружается в оперативную память компьютера и запускается на
выполнение с исходными данными, представляющими собой тестовую задачу.
Результаты решения сравниваются с ожидаемым решением тестовой задачи. В случае
их совпадения делается вывод об окончании процесса отладки и пригодности
программы к дальнейшей эксплуатации с конкретными исходными данными. В
противном случае локализуется ошибка, допущенная на одном из этапов отладки и
отладка, повторяется.
Расчёт и анализ полученных результатов.
На данном этапе осуществляется решение
конкретной задачи пользователя с необходимым набором исходных данных.
Подготовленные исходные данные после запуска программы вводятся, как правило, в
режиме диалога, чаще всего с клавиатуры. Полученные результаты анализируются
постановщиком задачи. На основании анализа вырабатываются соответствующие
решения, рекомендации, делаются выводы.
В данном пособии в главе III
реализованы 1, 2 и 3 этапы расчёта теплогенерирующей установки. При наличии
готовых отлаженных программ пользователь должен в соответствии с методикой
заранее подготовить конкретные исходные данные с учётом физического смысла
решаемой задачи и ввести эти данные с клавиатуры в память ПК в ответ на запрос
программы.
Сохранение промежуточных результатов расчёта
обязательно для программы, так как связано с необходимостью их дальнейшего
творческого анализа, возможностью повторного расчёта с новым набором исходных
данных для выбора окончательного оптимального варианта, с необходимостью выбора
для последующих программ части исходных данных из результатов работы предыдущих
программ. Это весьма полезно для студентов в процессе проектирования
теплогенерирующей установки, так как позволяет осмысленно использовать
предлагаемую готовую программу и постоянно чувствовать причинно- следственную
связь между заданными исходными данными и полученными результатами по
математической модели, заложенной в программе.
Глава II.
СТРУКТУРА ТЕПЛОВОГО РАСЧЁТА ТЕПЛОГЕНЕРИРУЮЩИХ УСТАНОВОК
Для выполнения поверочного теплового расчёта парогенератора
необходимы следующие сведения и исходные данные:
. Типоразмер (наименование серии) котельного
агрегата.
. Паропроизводительность агрегата D,
т/ч, (кг/с).
. Непрерывность продувки в процентах от
паропроизводительности агрегата р, %.
. Давление пара у главной паровой задвижки Рп,
МПа.
. Температура перегретого пара tп.п,
оС.
. Температура питательной воды перед
экономайзером tп.в, оС.
. Вид топлива и его основные характеристики.
. Способ сжигания топлива и тип топки.
. Вид хвостовых поверхностей нагрева и их
компоновка.
. Температура уходящих газов qух.
оС.
. Температура воздуха на входе в
воздухоподогреватель tв,
оС и на выходе из него.
Исходные данные пунктов 8-10 могут быть приняты
студентом самостоятельно.
Поверочный тепловой расчет парогенератора
является основным элементом курсового проекта дисциплины
"теплогенерирующие установки" и составной частью дипломного проекта
по расчёту и проектированию котельных установок.
Курсовой проект состоит из
расчётно-пояснительной записки c
тепловым расчётом агрегата и компоновочных чертежей парогенератора и некоторых
его узлов. Объём пояснительной записки и графического материала устанавливается
кафедрой.
При выполнении расчёта в пояснительной записки
формулы сначала записываются в общем виде, затем подставляются числовые
значения всех входящих в них величин, после чего приводится окончательный
результат вычислений. Кроме того, результаты расчёта сводятся в специальные
таблицы.
При выполнении расчёта на ПК сначала
записывается методика, блок-схема алгоритма расчёта, после чего приводятся
результаты вычислений. Необходимые для расчёта конструктивные характеристики
агрегата и его элементов выбирают из чертежей и технических условий на заданный
парогенератор, а также из заданных или принятых самостоятельно топочного
устройства, экономайзера, воздухоподогревателя.
II-1. Краткие технические характеристики современных
котельных агрегатов
До сих пор наиболее распространённым и надёжным
типом котельных агрегатов являются парогенераторы ДКВР, которые обеспечивают
третью часть общей теплопроизводительности систем теплоснабжения страны.
Парогенераторы ДКВР выпускаются с номинальной производительностью D
=2,5; 4; 6,5; 10 т/ч для выработки насыщенного и перегретого пара (250 и 370
оС) с давлением Р =1,3 и 2,3 МПа. Парогенераторы предназначены для сжигания
газа и мазута, а также различных видов твёрдого топлива. Они имеют общую
конструктивную схему, характеризуемую двумя продольно расположенными
барабанами, между которыми установлен развитой конвективный пучок, омываемый горизонтальным
потоком газов. Между топкой и конвективным пучком имеется камера догорания,
отделённая от конвективного пучка шамотной перегородкой. Чугунной перегородкой
конвективный пучок делится на 2 газохода. Выход газа из котла и камеры
догорания ассиметричен.
Топки ДКВР производительностью 2,5; 4 и 6,5 т/ч
имеют только боковые экраны, выполненные из труб Æ
51´2,5
мм с шагом 80 мм; топки парогенераторов ДКВР производительностью D=10
т/ч также фронтовой и задний экран, (из труб Æ51´2,5
мм с шагом 130 мм). Камеры догорания во всех парогенераторах ДКВР имеют задний
экран, образованный трубами первого ряда конвективного пучка с шагом 110 мм, и
два боковых экрана (по четыре трубы с каждой стороны с шагом 80 мм).
Конвективный пучок выполнен из труб Æ
51´2,5
мм. Расположение труб пучка - коридорное: шаг труб по длине равен 100мм, по
ширине - равен 110мм.
Перегреватели унифицированы и отличаются лишь
числом параллельных змеевиков Æ 32´3
мм. Располагаются перегреватели в первом газоходе конвективного пучка против
окна для выхода газов из камеры догорания.
Питательная труба и труба для непрерывной
продувки размещены в водном пространстве верхнего барабана, труба для
периодической продувки размещена в нижнем барабане. Основные технические и
конструктивные характеристики парогенераторов ДКВР приведены в таблице II-1.
Таблица II-1.
Технические и основные конструктивные
характеристики парогенераторов ДКВР
|
Наименование
показателей
|
Типоразмер
парогенераторов ДКВР
|
|
2,5-13
|
4-13
|
6,5-13
|
10-13
|
|
1
|
2
|
3
|
4
|
5
|
|
Номинальная
паропроизводительность, т/ч
|
2,5
|
4
|
6,5
|
10
|
|
Рабочее
давление пара, МПа
|
1,3
|
1,3
|
1,3
|
1,3
|
|
Температура
пара, 0С
|
Насыщ.
|
Насыщ.
|
Насыщ.
|
Насыщ.
|
|
Площадь
поверхности нагрева, м2:
|
|
|
|
|
|
лучевоспринимающей
поверхности топки и камеры догорания при сжигании углей
|
17,7
|
21,4
|
27,9
|
47,9
|
|
тоже
при сжигании газа и мазута
|
12,3
|
15,2
|
18,2
|
39,7
|
|
конвективного
пучка
|
73,6
|
116,9
|
197,4
|
229,1
|
|
перегревателя
|
-
|
-
|
-
|
-
|
|
Площадь
живых сечений (усреднённая) для прохода газов, м2:
|
|
|
|
|
|
фестона
|
-
|
-
|
-
|
-
|
|
перегревателя
|
-
|
-
|
-
|
-
|
|
конвективного
пучка
|
0,52
|
0,84
|
1,24
|
1,28
|
|
Объём
топки и камеры догорания м3 при сжигании:
|
|
|
|
|
|
углей
|
9,7
|
13,3
|
19,7
|
35,7
|
|
газа,
мазута
|
10,9
|
14,5
|
22,4
|
37,5
|
|
фрезерного
торфа в топке Шершнева
|
17,9
|
23,3
|
36,5
|
61,6
|
|
Длина
цилиндрической части барабана, мм
|
|
|
|
|
|
верхнего
|
3500
|
4820
|
6000
|
6325
|
|
нижнего
|
1175
|
1835
|
2675
|
3000
|
|
Количества
труб экранов, шт.:
|
|
|
|
|
|
боковых
|
23´2=46
|
30´2=60
|
37´2=74
|
29´2=58
|
|
фронтального
|
-
|
-
|
-
|
20
|
|
заднего
(топки)
|
-
|
-
|
-
|
20
|
|
заднего
(камеры догорания вместе с трубами выходного окна)
|
20
|
20
|
22
|
22
|
|
Количество
рядов труб конвективного пучка, шт.:
|
|
|
|
|
|
по
оси барабана
|
10
|
16
|
23
|
27
|
|
по
ширине парогенератора
|
20
|
20
|
22
|
22
|
|
Габаритные
размеры газоходов, мм:
|
|
|
|
|
|
глубина
топки А
|
1545
|
2166
|
2435
|
2240
|
|
камеры
догорания С
|
360
|
416
|
548
|
803
|
|
конвективного
пучка D
|
1020
|
1623
|
2332
|
2732
|
|
Ширина
топки и газохода конвективного пучка (в свету) В
|
2180
|
2180
|
2810
|
2810
|
В последние годы на смену котлам ДКВР созданы
новые котлы серии Е для работы на газе и мазуте ДЕ и твёрдом топливе КЕ
производительностью 4; 6,5; 10; 16; 25 т/ч для сжигания газа и мазута и 2,5; 4;
6,5; 10; 16; 25 т/ч со слоевыми топочными устройствами для сжигания твёрдого
топлива. Котлы КЕ-2,5-14С оборудуют полумеханическим забрасывателем и ручными
поворотными колосниками.
В качестве топочного устройства для сжигания
отечественных каменных и бурых углей в котлах КЕ паропроизводительностью 4;
6,5; 10 т/ч применяются топки типа ТЛЗМ с пневмомеханическими забрасывателями и
моноблочной ленточной цепной решёткой обратного хода. Цепные решётки топок ТЛЗМ
поставляются заказчику в блочном исполнении, что существенно повышает их
эксплуатационную надёжность. Рама решётки служит опорой коллекторов боковых
экранов котлов. Котлы КЕ-25 оборудуют механическими топками ТЧЗ с чешуйчатой
цепной решёткой обратного хода с пневмомеханическими забрасывателями. За
котельными агрегатами в случае сжигания каменных и бурых углей с приведённой
влажностью W=2%
устанавливают водяные экономайзеры, а при сжигании с приведённой влажностью W>2%-
трубчатые воздухоподогреватели (здесь W
в %
на 1 МДж сжигаемого килограмма топлива ).
При разработке новых конструкций котлов серии Е
(КЕ и ДЕ) было обращено внимание на увеличение степени их заводской готовности
в условиях крупносерийного производства, снижение металлоёмкости конструкции,
снижение присосов воздуха в конвективную часть котла. Котлы типа КЕ поставляют
потребителям блоками в собранном виде, с обвязочным каркасом, без обмуровки и
обшивки. Основными элементами котлов типа Е и КЕ являются: верхний и нижний
барабаны с внутренним диаметром 1000мм, левый и правый боковые экраны и
конвективный пучок, выполненные из труб диаметром 51´2,5
мм. Топочная камера образована боковыми экранами, фронтальной и задней
стенками, выполненными из огнеупорного кирпича. Ширина топочной камеры котлов
паропроизводительностью 2,5; 4; 6,5 т/ч по осям экранных труб составляет 2270
мм, а ширина топочной камеры котла производительностью 10 т/ч- 2874 мм.
Топочная камера котлов паропроизводительностью
от 2,5 до 10 т/ч разделена кирпичной стенкой на собственную топку глубиной
1605-2105 мм и камеру догорания 360-745 мм, что позволяет повысить КПД котла за
счёт снижения потерь с химической неполнотой сгорания топлива. Вход газов из
топки в камеру догорания и выход из котла- ассиметричные. Под камеры догорания
наклонён таким образом, что бы основная масса падающих в камеру кусков топлива
скатывалась на колосниковую решётку. Трубы конвективного пучка, развальцованные
в верхнем и нижнем барабанах, установлены с шагом вдоль барабана 90 мм и
поперечным шагом 110 мм (за исключением среднего 120 мм, и боковых пазух,
ширина которых 195-387 мм). Шамотная перегородка, отделяющая камеру догорания
от пучка и чугунная перегородка, образующая два газохода, в пучках создают
горизонтальный разворот газов при поперечном омывании труб. Особенностью
конструкции котлов КЕ является наличие плотных боковых экранов в области
топочной камеры и ограждающих стен в конвективном пучке с шагом 55 мм при
трубах диаметром 51´21 мм. Боковые экраны и крайние
боковые ряды труб конвективного пучка объединены общими коллекторами по всей
длине котла.
В котлах применена схема одноступенчатого
испарения. Питательная вода экономайзера подаётся в верхний барабан под уровень
воды по перфорированной трубе. В нижний барабан вода сливается по задним
обогреваемым трубам кипятильного пучка. Передняя часть пучка (от фронта до
котла ) является подъемной. Из нижнего барабана вода по перепускным трубам
поступает в камеры левого и правого экранов. Питание экранов осуществляется
также из верхнего барабана по опускным не обогреваемым трубам (Æ
159) , расположенным по фронту котла. Пароводяная смесь из экранов поступает в
верхний барабан под уровень воды. В результате происходит барботаж пара через
слой воды. Отсепарированный в свободном объёме пар проходит через
перфорированный, лист установленный на расстоянии 90 мм от верхней образующей
барабана, и направляется в паропровод. Применение плотных экранов позволяет
заменить тяжёлую обмуровку на боковых стенах котлов натрубной состоящей из слоя
шамотобетона толщиной 25 мм по сетке и нескольких слоёв изоляционных плит общей
толщиной около 100 мм.
Котлы КЕ на твёрдом топливе
паропроизводительностью от 2,5 до 10 т/ч оборудованы стационарным обдувочным
аппаратом с расположенной по оси котла вращающейся трубой, имеющей ряд сопл.
Для обдувки поверхностей нагрева от наружных отложений применяется насыщенный
или перегретый пар при давлении перед соплами не менее 0,7 и не более 1,7 МПа.
Котлы серии КЕ на твёрдом топливе надёжно работают на пониженном по сравнению с
номинальным давлением, при этом КПД котлоагрегата не уменьшается. В котельных,
предназначенных для производства насыщенного пара без предъявления жёстких
требований к его качеству, паропроизводительность котлов типа КЕ при понижении
(до 0,2 МПа) давления может быть принята такая же, как и при давлении 1,4 МПа.
Основные технические и конструктивные характеристики парогенераторов КЕ
приведены в таблице II-2.
Таблица II-2.
Технические и основные конструктивные
характеристики парогенераторов КЕ
|
Наименование
показателей
|
Типоразмер
парогенераторов КЕ
|
|
2,5
|
4
|
6,5
|
10
|
|
1
|
2
|
3
|
4
|
5
|
|
Номинальная
паропроизводительность, т/ч
|
2,5
|
4
|
6,5
|
10
|
|
Рабочее
давление пара, МПа
|
1,3
|
1,3
|
1,3
|
1,3;
2,3
|
|
Температура
пара, 0С
|
Насыщ.
|
Насыщ.
|
Насыщ.
|
Насыщ.
|
|
Площадь
поверхности нагрева, м2:
|
|
|
|
|
|
лучевоспринимающей
поверхности (топки и камеры догорания)
|
19,8
|
20,5
|
27,8
|
30,3
|
|
конвективного
пучка
|
66,5
|
94
|
149
|
213,9
|
|
Усреднённая
площадь живого сечения конвективного пучка, м2
|
0,38
|
0,59
|
0,95
|
1,15
|
|
Тип
топки
|
ЗП-РПК
|
ТЛЗМ
|
ТЛЗМ
|
ТЛЗМ
|
|
Длина
решётки, м (для цепной - по оси валов)
|
1,55
|
2,4
|
3
|
3
|
|
Ширина
решётки, м
|
1,8
|
1,87
|
1,87
|
2,7
|
|
Активная
площадь зеркала горения, м2
|
2,75
|
3,3
|
4,4
|
6,4
|
|
Объём
топки с камерой догорания м3
|
10,5
|
12
|
14,8
|
22,6
|
|
Длина
цилиндрической части барабана, мм
|
|
|
|
|
|
верхнего
|
3450
|
3950
|
5200
|
5900
|
|
нижнего
|
1000
|
1500
|
2200
|
2700
|
|
Количества
труб экранов, шт.:
|
|
|
|
|
|
-боковых
(топки и камеры догорания)
|
42´2=84
|
44´2=88
|
53´2=106
|
58´2=116
|
|
-заднего
(камеры догорания вместе с трубами выходного тока)
|
16
|
16
|
16
|
20
|
|
Количество
рядов труб конвективного пучка, шт.:
|
|
|
|
|
|
по
глубине пучка (оси барабана)
|
9
|
14
|
22
|
27
|
|
по
ширине пучка
|
18
|
18
|
18
|
20
|
|
Габаритные
размеры газоходов, мм:
|
|
|
|
|
|
глубина
топки А
|
1690
|
2080
|
2100
|
|
глубина
камеры догорания С
|
360
|
510
|
510
|
75
|
|
глубина
конвективного пучка D
|
850
|
1300
|
2000
|
2500
|
|
Ширина
топки и газохода конвективного пучка (по осям боковых экранов и боковых труб,
ограждающих конвективный пучок) В
|
2280
|
2280
|
2280
|
2830
|
Газомазутные вертикально-водотрубные паровые
котлы Е (ДЕ) паропроизводительностью 4; 16,5; 10; и 25 т/ч предназначены для
выработки насыщенного или слабоперегретого пара давлением 1,4 МПа. Топочная
камера котлов размещена сбоку от конвективного пучка, образованного
вертикальными трубами, развальцованными в верхнем и нижнем барабанах. Ширина
топочной камеры по осям боковых экранов труб одинакова для всех котлов- 1790
мм, глубина топочной камеры изменяется в зависимости от номинальной
паропроизводительности котла.
Основными элементами этих котлов являются:
боковой и задний экраны, образующие топочную камеру. Трубы перегородки и
правого бокового экрана, образующие также под и потолок топочной камеры
вводятся непосредственно в верхний и нижний барабаны. Концы труб заднего экрана
приварены к верхнему и нижнему коллекторам диаметром 159´6
мм. Трубы фронтального экрана котлов паропроизводительностью 4; 6,5; 10; т/ч
приварены к коллекторам диаметром 159´6 мм, а на котлах
паропроизводительностью 16 и 25 т/ч они развальцованы в верхнем и нижнем
барабанах. Шаг трубы вдоль барабана- 90 мм, поперечный- 110 мм (за исключением
среднего, равного 120 мм). Для поддержания необходимого уровня скоростей газов
в конвективных пучках котлов паропроизводительностью 4; 6,5 и 10 т/ч
установлены продольные ступенчатые перегородки.
Плотное экранирование боковых стен
(относительный шаг труб=1,03), потолка и пода поточной камеры позволяет на
котлах применять легкую изоляцию в 2-3 слоя изоляционных плит толщиной 110 мм,
укладываемую на слой шамотобетона по сетке толщиной 15-20 мм. Обмуровка
фронтальной и задней стен выполнена по типу облегченной обмуровки котлов ДКВР
(шамотный кирпич толщиной 65 мм и изоляционных плит общей толщиной 110 мм для
котлов 4; 6,5 и 10т/ч). для котлов 16 и25 т/ч обмуровка фронтальной стены
выполнена из шамотного кирпича толщиной 125 мм и несколько слоев изоляционных
плит толщиной 175 мм, общая толщина обмуровки фронтальной стены 300 мм. Обмуровка
задней стены состоит из слоя шамотного кирпича толщиной 65 мм и нескольких
слоев изоляционных плит толщиной 200 мм; общая толщина обмуровки составляет 265
мм. Для уменьшения присосов в газовый тракт снаружи изоляцию покрывает
металлической листовой обшивкой толщиной 2 мм, приваренной к обвязочному
каркасу, в качестве хвостовых поверхностей используется чугунные экономайзеры
из труб ВТИ.
Котлы серии ДЕ имеют высокую степень заводской
готовности, что повышает эффективность их монтажа.
Основные технические и конструктивные
характеристики парогенераторов ДЕ и Е приведены, в табл. II-3
и табл. II-4.
Таблица II-3.
Двухбарабанные газомазутные котлоагрегаты серии
ДЕ-4-14ГМ и ДЕ-25-14ГМ.
|
Наименование
показателей
|
4-14ГМ
|
6,5-14ГМ
|
10-14ГМ
|
16-14ГМ
|
25-14ГМ
|
|
   
|
|
|
|
|
|
1
|
2
|
3
|
4
|
5
|
6
|
|
Паропроизводительность,
т/ч
|
4
|
6,5
|
10
|
16
|
25
|
|
Абсолютное
давление пара в барабане, МПа
|
1,4
|
1,4
|
1,4
|
1,4
|
1,4
|
|
Температура,
0С:
|
|
|
|
|
|
|
-питательной
воды
|
   
|
|
|
|
|
|
-уходящих
газов за экономайзером
|
   
|
|
|
|
|
|
Коэффициент
полезного действия котлоагрегата, %
|
   
|
|
|
|
|
|
Расчётный
расход топлива м3/ч или кг/ч
|
   
|
|
|
|
|
|
Размеры
топочной камеры по осям труб, м:
|
|
|
|
|
|
|
-глубина
|
2
|
2,8
|
4,3
|
6
|
7,5
|
|
-ширина
|
|
|
1,75
|
|
|
|
-средняя
высота
|
|
|
2,4
|
|
|
|
Объём
топочной камеры, м3
|
8,55
|
11,8
|
18,1
|
25,07
|
31,2
|
|
Наружный
диаметр и толщина стенки цилиндрической части барабана, мм:
|
|
|
|
|
|
|
-верхнего
|
|
|
1026´13
|
|
|
|
-нижнего
|
|
|
1026´10
|
|
|
|
Расстояние
между осями барабанов, мм
|
|
|
2750
|
|
|
|
Длина
цилиндрической части барабанов, мм
|
2240
|
3000
|
4500
|
6000
|
7500
|
|
Общее
количество труб котла, шт.
|
285
|
403
|
616
|
837
|
1054
|
|
Поверхность
нагрева, м2
|
|
|
|
|
|
|
-лучевоспринимающая
|
22,2
|
28,1
|
39,9
|
52,6
|
64
|
|
-конвективная
|
56,2
|
81,8
|
131,6
|
181,8
|
230,1
|
|
-чугунного
водяного экономайзера
|
94,4
|
141,6
|
236
|
330,4
|
808,2
|
|
Наружный
диаметр и толщина стенки труб, мм
|
|
|
|
|
|
|
-экрана
|
|
|
|
|
|
|
-конвективного
пучка
|
|
|
|
|
|
|
-экономайзера
(c рёбрами)
|
|
|
|
|
|
|
Шаг
труб, мм:
|
|
|
|
|
|
|
-экранов
|
|
|
50
|
|
|
|
-конвективного
пучка
|
|
|
90´110
|
|
|
|
-экономайзера
|
|
|
150´150
|
|
|
|
Горелочные
устройства с двумя форсунками
|
|
|
|
|
|
|
-типоразмер
|
ГМГ-1,5м
|
ГМГ-2м
|
ГМГ-4м
|
ГМГП-10
|
ГМГП-10
|
|
-количество
|
2
|
2
|
2
|
1
|
1
|
|
Сопротивление
газового тракта, кг×с/м2
|
63
|
87
|
96
|
197
|
249
|
|
Габаритные
размеры котлоагрегата без экономайзера, мм:
|
|
|
|
|
|
|
-длина
|
3200
|
3950
|
5700
|
7400
|
8500
|
|
-ширина
|
|
|
3150
|
|
|
|
высота
|
|
|
4000
|
|
|
|
Масса
котла, т:
|
|
|
|
|
|
|
-металла
под давлением
|
4,71
|
5,94
|
8,2
|
12,93
|
13,577
|
|
Число
поставочных блоков
|
1
|
1
|
1
|
1
|
1
|
|
Суммарное
сопротивление воздушного тракта, кг×с/м2
|
105
|
127
|
130
|
133
|
180
|
|
Тип
и частота вращения дымососа, об/мин
|
ВДН-9
980
|
ВДН-10
980
|
ВДН-11,2
980
|
ВДН-11,2
1450
|
ВДН-12,5
1450
|
|
Тип
и частота вращения вентилятора, об/мин
|
ВДН-8
980
|
ВДН-9
980
|
ВДН-10
980
|
ВДН-10
980
|
ВДН-12,5
980
|
Таблица II-4.
Технические и основные конструктивные
характеристики парогенераторов Е-25-14ГМ; Е-25-24ГМ.
|
Наименование
показателей
|
Тип
парогенератора
|
|
Е-25-14ГМ
|
Е-25-24ГМ
|
|
1
|
2
|
3
|
|
Номинальная
паропроизводительность, т/ч
|
25
|
25
|
|
Рабочее
давление пара, МПа
|
1,4
|
2,4
|
|
Температура
пара, 0С
|
Насыщ.
194
|
Перегретый
250
|
370
|
|
Площадь
поверхности нагрева, м2:
|
|
|
|
|
лучевоспринимающая
(экранов и фестона) конвективная
|
127
|
127
|
127
|
|
-фестона
|
1-6
|
1-7
|
1-7
|
|
-перегревателя
|
-
|
22
|
73
|
|
-испарительного
пучка
|
188
|
188
|
188
|
|
-экономайзера
|
590
|
590
|
590
|
|
-воздухоподогревателя
|
242
|
242
|
242
|
Рис.II-1.
Котёл ДКВР для сжигания твёрдого топлива в слоевой топке.
и 6 - верхний и нижний барабаны; 2 - трубы
подвода питательной воды; 3 - вентиль для отвода пара на обдувку и другие
собственные нужды; 4 - кипятильные трубы; 5 - обдувочное устройство; 7 -
продувочное устройство (непрерывная продувка) 8 - колосниковая решётка; 9 -
пневмомеханический забрасыватель; 10 - короб для подвода воздуха к
забрасывателю; 11 - бункер топлива; 12 - боковой экран.
Рис.II-2.
Общий вид газомазутного котла ДЕ-25-14ГМ
II-2. Охрана воздушного бассейна от вредных выбросов
Источники и виды загрязнений атмосферного
воздуха.
Во всем мире при сжигании органического топлива
трубы промышленных предприятий выбрасывают огромное количество продуктов
сгорания (дымовых газов). За каждые 12-14 лет происходит удвоение объема
выбрасываемых токсических веществ. В продуктах сгорания, выбрасываемых в
атмосферу, содержатся вредные компоненты, основными из которых являются: 1)
твердые частицы при сжигании твердого и жидкого топлива; 2) газообразные окислы
серы SO2 и SO3;
3) окислы азота NOx;
4) оксид углерода CO;
5) диоксид углерода CO2;
6) углероды; 7) бенз(а)пирен. Обычно зола топлива не содержит токсических
веществ. Однако в золе донецких антрацитов содержится незначительное количество
мышьяка, в золе экибастузских углей- диоксид кремния, в золе канско-ачинского
угля и прибалтийских сланцев- свободный оксид кальция.
Одним из основных видов топлива, сжигаемого в
котельных установках, является уголь. В нём содержатся различные минеральные
негорючие примеси, которые, балластируя уголь, уменьшают его теплоту сгорания и
обусловливают высокую концентрацию летучей золы в продуктах сгорания. Так,
например, при работе котельной с тремя котлами ДКВР-20-13 на низкосортном
подмосковном угле марки В с зольностью 37% сжигается 1,65 к/с
угля и при этом образуется свыше 2 т/ч золы. Если только 15%
золы будет выбрасываться в атмосферу, а остальные 85%
- оседать в газоходах котла и улавливаться золоуловителями, то количества
выбрасываемой золы будет достаточно, чтобы в течение 300 суток работы покрыть
слоем золы в 1,5 мм толщиной площадь вокруг котельной в радиусе 3 км. Всего
будет выброшено в атмосферу за это время около 2400 т. золы.
В последние годы в связи с высоким ростом
энергетики меняется топливный баланс стран мира и всё больше используются
низкосортные угли, имеющие повышенное содержание серы и сернистые мазуты, что
приводит к резкому увеличению выбрасываемых в атмосферу окислов серы.
Простейший расчёт показывает, что при среднем содержании серы в топливе всего
0,5%
и сжигании 10 млн. т. условного топлива в мире в реакцию горения вступит 50
млн. т. серы и в атмосферу земли будет выброшено около 100 млн. т. SО2
или 125 млн. т. SО3.
Предельно допустимые концентрации вредных
веществ в атмосфере.
Наиболее опасными, по степени воздействия на
организм человека, из выбрасываемых в значительных количествах с продуктами
сгорания вредных веществ, являются: 1) оксид углерода CO;
2) оксид серы SO2 и SO3;
3) оксиды азота NOx.
В продуктах горения любых топлив, содержащих
углеродистые соединения, в случае недостатка воздуха для полного сгорания и
нарушения условий правильного сжигания появляется оксид углерода. Оксид
углерода - чрезвычайно сильный отравляющий газ. Поэтому продукты сгорания
газового топлива как твердого, так и жидкого могут быть токсичными и весьма
опасными. При вдыхании воздуха содержанием 0,04 % оксида углерода в крови
человека в соединение с ним вступает до 30% гемоглобина крови, а при содержании
0,1% СО в соединение с ним вступает до 50% гемоглобина, что очень вредно
сказывается на здоровье человека. При содержании в воздухе СО до 0,4 - 0,5%
вдыхание воздуха опасно для жизни в течении нескольких минут. Опасность
усугубляется тем, что оксид углерода не обладает ни запахом, ни цветом.
В результате медико-биологических исследований
установлено, что при кратковременном воздействии на человека диоксида серы с
концентрацией 130 -650 мг/м3 наступает сильное раздражение голосовых связок и
последующее удушье. При концентрациях, превышающих 26 мг/м3 , наблюдается
раздражение глаз и дыхательных путей. Меньшая концентрация SO2
для людей, по-видимому, безвредна. Это подтверждается состоянием здоровья
людей, работающих на производстве, где концентрация SO2
составляет 6,5 мг/нм3. Характерно, что диоксид серы наиболее опасен в тех
случаях, когда он действует совместно с другими соединениями. Роль последних
сводится к тому, что они способствуют более глубокому проникновению SO2
в дыхательные органы человека. Особенно чувствительны к диоксиду серы растения.
Даже при концентрации SO2
равной 1,3-2,6 мг/нм3, в них нарушаются процессы фотосинтеза. При длительном
воздействии SO2 растения
гибнут. В сочетании с большой запыленностью и влажностью воздуха вредное
воздействие диоксида серы резко возрастает. В этих случаях опасность для
здоровья людей появляется даже при обычно безвредных концентрациях диоксида
серы. Только концентрация 0,584 мг/нм3 безопасна для человека, животного и
растительного мира, поэтому в России принята предельно допустимая норма 0,5
мг/нм3.
При сжигании углеводородных топлив при
температуре свыше 1500 0С образуется весьма вредные для человека окислы азота.
Степень действия некоторых газов характеризуется данными табл. II-5.
Эти нормы, разработаны на основании большого числа медико-биологических
исследований, должны обеспечить нормальную жизнедеятельность человека в течение
всей его жизни, а среда при соблюдении этих норм должна быть безвредной для
окружающего нас животного и растительного мира.
У нас в стране приняты три вида норм, которые
носят название предельно допустимые концентрации (ПДК): ПДКрз - в рабочей зоне;
ПДКмр- максимально разовые; ПДКсс-среднесуточные; ПДКрз- касаются рабочей зоны
помещений-цехов предприятий, производящих, перерабатывающих или имеющих по
технологии необходимость использовать вредные химические соединения. ПДКмр-
касаются возможного повышения кратковременного выброса вредных веществ (в
котельной установке - это обычно период пуска или резкого изменения нагрузки).
ПДКсс- являются основными; их назначение - не допустить неблагоприятного
влияния в результате длительного воздействия. В табл. II-6
приведены значения ПДК типичных для котельных и тепловых электростанций вредных
веществ.
Расчеты ведут по каждому вредному веществу в
отдельности, при этом необходимо, чтобы концентрация каждого из них не
превышала приведенных в таблице II-6
значений. Минздравом введено дополнительное требование о необходимости
суммирования окислов азота и серы, а также других элементов;
;
(II-1)
Это связано с тем, что иногда во
вдыхаемом воздухе различных химических соединений в концентрациях каждого в
отдельности в допустимых пределах, но в сумме вредно воздействует на организм
человека, и растительный мир.
Таблица II-5.
Характер действия вредных газов на
человека.
|
Характер
действия газов и его длительность
|
Содержание
вредных газов в воздухе, %
объёма
|
|
NOх
|
SO3
|
SO2
|
CO
|
|
Без
заметного действия в течение нескольких часов
|
0,01
|
0,0025
|
0,0015
|
0,0008
|
|
Признаки
лёгкого отравления или раздражения слизистых оболочек через 2-3 часа
|
0,01-0,05
|
0,005
|
0,005-0,008
|
0,001
|
|
Возможно
серьёзное отравление через 30 мин.
|
0,2-0,3
|
0,008-0,015
|
0,02-0,03
|
0,005
|
|
Опасно
для жизни при кратковременном действии
|
0,5-0,8
|
0,06
|
0,05
|
0,015
|
Таблица II-6.
Предельно допустимые концентрации вредных
выбросов котельных
|
Загрязняющее
вещество
|
Предельно
допустимая концентрация, мг/м3
|
|
максимально-
разовая
|
среднесуточная
|
|
Пыль
нетоксичная
|
0,55
|
0,15
|
|
Сернистый
ангидрид
|
0,5
|
0,05
|
|
Углерода
оксид
|
3,0
|
1,0
|
|
Азота
диоксид
|
0,085
|
0,04
|
|
Сажа
(копоть)
|
0,15
|
0,05
|
|
Сероводород
|
0,008
|
0,008
|
|
Бенз(а)пирен
|
-
|
0,1
мкг/100 м3
|
На стадии проектирования нового предприятия
рассчитывают количество вредных выбросов с учетом уже существующего фона
загрязнений. Суммарная концентрация вредных примесей после строительства и
пуска в эксплуатацию предприятия не должна превышать допустимую. Другими
словами, при наличии фона загрязнений расчет едут следующим образом:
См + Сф ≤ ПДК (II-2)
где Сф - фоновая концентрация, существующая в
данном районе;
См - концентрация выбросов в атмосферу.
Аналогичные нормы в настоящее время введены во
многих странах мира. Для сравнения в таблице II-7
приведены нормы загрязнения.
Таблица II-7.
Предельно допустимые нормы загрязнения
атмосферного воздуха в различных странах.
|
Вредная
компонента
|
ПДК,
м3/м3´106
|
|
Россия
|
Чехия
|
США
|
ФРГ
|
Швеция
|
|
Сероуглерод
|
3
|
8
|
17
|
17
|
8
|
|
Оксид
углерода
|
16
|
24
|
44
|
44
|
32
|
|
Четыреххлорный
углерод
|
3
|
7
|
9
|
9
|
9
|
|
Хлор
|
0,3
|
0,9
|
0,9
|
0,5
|
0,9
|
|
Хлористый
водород
|
3
|
5
|
4
|
4
|
|
фтористый
водород
|
0,6
|
1
|
2
|
2
|
2
|
|
Сероводород
|
7
|
7
|
20
|
10
|
10
|
|
Двуокись
азота
|
3
|
7
|
6
|
6
|
6
|
|
Озон
|
0,05
|
0,05
|
0,09
|
0,09
|
0,9
|
|
Сернистый
газ
|
3
|
3
|
4,5
|
4,5
|
1,7
|
|
Гидразин
|
0,03
|
0,03
|
0,4
|
0,04
|
0,04
|
|
Серная
кислота
|
0,2
|
0,2
|
0,2
|
0,2
|
0,2
|
|
Фенол
|
0,1
|
0,1
|
4,5
|
4,5
|
4,5
|
|
Формальдегид
|
0,5
|
2
|
3
|
1,2
|
3
|
|
Фосген
|
0,02
|
0,02
|
0,1
|
0,1
|
0,05
|
На количество выбрасываемых окислов серы
решающее влияние оказывают содержание серы в топливе и режим его сжигания.
Образование окислов азота происходит двумя путями: окислением азотосодержащих
компонентов топлива и связыванием атмосферного азота с кислородом. Первый путь
зависит, главным образом, от содержания азота в топливе, второй - связан с
температурным режимом в топке и концентрацией кислорода. Количество оксида
углерода зависит от качества организации процесса сжигания топлива. Количество
выбросов золы связано со степенью совершенства золоулавливающих установок.
Методы снижения и подавления газообразных
выбросов.
Суммарный выброс окислов серы (SO2+SO3)
определяется содержанием серы в топливе, поступившем в топку, и практически не
может быть изменен применением различных способов и режимов его сжигания.
Учитывая, что с каждым годом среднее содержание серы в топливе растет (что
связано с переходом на сжигание низкосортных топлив), возрастает и количество
выбрасываемых в атмосферу сернистых соединений.
Принципиально можно рассматривать три
направления в снижении выбросов серы: 1) удаление серы из топлива до его
сжигания; 2) новые методы и режимы сжигания; 3) очистка от соединений серы
продуктов сгорания. Рассмотрим кратко каждое из этих направлений. На
нефтеперерабатывающих заводах серу удаляют гидроочисткой. При этом резко
возрастают капитальные затраты. Простейшим обогащением подмосковного бурого угля
- дроблением удаётся удалить 25-30% серы. Для отделения от угля колчеданной и
органической серы может быть применено гидротермическое обессеривание углей,
заключающееся в обработке измельченного топлива в автоклавах при давлении 1,75
МПа и температуре 3000С с щелочными растворами, содержащими гидраты окисей
натрия и кальция. При этом получается уголь с весьма малым содержанием серы,
который отделяется от жидкости центрифугированием и затем сушится.
Сернистость сжигаемого топлива снижают,
подвергая его воздействию высоких температур с использованием окислителей
(газификация) или без них (пиролиз). Процесс газификации протекает в условиях
высоких температур (900-13000С) при ограниченном доступе кислорода. При
комплексном энерготехнологическом использовании топлива возникает задача
получения из топлива химического сырья и чисто энергетического топлива, для
термического разложения мазута можно использовать высоко температурный пиролиз
(t=700-11000С без
доступа окислителя) с последующей газификацией твердого продукта (нефтяного
кокса). Сжигание топлива в кипящем слое размолотого известняка при температуре
9000С позволяет за счет реакций:
СаСО3=СаО+СО2
СаО +SO2+0,5О2=СаSO4
обеспечить очистку продуктов сгорания серы до 90
%.
Наиболее распространенным является сжиганием
мазута с низким коэффициентом избытка воздуха (d=0,01).
Так, при снижении коэффициента избытка воздуха в топке с d=
1,05 до d= 1,01 снижается
выход оксида серы на 30%. Все известные способы улавливания SO2
из продуктов сгорания (дымовых газов) можно разделить на два класса: сухие и
мокрые. Сухой способ получил широкое распространение у нас и за рубежом. В этом
случае продукты сгорания контактируют с магнезитом, а не с активированным углем
или окислами марганца. При этом протекают следующие реакции:
при использовании извести
СаОН2+ SO2=Са
SO3+Н2О,
при использовании известняка
СаСО3+ SO2=
Са SO3+СО2.
В результате этих реакций получается сульфит
кальция, частично окисляющийся в сульфате. В большинстве случаев продукты
нейтрализации не используются и направляются в отвал.
При мокром способе предварительно готовят
суспензию известняка (т.е. смешивают его с водой). Продукты сгорания, проходя
через мокрый скруббер (очиститель), контактируют с известняком. Химические
реакции аналогичны приведённым выше. Расчеты показывают, что очистка от SO2
по любому из известных способов увеличивает себестоимость энергии на 15-30%, а
единицу установленной мощности на 40-50%. Расход известняка составляет
6-0,116кг на 1кг/с паропроизводительности котла. Заметим, что несмотря на
большой накопленный опыт по очистке уходящих газов от SO2,
все известные методы являются сложными, дорогими и нуждаются в дальнейшем
совершенствовании.
Выбор метода и конструкции сероулавливающей
установки следует проводить на основании технико-экономического расчета.
Серьёзное внимание окислам азота как токсичным составляющим продуктов сгорания
было уделено лишь в 60-х годах. Механизм образования окислов азота слабо
зависит от вида состава топлива, но находится в большой зависимости от
конструкции топки, способа сжигания, уровня температур, избытка воздуха и
других параметров работы агрегата. И.Я.Сигал предложил эмпирическую формулу для
расчёта концентрации окислов азота в топке, г/м3. /12/
СNO2=0,16×D90.8×qv0.5×dT,
(11-3)
где D9
- эквивалентный диаметр топки, м;
qv - тепловое
напряжение топочного объёма, МВт/м3;
dT -
коэффициент избытка воздуха.
Средняя концентрация NO2
в уходящих газах, образовавшихся при сжигании АШ-0,5 г/м3, природного газа -
0,4 г/м3. Анализ продуктов сгорания показал, что существующие окислы азота
состоят в основном на 95 -99% из NO2.
При сжигании в промышленно - отопительных котельных различных типов обычное
содержание 4- 9,2 кг NO2/ГДж,
кроме угля АШ, где это величина составляет 3,63 кг NO2/ГДж.
В 1966г. было сформулировано требование учёта совместного действия SO2
и NOx т.е. CSO2+CNO2≤0,5
мг/м3, причем ПДК были снижены для SO2
до 0,5 мг/м3, а для NO2
до 0,085 мг/м3. На основании многочисленных опытов установлено содержание NO2
в выбросах промышленных котлов и печей для различного вида применяемого
топлива: для углей -6,3 кг/ГДж (9г/кг у.т.), 0,93 г/м3продуктов сгорания; для
мазута-5,0 кг/ГДж (12 г/кг у.т), 0,82 г/м3 продуктов сгорания; для природного
газа-2,7 кг/ГДж (5,5г/кг у.т.), 0,42 г/м3 продуктов сгорания.
Основные пути снижения окислов азота в выбросах,
применяемые в настоящее время: рециркуляция продуктов сгорания; двухстадийное
сжигание топлива; применение специальных горелочных устройств; снижение
коэффициента избытка воздуха; снижение подогрева воздуха; уменьшение нагрузки
агрегата; химическое воздействие на факел присадками.
Рассмотрим кратко каждый из них. Для организации
рециркуляции продукты сгорания обычно после водяного экономайзера при
температуре 300-4000С отбирают специальным рециркуляционным дымососом и подают
в топочную камеру. Двухстадийное сжигание топлива: по этому методу в первичную
зону горения подаётся количество воздуха меньшее, чем это теоретически
необходимо для сжигания топлива (dT=0,8-0,95).
В этой зоне происходит неполное сгорание топлива с частичной его газификацией
при пониженной температуре и, следовательно, сниженном содержании окислов
азота. Во вторичную зону подается чистый воздух или обедненная топливом смесь
для дожигания продуктов неполного сжигания. Горение идет при более низкой
температуре. Этот способ позволяет уменьшить количество окислов азота на 25-35
%.
Применение специальных горелочных устройств для
системы двухстадийного горения при получении растянутого по длине топочной
камеры факела позволяет существенно снизить выбросы окислов азота на 30-40%.
Снижением коэффициента избытка воздуха уменьшают концентрацию окислов азота на
50-70% при уменьшении dT
с 1,2 до 1,02. Снижением подогрева воздуха, подаваемого для горения на 1000С,
уменьшают выброс окислов азота на 15%. При снижении нагрузки агрегата
понижается уровень температуры в топке и уменьшается концентрация NOx
. На величину выбросов окислов азота также сильно влияет единичная
производительность котлоагрегатов. Что касается химического воздействия на
факел присадками, то этот способ недостаточно разработан и не имеет широкого
применения.
II-3. Повышение эффективности котельных агрегатов
За последние годы в результате комплекса
технических, экономических и организационных мероприятий, направленных на
сокращение потерь топлива в процессе использования его в теплогенерирующих
установках, достигнут высокий технический уровень эксплуатации. Теплостанции,
построенные за этот период по унифицированным типовым проектам, резко
отличаются от теплостанций старой постройки. При хорошем качестве монтажа и
квалифицированной эксплуатации современных теплостанций может быть достигнут
достаточно высокий уровень использования топлива. Наряду с этим в теплостанциях
имеются резервы экономии топлива за счет устранения потерь по следующим
причинам: при хранении топлива на складе; из-за отсутствия систематического
контроля за соблюдением норм расхода топлива и анализа его потерь; вследствие
неудовлетворительной постановки учета выработки теплоты и расхода топлива;
применение топлива, не соответствующего по фракционному составу, зольности,
влажности, составу золы, конструктивным особенностям топочных устройств; потерь
теплоты на собственные нужды; из-за неисправности или отсутствия измерительных
приборов и теплотехнического контроля и устройств автоматики; вследствие
неудовлетворительного ведения топочного процесса и потерь в связи с этим от
механической и химической неполноты сгорания, а также вследствие зашлаковывания
топки; ввиду больших присосов воздуха по газовому тракту теплогенерирующей
установки, что приводит к большим потерям тепла с уходящими газами; наружного
загрязнения поверхностей нагрева, связанного с несоблюдением установленного
режима очистки или некачественной её наладки; внутренних отложений на
поверхностях нагрева, связанных с нарушением водно-химического режима;
неудовлетворительного состояния изоляции элементов котлоагрегата, газоходов и
трубопроводов; неиспользование теплоты непрерывной продувки; несоблюдение
оптимальных режимов работы источников теплоснабжения; нерационального режима
теплоснабжения потребителей (перетоп) отапливаемых зданий; отсутствие
регулирования расхода теплоты в рабочие дни и часы и т. д.; больших потерь
конденсата; относительно невысокой квалификации обслуживающего персонала;
недостаточной воспитательной работой с персоналом и неэффективного
стимулирования персонала за экономию топлива.
Если в результате реконструкции или улучшения
режима эксплуатации удаётся повысить КПД теплогенерирующей установки, то
годовую экономию (т/год) рассчитывают по формуле:
( II-4).
где Q -
установленная теплопроизводительность котельной;
tуст
- число часов использования установленной мощности;
Qнр - низшая
теплота сгорания топлива;
h1
и h2 - КПД
установки до и после проведения мероприятий по его повышению в долях от
единицы;
- переводной коэффициент.
Наряду с устранением потерь, не
менее важным в перспективе развития экономических источников теплоты систем
теплоснабжения является решение следующих задач: 1) повышение централизации и
концентрации производства пара и теплоты за счёт строительства крупных
современных теплостанций и ликвидации при этом мелких устаревших; 2) ускорение
разработки и внедрения в производство нового, более экономичного оборудования;
3) поставка паровых и водогрейных источников теплоснабжения в укрупнённых
блоках, что значительно снизит стоимость монтажа и повысит КПД агрегата за счёт
снижения присосов воздуха; 4) повышение качества топлива, предназначенного для
сжигания в слоевых топках; 5) максимальное использование вторичных ресурсов
теплоты, имеющихся на предприятии, для нужд теплоснабжения, а также ресурсов
самой теплостанции; 6) разработка и внедрение экономических режимов отопления
производственных и общественных зданий, предусматривающих снижение внутренней
температуры помещений на 6-8°С
в выходные дни и, где допустимо - в ночные часы, с последующим восстановлением
расчётной температуры до норм; 7) улучшение теплозащиты вновь строящихся жилых
зданий с экономически оптимальными термическими сопротивлениями наружных
ограждений; 8) расширение обмена опытом на теплостанциях путём проведения
общественных смотров, организации соревнования за экономию топлива, улучшения
информации персонала.
Мероприятия по снижению потерь
твёрдого и жидкого топлива при хранении и на собственные нужды.
Для рационального проектирования
сооружений и надёжной эксплуатации с минимальными потерями необходимо знать
основные физические свойства твёрдого топлива, подлежащего хранению: влажность,
склонность к самовозгоранию, смерзаемость, сыпучесть и т.д.
Для снижения потерь твёрдого топлива
при хранении необходимо проводить следующие мероприятия: 1) исходя из местных
условий, на основании технико-экономических расчётов, по возможности строить
склад закрытого типа; 2) выбрать форму и размеры штабеля с наименьшей наружной
поверхностью на единицу объёма, что обычно достигается устройством крупных
штабелей; 3) производить послойное уплотнение штабелей для борьбы с
самонагреванием; 4) обеспечивать организованный сток воды для предотвращения
скопления атмосферных вод; 5) выполнять подштабельное хранение в соответствии с
нормами и требованиями; 6) разные марки топлива хранить в раздельных штабелях;
7) перед загрузкой прибывшей партии свежего топлива очищать склад от старого
топлива и посторонних предметов; 8) сокращать время между выгрузкой угля и
завершением уплотнения штабеля; 9) постоянно вести контроль за температурой
угля в штабеле.
Для достижения хороших экономических
показателей целесообразно: 1) выбирать рациональный способ разогрева топлива в
железнодорожных цистернах для быстрого и полного его слива в хранилище; 2)
отказаться от хранения мазута в открытых ёмкостях, которые способствуют
дополнительному обводнению атмосферными осадками и увеличению потерь, связанных
с испарениями; 3) отказаться от использования открытых лотков для слива
топлива; 4) обеспечивать на всех режимах работы котельного агрегата необходимый
подогрев мазута перед сжиганием, что обеспечивает его хорошее распыление
форсунками и не приводит к повышению потерь теплоты от механической (q4) и химической
(q3) неполноты
сгорания; 5) следить за состоянием тепловой изоляции стальных наземных
резервуаров паро- и мазутопроводов, что предотвратит потери тепла в окружающую
среду. При неправильном хранении потери жидкого топлива значительно могут
превышать нормированные (0,003 - 0,006 кг/м2 с поверхности испарения
резервуарной ёмкости).
Потери теплоты на собственные нужды
неизбежны, однако для их снижения необходимо проводить следующие мероприятия:
1) заменять паровые форсунки механическими, с воздушным распылением, что
позволит снизить расход пара на распыление топлива; 2) проводить наладку
экономического режима паровой обдувки или заменять её дробеочисткой или
виброочисткой, что также приведёт к экономии пара; 3) снижать расход теплоты на
подогрев питательной воды за счёт максимального возврата конденсата; 4)
использовать выпар деаэраторов для подогрева химически очищенной воды; 5)
продувать котлы в соответствии с оптимальным режимом, усовершенствовать схему
продувки и использовать теплоту продувочной воды и вторичного пара из
расширителя непрерывной продувки; 6) снижать расход теплоты на мазутное
хозяйство; 7) устранять неплотности во фланцевых соединениях, в арматуре,
утечки из вентилей нижних точек и из предохранительных клапанов.
Снижение потерь теплоты за счёт
оптимального топочного режима
Влияние топочного процесса на
экономичность работы котла весьма велико в первую очередь за счёт изменения
величины химической неполноты сгорания (q3) и
механического недожога (q1). На их величину влияют: видимое
теплонапряжение топочного объёма
, коэффициент избытка воздуха а.
Для снижения потерь теплоты от
химической (q3) неполноты
сгорания можно рекомендовать проведение следующих мероприятий: 1) обеспечение
достаточного количества воздуха для горения с интенсивным его перемешиванием с
топливом; 2) поддержание оптимального напряжения в топке и расчётной
температуры в топке; 3) перевод котлоагрегатов на автоматическое регулирование
соотношения “топливо-воздух” (т.е. обеспечение оптимального избытка воздуха);
4) забор воздуха на горение из наиболее горячих зон котельного зала. При
сжигании жидкого топлива следует обеспечить требуемую температуру подогрева
мазута, хорошую фильтрацию, а также распыление и интенсивное его перемешивание
с воздухом для горения. При сжигании твёрдого топлива в слое необходимо
применять острое дутьё в топках для каменных углей, обеспечить механизированный
непрерывный заброс топлива на решётку.
Для снижения потерь тепла от
механической неполноты сгорания проводят следующие мероприятия: предварительную
подготовку топлива (дробление крупных кусков угля и отсев мелочи); сжигают
топливо с определённым ограничением содержания мелочи и постоянным содержанием
зольности; обеспечивают правильное распределение воздуха и равномерное горение
топлива на площади решётки; обеспечивают постоянное перемешивание слоя, не
допуская прогаров и завалов; применяют в необходимых случаях острое дутьё.
Снижение потерь теплоты в окружающую
среду.
В соответствии с правилами
Гостехнадзора все элементы котлов, трубопроводов, перегревателей, экономайзеров
и вспомогательного оборудования, расположенные в местах, доступных для
обслуживающего персонала, должны иметь температуру наружной поверхности
тепловой изоляции не выше 45°С.
При соблюдении этих условий потери теплоты в окружающую среду с 1м2 поверхности
не будет превышать 350Вт/м2. Для снижения потерь в окружающую среду во время
всего периода эксплуатации и во время ремонта необходимо: 1) постоянно следить
за качеством тепловой изоляции; 2) использовать частично тепловыделения от
оборудования путём забора теплового воздуха из верхней зоны котельного агрегата
и подачи его на всос дутьевого вентилятора; 3) не допускать снижения разряжения
меньше 10-20 Па в топке с целью предотвращения выбивания пламени и газов через
неплотности топочной гарнитуры.
Снижение потерь теплоты с уходящими
газами.
Наибольшими потерями теплоты
котельного агрегата являются потери с уходящими газами. Например, по данным
испытаний ЦКТИ им. И.И.Ползунова, для котлов КЕ - 6,5 - 14 потери с уходящими
газами составляют 13%, а для
котлов КЕ - 4 - 15С -12%. Кроме
того, потери с уходящими газами значительно зависят от единичной
паропроизводительности котельного агрегата. Для снижения потерь теплоты с
уходящими газами в основном применяют развитые конвективные антикоррозионные
поверхности нагрева, такие, как воздухонагреватели из стеклянных труб,
керамические набивки в регенеративных вращающихся воздухонагревателях и т.п.
Следует всегда помнить, что снижение температуры уходящих газов на 12 - 14°С - это повышение КПД котла
на 1%.
Основными мероприятиями,
позволяющими снизить потери тепла с уходящими газами, являются: 1) соблюдение
минимального по условиям полного горения коэффициента избытка воздуха; 2)
повышение газоплотности котлоагрегата и снижение присосов холодного воздуха; 3)
борьба со шлакованием экранных и радиационных поверхностей нагрева путём
отладки топочного режима; 4) регулярная качественная очистка наружных
поверхностей нагрева конвективных пакетов труб; 5) поддержание качественного
водяного режима с целью предотвращения внутренних отложений в трубах котельного
агрегата; 6) поддержание в барабане котла номинального давления; 7) поддержание
расчётной температуры питательной воды; 8) правильное конструктивное оформление
конвективных поверхностей нагрева, обеспечивающее более полное омывание их
газами со скоростью, обеспечивающей самоотдувку; 9) обеспечение плотности
непроницаемости газовых перегородок, предотвращающих протекание газов мимо
конвективных пакетов труб; 10) обеспечение марки и качество сжигаемого топлива,
соответствующего расчётному; 11) установка развитых хвостовых поверхностей
нагрева; 11) применение для котельных, сжигающих природный газ, вакуумных
деаэраторов, позволяющих снизить температуру питательной воды до 65- 70°С (по сравнению с
температурой 104°С при
атмосферных деаэраторах), что позволит обеспечить более глубокое охлаждение
газов.
Использование теплоты непрерывной
продувки паровых котлов.
Существуют различные методы
использования теплоты непрерывной продувки воды: 1) непосредственная подача
воды в качестве теплоносителя в систему отопления; 2) подача продувочной воды
для подпитки тепловой сети; 3) использование теплоты отсепарированного пара в
деаэраторе со сбросом в дренаж отсепарированной воды; 4) использование
отсепарированного пара в деаэраторе и теплоты отсепарированной воды в
теплообменнике для подогрева сырой воды. При этих методах сокращение потерь
теплоты с продувкой в каждом случае определяется расчётным путём.
Снижение потерь конденсата.
Конденсат в котельных с паровыми
котлами - наиболее ценная составляющая питательной воды. При сокращении его
потерь снижаются расходы теплоты на продувку, и повышается возможность более
эффективного использования топлива. Все потери можно разделить на 4 основные группы:
1) потери вследствие несовершенства схем сбора конденсата; 2) потери от
неплотностей оборудования линий трубопроводов; 3) потери вследствие чрезмерного
слива (при пусках, остановках котлов с непрерывной продувкой, перелив
конденсата в дренаж при отсутствии автоматического управления конденсатными
насосами и т.д.); 4) потери пара на собственные нужды без возврата конденсата
(с паровой обдувкой), на распыление мазута в паровых форсунках (при открытом
подогреве цистерн с мазутом) и т.д.
Для снижения потерь конденсата
необходимо: а) устранять испарения и утечки (через неплотности сечением 1мм2
теряется в зависимости от давления в паропроводе от 5 до 20 кг/ч пара и более;
вследствие неплотностей в арматуре, фланцевых соединениях трубопроводов
теряется основная масса конденсата от 20 до 70%); б) заменять паровые форсунки механическими,
паромеханическими или с воздушным распылением; в) снижать расход на собственные
нужды (особенно где имеются питательные насосы с паровым приводом); г) для
работы деаэратора обязательно устанавливать охладитель выпара. Внутрикотельные
потери конденсата обычно поддаются ежедневному учёту и контролю. Для полной и
точной их оценки проводят специальные исследования. Однако в эксплуатации
ориентировочно они могут быть оценены по измерению добавки химически очищенной
воды. Все места испарений и утечек, установленных на основании визуальных
осмотров, устраняют.
Глава III. МЕТОДИКА ТЕПЛОВОГО
РАСЧЁТА ТЕПЛОГЕНЕРИРУЮЩЕЙ УСТАНОВКИ. МАТЕМАТИЧЕСКИЕ МОЛДЕЛИ И БЛОК-СХЕМЫ
АЛГОРИТМОВ
Для теплового расчёта
теплогенерирующей установки используется нормативный метод ВТИ - ЦКТИ, в основе
которого положено составление и решение для всего теплогенератора и для каждой
поверхности нагрева в отдельности, системы нелинейных алгебраических уравнений.
В эту систему входят уравнения материального баланса расходов теплоносителей и
рабочих сред, уравнение теплообмена между средами, а также уравнение теплового
баланса, в котором тепло, отданное газами, приравнивается теплу, воспринятому
паром, водой или воздухом. Поэтому теплогенерирующая установка представляет
собой нелинейный объект с распределёнными параметрами, которые на выходе из
каждой поверхности нагрева определяют граничные условия на выходе в
последующие, и её расчёт целесообразно проводить по ходу движения продуктов
сгорания от топки к хвостовым поверхностям нагрева. В зависимости от назначения
различают конструктивный и поверочный расчёт теплогенерирующей установки.
Конструктивный расчёт выполняется
при проектировании нового котельного агрегата. В курсовом и дипломном
проектировании, как правило, проводится поверочный тепловой расчёт, в связи, с
чем его методика подробно рассматривается в данном пособии.
Поверочный расчёт проводится для
существующих котельных установок с известными размерами и конструктивными
характеристиками топки и конвективных поверхностей нагрева. Задачей поверочного
теплового расчёта является определение тепловых характеристик теплогенератора,
используемых для оценки экономичности и надёжности его работы (КПД, расход
топлива, температуры воды, пара, газов и воздуха в различных точках его
элементов). Поверочный тепловой расчёт даёт исходные материалы для выбора
вспомогательного оборудования, гидравлического, прочностного и других расчётов
надёжности.
Поверочный тепловой расчёт обычно
осуществляется итерационными методами (например, методом последовательных
приближений), которые удобно проводить на ПК, что даёт возможность применять
компактные алгоритмы с минимальным количеством ошибок и исключить накопление
погрешностей округления от цикла к циклу.
Прежде чем приступить к выполнению
поверочного теплового расчёта следует изучить конструкцию и устройство
котельного агрегата и отдельных его элементов, пользуясь чертежами, справочной
литературой и рекомендациями, изложенными в п. I, II главах настоящего
пособия.
Тепловой расчёт рекомендуется
выполнять в следующей последовательности:
.Расчёт горения топлива, объемов и
энтальпий воздуха и продуктов сгорания;
.Расчёт теплового баланса котла,
определение его КПД и расхода топлива;
. Расчёт топочной камеры;
. Расчёт отдельных поверхностей
нагрева последовательно по ходу газа до хвостовых поверхностей включительно;
. Составление сводной таблицы
результатов расчёта по всем элементам котлоагрегата, которая должна содержать
основные показатели, характеризующие работу каждой поверхности нагрева,
температуру газов и рабочей среды на концах поверхности, средние скорости газов
и рабочей среды, коэффициент теплопередачи, температурный напор, количество
тепла, полученного рабочей средой от продуктов сгорания, размер поверхности
нагрева.
III- 1. Топливо, объёмы и энтальпии воздуха и продуктов
сгорания
Состав топлива и теплота его
сгорания
Расчётные характеристики топлива
принимаются из справочной литературы, перечень которой приведён в
библиографическом списке.
1. Для твёрдого и жидкого топлива берётся
состав рабочей массы в процентах:
,
выход летучих веществ на горючую
массу - Vг, % и
низшая теплота сгорания рабочей массы топлива -
, кДж/кг.
. Для газообразного топлива,
представляющего собой смесь горючих и негорючих компонентов, берётся состав
сухого газа в процентах по объёму и низшая теплота сгорания сухого
газообразного топлива
, при
нормальных условиях (0,1 МПа и 0 0С).
Объём воздуха и продуктов сгорания
Все расчёты воздуха и продуктов
сгорания ведутся в кубических метрах на 1м3 газообразного топлива (при
нормальных условиях) на 1кг твёрдого или жидкого топлива. При этом
предполагается, что топливо полностью сгорает. Теоретически необходимый объём
воздуха (при
), м3/кг
(м3/м3), определяют по формулам:
а) для твёрдого и жидкого топлива:
; (III-1)
б) для газообразного топлива:
; (III-2)
где m и n - числа
атомов углерода и водорода в химической формуле углеводородов, входящих в
состав топлива.
Теоретические объёмы продуктов
сгорания (при
) для
твёрдых и жидких топлив, м3/кг (м3/м3), вычисляют по формулам:
а) объём трёхатомных газов:
; (III- 3)
б) объём двухатомных газов:
; (III-4)
в) объём водяных паров:
; (III-5)
Соответствующие формулы для газообразных топлив
(м3/м3):
; (III-6)
; (III-7)
; (III-8)
где dг.тл. -
влагосодержание топлива, отнесённое к 1м3 сухого газа (г/м3);
при tг. Тл.=10 0С
можно считать, что dг.тл.=10 г/м3.
Коэффициент избытка воздуха в
рассматриваемом сечении:
; (III- 9)
где Δα - величина
присоса воздуха (находится по табл. III-I);
αТ -
коэффициент избытка воздуха на выходе из топки.
Объём воздуха при α>1, м3/кг
(м3/м3), будет равен:
; (III-10).
Объём продуктов сгорания твёрдых,
жидких и газообразных топлив при a>1
отличается от теоретического на величину объёма воздуха водяных паров,
поступающих в парогенератор с избыточным воздухом.
Таблица III-1.
Присосы воздуха в газоходах
котлоагрегатов при номинальной нагрузке
|
Участки
газового тракта
|
Δ
α
|
|
1
|
2
|
|
Топки:
Газомазутные и пылеугольные камерные топки с жидким шлакоудалением: 1) при
наличии металлической обшивки 2) без металлической обшивки
|
0,05
0,08
|
|
Слоевые
топки: 1) механические и полумеханические 2) ручные
|
0,10
0,30
|
|
Газоходы:
Фестона и ширмового перегревателя первого конвективного пучка второго и
третьего конвективных пучков (на каждый участок) перегревателя Экономайзера
стального одноступенчатого экономайзера стального двухступенчатого (на каждую
ступень) экономайзера чугунного с обшивкой экономайзера чугунного без обшивки
Воздухоподогревателя стального трубчатого одноступенчатого то же
двухступенчатого (на каждую ступень) воздухоподогревателя со стеклянными
трубами воздухоподогревателя пластинчатого (на каждую ступень)
воздухоподогревателя регенеративного золоуловителя
|
0
0,05 0,10 0,05 0,08 0,04 0,10 0,20 0,06 0,03 0,10 0,10 0,25 0,05
|
|
Газопроводы
от воздухоподогревателя до дымососа: Стальные на каждые 10 м длины То же,
кирпичные
|
0,01
0,05
|
Так как присосы воздуха не содержат трёхатомных
газов, то объём этих газов не зависит от коэффициента избытка воздуха и во всех
газоходах остаётся постоянным и равен теоретическому:
.
Объём двухатомных газов и водяных
паров, м3/кг (м3/м3), определяется по формулам:
; (III- 11)
. (III- 12)
Суммарный объём дымовых газов, м3/кг
(м3/м3):
. (III- 13)
Объёмные доли трёхатомных газов,
равные парциальным давлениям газов при общем давлении 0,1МПа, определяются по
формулам:
; (III- 14)
; (III- 15)
. (III- 16)
При сжигании твёрдых топлив
концентрацию золы в дымовых газах (г/м3) рассчитывают по формуле:
;
(III- 17)
где аун - доля золы топлива,
уносимая газами.
Приведённая величина уноса золы:
.
(III- 18)
Расчёты по определению объёмов
воздуха и продуктов сгорания сводят в табл. III- 3. В
таблице последовательность и количество расчётных участков конвективных
поверхностей должны соответствовать компоновке нагрева в рассчитываемом
парогенераторе. При компоновке в “рассечку” перегревателя с пароохладителем
рассчитывают два участка: до пароохладителя и после него; хвостовых
поверхностей - отдельно каждую ступень экономайзера и воздухоподогревателя.
Энтальпия воздуха и продуктов
сгорания
Энтальпии теоретического объёма
воздуха и продуктов сгорания отнесённые к 1кг или 1м3 сжигаемого топлива при
температуре 00С кДж/кг (кДж/м3) рассчитывают по формулам:
; (III- 19)
, (III-20)
где
,
,
,
- удельные энтальпии воздуха
трёхатомных газов, азота и водных паров соответственно, кДж/м3.
Значения
,
,
,
- для данной
температуры принимают по табл. III -2.
Кроме того, при расчёте на ПК
теплоёмкости CO2, N2 и водяных
паров определяют по интерполяционным полиномам пятой степени:
, (III-21)
где значения коэффициентов ai приведены в
табл. IX- I
нормативного метода /10/.
Таблица III - 2.
Удельные энтальпии воздуха, газов и
золы

, 0С



,
|
кДж/кг
|
|
|
|
|
|
|
кДж/м3
|
|
|
1
|
2
|
3
|
4
|
5
|
6
|
|
30
100 200 300 400 500 600 700 800 900 1000
|
39
132 266 403 542 684 830 979 1130 1281 1436
|
169
357 559 772 996 1222 1461 1704 1951 2202
|
130
260 392 527 664 804 946 1093 1243 1394
|
151
304 463 626 794 967 1147 1335 1524 1725
|
81
169 264 360 458 561 663 768 874 984
|
|
1100
1200 1300 1400 1500 1600 1700 1800 1900 2000 2100 2200
|
1595
1754 1931 2076 2239 2403 2566 2729 2897 3064 3239 3399
|
2457
2717 2976 3240 3504 3767 4035 4303 4571 4843 5115 5387
|
1545
1695 1850 2009 2164 2323 2482 2642 2805 2964 3127 3290
|
1926
2131 2344 2558 2779 3001 3227 3458 3688 3926 4161 4399
|
1096
1206 1360 1517 1758 1830 2066 2184 2385 2512 2640 2760
|
Энтальпию продуктов сгорания при α>1,
кДж/кг
(кДж/м3), подсчитывают по формулам:
, (III- 22)
. (III- 22 а)
Таблица III - 3.
Характеристика продуктов сгорания в
поверхностях нагрева
|
Величины
|
Единицы
измерения
|
Топка,
фестон
|
Участки
конвективных поверхностей нагрева
|
|
|
|
|
|
|
|
|
|
1
|
2
|
3
|
4
|
5
|
6
|
7
|
8
|
1.Расчётный коэффициент избытка
воздуха в газоходе, α
2.
Объём трёхатомных газов,
. Объём двухатомных газов,
. Объём водяных паров,
5. Суммарный
объём дымовых газов,
. Объёмные доли трёхатомных газов,
.
.
-
м3/кг
м3/м3
˝ -
˝ -
˝ -
9. Концентрация золы,
. Приведённая величина уноса
золы,
г/м3
Если приведённая величина уноса золы из топки:
,
то к энтальпии дымовых газов
добавить энтальпию золы (кДж/кг), определяемую по формуле:
, (III - 23)
где
- удельная энтальпия золы (табл. III - 2).
Результаты расчёта по определению
энтальпии продуктов сгорания топлива при различных температурах газов в разных
газоходах сводят в табл. III - 4.
Рис. III - 1. IJ - диаграмма
продуктов сгорания
Для дальнейших расчётов без
использования ПК удобна графическая интерполяция, для чего по данным таблицы III - 3 строят
- диаграмму
на миллиметровой бумаге (рис. III - 1).
При расчёте на ПК данные таблицы III - 4
используются для нахождения по заданной температуре энтальпии газов и,
наоборот: по заданной энтальпии - температуры для каждой поверхности нагрева
при помощи интерполяционного полинома Лагранжа /10/.
III - 2. Расчёт теплового баланса, определение КПД и
расхода топлива
Тепловой баланс котельного агрегата
выражает количественное соотношение между поступившей в агрегат теплотой (располагаемой
теплотой топлива
) и суммой
полезно использованной теплоты Q1 и тепловых потерь Q2, Q3, Q4,Q5,Q6 шл.
Для твёрдого и жидкого топлива
располагаемая теплота:
, (III - 24)
где QВ.ВН. -
теплота, внесённая воздухом, кДж/кг;
iтл. -
физическая теплота топлива, кДж/кг.
, (III - 25)
где
- отношение количества воздуха на
выходе в воздухоподогреватель к теоретически необходимому;
и
- энтальпии теоретически
необходимого количества воздуха после его подогрева, например в калорифере, и
холодного воздуха.
Физическую теплоту топлива iтл учитывают
при паровом подогреве мазута:
, (III - 26)
где tМ -
температура подогретого мазута (принимается равной 120 - 130 0С).
Удельную теплоёмкость мазута
вычисляют по формуле:
. (III - 27)
Для газообразного топлива,
располагаемая теплота (кДж/м3):
. (III - 28)
Таблица III - 4.
Энтальпии продуктов сгорания
|
Поверхность
нагрева, коэффициент избытка воздуха за ней
|
Температура
за поверхностью, ,
0СЭнтальпия, кДж/кг
|
|
|
|
   
|
|
|
|
|
|
1
|
2
|
3
|
4
|
5
|
6
|
7
|
Топка
2000
Фестон
1000
Пароперегреватель
900
Конвективный пучок
800
Водяной экономайзер
400
Воздухоподогреватель
300
Статьи теплового баланса
Общее уравнение теплового баланса кДж/кг
(кДж/м3) имеет вид:
(III - 29)
или в процентах:
. (III -30)
Q1 (q1) находим
как остаточный член уравнения теплового баланса после определения всех потерь
теплоты.
Таблица III - 5.
Расчётные характеристики камерных
марок топок для сжигания горючих газов и мазутов
Топливо Коэффициент избытка воздуха
на выходе из топки,
Допустимое
тепловое
напряжение объёма топки,
q ·V,
кВт/м3Потеря теплоты от
|
химического
недожога топлива, q3, %
|
|
|
|
|
Мазут
Природный, попутный и коксовый газы Доменный газ
|
1,1-1,15
1,1-1,15 1,1-1,15
|
290
350-460 230
|
0,5
0,5 1,4
|
Меньшие значения - для агрегатов
паропроизводительностью 50 т/ч.
Примечания: 1. Потеря теплоты от механического
недожога топлива незначительна и её можно не учитывать.
. Для газомазутных топок, длительное время
работающих на мазуте, характеристики топок применяются по мазуту.
Расчётные потери теплоты от химической и
механической неполноты сгорания (q3
и q4) принимают из
расчётных характеристик топок (табл. III
- 5), потерю тепла от наружного охлаждения находят по табл. III
- 6 в зависимости от паропроизводительности агрегата.
Таблица III
- 6.
Потери тепла от наружного охлаждения котельного
агрегата
|
Паропроизводительность
|
2,5
|
4,0
|
6,5
|
10
|
16
|
20
|
25
|
35
|
50
|
75
|
100
|
160
|
|
Потери
тепла
|
3,6
|
2,8
|
2,3
|
1,7
|
1,4
|
1,3
|
1,2
|
1,1
|
0,9
|
0,8
|
0,6
|
Потерю теплоты с уходящими газами находят по
разности энтальпий дымовых газов уходящих из парогенератора и холодного
воздуха:
, (III - 31)
где
- энтальпия уходящих газов при
коэффициенте избытка воздуха
и температуре
, кДж/кг
(кДж/м3). Значение
находят из
предыдущего расчёта по принятой
;
- энтальпия холодного воздуха,
кДж/кг (кДж/м3);
Значение
находят по
принятой
.
- потеря физической теплоты шлаков,
определяется для твёрдых топлив при их камерном сжигании с жидким
шлакоудалением и слоевом сжигании. При камерном сжигании с сухим шлакоудалением
увеличивается,
если
:
, (III - 32)
где аун - доля золы, уносимой
газами;
- энтальпия золы, приведена в табл.
III - 2;
- температура шлаков при сухом
шлакоудалении, равна 600 0С, при жидком - температура жидкого состояния золы t3 + 1000С. t3
принимается по приложению /13/.
Суммарную потерю теплоты в
парогенераторе находят по формуле:
, (III - 33)
КПД генератора брутто:
, (III - 34)
Коэффициент сохранения теплоты
(учитывающий потерю тепла) определяют по формуле:
, (III - 35)
Расход топлива, подаваемого в топку,
кг/с (м3/с), рассчитывают по формуле:
, (III - 36)
где D -
паропроизводительность агрегата, кг/с (принимается по заданию);
iп - удельная
энтальпия пара при давлении и температуре в выходном коллекторе парогенератора,
кДж/кг (для агрегатов с перегревателем и без перегревателя определяют по
термодинамическим свойствам насыщенного и перегретого пара);
iпв -
удельная энтальпия питательной воды, кДж/кг;
iкип-
удельная энтальпия воды при температуре кипения и давлении в барабане, кДж/кг;
Dпр - расход
воды на продувку парогенератора (кг/с), причём
, (III - 37)
где Р- продувка, % (принимается по
заданию).
Если Р
2%, то член
в формуле III - 36 не
учитывается.
Расчётный расход топлива с учётом
механической неполноты сгорания находят по формуле:
, (III - 38)
Расчёты по определению теплового
баланса и других величин сводят в таблице III - 7.
Таблица III - 7.
|
Наименование
величин
|
Обозначение
|
Способ
определения
|
Результат
|
Потери от химической неполноты
сгорания топлива Потери от механической неполноты сгорания топлива Потери от
наружного охлаждения агрегата Потери с уходящими газами Потери физической
теплоты шлаков Суммарные потери КПД генератора брутто Коэффициент сохранения
теплоты Расход топлива Расчётный расход топлива
ВрПо расчётным характеристикам топки
(табл. III-5)
-˝-
по табл. III - 6
по табл. III - 30
по табл. III - 32
по табл. III - 33
по табл. III - 34
по табл. III - 35
по табл. III - 36
Рис. III-2.
Блок-схема алгоритма основной программы
Рис. III-3.
Блок-схема алгоритма расчёта объёмов воздуха и характеристик продуктов сгорания
Рис. III-4.
Блок-схема алгоритма расчёта энтальпии продуктов сгорания
Рис. III-
5. Блок-схема подпрограммы расчёта теплоёмкостей и энтальпий продуктов сгорания
Рис. III-6.
Блок-схема алгоритма расчёта теплового баланса показателей работы котельного
агрегата
Описанный расчёт характеристик продуктов
сгорания и расчёт теплового баланса котельного агрегата реализуется программой
№1 состоящей из трёх подпрограмм (рис. III
- 2). В подпрограмме 1 в зависимости от вида топлива осуществляется расчёт
объёмов воздуха и характеристик продуктов сгорания в поверхностях нагрева (рис.
III - 3). В
подпрограмме 2 (рис. III
- 4) происходит расчёт энтальпии продуктов сгорания, причём расчёт
теплоёмкостей по интерполяционному полиному, а расчёт самих энтальпий с учётом
вида топлива внесён в подпрограмму 3 (рис. III
-5), к которой обращается подпрограмма 2 при расчёте каждой поверхности
нагрева. Подпрограмма 4 реализует расчёт теплового баланса котельного агрегата,
определяет КПД, расчётный расход топлива и другие показатели работы котельного агрегата
(рис. III - 6).
III - 3. Расчёт теплообмена в топке
Передача теплоты в топке происходит в основном
излучением. Доля конвективного теплообмена относительно мала и при расчёте им
пренебрегают.
Если бы в топке существовал
теплообмен между топливом и газами и её лучевоспринимающими поверхностями, то
вся теплота горения расходовалась бы только на нагрев газов, т. е. топочные
газы имели бы максимально возможную температуру, которая называется
теоретической или адиабатической температурой горения. В реальном процессе
горения температура газов на любом участке ниже адиабатической. Температурой
газов на выходе из топки считают температуру в выходном окне топки, перед
трубами фестона
, которой в
начале расчёта задаются, а в конце уточняют по формуле:
, (III - 39)
где Та - температура газов, которая
была бы при их адиабатическом сгорании, К;
φ - коэффициент сохранения
теплоты (находится по формуле III - 35);
Вр - расчётный расход топлива
(определяется по формуле III - 38);
- средняя теплоёмкость газов на
выходе из топки (находится по принятой температуре на выходе из топки);
VГ - объём
газов на выходе из топки (находится по формуле III -13);
- среднее значение коэффициента
тепловой эффективности экранов;
Fст - площадь
стен топки (принимается по конструкции топки).
Площадь лучевоспринимающей
поверхности в топке равна:
, (III - 40)
где Fпл - площадь
занятая лучевоспринимающей поверхностью, м2;
X - угловой
коэффициент лучевоспринимающей поверхности данного участка (зависит от
конструкции экрана или пучка и определяется по графику (рис. III -7)).
,
(III - 41)
где b - расстояние
между осями крайних труб лучевоспринимающей поверхности;
L - средняя
освещённая длина труб экрана;
,
(III - 42)
Значение L; S-шаг труб; z-количество
труб в экране, шт. находится по конструктивным размерам топки из чертежей или
технических данных парогенератора.
Степень экранирования топки:
, (III - 43)
где Fст - полная
площадь стен топки, м2;
- площадь суммарной
лучевоспринимающей поверхности топки, м2.
Рис. III-7. Графики
для определения угловых коэффициентов гладкотрубных однорядного (а),
двухрядного (б) экранов и z-рядных пучков (в - коридорного, г -
шахматного):
- с учётом излучения обмуровки при
е>1,4d;
- то же при е=0,8d;
- то же при е=0,5d;
- то же при е=0;
- без учёта излучения обмуровки при
е³0,5d.
Коэффициент загрязнения и
экранирования экранов
находится
по данным табл. III - 8 (рис. III - 22).
Коэффициент тепловой эффективности
лучевоспринимающих поверхностей топки находится по формуле:
,
(III - 44)
Площадь суммарной эффективности
лучевоспринимающей поверхности топки, имеющей открытые гладкотрубные экраны,
закрытые огнеупорными материалами, равна:
, (III - 45)
Для учёта характера распределения
температуры в топке находится параметр М. При сжигании газа и мазута:
, (III - 46)
При камерном сжигании
высокореакционных топлив и слоевом сжигании всех топлив:
,
(III - 47)
При камерном сжигании малореакционых
твёрдых топлив (АШ и Т) и каменных углей с повышенной зольностью:
,
(III - 48)
В этих формулах XТ
характеризует относительное положение максимума температуры топочных газов и
принимается в зависимости от конструктивных характеристик топки и вида
сжигаемого топлива по таблице III - 9 (рис. III - 11).
Полезное тепловыделение в топке
равно, кДж/кг (кДж/м3):
, (III - 49)
где QВ -
количество теплоты, выносимое воздухом, кДж/кг (кДж/м3);
QВ.ВН. -
тепло, выносимое после воздухоподогревателя, кДж/кг (кДж/м3). Значения
,
принимаются
по заданной температуре воздуха по таблице III - 2.
Значения QТ
приравниваются
при в
соответствии с чем методом интерполяции по данным табл. III - 3
определяется адиабатическая температура горения Та.
Средняя суммарная теплоёмкость
продуктов сгорания кДж/кг×К (кДж/м3×К)
котельный топливо
сгорание теплообмен
, (III-49а)
Таблица III - 8.
Условные коэффициенты загрязнения и
закрытия экранов
|
Тип
экрана
|
Вид
топлива
|
Коэффициент
|
Открытые гладкотрубные и плавниковые
экраны Ошипованные экраны, покрытые огнеупорной массой в топках с
твёрдым шлакоудалением Экраны, закрытые шамотным кирпичом Газообразное
топливо Мазут АШ и ПА, тощие и каменные угли, бурые угли
, фрезерный
торф
Бурые угли
при газовой сушке и прямом вдувании
Экибастузский уголь
Все топлива при слоевом сжигании
Все топлива
То же0,65
,55
,45
,55
,35-0,40
,60
,20
Примечание. При периодической работе топки на
различных топливах (пыль, мазут, газ) коэффициент загрязнения принимается для
топлива, которое наиболее сильно загрязняет поверхность экранов.
Таблица III
- 9.
|
Конструктивные
особенности топки
|
Значение
коэффициента XТ
|
Топки с горизонтальным развитием факела
(парогенераторы ДКВ, ДКВР, КЕ, ДЕ с V-образным
факелом) Слоевые топки: при сжигании топлива в тонком слое при сжигании топлива
в толстом слое инвертные топки с пылеугольными горелками Камерные топки с
горизонтальным расположением горелок и верхним отводом газов hГ - высота
расположения осей горелок от пода до топки НТ - общая высота топки от пода до
середины выходного окна (принимается по конструктивным характеристикам топки)
Значения ΔX: для
шахтно-мельничных топок с открытыми или эжекционными амбразурами при установке
рассекателей Для пылеугольных топок при горизонтальном расположении вихревых
горелок То же для прямоточных горелок Для газомазутных топок: при
т/ч
при
т/ч0,3
,1
,14
,25÷0,3
,15
,1
Для жидкого и газообразного топлива температура
дымовых газов на выходе из топки может находиться в пределах 900-1250 0С,
причём более низкие значения принимаются для агрегатов с более низкой
производительностью. Для большинства видов твёрдого топлива температура дымовых
газов на выходе из топки выбирается из условия предупреждения шлакования
последующих поверхностей нагрева, т. е. принимается не выше 11000С. Кроме того,
температура газов на выходе из топки должна учитывать ПДК вредных веществ в их
составе.
Эффективная степень черноты факела при слоевом
или камерном сжигании твёрдого топлива рассчитывается по номограмме (рис. III
- 9) или по формуле:
, (III - 50)
где е - основание натуральных
логарифмов;
Р - давление в топке, принимается
равным 0,1 МПа;
S -
эффективная толщина излучающего слоя, м, определяемая по формуле:
, (III - 51)
где VТ - активный
объём топки, м3 (определяется по конструктивным характеристикам топки).
Коэффициент ослабления лучей
топочной средой,
,
рассчитывают при температуре газов на выходе из топки
по формуле:
, (III - 52)
где kкокс=10,
значения
и
зависят от
вида топлива и способа его сжигания.
Рис. III - 8. Номограмма
для определения коэффициента ослабления лучей трёхатомными газами
Рис. III -9.
Номограмма для определения степени черноты продуктов сгорания топлива
Рис. III - 10.
Графики для определения коэффициента ослабления лучей золовыми частицами:
- при сжигании пыли в циклонных
топках;
- при сжигании углей, размолотых в
шаровых барабанных мельницах;
- при сжигании углей, размолотых в
среднеходных и молотковых мельницах и мельницах-вентиляторах;
- при сжигании топлива в слоевых
топках и дроблёнки в циклонных топках;
- при сжигании торфа в камерных
топках.
Рис. III - 10а.
Графики для определения коэффициента тепловосприятия по высоте топки
(газомазутное топливо)
- для низкореакционных топлив; для
высокореакционных топлив (каменный и бурый уголь, торф)
;
- при камерном сжигании;
при слоевом
сжигании.
Коэффициент ослабления лучей
несветящейся частью топочной среды, состоящей из трёхатомных газов, равен:
,
(III - 53)
Коэффициент ослабления лучей
трёхатомными газами:
, (III - 54)
или находится по номограмме (рис. III - 8).
- для котлов без наддува,
где Р - давление в топке.
Коэффициент ослабления лучей
золовыми частицами,
,
рассчитывают по формуле (рис.III - 10):
, (III - 55)
где dзл - среднее
значение эффективного диаметра золовых частиц (мкм), принимается по табл. III - 10.
Таблица III - 10.
|
Тип
топки
|
Тип
мельницы
|
Вид
топлива
|
dзл, мкм
|
|
Пылеугольная
Циклонная Слоевая
|
шаровая
, среднеходная, быстроходная и молотковая
|
все
топлива все топлива кроме торфа кроме торфа торф пыль дроблёнка все топлива
|
13
16 16 16 24 10 20 20
|
Степень черноты топки:
для слоевых и факельно-слоевых топок:
, (III - 56)
для камерных топок:
, (III - 57)
где
- для слоевых топок;
S=0 - для
камерных топок.
При сжигании жидких и газообразных
топлив топка заполнена светящимся пламенем, состоящим из продуктов сгорания и сажистых
частиц и несветящимися газообразными продуктами.
Эффективная степень черноты
газомазутного факела равна:
, (III - 58)
где асв и аF - степень
черноты, которой бы обладал факел пи заполнении топки светящимся или только
несветящимся пламенем соответственно.
Для определения m находим
тепловое напряжение топки:
,
(III - 59)
Если
кВт/м2, то:
m=0.1 для
газа;
m=0,55 для
жидкого топлива.
Если
кВт/м2, то:
m=0,6 для
газа;
m=1для
жидкого топлива.
Если
кВт/м2, то значение m находят
методом линейной интерполяции:
, (III - 60)
, (III - 61)
Коэффициент ослабления лучей
несветящимися газами рассчитывается по формулам (III - 55) и (III - 56), а
коэффициент ослабления лучей светящейся частью газомазутного пламени, равен:
,
(III - 62)
где kсаж -
коэффициент ослабления лучей светящимися сажистыми частицами, равен:
, (III - 63)
Для газообразного топлива:
или
, (III - 64)
где m и n -
количество атомов углерода и водорода в топливе.
При
принимают
.
Средняя суммарная теплоёмкость
продуктов сгорания Vср и степень черноты аф,
рассчитываются по предварительно принятой температуре газов на выходе из топки
, которая
выбирается по виду и составу топлива, допустимой концентрации окислов азота в
топке, конструкции топки и других факторов. Если определённая по расчёту
температура газов на выходе из топки отличается от принятой более чем на
0С, то
найденную в результате расчёта температуру следует принять за исходную, затем
уточнить значение Vср и аф при расчёте по формуле (III - 39) ,
определить новое значение
. Полученную
температуру затем проверяют на устойчивость горения топлива и отсутствие
шлакования поверхностей, расположенных в выходном окне топки, в соответствии с
рекомендуемыми значениями для твёрдых топлив. Нижний предел температуры
определяется из условий сохранения устойчивости горения, а верхний предел
ограничивается необходимостью предотвращения шлакования поверхностей нагрева,
расположенных в выходном окне топки.
Для топок, в которых сжигаются
жидкие и газообразные топлива, эти ограничения температур снимаются, т. к.
устойчивость горения этих топлив очень высока, а возможность шлакования
отсутствует. Ограничения накладываются условиями эксплуатации конвективных
поверхностей нагрева. Не рекомендуется, чтобы температура газов на выходе из
топки была боде 12000С для мазута и 12500С для газа.
Если найденная из расчёта
температура
выходит за
допустимые пределы по условию устойчивого горения или шлакования, то проводится
конструкторско-поверочный расчёт теплообмена в топке или заменяется тип топки.
Концентрация окислов азота в топке
определяют по формуле (г/м3):
, (III - 65)
где Dэ -
эквивалентный диаметр топки (определяется по конструктивным размерам);
qv - расчётное
тепловое напряжения топки, кВт/м3, находится по формуле:
,
(III - 66)
Полученное значение концентрации
окислов азота сравнивают со значением концентрации окислов азота для различных
видов топлива:
уголь - 0,93 г/м3 продуктов
сгорания;
мазут - 0,82 г/м3 продуктов
сгорания;
природный газ - 0,42 г/м3 продуктов
сгорания.
В случае превышения полученной
над
известной, расчёт повторяется при других конструктивных размерах топки или
коэффициенте избытка воздуха.
Общее тепловосприятие топки при
расчёте на 1 кг (м3) топлива, кДж/кг (кДж/м3) определяется по формуле:
,
(III - 67)
Средняя часовая удельная тепловая
нагрузка лучевоспринимающих поверхностей топки (кВт/м2) определяется по
формуле:
,
(III - 68)
Распределение удельной тепловой
нагрузки по высоте и стенкам топочной камеры, равно:
, (III - 69)
где ηВ -
коэффициент распределения тепловой нагрузки (находится по графику (рис. 10а));
ηст - коэффициент
распределения тепловосприятия между стенками (табл. III - 11).
Рис.III-11. К
определению относительного уровня расположения горелок в камерных топках
Таблица III - 11.
Значение коэффициента распределения
тепловосприятия между стенами топки
|
Стена
топки
|
ηст
|
|
Задняя,
при фронтовом расположении горелок То же, при открытых амбразурах
шахтно-мельничных топок Любая (в остальных случаях)
|
1,1
1,2 1,0
|
Расчёт топки сводим в таблицы III
- 12, III - 13.
Таблица III
- 12.
Поверочный расчёт теплообмена в топке при
сжигании твёрдого топлива.
|
Величина
|
Единица
размерности
|
Результат
расчёта
|
|
Наименование
|
Обозначение
|
Расчётная
формула или способ определения
|
|
|
|
1
|
2
|
3
|
4
|
5
|
|
Суммарная
площадь лучевоспринимающей поверхности
|
По
конструктивным размерамм2
|
|
|
|
|
Площадь
лучевоспринимающей поверхности открытых экранов
|
То жем2
|
|
|
|
|
Площадь
лучевоспринимающей поверхности закрытых экранов
|
То жем2
|
|
|
|
|
Полная
площадь стен топочной камеры
|
То жем2
|
|
|
|
|
Коэффициент
загрязнения и закрытия экранов
|
По табл. III - 8-
|
|
|
|
|
Коэффициент
тепловой эффективности лучевоспринимающей поверхности
|
 -
|
|
|
|
|
Эффективная
толщина излучающего слоя
|
S
|
м
|
|
|
|
Полная
высота топки
|
НТ
|
По
конструктивным размерам
|
м
|
|
|
Высота
расположения горелок
|
hТ
|
То
же
|
м
|
|
Относительный уровень расположения
горелок XГ
(или опред.
по табл. III - 9)
|
-
|
|
|
|
|
Параметр,
учитывающий распределение температур в топке
|
М
|
|
|
|
Коэффициент избытка воздуха на
выходе из топки 
|
-
|
|
|
|
|
|
Температура
горячего воздуха
|
tГ.В.
|
По
предварительному выбору
|
0С
|
|
Энтальпия горячего воздуха
По
результатам расчёта
|
(табл.
III -
3)кДж/кг
|
|
|
|
|
|
Количество
теплоты, вносимое в топку воздухом
|
В
|
кДж/кг
|
|
|
|
Полезное
тепловыделение в топке
|
QТ
|
кДж/кг
|
|
|
|
Адиабатическая
температура горения
|
По табл. III - 40С
|
|
|
|
|
Те6мпература
газов на выходе из топки
|
По
предварительному выбору0С
|
|
|
|
|
Энтальпия
газов на выходе из топки
|
По табл. III - 4кДж/кг
|
|
|
|
|
Средняя
суммарная теплоёмкость продуктов сгорания
|
 кДж/кг
|
|
|
|
|
Объёмная
доля: - водяных паров
|
|
По
табл. III - 3
|
-
|
|
|
-
трёхатомных газов
|
По табл. III - 3-
|
|
|
|
|
Суммарная
объёмная доля трёхатомных газов
|
То же-
|
|
|
|
|
Произведение
|
 м×МПа
|
|
|
|
|
Коэффициент
ослабления лучей: трёхатомными газами
|
Формула III - 541/(м×МПа)
|
|
|
|
|
золовыми
частицами
|
Формула III - 551/(м×МПа)
|
|
|
|
|
частицами
кокса
|
 1/(м×МПа)
|
|
|
|
|
Безмерные
параметры
|
Принимается
по способу снижения-
|
|
|
|
|
То же-
|
|
|
|
|
Коэффициент
ослабления лучей топочной средой
|
 -
|
|
|
|
|
Суммарная
сила поглощения топочного объёма
|
 -
|
|
|
|
|
Степень
черноты факела
|
аф
|
Формула
III - 50
|
-
|
|
|
Степень
черноты топки
|
аТ
|
Формула
III - 56 или III - 57
|
-
|
|
|
Тепловая
нагрузка стен топки
|
кВт/м2
|
|
|
|
Температура
газов на выходе из топки
|
Формула III - 390С
|
|
|
|
|
Энтальпия
газов на выходе из топки
|
Табл. III - 4кДж/кг
|
|
|
|
|
Концентрация
окислов азота
|
Формула III - 65г/м3
|
|
|
|
|
Общее
тепловосприятие
|
 кДж/кг
|
|
|
|
|
Средняя
удельная тепловая нагрузка лучевоспринимающих поверхностей топки
|
 кВт/м2
|
|
|
|
|
|
|
|
|
|
Таблица III
- 13.
Поверочный расчёт теплообмена в топке при
сжигании газообразного или жидкого топлива
|
Величина
|
Единица
размерности
|
Результат
расчёта
|
|
Наименование
|
Обозначение
|
Расчётная
формула или способ определения
|
|
|
|
1
|
2
|
3
|
4
|
5
|
|
Активный
объём топки и камеры догорания
|
VТ
|
По
конструктивным расчётам
|
м3
|
|
|
Суммарная
площадь поверхности стен топки и камеры догорания
|
Fст
|
То
же
|
м2
|
|
|
Площадь
лучевоспринимающей поверхности топки и камеры догорания
|
НЛ
|
То
же
|
м2
|
|
|
Эффективная
толщина излучающего слоя
|
S
|
м
|
|
|
|
Коэффициент
тепловой эффективности лучевоспринимающей поверхности
|
 -
|
|
|
|
|
Высота
топки до середины выходного окна
|
НТ
|
По
конструктивным размерам
|
м
|
|
|
Высота
расположения горелок
|
hГ
|
То
же
|
м
|
|
|
Коэффициент
|
XТ
|
-
|
|
|
|
Параметр,
учитывающий распределение температур в топке
|
М
|
|
|
|
|
Коэффициент
избытка воздуха в топке
|
 -
|
|
|
|
|
Температура
воздуха в котельной
|
tXB
|
По
выбору
|
0С
|
|
|
Энтальпия
холодного воздуха
|
Табл. III - 4кДж/кг
|
|
|
|
|
Температура
горячего воздуха
|
tГВ
|
По
выбору
|
0С
|
|
|
Энтальпия
горячего воздуха
|
Табл. III - 4кДж/кг
|
|
|
|
|
Количество
теплоты, вносимое в топку воздухом
|
 кДж/кг
|
|
|
|
|
Полезное
тепловыделение в топке
|
Таблица III -
49кДж/кг
|
|
|
|
|
Адиабатическая
температура горения
|
Таблица III - 40С
|
|
|
|
|
Температура
газов на выходе из топки
|
По
выбору0С
|
|
|
|
|
Энтальпия
газов на выходе из топки
|
Таблица III - 4кДж/кг
|
|
|
|
|
Средняя
суммарная теплоёмкость продуктов сгорания
|
 кДж/(кг·К)
|
|
|
|
|
Объёмная
доля: водяных паров
|
|
По
расчёту
|
-
|
|
|
трёхатомных
газов
|
То же-
|
|
|
|
|
Суммарная
объёмная доля трёхатомных газов
|
 -
|
|
|
|
|
Суммарная
поглощательная способность
|
 м·МПа
|
|
|
|
|
Коэффициент
ослабления лучей трёхатомными газами
|
k
|
Формула
III - 54
|
-
|
|
|
Коэффициент
ослабления лучей несветящейся частью топочной среды
|
Формула III - 581/(м×МПа)
|
|
|
|
|
Степень
черноты несветящейся части факела
|
af
|
Формула
III - 61
|
-
|
|
|
Коэффициент
ослабления лучей сажистыми частицами
|
kсаж
|
Формула
III - 63
|
1/(м×МПа)
|
|
|
Коэффициент
ослабления светящейся частью топочной среды
|
kсв
|
Формула
III - 62
|
1/(м×МПа)
|
|
|
Степень
черноты светящейся части факела
|
асв
|
Формула
III - 60
|
-
|
|
|
Коэффициент
заполнения объёма топки светящейся частью пламени
|
m
|
В
зависимости от величины qv
|
-
|
|
|
Степень
черноты факела
|
аф
|
Формула
III - 58
|
-
|
|
|
Степень
черноты топки
|
аТ
|
-
|
|
|
|
Тепловая
нагрузка стен топки
|
 кДж/(м2·0С)
|
|
|
|
|
Температура
газов на выходе из топки
|
Формула III -390С
|
|
|
|
|
Энтальпия
газов на выходе из топки
|
Табл. III - 4кДж/кг
|
|
|
|
|
Концентрация
окислов азота
|
Формула III - 65г/м3
|
|
|
|
Поверочный расчёт топки при известных её
размерах и величине радиационных лучевоспринимающих поверхностей нагрева,
сводится к определению температуры газов на выходе из топочной камеры по
формуле III - 39, в
которую входят величины зависимые и независимые от температуры газов на выходе
из топки. Кроме того, проводится проверка расчёта горения на содержание окислов
азота в топочных газах по формуле III
- 65. В связи с этим расчёт топки проводится на ПК методом последовательных
приближений. Блок-схема алгоритма расчёта базируется на методике расчёта,
приведенной в табл. III
- 12 и III - 13.
Описанная методика расчёта теплообмена в топке
представлена блок-схемой расчёта (рис. III
- 12). Расчёт основан на итерационном процессе уточнения температуры газа на
выходе из топки. Учитывается также необходимость соблюдения предельно
допустимой концентрации окислов азота, в противном случае предусмотрен
повторный расчёт.
III-4. Расчёт фестона, испарительных пучков и
перегревателя
Фестон и испарительные пучки непосредственно
соединены с барабаном и определяют общую схему котельного агрегата. Если перед
фестоном или испарительным пучком расположен конвективно-радиационный
перегреватель, то его рассчитывают до расчёта испарительных поверхностей.
Расчёт испарительных поверхностей выполняют совместным
решением 2-х уравнений: уравнения теплового потока от газов к рассчитываемой
поверхности:
, (III - 70)
и уравнения теплопередачи:
, (III - 71)
где φ - коэффициент
сохранения теплоты;
J' и J"-
энтальпии газов на входе в поверхность нагрева и на выходе из нее, кДж/м3
(кДж/кг);
Δ α - присос
воздуха на рассчитываемом участке газохода;
- энтальпия теоретически
необходимого количества воздуха при tпрс, кДж/м3
(кДж/кг);
К - коэффициент теплопередачи
рассчитываемого участка, Вт/(м2×К);
Δt - средний
температурный напор, 0С;
Н - расчётная площадь конвективной
поверхности нагрева, м2.
ВР - расчётный расход топлива, кг/с.
Рис. III-12.
Блок-схема алгоритма расчёта теплообмена в топке
Поверочный расчёт фестона и
испарительных пучков выполняют в следующем порядке.
1. По чертежу и техническим характеристикам
парогенератора составляют расчётную схему (рис.III
- 20) и таблицу конструктивных размеров и характеристик поверхностей нагрева
фестона и испарительных пучков (табл.III
- 14). Наименование расчётных участков в таблице должно соответствовать
расчётной схеме парогенератора.
Таблица III
- 14.
Конструктивные размеры и характеристики
поверхностей нагрева фестона и испарительных пучков
|
Показатели
|
Единица
измерения
|
Фестон
|
Испарительные
пучки
|
|
Наименование
|
Обозначение
|
|
|
|
|
|
Диаметр
труб наружный Количество труб в ряду Общее количество труб в рассматриваемом
участке Средняя длина труб Расчётная площадь поверхности нагрева Расположение
труб (шахматное, коридорное) Шаг труб: поперёк движения газов вдоль движения
газов Относительный шаг труб: поперечный продольный Размеры сечения газохода
поперёк движения газов Площадь живого сечения для прохода газов
|
d z1 z bср
Н
- S1 S2 S1/d S2/d
A B
F
|
мм
шт. шт. м м2 - мм мм - - м м м2
|
|
|
|
Примечание. Если испарительный пучок на части не
делится, то в графе “Испарительные пучки” заполняется только первый столбец.
При значительном различии длины труб по разным
рядам пучка средняя длина труб находится по формуле:
,
(III - 72)
где n1, n2, … -
количество труб длины l1 , l2, …;
z- общее
количество труб в пучке.
Расчётную площадь поверхности
нагрева фестона в трубных пучках находят по формуле:
, (III - 73)
При определении Н учитывают только
поверхность, омываемую газами.
. Предварительно задаются
температурой газов на выходе из рассчитываемого участка, которую принимают
исходя из газового потока
.
Ориентировочные значения температурного перепада следующие:
для фестона с количеством рядов труб
не более трёх
; больше
трёх
;
для фестона и испарительного пучка,
расположенного непосредственно за фестоном
;
для испарительных пучков,
расположенных до перегревателя с количеством рядов труб не более трёх (например,
для агрегатов ДКВР)
; больше
трёх
;
для испарительных пучков за
перегревателем
;
для испарительных пучков агрегатов,
не имеющих перегревателей,
.
В первом приближении меньшие
значения принимают для парогенераторов с развитыми хвостовыми поверхностями.
. По
таблице (табл. III - 4) или
диаграмме (рис.
III - 1)
находят энтальпию газов за рассчитываемым участком
,
соответствующую предварительно принятой
′.
. По формуле III - 70
рассчитывают количество теплоты, отданное газами конвективной поверхности
нагрева, Q1.
. Определяют коэффициент
теплопередачи К и средний температурный напор Δt (см. рис. III - 19).
. По уравнению теплопередачи (III-71)
рассчитывают значение конвективного тепловосприятия газохода QТ. Если в
зоне рассчитываемого газохода находятся дополнительные поверхности нагрева
(например, настенные краны), площадь которых не менее 5 % основной, то
учитывают также тепловосприятие дополнительной поверхностей:
. (III - 74)
Значение Кдоп и Δtдоп
принимают такими же как и для основной поверхности, независимо от
конструктивного выполнения.
. Правильность расчёта оценивают по
величине расхождения (%) тепловосприятий, определённых по формуле ( III - 1 ) и
уравнению тепловосприятий
( III - 2):
,
(III - 75)
Если расхождение ΔQ не
превышает 2 % для испарительных пучков и 5 % для фестона, то расчёт не
уточняют, а предварительно принятую температуру газов на выходе из
рассчитываемого участка считают окончательной. При больших расхождениях
принимают новое значение температуры газов на выходе из рассчитываемой
поверхности нагрева, и расчёт повторяют, добиваясь необходимой сходимости QF и QT.
Для второго приближения
целесообразно выбирать значение температуры, отличающееся от принятого в первом
приближении не более чем на 50 0С. В этом случае коэффициент теплопередачи не
пересчитывается, заново определяется температурный напор, и проводятся расчёты
по формулам (III - 70 и III - 71).
Конечную температуру для 2-го приближения выбирают такой, чтобы при QT>QF она была
больше чем при первом приближении и наоборот.
Если и после второго приближения
расхождение между QF и QT окажется
больше допустимого, следует задаться новым значением температуры и повторить
расчёт, причём, если расчётное значение температуры отличается от
первоначального больше чем на 500С, то повторяется весь расчёт. Окончательным
считается температура и тепловосприятие, входящие в формулу (III - 70).
Предварительно, перед поверочным
расчётом перегревателя, составляем расчётную схему поверхности нагрева
перегревателя с указанием на ней известных до начала расчёта параметров газа и
пара.
Используя техническую документацию
перегревателя, составляем таблицу конструктивных размеров и характеристик
(табл. III - 15).
Таблица III - 15.
Конструктивные размеры и
характеристики перегревателя
|
Размеры
и характеристики
|
Размерность
|
Ступень
|
|
Наименование
|
Обозначение
|
Расчётная
формула или способ определения
|
|
|
|
|
|
|
|
Диаметр труб Количество труб в ряду
(поперёк газохода) Количество труб в ряду (по ходу газохода) Средний шаг труб:
поперечный продольный Расположение труб в пучке Характер омывания Средняя длина
змеевика Суммарная длина труб Полная площадь поверхности нагрева Площадь живого
сечения на входе То же на выходе Средняя площадь живого сечения газохода
Количество параллельно включенных змеевиков Площадь живого сечения d/d
вн
z1 z s1 s2 - - L ΣL H F ′ F "
Fср
m f По
конструктивным размерам То же То же
По конструктивным размерам
мм
шт.
шт.
шт.
шт.
м
м
м2
м2
м2
м2
шт.
Поверочный расчёт перегревателя или ступени
проводят также методом последовательных приближений, так как неизвестных
больше, чем расчётных уравнений. Предварительно задаются одной из неизвестных
величин, т.е. температурой газов или пара на выходе из перегревателя или
ступени, тогда как температура и энтальпия газа перед перегревателем или
ступенью известны из расчёта предыдущей поверхности нагрева. Известны также
параметры пара на одном конце рассчитываемого участка. При поверочном расчёте
перовой ступени перегревателя (по ходу пара) параметры на входе в ступень
принимают равными параметрам пара на выходе из барабана парогенератора.
Параметры пара на выходе из 2-ой ступени даются в задании на проектирование.
Неизвестны параметры газов за ступенью и параметры пара между ступенями.
В первом приближении неизвестную температуру
можно ориентировочно определить исходя из предположения, что перепад
температуры пара Δtст
является частью температурного перепада всего перегревателя Δtпе
пропорциональной отношению площадей поверхности нагрева ступени Нст и всего
перегревателя Нпе , т.е. :
,
(III - 76)
Так, ориентировочное значение
температуры пара перед выходной ступенью определяют по формуле:
,
где t" пе -
температура пара в выходном коллекторе парогенератора, 0С.
Порядок поверочного расчёта ступени
перегревателя следующий.
. Предварительно принимают
неизвестную температуру пара.
. Находят общее и конвективное
количество теплоты, полученное от пара в рассчитываемом участке.
. Находят энтальпию газов на выходе
из перегревателя по формуле:
, (III - 77)
где Qк.пе -
конвективная теплота восприятия перегревателем;
Qдоп -
тепловосприятие дополнительных поверхностей;
- энтальпия газов в начале
газохода, кДж/м3;
- энтальпия холодного воздуха
присосов, кДж/м3.
. Вычисляют коэффициент
теплопередачи К и температурный напор Δt для
рассчитываемой поверхности.
. По уравнению теплопередачи
определяют тепловосприятие перегревателя в процессе конвективного теплообмена QТ.
. Проверяют правильность
предварительно принятой температуры пара.
Правильность принятой температуры
определяют сравнением тепловосприятия перегревателя, определённого по уравнению
теплопередачи (III - 71) и по количеству теплоты,
воспринятой конвекцией:
, (III - 78)
где Qл.пе -
лучистая теплота, полученная перегревателем, кДж/кг (кДж/м3);
- удельная энтальпия пара на выходе
из ступени, кДж/кг;
- удельная энтальпия пара на входе
в ступень, кДж/кг.
Расчёт считается законченным, если
сравниваемые значения отличаются между собой не более чем на 2% для
перегревателя с пароохладителем и не более чем на 3% для перегревателя без
пароохладителя. Если расхождения больше, то следует принять новое значение
температуры пара и повторить расчёт.
Если при повторном расчёте
температура газов за перегревателем отличается от принятой или от полученной
при первом расчёте не более чем на 500С, то коэффициент теплопередачи К, ввиду
его малого изменения, не пересчитывается. Температурный напор пересчитывается
обязательно.
Если после второго приближения
значения тепловосприятий, определённые по формулам (III - 71) и (III - 78),
будут отличаться на величину больше допустимой, то расчётную температуру пара
находят путём интерполяции. Если найденное значение температуры будет
отличаться от того, при котором определены коэффициенты теплопередачи и
температурный напор более чем на 500С, то при этой температуре необходимо
пересчитать коэффициент теплопередачи и температурный напор. За расчётное
тепловосприятие перегревателя принимают значение, вычисленное по формуле (III - 78).
По условиям жаропрочности труб из
углеродистой стали температура на выходе из первой ступени не должна превышать
400 0С. Если температура пара будет больше, то для её снижения уменьшают
площадь поверхности первой ступени соответственно увеличив площадь поверхности
нагрева второй ступени, которая изготавливается из жаропрочной стали.
Расчёты поверхностей сводят в
таблицы.
Рис. III -
13.Номограмма для определения коэффициента теплоотдачи конвекцией при
поперечном омывании шахматных гладкотрубных пучков (
)
Рис. III-14.
Номограмма для определения коэффициента теплоотдачи конвекцией при поперечном
омывании коридорных гладкотрубных пучков (
)
Рис. III-15.
Номограмма для определения коэффициента теплоотдачи при продольном омывании
пучков:
при охлаждении газов и воздуха (
);
при нагревании воздуха (
)
Рис. III-16.
Номограмма для определения коэффициента теплоотдачи излучением:
для запылённого потока
;
для незапылённого потока
Рис. III-17.
Номограмма для определения температурного напора при параллельно-смешанном токе
теплоносителей:
- два хода среды прямоточные;
- два хода среды прямоточные и один
противоточный;
- один ход противоточный и один
прямоточный;
- два хода противоточные и один
прямоточный;
- обо хода противоточные
Рис. III-18.
Номограмма для температурного напора при перекрёстном токе теплоносителей:
- однократный перекрёст; 2 -
двукратный перекрёст; 3 - трёхкратный перекрёст; 4 - четырёхкратный перекрёст.
Рис. III-19.
Номограмма для температурного напора при последовательно-смешанном токе
теплоносителей
Рис. III-20. Схемы
включения участков поверхностей нагрева
Рис. III-21 .
Номограмма для определения коэффициента теплопередачи чугунных ребристых
экономайзеров ВТИ и ЦККБ (
)
Рис. III-22 .
Графики для определения коэффициента загрязнения шахматных гладкотрубных пучков
при сжигании твёрдых топлив:
а - исходный коэффициент загрязнения
;
б - поправка на диаметр труб Сd
Таблица III-16.
Расчёт фестона (кипятильного пучка)
|
Наименование
величин
|
Обозначение
|
Способ
определения
|
Размерность
|
Результат
|
|
Полная
площадь поверхности нагрева
|
Н
|
По
конструктивным размерам
|
м2
|
|
|
Площадь
поверхности труб боковых экранов
|
Ндоп
|
-
² -
|
м2
|
|
|
Диаметр
труб
|
d
|
-
² -
|
мм
|
|
|
Относительный
шаг труб:
|
|
|
|
|
|
поперечный
|
- ² -
|
|
|
|
|
продольный
|
- ² -
|
|
|
|
|
Количество
рядов труб по ходу газов
|
z2
|
-
² -
|
шт.
|
|
|
Количество
труб в ряду
|
z1
|
-
² -
|
шт.
|
|
|
Площадь
живого сечения для паропровода газов
|
F1
|
AB-z1× d×L
|
м2
|
|
|
Эффективная
толщина излучающего слоя
|
S
|
0,9( -1)dм
|
|
|
|
Температура
газов перед фестоном (пучком)
|
Q¢
|
Из
расчёта топки или предыдущей поверхности
|
°С
|
|
|
Энтальпия
газов перед фестоном (пучком)
|
J¢
|
-
² -
|
кДж
|
|
|
Температура
газов за фестоном (пучком)
|
Q¢¢
|
По
предварительному выбору
|
°С
|
|
|
Энтальпия
газов за фестоном (пучком)
|
J¢¢
|
По
результатам расчёта (табл. III-4)
|
кДж/кг
|
|
|
Количество
теплоты отданное фестону (пучку)
|
Qг
|
j×(
J¢ - J¢¢ )
|
кДж/кг
|
|
|
Температура
кипения воды в барабане Рб
|
tкип
|
По
табл. свойств насыщенного пара и воды
|
°С
|
|
|
Средняя
температура газов
|
Qср
|
0,5×( Q¢ - Q¢¢ )
|
°С
|
|
|
Средний
температурный напор
|
Dt
|
Qср
- tкип
|
|
|
Средняя
скорость газов
|
W
|
м/с
|
|
|
|
Коэффициент
теплоотдачи конвекцией
|
aк
|
По
рис. III-13, 14, 15
|
кВт/(м2К)
|
|
|
Степень
черноты излучающей среды
|
а
|
По
расчёту топки
|
-
|
|
|
Температура
загрязнённой стенки
|
tст
|
tкип +Dt
|
°С
|
|
|
Номинальный
коэффициент теплоотдачи
|
ан
|
По
рис. III-13, 14, 15
|
Вт/(м2×К)
|
|
|
Коэффициент
теплоотдачи излучением
|
ал
|
(ал
=ан× а) рис. III-16
|
Вт/(м2×К)
|
|
|
Коэффициент
использования поверхности нагрева
|
x
|
0,95
|
-
|
|
|
Коэффициент
теплоотдачи от газа к стенке
|
а1
|
x × ( aк + ал )
|
Вт/(м2×К)
|
|
|
Коэффициент
загрязнения для твёрдых топлив
|
e
|
Рис.
III-22
|
-
|
|
|
Коэффициент
теплопередачи
|
К
|
Вт/(м2×К)
|
|
|
|
Тепловосприятие
фестона (пучка) по уравнению
|
Qф
|
кДж/кг
|
|
|
|
Тепловосприятие
настенных труб
|
Qдоп
|
кДж/кг
|
|
|
|
Суммарное
тепловосприятие фестона (пучка)
|
Qт
|
Qф - Qдоп
|
кДж/кг
|
|
|
Расхождение
расчётных тепловосприятий
|
DQ
|
%
|
|
|
Предлагаемая методика расчёта
фестона (кипятильного пучка) осуществляется программой N3,
блок-схема алгоритма которой представлена на рис. III-23. По
предварительно заданной температуре газов за фестоном последовательно
рассчитываются основные характеристики и показатели эффективности работы
фестона. В зависимости от величины расхождений расчётных тепловосприятий DQ
осуществляется повторный, уточняющий расчёт фестона, по вновь заданному
значению температуры газов за фестоном. Итерационный процесс прекращается при
выполнении условия: DQ
2% .
Рис. III-23.
Блок-схема алгоритма расчёта фестона (кипятильного пучка)
Рис. III-24.
Блок-схема алгоритма расчёта перегревателя (одной ступени)
Таблица III-17
Значение коэффициентов тепловой
эффективности поверхности гладкотрубных пучков
|
Поверхность
нагрева
|
Вид
топлива
|
Коэффициент
|
|
1
|
2
|
3
|
|
Коридорные
пучки, перегреватели и гладкотрубные экономайзеры при поперечном омывании,
шахматные и коридорные пучки при продольном омывании.
|
АШ,
тощие угли, фрезерный торф
|
0,55
|
|
Подмосковный
уголь
|
0,65
|
|
Каменные
и бурые угли
|
0,6
|
|
Шахматные
и коридорные фестоны, испарительные пучки, перегреватели.
|
Мазут
|
0,6
|
|
Газ
|
0,8
|
|
Гладкотрубные
экономайзеры агрегатов малой мощности (при температуре на выходе не выше 100°С)
|
Мазут
|
0,5
|
|
Газ
|
0,8
|
|
Вторые
ступени экономайзеров агрегатов средней мощности и одноступенчатые
экономайзеры (при 400°С)
|
Мазут
|
0,6
|
|
Газ
|
0,8
|
Рис. III-24.
Блок-схема алгоритма расчёта перегревателя (одной ступени)
Примечания: 1. При систематической очистке
поверхностей нагрева (обдувка, обмывка, дробеочистка) f
можно увеличить на 0,05.
. При сжигании газа после мазута значение f
принимается средним между значениями для газа и мазута; при сжигании газа после
твёрдого топлива - по твёрдому топливу.
. При сжигании смеси топлив значение f
принимается по более загрязнённому топливу.
Методика расчёта перегревателя (одной
ступени) реализована в программе №4, блок-схема алгоритма которой представлена
на рис.III-24. Расчёт
перегревателя осуществляется аналогично расчёту фестона: итерационный процесс
уточнения предварительно заданной температуры газов на выходе из ступени (Q") осуществляется до
выполнения условия DQ
2%
(расхождение расчётных тепловосприятий не должно превышать 2%).
В процессе расчёта учитывается тип
конвективного пучка: поперечный пучок, пучок в горизонтальной плоскости.
Таблица III-18.
Расчёт перегревателя (одной ступени)
|
Наименование
величин
|
Обозначение
|
Расчётная
формула или способ определения
|
Размерность
|
Результат
|
|
1
|
2
|
3
|
4
|
5
|
|
Диаметр
труб
|
По
конструктивным размераммм
|
|
|
|
|
Площадь
поверхности нагрева
|
Н
|
То
же
|
м2
|
|
|
Температура
пара на выходе из ступени
|
t"
|
По
заданию
|
°С
|
|
|
Температура
пара на входе в ступень
|
t¢
|
По
выбору
|
°С
|
|
|
Давление
пара:
|
|
|
|
|
|
на
выходе из ступени
|
Р²
|
По
заданию
|
МПа
|
|
|
на
входе в ступень
|
Р¢
|
По
выбору
|
МПа
|
|
|
Удельная
энтальпия пара:
|
|
|
|
|
|
-
на выходе из ступени
|
iп²
|
По
таблицам свойств насыщенного пара и воды
|
кДж/кг
|
|
|
-
на входе в ступень
|
iп¢
|
|
кДж/кг
|
|
|
Суммарное
тепловосприятие
|
Q
|
×(
iп² -
iп¢ )кДж/кг
|
|
|
|
Средняя
удельная тепловая нагрузка лучевоспринимающих поверхностей
|
qсрл
|
Из
расчёта топки
|
кВт/м2
|
|
|
Коэффициент
распределения тепловой нагрузки:
|
|
|
|
|
|
-
по высоте
|
hВ
|
По
рис. III-10
|
-
|
|
|
-
между стенами
|
hСТ
|
По
табл. III-11
|
-
|
|
|
Удельное
лучистое тепловосприятие выходного окна топки
|
qл
|
hВ×hСТ -
qсрл
|
кВт/м2
|
|
|
Угловой
коэффициент фестона
|
Xф
|
Рис.
III-7
|
-
|
|
|
Площадь
поперечного сечения газохода перед ступенью
|
FГ'
|
а'×
b'
|
м2
|
|
|
Лучистое
тепловосприятие ступени
|
Qл
|
кДж/кг
|
|
|
|
Конвективное
тепловосприятие ступени
|
Qк
|
Q -
Qл
|
кДж/кг
|
|
|
Температура
газов перед ступенью
|
Q '
|
Из
расчёта фестона (предыдущей поверхности)
|
°С
|
|
|
Энтальпия
газов на входе в ступень
|
J ' То жекДж/кг
|
|
|
|
|
Энтальпия
газов на выходе из ступени
|
J " То
жекДж/кг
|
|
|
|
|
Температура
газов на выходе из ступени
|
Q "
|
По
J-Q таблице
|
°С
|
|
|
Средняя
температура газов
|
Qср
|
0,5×(Q
'+
Q
")
|
°С
|
|
|
Средняя
скорость газов
|
W
|
м/с
|
|
|
|
Коэффициент
теплоотдачи конвекцией
|
ак
|
По
рис. III-13 (ак =
ан× сz×cs×сф)
|
Вт/(м2×К)
|
|
|
Средняя
температура пара
|
tср
|
0,5×(t
'+
t
")
|
°С
|
|
|
Удельный
объём пара при средней температуре
|
Vп
|
По
таблицам термодинамические свойства пара
|
м3/кг
|
|
|
Средняя
скорость пара
|
Wп
|
м/с
|
|
|
|
Коэффициент
теплоотдачи от стенки к пару
|
а2
|
По
рис. III-15 (а2 =
ан× са)
|
Вт/(м2×К)
|
|
|
Толщина
излучающего слоя
|
S
|
0,9· м
|
|
|
|
Суммарная
поглощательная способность трёхатомных газов
|
p×rn×s
|
p×rn×s
|
м×МПа
|
|
|
Коэффициент
ослабления лучей трёхатомными газами
|
К
|
По
рис. III-8
|
|
|
|
Коэффициент
ослабления лучей золовыми частицами
|
Кзл
|
По
рис. III-10
|
|
|
|
Суммарная
оптическая толщина запылённого газового потока
|
p×k×s
|
(КГ× rn +Кзл × mзл)×pS
|
м
|
|
|
Степень
черноты излучающей среды
|
а
|
По
рис. III-9
|
-
|
|
|
Коэффициент
загрязнения
|
e
|
По
рис. III-22
|
-
|
|
|
Температура
загрязнения стенки трубы
|
tст
|
°С
|
|
|
|
Коэффициент
теплоотдачи излучением
|
ал
|
По
рис. III-16 (ал =
ан× а)
|
Вт/(м2×К)
|
|
|
Коэффициент
использования пучка
|
z
|
z=1
для поперечных пучков z=0,9
для конвективных пучков в горизонтальной плоскости
|
-
|
|
|
Коэффициент
теплоотдачи от газов к стенке
|
а1
|
z×(ак + ал)
|
Вт/(м2×К)
|
|
|
Коэффициент
тепловой эффективности
|
f
|
По
табл. III-17
|
-
|
|
|
Коэффициент
теплопередачи
|
К
|
Вт/(м2×К)
|
|
|
|
Разность
температур между газами и паром:
|
|
|
|
|
|
-
наибольшая
|
Dtб
|
Q ' - t"
|
°С
|
|
|
-
наименьшая
|
Dtм
|
Q " -
t¢
|
°С
|
|
|
Температурный
напор при противотоке
|
Dtпрт
|
°С
|
|
|
|
Площадь
поверхности нагрева прямоточного участка
|
Нпрм
|
По
конструктивным размерам
|
м2
|
|
|
Площадь
поверхности нагрева ступени
|
Н
|
То
же
|
м2
|
|
|
Параметр
|
А
|
-
|
|
|
|
Полный
перепад температур газов
|
t1
|
Q ' - Q "
|
°С
|
|
|
Полный
перепад температур пара
|
t2
|
t" -
t¢
|
°С
|
|
|
Параметр
|
Р
|
-
|
|
|
|
Параметр
|
R
|
-
|
|
|
|
Коэффициент
перехода к сложной схеме
|
f
|
По
рис. III-20
|
-
|
|
|
Температурный
перепад
|
Dt
|
f × Dtпрт
|
°С
|
|
|
Тепловосприятие
ступени по уравнению теплообмена
|
QT
|
кДж/кг
|
|
|
|
Расхождение
расчётных тепловосприятий
|
DQ
|
-
|
|
|
III-5. Расчёт хвостовых поверхностей
Расчёт экономайзера и воздухоподогревателя
обычно выполняют по ходу газов, последовательно для всех их участков и
ступеней. Направление и последовательность могут не соблюдаться, если
выполняется расчёт отдельных ступеней.
Предварительно составляем расчётную схему
хвостовых поверхностей нагрева парогенератора и указываем на ней известные до
начала расчёта параметры газов, воды и воздуха.
Используя техническую документацию
парогенератора, составляем таблицы конструктивных размеров и характеристик его
экономайзера и воздухоподогревателя (табл. III-19,
III-20).
Таблица III-19.
Конструктивные размеры и характеристики
экономайзера.
|
Наименование
величин
|
Обозначение
|
Размерность
|
Ступень
|
|
|
|
I
|
II
|
|
1
|
2
|
3
|
4
|
|
Диаметр
труб:
|
|
|
|
|
-
наружный
|
d
|
мм
|
|
|
-
внутренний
|
dвн
|
мм
|
|
|
Расположение
труб
|
-
|
-
|
например
шахматное
|
|
Количество
труб в горизонтальном ряду
|
z1
|
шт.
|
|
|
Количество
горизонтальных рядов труб
|
z2
|
шт.
|
|
|
Шаг
труб:
|
|
|
|
|
-
по ширине
|
s1
|
мм
|
|
|
-
по высоте
|
s2
|
мм
|
|
|
Относительный
шаг труб:
|
-
|
|
|
|
-
продольный
|
-
|
|
|
|
Площадь
поверхности нагрева
|
Н
|
м2
|
|
|
Размеры
сечения газохода поперёк движения газов
|
А
|
м
|
|
|
Площадь
живого сечения для прохода газов
|
F
|
м2
|
|
|
Количество
параллельно включённых труб (по воде)
|
z0
|
шт.
|
|
|
Площадь
живого сечения для прохода воды
|
f
|
м2
|
|
Таблица III-20.
Конструктивные размеры и характеристики
воздухоподогревателя.
|
Наименование
величин
|
Обозначение
|
Размерность
|
Ступень
|
|
|
|
I
|
II
|
|
1
|
2
|
3
|
4
|
|
Диаметр
труб:
|
|
|
|
|
-
наружный
|
d
|
мм
|
|
|
-
внутренний
|
dвн
|
мм
|
|
|
Расположение
труб
|
-
|
-
|
например
шахматное
|
|
Количество
ходов по воздуху
|
n
|
шт.
|
|
|
Количество
труб в ряду поперёк движения воздуха
|
z1
|
шт.
|
|
|
Количество
труб вдоль движения воздуха
|
z2
|
шт.
|
|
|
Шаг
труб:
|
|
|
|
|
-
поперечный
|
s1
|
мм
|
|
|
-
продольный
|
s2
|
мм
|
|
|
Относительный
шаг труб:
|
|
|
|
|
-
поперечный
|
-
|
|
|
|
-
продольный
|
-
|
|
|
|
Количество
параллельно включённых труб (по газам)
|
z0
|
шт.
|
|
|
Площадь
живого сечения для прохода газов
|
FГ
|
м2
|
|
|
Площадь
живого сечения для прохода воздуха
|
FВ
|
м2
|
|
|
Ширина
сечения воздушного канала
|
В
|
м
|
|
|
Средняя
высота воздушного канала
|
h
|
м
|
|
|
Площадь
поверхности нагрева
|
Н
|
м2
|
|
Поверочный расчёт отдельного участка или ступени
экономайзера и воздухоподогревателя выполняют в следующем порядке:
. Предварительно задаются температурой газов на
том конце рассчитываемого участка, на котором она неизвестна, т.е. до участка (Q¢
) и после него (Q² ).
. По предварительно принятой температуре газа,
используя формулу (III-70),
находят количество теплоты, отданное газами рассчитываемой поверхности (QГ).
. Находят энтальпию воды или воздуха для
воздухоподогревателя по уравнению
, (III-77)
где b²вп - отношение количества воздуха на
выходе из рассчитываемой поверхности воздухоподогревателя к теоретически
необходимому;
Daвп
- присос воздуха к рассчитываемой поверхности воздухоподогревателя;
J°¢вп и J°"вп - энтальпии
теоретически необходимого количества воздуха при температуре на входе в
рассчитываемую поверхность нагрева и на выходе из неё, кДж/кг (кДж/м3);
определяют по температурам воздуха из J-Q таблицы;
Значение b²вп
рассчитывают по формулам:
а) для одноступенчатого и второй
ступени двухступенчатого воздухоподогревателя:
b²вп=aТ
- DaТ -Daплу, (III-78)
б) для первой ступени
двухступенчатого воздухоподогревателя:
b²вп=aТ
- DaТ -Daплу + DaIIвп , (III-78а)
где aТ - коэффициент избытка воздуха в топке;
DaТ,
Daплу , DaIIвп - присосы
воздуха в топке, пылеприготовительной установке и второй ступени
воздухоподогревателя.
Количество теплоты, воспринятое
водой в рассчитываемом участке (ступени) экономайзера, кДж/кг (кДж/м3); равно:
эк=Dэк×( iэк"
- iэк')/Вр, (III-79)
где Dэк - расход
воды через рассчитываемый участок (ступень), кг/с;
iэк' и iэк" -
удельные энтальпии воды на входе и на выходе из участка, кДж/кг.
Расход воды через экономайзер
определяют с учётом продувки парогенератора:
Dэк = D + Dпр , (III-80)
где Dпр -
рассчитывается или задаётся.
Удельная энтальпия воды на входе в
экономайзер (или в его ступень, кДж/кг) вычисляется по формулам:
а) при отсутствии пароохладителя
эк¢ = iпв ,
(III-81)
б) при наличии пароохладителя
эк¢ = iпв + Diпо×D/Dэк
, (III-82)
где Diпо - расчётный съём теплоты в
пароохладителе значение, которого известно из расчёта перегревателя.
Значение удельной энтальпии на
выходе из экономайзера находят по формуле
эк¢ = iп + Diпо -
,
(III-83)
где Diп - удельная энтальпия перегретого
пара, кДж/кг;
QТл -
количество лучистой теплоты топки, кДж/кг;
Qк и Qпе -
количество теплоты, полученное конвекцией испарительными пучками,
перегревателями, кДж/м3.
Паросодержание пароводяной смеси на
выходе из экономайзера кипящего типа находят по уравнению
,
(III-84)
где iэк² - удельная
энтальпия пароводяной смеси на выходе из экономайзера, кДж/кг;
i¢ - удельная
энтальпия воды при температуре кипения, кДж/кг;
r - скрытая
удельная теплота парообразования, кДж/кг.
. Для рассчитываемого участка
определяют коэффициент теплопередачи К и средний температурный напор.
. Используя уравнение (III-70),
рассчитывают тепловосприятие поверхности в процессе теплообмена QТ.
Если значение тепловосприятия QТ расходится
с количеством теплоты, отданным газами QТ, более чем
на ±2%, то расчёт считается
законченным. При большем расхождении тепловосприятий необходимо принять новое
значение температуры газов и расчёт повторить. Окончательными будут те значения
температур и энтальпий, которые вошли в формулу (III-70).
Кроме того, расчёт считается
законченным и найденные температуры окончательными, если температура уходящих
газов отличается от принятой в начале расчёта не более, чем на ±10°С, а температура горячего
воздуха - не более чем на ±40°С. Если расхождения больше,
то задаются новыми значениями температур уходящих газов и горячего воздуха и
повторяют расчёт парогенератора.
При компоновке хвостовых
поверхностей “в рассечку” расчёт их считается законченным, если полученная
температура отличается от принятой не более, чем на ±10°С и, одновременно невязки
между промежуточными значениями температур воду и воздуха также не превышают ±10°С каждая.
При несоблюдении этих условий расчёт
экономайзера и воздухоподогревателя необходимо повторить. Если температура
горячего воздуха отличается от первоначально принятой больше, чем на ±40°С, следует повторить расчёт
парогенератора. При этом, если при повторном расчёте расход топлива изменился
не более, чем на 2%, то
коэффициенты теплопередачи конвективных поверхностей нагрева пересчитывать не
требуется; уточняются только значения температур, температурных напоров и
тепловосприятий по всему тракту агрегата.
Расчёты хвостовых поверхностей
сводят в таблицы.
Таблица III-21.
Расчёт экономайзера (первой или
второй ступени)
|
Наименование
величин
|
Обозначение
|
Расчётная
формула или способ определения
|
Размерность
|
Результат
|
|
1
|
2
|
3
|
4
|
5
|
|
Площадь
поверхности нагрева ступени
|
Н
|
По
конструктивным размерам
|
м2
|
|
|
Площадь
живого сечения для прохода газов
|
FГ
|
То
же
|
м2
|
|
|
Площадь
живого сечения для прохода воды
|
f
|
То
же
|
м2
|
|
|
Температура
газов на входе в ступень
|
Q ¢
|
Из
расчёта
перегревателя
|
°С
|
|
|
Энтальпия
газов на входе в ступень
|
J ' То жекДж/кг
|
|
|
|
|
Энтальпия
газов на выходе из ступени
|
J " По J-Q таблицекДж/кг
|
|
|
|
|
Температура
газов на выходе из ступени
|
Q "
|
По
выбору
|
°С
|
|
|
Тепловосприятие
ступени (теплота, отданная газами)
|
Q "Г
|
кДж/кг
|
|
|
|
Удельная
энтальпия воды на выходе из ступени
|
i"
|
кДж/кг
|
|
|
|
Температура
воды на выходе из ступени
|
t"
|
По
таблицам термодинамические свойства пара и воды
|
°С
|
|
|
Удельная
энтальпия воды на входе в ступень
|
i ¢
|
i"- кДж/кг
|
|
|
|
Температура
воды на входе в ступень
|
t ¢
|
По
таблицам термодинамические свойства пара и воды
|
°С
|
|
|
Средняя
температура воды
|
t
|
0,5 × (t
'+
t
")
|
°С
|
|
|
Средняя
температура
газов
|
Q
|
0,5 × (Q
'+
Q
")
|
°С
|
|
|
Средняя
скорость газов
|
WГ
|
м/с
|
|
|
|
Коэффициент
теплопередачи конвекцией
|
ак
|
По
рис. III-13, 14
(ак = ан× сz×cs×сф)
|
Вт/(м2×К)
|
|
|
Эффективная
толщина излучающего слоя
|
S
|
0,9 м
|
|
|
|
Суммарная
поглощательная способность трёхатомных газов
|
p×rn×s
|
p×rn×s
|
м×МПа
|
|
|
Коэффициент
ослабления лучей трёхатомными газами
|
КГ
|
По
рис. III-8
|
|
|
|
Коэффициент
ослабления лучей золовыми частицами
|
Кзл
|
По
рис. III-10
|
|
|
|
Суммарная
оптическая толщина запылённого газового потока
|
p×k×s
|
(КГ× rn +Кзл × mзл)×pS
|
м
|
|
|
Степень
черноты газов
|
а
|
По
рис. III-9
|
-
|
|
|
Температура
загрязнения стенки трубы
|
tст
|
t + Dt
|
°С
|
|
|
Коэффициент
теплоотдачи излучением
|
ал
|
По
рис. III-16 (ал =
ан× а)
|
Вт/(м2×К)
|
|
|
Коэффициент
теплоотдачи от газов к стенке
|
а1
|
x × (ак + ал )
|
Вт/(м2×К)
|
|
|
Поправка
к коэффициенту загрязнения
|
De
|
0,002
|
-
|
|
|
Коэффициент
загрязнения
|
e
|
По
рис. III-22 -
|
|
|
|
Коэффициент
теплопередачи
|
К
|
Вт/(м2×К)
|
|
|
|
-
для чугунных ребристых экономайзеров
|
К
|
По
рис. III-21
|
Вт/(м2×К)
|
|
|
Разность
температур между средами:
|
|
|
|
|
|
-
наибольшая
|
Dtб
|
Q ' - t"
|
°С
|
|
|
-
наименьшая
|
Dtм
|
Q " -
t¢
|
°С
|
|
|
Температурный
напор
|
Dt
|
°С
|
|
|
|
Тепловосприятие
ступени по уравнению теплообмена
|
QT
|
кДж/кг
|
|
|
|
Расхождение
расчётных тепловосприятий
|
DQ
|
×100%%
|
|
|
На рис. III-25
представлена блок-схема алгоритма расчёта экономайзера, который аналогичен
расчёту двух предыдущих поверхностей нагрева: фестона и перегревателя.
Уточняющий расчёт температуры газов на выходе из ступени (Q²)
осуществляется до выполнения условия: расхождение расчётных тепловосприятий DQ
£
2%
. В процессе расчёта учитывается тип экономайзера, влияющий на величину
коэффициента теплопередачи.
Таблица III-22.
Значения коэффициентов использования
воздухоподогревателей xвп
|
Вид
топлива
|
Воздухоподогреватели
|
|
трубчатые
без промежуточных трубных досок
|
пластинчатые
|
чугунные
ребристые
|
|
нижние
ступени
|
верхние
ступени
|
|
|
|
АШ,
фрезерный торф
|
0,80
|
0,75
|
0,85
|
0,75
|
|
Мазут
|
0,70
|
0,75
|
0,60
|
0,60
|
|
Древесное
топливо
|
0,80
|
0,85
|
0,70
|
0,70
|
|
Всё
остальное топливо
|
0,85
|
0,85
|
0,85
|
0,80
|
Примечания: 1. Для трубчатых
воздухоподогревателей с промежуточными досками коэффициент xвп
снижается на 0,1 при одной доске и на 0,15 - при двух.
. Значения коэффициентов использования
воздухоподогревателей при сжигании мазута даны для случая, когда температура
воздуха на входе в воздухоподогреватель ниже 80°С.
Если температура воздуха будет выше 80°С, то
значения коэффициентов xвп при сжигании мазута увеличивается
на 0,1.
Рис. III-25.
Блок-схема алгоритма расчёта экономайзера
. При горизонтальном расположении труб
воздухоподогревателя значения коэффициентов xвп уменьшаются на
0,05.
Блок-схема алгоритма расчёта
воздухоподогревателя представлена на рис. III-26.
Итерационный процесс расчёта аналогичен расчёту трёх предыдущих поверхностей
нагрева: фестона, перегревателя, экономайзера. Предварительно заданная
температура газов на выходе из ступени (Q²) последовательно
уточняется до тех пор, пока расхождение расчётных тепловосприятий не будетDQ
£
2%
.
Таблица III-23.
Расчёт воздухоподогревателя (первой или второй
ступени)
|
Наименование
величин
|
Обозначение
|
Расчётная
формула или способ определения
|
Размерность
|
Результат
|
|
1
|
2
|
3
|
4
|
5
|
|
Диаметр
и толщина стенок труб
|
d × s
|
По
конструктивным размерам
|
мм
|
|
|
Относительный
шаг труб:
|
|
|
|
|
|
-
поперечный
|
То же-
|
|
|
|
|
-
продольный
|
То же-
|
|
|
|
|
Количество
рядов труб
|
z2
|
То
же
|
шт.
|
|
|
Количество
ходов по воздуху
|
n
|
То
же
|
-
|
|
|
Площадь
живого сечения для прохода газов
|
FГ
|
То
же
|
м2
|
|
|
Площадь
живого сечения для прохода воздуха
|
FВ
|
То
же
|
м2
|
|
|
Площадь
поверхности нагрева
|
Н
|
То
же
|
м2
|
|
|
Температура
газов на выходе из ступени
|
Q "
|
По
заданию ( Q
"
= Qух)
|
°С
|
|
|
Энтальпия
газов на выходе из ступени
|
J " По J-Q таблице (по результатам
расчёта)кДж/кг
|
|
|
|
|
Температура
воздуха на входе в ступень
|
t ¢
|
По
выбору
|
°С
|
|
|
Энтальпия
теоретически необходимого холодного воздуха на входе в ступень
|
По J-Q таблицекДж/кг
|
|
|
|
|
Температура
воды на выходе из ступени
|
По
выбору
|
°С
|
|
|
Энтальпия
теоретического количества воздуха на выходе из ступени
|
По J-Q таблицекДж/кг
|
|
|
|
|
Коэффициент
избытка воздуха на выходе из воздухоподогревателя
|
b²
|
1+DaВП - aплу
|
-
|
|
Тепловосприятие ступени Q (b² +
)´
|
´( - )кДж/кг
|
|
|
|
|
Средняя
температура воздуха в ступени
|
t
|
0,5 × (t
'+
t
")
|
°С
|
|
|
Энтальпия
теоретического количества воздуха при средней температуре
|
По J-Q таблицекДж/кг
|
|
|
|
|
Энтальпия
газов на входе в ступень
|
J ' J " + - Da× кДж/кг
|
|
|
|
|
Температура
газов на входе в ступень
|
Q ¢
|
По
J-Q таблице
|
°С
|
|
|
Средняя
температура
газов
|
Q
|
0,5 × (Q
'+
Q
")
|
°С
|
|
|
Средняя
скорость газов
|
WГ
|
м/с
|
|
|
|
Коэффициент
теплоотдачи от газов к стенке
|
а1
|
По
рис. III-15 (а1 =
ан× сL× сф)
|
Вт/(м2×К)
|
|
|
Средняя
скорость воздуха
|
WВ
|
м/с
|
|
|
|
Коэффициент
теплоотдачи от газов к стенке
|
а2
|
По
рис. III-14 (а2=
ан× сz×cs×сф)
|
Вт/(м2×К)
|
|
|
Коэффициент использования
поверхности нагрева
|
К
|
Вт/(м2×К)
|
|
|
|
Разность
температур между средами:
|
|
|
|
|
|
-
наибольшая
|
Dtб
|
Q " -
t¢
|
°С
|
|
|
-
наименьшая
|
Dtм
|
Q ' - t"
|
°С
|
|
|
Температурный
напор при противотоке
|
Dtпрт
|
°С
|
|
|
|
Перепад
температур:
|
|
|
|
|
|
-
наибольший
|
tб
|
Q ' - Q "
|
°С
|
|
|
-
наименьший
|
tм
|
t" - t¢
|
°С
|
|
|
Параметр
Р
|
Р
|
-
|
|
|
|
Параметр
R
|
R
|
tб
/tм
|
-
|
|
|
Коэффициент
перехода к другой схеме
|
f
|
Рис.
III-20
|
-
|
|
|
Температурный
перепад
|
Dt
|
f × Dtпрт
|
°С
|
|
|
Тепловосприятие
ступени по уравнению теплообмена
|
QT
|
кДж/кг
|
|
|
|
Расхождение
расчётных тепловосприятий
|
DQ
|
×100%
|
|
|
Расчётная невязка теплового баланса
парогенератора.
В результате теплового расчёта определяют
температуру уходящих газов, а при наличии воздухоподогревателя - температуру
горячего воздуха.
Если расчётная температура уходящих газов
отличается от принятой в начале расчёта не более чем на ±10°С,
а температура горячего воздуха не более чем на ±40°С,
то расчёт теплообмена в парогенераторе считается законченным и найденные
температуры будут окончательными.
Рис. III-26.
Блок- схема алгоритма расчёта воздухоподогревателя.
По расчётной температуре уходящих газов уточняют
потерю теплоты с уходящими газами QУХ, КПД генератора hПГ
и расход топлива Вр. Затем по расчётному значению температуры горячего воздуха
уточняют полезное тепловыделение в топке QT
(формула III-49) и
тепловосприятие лучевоспринимающих поверхностей топки QTл
(формула III-67).
После уточнения балансовых величин составляют
сводную таблицу теплового расчёта парогенератора (табл. III-24),
куда заносят те параметры газов и тепловосприятий конвективных поверхностей
нагрева, которые вошли в уравнение (III-70),
определяющее количество теплоты, отданное газами.
По данным сводной таблицы находят расчётную
невязку теплового баланса парогенератора, (табл. III-25)
кДж/кг (кДж/м)
, (III-85)
где
, QК , QПЕ , QЭК -
количество теплоты, воспринимаемое поверхностями нагрева топки, фестона,
испарительных пучков, перегревателя и экономайзера, соответственно, кДж/кг
(кДж/м3).
Значение невязки не должно превышать
0,5% от
.
Блок- схема алгоритма расчёта
невязки представлена на рис. III-27.
На основании исходных данных, в
качестве которых служат ранее полученные результаты расчёта по отдельным
поверхностям нагрева, осуществляется последовательный расчёт относительной
невязки парогенератора. Если относительная невязка не превышает 0,5%, расчёт парогенератора
заканчивается с выдачей итоговой таблицы III-25. В
противном случае выдаются рекомендации о необходимости анализа полученных
результатов и повторного перерасчёта отдельных поверхностей нагрева или всего
парогенератора в целом.
Таблица III-24.
Сводная таблица теплового расчёта
парогенератора.
|
Наименование
величин
|
Обозначение
|
Размерность
|
Расчётное
значение
|
|
1
|
2
|
3
|
4
|
|
Тепловой
баланс
|
|
|
|
|
Располагаемая
теплота топлива
|
кДж/кг
(кДж/м3)
|
|
|
|
Температура
уходящих газов
|
QУХ
|
°С
|
|
|
Потери
теплоты с уходящими газами
|
q2
|
%
|
|
|
КПД
парогенератора
|
hПГ
|
|
|
|
Расход
топлива
|
ВР
|
|
|
|
Топка
|
|
|
|
|
Температура
подогрева воздуха
|
tГ.В.
|
°С
|
|
|
Теплота,
вносимая воздухом
|
QВ
|
кДж/кг
(кДж/м3)
|
|
|
Полезное
тепловыделение
|
QТ
|
кДж/кг
(кДж/м3)
|
|
|
Температура
газов на выходе
|
°С
|
|
|
|
Тепловосприятие
|
кДж/кг
(кДж/м3)
|
|
|
|
Энтальпия
газов на выходе
|
кДж/кг
(кДж/м3)
|
|
|
|
Фестон,
испарительные пучки, перегреватель, экономайзер и воздухоподогреватель
(отдельно для каждой поверхности нагрева)
|
|
|
|
|
Температура
газов
|
|
|
|
|
-
на входе
|
Q¢
|
°С
|
|
|
-
на выходе
|
Q²
|
°С
|
|
|
Энтальпия
газов
|
|
|
|
|
-
на входе
|
J¢
|
кДж/кг
(кДж/м3)
|
|
|
-
на выходе
|
J²
|
кДж/кг
(кДж/м3)
|
|
|
Тепловосприятие
поверхности нагрева
|
Q
|
кДж/кг
(кДж/м3)
|
|
Таблица III-25.
Расчёт невязки парогенератора.
|
Наименование
величин
|
Обозначение
|
Расчётная
формула или способ определения
|
Размерность
|
Результат
|
|
1
|
2
|
3
|
4
|
5
|
|
Расчётная
температура горячего воздуха
|
tГ.В.
|
Из
расчёта воздухоподогревателя
|
°С
|
|
|
Энтальпия
горячего воздуха при расчётной температуре
|
То
жекДж/кг (кДж/м3)
|
|
|
|
|
Количество
теплоты, вносимое в топку воздухом
|
QВ
|
кДж/кг
(кДж/м3)
|
|
|
|
Полезное
тепловыделение в топке
|
QТ
|
кДж/кг
(кДж/м3)
|
|
|
|
Лучистое
тепловосприятие топки
|
 кДж/кг (кДж/м3)
|
|
|
|
|
Расчётная
невязка теплового баланса
|
DQ
|
кДж/кг
(кДж/м3)
|
|
|
|
Относительная
невязка
|
|
×100%
|
|
|
Пример поверочного расчёта котельного агрегата,
работающего на твёрдом топливе, газе или мазуте без использования ПК приведён в
литературе /11/.
Рис. III-27.
Блок- схема алгоритма расчёта невязки парогенератора
Библиографический список
1.
Пул Л. Работа на персональном компьютере: Пер. с англ. М: Мир, 1986. 383 с.
.
Симсон Дж. ПК пятого поколения: компьютеры 90-х годов: Пер. с англ. М: Финансы
и статистика, 1985. 170 с.
.
Трейстер Р. Персональный компьютер фирмы IBM:
Пер. с англ. М: Мир, 1986. 2008 с.
.
Дьяконов В.П. Применение персональных ПК и программирование на языке БЭЙСИК.
М.: Радио и связь, 1989. 220 с.
.
Дьяконов В.П. Справочник по алгоритмам и программам программирование на языке
БЭЙСИК для персональных ПК. М.: Наука, 1987. 280 с.
.
Курносов А.Т. Расчёты на ПК при курсовом и дипломном проектировании. Воронеж:
Изд. Воронеж. ун-та, 1988. 160 с.
.
СНиП II-35-76
“Котельные установки”, изменения утверждены 01.01.98.
.
Гусев Ю.П. Основы проектирования котельных установок. М.: Стройиздат, 1973. 248
с.
.
Тепловой расчёт котельных агрегатов (нормативный метод.) / Под ред. Н.В.
Кузнецова и др. М.: Энергия, 1973. 296 с.
.
Тепловой расчёт промышленных парогенераторов / Под ред. В.И. Частухина. Киев:
Вища школа, 1980. 184 с.
.
Делягин Г.Н. и др. Теплогенерирующие установки. М.: Стройиздат, 1986. 560 с.
.
Кривоногов Б.М. Тепловой расчёт котлоагрегатов при новых методах сжигания газа
и мазута. Л.: ЛИСН, 1980. 116 с.
.
Рихтер Л.А. Охрана водного и воздушного бассейнов от выбросов ТЭЦ. И.:
Энергоиздат, 1981. 296 с.