Измерение температуры и давления

  • Вид работы:
    Учебное пособие
  • Предмет:
    Физика
  • Язык:
    Русский
    ,
    Формат файла:
    MS Word
    1,02 Мб
  • Опубликовано:
    2014-04-06
Вы можете узнать стоимость помощи в написании студенческой работы.
Помощь в написании работы, которую точно примут!

Измерение температуры и давления

МИНИСТЕРСТВО ОБРАЗОВАНИЯ И НАУКИ РФ

ФЕДЕРАЛЬНОЕ ГОСУДАРСТВЕННОЕ БЮДЖЕТНОЕ ОБРАЗОВАТЕЛЬНОЕ УЧРЕЖДЕНИЕ

ВЫСШЕГО ПРОФЕССИОНАЛЬНОГО ОБРАЗОВАНИЯ

«Камская государственная инженерно-экономическая академия»








ИЗМЕРЕНИЕ ТЕМПЕРАТУРЫ И ДАВЛЕНИЯ

Учебное пособие


Исрафилов И.Х., Галиакбаров А.Т.








Набережные Челны 2012

1.      
Измерение температуры

Измерение представляет собой процесс нахождения значения физической величины опытным путём с помощью специальных технических средств. В процессе измерения происходит сравнение измеряемой величины с физической, которой присвоено числовое значение, равное единице, и которое называется единицей измерения.

Температура является одним из важнейших параметров, определяющих состояние тела. Для измерения температуры может быть использовано любое свойство твердого, жидкого и газообразного вещества, изменяющегося с температурой: изменения физического или химического состояния, размеров, электрических свойств, изменение энергетической яркости излучения и т.п. Приборы, с помощью которых можно измерить температуру посредством контакта с исследуемой средой, называются термометрами. В качестве термометра может быть использован прибор, основанный на точном, легко воспроизводимом изменении свойств вещества в зависимости от изменения температуры. Независимо от того, какое свойство вещества используется при измерении температуры, термометры должны быть отградуированы в соответствии с единой, твердо установленной температурной шкалой.

В настоящее время применяется международная практическая температурная шкала (МПТШ-68) редакции 1968 года, в которой единицей измерения является градус Кельвина (К), градус Цельсия (0С). Эта шкала основана на определенных воспроизводимых постоянных (реперных) точках, значение температур которых может быть определено современными средствами измерения с заданной точностью. МПТШ-68 основана на значениях температур 11 точек, соответствующих состоянию равновесия между фазами чистых веществ (например, тройная точка водорода, тройная точка воды, точка кипения воды, точка затвердевания цинка и др.).

Термодинамическая шкала, предложенная Кельвином (Т, К) в 1948 году, не зависит от термометрических свойств веществ. В основу построения термодинамической шкалы Кельвина заложен идеальный цикл Карно, в котором полученная работа зависит только от температур начала и конца процесса и не зависит от природы рабочего тела. Для практического измерения температуры эта шкала оказалась неудобной ввиду того, что нужно было измерять количество теплоты либо используя термометры, заполненные различными реальными веществами, либо вводить поправки для каждого значения температуры. Шкала Кельвина начинается с абсолютного нуля, причем единица 1 Кельвина (1 К) определена как 1/273,16 часть термодинамической температуры тройной точки воды.

По шкале Цельсия (t,°С) за нулевую точку принята температура таяния льда (0°С). Нулевая точка шкалы лежит на 273,15 К выше точки абсолютного нуля и на 0,01 К ниже тройной точки воды. Единица - градус Цельсия (°С) равна по величине Кельвину (К). Связь между температурами по шкалам Кельвина и Цельсия выражается формулой:

Т(К)=t(0C)+ 273,15…

В ряде зарубежных стран до сих пор используют шкалу Ранкина (°R) и шкалу Фаренгейта (°F). Пересчет числовых значений производят по следующим соотношениям:

t (°С) = 5/9 t (°F) - 32 …

Т (К) = 5/9 t (°R) …

В зависимости от диапазона измерения температур наибольшее распространение в различных отраслях науки и промышленности нашли средства измерения, приведенные на рис.1.1. Более подробно остановимся на следующих средствах измерения температуры:

термометры расширения (в т.ч. манометрические),

термометры сопротивления (терморезисторы),

термоэлектрические термометры (термопары),

оптические пирометры.

Рис.1.1 Область применения наиболее распространенных типов термометров: а - механических контактных; б - особых типов механических контактных; в - электрических контактных; г - особых типов электрических контактных; д - пирометров

1.1     Термометры расширения

Термометры широко применяют на практике. Почти все они основаны на тепловом расширении тел, точнее, на различном расширении разных тел. Эти тела могут быть твердыми, жидкими и газообразными. В зависимости от этого различают стеклянные жидкостные термометры и манометрические термометры.

.         Стеклянные жидкостные термометры

Принцип работы стеклянных жидкостных термометров основан на расширении термометрической жидкости, заключенной в термометре, в зависимости от температуры. Стеклянные термометры подразделяются на термометры с вложенной шкалой и палочные.

Термометр с вложенной шкалой (рис.1.2, а) состоит из стеклянного резервуара и припаянного к нему стеклянного капилляра. Вдоль капилляра расположена шкала, которая нанесена на пластине молочного стекла. Резервуар, капилляр и шкала размещены в стеклянной оболочке.

Палочные стеклянные термометры (рис.1.2, б) состоят из толстостенных капилляров. Шкала термометра наносится на наружной поверхности капилляра.

Шкалы термометров отградуированы в градусах Цельсия. В зависимости от диапазона измерения температуры применяются различные термометрические жидкости: ртуть (- 35 + 600°С); толуол (- 90 + 200°С); этиловый спирт (- 80 + 70°С); керосин (- 60 + 200°С); петролейный эфир (- 120 + 25°С); пентан (- 200° + 20°С).

а)  б)

Рис. 1.2 Стеклянные термометры расширения: а) с вложенной шкалой, б) палочные

Наибольшее распространение в лабораторных исследованиях и в промышленности получили ртутные термометры, т.к. они обладают рядом преимуществ. Ртуть является несмачивающей жидкостью, которая сравнительно легко получается в химически чистом виде, а также ртуть остается жидкой в широком интервале температур.

Достоинством стеклянных жидкостных термометров является высокая точность измерения, простота и дешевизна. К недостаткам следует отнести плохую видимость шкалы, невозможность автоматической регистрации показаний и ремонта термометра, тепловая инерционность.

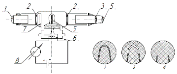
Разновидностью жидкостных термометров расширения являются электроконтактные ртутные термометры, применяемые для регулирования температуры или сигнализации о нарушении заданного температурного режима в пределах от -30 до 300 °С. Платиновые контакты, впаянные в нижнюю часть капилляра, соединены с медными проводниками, которые через реле включены в цепь электрического нагревателя либо сигнализации. В момент соединения контактов столбиком ртути <#"721577.files/image004.gif">

Рис.1.3 Манометрический термометр: 1 - термобаллон; 2-капилляр; 3-трубчатая пружина; 4-держатель; 5-поводок; 6-сектор (4-6-передаточный механизм)

Манометрический жидкостной термометр (рис.1.3) состоит из чувствительного элемента 1 - стального термобаллона, в котором находится основная часть термометрической жидкости, подключенного к термобаллону капилляра 2 с внутренним диаметром 0,1…0,2 мм, и указателя с манометрической пружиной или со спиральной трубкой 3. Пружинная трубка преобразует расширение объема во вращательное движение стрелки. Показания указателя в широких пределах являются линейной функцией температуры.

Манометрические термометры могут применяться во взрывоопасных помещениях. Наиболее уязвимым в конструкции манометрических термометров являются места присоединения к термобаллону и манометру.

Недостатком манометрического термометра является его значительная инерционность, обусловленная большим размером чувствительного элемента.

Точность жидкостных манометрических термометров не очень высокая и в зависимости от конструктивного исполнения может изменяться от 0,5…2 % от разности пределов измерения.

Газовые манометрические термометры. При этом методе измеряется изменение давления Р или объема V газа как функция температуры Т в соответствии с законом идеального газа

PV=mRT.

Причем масса m и величина R (абсолютная газовая постоянная) являются постоянными. Для этой цели используют газ, близкий к идеальному (гелий, азот, аргон).

Конструкция и принцип действия их точно такие же, как жидкостных манометрических термометров. Газ в баллоне находится под давлением при нормальной температуре. Изменение давления газа вследствие изменения температуры указывается манометром, точность которого определяется точностью всего измерительного устройства в целом. Шкала термометра линейна. Чувствительный элемент (баллон) имеет сравнительно большой объем.

Наименьшая температура, которую можно измерить газовым термометром, лежит чуть выше критической точки используемого газа. Верхний предел измерений ограничивается прочностью чувствительного элемента и прочностью материала. Нормальный диапазон измерения находится в интервале от -125 до 500 0С.

Конденсационные манометрические термометры работают по тому же принципу, что и жидкостные, и газовые термометры. Отличие их состоит в том, что чувствительный элемент частично заполнен жидкостью (конденсатом), а над конденсатом находится насыщенный пар этой же жидкости. Термометры основаны на том, что у каждой жидкости давление насыщенного пара однозначно определяется его температурой и не зависит от занимаемого объема. Однако зависимость давления насыщенного пара от температуры является нелинейной. В результате расстояния между делениями шкалы с ростом температуры увеличиваются (неравномерная шкала). Для каждой термометрической жидкости предел измерения ограничен. Ниже указаны легко испаряющиеся жидкости и соответствующие пределы измерения температуры, 0С: пропан -40…40, этиловый эфир 40…195, этиловый спирт 85…245, толуол 115…320, ксилол 150…360. Давление в баллоне находится в интервале от 0,5 до 2,5 МПа, а диапазон измерения от -40 до 350 0С. В зависимости от конструктивного исполнения точность достигает 1..3 %.

.2       Термометры сопротивления (терморезисторы)

Электрическое сопротивление большинства материалов существенно изменяется с температурой. В данном случае это свойство используется в качестве принципа измерения температуры. Различают металлические (проводниковые) и полупроводниковые термометры сопротивления. У металлических проводников эта температурная зависимость связана со свободными электронами связи в металлической решетке. При падении температуры уменьшаются тепловые колебания ионов около своих положений равновесия. Это приводит к уменьшению рассеяния электронов на неоднородностях кристаллической решётки и, следовательно, к уменьшению электрического сопротивления.

В полупроводниках обычно наблюдается недостаток электронов проводимости. Электроны, необходимые для электропроводности, освобождаются главным образом за счёт подвода тепловой энергии (повышения температуры). Таким образом, при росте температуры полупроводников их электрическое сопротивление падает.

Чувствительный элемент термометра сопротивления называется терморезистором.

. Металлические термометры сопротивления. Зависимость сопротивления металлических проводников от температуры может быть с весьма высокой точностью описана уравнением третьей степени. При обычных требованиях к точности ограничиваются квадратичной или даже линейной зависимостью

Rt = R0 (1+at),

где R0, Rt - величина сопротивления проводника в исходном состоянии, при 0 0С и при температуре t, 0С, соответственно, Ом;

a - линейный температурный коэффициент сопротивления, 1/К.

В качестве материала для термометров сопротивления используют металлы с хорошей электропроводностью, такие как платина (apt 0;100 = 3,85·10-3 К-1), никель (aNi 0;100 = 6,17·10-3 К-1) и медь (aCu 0;100 = 4,27·10-3 К-1).

Рис. 1.4 Платиновый термометр сопротивления: А - общий вид; Б - чувствительный элемент термометра; 1 -металлический чехол; 2 - термоэлемент; 3 -установочный штуцер; 4 -головка для присоединения к вторичному прибору; 5 - слюдяной каркас; 6 - обмотка из платиновой проволоки; 7 -выводы

Никель используется для измерения температуры от -60 до +180°С, платина - от -220 до 1300°С, медь от -200 до 2000С.

Чувствительный элемент металлического термометра сопротивления представляет собой тонкую платиновую, медную или никелевую проволку, намотанную на слюдяной или керамический каркас, который затем защищается металлическим корпусом (рис. 1.4).

Платиновый терморезистор (рис. 1.5, а) состоит из двух или четырёх соединённых последовательно платиновых спиралей 2, к которым припаяны выводы 1. Спирали помещают в каналы керамического каркаса 3. Спирали и выводы в каркасе крепят глазурью 4. Пространство между спиралями и каркасом засыпают керамическим порошком, который служит изолятором и создаёт подпружинивание спиралей.

а)                б)

Рис.1.5 Конструкция металлических терморезисторов: а) платинового; б) медного

Медные терморезисторы (рис. 1.5, б) представляют собой бескаркасную безындукционную намотку 3 из медной проволоки диаметром 0,08 мм, покрытую фторопластовой плёнкой 4. К намотке припаяны два вывода 1. Для обеспечения виброустойчивости намотку помещают в тонкостенную металлическую гильзу 5, засыпанную керамическим порошком 6 и герметизированную термоцементом 2.

Никелевые терморезисторы обладают высоким температурным коэффициентом и большим удельным сопротивлением, что позволяет получать малогабаритные термометры.

Рис. 1.6 Полупроводниковые терморезисторы: а -стержневой (1- эмалированный цилиндр; 2 - контактные колпачки; 3 - выводы; 4 - стеклянный изолятор; 5 -металлическая фольга; 6 - металлический чехол); б -бусинковый (1-чувствительный элемент; 2-электроды; 3 -выводы; 4 - стеклянная оболочка)

2. Полупроводниковые термометры сопротивления

Для их изготовления применяют германий, медно-марганцевые (ММТ) и кобальто-марганцевые (КМТ) соединения, сплавы и окислы урана, серебра, никеля. Чувствительность полупроводниковых терморезисторов значительно выше, чем у металлических термометров сопротивления, что позволяет их изготавливать малогабаритными. Причем их сопротивление резко уменьшается с увеличением температуры. Это свойство позволяет их использовать в криогенной технике для измерения низких температур. Терморезисторы используют для регистрации изменений температуры в системах теплового контроля, пожарной сигнализации и др.

Полупроводниковые терморезисторы могут быть выполнены в виде стержня, диска, шайбы, шарика, иглы, пленки, бусинки и других форм с металлическими выводами (рис.1.6). Для защиты от влаги чувствительные элементы покрывают слоем лака или стекла.

.3       Термоэлектрические термометры (термопары)

Работа термопары основана на термоэлектрическом эффекте Зеебека, согласно которому в цепи, состоящей из двух разнородных проводников А и В, где точки их соединения (спаи) находятся при различных температурах, протекает ток. На концах такой разомкнутой цепи можно измерить термоэлектродвижущую силу (термо-ЭДС), величина которой зависит от разности температур на спаях (рис.1.7). Если температура t0 одного спая известна, то это значение может быть использовано в качестве меры разности измеряемой температуры t1 и контрольной температуры t0.

Рис.1.7 Цепь из термоэлектродов А и В

 

Место соединения проводников, помещаемое в среду с измеряемой температурой, называют рабочим (горячим) спаем термопары, а другое соединение, находящееся при температуре t0 - свободным (холодным).

Термопару помещают в стальной или керамический чехол, подключая свободные концы к выводам с крышкой; изолируют один от другого по всей длине от горячего спая керамическими изоляторами (рис. 1.8). Рабочий спай изолируют от чехла керамическим наконечником. Горячую часть термопары (со стороны рабочего спая) погружают в объект измерения температуры. Основные характеристики наиболее распространенных термопар приведены в таблице 1.

Таблица 1. Основные характеристики термоэлектрических преобразователей

Материал термоэлектродов

Пределы измерений температуры, 0С нижний верхний

Термо ЭДС (t=100 0C, t0=0 0C) мВ

 


Длительное применение

Кратковременное применение


Платинородий (10% Rh) - платина

-20

1300

1600

0,643

 

Платинородий (30% Rh) - платинородий (6% Rh)

300

1600

1800

0

 

Хромель - алюмель

-50

1000

1300

4,10

 

Хромель - копель

-50

600

800

6,95

 

Железо - копель

0

600

800

5,75

 

Железо - константан

-200

600

800

5,11

 

Медь - копель

-200

100

600

4,75

 

Медь - константан

-270

100

400

4,16

 


Рис. 1.8 Термоэлектрический термометр: 1 - рабочий спай; 2 -изолятор; 3 - чехол; 4 - выводы

Материал термоэлектродов должен отвечать следующим требованиям: приемлемая цена, высокая надежность, высокая чувствительность к изменению температуры, приемлемые динамические свойства, механическая прочность при высоких и низких температурах, устойчивость против коррозии, стабильность термоэлектрических свойств. Для изготовления термопар применяются платина, золото, никель, медь, железо, вольфрам, хромель, алюмель, родий, копель и другие.

Для измерения температуры среды термоэлектрическим термометром, необходимо измерить термо-ЭДС, развиваемую термометром, и определить температуру свободного спая. Для удобства измерения свободный спай поддерживается при постоянной температуре, равной 0 0С. Измеряемая температура t1 определяется сразу из градуировочной характеристики (таблиц или графиков), устанавливающей зависимость термо-ЭДС от температуры рабочего спая. Если, то необходимо вводить поправку.

Для правильного измерения температуры нужно обеспечить постоянство температуры холодного конца. Для этого свободный спай удаляют от места измерения температуры, что осуществляется с помощью специальных (компенсационных) проводов.

Для измерения весьма малых разностей температур применяют термобатареи - ряд последовательно соединенных термопар. В этом случае термо-ЭДС суммируется. Число спаев термобатареи может достигать нескольких сотен.

1.4     Оптические пирометры

Рассмотренные выше термометры для измерения температуры являются контактными, которые предусматривают непосредственный контакт между чувствительным элементом термометра и окружающей или исследуемой средой. Верхний предел применения контактных методов измерения находится в пределах 2500°С. В промышленных и лабораторных исследованиях возникает необходимость измерять более высокие температуры, кроме того, часто недопустим непосредственный контакт термометра с измеряемым телом или средой. Таким термометром с допустимой погрешностью до 4 % является оптический пирометр (от греч. Pyr - огонь), принцип работы которого основан на использовании теплового излучения тел в видимой области спектра. Серийно выпускаемые пирометры применяются для измерения температур от 20 до 6000°С. Такие средства измерения не имеют верхнего предела измеряемой температуры, он определяется соответствием спектров излучения измеряемых тел и спектральных характеристик устройств. Пирометры, применяемые для измерения температур, подразделяют на следующие типы: квазимонохроматические (яркостные), полного излучения (радиационные) и спектрального отношения (цветовые). Яркостные пирометры позволяют визуально определять, как правило, без использования специальных устройств, температуру нагретого тела <#"721577.files/image011.gif">,

где С1, С2 - первая и вторая постоянные излучения; В0lт - спектральная энергетическая яркость абсолютно черного тела;

l - длина волны.

Температура реального тела в квазимонохроматическом пирометре определяется по спектральной энергетической яркости излучения Вlт, а так как пирометр градуируется по излучению черного тела, то он покажет температуру абсолютно черного тела Тя, при которой спектральные энергетические яркости тела Вlт и абсолютно черного тела В0lт будут равны. Такая условная температура Тя называется яркостной температурой.

Действительная температура тела определяется по яркостной температуре Тя, показываемой пирометром, по выражению:

,

где

Для определения Т необходимо знать длину волны l и коэффициент теплового излучения (коэффициент черноты) elт. Квазимонохроматические пирометры работают на участке длин волн, эквивалентных длине волны l = 0,65 мкм, коэффициент черноты elт в каждом конкретном случае уточняется с помощью дополнительных средств измерения. А для широко используемых материалов приводится в теплотехнических справочниках.


Рис. 1.9 Оптический пирометр с исчезающей нитью

Он состоит из телескопа с объективом 1, в фокусе которого помещена вольфрамовая нить пирометрической лампы 5, окуляра 4, через который наблюдатель проводит измерение. За окуляром установлен светофильтр 3 , пропускающий лучи лишь одной длины волны. Между объективом телескопа и пирометрической лампой помещено поглощающее стекло 7, которое предназначено для ослабления яркости исследуемого объекта при измерении температур выше 1400°С, а также фильтры 2 с узкой полоской пропускания. Нить лампочки питается от аккумулятора, ее накал можно регулировать вручную реостатом 6.

Регулируя накал нити реостатом, наблюдатель добивается равенства яркостей, при этом изображение нити сольется с фоном и станет неразличимо (нить "исчезнет"). В этот момент яркостная температура нити равна яркостной температуре объекта измерения. Показывающий прибор 8 (миллиамперметр), включенный в цепь нити накаливания, градуируется по образцовому пирометру или по температурным лампам, в °С яркостной

Допускаемая погрешность таких приборов достигает 1,5 % от верхнего предела измерения.

. Пирометры спектрального отношения (цветовые пирометры)

Принцип работы пирометров спектрального отношения основан на измерении температуры путем измерения соотношения энергетических яркостей нагретого тела на двух узких участках длин волн в видимом спектре излучения. Получается, что с изменением температуры меняется цвет накаленного тела. При этом, если выделить в спектре излучения накаленного тела два монохроматических излучения с длинами волн λ1 и λ2 (соответствующих, например, красному и синему свету), то с изменением цвета будет меняться соотношение яркостей этих излучений.

Действительная температура тела Т определяется по цветовой температуре Тц из соотношения:

=

Чтобы определить действительную температуру Т по его цветовой температуре Тц, показываемой пирометром, необходимо знать длины волн l1 и l2, при которых определяется отношение спектральных энергетических яркостей и отношение коэффициентов черноты el, el при данных длинах волн. Ввиду того, что отношение el, el близко к единице, данный тип пирометров имеет наименьшую погрешность измерения, не превышающую 1% от верхнего предела измерения. Предел измерения температур составляет от 200 до 28000С. Светочувствительным элементом пирометров спектрального отношения является фотоэлемент. Широкое распространение в области измерений нашел прибор ПИТ-1 (пирометр истинной температуры). В этом приборе осуществляется автоматическое введение поправки, вычисляемой на основе информации, хранящейся в его памяти.

Принципиальная схема цветового пирометра ЦЭП-2М представлена на рис.1.10.

Излучение объекта измерения через защитное стекло 1 и объектив 2 падает на фотоэлемент 4. Между объективом и фотоэлементом установлен вращающийся диск (обтюратор) 3, в который вставлены два светофильтра - красный и синий. Благодаря этому фотоэлемент попеременно освещается красным и синим светом и выдает поочередно импульсы тока, пропорциональные монохроматическим яркостям красного и синего излучений накаленного тела. Эти импульсы усиливаются усилителем 5 и преобразуются специальным электронным логарифмирующим устройством 6 в постоянный ток.

Рис. 1.10 Принципиальная схема цветового пирометра ЦЭП-2М

Сила тока пропорциональна величине lnR, т.е. линейно зависит от обратной величины абсолютной температуры тела 1/T. Выходной ток логарифмирующего устройства измеряется и регистрируется показывающим и регистрирующим магнитоэлектрическим гальванометром 7, шкала и диаграмма которого градуированы в градусах. Прибор градуируется по абсолютно черному телу, поэтому его показания соответствуют истинной температуре абсолютно черного тела, а также "серых" тел.

Диапазон измерения пирометра ЦЭП-2М от 1400 до 2500°С. Этот диапазон разбит на несколько поддиапазонов. Переход от одного поддиапазона к другому производится с помощью специальных добавочных светофильтров.

В отличие от пирометров с исчезающей нитью на показания цветового пирометра практически не влияют изменения коэффициента излучающей способности тела, обусловленные изменением его температуры, состояния поверхности, состава и другими причинами, а также не влияет ослабление излучения не вполне прозрачной атмосферой между объектом и датчиком. Благодаря этому цветовой пирометр обеспечивает высокую точность измерения: основная погрешность при измерении температуры "серых" тел не превышает ±1% верхнего предела измерения для данного поддиапазона. Пирометр ЦЭП-2М предназначен для непрерывного измерения и регистрации температуры в металлургической промышленности и может также быть использован в системах автоматического регулирования производственных процессов.

.         Пирометры полного излучения (радиационные пирометры)

В отличие от оптических пирометров с исчезающей нитью и цветовых пирометров, в радиационных пирометрах используется тепловое действие полного излучения нагретого тела, включая как видимое, так и не видимое излучение. В связи с этим радиационные пирометры называются также пирометрами полного излучения.

Пирометры полного излучения осуществляют измерения температуры путем измерения полной энергетической яркости тела. Действительная температура тела Т определяется по радиационной температуре Тр пирометра:


Из этого выражения видно, что для определения действительной температуры тела Т по радиационной температуре Тр необходимо знать только значение интегрального коэффициента черноты тела eт. Однако на практике точно определить значение величины eт представляет большие трудности, поэтому такие пирометры имеют наибольшую методическую погрешность.

В качестве чувствительного элемента в радиационных пирометрах используется термобатарея из нескольких миниатюрных последовательно соединенных термопар 2 (рис.1.11), рабочие спаи которых нагреваются излучением объекта измерения 1, фокусируемых с помощью оптической системы 3. Возникающая термо-Э.Д.С. измеряется с помощью милливольтметра или автоматического потенциометра 4, градуированного в градусах.

Для концентрации излучения на спаях термобатареи используют рефракторные (с собирающей линзой) или рефлекторные (с вогнутым зеркалом) оптические системы. В нашей стране серийно выпускаются пирометры типа АПИР - С.

В настоящее время радиационные пирометры применяются для измерения температур в диапазоне от -40 до 2500°С. Особенно удобно применение радиационных пирометров для бесконтактного измерения невысоких

Рис. 1.11 Принципиальная схема радиационного пирометра

температур, при которых методы оптической и цветовой пирометрии неприемлемы, например, для измерения невысоких температур движущихся предметов.

Радиационные пирометры, как и цветовые, пригодны для непрерывного измерения и регистрации температуры, а также для применения в системах автоматического регулирования. При измерении температуры тел, близких по излучающей способности к абсолютно черному телу, основная погрешность измерения не превышает 1% верхнего предела измерения.

.        
Измерение давления

Давление (P), как и температура, является одним из основных параметров состояния вещества, которое характеризует нормально распределенную силу (F), действующую со стороны одного тела на единицу поверхности (S) другого. P=F/S.

Единицей измерения давления принят Паскаль (Па), равный давлению, создаваемому силой в 1 ньютон, действующий на площадь в 1 м2. На шкалах измерителей давления могут наноситься кратные значения названной единицы, например, меганьютон на метр квадратный (МН/м2); бар (1 бар = 105 Н/м2); миллибар (1 мбар = 102 Н/м2). В течение переходного периода разрешается применение следующих единиц: кгс/см2 = 98066,5 (Н/м2); мм рт. ст. (1 мм рт. ст. = 1,00000014 Тор = 133,3224 Н/м2).

Другие, ранее применявшиеся единицы: 1 ат = 1 кгс/см2- техническая атмосфера; 1 атм = 1,033227 кгс/см2 = 760 Тор - физическая атмосфера; 1 мм вод.ст. = 0,00011 кгс/см2.

В англосаксонских странах еще находят применение следующие единицы: 1 фунт/дюйм2 = 0,070307208 кгс/см2 (Великобритания) и 1 фунт/дюйм2 (рsi) = 0,070306682 кгс/см2 (США). Единица рsig (фунт на квадратный дюйм) употребляется в США для измерения избыточного (по отношению к атмосферному) давления.

Давление, измеряемое относительно вакуума, называют давлением абсолютным (ДА). Барометрическое давление (ДБ) - это абсолютное давление земной атмосферы. Оно зависит от конкретных условий измерения: температуры воздуха и высоты над уровнем моря. Давление, которое больше или меньше атмосферного, но измеряется относительно атмосферного, называют соответственно избыточным (ДИ) или давлением разрежения, вакуумметрическим (ДВ). Очевидно, что ДА=ДБ+ДИ или ДА=ДБ-ДВ. При измерении разности давлений сред в двух различных процессах или двух точках одного процесса, причем таких, что ни одно из давлений не является атмосферным, такую разность называют дифференциальным давлением (ДД).

Манометр (от греч. manos - редкий, неплотный и metreo - измеряю) - это измерительный прибор, с помощью которого определяется давление рабочей среды в различных системах - жидкости, газа, вязких веществ. Существует несколько видов манометров, которые отличаются по типу расчета давления и сфере применения.

По принципу действия манометры делятся на жидкостные, грузопоршневые, деформационные, электрические. Жидкостные манометры основаны на гидростатическом принципе - измеряемое давление уравновешивается давлением высоты столба манометрической жидкости (воды, ртути). В грузопоршневых манометрах сила, действующая на поршень с известной площадью, уравновешивается гирями. В деформационных манометрах измеряемое давление определяется по деформации упругого (чувствительного) элемента. Действие электрических манометров основано на зависимости электрических параметров манометрического преобразователя от измеряемого давления.

Рис. 2.1 Абсолютная шкала давлений, сопоставленная с диапазонами измерения манометров

По виду измеряемого давления манометры подразделяют на приборы измерения избыточного и абсолютного давления - собственно манометры, разрежения - вакуумметры, давления и разрежения - мановакуумметры, атмосферного давления - барометры и разностного давления - дифференциальные манометры (дифманометры). Манометры, вакуумметры и мановакуумметры для измерения небольших (до 20 - 40 кПа) давлений газовых сред называют соответственно напоромерами, тягомерами и тягонапоромерами, а дифманометры с таким диапазоном измерения -микроманометрами.

2.1     Жидкостные манометры

В жидкостных манометрах используется принцип сообщающихся сосудов, в которых уровни рабочей жидкости совпадают при равенстве давлений над ними, а при неравенстве занимают такое положение, когда избыточное давление в одном из сосудов уравновешивается гидростатистическим давлением избыточного столба жидкости в другом. Такие манометры выполняются двухтрубными (или U-образными) и однотрубными (или чашечными) (рис. 2.2).

а)                         б)

Рис. 2.2 Жидкостные манометры

В двухтрубных манометрах (рис.2.2, а) разность давлений Р определяется по высоте столба жидкости h, уравновешивающей эту разность

Р = Р1 - Р2 = h r q ,

где r - плотность рабочей жидкости, кг/м3; q - ускорение свободного падения, м/с2.

В чашечных манометрах (рис. 2.2, б) одна из трубок заменена широким сосудом, в который подается большее из измеряемых давлений. Рабочая жидкость доливается в манометр до нулевой отметки. При измерении объем жидкости, вытесненный из широкого сосуда, равен объему жидкости, поступившей в измерительную трубку. Разность давлений Р определяется по уравнению:

Р = Р1 - Р2 = r q (h1 +h2) = r q h2 (1 + ¦/F),

где ¦, F - площади поперечного сечения измерительной трубки и широкого сосуда.

Если F/¦ = 400, то изменением уровня жидкости в широком сосуде пренебрегают (h2 = 0) и при измерении учитывают только уровень в измерительной трубке. В качестве жидкостей используется вода, ртуть, трансформаторное масло. Для исключения влияния капиллярных сил в манометрах рекомендуется использовать стеклянные трубки с внутренним диаметром 8-10 мм.

Рис. 2.3 Жидкостный микроманометр

Пределы измерения жидкостных манометров не превышают 105 Па и зависят от геометрических размеров системы и от плотности рабочей жидкости. Для двухтрубных манометров погрешность измерения составляет 62 мм, а для чашечных 61 мм. Для уменьшения погрешности измерения используют чашечные манометры с наклонной трубкой (микроманометры).

Жидкостные манометры применяются для измерения избыточного давления больше атмосферного и для измерения давления меньше атмосферного (вакуумметрического). Для жидкостных манометров кроме погрешности измерения высоты столба жидкости, необходимо учитывать погрешности, обусловленные отклонением от расчетных значений местного ускорения свободного падения, плотности рабочей жидкости, расхождение температурных коэффициентов шкалы, стекла и рабочего вещества. Местное ускорение свободного падения рассчитывается по уравнению:

q = qн 1 - 0,0026 соs (2 j ) -2 · 10-7 Н],

где qн - нормальное ускорение свободного падения, равное 9,80665 м/с2; j - отклонение географической широты от широты 45 ºС, соответствующей нормальному ускорению свободного падения; Н - высота над уровнем моря, м.

Высота столба рабочей жидкости, измеренная при температуре t, ºС (ht), приводится к 0 0С (h0) по формуле:

h0 = ht [1-(b- a) · t ],

где b - коэффициент видимого расширения рабочего вещества в стекле ( для ртути b = 0,99918, воды b = 0,0002, этилового спирта b = 0,0011) 1/°С; a - температурный коэффициент линейного расширения материала шкалы (для стекла a = 0,000009, латуни a = 0,000019; стали a = 0,000011), 1/°С.

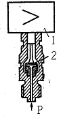
К жидкостным манометрам относятся также колокольные дифференциальные манометры, которые применяются для измерения разности давлений от 100 до 1000 Па. Колокольный дифманометр (рис. 2.4) представляет собой колокол, погружённый в жидкость и перемещающийся под влиянием разности давлений внутри (большее) и снаружи (меньшее) колокола. Измеряемая разность давлений в колокольных дифманометрах определяется по положению колокола. Противодействующая измеряемому давлению сила создаётся утяжелением колокола (гидростатическое уравновешивание) или деформацией пружины, на которой подвешивается колокол (механическое уравновешивание).

Рис.2.4 Колокольный дифференциальный манометр

При гидростатическом уравновешивании в результате перемещения толстостенного колокола изменяется архимедова сила, что приводит к уравновешиванию колокола в различных положениях при соответствующих разностях давлений. При механическом уравновешивании перемещение тонкостенного колокола вызывает деформацию соединенной с ним пружины, в результате чего происходит уравновешивание. Предельно допускаемое рабочее избыточное давление измеряемой среды 0,25 МПа. В качестве заполнителя поплавкового сосуда используются различные масла, ртуть, спирты.

Достоинством жидкостных манометров и дифманометров являются их простота и надежность при высокой точности измерений. К недостаткам следует отнести возможность выплескивания рабочей жидкости при резких изменениях давления в мерительную линию или атмосферу.

2.2     Деформационные манометры

По мере развития промышленности, особенно в связи с появлением паровых машин и железных дорог, потребовались более удобные, чем жидкостные манометры приборы. Деформационные манометры содержат упругие чувствительные элементы, осуществляющие преобразование давления в пропорциональное перемещение рабочей точки этого элемента. Рабочий диапазон выбирается в области упругих деформаций с обеспечением запаса на случай перегрузки чувствительного элемента.

Первый деформационный манометр с трубчатым чувствительным элементом был изобретен случайно. Рабочий, при изготовлении змеевика для дистилляционного аппарата, сплющил поперечное сечение цилиндрической трубки, изогнутой по спирали. Тогда, чтобы восстановить форму трубки, один конец ее заглушили, а в другой конец насосом дали давление воды. При этом часть трубки с деформированным сечением приняла цилиндрическую форму, а спираль на этом участке разогнулась. Этот эффект был использован немецким инженером Шинцем, который в 1845 г. применил трубчатый чувствительный элемент для измерения давления. Промышленное производство трубчатых деформационных манометров было организовано французским фабрикантом Бурдоном, получившим в 1849 г. патент на изобретение одновитковой трубчатой пружины, именем которого она до сих пор часто называется («трубка Бурдона»). В 1850 г. Примавези и Шеффер изобрели мембранный манометр, а несколько позже в 1881 г. Клейманом получен патент на сильфонный манометр.

В зависимости от типа применяемого чувствительного элемента деформационные манометры разделяются на трубчато-пружинные, сильфонные и мембранные.

В трубчато-пружинных манометрах в качестве чувствительного элемента применяется трубчатая пружина, которая может быть выполнена одновитковой или многовитковой.

На рис. 2.5 показан одновитковый манометр, который посредством ниппеля 9 соединяется с объемом измеряемой среды, к внутренней стороне ниппеля прикреплена изогнутая по определенному радиусу пустотелая трубка 1 овального сечения. Свободный конец трубки 1 запаян и соединен с показывающим механизмом 3. Под действием сил давления трубка 1 раскручивается на величину, пропорциональную давлению.

Рис. 2.5 Манометр с трубчатой пружиной: 1 - трубка Бурдона, 2 - крепление стрелки и передаточного механизма, 3 - соединение трубки со штоком привода стрелки, 4 - крепление корпуса, 5 - шток, 6 - шестерня, 7 - стрелка, 8 - шкала, 9 - подвод давления (ниппель)

Такие манометры градуируются по контрольно-образцовым приборам.

Деформационные манометры могут быть использованы для измерения как избыточного давления (манометры), так и вакуумметрического (вакуумметры). Верхний предел измерения избыточного давления составляет до 103 МПа, а предел измерения пружинных вакуумметров находится в диапазоне от 0,1 до 0 МПа. Для повышения чувствительности манометров применяют многовитковые трубчатые пружины (рис. 2.6).

а)                         б)

Рис. 2.6 Многовитковые манометры

Трубчатая пружина 1 (рис.2.6, а) припаяна к неподвижному держателю 2, заканчивающимся ниппелем 3. Запаянный конец трубки соединен с тягой 4, передающей перемещение пружины на ось 5, которая посредством рычажной системы соединяется с указательной манометрической стрелкой. Угол раскручивания многовитковой пружины значительно больше по сравнению с одновитковой. Многовитковая пружина может быть выполнена как из металла, так и из других материалов. На (рис. 2.6, б) изображен стеклянный деформационный манометр, где стеклянная трубчатая спираль 1 размещена в стеклянном чехле 2, давление в котором может быть равно атмосферному, быть больше или меньше него. Отсчет показания прибора производится по отклонению зеркала 3 при помощи метода зеркала и шкалы. Такой прибор позволяет измерять давление с точностью до 1 мм рт. ст. при сравнительно малых разностях давления внутри и снаружи спирали.

Деформационные манометры выполняются двух типов: показывающие и самопишущие. Для автоматизации проведения эксперимента как показывающие, так и самопишущие манометры содержат дополнительные устройства для преобразования перемещения конца запаянной трубчатой пружины в пропорциональный электрический или пневматический сигнал.

2.       Мембранные манометры

Принцип действия мембранных манометров основан на измерении деформации гофрированной мембраны, односторонне нагружаемой контролируемым давлением. Максимальный прогиб мембран (1 мм) значительно меньше хода трубчатых пружин (2-3 мм), вследствие чего кинематическая передача на стрелку прибора должна иметь большее передаточное число. Мембраны обладают значительной жесткостью и потому менее восприимчивы к вибрациям. Защита от агрессивных жидкостей и газов обеспечивается нанесением на мембраны защитных покрытий или пленок. Защита мембран от перегрузок по давлению осуществляется сравнительно просто. Диапазон измерения мембранных манометров находится в пределах 63…4000 мм.вод.ст. и 0,6…25 бар. По точности измерения обычно выпускаемые промышленностью мембранные манометры соответствуют классу 1,6 (погрешность не превышает 1,6% диапазона измерения).

Одна из типичных конструкций деформационных манометров с мембранным УЧЭ (упругим чувствительным элементом) представлена на рис. 2.7.

Рис. 2.7 Деформационный манометр с мембранным УЧЭ

Манометр содержит гофрированную мембрану 9, герметично закрепленную между фланцами 8 и 10, жесткий центр 7 которой шарнирно соединен с тягой 6. Перемещение мембраны под действием давления, подаваемого через штуцер фланца 10, шарнирно-рычажным механизмом и зубчатым сегментом 4 с трубкой, насаженной на ось 3, преобразуется в угловое вращение стрелки 2 относительно шкалы, нанесенной на циферблат 11, который смонтирован на корпусе 5 манометра. Передаточный механизм и стрелка монтируются на жестко связанную с корпусом стойку 1.

Отличительная особенность конструкции манометра - защита мембраны УЧЭ от перегрузок давлением, благодаря ограничению перемещения мембраны плоской поверхностью фланца 8. Преимущество мембранных манометров - хорошая стабильность нулевого положения стрелки при изменениях температуры окружающей среды. Однако любая мембрана, в том числе и гофрированная, обладает приемлемой линейностью при относительно небольшом рабочем ходе, соизмеримым с толщиной мембраны. Поэтому в манометрах этого типа применяются передаточные механизмы с большим передаточным отношением, точность которых во многом определяет метрологические характеристики манометров.

3.       Сильфонные манометры

Сильфоном называется тонкостенная цилиндрическая трубчатая оболочка с поперечной кольцевой гофрировкой (с целью увеличения её прогиба под действием давления). Сильфоны изготовляют в двух вариантах: бесшовные из тонкостенных цельнонатянутых трубок (рис.2.8, а) и сварные из плоских гофрированных кольцевых мембран (рис.2.8, б). Сварные сильфоны более чувствительны, чем бесшовные, т.к. могут быть изготовлены с большей глубиной гофров, более стабильны по своим упругим свойствам, а также более просты в изготовлении. Однако большое количество сварных швов снижает надежность таких сильфонов.

Цельнонатянутые сильфны применяют чаще. Сложность технологии бесшовных сильфонов ограничивает выбор материалов, пригодных для их изготовления. Бесшовные сильфоны изготавливают из нержавеющей стали, бериллиевой бронзы. Основными размерами являются: наружные диаметры D=4,5…160 мм, толщина стенок d=0,08…0,25 мм, число витков n=4…16.

Рис. 2.8 Сильфон:

а) цельнонатянутый; б) сварной

2.3     Электрические манометры

Действие электрических манометров основано на зависимости электрических параметров манометрического преобразователя от измеряемого давления. Измеряемое давление, оказывая воздействия на чувствительный элемент, изменяет его собственные электрические параметры: сопротивление, ёмкость, частоту или заряд, которые становятся мерой этого давления. К электрическим манометрам относятся пьезоэлектрические, манометры с тензопреобразователями, ионизационные.

.         Пьезоэлектрические манометры

Принцип действия пьезоэлектрических манометров основан на пьезоэлектрическом эффекте, сущность которого состоит в возникновении электрических зарядов на поверхности сжатой кварцевой пластины, которая вырезается перпендикулярно электрической оси кристаллов кварца. Схема пьезоэлектрического манометра представлена на рис.2.9.

Рис. 2.9 Схема пьезоэлектрического манометра

Измеряемое давление с помощью мембраны 1 преобразуется в усилие, сжимающее кварцевые пластины 2. Электрический заряд, возникающий на металлизированных плоскостях 3 под действием усилия F со стороны мембраны 1, определяется выражением

,

где р - давление, действующее на металлическую мембрану 1 с эффективной площадью S; k - пьезоэлектрическая постоянная, Кл/Н.

Напряжение на входе усилителя, подключённого к выходу пьезопреобразователя, определяется общей ёмкостью измерительной цепи С:

.

Кварц в отличие от других сегнетоэлектриков, обладающих пьезоэффектом, является механически прочным и имеет высокую жёсткость.

Пьезоэлектрическая постоянная, составляющая около  Кл/Н, отличается стабильностью и слабой зависимостью от температуры, что позволяет использовать пьезопреобразователи для измерения давления высокотемпературных сред. Из-за утечки заряда пьезоэлектрические преобразователи не используются для измерения статических давлений. С целью повышения чувствительности несколько кварцевых пластин включаются параллельно. Верхний предел измерения давления у этих приборов достигает 100 МПа (1000 кгс/см2).

2.       Манометры с тензопреобразователями (тензорезисторные манометры)

Тензорезисторные манометры по быстродействию приближаются к пьезоэлектрическим манометрам. В манометрах с тензопреобразователями используется зависимость активного сопротивления проводника или полупроводника от степени его деформации. Тензорезисторные манометры представляют собой мембраны, на которых размещены проволочные, фольговые или полупроводниковые резисторы, сопротивление которых меняется при деформации мембраны под действием давления.

На рис.2.10 показана схема устройства тензорезисторов, которые представляют собой спираль, состоящую из нескольких петель проволоки, наклеенную на тонкую бумажную, плёночную или лаковую основу. Сверху спираль закрывают такой же тонкой бумагой или плёнкой.

Фольговые преобразователи изготавливаются из металлической фольги толщиной 0,001-0,01 мм вытравливанием.

          а                             б

Рис. 2.10 Схема устройства тензопреобразователя:

а) проволочного; б) фольгового

Схема преобразователя «Сапфир 22» типа ДИ, предназначенного для измерения избыточных давлений с верхним пределом измерения 0,4 МПа и выше, представлена на рис.2.11.

Рис.2.11 Схема измерительного преобразователя давлений ДИ

Чувствительным элементом манометра является двухслойная мембрана 1. Измеряемое давление действует на металлическую мембрану, к которой сверху припаяна сапфировая мембрана с тензорезисторами. Элементы измерительной схемы и усилитель находятся в блоке 2.

Приборы выпускаются в нескольких модификациях, предназначенных для измерения избыточного давления (ДИ), вакуума (ДВ), избыточного давления и вакуума (ДИВ), абсолютного давления (ДА), разности давлений (ДД), гидростатического давления (ДГ).

3.       Ионизационные манометры

Ионизационные манометры - наиболее чувствительные измерительные приборы для очень низких давлений. Для измерения давления в диапазоне 10-1…10-8 Па используются ионизационные манометры. Они измеряют давление косвенно через измерение ионов образующихся при бомбардировке газа электронами. Чем меньше плотность газа, тем меньше ионов будет образовано. Термоэлектроны соударяются с атомами газа и генерируют ионы. Ионы притягиваются к электроду под подходящим напряжением, известным как коллектор. Ток в коллекторе пропорционален скорости ионизации, которая является функцией давления в системе. Таким образом, измерение тока коллектора позволяет определить давление газа. Имеется несколько подтипов ионизационных манометров.

Большинство ионных манометров делятся на два вида: горячий катод и холодный катод. Третий вид - это манометр с вращающимся ротором более чувствителен и дорог, чем первые два. В случае горячего катода электрически нагреваемая нить накала создаёт электронный луч. Электроны проходят через манометр и ионизуют молекулы газа вокруг себя. Образующиеся ионы собираются на отрицательно заряженном электроде. Ток зависит от числа ионов, которое, в свою очередь, зависит от давления газа. Принцип манометра с холодным катодом тот же, исключая, что электроны образуются в разряде созданным высоковольтным электрическим разрядом.

Схема ионизационного манометра с горячим катодом представлена на рис. 2.12. Основным элементом манометра является стеклянная манометрическая лампа, содержащая катод 1, который находится внутри анодной сетки 2, окруженной цилиндрическим ионным коллектором 3.

Рис. 2.12 Схема ионизационного манометра

Эжектируемые раскаленным катодом электроны ускоряются положительным напряжением, приложенным между анодом и катодом. При движении электроны ионизируют молекулы разреженного газа. Положительные ионы попадают на отрицательно заряженный коллектор 3. При постоянстве анодного напряжения и электронной эмиссии величина коллекторного тока Iк зависит от измеряемого давления.

Описание экспериментальной установки

Работа проводится на установке, схема которой представлена на рис. 2.13, где 1, 2, 3, и 4 - спиртовой, ртутный, водяной и пружинный манометры соответственно. Избыточное давление воздуха в ресивере 5 создается компрессором 6 и фиксируется при помощи зажима 7, размещенного на резиновой нагнетательной трубке, идущей от компрессора.

Порядок измерений и вычислений

Определить давление Рб и температуру воздуха t в лаборатории. Создать небольшое избыточное давление Ри в ресивере. Подождать до установления термического равновесия с окружающей средой и записать в таблице 1 названия и показания всех манометров. При этом для жидкостных ht = l1 +l2 и ht = l1 -l2 или ht = l2 -l1 , а не 2l1 или же 2l2 (рис. 2.13) так как диаметры трубок не постоянны и при отсутствии избыточного давления мениски могут быть и ниже и выше нуля шкалы прибора. Вычислить абсолютное давление воздуха в ресивере и представить его в требуемых единицах.

Рис. 2.13 Схема экспериментальной установки

Вычислить удельный объем (u = V/G м3/кг), удельный вес (g = G/V = 1/u кг/м3), плотность (r = G/gн V = g/gн кг*сек24) и количество воздуха в ресивере установки, выраженное в кг. Вычисления производить, используя уравнения


где р, u и Т - абсолютное давление, удельный объем и температура;

V и G - объем и вес воздуха в ресивере установки;

m - кажущийся молеклярный вес воздуха, равный 28,95;

mR и R - универсальная газовая постоянная и газовая постоянная.

Таблица 2 Рб=…м бар; Рб=…кГ/см2; t=…0C; T=…0K.

Ри

Ри, кГ/см2

Р

l1

l2

кГ/см2

кГ/м2

н/м2

бар







































температура пирометр давление манометр

Контрольные вопросы

.         С помощью каких приборов измеряют температуру?

.         Что такое единица измерения? Какие единицы измерения температуры Вы знаете? Какая взаимосвязь между ними?

.         Принцип действия термометров расширения. Какие бывают виды термометров расширения и чем они отличаются?

.         Принцип действия и виды стеклянных жидкостных термометров.

.         Принцип действия и виды манометрических термометров.

.         Принцип действия и виды термометров сопротивления.

.         Конструкция терморезисторов металлического термометра сопротивления.

.         Конструкция полупроводниковых терморезисторов.

.         На каком термоэлектрическом эффекте основана работа термопары?

.         Что называют рабочим и свободным спаем термопары?

.         Как измерить температуру с помощью термоэлектрического термометра?

.         Что такое термобатарея?

.         Что такое оптический пирометр? Какие виды пирометров Вы знаете? Дайте краткое описание каждому виду.

.         Принципиальная схема пирометра с исчезающей нитью.

.         Принципиальная схема цветового пирометра.

.         Принципиальная схема радиационного пирометра.

.         Что называется давлением?

.         Какие единицы измерения давления Вы знаете? Взаимосвязь между ними.

.         Какие виды давления Вы знаете?

.         С помощью каких приборов измеряют давление? Классификация манометров.

.         Какой принцип используется в работе жидкостных манометров? Виды жидкостных манометров.

.         Принцип действия и виды деформационных манометров.

.         Принцип работы трубчато-пружинного манометра.

.         Принцип работы мембранного манометра.

.         Принцип работы сильфонного манометра.

.         Принцип действия и виды электрических манометров.

.         В чём сущность пьезоэлектрического эффекта. Схема пьезоэлектрического манометра.

.         Что представляют собой тензорезисторные манометры? Какие тензопреобразователи Вы знаете?

.         Ионизационный манометр. Виды ионизационных манометров.

Литература

1.  Иванова Г.М. и др. Теплотехнические измерения и приборы: Учебник для вузов. - М.: Энергоатомиздат, 1984. - 232 с., ил.

2.       Галимов Н.С. Информационные устройства автоматики: Учебное пособие. - КамПИ, 2002. - 214 с., ил.

.         Профос П. Измерения в промышленности. Справ. изд. Пер. с нем.- М.: Металлургия, 1980.- 648 с.

.         Жеребцов И.П. Основы электроники. - 5-е изд., перераб. и доп. - Л.: Энергоатомиздат. Ленингр. отд-ние, 1990. - 352 с.: ил.

.         Олейник Б.Н. и др. Приборы и методы температурных измерений: Учебное пособие для учащихся средних специальных учебных заведений. - М.: Изд-во стандартов, 1987. - 296 с., ил.

.         Куинн Т. Температура. Пер. с англ.; под ред. Д.Н. Астрова. - М.: Мир, 1985.

.         Гонек Н.Ф. Манометры. - Л.: Машиностроение. Ленингр. отд-ние, 1979. - 176 с., с илл.

Похожие работы на - Измерение температуры и давления

 

Не нашли материал для своей работы?
Поможем написать уникальную работу
Без плагиата!
Без нейросетей!