Установка межевых знаков на примере участка автомобильной дороги А–331 'Вилюй' к подходу мостового переходу через р. Тангнара

  • Вид работы:
    Дипломная (ВКР)
  • Предмет:
    Геология
  • Язык:
    Русский
    ,
    Формат файла:
    MS Word
    534,38 Кб
  • Опубликовано:
    2014-03-01
Вы можете узнать стоимость помощи в написании студенческой работы.
Помощь в написании работы, которую точно примут!

Установка межевых знаков на примере участка автомобильной дороги А–331 'Вилюй' к подходу мостового переходу через р. Тангнара

Содержание

Введение

Глава І. Исходная геодезическая основа для выполнения топографической съёмки

.1 Государственная геодезическая сеть

.2 Опорная межевая сеть

.3 Межевые съемочные сети

Глава ІІ. Установка межевого знака, например: Участки автомобильной дороги "Вилюй" подходу к мостовому переходу через р. Тангнара

2.1 Природно-климатические условия города Якутска

.2 Определение границ объекта землеустройства на местности, их согласование и закрепление межевыми знаками

2.3 Определение координат межевых знаков

2.4 Определение площади объекта землеустройства

2.5 Составление карты (плана) объекта землеустройства или карты (плана) границ объекта землеустройства

Заключение

Список использованной литературы

Приложения

кадастровый дорога межевой знак

Введение

Актуальность темы. В настоящее время в геодезии применяются преимущественно линейные и угловые измерения. Такие измерения необходимы для определения формы и размеров нашей планеты - Земли и её частей, для определения координат пунктов, создания карт, планов и профилей и для строительства различных сооружений. Материалы геодезических работ в виде планов, карт и числовых величин (координат и высот) точек земной поверхности имеют большое применение в различных отраслях народного хозяйства. Всякое сооружение проектируют с учетом имеющихся на местности контуров сооружений, дорог, водных источников, почвы, грунта. Поэтому для проектирования необходим план местности с подробным отображением всех деталей. Проектирование и строительство сел, городов, железных и шоссейных дорог нельзя выполнять без геодезических материалов.

Цель данной дипломной работы: Выполнение кадастровых и землеустроительных работ по установлению границ придорожной полосы участка автомобильной дороги общего пользования федерального значения, внесение сведений о границах придорожных полос в государственный кадастр недвижимости и регистрация обременений земельных участков, расположенных в границах придорожной полосы автомобильной дороги А-331 "Вилюй", подходы к мостовому переходу через р. Тангнары Республика Саха (Якутия), в органах государственной регистрации прав на объекты недвижимости и сделок с ним. Земельные участки расположены в границах территорий муниципальных образований "Вилюйский улус (район)" Республики Саха (Якутия) (кадастровым номером земельного участка полосы отвода 14:10:080002:314 площадью 6,2169 га).

Для достижения цели решались следующие задачи:

изучение литературы, сбор материала по данной теме;

освоение современных технологий геодезических работ по тахеометрической съёмке, уравнивания системы теодолитных и нивелирных ходов;

определение дополнительных пунктов при сгущении геодезической сети, оценке точности выполненных работ.

Объект исследования: создание качественного геодезического обеспечения работ по проведению земельного кадастра, мониторинга, планирования и осуществления строительства, а также других научных и хозяйственных работ.

Предмет исследования: Установка межевых знаков на примере участка автомобильной дороги А-331 "Вилюй" к подходу мостового переходу через р. Тангнара.

В теоретических исследованиях и геодезических работ особое внимание уделяется определению взаимного положения точек, как в плановом отношении, так и по высоте. Многолетний опыт выполнения такого рода работ позволил выработать основные принципиальные положения, которые следует неукоснительно соблюдать при организации геодезических измерений. Это позволяет свести к минимуму неизбежные ошибки, не допустить накопления погрешностей при переходе от точки к точке, полностью избавиться от грубых промахов.

Глава I. Исходная геодезическая основа для выполнения топографической съёмки

1.1 Государственная геодезическая сеть

Межевание земель выполняют как в общегосударственной, так и в местных и условных системах координат. При этом должна быть обеспечена надежная связь местных и условных систем координат с общегосударственной системой.

Геодезической основой межевания земель служат:

пункты ГГС (триангуляция и полигонометрия);

пункты ОМС (опорные межевые знаки - ОМЗ).

Государственная геодезическая сеть (ГГС) представляет собой совокупность геодезических пунктов, расположенных равномерно по территории и закрепленных на местности специальными центрами, обеспечивающими их сохранность и устойчивость в плане и по высоте в течение длительного времени. В основном она предназначена для решения задач, имеющих хозяйственное, научное и оборонное значение:

создания и распространения государственной геодезической референцной системы координат на всей территории страны, поддержание ее на уровне современности;

геодезического обеспечения картографирования страны и акваторий окружающих ее морей;

геодезическое обеспечение изучения земельных ресурсов и землепользования, строительства, разведки и освоения природных ресурсов;

изучения геодинамических явлений, поверхности и гравитационного поля земли;

обеспечения исходными геодезическими данными средств измерений, морской и аэрокосмической навигации, аэрокосмического мониторинга земель, природной и техногенной сред;

метрологического обеспечения высокоточных технических средств определения месторасположения ориентирования.

ГГС включает в себя геодезические построения различных классов точности:

фундаментальную астрономо-геодезическую сеть;

высокоточную геодезическую сеть;

спутниковую геодезическую сеть 1 класса;

астрономо-геодезическую сеть и геодезические сети сгущения.

Строят ее по принципу от общего к частному.

Высший уровень в структуре ГГС - фундаментальная астрономо-геодезическая сеть (ФАГС). Она является исходной основой для распространения на территории страны общеземной геоцентрической системы координат. Для определения положения пунктов ФАГС в такой системе координат используют методы космической геодезии. Они обеспечивают высокую точность их взаимного положения. Например, положение пунктов ФАГС в общеземной системе координат характеризуется средней квадратической погрешностью не более 10...15 см, а средняя квадратическая погрешность взаимного положения пунктов ФАГС, удаленных один от другого на расстояние 650...1000 км, не должна превышать 1 см в плане и 3 см по высоте.

Пункты ФАГС должны иметь нормальные высоты, для определения которых используют геометрическое нивелирование не ниже II класса точности.

Высокоточная геодезическая сеть (ВГС) опирается на пункты ФАГС. Она представляет собой однородную по точности систему, пункты которой удалены один от другого на расстояние 150..300 км. С помощью пунктов ВГС распространяют на всю территорию страны общеземную систему координат, а также уточняют параметры взаимного ориентирования общеземной и референцной систем координат и решают некоторые другие задачи. Координаты пунктов ВГС относительно пунктов ФАГС определяют со средними квадратическими погрешностями, равными 1...2 см в плановом положении и 3 см по геодезической высоте.

Спутниковая геодезическая сеть 1 класса (СГС-1) - третий уровень в структуре современной ГГС. Она представляет собой геодезическое построение, создаваемое в целях эффективного использования спутниковых технологий при переводе геодезического обеспечения территории страны на спутниковые методы. Исходной основой для создания СГС-1 служат ближайшие пункты ФАГС и ВГС. СГС-1 в первую очередь создают в экономически развитых районах страны. Расстояние между пунктами СГС-1 в среднем составляет 25...35 км. С учетом требований отраслей народного хозяйства плотность пунктов на отдельных территориях может быть увеличена, что обеспечит широкому кругу производителей работ оптимальные условия по применению ГЛОНАСС и GPS аппаратуры в производственной деятельности. Средние квадратические погрешности по каждой из плановых координат пунктов СГС-1 относительно ближайших пунктов ВГС не должны превышать 1см. Нормальные высоты этих же пунктов устанавливают, используя спутниковое, а также геометрическое нивелирование I и II классов.

Астрономо-геодезическая сеть 1 и 2 классов (АГС) и геодезические сети сгущения 3 и 4 классов (ГСС) можно создавать как традиционными астрономо-геодезическими и геодезическими методами, так и с использованием спутниковых технологий. Средняя длина стороны в АГС обычно составляет 12км. Астрономо-геодезическая сеть задает на всей территории страны геодезическую референцную систему координат и распространяет с необходимой для практики плотностью пунктов общеземную систему координат.

Геодезические сети сгущения 3 и 4 классов - главная плановая основа топографических съемок всего масштабного ряда. Исходной основой для их создания служат пункты АГС и СГС-1. Средняя длина сторон в ГСС 3 класса составляет 6 км, а 4 класса - 3 км. Точность взаимного положения смежных пунктов АГС и ГСС характеризуется средней квадратической погрешностью, не превышающей 5 см. Положение пунктов ГГС определяют в двух системах геодезических координат: общеземной и референцией. Между ними установлена однозначная связь, обусловленная параметрами взаимного перехода - элементами ориентирования. Референцная система геодезических координат и элементы ее ориентирования относительно общеземной системы координат обязательны для использования на территории страны всеми ведомствами Российской Федерации.

.2 Опорная межевая сеть

Для ведения государственного земельного и других кадастров можно создавать специальную геодезическую сеть, которую называют опорной межевой сетью (ОМС). Создают их во всех случаях, когда точность и плотность пунктов государственных или иных геодезических сетей не удовлетворяет нормативно-техническим требованиям ведения государственного земельного кадастра, кадастра объектов недвижимости и др.

Опорная межевая сеть является геодезической сетью специального назначения и предназначена:

для установления единой координатной основы на территориях кадастровых округов с целью ведения кадастра объектов недвижимости, государственного реестра земель кадастрового округа (района); мониторинга земель: создания земельных информационных систем и др.;

землеустройства с целью формирования рациональной системы землевладения и землепользования, межевания земельных участков;

обеспечения государстве иного земельного кадастра данными о количестве, качестве и месторасположении земель для установления их цены, платы за пользование, экономического стимулирования рационального землепользования;

разработки системы мероприятий по сохранению природных ландшафтов, восстановления и повышения плодородия почв, защиты земель от эрозии и др.;

инвентаризации земель различного назначения;

решения других вопросов государственного земельного кадастра, землеустройства и государственного мониторинга земель.

Пункты ОМС размещают равномерно по территории населенных пунктов, дачных поселков, участков садовых товариществ, сельскохозяйственных, лесохозяйственных и других предприятий с плотностью, указанной в таблице. Пункты ОМС могут не совпадать с межевыми знаками границ земельного участка. Их следует размещать на местности с учетом:

- доступности для геодезических определений при восстановлении положения утраченных межевых знаков;

защищенности от разрушений в результате хозяйственной деятельности и природных явлений.

Пункты ОМС следует по возможности размещать на землях находящихся в государственной или муниципальной собственности.

Межевые знаки размещают на всех поворотных точках границы земельного участка, кроме границ, проходящих по "живым урочищам" и линейным сооружениям, совпадающим с границами земельного участка.

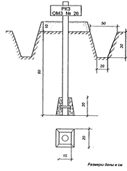
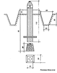
На пунктах ОМС в качестве знаков применяются:

бетонный пилон размером 12 х 12 х 90 см, в верхней конец которого заделывается кованый гвоздь, а в нижнюю часть для лучшего скрепления с

грунтом в цементируются два металлических штыря (якорь);

бетонный монолит в виде усеченной четырехгранной пирамиды с нижним основанием 15 х 15 см, верхним 10 х 10 см и высотой 90 см с заделанным в него кованым гвоздем;

железная труба диаметром 35-60 мм, отрезки рельса или уголкового железа 50 х 50 х 5 мм, 35 х 35 х 4 мм длиной 100 см с бетонным якорем в виде усеченной четырехгранной пирамиды с нижним основанием 20 х 20 см, верхним - 15 х 15 см и высотой 20 см. К верхней части трубы (рельса, уголка) приваривается металлическая пластинка для надписи, внизу

деревянный столб диаметром не менее 15 см и высотой 115 см с крестовиной, установленный на бетонный монолит в виде усеченной

четырехгранной пирамиды с нижним основанием 20 х 20 см, верхним 15 х 15 см и высотой 20 см. На верхней грани монолиту делается крестообразная насечка или заделывается гвоздь. Верхнюю часть столба затесывают на конус, ниже затеса делают вырез для надписи;

пень свежесрубленного хвойного дерева диаметром в верхней части не менее 25 см, обработанный в виде столба с вырезом для надписи, полочкой и забитым кованым гвоздем;

марка, штырь, болт, закрепленные цементным раствором в основания различных сооружений, в т.ч. в бордюры, столбы, трубы или в скалы.

Бетонные пилоны и монолиты закладываются на глубину 80 см.

Пункты ОМС окапывают в виде круглых канав с внутренним диаметром 2,0 м, глубиной 0,3 м, шириной в нижней части 0,2 м и верхней части 0,5 м. Над центром насыпается курган высотой 0,1 м.

В качестве межевых знаков используют деревянные колья высотой 75

80 см, диаметром 5 - 7 см, железные штыри и трубы, забитые в грунт на 0,4 - 0,6 м.

Межевые знаки на поверхности без покрытия окапываются круглой канавой с внутренним диаметром 0,8 м, глубиной 0,2 м и шириной в нижней части 0,2 м.

Границы земельных участков, проходящие по живым урочищам, закрепляются межевыми знаками только на стыках с суходольными границами.

При установке межевой знак ориентируют таким образом, чтобы его лицевая сторона (с надписями) была обращена к следующему межевому знаку при движении по границе по ходу часовой стрелки.

На пунктах ОМС делается надпись: Роскомзем ОМЗ N________.

Пункты ОМС после закладки сдаются по акту на наблюдение за сохранностью:

городской, поселковой или сельской администрации, если они построены на землях, находящихся в государственной или муниципальной собственности;

собственнику, владельцу, пользователю земельного участка, если они находятся на его земельном участке.

Если пункт ОМС совмещен с межевым знаком, то он сдается на наблюдение за сохранностью всем собственникам, владельцам и пользователям     размежевываемых земельных участков.

Рис.1 Бетонный пилон

Рис.2 Бетонный монолит

Рис.3 Железная труба

Рис.4 Деревянный столб

Рис.5 Штырь в пне

Рис.6 Марка (штырь, болт)

1.3 Межевые съемочные сети

Плотность пунктов опорной межевой сети, находящихся на территории проведения земельно-кадастровых геодезических работ обычно недостаточна для выполнения межевания земельных) участков, съемки объектов недвижимости, инвентаризации земель, и др. Поэтому ОМС необходимо сгустить, построив так называемую межевую съемочную сеть (МСС). Межевую съемочную сеть - геодезическую съемочную сеть создают с целью сгущения. ОМС для ее дальнейшего использования в качестве геодезической основы для определения плоских прямоугольных координат межевых знаков, а также других характерных точек объектов недвижимости.

При построении МСС используют различные способы производства геодезических работ: полигонометрические (теодолитные) ходы, прямые и обратные угловые засечки, линейную засечку и лучевой способ. Технология этих работ и математическая обработка результатов геодезических измерений были подробно рассмотрены при изучении курса геодезии.

Ниже приведены особенности производства геодезических работ при построении межевых съемочных сетей на землях поселений при закреплении месторасположения центров пунктов стенными знаками, а также геодезической привязки к пунктам ОМС на застроенных территориях.

Стенные знаки более долговечны, чем грунтовые, более экономичны и просты при закладке. По конструкции стенные знаки могут быть различными. Один из них показан на рисунке 2.2.

Рис. 7 Стенной знак

- надпись пункта ОМС; 2 - вид сверху; 3 - общий вид

Стенные знаки располагают на основных несущих элементах (стенах, надстройках и т. п.) кирпичных, каменных, бетонных и других зданий и сооружений, не имеющих видимых нарушений цокольной части. Стенной знак крепят на высоте 0,3...1,2м от поверхности земли. Носителем координат стенного знака является отверстие диаметром 2 мм, просверленное в головке знака. На диске знака должна быть размешена соответствующая надпись о принадлежности знака. Отметим, что стенные знаки можно закладывать в цокольную часть зданий и сооружений как в единственном числе (одинарный стенной знак), так и парами (парные стенные знаки) на расстоянии друг от друга 10...20м. В последнем случае между ними измеряют расстояние стальной рулеткой с погрешностью не более 1 мм.

Глава II. Установка межевого знака, например: Участки автомобильной дороги "Вилюй" подходу к мостовому переходу через р. Тангнара

2.1 Природно-климатические условия города Якутска

Решающую роль в их изменении сыграло создание Вилюйского водохранилища, самого крупного водоема на территории Якутии и одного из крупнейших водохранилищ Сибири.

Создание водохранилища осуществлено благодаря постройке каменно-набросной дамбы. Целостность этой дамбы обеспечивает и его поддержание в настоящий момент. Рассмотрим особенности ее строения и изменения во времени.

Каменнонабросная плотина с грунтовым экраном имеет длину по гребню 600 м и максимальную высоту 75 м. Основанием сооружений служат трещиноватые изверженные породы - долериты, более сохраненные в русле и менее сохраненные на береговых склонах. Экран выполнен из суглинисто-дресвяных грунтов и сопряжен со скалой основания посредством железобетонного зуба с потерной для цементации основания. Переходная зона между экраном и каменно-набросной призмой состоит из двухслойного щебеночного фильтра с толщиной каждого слоя 2-3 м. Верховой откос в зоне воздействия ветровых волн укреплен укладкой крупного камня.

Многолетнемерзлые породы имеют сплошное распространение, мощность мерзлоты достигает 250-300 м. Преобладающая температура мерзлых грунтов от -2° до -6°С. Глубина сезонного протаивания в норме колеблется от 1,5 до 4 м в зависимости от типа пород и экспозиции склона.

В строительный период в низовой призме сформировались две температурные зоны:

зона - нижняя, температура которой круглый год отрицательна;

зона - верхняя, температура которой в течение года меняет знак.

После заполнения водохранилища уже при промежуточной отметке в подэкранной области возникла 3-я зона, температура которой всегда положительна. В период окончания отсыпки плотины площадь этих зон составляла соответственно 60, 34 и 6%. К этому же периоду степень охлаждения низовой призмы была наибольшей. За первые 10 лет эксплуатации в температурном состоянии призмы произошел ряд изменений:

а) существенно уменьшилась воздухопроницаемость наброски и охлаждаемость призмы в зимнее время. Глубина проникновения изотермы -25°С в глубь призмы по нормали к откосу уменьшилась с 38 до 20 м;

б) размах сезонных колебаний температуры наброски в нижней части призмы уменьшился в 4 раза, а в средней и верхней части - в 1,5 раза; среднегодовая температура наброски внутренней зоны повысилась с -8,6 до -4,5°С, а размах сезонных колебаний уменьшился с 9,9 до 5,9°С;

в) площадь 3-й зоны увеличилась в 3 раза.

Основной причиной указанных изменений температурного состояния призмы является уменьшение пористости наброски из-за ее естественного уплотнения и в результате заполнения пор льдом. Имеются сведения, что в зоне от основания до среднегодового уровня нижнего бьефа все поры наброски заполнены льдом за исключением талого "окна" в русле шириной 50 м. В более высоких ярусах низовой призмы содержание льда снижается от 90 до 10%.

Вилюйское водохранилище создано в декабре 1966 г. Выше уже указывалось, что полное заполнение до проектной отметки завершилось в 1973 г. Водохранилище носит русловой характер с отдельными расширениями (разливами), его протяженность по бывшему руслу Вилюя 467, по реке Чоне - 274 км, длина береговой линии 2.650 км. Площадь водного зеркала 2.170 км2, объем водных масс 36 км3, за счет зимней отработки площадь водохранилища уменьшается на 25%, объем - на 37%. Средняя ширина 4,6 километров, наибольшая 15-20 километров, глубина у плотины 69,4 м. 25% площади составляют мелководья с глубинами около 6 метров.

Сорокалетний срок эксплуатации Вилюйского водохранилища показывал следующие формы воздействий.

. Климатические изменения. В радиусе 600-800 километров от водохранилища существенно изменилась влажность воздуха, идет потепление температурного режима воздуха. Возникновение водохранилища способствовало развитию ветровых явлений. Если в целом для таежной зоны Якутии ветра мало характерны, то в Вилюйском регионе среднегодовая скорость ветра составляет 3,7 м/с., до заполнения водохранилища среднее количество осадков в районе пос. Чернышевский составило 289, то после заполнения - 332 мм. Влияние водохранилища распространяется значительно восточнее, вплоть до Сунтарского района, где наблюдается увеличение толщины снегового покрова.

. Создание водохранилища полностью изменило гидрорежим Вилюя. До зарегулирования реки весенний паводок обеспечивал 69 % годового исхода воды, зимой сток сокращался до 18 %. После строительства плотины ГЭС основная часть стока за счет с работки сливной линзы переместилась на зимний сезон - 58%, весенний сток составляет 16, летний - 10 и осенний - 16% годового. С удалением участков реки от створа ГЭС влияние регулирования постепенно уменьшается. Однако для всех без исключения участков реки наиболее измененным элементом режима явился зимний сток: его величина увеличилась с 5-10 м3/с. в естественном состоянии до 400-800 м3/с. в зарегулированном. Объем стока за семь зимних месяцев (октябрь-апрель) до регулирования составлял в Чернышевском 4,3, Сунтаре 6,1 и Хатырык-Хомо - 6,4%; после зарегулирования - соответственно 54, 3, 42 и 22% годового стока. В течение всей зимы производится суточное и недельное регулирование водности довольно резкими повышениями и понижениями, это способствует образованию наледей.

. Эрозионно-русловые процессы. Для северных водохранилищ в целом, в том числе и для Вилюйского, характерны специфическая интенсивная переработка берегов из-за оттаивания многолетней мерзлоты и других природных особенностей. Гидравлические сбросы воды привели к гидрологическим изменениям русла реки, берегообрушениям, образованьям неестественных ям в летнее время в русле реки. Влияние Вилюйского водохранилища, созданного в верхнем течении реки, сказывается на русле Вилюя вплоть до устья и проявляется даже в русловых процессах Лены ниже устья р. Вилюй по течению. Происходит "растепление" вечной мерзлоты в береговой зоне водохранилища. В регионе наблюдается увеличение глубины сезонного протаивания мерзлоты, причем в ряде районов параллельно происходит уменьшение глубины промерзания.

. Интенсивное тепловое и химическое загрязнение Вилюя. С перераспределением стока появилось тепловое загрязнение реки в результате сброса через турбину ГЭС холодной воды летом и относительно теплой зимой. Наиболее резко температура воды Вилюя изменилась выше р. Мархи, где ее среднемесячный показатель в период наибольшего прогревания (июль) понизился против естественного режима на 7,8°С. В осенний период (конец сентября начало октября) температура воды повысилась, что особенно заметно выше впадения р. Мархи. Отепляющее воздействие водохранилища обнаруживается и в сроках осеннего ледохода. Если в появлении первых ледяных образований больших отклонений от естественного состояния нет, то начало осеннего ледохода в Сюльдюкаре сдвинулось на 10 дней, в с. Крестях - до 6 дней. Изменился режим зимнего замерзания реки, переезда по зимнику. Зимой образуются искусственные наледи, которые приводят к трагическим авариям, к гибели водителей и пассажиров автотранспорта.

. Химическая форма воздействия особенно ярко была выражена в период формирования водохранилища, в связи с тем, что русло водохранилища практически не было расчищено. Вилюйское водохранилище является источником поступлений в реке Вилюй фенолов, так как в нем затоплено 3,5 млн. кубометров древесины, которая активно разлагается. Кроме того, на начальных этапах формирования водохранилища большее количество затопленной древесной и травянистой растительности привело к возникновению бескислородных зон. Протяженность сероводородных зон 1971 г. в водохранилище достигала 213 километров.

Решающую роль в их изменении сыграло создание Вилюйского водохранилища, самого крупного водоема на территории Якутии и одного из крупнейших водохранилищ Сибири.

Создание водохранилища осуществлено благодаря постройке каменно-набросной дамбы. Целостность этой дамбы обеспечивает и его поддержание в настоящий момент. Рассмотрим особенности ее строения и изменения во времени.

Каменнонабросная плотина с грунтовым экраном имеет длину по гребню 600 м и максимальную высоту 75 м. Основанием сооружений служат трещиноватые изверженные породы - долериты, более сохраненные в русле и менее сохраненные на береговых склонах. Экран выполнен из суглинисто-дресвяных грунтов и сопряжен со скалой основания посредством железобетонного зуба с потерной для цементации основания. Переходная зона между экраном и каменно-набросной призмой состоит из двухслойного щебеночного фильтра с толщиной каждого слоя 2-3 м. Верховой откос в зоне воздействия ветровых волн укреплен укладкой крупного камня.

.2 Определение границ объекта землеустройства на местности, их согласование и закрепление межевыми знаками

При определении границ объекта землеустройства на местности, их согласовании и закреплении межевыми знаками рекомендуется принимать во внимание, что:

Определение границ объекта землеустройства на местности и их согласование проводится в присутствии лиц, права которых могут быть затронуты при проведении межевания, или уполномоченных ими лиц (представителей) при наличии надлежащим образом оформленных доверенностей. Перед процедурой согласования границ объекта землеустройства они предварительно обозначаются на местности в соответствии с имеющимися сведениями государственного земельного кадастра, землеустроительной, градостроительной документацией и (или) иными сведениями. При неявке на процедуру согласования границ кого-либо из вышеуказанных лиц или отказе от участия в процедуре согласования границ (непредставление мотивированного отказа в согласовании границы) в акте согласования границ фиксируется их отсутствие или отказ от участия в процедуре согласования границ, а по границе объекта землеустройства проводится    предварительное межевание. В течение тридцати календарных дней этим лицам направляются повторные уведомления с указанием срока явки для согласования или предоставления мотивированного отказа в согласовании границ по результатам предварительного межевания. В случае неявки в течение указанного срока или непредставления мотивированного отказа в согласовании границы, границы объекта землеустройства считаются установленными. Споры, возникшие при согласовании границ, рассматриваются в порядке, установленном законодательством Российской Федерации. Результаты согласования границ оформляются актом (актами) согласования границ объекта землеустройства, который подписывается всеми участниками процедуры согласования границ, (собственниками, владельцами, пользователями размежевываемого и смежных с ним земельных участков (или их представителями), городской (поселковой) или сельской администрацией) включая исполнителя работ. Форма акта согласования границ (приложение 1). Акт утверждается комитетом по земельным ресурсам и землеустройству района (города). Процедура согласования границ (границы) не проводится при наличии в государственном земельном кадастре сведений (координат поворотных точек границ), позволяющих определить их положение на местности с точностью, которая соответствует техническим условиям и требованиям, установленным Росземкадастром. Согласованные границы объекта землеустройства закрепляются межевыми знаками, фиксирующими на местности местоположение поворотных точек границ объекта землеустройства. Допускается закрепление границы межевыми знаками в виде естественных или искусственных предметов, обеспечивающих закрепление поворотной точки границы на период проведения работ (временный межевой знак), или в виде искусственного предмета, закрепленного в земле или твердом покрытии и обеспечивающего постоянство местоположения на местности поворотной точки границы объекта землеустройства после проведения землеустройства долговременный межевой знак). Необходимость установления долговременных межевых знаков определяет заказчик межевания. Он же утверждает тип межевого знака из числа образцов, рекомендуемых исполнителем работ. На межевой знак (знаки), который принадлежит трем и более земельным участкам и при наличии в пределах 40 метров не менее трех четко опознаваемых предметов (элементы зданий, строений, сооружений, опор линий электропередачи и т.п.), составляется абрис.

.3 Определение координат межевых знаков

При определении координат межевых знаков рекомендуется принимать во внимание, что: Плановое положение на местности границ объекта землеустройства характеризуется плоскими прямоугольными координатами центров межевых знаков, вычисленными в местной системе координат. Геодезической основой межевания объектов землеустройства являются пункты опорной межевой сети двух классов ОМС 1 и ОМС 2, создаваемой в соответствии с требованиями Росземкадастра. Межевание земельных участков различного целевого назначения земель проводиться с точностью не ниже точности приведенной в таблице 1

Нормативная точность межевания объектов землеустройства

Таблица 1

Градация земель

Допустимые расхождения при контроле межевания, м




DSДОП

f ДОП

1.

Земли поселений (города)

0,10

0,2

0,3

2.

Земли поселений (поселки, сельские населённые пункты); земли, предоставленные для ведения личного подсобного хозяйства, садоводства, огородничества, дачного и индивидуального жилищного строительства

0,20

0,4

0,6

3.

Земли промышленности и иного специального назначения

0,50

1,0

1,5

4.

Земли сельскохозяйственного назначения (кроме земель, указанных в п.2), земли особо охраняемых территорий и объектов

2,50

5,0

7,5

5.

Земли лесного фонда, земли водного фонда, земли запаса

5,00

10,0

15,0

Примечание. Предельная ошибка положения межевого знака равна удвоенному значению Mt.

Для определения плоских прямоугольных координат межевых знаков используются спутниковые, геодезические, фотограмметрические и картометрические методы, предусмотренные техническим проектом. Высоты межевых знаков определяются в соответствии с требованиями задания на выполнение работ. Положение межевых знаков при восстановлении на местности границ объекта землеустройства на основе сведений государственного земельного кадастра определяется с точностью, соответствующей данным. Координаты межевых знаков, вычисленные при ранее проводимых работах по межеванию данного объекта землеустройства или смежных с ним, не переопределяются, если точность их положения соответствует данным.

При межевании земельных участков, расположенных в труднодоступных районах и (или) целевое назначение которых не требует высокой точности определения местоположения границ при условии совмещения таких границ с естественными и (или) искусственными рубежами (реками, ручьями, каналами, лесополосами, дорогами, дорожными сооружениями, заборами, изгородями, фасадами зданий и другими природными и созданными трудом человека объектами), допускается для определения положения межевых знаков применять персональные GPS навигаторы и (или) способ описания местоположения границ путем ссылок на вышеуказанные объекты. К таким границам относятся границы земельных участков, предоставленных под оленьи пастбища, охотничьи угодья, сенокосы, пастбища, а также для иных целей, установленных Росземкадастром.

Для определения координат пунктов ОМС (ОМЗ) и межевых знаков используют:

·              спутниковые геодезические определения;

·              триангуляцию, полигонометрию, трилатерацию, прямые, обратные, комбинированные засечки, лучевые системы;

·              фотограмметрические методы.

В обоснованных случаях могут использоваться и методы картометрии.

Для производства измерений применяют:

·              спутниковые геодезические приемники;

·              электронные тахеометры;

·              светодальномеры;

·              теодолиты;

·              фотограмметрические приборы;

·              дигитайзеры, другие приборы и инструменты.

Конкретные рекомендации по использованию перечисленных методов и приборов для межевания земель излагают в соответствующих руководящих технических материалах (РТМ) и техническом проекте.

.4 Определение площади объекта землеустройства

Площадь земельного участка вычисляют в основном аналитическими методами по координатам межевых знаков, полученным геодезическими и фотограмметрическими методами.

Вычисленную площадь земельного участка (РВЫЧ) сравнивают с площадью, указанной в правоустанавливающем документе (РДОК) (постановлении администрации, свидетельстве на право собственности, договоре купли-продажи, и т.д.), для чего вычисляют разность:

½ DР ½ = ½РВЫЧ - РДОК ½, (1.1)

которую сравнивают с допустимой погрешностью определения площади DРДОП, вычисляемой по формуле:

D Pдоп = 2mp, (1.2)

где mp - средняя квадратическая погрешность определения площади земельного участка.

При ½ DР ½ £ DРДОП за окончательное значение площади принимается площадь, указанная в правоустанавливающем документе.

При ½ DР ½ > DРДОП материалы межевания земель направляют для внесения изменений в правоустанавливающий документ (постановление администрации, свидетельство на право собственности, договор купли-продажи и т.д.). Площадь записывается в квадратных метрах с округлением до 1 кв. м и дополнительно может записываться в гектарах с округлением до 0.01 га. Площадь муниципального образования или другого административно - территориального образования вычисляется по координатам поворотных точек его границ в случае, если это предусмотрено заданием на выполнение работ. В соответствии с заданием выполняется и оценка точности определения этой площади. Площадь объекта землеустройства, границы которого описаны путем ссылок на географические объекты, вычисляется с точностью не ниже графической точности картографического материала, численный масштаб которого равен численному масштабу соответствующей кадастровой карты (плана) земельного участка (территории).

.5 Составление карты (плана) объекта землеустройства или карты (плана) границ объекта землеустройства

При составление карты (плана) объекта землеустройства или карты (плана) границ объекта землеустройства рекомендуется принимать во внимание, что: - Карта (план) объекта землеустройства составляется, если это предусмотрено заданием на выполнение работ, в противном случае составляется карта (план) границ объекта землеустройства в виде карты (плана) границ земельного участка или карты (плана) границ муниципального образования или другого административно - территориального образования. - Карта (план) границ земельного участка составляется в масштабе, удобном для его размещения на одном листе формата А4 или А3. - Карта (план) границ муниципального образования или другого административно - территориального образования может составляться на листе большего формата. В случае если карта (план) границ муниципального образования или другого административно - территориального образования не умещается на одном листе, то допускается размещать ее на нескольких листах. В этом случае на каждом листе указываются его номер и схема размещения листов.         - На карте (плане) границ объекта землеустройства показываются:

) кадастровый номер земельного участка или название муниципального образования или другого административно - территориального образования;

) границы объекта землеустройства и номера межевых знаков;

) размеры объекта землеустройства в виде площади, дирекционных углов и горизонтальных проложений;

) описание границ смежных объектов землеустройства (описание смежеств);

) выходы координатной сетки;

) направление "Юг-Север";

) численный масштаб.

Дирекционные углы и горизонтальные проложения линий представляются в табличной форме. Дирекционные углы записываются в формате градусы и минуты с округлением до 0,1 минуты. Горизонтальные проложения записываются с округлением до 0,01 м. Допускается размещение описания смежеств и таблицы геодезических данных на одном или нескольких листах. - При проведении межевания муниципального образования или другого административно - территориального образования не по всему периметру, а только его части, карта (план) составляется только на этот участок границ. В этом случае площадь объекта землеустройства не вычисляется и на карте (плане) не показывается.

Карта (план) объекта землеустройства дополнительно к сведениям, которые показываются на карте (плане) границ объекта землеустройства, содержит сведения:

) о границах частей объекта землеустройства, ограниченных в использовании и обремененных сервитутами;

) о границах частей объекта землеустройства, занятых объектами недвижимого имущества. - Сведения о границах частей объекта землеустройства, ограниченных в использовании и обремененных сервитутами отражаются на карте (плане) объекта землеустройства на основе имеющихся документов и обозначаются на местности только по желанию заинтересованного лица (лиц) и с согласия правообладателя земельного участка; - Сведения о границах частей объекта землеустройства, занятых объектами недвижимого имущества, отображаются на карте (плане) объекта землеустройства, если это предусмотрено заданием на выполнение работ. В противном случае, сведения о частях земельных участков, занятых объектами недвижимого имущества, отражаются в пояснительной записке в объеме, который удовлетворяет требованиям нормативных правовых актов по ведению государственного земельного кадастра. - Площади частей объекта землеустройства, занятых объектами недвижимости, ограниченных в использовании и обремененных сервитутами, вычисляются с точностью не ниже графической точности карты (плана) объекта землеустройства. - Подчистки, приписки, зачеркнутые слова, иные исправления на карте (плане) объекта землеустройства (карте (плане) границ объекта землеустройства) не допускаются. Карта (план) границ объекта землеустройства (карта (план) границ объекта землеустройства) не может быть исполнена карандашом.

Составление чертежа границ земельного участка

Чертеж границ земельного участка составляют в масштабе, равном или крупнее масштаба базовой кадастровой карты (плана), рекомендованном в таблице. Оригинал чертежа границ земельного участка составляют на плотной чертежной бумаге, лавсане или фотоплане. Чертеж границ земельного участка составляется инженером-землеустроителем, выполнившим межевые работы, и утверждается председателем (заместителем председателя) комитета по земельным ресурсам и землеустройству района (города).

Заключение

В результате выполнения дипломной работы освоены геодезические работы при ведении кадастра. Такие как: методика расчетов при подготовке геодезических данных для восстановления утраченных межевых знаков; перевычисление координат межевых знаков по границам земельных участков в единую систему; инженерно-геодезическое проектирование границ земельных участков при межевании; методики расчетов при подготовке геодезических данных для выноса в натуру границ запроектированных участков с расчетом необходимой точности построений. Освоен процесс оценки точности полученных результатов. Получены навыки по камеральной обработке результатов. Вследствие этого, полученные знания, могут применяться в процессе проведении полевых геодезических работ при ведении кадастра и их камеральной обработке.

Изучение земной поверхности (форм рельефа, места расположения различных объектов), производство специальных измерений, их вычислительная обработка и составление карт, планов, профилей, которые служат основной продукцией геодезических работ и дают представление о форме и размере поверхности всей земли и ее отдельных частей.

В процессе строительства сооружений геодезическими методами наблюдают за вертикальностью стен, горизонтальностью балок, уклонами дорог, высотами плотин, глубиной и уклонами каналов, а в процессе их эксплуатации следят за деформацией и осадками.

Перенесение проектов на местность представляет собой процесс, обратный топографической съемке, при которой, как известно, определяется месторасположение физически существующих на местности объектов и предметов, а также создается цифровая модель рельефа. При выносе в натуру проектов границ земельных участков проектной точки на местности физически не существует, однако ее проектное месторасположение известно (задано) и, следовательно, в процессе геодезических разбивочных работ может быть закреплено (указано) на местности.

Исходными данными при геодезических разбивочных работах служат сведения государственного земельного кадастра, например в форме плоских прямоугольных координат ранее установленных межевых знаков, а также плоские прямоугольные координаты соответствующих проектных точек, полученные при проектировании границы земельного участка

Точность выноса на местность соответствующих проектных точек зависит как от точности исходных данных, так и точности геодезических измерений (построений).

От точности геодезических построений зависит точность положения проектной точки относительно ближайшего пункта межевой съемочной или иной геодезической сети, используемой при геодезических разбивочных работах.

Цель данной курсовой работы заключалась в ознакомлении с порядком проведения межевания объектов землеустройства.

В данной курсовой мною проведена работа по сбору, систематизации и архивации теоретических и практических данных по межеванию объектов землеустройства.

Список использованной литературы

1. Неумывакин Ю.К., Перский М.И. Земельно-кадастровые работы, 2005 г.

2. М.И. Буров, В.И. Нефедов, Ю.М. Трунин / Изв. Вузов. Геодезия и аэросъемка. 1998 №6. С. 59-66

. В.В. Баканова. Геодезия. Учебник для вузов. - М.: Недра, 1980.

. Е.Б. Клюшин, И 62 М.И. Киселев, Д.Ш. Михелев, В.Д. Фельдман; Под ред. Д.Ш. Михелева Инженерная геодезия. Учебник для вузов , 2001г.

. В.И. Радионов Руководство по учебно-геодезической практике М.: Недра, 1983

кадастровый дорога межевой знак

Приложения 1

Перечень кадастровых номеров земельных участков, которые полностью или частично расположены в границах придорожных полос автомобильной дороги А-331 "Вилюй", км 459+180 подходы к мостовому переходу через р. Тангнары, км 614 подходы к мостовому переходу через р. Чыбыда, общей протяженностью 3,996 км, расположенных в границах территорий муниципальных образований "Вилюйский улус (район)" и "Верхневилюйский улус (район)" Республики Саха (Якутия) (кадастровые номера земельных участков полосы отвода 14:10:080002:314 площадью 6,2169 га, 14:10:200003:1170 площадью 2,8153 га, 14:07:190002:310 площадью 2,1290 га).

№ п/п

Кадастровый номер земельного участка

Площадь земельного участка или его части

Сведения о правах

1

2

3

4

1





Исполнитель: Андреев Н.И.

Приложение 2

Акт установления информационных щитов (указателей), обозначающих границы придорожных полос автомобильной дороги А-331 "Вилюй", км 459+180 подходы к мостовому переходу через р. Тангнары, км 614 подходы к мостовому переходу через р. Чыбыда, Республика Саха (Якутия), общей протяженностью 3,996 км, расположенных в границах территорий муниципальных образований "Вилюйский улус (район)" и "Верхневилюйский улус (район)" Республики Саха (Якутия) (кадастровые номера земельных участков полосы отвода 14:10:080002:314 площадью 6,2169 га, 14:10:200003:1170 площадью 2,8153 га, 14:07:190002:310 площадью 2,1290 га)

Приложение 3

Акт согласования границ земельного участка

Границы земельного участка (схема земельного участка прилагается) согласованы правообладателями земельных участков или их представителями

Кадастровый номер земельного участка или наименование

Фамилия и инициалы правообладателя

Фамилия и инициалы представителя правообладателя

Номер доверенности*)

 

 

 

 


 номером доверенности является ее регистрационный номер или в случае его отсутствия порядковый номер, присваиваемый исполнителем работ в порядке их предъявления.

Правообладателями земельных участков или их представителями заявлено: (отказ в согласовании, разногласия)_______________________________________________

Исполнитель работ:

Правообладатели или их представители:

Похожие работы на - Установка межевых знаков на примере участка автомобильной дороги А–331 'Вилюй' к подходу мостового переходу через р. Тангнара

 

Не нашли материал для своей работы?
Поможем написать уникальную работу
Без плагиата!
Без нейросетей!