Процессы магнитного обогащения руд черных, редких и цветных металлов
ВВЕДЕНИЕ
Обогащение полезных ископаемых - это совокупность процессов первичной
переработки твёрдого минерального сырья с целью выделения продуктов, пригодных
для дальнейшей технически возможной и экономически целесообразной химической
или металлургической переработки или использования.
Необходимость обогащения, как правило, связана с малым
содержанием ценного компонента в добытой руде. Например, содержание молибдена в
руде составляет 0.06 % , в то время как для металлургического передела
содержание молибдена должно быть не менее 45%. При малой концентрации полезного
компонента в процессе металлургического передела происходит потеря металла,
кроме того, требуется огромное количество теплоносителей. Таким образом,
обогащение - операция, вызванная технологией и экономикой процессов
переработки.
Запасы природных ресурсов постепенно сокращаются, в связи с
этим, в разработку вовлекаются все более бедные по содержанию полезного
компонента руды. Исходя из этих условий, предстоит постоянно искать наиболее
рациональные методы добычи полезных ископаемых, разрабатывать и внедрять
малоотходную и безотходную технологию обогащения руд. Процессы магнитного
обогащения, основанные на различии магнитных свойств разделяемых компонентов,
находят широкое применение для обогащения руд черных, редких и цветных
металлов. Повышение эффективности обогащения железных руд является одной из
важнейших проблем и задач в области переработки минерального сырья и зависит от
совершенства методов и критериев, на основе которых принимаются решения по
выбору техники и технологии обогащения. Основными направлениями при разработке
новых технологий обогащения полезных ископаемых являются:
ü повышение извлечения полезных компонентов
из добываемых руд,
ü увеличение содержания полезного компонента
в концентратах,
ü комплексность использования минерального
сырья,
ü внедрение более эффективных, менее
энергоемких и экологически чистых процессов,
ü совершенствование отдельных процессов
обогащения
ü применение комбинированных схем с целью
максимального повышения качества концентратов и извлечения полезных компонентов
из руд;
ü увеличение производительности отдельных
предприятий путём интенсификации процессов и укрупнения оборудования;
ü повышение комплексности использования
полезных ископаемых с извлечением из них ценных компонентов и утилизацией
отходов (чаще всего для производства строительных материалов);
ü автоматизация производства.
Одна из важных задач обогащения полезных ископаемых - это
сведение к минимуму загрязнения окружающей среды за счёт использования
оборотной воды и более широкого применения сухих методов обогащения.
В задачу обогащения входит также удаление вредных примесей
минералов (мышьяк, сера, кремний и т. д.). Рациональное и комплексное
использование минеральных ресурсов. Поиск путей использования отходов
производства (безотходная технология); для повышения рентабельности
проектируемых обогатительных фабрик. Масштаб использования полезных ископаемых
непрерывно возрастает, а качество руд систематически ухудшается. Снижается
содержание в рудах полезных минералов, ухудшается их обогатимость, возрастает
зольность углей. Всё это предопределяет дальнейшее увеличение роли обогащения
полезных ископаемых в промышленности.
1.ХАРАКТЕРИСТИКА РУДОПОДГОТОВИТЕЛЬНОГО ПРОЦЕССА
Рудоподготовка - это совокупность процессов обработки руды разнообразными
методами для получения гранулометрического и вещественного составов,
определяемых требованиями последующих переделов или нормативами на готовую
продукцию. Такая обработка достигается дроблением и грохочением, измельчением и
классификацией, обогащением и окускованием, а также шихтованием.
В горнодобывающей промышленности это понятие распространяется на рудное
минеральное сырьё и является составной частью общего понятия подготовки
минерального сырья к промышленному использованию. Наиболее широкое
распространение она получила для обогащения, гидрометаллургии,
металлургического и химического переделов, а также в качестве самостоятельного
технологического процесса производства готовой промышленной продукции.
Рис. 1 . Принципиальная схема обогащения
Поступающая на обогатительную фабрику руда проходит последовательную
обработку в процессах, которые подразделяются на вспомогательные
(обезвоживание, сгущение и сушка), собственно обогатительные и подготовительные
(рис.1).
Подготовительный процесс включает прежде всего операции уменьшения
размера кусков.Конечная крупность измельчения определяется крупностью зерен
минералов, которые должны быть максимально раскрыты и свободны от сростков с
минералами вмещающих пород и видом основного процесса обогащения.
Методы обогащения полезных ископаемых
ü Гравитационное обогащение (мокрое и сухое) основано на разной
скорости падения частиц измельченного материала различной плотности и величины
в потоке жидкости или газа или на действии центробежной силы. Чаще всего
проводят мокрое обогащение в потоке воды. Центробежное ускорение в
гидроциклонах во много раз выше ускорения при осаждении частиц, поэтому они
дают более высокую производительность, чем осадительные камеры; соответственно
меньше их габариты. Гравитационные способы применяют для обогащения сырья в
производствах минеральных солей, силикатных материалов, в металлургии а также
при обогащении углей.
ü Электромагнитное и электростатическое обогащение основано на
различиях в магнитной проницаемости или в электрической проводимости
компонентов сырья. Эти способы применяют для отделения магнитовосприимчивых
частей от немагнитных и электропроводящих от диэлектриков.
ü Флотация основана на различии в смачиваемости водой и
прилипании частиц обогащаемого минерала к пузырькам пропускаемого через пульпу
воздуха. Плотность агрегата минерал ‑ воздух меньше, чем плотность того же объема пульпы,
поэтому он всплывает на поверхность. Большинство минералов природных руд мало
отличаются по смачиваемости друг от друга. Для их разделения необходимо создать
условия неодинаковой смачиваемости водой отдельных компонентов породы, для чего
применяют разнообразные химические соединения ‑ флотационные реагенты.
ü Термическое обогащение твердого сырья основано на различии в
плавкости компонентов сырья. Например, нагреванием серосодержащей породы
отделяют легкоплавкую жидкую серу от пустой породы, состоящей из более
тугоплавких известняков, гипса и др.
ü Химическое обогащение основано на различии во взаимодействии
компонентов сырья с химическими реагентами с последующим выделением
образовавшегося соединения осаждением, испарением, плавлением и т. п.
ü Газовые смеси разделяют, используя различия компонентов смеси
в температурах кипения, растворимости и других свойствах. Разные температуры
кипения дают возможность при сжатии и сильном охлаждении последовательно
конденсировать отдельные компоненты. Так, из коксового газа, содержащего 53-60
% Н2, получают газообразный водород, последовательно конденсируя и отделяя
содержащиеся в газе углеводороды, оксид углерода, кислород и азот. В других
случаях газовую смесь сжижают и затем разделяют на компоненты перегонкой в
ректификационных колоннах.
Все процессы и последовательность операций, которым подвергается руда при
переработке представляют собой технологические схемы обогащения, которые
принято изображать графическим способом.
2.ГРОХОЧЕНИЕ
2.1 Основные понятия и назначение операций грохочения
Грохочение - это процесс разделения (сортировки) сыпучих материалов по
крупности частиц (кусков) на грохотах. Грохочение - важный элемент
рудоподготовки, комбинируется, как правило, с дроблением.
Исходное сырье в большинстве случаев представляет собой неоднородную по
крупности смесь, содержащую различные примеси и включения. В процессе
переработки сырья необходимо разделять материал на сорта по крупности, а также
удалять из него примеси и включения, снижающие его качество.
Наиболее распространенный способ сортирования материалов - грохочение на
плоских или криволинейных просеивающих поверхностях - колосниковых (рис.2)
решетках или ситах с отверстиями заданного размера, которые вибратором
приводятся в колебательное движение (вибрационные грохоты (рис.3))
В зависимости от насыпной плотности исходного материала грохоты делятся
на:
ü легкие - для грохочения материал с насыпной плотностью (д) до
1,4 т/м3;
ü средние - д=1,4-1,8 т/м3;
ü тяжелые - д=1,8-2,8 т/м3.
По общей классификации различают:
ü неподвижные колосниковые;
ü плоские качающиеся;
ü барабанные вращающиеся;
ü полувибрационные (гирационные);
ü вибрационные (инерционные);
ü дуговые сита;
ü плоские сетки с мелкими отверстиями.
Сыпучая смесь, поступающая на грохочение, называется исходным материалом.
Зерна материала, размер которых превышает размер отверстий поверхности
грохочения, остаются на этой поверхности, они называются надрешетным (верхним)
классом; зерна материала, прошедшие через отверстия, - подрешетным (нижним)
классом. Надрешетный класс обозначается знаком плюс, под- решетный- знаком
минус. Например, если смесь зерен различной крупности разделялась на сите с
отверстиями 40 мм, то верхний класс обозначают +40, нижний - 40, т. е. одна
поверхность грохочения разделяет исходный материал на два класса. Если
материал, подлежащий сортированию, будет последовательно проходить n
поверхностей грохочения, то в результате получится n+1 классов.
Колосниковые решетки или сита располагают в горизонтальной или наклонной
плоскости. Просеивающие поверхности могут иметь круговой, эллиптический или
прямолинейный характер движения. В наклонных грохотах используют все три вида
движения, в горизонтальных - прямолинейное, направленное под углом 35…45° к
просеивающей поверхности.
Скорость колебательного движения просеивающей поверхности выбирают такой,
чтобы она обеспечивала периодический отрыв материала от просеивающей
поверхности при его движении к разгрузочному концу.
В процессе переработки нерудных строительных материалов применяют
следующие виды грохочения:
ü предварительное для выделения из исходной горной массы
негабарита или материала, не требующего дробления в машинах первой стадии
дробления;
ü промежуточное для выделения продукта, не требующего
дробления в последующей стадии;
ü контрольное - вслед за последней стадией дробления для
контроля крупности готового продукта и выделения отходов; частицы крупнее
заданного размера возвращаются на додрабливание (замкнутый цикл);
ü окончательное или товарное для разделения готового продукта
на товарные фракции.
Различают мокрый и сухой способы грохочения. При мокром способе исходный
материал поступает на грохот или в виде пульпы, или в сухом виде и на грохоте
орошается водой из специальных брызгал, т. е. одновременно с разделением по
крупности еще и промывается. Этот способ применяют для сортирования материалов
повышенной влажности и загрязненных глиной, илом и другими примесями.
Процесс грохочения оценивают двумя показателями: производительностью, т.
е. количеством поступающего на грохот исходного материала в единицу времени, и
эффективностью - отношением массы материала, прошедшей сквозь отверстия сита, к
массе материала данной крупности, содержащейся в исходном продукте.
Эффективность грохочения отражает качественную сторону процесса
грохочения. Качество получаемого продукта оценивается засоренностью (замельчением
или закрупнением), которая равна процентному содержанию зерен посторонних
фракций в данной фракции продукта.
Понятие «фракция» отличается от понятия «класс» тем, что пределы фракции
определяются теми предельными размерами граничных зерен, которые требуется
получить, а пределы класса определяются размерами отверстий сит, на которых
происходит грохочение. Например, чтобы разделить гравийную породу на две
фракции: гравий с размером частиц более 5 мм и песок, размер частиц которого
менее 5 мм, применяют сито с отверстиями 6,5 мм в свету. Следовательно, зерна
размером от 5 до 6,5 мм относятся к верхней фракции, но к нижнему классу. Это
обстоятельство не позволяет заменить показатель чистоты продукта показателем
эффективности грохочения.
Показатели процесса грохочения во многом зависят от конструкции
просеивающей поверхности: ее размеров, а также размера и формы отверстий.
Просеивающая поверхность может быть в виде сита (плетеной проволочной сетки),
решета (стального листа с отверстиями) или колосниковой решетки.
Проволочные сита (рис. 4) должны отвечать определенным требованиям.
Отношение суммарной площади отверстий (световая площадь) ко всей площади сита
должно быть наибольшим. Форма изгиба проволок не должна изменяться при
грохочении и подвергаться коррозии. Сито должно быть износостойким. Наибольшую
световую площадь имеют плетеные проволочные сита. При их изготовлении
необходимо обеспечить прочность плетения, так как от этого зависит качество
грохочения и срок службы сит.
Формы отверстий сит могут быть различными, например прямоугольными,
квадратными, круглыми. Поверхности грохочения с прямоугольными отверстиями
обеспечивают большую пропускную способность, но в подрешетный продукт попадает
значительно большее количество лещадных зерен.
Долговечность сита зависит не только от материала, из которого оно
изготовлено, но и от того, как оно закреплено и натянуто в коробе грохота. При
слабом натяжении сито быстрее ломается.
Колосниковые просеивающие поверхности устанавливают на тяжелых грохотах,
монтируемых перед первичной дробилкой, когда особой точности разделения
материала не требуется. Колосники изготовляют из износостойкой стали,
отличающейся высоким ударным сопротивлением.
В последнее время стали использовать резиновые штампованные или литые
решета или сетки из резинового шнура - струнные сита. Практика эксплуатации
таких сит показала, что при грохочении абразивных материалов резиновые сита
экономичнее сит с металлическими поверхностями грохочения. Кроме того,
например, при грохочении налипающих материалов на струнной резиновой
поверхности достигаются более высокие производительность и эффективность
грохочения, так как благодаря возбуждению дополнительных колебаний струнные
резиновые сита почти не забиваются.
В качестве упругих опор грохотов используют спиральные пружины или
пластинчатые рессоры. Упругие опоры при достаточной жесткости должны передавать
как можно меньше усилий на основание, отличаться хорошей демпфирующей
способностью и долговечностью.
По характеру действия грохоты подразделяют на неподвижные и подвижные.
Рис. 2 .Схема колосникового грохота 1-колосник, 2-стяжной болт,
3-распорная труба.
Рис. 3 .
Схема вибрационного грохота
1-короб,
2-просеивающая поверхность, 3-вибровозбудитель; 4- приводное устройство, 5-
упругие виброизолирующие элементы, 6- опорная рама.

Рис.4. Проволочные сита.
.2 Гранулометрический состав и методы его определения
Гранулометрический состав - это относительное содержание в почве, горной
породе или искусственной смеси частиц различных размеров независимо от их
химического или минералогического состава. Гранулометрический состав является
важным физическим параметром, от которого зависят многие аспекты существования
и функционирования почвы, в том числе плодородие.
Для определения гранулометрического состава используют следующие способы:
ü Ареометрический метод
ü Пипеточный метод
ü Микроскопический анализ
ü Ситовой анализ
Ареометрический метод основан на последовательном определении плотности
суспензии грунта через определенные промежутки времени с помощью ареометра. По
результатам определений рассчитывают диаметр и количество определяемых частиц
по формуле или с помощью номограммы. Этим методом определяют содержание в грунте
частиц диаметром менее 0,1 мм. Содержание фракций крупнее 0,1 мм определяют
ситовым методом.
Пипеточный метод используется для определения гранулометрического состава
глинистых грунтов в комбинации с ситовым. Этот метод основан на разделении
частиц грунта по скорости их падения в спокойной воде.
Микроскопический анализ - измерение частиц под микроскопом и
классификация их на группы в узких границах определенных размеров (для
материалов крупностью от 50 мкм до десятых долей микрометра).
Ситовой анализ - определение процентного содержания (по массе) фракций в
пылевидном или зернистом материале, состоящих из частиц определенного размера.
Анализ производят просеиванием навески материала через набор сит, различающихся
размером ячеек.
Результаты ситового анализа приводятся обычно в виде таблиц или графиков.
Для примера в таблице 1 приведены результаты ситового анализа пробы полезного
ископаемого. По данным ситового анализа строятся в прямоугольной системе
координат характеристики крупности (рис. 5).
Таблица 1.Результаты ситового анализа
|
Класс, мм
|
|
Выход
|
|
Частный
|
Суммарный, %
|
|
кг
|
%
|
«по плюсу»+
|
«по минусу» -
|
|
+100
|
8,4
|
5,8
|
5,8
|
100
|
|
-100+50
|
11,9
|
8,2
|
14
|
94,2
|
|
-50+25
|
17,4
|
12,0
|
26
|
86
|
|
-25+13
|
23,2
|
15,9
|
41,9
|
74
|
|
-13+6
|
11,3
|
7,8
|
49,7
|
58,1
|
|
-6+3 -3+1 -1+0
|
22,6 42,2 8,6
|
15,5 29,0 5,8
|
65,2 94,2 100
|
50,3 34,8 5,8
|
Суммарные характеристики «по плюсу» могут быть выпуклыми, вогнутыми и
прямолинейными. Выпуклая кривая характеризует преобладание крупных зерен в
смеси, вогнутая - мелких зерен. Прямолинейная характеристика свидетельствует о
равномерном распределении в материале зерен различной крупности.
По данным ситовых анализов (на оси ординат откладывают суммарный выход
классов (в процентах), на оси абсцисс - размеры отверстий сит в миллиметрах. На
основании суммарных выходов материала крупнее диаметра отверстий сита строится
кривая «по плюсу», мельче - «по минусу». Сумма выходов по обеим кривым должна
всегда равняться 100 %.
Поэтому обе кривые характеристик «по плюсу» и «по минусу» являются
зеркальным отражением одна другой. Они всегда пересекаются в точке,
соответствующей суммарному выходу 50 %. Точка пересечения кривой с осью абсцисс
показывает максимальный размер куска в данной пробе. По суммарной
характеристике крупности можно определить выход любого класса. Для этого
находят на оси абсцисс размер нужного класса. И из этой точки перпендикулярно к
оси проводят прямую до пересечения с кривой, откуда проводят параллельную оси
абсцисс прямую до ее пересечения с осью ординат. Точка пересечения определяет
суммарный выход искомого класса.
Рис.5. Характеристика крупности: 1 - «по плюсу»; 2 - «по минусу»
2.3 Дробление
2.3.1 Основные понятия и назначение процессов дробления
Дробление - это процесс разрушения кусков руды, угля и другого твёрдого
материала с целью получения требуемой крупности (более 5 мм),
гранулометрического состава или степени раскрытия минералов.
Дробление может быть осуществлено следующими методами:
ü раздавливания, наступающего вследствие превышения напряжений
деформации предела прочности материала на сжатие;
ü раскалывания - из-за расклинивания (растяжения) и
последующего разрыва куска; излома - из-за изгиба; срезывания - из-за сдвига;
ü истирания, проявляющегося в малой степени - из-за сдвига и
последующего срезывания;
ü удара - из-за действия напряжений сжатия, растяжения, изгиба
и сдвига.
Раздавливание применяется, как правило, при крупном и среднем дроблении
твёрдых горных пород и углей, раскалывание или удар - преимущественно для
хрупких и вязких пород (углей, известняков, асбестовых руд и т.п.). Предел
прочности кусков на растяжение в десятки раз меньше, однако по конструктивным
соображениям в современной практике дробления основным разрушающим воздействием
является раздавливание.
По виду реализации методов дробления его делят на механическое (наиболее
распространённое), пневматическое, или взрывное, электрогидравлическое,
электроимпульсное, электротермическое, аэродинамическое, по способу воздействия
на материал - на статическое и динамическое.
Статические способы механического дробления - раздавливание,
раскалывание, излом - проводят в щёковых, конусных и валковых дробилках.
Динамические способы дробления - удар, истирание (роторны дробилки),
раскалывание, раздавливание (стержневые дробилки-дезинтеграторы). По крупности
конечного продукта выделяют крупное (100-350 мм), среднее (40-100 мм), мелкое
дробление (5-40 мм), по технологическому назначению - подготовительное (для
подготовки материала к обогащению или др. видам переработки), окончательное (когда
продукты дробления являются товарными, например, при выпуске сортовых углей),
избирательное (при котором один из компонентов материала, отличающийся меньшей
прочностью, под действием одинаковой внешней силы разрушается интенсивнее
другого, более прочного).
Процесс дробления обычно соединяют с предварительным грохочением, когда
весь исходный материал сначала поступает на грохот, а в дробилку направляются
лишь крупные куски, подрешётный продукт грохота уходит далее, минуя дробилку.
Существуют открытый и замкнутый циклы дробления.
При открытом цикле дробления продукт проходит через дробилку только один
раз, при замкнутом - продукт из дробилки поступает на грохот, недостаточно
раздробленные куски вновь направляются в дробилку на додрабливание, а мелкие -
на последующую обработку.
При замкнутом цикле дробления улучшается качество продукта
(гранулометрический состав однороден), снижается расход энергии и износ частей
дробилки. В зависимости от требуемой крупности готового продукта для получения
высокой степени дробления применяют последовательно несколько стадий дробления:
при дроблении руд цветных металлов, как правило, 2, 3 или 4, руд чёрных
металлов и угля 2 или 3 стадии.
Степень дробления (или измельчения) показывает степень сокращения
крупности в процессе разрушения кускового материала. Она характеризуется
отношением размеров максимальных кусков в дробимом и дробленом материале или,
что более точно, отношением средних диаметров до и после дробления,
подсчитанных с учетом характеристик крупности материала:
i= Dmax / dmax, или i= Dcp/dcp,
где i- степень дробления; Dmax и
Dcp - соответственно максимальный и средний размеры дробимого материала; dmax и
dcp - соответственно максимальный и средний размеры дробленого материала.
Степень дробления, достигаемая в каждой отдельной стадии, называется
частной. Общая степень дробления получается как произведение частных степеней
i общ
=i 1, i2, … in
На обогатительных фабриках для дробления различных полезных ископаемых
применяют почти исключительно механические дробилки раздавливающего и
раскалывающего (щековые (рис.6), конусные (рис.7), валковые), и ударного
(молотковые, роторные, дезинтегральные) действия.
Рис. 6. Схема щековой дробилки.
- стенка корпуса; 2 - боковая щека; 3 - подвижная щека; 4 -
ось; 5 - вал; 6 - шатун; 7 - ременная передача; 8 - электродвигатель; 9 -
пружина; 10 - тяга; 11 - упор; 12,13 - распорная плита; 14,15 - дробящие плиты.
Рис.7. Конусная дробилка КРД-900
-фундаментная плита; 2 - нижняя часть станины; 3 - эксцентрик; 4 -
средняя часть станины; 5, 7 - броня; 6 - корпус дробящего конуса; 8- обойма
верхнего подвеса; 9 - разрезная гайка; 10 - колпак; 11 - броня траверсы; 12 -
траверва, 13 - вал дробящего конуса; 14 - корпус приводного вала; 15 -
приводной вал; 16 - зубчатая муфта; 17 - пест; 18 - гидравлический цилиндр; 19,
22 - роня; 20 - рельс; 21 - крышка; 23 - плунжер.
Принцип работы щековой дробилки заключается в следующем. В камеру
дробления, имеющую форму клина и образованную двумя щеками, из которых одна в
большинстве случаев является неподвижной, а другая подвижной, подастся
материал, подлежащий дроблению. Благодаря клинообразной форме камеры дробления
куски материала располагаются по высоте камеры в зависимости от их крупности -
более крупные вверху, менее крупные - внизу.
Подвижная щека периодически приближается к неподвижной, причем при
сближении щек (ход сжатия) куски материала раздрабливаются, при отходе
подвижной щеки (холостой ход) куски материала продвигаются вниз под действием
силы тяжести или выходят из камеры дробления, если их размеры стали меньше
наиболее узкой части камеры, называемой выходной щелью, или занимают новое
положение, соответствующее своему новому размеру. Затем цикл повторяется.
Принцип работы конусной дробилки заключается в том, что конический
рабочий орган совершает вращательное движение внутри чаши-основания ,измельчая
породу подаваемую в верхнюю загрузочную кольцевую щель.Готовый продукт
удаляется под действием силы тяжести в нижнее разгрузочное отверстие.
Конструкция конусных дробилок значительно сложнее, чем у
щековых, что затрудняет их обслуживание и ремонт. Конусные дробилки имеют
большую массу и большую высоту, последнее определяет большую глубину подземной
части корпуса, которая иногда достигает 30 м.
Щековые дробилки при работе сильно вибрируют, поэтому они
устанавливаютcя
на мощные фундаменты. В конструктивном отношении щековые дробилки проще и по
высоте занимают меньше места. Их успешно применяют для дробления глинистых и
вязких руд, которые обычно забивают рабочее пространство конусных дробилок.
.4 Измельчение
.4.1 Основные понятия и назначение процессов измельчения
Измельчение - процесс разрушения (дезинтеграции) кусков (частиц) твёрдого
материала для доведения их размера до требуемой крупности (от 5 мм до десятков
микрон), гранулометрического состава или заданной степени раскрытия минералов.
Измельчение осуществляют методами раздавливания, раскалывания, излома,
срезывания и истирания. По виду необратимой деформации (разрушения) частиц
выделяют измельчение, основанное на сжатии, растяжении, изгибе и сдвиге, по
способу измельчения - на мокрое и сухое. Если материал подвергается действию не
статических усилий, а динамических нагрузок, то измельчение называется ударным.
По виду реализации методов измельчения различают механическое (в т.ч. с
мелющими телами), пневмомеханическое и аэродинамическое - в струйных аппаратах
без мелющих тел. По способу воздействия на материал процесс измельчения
является преимущественно динамическим.
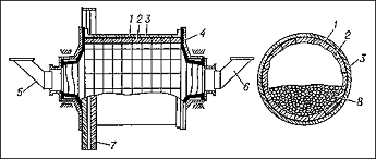
Рис.8. Схема барабанно-шаровой мельницы:
1 - барабан; 2 - броневые плиты; 3 - изоляция (от шума и тепловая); 4 -
торцовый фланец мельницы; 5 - входной патрубок; 6 - выходной патрубок; 7 -
ведомая шестерня; 8 - шары.
Механическое измельчение реализуют в барабанной мельнице -
шаровой(рис.9), стержневой, галечной, рудно-галечной, рудного самоизмельчения,
барабанно-роликовой, а также в роликово-кольцевой, чашевой (бегуны), дисковой
(истиратель - жернова). Пневмомеханическое и аэродинамическое измельчение
осуществляют в струйных размольных аппаратах, в которых разрушение кусков
происходит в результате разгона материала струёй газа (воздуха) и последующего
удара о неподвижную броню или взаимных ударов.
В зависимости от принятых значений параметров для мельниц возможны три
скоростных режима:
. Каскадный - режим с перекатыванием мелющих тел без их отрыва и полета.
Разрушение материала осуществляется за счет раздавливания и истирания материала
между измельчающей средой, слоем материала и футеровочными плитами.
Данный режим благоприятен для стержневых мельниц, так как полет стержней
может привести к их перекосам и неправильной укладке. Для шаровых мельниц
данный режим применяется в основном при сухом измельчении.
2. Водопадный - режим с отрывом мелющих тел и их преимущественным
полетом. Разрушение материала за счет удара падающих шаров и частичного
истирания между измельчающей средой, слоем материала и футеровочными плитами.
Применяется для измельчения крупного материала.
. Смешанный режим - характеризуется перекатыванием материала в барабане с
единичным отрывом мелющих тел. Режим перехода от каскадного к водопадному.
Данный режим применяется для шаровых мельниц мокрого измельчения.
Рис. 9. Траектория движения шаров и схема к расчету скорости вращения
мельницы
В зависимости от вида измельчающей среды барабанные мельницы делятся на:
ü шаровые(рис.8) - измельчающая среда в виде стальных или
чугунных (реже фарфоровых) шаров с диаметром от 25 до 150 мм;
ü стержневые - измельчающая среда стальные стержни с предельной
длиной 6 м;
ü галечные - измельчающая среда в виде окатанной кремниевой
гальки с диаметром от25 до 75 мм;
ü самоизмельчения - в виде измельчающей среды используют
крупные куски руды, поступающей на измельчение;
ü полусамоизмельчение - в виде измельчающей среды используют
крупные куски руды, поступающей на измельчение с небольшим добавлением (8-10%
от объема мельницы) стальных шаров диаметром 100-150 мм;
В ряде случаем в качестве измельчающей среды используют стальные или
чугунные цильпебсы, представляющие собой тела в виде коротких цилиндров,
усеченных конусов, дисков или толстостенных трубок.
3. ТЕХНОЛОГИЧЕСКАЯ ЧАСТЬ
.1 Выбор технологических схем и расчёт степени дробления для каждой
стадии
Исходные данные для курсового расчета:
1. Производительность цеха дробления 1600000 т\г
2. Максимальный диаметр (Dмах), куска в исходящей руде 600 мм
. Крупность дробленного продукта (dмах), 10 мм.
. Эффективность грохочения 1- стадия грохочения Е1=66%, 2- стадия
Е2=81%
5. Насыпной
вес руды
.
. Количество
дней работы фабрики в год 330 дней.
. Чистое
время работы в сутки 15 часов.
Расчёт
схемы дробления:
.)Определяем
суточную и часовую производительность оборудования по следующим формулам:
;
Где Qг- годовая производительность т\г; Qc- суточная производительность т\c; поправочный коэффициент учитывающий неравномерность
свойств сырья, влияющий на производительность оборудования данного цеха к-1,1;
.)Определяем общую степень дробления iобщ
iобщ=
=
=60 мм
.)Устанавливается степень дробления на отдельных стадиях iобщ=i1
;
Степень дробления в каждой стадии выбираем изходя из следуйщего:
ü дробилки крупного дробления позволяют «5»
ü дробилки среднего дробления без проверочного
грохочения до «6»
ü дробилки среднего дробления при работе с
замкнутым циклом до «10»
ü дробилки мелкого дробления без поверочного
грохочения до «3»
ü дробилки мелкого дробления при работе с
замкнутым циклом до «5»
Выбираем степень дробления iобщ=i1
, iобщ=60, i1=6, i2=10
дробление грохочение руда обогащение
3.2 Расчёт выхода продуктов обогащения и выбор оборудования для первой
стадии дробления
Рис. 10. Схема первой стадии дробления.
3.2.1 Определяем выход нижнего продукта, Q2 по следующей формуле:
Где
- выход подрешетного продукта, прошедшего
через сито грохота %,
- 0,7%.
Е1-эффективность грохочения, %.
Q1- производительность т\ч.
.2.2 Определяем выход верхнего продукта
Q3 =Q4=Q1-Q2;
Q3 =Q4=356-167=192 т\ч;
Q1=Qч=Q5=356 т\ч;
3.2.3 Определяем максимальную крупность дробленных продуктов,
для первой стадии дробления
D5-максимальная крупность руды, после первой стадии дробления.
i1- степень дробления после первой стадии.
.2.4 Определяем ширину приемного отверстия, для первой стадии
дробления.
Ширина приемного отверстия должна быть на 15-20% больше диаметра
наибольшего куска исходного материала, поступающего в дробилку.
В1=
;
Где В1-ширина приемного отверстия дробилки в мм, Dмах
-крупность исходной руды в питании дробилки.
.2.5Определяем ширину
разгрузочного отверстия дробилки для первой стадии дробления.
В1=D5=100
мм;
Ширина
разгрузочного отверстия определяется расстоянием от движущейся до закрепленной
щеки и соответствует максимальной крупности готового дробленного продукта.
.2.6
Определяем объемную производительность по следующей формуле:
- насыпной вес руды т\м3;
Q3 - выход верхнего продукта т\ч;
.2.7 На основании произведенных расчетов выбираем тип щековой
дробилки для первой стадии дробления.
Таблица № 2
|
Основные параметры для выбора дробилки
|
Расчетные данные
|
Параметры щековой дробилки Arja модель MA 1075
типоразмер ЩДС-10х7,5
|
|
1. Крупность исходного материала, мм
|
600 мм
|
630 мм
|
|
2. Размер загружаемого отверстия, мм
|
690 мм
|
1000х750
|
|
3. Ширина разгрузочного отверстия, мм
|
100 мм
|
100-200 мм
|
|
4. Требуемая производительность, т\ч
|
192 т\ч
|
220 т\ч
|
|
5. Объемная производительность, м3\ч
|
107 м3\ч
|
122 м3\ч
|
|
6. Масса, т
|
|
24,8 т
|
|
7. Габаритные размеры без привода, Д*Ш*В.
|
|
2600х1590х2770
|
|
8. Мощность двигателя основного привода, кВт
|
|
75 кВт
|
.2.8 Определяем объемную производительность выбранной дробилки:
- насыпной вес руды т\м3;
фактическая
- Объемная производительность дробилки по паспорту,
м3\ч
.2.9 Определяем необходимое количество щековых дробилок для
обеспечения заданной производительности по следующей формуле:
Где
-рекомендуемая производительность
дробилки.
.3 Расчет выходов продуктов обогащения и выбор оборудования для
второй стадии дробления
Рис. 11. Схема второй стадии дробления.
Определяем выход нижнего продукта по Q7;
Выразив
Q6через Q7, получим:
Q6=Q7/(
·Е2)
Q6=356/(
·0,81)=473
Для
рассчитываемой схемы
Q7=Q5=
356 т/ч
Где
- выход подрешетного продукта, прошедшего
через сито грохота %,
- 93%.
Е2-эффективность грохочения, %.
Q5- производительность т\ч.
.3.1 Определяем выход продукта по Q8(Q9), по следующей формуле:
Q8 =Q9=Q6-Q7;
Q8 =Q9=473-356=107 т\ч;
Q7=Qч=Q5=356 т\ч;
.3.2 Определяем максимальную крупность дробленных продуктов, для
второй стадии дробления.
D9 - максимальная крупность руды, после первой стадии дробления.
i1,2 - степень дробления после первой стадии и второй стадии.
.3.3 Определяем ширину приемного отверстия дробилки для второй
стадии дробления
Ширина приемного отверстия должна быть на 15-20% больше диаметра
наибольшего куска исходного материала, поступающего в дробилку.
В2=
;
Где В2-ширина приемного отверстия дробилки в мм, D5
-крупность исходной руды в питании дробилки.
.3.4
Определяем ширину разгрузочного отверстия дробилки для второй стадии дробления
в2=D9=10
мм;
.3.5
Определяем объемную производительность дробилки по следующей формуле
3.3.6 На основании произведенных расчетов выбираем тип щековой
дробилки для второй стадии дробления
Таблица № 3
|
Основные параметры для выбора дробилки
|
Расчетные данные
|
Параметры конусной дробилки PYZ-1750
|
|
1. Крупность исходного материала, мм
|
100 мм
|
185 мм
|
|
2. Размер загружаемого отверстия, мм
|
115 мм
|
200х200 мм
|
|
3. Ширина разгрузочного отверстия, мм
|
10 мм
|
10-30 мм
|
|
4. Требуемая производительность, т\ч
|
107т\ч
|
115-320 т\ч
|
|
5. Объемная производительность, м3\ч
|
59,4м3\ч
|
178м3\ч
|
|
6. Масса, т
|
|
50,3 т
|
|
7. Габаритные размеры без привода, Д*Ш*В.
|
|
3910×2894×3809
|
|
8. Мощность двигателя основного привода, кВт
|
|
160 кВт
|
.3.7 Определяем объемную производительность выбранной
дробилки:
- насыпной вес руды т\м3;
фактическая - Объемная производительность дробилки по паспорту,
м3\ч
.3.8 Определяем необходимое количество щековых дробилок для
обеспечения заданной производительности по следующей формуле
Где
-рекомендуемая производительность
дробилки.
.4 Выбор и расчёт колосникового грохота
Грохоты характеризуются основными конструктивными
особенностями, характером движения просеивающей поверхности или её элементов,
геометрической формой, и расположением относительно горизонтальной плоскости.
По этим конструктивным особенностям грохоты классифицируются на:
)По характеру движения просеивающей поверхности:
на не подвижные грохоты(колосниковые, дуговые, валковые).
на подвижные с возвратно-поступательными движениями.
)По форме просеивающей поверхности:
плоские, барабанные, дуговые.
)По расположению просеивающей поверхности:
горизонтальные, слабонаклонные, наклонные.
)По способу грохочения:
на сухое и мокрое.
Колосниковые неподвижные грохоты применяются перед дробилками
крупного дробления, а также над рудными бункерами для улавливания кусков руды
негабаритных размеров.
Размеры колосникового грохота должны удовлетворять двум
условиям:
ü обеспечение требуемой производительности
.4.1 Определяем площадь колосникового грохота для 1-ой стадии
дробления по следующей формуле
;
F-
площадь просеивающей поверхности грохота м2.
Q1 -
часовая производительность цеха дробления.
а - ширина щели между колосниками грохота мм.(20-220 мм)
n -
количество дробилок и грохотов.
;
В=
По второму методу:
F=B x L;
Где F-площадь просеивающей поверхности грохота,м2.
В-ширина грохота.
L-длина грохота.
B=(2÷3)хDmax
L=2хB
B=3х600=1800 мм=1,8 м
L=2х1800=3600 мм=3,6 м
Fгр1=1,8х3,6=6,48 м2
Из двух полученных значений площади грохота F к установке, принимаем
большую величину.
Так как в первой стадии одна дробилка - принимаем к установке один
колосниковой грохот: F = 6,48м2
К установке принимает грохот ГИТ-51К
Таблица № 4
|
Модель
|
Площадь рабочая, мм
|
Количество ярусов сит,шт
|
Размер кусков
|
Макс. размер сырья, мм
|
Произв одитель ность ,т/ч
|
Мощн ость, кВт
|
Площадь Сита (м2)
|
Масса. т
|
|
ГИТ-51К
|
1750× 4000
|
1
|
300Х300
|
400Х400Х1000
|
400
|
15
|
7,0
|
4,5
|
.5 Определяем площадь виброционного грохота для 2-ой стадии
дробления по следующей формуле
Где Qч-производительность операции «грохочение»
по питанию,т/ч;
q-удельная производительность одного кв. метра просеивающей
поверхности, м3/(м2*ч).
рн-насыпная плотность. (1,8 т\м3)
K,l,m,n,o,pн- поправочные коэффициент.
К установке принимаем вибрационный грохот Telsmith Vibro-king tl модель
8Х24
Таблица № 5
|
Модель
|
Площадь рабочая, мм
|
Количество ярусов сит,шт
|
Размер Сито, мм
|
Макс. размер сырья, мм
|
Произв одитель ность ,т/ч
|
Мощн ость, кВт
|
Площадь Сито (м2)
|
Масса. т
|
|
Telsmith Vibro-king tl модель 8Х24
|
2500 × 7300
|
1-3
|
10
|
400
|
50-380
|
2Х22
|
6,2
|
13-16
|
.6 Расчет схемы измельчения и выбор оборудования для
измельчения и классификации
Рис. 12. Схема измельчения и классификации.
.6.1 Определяем часовую производительность отделения
измельчения и классификации
Где Qг- годовая производительность фабрики,т\г
Траб- количество рабочих часов мельгицы,24 часа
.6.2 Определяем выход продуктов измельчения
Q10=Q12= 202 т/ч
.6.3 Выбор и расчёт шаровых мельниц и классификаторов
Производительность шаровой мельницы определяется по следующей
формуле.
Q=K·V·Dб0,6
Где К- коэффициент пропорциональности, зависящий от крупности
исходного и конечного материала.
V- объем барабана,м3
Dб- внутренний диаметр барабана,м.
Коэффициент пропорциональности определяется по следующей формуле
К=(от 2,3·10-3 до 8·10-3)·
Где du- диаметр исходного материала до
измельчения,мм
Dk- диаметр исходного материала после измельчения,0,074мм
·10-3=0,008
К=0,008· 
=1,1
3.6.4 Определяем полезный объем по следующей формуле
Где П=3,14
Принимаем L=2,5·Dб
Для определения диаметра барабана Dб, подставляем данные в следующую форму
Q=K·V·Dб0,6
Q=K·0,785· Dб2·2,5·Dб· Dб0,6=1,1·0,785·2,5·Dб3,6=2,2 Dб3,6
Откуда находим Dб;
Dб=(
)1/3,6=(
)0,28=3,5м
.6.5 Определяем критическую частоту вращения барабана шаровой
мельницы
.6.6 Определяем рабочую частоту вращения барабана
nр=0,75·nкр=0,75·22=17об/мин
Определяем массу загрузки шаров
Мш=ц·р·v
Где Мш- масса шаром, кг
ц- коэффициент заполнения барабана мелющими шарами ц=0,3
р- насыпная плотность шаров р=2700 кг/м3
Определяем объем барабана
V=0,785·
·2,5·Dб
V=0,785·3,52·2,5·3,5=84м3
.6.7 Определяем мощность электродвигателя
м
Где Мш- масса шаров, кг
Rб- радиус барабана
nр-рабочая частота вращения барабана.
з-потеря в приводе,принимаем 0,85
.6.8 Определяем производительность мельницы по следующей формуле
Q=K·V·Dб0,6
Q=1,1·84·3,50,6=1,1·84·2,1=194т/ч
3.6.9 На основании произведённых расчётов выбираем тип шаровой
мельницы
|
Наименование параметров
|
Расчётные параметры
|
Параметры выбранной мельницы Hongxing
|
|
Диаметр барабана, м
|
3,5м
|
3,6
|
|
Длина барабана, мм
|
|
9000
|
|
Оъем барабана, м3
|
84 м3
|
85 м3
|
|
Масса шаровой загрузки, м
|
68 т
|
163т
|
|
Частота вращения барабана, об/мин
|
17 об/мин
|
17,3
|
|
Мощность эл. двигателя
|
1100кВт
|
1300кВт
|
Количество мельниц определяем по формуле:
.7 Выбор спиральных классификаторов. Число классификаторов
определяется по количеству мельниц
Определяем диаметр классификатора по следующей формуле:
Где m- число спиралей классификаторов,m-1
K1- коэффициент учитывающий плотность руды,К1=1
К2- коэффициент учитывающий крупность слива,К2=1,6
.7.1Определяем расчётную производительность для одно спирального
классификатора, принимаем ближайший диаметр=2
Q=4,56·m·kв·kд·kc·kб·D1,765
kв- поправочный коэффициент на крупность слива kв=1,41
kд- поправочный коэффициент на плотность руды, kд=1
kc- поправочный коэффициент, kc=0,91
kб- поправочный коэффициент наклона классификатора kб=1,03
Q=4,56·1·1,41·1·0,91·1,03·21,765=20т/ч
Определяем производительность классификаторам по пескам, принимая
частоту вращения спиралей n=3,4 об/мин
Q=5,45·m·D2·n· kд· kб=5,45·1·22·3,4·1·1,03=76т/ч
|
Основные параметры для выбора классификатора
|
Расчетные параметры
|
Рекомендуемые параметры классификатора тип с
непогруженной спиралью КСН
|
|
Определяем диаметр спирали классификаторов, м
|
2,0
|
2,0
|
|
Расчетная производительность, т/ч
|
20
|
-
|
|
Производительность классификатора по пескам,
т/ч
|
76
|
-
|
|
Мощность электродвигателя, кВт
|
-
|
4,5; 7; 10
|
|
Частота вращения спирали, об/мин
|
-
|
2,9;3,9; 5,8
|
4. ОХРАНА ТРУДА И ТЕХНИКА БЕЗОПАСНОСТИ
При местном управлении пусковые устройства мельниц и
классификаторов должны быть расположены таким образом, чтобы работник, включающий
мельницу и классификатор, мог наблюдать за их работой.
Работать внутри мельницы разрешается только по наряду-допуску
после выполнения всех установленных в нем требований безопасности согласно
технологической карте (проекту производства работ).
Запрещается снимать гайки крышки люка или ослаблять их, когда
мельница находится в положении люком вниз, закреплять болты кожуха улиткового
питателя и кожуха зубчатого венца при работе мельницы.
При погрузке шаров в контейнеры место погрузки должно быть
ограждено и должен быть вывешен плакат: "Опасно!". При подъеме
контейнера люди должны находиться от него на безопасном расстоянии. Контейнеры
загружают шарами до уровня на 100 мм ниже бортов.
В случае использования шаровых питателей, а также механизмов
по загрузке стержней должны быть разработаны мероприятия, определяющие порядок
их безопасной работы.
Для обслуживания классификаторов рабочие площадки необходимо
располагать на уровне не менее чем 600 мм ниже борта ванны классификатора. Со
стороны, противоположной ванне классификаторов, рабочие площадки оборудуют
металлическими перилами высотой 1000 мм.
На классификаторах должны быть мостики (площадки) с перилами
для безопасного обслуживания механизмов вращения и подъема спиралей или реек, а
также ограждения элементов привода согласно требованиям настоящих Правил.
Вдоль всей площадки обслуживания, на борту ванны
классификатора, необходимо устанавливать сетчатое ограждение с размером ячеек
25 x 25 мм и высотой не менее 300 мм.
Рабочая площадка оператора, наблюдающего за подачей руды в
дробилку и ее работой, должна иметь решетчатые металлические ограждения для
предохранения от возможного выброса кусков руды из дробилок на площадку.
Для ликвидации зависаний горной массы над рабочим
пространством дробилок на фабрике должны быть разработаны и утверждены
техническим руководителем фабрики инструкции, определяющие методы,
последовательность операции и приемы безопасного выполнения работ по ликвидации
зависания.
При застревании в рабочем пространстве дробилок больших
кусков руды их необходимо удалять из дробилки подъемными средствами со
специальными приспособлениями. Извлекать или разрушать застрявшие в рабочем
пространстве дробилки куски руды вручную запрещается.
Резку металла, попавшего в дробилку, необходимо осуществлять
под наблюдением лица технического надзора по наряд-допуску, в соответствии с
проектом организации работ.
В случае аварийной остановки дробилок под "завалом"
разгружать и запускать ее следует по проекту производства работ, утвержденному
техническим руководителем организации.
Перекрытия и площадки, на которых располагаются вибрационные
грохоты, должны быть рассчитаны на вибростойкость. Грохота должны
устанавливаться на виброизолирующие опоры, поглощающие вибрации, возникающие
при работе оборудования.
На грохотах и дробилках должны быть предусмотрены защитные
приспособления, предохраняющие людей от случайного выброса кусков руды:
а) для конусных дробилок - глухие съемные ограждения, кроме
дробилок крупного дробления 1-й стадии, работающих под «завалом»;
б) для щековых дробилок - глухие съемные ограждения со
смотровыми окнами, исключающие возможность выброса кусков руды из зева
дробилки.
Рабочие, обслуживающие грохота, должны пользоваться
противошумовыми наушниками.
Для наблюдения за работой щековой дробилки запрещается
использовать площадки, предусмотренные по проекту для их обслуживания в период
ремонта, смазки и т.д., устроенные на корпусах, в опасной близости к входу в ее
рабочее пространство. Вход на такие площадки, должен быть ограничен дверью или
калиткой, сблокированной с системой пуска дробилки.
Шуровка в выпускных отверстиях питателей, подающих руду на
грохот, в загрузочных и разгрузочных воронках при работающих питателях и
грохотах возможна только при наличии специальных приспособлений и устройств.
Расчищать лотки электровибропитателей во время их работы,
становиться на борта питателя, прикасаться к ним, а также очищать зазоры
виброприводов запрещается.
При работе барабанного грохота запрещается:
чистить перфорацию, производить чистку или замену роликов;
эксплуатировать грохот со снятыми ограждениями.
Кулачковые, горизонтальные и вертикальные молотковые дробилки
должны иметь блокировку, исключающую возможность запуска дробилки при открытой
крышке корпуса. Открывать и закрывать корпуса кулачковых и горизонтальных
молотковых дробилок с крышками массой более 50 кг необходимо механизированным
способом.
Дробление руды, образующей при измельчении взрывоопасную
пыль, должно проводиться с выполнением мероприятий, исключающих взрывы пыли.
Для предотвращения попадания металла в дробилки среднего и
мелкого дробления, питающие их рудой ленточные конвейеры, должны быть
оборудованы металлоискателями, извлекателями, магнитными шайбами и другими
специальными приспособлениями.
Снимать металл с ленты конвейера и магнитного извлекателя, не
выведенного из рабочей зоны, разрешается только после остановки конвейера и
отключения магнитной системы.
Литература
1. П.В. Егоров, Е.А. Бобер и д.р. Основы
горного дела. Москва, издательство Московского Государственного горного
Университета. 2000 г., 399 с.
2. Полькин С.И., Адамов Э.В. Обогащение руд
цветных металлов. - М., Недра 1983, 400 с.
. Полькин С.И. Обогащение руд и россыпей
редких и благородных металлов. - М.; Недра, 1987, 428 с.
. Перов В.А., Андреев Е.Е., Биленко Л.Ф.
Дробление, измельчение и грохочение полезных ископаемых.- М.; Недра, 1990. 301
с.
. Справочник по обогащению руд в 3 томах.
- М.; Недра, 1983
. Козин В.З. Опробование на обогатительных
фабриках. - М.; Недра, 1988. 287 с.
. Самыгин В.Д., Филиппов Л.О. Шехирев Д.В.
Основы обогащения руд. - М.; Альтекс, 2003. 304 с.