Характеристика Пермяковского месторождения

  • Вид работы:
    Курсовая работа (т)
  • Предмет:
    Геология
  • Язык:
    Русский
    ,
    Формат файла:
    MS Word
    783,35 Кб
  • Опубликовано:
    2014-03-24
Вы можете узнать стоимость помощи в написании студенческой работы.
Помощь в написании работы, которую точно примут!

Характеристика Пермяковского месторождения

1.      Краткая характеристика Пермяковского месторождения и пласта ЮВ1

1.1 Общие сведения о месторождении

Пермяковское месторождение открыто в 1968 г. В административном отношении месторождение расположено на территории Нижневартовского района Ханты-Мансийского автономного округа Тюменской области, в 163 км к северо-западу от города Нижневартовска. В рассматриваемом районе расположены такие нефтяные месторождения, как Хохряковское, Колик-Ёганское, Эниторское, Южно-Эниторское.

В географическом отношении месторождение расположено в центральной части Западно-Сибирской равнины в междуречье рек Коликъёган и Вах.

Район месторождения обустроен комплексом нефтесборных сооружений и промысловыми нефтепроводами, на территории имеется необходимая дорожная сеть и содержится в необходимом для разработки месторождения экологическом состоянии.

В орогидрографическом отношении район работ представляет собой слабо пересеченную, значительно заболоченную, аккумулятивную равнину. Абсолютные отметки рельефа колеблются от +50 м (на юге) до +90 м (на севере). Гидрографическая сеть района широко развита и представлена судоходной рекой Вах и небольшими несудоходными реками: Ёккан-Ёган, Лабаз-Ёган. Характерна сильная заболоченность, много проток, озер различных размеров. Наиболее крупные озера: Ай-Сигтым-Эмтор, Ёккан-Ёган-Эмтор, Ёккан-Эмтор. Болота занимают 40-50% площади.

Зима продолжительная, суровая и снежная, с метелями и снегопадами. Лето короткое, сравнительно теплое и дождливое. Средняя температура самого холодного месяца (января) -220С. Самый жаркий месяц - июль. Средняя температура месяца составляет +170С. Среднегодовая температура отрицательная и равняется -3,10С.

На территории участка преобладает прерывистое и островное развитие многолетнемерзлых пород. Многолетнемерзлые породы представлены только реликтовой мерзлотой, кровля которой залегает на глубинах 150-230 м, а подошва опускается до отметок 400-450 м и более.

Количество атмосферных садков в год составляет 480…520 мм. В холодный период преобладают ветры южного и юго-западного направления, для летнего периода характерны ветры северо-восточного и северо-западного направления.

Населенные пункты непосредственно на площади месторождения отсутствуют. В основном, население проживает в посёлках, образовавшихся в связи с разработкой месторождений. Ближайшими населенными пунктами являются поселок Белорусский, Ларьяк, Охтеурье и другие, связанные между собой автомобильными дорогами местного значения.

1.2 Геологическое строение месторождения

Пермяковское нефтяное месторождение расположено в центральной части Александровского нефтегазоносного района Васюганской нефтегазоносной области.

Промышленные запасы углеводородов месторождения связаны с продуктивным горизонтом ЮВ1, выделяемому в отложениях верхнеюрского нефтегазоносного комплекса (НГК).

В пределах месторождения продуктивный горизонт ЮВ1 залегает на глубинах от 2360 м до 2550 м. Общая толщина горизонта ЮВ1 колеблется в пределах от 20 до 62 м, в среднем составляет 48,1 м. Эффективная толщина пласта изменяется в пределах от 4,6 до 48 м, средняя величина - 25 м. Выдержанной покрышкой для продуктивного горизонта ЮВ1 наунакской свиты служат глинистые отложения баженовской и георгиевской свит, которые являются региональными реперами при корреляции разрезов скважин и определения кровли пласта ЮВ1. По составу горизонт ЮВ1 неоднороден и представлен в разрезе неравномерным чередованием песчаников, алевролитов, реже переслаиванием аргиллитов, алевролитов и песчаников, встречаются прослои карбонатов и угля или углистого материала.

По вещественному составу коллектора горизонта относятся к классу аркозовых с содержанием кварца 35-69%, полевых шпатов 30-51%, обломков пород 10-19%, слюды от 0 до 10%.Количество обломочного материала 70-90%, цемента 5-20%, пустого (порового) пространства в коллекторах 2-20%.

Водонефтяной контакт по данным ГИС определяется на абсолютной отметке -2395 м при варьировании в пределах от -2390 м до -2400 м.

Пласт ЮВ1 обладает высокими изотропными характеристиками по разрезу и простиранию. Параметры неоднородности пласта ЮВ1 определяются величинами: Кпесч = 0,94 и Красч = 1,3.

Характеристика коллекторских свойств, неоднородности и нефте-газонасыщенности пласта ЮВ1 представлена в таблице 1.1.

Геолого-физические характеристики пласта ЮВ1 Пермяковского месторождения.

Таблица 1.1

Параметры

Объект разработки


ЮВ1

Средняя глубина залегания кровли (абс. отм.), м

2131

Тип залежи

Массивная

Тип коллектора

терригенный

Площадь нефтегазоносности, тыс. м2

9263

Средняя общая толщина, м

48,1

Средняя газонасыщенная толщина, м

-

Средняя эффективная нефтенасыщенная толщина, м

25

Средняя эффективная водонасыщенная толщина, м


Коэффициент пористости, %.

15,1

Коэффициент нефтенасыщенности ЧНЗ, доли ед.

-

Коэффициент нефтенасыщенности ВНЗ, доли ед.

0,89

Коэффициент нефтенасыщенности пласта, доли ед.

0,89

Проницаемость, мД

9,5

Коэффициент песчанистости, доли ед.

0,94

Расчлененность

1,3

Начальная пластовая температура, оС

49

Начальное пластовое давление, МПа

23,2

Вязкость нефти в пластовых условиях, мПа с

2,64

Плотность нефти в пластовых условиях, т/м3

0,801

Плотность нефти в поверхностных условиях, т/м3

0,829

Абсолютная отметка ГНК, м


Абсолютная отметка ВНК, м

-2395

Объемный коэффициент нефти, доли ед.

1,069

Содержание серы в нефти, %

1,25

Содержание парафина в нефти, %

5,71

Давление насыщения нефти газом, МПа

3,49

Газовый фактор, м3

22,8

Содержание сероводорода, %

3,29

Вязкость воды в пластовых условиях, т/м3

0,91

Плотность воды в поверхностных условиях, т/м3

1,05

Сжимаемость, 1/МПа × 10-4


нефти

78

воды

4

породы

1

Коэффициент вытеснения, доли ед.

0,733


Физико-химические свойства нефтей и растворенных газов изучались по данным исследования поверхностных и глубинных проб нефти и газа.

Физико-химические свойства нефти и газа пласта ЮВ1 приняты по данным исследований тринадцати глубинных проб из скважин.

По результатам исследований и расчётов плотность пластовой нефти 804,0 кг/м3, давление насыщения нефти газом при пластовой температуре равно 3,58 МПа, газосодержание при однократном разгазировании пластовой нефти 28,5 м3/т, динамическая вязкость пластовой нефти 2,56 мПа·с.

После дифференциального разгазирования в рабочих условиях плотность нефти 830,0 кг/м3, газосодержание 22,7 м3/т, объёмный коэффициент 1,066, динамическая вязкость разгазированной нефти 5,86 мПа·с.

По товарной характеристике нефть сернистая (массовое содержание серы 1,25%), смолистая (5,28%), парафиновая (5,64%). Объёмный выход светлых фракций при разгонке до 300 °С - 48%.

Мольное содержание компонентов в смеси газов, выделившихся из нефти при дифференциальном разгазировании в рабочих условиях: сероводорода 3,29%, азота 15,70%, метана 20,95%, этана 21,83%, пропана 24,17%, высших углеводородов (пропан + высшие) 36,36%, гелия 0,029%. Относительная плотность газа по воздуху 1,1979.

Таблица 1.2. Свойства пластовой нефти пласта ЮВ1

Наименование

Пласт ЮВ1


Диапазон изменения

Принятые значения



Давление насыщения газом, МПа

3,15-3,77

3,58

Газосодержание при однократном разгазировании, м3

22,1-31,3

28,5

Газосодержание при дифференциальном разгазировании в рабочих условиях, м3



Р1=0,294 МПа Т1=25°С

-

-

Р2=0,324 МПа Т2=23 °С

-

-

Р3=0,113 МПа Т3=22 °С

-

-

Р4=0,100 МПа Т4=20 °С

-

-

Суммарное газосодержание, м3

-

22,7

Объёмный коэффициент при дифференциальном разгазировании в рабочих условиях

-

1,066

Плотность, кг/м3

795,0-815,5

804,0

Вязкость, мПа×с

2,17-2,88

2,56

Пластовая температура, °С

47-51

49



Таблица 1.3. Компонентный состав нефтяного газа, разгазированной и пластовой нефти

Наименование

При однократном разгазировании пластовой нефти в стандартных условиях

При дифференциальном разгазировании пластовой нефти в рабочих условиях


выделивш. газ

нефть

выделивш. газ

нефть

cероводород

3.23

0.12

3.29

0.19

углекислый газ

1.06

-

1.24

-

азот

12.56

-

15.70

-

гелий

0.03

-

0.03

-

метан

16.59

0.84

20.95

0.03

этан

18.40

0.61

21.83

0.88

пропан

27.46

3.50

24.17

5.39

изобутан

4.57

1.27

2.77

1.83

н-бутан

10.71

5.41

6.81

6.54

изопентан

2.44

3.01

1.30

3.43

н-пентан

1.76

3.44

1.07

3.54

Гексаны

1.21

7.27

0.63

7.15

Гептаны


6.76

0.17

6.50

Остаток (С8+высшие)


68.32

0.07

64.51

Молекулярная масса


199.00



Молекулярная масса остатка


256.56



Плотность:





газа, кг/м3

1.63


1.44


газа отн. (по воздуху)

1.35


1.20


нефти, кг/м3




0.829


Таблица 1.4. Свойства и состав пластовых вод пласта ЮВ1 Пермяковского месторождения

Наименование параметра

Пласт ЮВ1


Диапазон изменения

Средние значения

Газонасыщенность, см3

-

82

Плотность воды, кг/м3

- в стандартных условиях

1175-1188

1180

- в условиях пласта

-

1169

Вязкость в условиях пласта, мПа.с

-

1,02

Коэффициент сжимаемости, 1/МПа × 10-4

-


Объемный коэффициент, доли ед.

1,008-1,009

1,0085

Химический состав вод, (моль/м3)

Na+ + K+

4033,72-5507,43

4633,93

Ca+2

100-210,00

124,31

Mg+2

30,00-74,99

46,43

Cl -

4461,71-5561,63

4849,22

HCO3-

1,64-4,59

3,44

SO4-2

10,42-25,74

16,21

Примеси

-

-

Общая минерализация, г/л

260-330,3

280,7

Водородный показатель, рН

-

-

Жесткость общая, (мг-экв/л)

-

-

Химический тип воды, преимущественный (по В.А. Сулину)

Хлоркальциевый

Количество исследованных проб (скважин)

9 (9)


Таблица 1.5. Физико-химическая характеристика дегазированной нефти пласта

Наименование параметра

Количество исследованных

Диапазон значений

Среднее значение


скв.

проб



1

2

3

4

5

Плотность при 200С, кг/м3

10

10

-

829

Вязкость, мПа∙с





при 20 0С



-


при 50 0С





Молярная масса, г/моль

10

10

-

199

Температура застывания, °С

10

10

-

-5

Массовое содержание, %





серы

10

10

-

1,25

смол силикагелевых

10

10

-

5,38

асфальтенов

10

10

-

1,66

парафинов

10

10

-

5,71

воды



-

-

механических примесей



-

-

Содержание микрокомпонентов, г/т





ванадий



-

-

никель



-

-

Температура плавления парафина, 0С

10

10

61

Температура начала кипения, 0С



-


Фракционный состав, %





до 100 0С

10

10

-

6

до 150 0С

10

10

-

17

до 200 0С

10

10

-

28

до 300 0С

10

10

-

49

Шифр технологической классификации

сернистая, смолистая, парафиновая


.       
Характеристика фонда скважин пласта ЮВ1

2.1    Расшифровка фонда скважин

Таблица 2.1

Параметры

Пермяковское месторождение


пласт ЮВ1

Эксплуатационный фонд

17

Действующий фонд, в т.ч.

16

УЭЦН

12

УСШН

0

Фонтанно-сваб.

4

В бездействии

1


2.2 Технологический режим

Таблица 2.2

№ скв

Пласт

QН, т/сут

QЖ, м3/cут

n, %

Тип насоса

Hсп, м

Нд, м

ЮВ1

10

206

94

ЭЦН5-200-1450

1381

424

142

ЮВ1

34

610

93

ЭЦН5-500 - 950

971

465

52Р

ЮВ1

8

276

96

ЭЦН5А-250-700

796

307

75

ЮВ1

3

77

95

ЭЦН5 - 60-900

979

553

53Р

ЮВ1

7

319

97

ЭЦН5А-250-1400

783

367

162

ЮВ1

5

75

91

ЭЦН5 - 45-1300

1370

122

190

ЮВ1

45

579

91

ЭЦН5-500 - 700

905

356

85

ЮВ1

24

305

91

ЭЦН5А-250-1400

1459

212

43Р

ЮВ1

70

133

37

ЭЦН5А-200 - 950

1392

230

243

ЮВ1

17

374

95

УЭЦН5-400-950

1550

612

120

ЮВ1

7

224

96

ЭЦН5А-200 - 950

970

383

162

ЮВ1

5

152

96

ЭЦН5-125-1350

1370

76


2.3 Анализ работы фонда скважин

§  Анализ по дебиту нефти

В малодебитном фонде (0-30 т/сут.) находится 9 скважин, что составляет 75% от фонда. Малодебитные скважины составляют основной фонд. Это говорит о том, что фонд исчерпан и дает небольшие показатели. Среднедебитный фонд (30-50 т/сут.) составляют 2 скважина, что составляет 16,7% от фонда. К высокодебитному фонду (>50 т/сут.) относится 1 скважина, что составляет 8,3% от фонда.

В малодебитном фонде (дебит жидкости 0-160 м3/сут.) находится 4 скважины, что составляет 33,3% от фонда. Среднедебитный фонд (160-320 м3/сут.) составляет 5 скважин, что составляет 41,6% от фонда. Среднедебитные скважины составляют основной фонд, что свидетельствует о повышенной добыче жидкости, а, именно, большого содержания воды в нефти. К высокодебитному фонду (>320 м3/сут.) относятся 3 скважины, что составляет 25% от фонда.

§  Анализ по процентному содержанию воды (обводненности)

Средняя обводненность - 89,3%.

В интервале обводненности 0-40% находится 1 скважина, что составляет 8,3% от фонда. С обводненностью 40-95% работает 7 скважин, что составляет 58,3% от фонда. К интервалу обводненности 95-100% относятся 4 скважин, что составляет 33,3%. Основной фонд - скважины с обводненностью 40-95%. Это говорит о высокой обводненности добываемой нефти.

§  Анализ по коэффициенту продуктивности

Коэффициент продуктивности определяется отношением добычи нефти к разнице пластового и забойного давления. Максимальный коэффициент продуктивности равен 17,76 м3/сут/атм на скважине №53Р. Минимальный коэффициент продуктивности 1,17 м3/сут/атм на скважине №75. К интервалу коэффициента продуктивности <5 м3/сут/атм относятся 5 скважин, что составляет 41,6% от фонда. В интервале 5-10 м3/сут/атм находятся 3 скважины, что составляет 25% от фонда. В интервале >10 м3/сут/атм находится 4 скважины, что составляет 33,3% от фонда. Основной фонд - интервал коэффициента продуктивности <5 м3/сут/атм.

В 2010 году среднее МРП составило 287 суток. В 2011 году среднее МРП составило 268 суток. В 2012 среднее МРП составило 236 суток. Уменьшение МРП в 2012 году произошло за счет увеличения количества подземных ремонтов, а также ухудшения работы фонда скважин.

2.4 Распределение аварий по видам

При бурении эксплуатационных и разведочных скважин самым распространенным и наиболее тяжелым видом аварии является прихват бурильных и обсадных колонн. Этот вид аварий является самым трудоемким. Он занимает 35 - 45% общих затрат времени на ликвидацию аварий.

При строительстве эксплуатационных скважин в Западной Сибири за период с 2000 по 2011 гг. аварии распределились следующим образом (табл. 2.3).

Таблица 2.3. Распределение аварий по видам

№ п/п

Виды аварий

Количество аварий/ процентное соотношение, %



2000-2006 гг.

2006-2011 гг.

1.

Прихват бурильных и обсадных колонн

184/35,1

286/45

2.

Аварии с обсадными колоннами

160/30,5

167/26,3

3.

Аварии с элементами бурильной колонны

78/14,9

57/9,0

4.

Прочие аварии

54/10,3

48/7,6

5.

Аварии с забойными двигателями

33/6,3

35/5,5

6.

Аварии с долотами

13/2.5

17/2.7

7.

Аварии из-за неудачного цементирования

-

13/2,0

8.

Падение в скважину посторонних предметов

2/0,4

12/1,9


Всего аварий

524

635


Анализ распределения аварий по видам показывает, что наиболее часто возникают прихваты бурильных и обсадных колонн (35 - 45% общего числа аварий). Одной из причин роста этого вида аварий является недостаточная профессиональная подготовленность значительной части буровых мастеров, технологов и бурильщиков. Следует напомнить, что за период с 2000 г. до 2011 г. объемы бурения эксплуатационных скважин увеличились в 5 раз, главным образом за счет организации новых буровых бригад и привлечения на работу буровых бригад из других регионов страны, не имеющих опыта работы на месторождениях Западной Сибири. Много допускается аварий с обсадными колоннами (30,5 - 26,3%), с элементами бурильных колонн (14,9 - 9%) и прочих аварий (10,3 - 7,6%).

.       
Аварийные работы при капитальном ремонте

Скважины, в которых нельзя провести ремонтные работы силами бригад текущего ремонта и выполнение которых требует специального оборудования и инструмента, передаются в капитальный ремонт. Обычно капитальный ремонт проводится специализированным управлением, организуемым в объединении, которому передаются все работы на скважинах, связанные с повышением нефтеотдачи пластов. Поэтому оно называется Управление по повышению нефтеотдачи пластов и капитальному ремонту скважин (УПНП и КРС). В нем сосредоточены все технические средства, оборудование, материалы, транспортные средства, квалифицированная инженерно-техническая служба и бригады.

3.1 Определение состояния колонны и характера аварии

Перед проведением работ по ликвидации аварии необходимо определить характер аварии и выбрать технологию проведения работ. Выбор технологии ремонта и технических средств для его проведения зависит от того, насколько правильно установлен характер повреждений оборудования или колонны, или насколько верно установлена причина снижения производительности скважины. Обследование включает в себя определение глубины забоя, уровня жидкости, состояния эксплуатационной колонны, характер аварии и размещения в скважине оборудования, величины коэффициента продуктивности и других параметров, характеризующих забой и скважину.

Наиболее часто встречаются следующие аварии:

-     падение в скважину труб, штанг, и других предметов;

-        слом бурильных труб и срыв в резьбовом соединении при фрезеровании, райберовке и разбуривании цементных и песчаных пробок, при проведении ремонтных работ;

         прихват труб в процессе бурения, углубления, цементирования и промывки скважин;

         оставление в скважине долот, шарошек, райберов и других инструментов в процессе зарезки и бурения второго ствола и т.д.

Исследование проводится известными способами, представляющими к настоящему времени широкий выбор: термометрия, дебитометрия, гамма (ГК) - и нейтронный каротаж (НГК) и другие. При определении состояния колонны и характера оборвавшейся части оборудования широкое применение получили печати и скважинные фотоаппараты. Целесообразно рассмотреть результаты исследований в динамике. Особенно это касается выбора способа воздействия на забой или пласт. Чем обстоятельнее будет информация, тем успешнее будет ремонт.

После завершения исследований непосредственно на скважине выдаются заключения об:

-     интервалах негерметичности обсадной колонны;

-        глубине установки оборудования, НКТ;

         положения забоя;

         динамического и статического уровней;

         интервале прихвата труб;

         привязке замеряемых параметров к разрезу;

         герметичности забоя;

         глубине находящихся в скважине предметов.

Печати различных видов применяют для определения состояния колонны, верхней части предмета, находящегося в скважине, а также места и характера нарушения обсадной колонны.

Печати, представляют собой свинцовый или алюминиевый стакан, спускаемый на трубах в скважину до места получения отпечатка. Затем нагружают усилием до 20 кН и поднимают из скважины. При соприкосновении с предметом, находящимся в скважине, на мягкой поверхности печати остается отпечаток, по которому судят о характере обрыва.

Универсальная печать типа ПУ2 предназначена для определения по оттиску, полученному на ее алюминиевой оболочке, положения верхнего конца объекта, оставшегося в скважине из-за аварии. Основными узлами печати являются корпус с деталями для получения оттиска предметов и зажимное устройство. На утолщение в нижней части корпуса 2 надевается резиновый стакан 8, который прикреплен к корпусу четырмя винтами 7. На резиновый стакан, в свою очередь, надевается алюминиевая оболочка 6, «перья» которой загибаются на кольцевой заплечник корпуса. На средней (цилиндрической) части корпуса установлен направляющий винт 4 и нарезана резьба. По винту и резьбе движется зажимное устройство, при помощи которого зажимаются «перья» алюминиевой оболочки.

Рис. 3.1. Универсальная печать типа ПУ2: 1 - переводник соединительный; 2 - корпус; 3 - гайка нажимная; 4 - винт направляющий; 5 - втулка нажимная; 6 - оболочка алюминиевая; 7 - винты крепежные; 8 - стакан резиновый

Помимо этих печатей широко практикуется применение печатей, торцовой и конической конструкции (рис. 3.2).

Рис. 3.2. Печати свинцовые: а - коническая; б, в, г - торцовые: 1 - корпус; 2 - свинец; 3 - фланец; 4 - проволочная основа; 5 - винт; 6 - гвоздь; 7 - алюминиевая оболочка; 8 - пробка деревянная

В качестве материала для получения отпечатка чаще всего используют свинец. Однако на свинце получается неглубокий отпечаток и часто трудно расшифровываемый. Поисковые работы ряда специалистов позволили найти более мягкие материалы для получения четких оттисков. Такими являются: сплав алюминия с сурьмой; смесь алюминиевой пудры, эпоксидной смолы, касторового масла и стеарина.

При изготовлении печати в условиях буровых предприятий руководствуются следующим. Отверстие для циркуляции бурового раствора лучше делать сбоку. Диаметр печати должен быть на 25 мм меньше диаметра скважины. Если печать опускают для определения контура разрыва обсадной колонны, то ее диаметр должен быть на 2 - 3 мм меньше диаметра долота. Перед заливкой материала для получения оттиска (свинца и т.д.) на поверхность наносят проволочную арматуру. Для этого просверливают отверстия диаметром 3 - 5 мм в шахматном порядке, с расстояниями между ними 30 - 40 мм, через отверстия пропускаю проволоку диаметром 1 - 3 мм и делают сетчатую арматуру высотой на 2 - 3 мм меньше высоты материала оттиска.

По окончании исследований с использований печатей и на основании полученных данных происходит проектирование ремонтных и ловильных работ:

-     по отпечатку на печати определяют характер аварии и необходимое оборудование;

-        на основании данных о глубине аварии и информации об эксплуатационных трубах, происходит расчет и подбор подъёмного агрегата;

         на основании данных по скважине происходит расчет глушения: объём и плотность жидкости глушения;

         планировка территории вокруг скважины для расстановки оборудования;

         выбор ПВО для монтажа;

         составление плана работ, по полученным и расчетным данным.

Ловильные работы в скважинах осуществляются цехом по капитальному ремонту скважин, в составе которого может быть несколько участков. Участок объединяет несколько бригад подземного ремонта и бригаду для проведения комплекса подготовительных работ. Число участков и бригад зависит от размера площади, разрабатываемой нефтегазодобывающим управлением, механизированного фонда скважин и его состояния. Подготовительные бригады, осуществляют следующие работы:

-     подготовку площадки у устья скважины для работы бригады текущего ремонта;

-        подготовку бетонной площадки для установки подъемного агрегата;

         установку в грунте якорных петель для крепления оттяжек от подъемной мачты или вышки агрегата;

         устройство или ремонт мостков для укладки насосных труб и штанг;

         заготовку и транспортировку к скважине технологической и утяжеленной жидкости для глушения скважины и предупреждения перелива, если в этом возникает необходимость;

         заливку жидкости в скважину промывочным агрегатом и промывку скважины.

В некоторых случаях подготовительная бригада принимает участие в установке оборудования и агрегата для подземного ремонта.

Скважину (эксплуатационную или нагнетательную) считают подготовленной для капитального ремонта, если создана возможность проведения всех необходимых операций при условии соблюдения безопасности рабочего персонала, исключения загрязнения окружающей среды и потерь нефти.

Подготовка скважины состоит из двух основных частей: собственно подготовки скважины к проведению планируемых работ и подготовки используемого при этом оборудования.

К первой группе относятся работы, связанные с глушением скважины и предупреждением ее фонтанирования или каких-либо проявлений в процессе проведения работ. Ко второй - установка или ремонт мостков, проверка якорей, установка передвижного агрегата подземного ремонта либо приведение в порядок стационарной вышки (ремонт полов и мостков, проверка состояния кронблока и мачты, смазка шкивов, оснастка талевой системы, установка оттяжного ролика), подвешивание ролика к поясу вышки при работе на скважинах, оборудованных УЭЦН, расстановка оборудования на площадке.

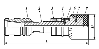
Труболовки предназначены для захвата за цилиндрическую поверхность и последующего извлечения элементов колонн бурильных, обсадных или насосно-компрессорных при проведении ловильных работ в нефтяных, газовых и геологоразведочных скважинах. Захват осуществляется путем заклинивания выдвижных плашек между внутренней или наружной поверхностью захватываемой трубы и стержнем или корпусом труболовки.

По типу захвата труб труболовки подразделяются на две группы: внутренние (для захвата за внутреннюю поверхность) и наружные (для захвата за наружную поверхность трубы или муфты). Внутренние труболовки подразделяются на неосвобождающиеся и освобождающиеся (при необходимости освобождение инструмента от захваченных труб в скважине производится после захвата и фиксации плашек в сомкнутом положении).

Наружные труболовки подразделяются на освобождающиеся различного типа, которые отличаются друг от друга конструкцией механизма захвата и освобождения.

В скважинах с небольшим зазором между эксплуатационной колонной и колонной ловимых труб применяют труболовки без центрирующих приспособлений, а в скважинах со значительными зазорами - с центрирующими приспособлениями. Плашечные освобождающиеся наружные ловители для бурильных труб предназначены для захвата за наружную поверхность бурильных и обсадных труб при ловильных работах с одновременной промывкой скважины через ловимый объект.

Ловители изготавливают с правой резьбой и применяют с центрирующими приспособлениями.

Ловители типа ЛБП (рис. 3.4) состоит из переводника 1, корпуса 2, пружины 3, нажимной втулки 4, уплотнительных манжет 5, плашек 7 и воронки 10. Шпонки 9, помещенные в пазах корпуса, прикреплены к нему винтами 8. В корпусе расположены три плашки для захвата труб за муфту или замок. Наружная поверхность каждой плашки - коническая; с внутренней стороны нанесена левая резьба специального профиля. В каждой плашке предусмотрены выступ и вырез, благодаря которым они соединяются между собой.

Рис. 3.3. Труболовки наружные освобождающиеся: а - типа ОВ; б - типа ОВТ; 1 - переводник; 2 - корпус; 3 - захват спиральный; 4 - направляющего спирального захвата; 5 - воронка направляющая; 6 - захват цанговый; 7 - направляющего цангового захвата

Сверху на плашках расположено кольцо 6 с манжетой, обеспечивающей герметичность при промывке через ловимый объект. Манжета поджимается силой упругости пружины, надетой на втулку, которую, в свою очередь, поджимает переводник, предназначенный для соединения ловителя с колонной бурильных труб. Снизу корпус на резьбе соединен с воронкой.

Освобождение ловителя от захвата производится вращением колонны бурильных труб вместе с ловителем по часовой стрелке.

Рис. 3.4. Ловитель плашечный освобождающийся наружный типа ЛБП для бурильных труб: 1 - переводник; 2 - корпус; 3 - пружина; 4 - нажимная втулка; 5 - манжета уплотнительная; 6 - кольцо; 7 - плашка; 8 - винт; 9 - шпонка; 10 - воронка

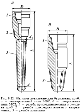
Ловильные метчики предназначены для извлечения оставшейся в скважине колонны труб, оканчивающейся сверху замковым соединением, муфтой или высаженной частью трубы.

По назначению метчики подразделяются на три группы: резьбовые - для извлечения насосно-компрессорных труб; для извлечения бурильных труб; гладкие - для извлечения предметов с круглым сечением и толщиной стенки менее 15 мм.

Метчики, входящие в каждую из первых двух указанных групп, в свою очередь делятся на универсальные, врезаемые в тело трубы, и специальные, ввинчиваемые в резьбу замка или муфты.

Метчики применяют самостоятельно или с центрирующим приспособлением, изготавливают правыми и левыми.

Принцип действия универсального и специального метчиков одинаков. При работе правым специальным метчиком его ввинчивают в муфту или замок ловимой трубы; при работе левым - перерезают резьбу муфты или замка ловимой трубы и одновременно ввинчивают в ловимый объект.

Рис. 3.4 Метчики ловильные для бурильных труб: а - универсальный типа МБУ; б - специальный типа МЗС; 1 - резьба присоединительная к колонне труб; 2 - резьба присоединительная к направлению; 3 - резьба ловильная

Колокола предназначены для извлечения оставшейся в скважине колонны бурильных, обсадных и насосно-компрессорных труб с захватом их путем навинчивания на наружную поверхность труб, муфт, замков или высадки. Колокола рекомендуется применять, когда требуется вращение и расхаживание извлекаемой колонны труб в нефтяных, газовых и геологоразведочных скважинах.

Колокола по конструкции делятся на несквозные (типов К и ЛК), сквозные (типов КС и ЛКС), гладкие и со вставной втулкой.

Колокола типа ЛК (рис. 3.5) предназначены для захвата путем навинчивания на наружную поверхность и последующего извлечения цилиндрических элементов трубных колонн при проведении ловильных работ.

Рис. 3.5. Колокол типа ЛК и ЛКС: а - несквозной типа ЛК; б - сквозной типа ЛКС; 1 - резьба присоединительная; 2 - корпус колокола; 3 - резьба ловильная; 4 - воронка с фаской; 5 - воронка с вырезом; 6 - фаска; 7 - резьба под направление

Колокола типа ЛКС предназначены для захвата путем навинчивания на наружную поверхность муфт, замков или высадки (при этом сломанная или нарушенная верхняя часть трубы пропускается через колокол) и последующего извлечения бурильных, обсадных или насосно-компрессорных труб при проведении ловильных работ в скважинах.

Ловильные колокола типа К и КС по назначению подразделяются на несквозные типа К и сквозные типа КС. Сквозные колокола обеспечивают возможность пропуска сквозь корпус колокола сломанного или безмуфтового конца ловимой трубы с последующим захватом путем нарезания резьбы на наружной поверхности замков или муфты или за высадку.

Рис. 3.6. Колокола ловильные типов К, КС и гладкий: а - несквозной типа К; б - сквозной типа КС; в-гладкий (без резьбы); 1 - резьба присоединительная к колонне труб; 2 - резьба ловильная; 3 - резьба присоединительная к направляющей воронке

Ловильные колокола гладкие (рис. 3.6, в) предназначены для захвата за наружную часть всех видов труб.

4. Определение границ и расчёт глубины прихвата

 

4.1 Определение границ прихвата расчетным методом


Большая часть применяемых способов позволяет уточнить только верхнюю границу прихвата. Нижнюю границу можно определить с помощью акустических цементомеров (АКЦ).

Практический способ определения места прихвата, с помощью которого получают наилучшие результаты, состоит в следующем.

Буровая бригада при возникновении прихвата не может незамедлительно использовать способы, требующие применения специальной аппаратуры и оборудования. При нормальном процессе углубления скважины такое оборудование обычно не хранится на буровой и доставка его требует определенных затрат времени, что может значительно усложнить освобождение инструмента. Самым простым способом определения верхней границы прихвата является расчет свободной части колонны по её упругому удлинению под действием растягивающей нагрузки, превышающей собственный вес труб.

Удлинение колонны Dl и растягивающее усилие DР определяют в следующей последовательности:

1.     Прихваченная колонна бурильных труб растягивается под действием силы Р1, которая по индикатору веса должна быть на пять делений больше нормального веса колонны в свободно подвешенном состоянии. На бурильной трубе делается отметка на уровне стола ротора.

2.      Колонна растягивается с силой, которая по индикатору веса на пять делений больше предыдущей нагрузки, а затем разгружается до положения стрелки индикатора, равного предыдущему. Снова делается отметка на бурильной трубе, которая вследствие трения в талевой системе, возможно, и не будет совпадать с первой.

.        Расстояние между этими двумя отметками делится на две равные части и делается отметка на трубе, соответствующая нагрузке Р1.

.        Прихваченная колонна вновь растягивается под действием силы Р2, большей Р1 на 10-20 делений по индикатору веса. Сила Р2 должна быть соизмерима с площадью поперечного сечения тела труб и маркой стали, из которой они изготовлены, с тем чтобы деформации, вызванные этой силой, были упругими. Полученное при этом удлинение отмечается на трубе.

.        Колонна снова растягивается под действием силы, на пять делений больше Р2, а затем нагрузка снимается до первоначального значения Р2. Новое положение также отмечается. Средняя отметка между ними характеризует удлинение, соответствующее силе Р2.

.        Измеряют расстояние между верхней и нижней отметками, по которому находят искомое удлинение неприхваченной части бурильных труб, т.е. ∆l.

Для одноразмерной по наружному диаметру и толщине стенки колонны длина ее свободной неприхваченной части определяется в соответствии с законом Гука зависимостью:

                                                   (5.1)

Где L - глубина места прихвата бурильных труб, м;

,05 - коэффициент, учитывающий увеличение жесткости колонны за счет замковых соединений;

Е - модуль упругости (2,1×105 МПа для стали и 0,7×105 МПа для сплава Д16Т), Па;

F - площадь поперечного сечения тела бурильных труб, м2;

 - создаваемая нагрузка при растяжении колонны бурильной трубы, МН;

 - полученное удлинение бурильной колонны, м.

Для многоразмерной комбинированной колонны верхняя граница прихвата рассчитывается из исходной формулы, в которой получена величина суммарного удлинения всех секций колонны выше зоны прихвата Dl в зависимости от приложенной нагрузки DР:

 (4.2)

Где li, Еi, Fi, qi, ri, ni - соответственно длина, модуль упругости, площадь поперечного сечения, масса единицы длины, плотность металла каждой одноразмерной секции, число секций колонны.

Расчетное значение удлинения сравнивается с фактическим удлинением Dlф, получаемым в вышеописанной последовательности. При равенстве расчетного и фактического удлинений длина свободной части колонны определяется по формуле:

                                       (4.3)

Рассмотренный способ применяется в качестве приблизительного, особенно при проходке наклонных и горизонтальных скважин, в которых силы сопротивления при движении колонн велики, поэтому большие погрешности в расчетах неизбежны. Более точно границы прихватов определяются с помощью специальных аппаратов.

4.2 Определение интервалов прихвата с помощью специальной аппаратуры

В практике буровых работ нашли применение прихватоопределители (ПО), индикаторы места прихвата (ИМП), акустические цементомеры (АКЦ) спускаемые на каротажном кабеле. Наибольшее распространение получили прихватоопределители. Конструктивное устройство ПО показано на рис. 5.1.

Рис. 5.1. Прихватоопределитель: 1 - головка корпуса, 2 - электромагнит, 3 - корпус, 4 - днище корпуса

Прибор состоит из электромагнита 2, заключенного в корпус 3 из немагнитного материала. Корпус изолирован сверху головкой 1, а снизу днищем 4.

Принцип действия ПО основан на свойствах ферромагнитных материалов (стальных труб) намагничиваться на продолжительное время и размагничиваться при деформации этих участков труб. Последовательность работ с ПО включает три этапа.

Вначале ПО спускают в предполагаемый интервал прихвата и производят замер естественной намагниченности труб и элементов колонны. Затем путем подачи тока через электромагнит наносятся на трубы контрольные магнитные метки с шагом в 10 м. При этом намагничивается участок трубы длиной 0,15 - 0,20 м.

Вторым замером фиксируется кривая намагниченности вдоль всего участка, на котором ставились магнитные метки. Их необходимо отличать от аномалий замковых соединений. Амплитуда пиков магнитных меток в 4 - 5 раз больше фоновой кривой намагниченности и в 2 - 3 раза больше аномалий замковых соединений.

Перед проведением третьего замера колонну расхаживают с натяжением до собственного веса или пытаются ее провернуть ротором на допустимое расчетом число оборотов. Стальные трубы выше зоны прихвата, подвергшиеся деформации, «теряют» магнитные метки. В зоне прихвата, где трубы не испытывали деформации, метки сохраняются, поэтому граница исчезновения магнитных меток позволяет зафиксировать верхнюю границу прихвата.

ПО применяют также в обсадных и насосно-компрессорных трубах (HKT).

Индикаторы места прихвата (ИМП) позволяют более точно и в один прием определить верхнюю границу прихвата. Принцип действия ИМП основан на регистрации деформаций колонны труб датчиком ИМП, притягиваемым к внутренней поверхности труб многополюсным электромагнитом.

Замеры деформаций производятся параллельно с расхаживанием или проворотом колонны. Обычно бывает достаточно 5-6 замеров для определения границы, на которой деформация труб не происходит.

Некоторое распространение в практике работ по установлению интервала прихвата нашли акустические цементомеры. Они позволяют определять не только верхнюю, но и нижнюю границу прихвата. При этом регистрируют относительную амплитуду продольной волны (Ак), а также время прохождения продольной волны по породе (Тп). Интервал прихвата соответствует максимальным значениям Ак и минимальному времени Тп.

Заключение

Обслуживание и эксплуатация нефтегазовых сооружений и оборудования для добычи нефти и газа является сложным и ответственным делом. Специалист обязан знать не только суть работы всех устройств и инструментов, используемых в данной сфере, но и способы устранения аварий и неисправностей, связанных с поломкой или неисправностью оборудования. Если вовремя не предупредить возникновение аварийных ситуаций, то возможно появление ЧС и других видов аварий, связанных с экологическими проблемами и огромными денежными затратами по их ликвидации. Таким образом, можно отметить, что легче предупредить аварию, чем ее ликвидировать.

Предупреждение аварий состоит главным образом в:

         выполнении инструкций и правил ведения буровых и ремонтных работ специалистами с достаточно высокой квалификацией;

         своевременном техническом обслуживании всего рабочего оборудования;

         постоянном повышении квалификации рабочего персонала;

         использовании качественного, прочного и современного видов оборудования;

         разработке и внедрении новых методов разведки и добычи сырья в сферу нефте- и газодобычи.

Так же в ходе данной работы была рассмотрена экономическая целесообразность проведения ловильных работ как для цеха КРС, так и непосредственно для добычи. Выяснилось, что проведение ловильных работ абсолютно оправданное мероприятие, вследствие их простоты, малой трудоемкости и относительной дешевизны.

Потери нефтяных компаний на проведение ремонтных работ намного меньше, нежели потери от простоя вследствие аварии вызванной «полетом» аварийного элемента в скважину.

Данное мероприятие имеет абсолютную выгоду, как для добычи, так и для цеха КРС, что безусловно является важным фактором для развития данной области ремонтных работ и снижения экономических затрат на их проведение.

геологический пласт нефтегазонасыщенность месторождение

Список литературы


1.      Басарыгин, Ю.М. Осложнения и аварии при бурении нефтяных и газовых скважин / Ю.М. Басарыгин, А.И. Булатов, Ю.М. Проселков - 2000 г.

2.      Пустовойтенко И.П. Предупреждение и ликвидация аварий в бурении. - М.: Недра, 1988. - 279 с.

.        Самотой А.К., Предупреждение и ликвидация прихватов труб при бурении скважин. - М.: Недра, 1979. - 188 c.

.        Самотой А.К. Анализ эффективности способов ликвидации прихватов. - М.: ВНИИОЭИГ, 1983. - 67 с.

.        Яссoв В.Г., Мыслюк М.А. Осложнения в бурении: Справочное пособие. - М.: Недра, 1991. - 334 с.

.        Инструкция по классификации, расследованию и учету аварий при бурении скважин на нефть и газ. - М.: ВНИИОЭНГ, 1979. - 26 с.

.        Инструкция по ОТ при производстве ловильных работ и применении гидравлических домкратов, ЭЛПУ и гидропоясов. ИБП Р-11210-117-05. - Нижневартовск, 2005.

.        Инструкция по борьбе с прихватами колонн труб при бурении скважин. - М.: Недра, 1976. - 67 с.

.        Правила безопасности в нефтяной и газовой промышленности. - М.: Госгортехнадзор России, 1993. - 104 с.

10.    Грузинод «Экономика предприятий» М., «Высшая школа». - 1991.

11.    «Единые нормы времени при проведении КРС».

12.    Кадахидзе «Экономика геологоразведочной области» М., «Недра». - 1989.

.        Сергеев «Экономика предприятий» М., - 1992.

.        Шматов В.Ф., Малышев Ю.М. «Экономика и планирование деятельности предприятий НГП» М, «Недра». - 1990.

15.    Буровые установки. Оборудование, инструмент, запчасти [Электронный ресурс] / Мероприятия по предупреждению аварий. - Режим доступа: http://www.drillings.ru/av-pred.

 

Похожие работы на - Характеристика Пермяковского месторождения

 

Не нашли материал для своей работы?
Поможем написать уникальную работу
Без плагиата!
Без нейросетей!