Подбор парка установок электроцентробежных насосов на месторождении Одопту-море

  • Вид работы:
    Курсовая работа (т)
  • Предмет:
    Геология
  • Язык:
    Русский
    ,
    Формат файла:
    MS Word
    587,97 Кб
  • Опубликовано:
    2013-12-07
Вы можете узнать стоимость помощи в написании студенческой работы.
Помощь в написании работы, которую точно примут!

Подбор парка установок электроцентробежных насосов на месторождении Одопту-море

Введение


Нефть и газ, как наиболее экономичные виды топлива, сейчас занимают ведущее место в топливном балансе индустриально развитых стран, играя, таким образом, определяющую роль в их энерговооруженности.

От темпов и масштабов роста нефтяной и газовой промышленности во многом зависит развитие производства в других отраслях тяжелой индустрии и народного хозяйства. Развитие нефтяной и газовой промышленности в наше стране идёт бурными темпами. Из года в год наращиваются объёмы добычи нефти и газа - ценнейшего сырья для нефтехимической и химической промышленности.

Основой ускоренного планомерного развития нефтяной и газовой промышленности являются,наряду с максимальным использованием природных ресурсов, неуклонный рост производительности труда,максимальное развитие производительных сил при наименьших капитальных затратах.

Для добычи этого ценного сырья применяются различные способы его извлечения из недр земли. В данном дипломе рассмотрена добыча углеводородов на месторождении Одопту-море, где она производится с помощью установок электроцентробежных насосов (УЭЦН).

УЭЦН предназначены для откачки пластовой жидкости из нефтяных скважин и используется для форсирования отбора жидкости. Для надежной работы насоса требуется его правильный подбор к данной скважине. При работе скважины постоянно меняются параметры плата, призабойной зоны пласта, свойства отбираемой жидкости: содержание воды, количество попутного газа, количество механических примесей, и как следствие, отсюда идет недоотбор жидкости или работа насоса вхолостую, что сокращает межремонтный период работы насоса. Исходя из этого встаёт проблема изменения параметров или замены типа электроцентробежных насосов с течением времени.

1. Геолого-промысловая характеристика нефтегазового месторождения Одопту-море

Нефтегазовое месторождение Одопту-море (Северный купол) открыто в 1977 году.

В 1995 г. на основании технико-экономических расчетов была доказана целесообразность освоения Северного купола месторождения как самостоятельного объекта путем разбуривания площади наклонно-направленными скважинами с береговой линии о. Сахалин. С 1998 г. осуществляется пробная эксплуатация скважин согласно индивидуальному плану.

1.1 Краткая характеристика района расположения месторождения

Одоптинское нефтегазовое месторождение расположено на шельфе Охотского моря, на широте северного окончания Пильтунского залива, в 6 - 10 км восточнее берега Сахалина (рисунок 1.1).

Открыто в 1955 году в результате бурения скважины №2. Ближайшими населенными пунктами являются поселки Восточное Эхаби (10 км к северу) и Тунгор (14 км к западу), находящиеся в пределах одноименных эксплуатируемых месторождений нефти и газа.

Территория месторождения представлена прибрежной низменностью Охотского моря и ограничена с севера заливом Одопту, с запада заливом Пильтун и с востока берегом Охотского моря. В большей части это заболоченные участки с многочисленными мелкими озерами. Наиболее возвышенные участки рельефа - древние морские террасы с абсолютными отметками, не превышающими 20 метров, обрывающимися в сторону Охотского моря клифами, переходящими в морской пляж, шириною 20-30 и более метров. Заливы Пильтун и Одопту для судоходства не пригодны, так как глубина их составляет 1-2 метра, а соединение с морем осуществляется часто замывающимися во время штормов узкими протоками.

 

Рисунок 1.1 - Карта размещения месторождений Северного Сахалина

скважина месторождение пластовый

Территория месторождения относится к Северо-Сахалинской низменной климатической зоне, характеризующейся вторжением холодного континентального воздуха зимой и воздушных масс с Охотского моря летом.

Зима суровая, снежная, ветреная, с частыми метелями. Преобладают северо-западные ветры (40%). Зима характерна длительным и устойчивым снежным покровом. Снежный покров устанавливается в конце октября. Максимальной высоты (1,2 м) снежный покров достигает в марте. Разрушение устойчивого снежного покрова происходит в мае. Нормативная максимальная глубина промерзания грунтов - от 2,01 до 2,97 м. В период изысканий максимальная глубина промерзания зафиксирована на глубине 3,9 м в одной из скважин.

Лето холодное, пасмурное. Преобладают ветры юго-восточных направлений. Сильно сказывается влияние холодного Сахалинского течения.

Характерным для теплого периода (апрель-сентябрь) является большая повторяемость туманов с максимумом в июне-июле.

Относительная влажность колеблется в пределах    - 75 - 85%.

Среднегодовое количество осадков       - 546 мм.

Среднегодовая температура воздуха     - 2,4 °С.

Средний из абсолютных минимумов (годовой) температур - минус 34 °С, приходится на январь.

Средний из абсолютных максимумов (годовой) температур + 28 °С, приходится на август.

Местность холмистая, слабопересеченная, низкая по абсолютной высоте.

Сообщение с месторождением Одопту осуществляется по грунтовым дорогам III и IV категорий трудности.

Электроснабжение месторождения осуществляется с города Охи, водоснабжение - из поселка Тунгор.

1.2 Литолого-стратиграфическая характеристика месторождения

Стратиграфия

Стратиграфический разрез района месторождения представлен (снизу-вверх) следующими отложениями:

-        меловой «фундамент»

-        мачигарский горизонт (олигоцен)

         даехуриинский горизонт (олигоцен)

         уйнинско-дагинско-окобыкайский горизонт (верхний-нижний миоцен)

         нутовский горизонт (верхний миоцен-плиоцен)

- четвертичные отложения

Наиболее древней вскрытой частью стратиграфического разреза (скважина 1) является верхнеокобыкайский подгоризонт (N1 ok). Верхняя граница окобыкайского горизонта проводится условно по кровле XXVII пласта. Вскрытая толщина отложений составляет 350 м; по данным сейсморазведочных работ в западном направлении толщина осадков увеличивается до 1000 м, к востоку от месторождения (в пределах Восточно-Одоптинской зоны) составляет около 500 м. Литологически горизонт представлен чередованием пластов песчаников (толщиной от 20 до 40 м) мелко- и среднезернистых, плотных глин и кремнистых, плотных аргиллитов.

Нутовский горизонт (N1 nt) - верхний миоцен-плиоцен. Отложения горизонта вскрыты всеми пробуренными скважинами. Толщина осадков составляет 2100-2300 м, достигая на юго-западе 3000 м и уменьшаясь на восток к Восточно-Одоптинской зоне до 1800-2000 м. В региональном плане горизонт меняется от почти полностью песчаного разреза на западе и северо-западе (Восточное Нутово, Восточный Осой, Горомай) до глинистого на востоке (Даги-море).

Нутовский горизонт подразделяется на два подгоризонта: нижненутовский (IX-XXVI пласты) и верхненутовский («М», «Н», «О», I-VIII пласты).

Нижненутовский подгоризонт (N1 nt1 - верхний миоцен) литологически представлен чередованием сложно построенных пластов песчаников (толщиной от 2 до 60 м), глин и алевролитов. Максимальным содержанием песчаных пород характеризуется средняя часть разреза XII-XXIV пласты (содержание песчаных пород 40-55%) Песчаники серые и светло-серые, средне- и мелкозернистые, хорошо отсортированные, часто алевритовые и глинистые. Глины преимущественно серые и темно-серые, в верхней части разреза мягкие, слабо песчанистые, в нижней части: плотные, аргиллитоподобные. Алевролиты серые, светло-серые, разнозернистые, плотные, иногда переходящие в мелкозернистые песчаники. Толщина отложений подгоризонта на площади составляет 1000-1300 м, в прогибах возрастает до 1800 м, уменьшаясь на восток (к Восточно-Одоптинской зоне) до 400-500 м. Одновременно с уменьшением толщины осадков происходит их глинизация.

К средней части разреза нутовского подгоризонта (XX-XXI2 пластам) приурочены все установленные залежи углеводородов на месторождении. В процессе детальной корреляции разрезов скважин с учетом интерпретации сейсмоматериалов 3Д на месторождении выделено четыре продуктивных пласта XX12, XX2, XXI1, XXI2 с доказанной промышленной нефтегазоносностью, в пласте XX3 залежь нефти предполагается по материалам ГИС. Все продуктивные пласты объединяются в общую пачку - XX и XXI пласты; для удобства промысловой номенклатуры каждый из них именуется «пласт».

Верхненутовский подгоризонт - N2nt (плиоцен).

Отложения верхненутовского подгоризонта сложены песчаными пластами “М”,”Н”, “О”, I-VIII. Осадки подгоризонта отлагались в бассейне на глубинах 50-150 м. В своде структуры толщина осадков подгоризонта составляет 750 м.

В результате детальной корреляции разрезов скважин, пробуренных в период с 1996 по 2005 гг. с учетом материалов сейсморазведки 3Д, изменена корреляция продуктивных пластов, что отражено в табл. 1.

Таблица 1 - Сопоставление номенклатуры продуктивных пластов, числящейся на балансе и использованной при пересчете запасов

Номенклатура продуктивных пластов, применяемая с 1985 по 2002 гг.

Уточненная номенклатура продуктивных пластов

-

XX1 2 (2 прослой)

XIX1

XX2

XX2

XX3

XX3

XXI1

XXI1 -XXI2


Тектоника

В тектоническом плане Одоптинская антиклинальная складка приурочена к Одоптинской мегантиклинали, размеры которой 32´6,5км. Структура субмеридионального простирания, слегка асимметрична. В приосевой части структуры углы падения пород составляют 2-3˚, по мере удаления от оси на западное крыло, углы падения изменяются от 5˚ до 17˚, на восточном - 3-7˚. Шарнир мегантиклинали ундулирует с образованием трех куполов: Северного, Центрального и Южного. Северный купол через седловину сочленяется с Центральным куполом, входящим в лицензионный участок проекта Сахалин-1. Размеры Северного купола составляют 11 ´ 4 км. В широтном сечении структура асимметрична: западное крыло несколько круче восточного. Углы падения пород на восточном крыле составляют около 5˚, западном - до10˚

В пределах Северного купола выделены три разломные зоны в интервале глубин от 500 до 2000 м. Данные нарушения относятся к грабенообразующему типу и очень немногие из них секут основные нефтяные пласты. В пределах первой зоны выделяется наиболее крупное нарушение сбросо-сдвигового характера - сброс №1. Нарушение протягивается с юго-запада на северо-восток через свод купола и прослеживается по всему разрезу. Вертикальная амплитуда нарушения вне возможностей разрешающей способности сейсморазведки. Сброс 1 не подсечен скважинами, но в процессе гидродинамических исследований скважины 204 установлено возможное присутствие непроницаемого экрана на расстоянии 30-40 м от скважины. Сброс экранирует залежь нефти XX12 пласта на юго-востоке, о чем свидетельствует отсутствие нефтенасыщения в скважинах примыкающего блока (скважины 1, 209).

Сброс №2 установлен по сейсмоматериалам 3Д, имеет незначительную амплитуду, но его экранирующие свойства подтверждаются различием границ продуктивности блоков 2 и 3, а так же существованием газовой шапки залежи XXI2 пласта в 3 блоке. Ослабленные нарушениями зоны могли заполняться непроницаемыми осадками, создавая литологические экраны, разделяющие песчаные тела на отдельные гидродинамически несвязанные залежи.

Нефтегазоносность

На месторождении установлено 13 залежей в XX12, XX2, XX3, XXI1 и XXI2 пластах из них 4 газонефтяные, 9 нефтяных.

По величине извлекаемых запасов нефти и газа месторождение относится к категории мелких, очень сложного геологического строения: присутствуют одно- и двухфазные залежи, которые характеризуются как наличием литологических замещений, так и невыдержанностью по площади толщин и коллекторских свойств продуктивных пластов, осложнены тектоникой. По фазовому состоянию залежи углеводородов относятся к нефтяным (XX2, XX3), нефтяным с газовой шапкой (XX12, XXI1, XXI2). По строению коллектора в ловушке к пластовым, по типу коллектора - к поровым, по типу экрана в ловушке - к сводовым и частично тектонически- и литологически экранированным. По величине рабочих дебитов залежи относятся к мало- и средне дебитным, к залежам с высоким пластовым давлением (136 - 173 кгс/см2). Максимальная высота залежей характерна для I блока XXI1, XXI2 пластов - 260-254 м, минимальная (XX12) - 87м. Характеристика залежей, их размеры, принятые отметки ГНК и ВНК, средние толщины пластов коллекторов приведены приложении 1.

В 1 блоке залежь установлена по признакам насыщения керна в скважине 201/203, предполагается по результатам интерпретации комплекса ГИС в скважинах 202, 204, 208, 210, доказана опробованием скв.210, где из интервала перфорации 5097-5160 м (абсолютные отметки 1361.1-1375 м) совместно с XX12 пластом, получен приток нефти. За водонефтяной контакт в блоке принята отметка подошвы пласта в скважине 201/203 -1501 м. Залежь нефти пластовая, сводовая, тектонически-экранированная, высота - 176 м, ширина водонефтяной зоны до 200 м, средняя толщина нефтенасыщенного коллектора - 4.1- 6.9 м.

В блоке 2 пробурены скважины 1, 209, 201/203, 205, 215. В скважине 1 пласт опробован в интервале перфорации 1402.8-1412 м (абсолютные отметки -1373-1382 м), получен приток безводной нефти с дебитом 11.4 м3/сут., в остальных скважинах нефтенасыщенность пласта предполагается по ГИС. За ВНК в блоке принята отметка подошвы коллектора в скважине 205 - 1485 м. Залежь нефти пластовая, сводовая, тектонически-экранированная, высота залежи 160м, ширина водонефтяной зоны до 250 м, средние нефтенасыщенные толщины изменяются от 7.6 до 12.1 м.

В 3 блоке залежь вскрыта скважинами 217, 216, 3. Пласт опробован в скважине 3 в интервале перфорации 1536-1548 м (абсолютные отметки 1507,5-1519,5 м), получен приток воды с нефтью дебитом 22.1 м3/сут., содержание нефти до 15%., что свидетельствует о близости ВНК. В скважине 216 пласт залегает на глубинах 4318-4413.5 м (абсолютные отметки 1502.6-1527.2 м), по результатам интерпретации ГИС продуктивен до глубины 4333 м (абсолютная отметка -1506 м). В скважинах 211, 212, 207 объект оценивается по ГИС как водоносный. За ВНК в блоке принята отметка -1506м, что не противоречит результатам опробования скважины 3.

Залежь нефти пластовая, сводовая, тектонически экранированная, высота залежи 81 м, ширина водонефтяной зоны от 50 до 500 м, средняя нефтенасыщенная толщина 7.6-9.2 м.

XX3 пласт хорошо коррелируется в скважинах, развит в сводовой части купола, общая толщина пласта изменяется от 2.6 до 14 м, толщина коллектора от 0 (в зоне замещения) до 7.6 м. Характеризуется песчанистостью 0.4, расчлененность 4.4.

По результатам интерпретации ГИС коллектор насыщен в 1 блоке в скважинах 204, 202, 210, 211. Граница нефтеносности проведена по подошве насыщенного прослоя в скважине №211 на абсолютной отметке -1543 м. Залежь нефти пластовая, сводовая, тектонически-экранированная. Высота залежи 143 м, ширина водонефтяной зоны 75-100 м, средняя нефтенасыщенная толщина 1.56 м.

Во 2 блоке пласт предположительно продуктивен по ГИС в скв. 208, 209, 1, 201/203, 205, 215. За ВНК в блоке принята отметка подошвы пласта в скв. 205 -1536м. Высота залежи 111 м, ширина водонефтяной зоны до 100 м, средняя насыщенная толщина коллектора 2.0-2.5 м.

В 3 блоке предполагается продуктивность пласта в скважине 217, за ВНК в блоке принята отметка подошвы пласта в скважине -1538 м. Высота залежи 13 м, ширина водонефтяной зоны до 250 м, средняя насыщенная толщина коллектора 2.0-3.1 м.

XXI1 пласт представлен чередованием песчано-глинистых и алевритовых разностей пород, состоит из трех прослоев коллектора. Общая толщина пласта изменяется от 7 до 27 м, толщина коллектора - от 0 (в зоне замещения) до 14.2 м. Максимальные толщины приурочены к западному крылу складки. Пласт совместно с нижележащим XXI2 характеризуется низким показателем песчанистости 0.36, высокой расчлененностью, равной 10. Сбросами 1 и 2 структурно-литологическая ловушка разделена на три залежи.

В 1 блоке залежь вскрыта и опробована скважинами 1, 9, 210, 211, 212, 204, 202. Из них в скважинах 9, 210, 204, 211, 212 пласт опробован совместно с XXI2. В скважине 9 получен слабый приток безводной нефти с дебитом 2.7 м3/сут, что свидетельствует о низких фильтрационно-емкостных свойствах XXI1 и XXI2 пластов в ней. При опробовании пластов в скважинах 204 и 210 получен приток нефти с газом (газовый фактор в скв. 210 -2339 м33). С учетом интерпретации ГИС и опробования газонефтяной контакт принят на отметке-1457 м. ВНК в блоке принят на отметке -1710 м, что доказано результатами опробования скважины 9, соответствует результатам интерпретации ГИС и отметке ВНК, принятой при утверждении запасов в 1984г.

Залежь тектонически экранированная, с частичным литологическим ограничением на востоке. Размеры залежи 3.25´4.5 км, высота нефтяной оторочки 253 м, ширина водонефтяной зоны до 120 м, газонефтяной -1200 м, средняя эффективная нефтенасыщенная толщина коллектора изменяется от 1.6 до 4.8 м, газонасыщенная - 4.7 м.

Газонефтяная залежь 2 блока вскрыта скважинами 1, 208, 209, 201/203, 205, 215, 221, 224.

Опробование пласта проведено во всех скважинах, при чем в скв. 201/203, 215 совместно с XXI2 пластом. Все скважины, кроме скв.1, находятся в эксплуатации. При опробовании пласта в скважинах 209 и 208 получен приток нефти с газом, при этом в первой был зафиксирован высокий газовый фактор -1273,8 м33, во второй - 334 м33. Данный факт свидетельствует о существовании газовой шапки в сводовой части блока. Граница газонасыщения принята на абсолютной отметке - 1466 м, что соответствует результатам опробования и данным ГИС. За ВНК залежи принята граница нефтенасыщения в блоке, проведенная по подошве проницаемого насыщенного прослоя скважины 224 -1702м, в результате опробования которого получен приток нефти.

Залежь газонефтяная, тектонически экранированная, с частичным литологическим ограничением на востоке. Размеры залежи 1.75´4.25 км, высота нефтяной оторочки - 236 м, ширина газонефтяной зоны 1000 м, водонефтяной - до 125 м, средняя нефтенасыщенная толщина коллектора в блоке изменяется от 3.4 до 6.0 м, газонасыщенная - 3.5 м.

Залежь нефти в 3 блоке вскрыта и опробована скважинами 3, 207, 216, 226, 229, в скв. 206 пласт продуктивен по ГИС. В скважинах 207, 226, 229 опробование и эксплуатация пласта ведется совместно с XXI2. В скважине 207 (пилотный ствол) пласт продуктивен по ГИС; по подошве пласта в скважине принята граница нефтенасыщения в блоке -1702 м.

Пласт в блоке имеет незначительные эффективные толщины (в среднем 2.8-3.3 м), литологически изменчив по площади залежи, в восточном направлении (скважина 217) и в районе скважин 216, 229 происходит ухудшение коллекторских и фильтрационно-емкостных свойств пласта.

Нефтяная залежь тектонически экранированная, с частичным литологическим ограничением на востоке, имеет размеры 3´5 км, высота - 143 м, ширина водонефтяной зоны до 250 м, средняя толщина нефтенасыщенного коллектора -2.8-3.3 м.

XXI2 пласт литологически изменчив по площади, состоит из набора песчаных тел, ограниченных по площади, картирование которых весьма затруднено. Вскрытые общие толщины пласта максимальны на западном крыле, минимальны на восточном крыле и сводовой части 3 блока, изменяются от 5 до 30 м. Толщины коллектора изменяются от 14.2 до 0 м (в зоне замещения), достигают максимума в сводовых и западных частях блоков

В пределах ловушки установлено наличие трех залежей.

Залежь 1 блока опробована и эксплуатируется совместно с XXI1 пластом скв. 204, 210, 211, 212. Граница насыщения в 1 блоке проведена по отметке нижнего отверстия перфорации пласта в скважине 9 - 1721 м

Залежь нефти пластовая сводовая, тектонически экранированная с частичным литологическим ограничением на востоке. Размеры залежи 4.25´3.75 км, высота -246 м, ширина водонефтяной зоны до 75 м, средняя толщина нефтенасыщенного коллектора -1.6-1.8 м.

В блоке 2 XXI2 пласт находится в совместной эксплуатации с XXI1 скв. 201/203, 205, 215. Первоначально в скважине 224 пласт был опробован совместно с XXI1 пластом, получен приток воды с нефтью. По результатам интерпретации ГИС в интервале XXI2 пласта отмечаются низкие нефтенасыщенности (в среднем 44-45%). Возможно, близко расположенный от подошвы скважины ВНК явился причиной притока воды. После изоляции пласта, скважина заработала чистой нефтью из вышележащего объекта - XXI1.

ВНК залежи проведен по кровле пласта в скважине 224 на отметке -1707 м, что не противоречит результатам опробования и ГИС. Залежь нефти пластовая, сводовая, тектонически экранированная сбросами 1 и 2, на востоке имеет литологическое ограничение. Размеры залежи 4.0´2.4 км, высота -232 м, ширина водонефтяной зоны от 100 до 400 м, средняя эффективная толщина нефтенасыщенного коллектора 4.9-5.7 м.

В 3 блоке пласт вскрыт скважинами 3, 207, 207г, 216, 217, 206, 226, 227, 229, опробован и разрабатывается совместно с залежью XXI1 пласта скважинами 216, 226, 229, отдельно XXI2 пласт эксплуатируется скважиной 227. В скважине 3 пласт опробован в интервале 1691-1719 м (абсолютные отметки - 1662,5 - 1677,5 м), получен приток воды с признаками нефти, расчетный дебит 11 м3/сут при динамическом уровне 970 м.

В скважине 217 из интервала пласта получен фонтанный приток газа. Газонефтяной контакт установлен по результатам опробования и исследования скважины 217 и принят на отметке -1580 м, что соответствует подошве коллектора в скважине, подтверждено расчетом (по графику градиентов пластовых давлений, замеренных в скважине 217, и нефтяной части залежи в скважине 3). Газожидкостный контакт отмечается так же по некоторым характерным признакам по сейсмическим материалам в пределах изогипсы 1600 м.

Самая низкая абсолютная отметка притока чистой нефти соответствует нижнему отверстию интервала перфорации скважины 227 -1670 м. В III блоке отмечается уменьшение общих и эффективных толщин пласта, в районе скважин 206, 217, 227, 229 установлена зона ухудшенных коллекторских свойств.

Газонефтяная залежь 3 блока пластовая, тектонически экранированная, с частичным литологическим ограничением на востоке. Размеры залежи 2.8´5.0 км, высота газовой шапки 18 м, нефтяной оторочки -90 м. Ширина газонефтяной зоны до 400 м, водонефтяной до 1000 м (в районе скважины 3). Средняя газонасыщенная толщина пласта -2.1-3.5 м, нефтенасыщенная толщина пласта в блоке изменяется от 3.3 до 7.6 м. По показателю песчанистости (0.35) коллектора XXI1-XXI2 пластов относятся к 3 типу - доля гидродинамически связанных коллекторов менее 50%, расчлененность равна 10.

Физико-гидродинамические характеристики продуктивных пластов

Коллектора месторождения имеют средние и низкие фильтрационно-емкостные свойства, которые обусловлены преимущественным развитием тонко- и мелкозернистых песчаников, алеврито-песчаников, алевролитов с глинистостью более 15%. Нижние пределы коллекторских свойств для разделения пород на коллектор-неколлектор в стандартных и пластовых условиях приведены в таблице 2.

Таблица 2 - Нижние пределы проницаемости, пористости, нефтенасыщенности и объемной глинистости при нормальных и пластовых условиях

Параметр

Для нефтенасыщеного коллектора

Для газонасыщеного коллектора


При нормальных условиях*

При пластовых давлениях

При нормальных условиях*

При пластовых давлениях

Проницаемость, мкм2х10-3

8

6,2

2,7

1

Пористость,%





по керосину

19,34


17


по гелию


18,49

16,6

14,1

Остаточная водонасыщенность,%

60


65,5


Глинистость,%

23,2


27


Объемная глинистость, доли ед.

0,187

0,189

0,225

0,23

Относительная глинистость, доли ед

0,492

0,505

0,57

0,62


Исследования керна в условиях, моделирующих пластовые, включали в себя два различных эксперимента: определение коэффициента нефтевытеснения и фазовых проницаемостей. Исследованию подвергались образцы керна XXI пласта из скважины №17.

Исследования по определению коэффициента нефтевытеснения проводились при постоянной скорости закачки вытесняющего агента. Линейная скорость течения не превышала 2 м/сут для образцов с проницаемостью до 0,1 мкм2, и 5 м/сут для образцов с проницаемостью выше 0,1 мкм2. В качестве флюидов использовались раствор NaCl концентрацией 43г/л и очищенный керосин, с вязкостью 1,07 МПа с и плотностью 0,795г/см3.

Результаты моделирования процесса вытеснения нефти водой показали что коэффициент нефтевытеснения в XXI пласте варьирует в пределах от 0,01 до 0,72.

1.3 Физико-химические свойства пластовых жидкостей и газов

Нефть

Физико-химические свойства нефтей XXI1, XXI2 и XX12-XX2 пластов охарактеризованы по результатам исследования 171 пробы сепарированных нефтей, отобранных в поверхностных условиях из 10 горизонтальных скважин, пробуренных в период с 1998 по 2004 гг., и вертикальных скважинах № 1, 3, пробуренных с морской буровой платформы в 1977-1978 гг.

Исследование нефти в пластовых условиях по скважине № 3 было проведено в г. Даллас (США).

В поверхностных условиях нефти XXI1, XXI2 и XX12-XX2 пластов имеют близкие физико-химические свойства и относятся к легким, малосмолистым, малосернистым, малопарафинистым, маловязким. Плотность изменяется от 0,837 до 0,857 г/см3, вязкость при 200С - от 2,75 до 3,86 сСт. Содержание парафина низкое - 0,7 - 1,34%, серы -0,20-0,31%, смол силикагелевых -3,5-11,3% (в среднем 5%), асфальтенов - 0,3-0,8% (в среднем 0,4%). Температура кипения нефти -50-760С, выход бензиновых фракций до 2000С - 36-43%, светлых до 3000С - 63-74%.

По площади XXI1 пласта в зависимости от расположения скважин на структуре отмечаются незначительные различия в свойствах нефтей. С востока на юго-запад по пласту происходит возрастание плотности нефти от 0,839 (скважина № 1) до 0,850-0,853 г/см3 (скважины № 202, 215). С юга на север по пласту, плотность нефти также возрастает с 0,838 (скважина № 3) до 0,852 г/см3 (скважина № 211).

В групповом углеводородном составе бензиновой фракции преобладают метановые углеводороды, содержание которых составляет 38,7-42,8%. Нафтеновые и ароматические углеводороды содержатся в значительных количествах - 30,1-34,5 и 23,4-26,8% соответственно. Нефти XX11 и XX12-XX2 пластов по классификации Ботневой Т.А. относятся к метановым, по А.А.Петрову (результаты газохроматографических исследований) - к типам А1 и А12. Формула нефти по Т.А. Ботневой - I.1См1Ср1Пр1. Индекс нефти, согласно ОСТ 38.01197-80 - 1.1.2.4.1.

Свойства нефти в пластовых условиях приведены а приложении 3. Давления насыщения по всем залежам приняты равным пластовым 14,76 -17,31 МПа. Нефть XXI1 пласта в пластовых условиях имеет плотность 741-751 кг/м3 и растворяет 87-91 м33 газа относительной плотности 0,616-0,617, объемные коэффициенты 1,224 - 1,261 и коэффициенты растворимости 5,01-5,6 м33*МПа-1. Динамическая вязкость нефти 0,55-0,74*10-3 Па*c.

По результатам исследования пластовых и сепарированных нефтей, можно отметить следующее:

в начальных пластовых условиях нефти полностью насыщены газом, то есть имеют давление насыщения равное начальным пластовым давлениям;

в поверхностных условиях нефти близки по физико-химическим свойствам,

наблюдаемый некоторый разброс параметров для нефтей в пластовых условиях связан с расположением скважин на структуре.

Состав и свойства природного газа

Компонентный состав растворенного в нефти газа исследован на 64 пробах из 10 скважин. Результаты по скважине №1 получены в лаборатории СО ВНИГРИ. Пробы газа из скважины № 3 исследовались в лабораториях г. Далласа (США) и института СахалинНИПИморнефть". Состав и свойства растворенного газа, отобранного из горизонтальных скважин, вскрывших XXI1 и XX12-XX2 пласты, изучены в Аналитической лаборатории “СахалинНИПИморнефть” (Приложение 4).

В составе газов содержится 90,3 - 95,3% метана, 5,1-8,4% тяжелых углеводородов. Среди тяжелых углеводородов основным компонентом является этан- 3,4 - 5,6%, количество пропана составляет 0,7 - 1,6%, бутанов - 0,4 - 1,5%, пентанов 0,1 - 0,8%, гексанов от следовых количеств до 0,4%. Содержание гомологов метана убывает в ряду: С2Н6, С3Н8, С4Н10, С5Н12. Содержание азота не превышает 0,3%, углекислого газа - 0,4%. Исключением является газ из скважины № 1, в котором низкая (2,37%) доля тяжелых углеводородов и повышенное содержание углекислого газа до 2%. В изученных пробах не определялись инертные газы и водород, присутствие сероводорода не обнаружено.

Согласно геохимической классификации газов газонефтяных залежей по И. С. Старобинцу, растворенный газ XXI1,XXI2 и XX12-XX2 пластов относится к классу сухих и полужирных, газ низкоазотный, низкоуглекислый, не содержащий сероводорода.

Товарные свойства нефтей охарактеризованы по данным углеводородного состава и общим физико-химическим свойствам нефтей. Потенциальное содержание фракций, выкипающих до 200 и 3000С, составляет 40,6-47 и 70-79,5% массы соответственно. Значительные содержания во фракции (н.к.-2000С) ароматических углеводородов (23,4-27,6%) и низкие н-алканов (по данным газовой хроматографии), обуславливают высокие октановые характеристики бензина. Прямогонные фракции могут быть без парафинизации использованы в качестве базовых компонентов автомобильных бензинов. В то же время высокое содержание нафтеновых углеводородов (30,1-34,5%) и низкое серы свидетельствуют о том, что фракции, можно подвергать каталитическому риформингу для получения ароматических углеводородов. Фракция 200-4000С, может быть использована в качестве компонентов дизельных топлив. Помимо традиционного применения природного газа для энергетических и коммунально-бытовых целей, растворенный в нефти газ XXI1 пласта может быть использован в высокотемпературных процессах, т.к. обладает высокой теплотворной способностью Qн - 33660 - 41980 кДж/м3, Qв- 37300 - 46240 кДж/м3 и содержит небольшое количество балластных газов. Наличие в исследованном газе тяжелых углеводородов: этана, пропана, бутанов, позволяет рассматривать его не только в качестве топлива, но и как ценное сырье для производства метанола, этилена, пропилена, а также ацетилена.

Состав и свойства конденсата

В XXI1 пласте из пластового газа скважины № 217 был получен легкий конденсат, который имеет плотность 0,756 г/см3 (в среднем), вязкость 0,81сП, закипает при 580С, выход до 2000С составляет 90%. Для конденсата характерны низкие содержания парафина (0,06%), серы (0,02%), силикагелевых смол (0,24%), асфальтенов (0,02%). По групповому углеводородному составу, согласно типизации И. С. Старобинца, конденсат относится к метано-нафтеновому типу, и содержит 48% метановых, 39% нафтеновых углеводородов. Состав пластового газа получен на основе газа сепарации с введением расчетной доли углеводородов С5+. При дебите 368.7 тыс.м3/сут. газа и 22.5 м3/сут конденсата выход сырого конденсата составит 61 см/м3, выход стабильного конденсата составит 30г/см3, а величина потенциала С5+ с учетом остаточной концентрации С5+ в газе сепарации составит как минимум 40г/м3. В мольном выражении С5+ составит 0,874, мольная доля сухого газа в пластовом - 0.991. Коэффициент извлечения конденсата, судя по температуре выкипания 90%-200град. С, в соответствии с действующей инструкцией - 0.92.

Состав и свойства пластовых вод

В гидрохимическом отношении месторождение Одопту-море, как и близко расположенные на побережье месторождения Одопту и Восточное. Эхаби, приурочено к поясу развития наиболее сложной зональности с распространением вод с максимальной для Северо-Сахалинского бассейна минерализацией (20 - 35 г/л).

Верхняя, преимущественно песчаная, толща I-го водоносного комплекса характеризуется зоной развития вод морского происхождения с концентрацией солей до 35 г/л.

Зона соленых вод с концентрацией солей 27 г/л присуща зоне замедленного водообмена и частично распространяется на верхнюю часть (XIX, ХХ пласты) основного продуктивного III комплекса. Для XIX1 продуктивного пласта отмечается незначительное снижение минерализации воды по простиранию и в восточном направлении, до 22,3 г/л. Состав подземных вод этой зоны хлоридный, натриевый с отношением натрия к хлору 0,93 - 1,00. Преимущественное развитие имеют воды хлоркальциевого типа. Реже встречаются воды хлормагниевого типа. Воды обогащены сульфатами - 64 - 422 мг/л при показателе rSO4•100 / rсl = 0,3 - 2,08. В районе XXI1, XXI2 пластов минерализация пластовых вод снижается от 19,1 - 19,9 г/л до 13,3-16,1 г/л в районе XXIV2 пласта (таблица 3.1).

Содержание специфических микрокомпонентов в этих водах не превышает фоновых значений: йода - 2 - 22 мг/л; брома - 48 - 84 мг/л; бора - 15 - 31 мг/л.

По фактическим данным о составе вод III комплекса месторождения Одопту-море, со стратиграфической глубиной снижается содержание хлоридов (от 10,5 - 11,5 г/л в водах XXI пласта до 7,0 - 8,5 г/л в водах XXIV2 пласта) и сульфатов и возрастает содержание гидрокарбонатов (от 0,5 - 1,0 г/л до 1,5 - 2,5 г/л).

Запасы нефти, газа и конденсата

Начальные запасы нефти, газа и конденсата утверждены ГКЗ МПР РФ в 2006г. (протокол №1322 от 29.12.06г.) в объеме:

нефть категории С1  тыс.т,

категории С2  тыс.т;

растворенный газ категории С1 млн. м3,

категории С2  млн. м3;

газ газовой шапки категории С1 301 млн.м3,

категории С2 101 млн. м3;

конденсат категории С1 12/11 тыс.т, С2 4/4 тыс.т.

где:

Числитель - балансовые запасы углеводородов

Знаменатель - извлекаемые запасы углеводородов

2. Технико-технологический раздел

.1 Краткая характеристика показателей разработки месторождения

При проектировании разработки морских месторождений шельфа, расположенных в условиях арктических морей при дрейфующих льдах, выявлены следующие особенности:

1 выбор вида основных сооружений для обустройства площади: морские ледостойкие стационарные платформы, искусственные острова, подводно-устьевые комплексы и кустовое бурение с берега острова при условии технической возможности их проводки;

2 ограниченное число сооружений для ведения процесса разработки.

3 ограниченное число скважин в связи с высокой их стоимостью.

Отсюда, основной задачей проектирования разработки многопластового месторождения, в результате решения которой принимается рациональный вариант его разработки, являются задачи оптимального распределения добычи нефти по эксплуатационным объектам, отдельным участкам месторождения и нахождению оптимальных решений по обустройству площадей с учетом предъявляемых технических и экологических требований.

Выбрано освоение Северного купола Одоптинского месторождения наклонно-направленными скважинами с береговой части острова.

Опыт проектирования разработки морских нефтегазовых месторождений Сахалина свидетельствует о необходимости применения редкой сетки скважин.

Проектирование разработки осуществлено при заданных энергетических ресурсах месторождения.

С 1998 г. эксплуатация скважин осуществлялась согласно индивидуальному плану.

С 2001 г. разработка залежи осуществляется на естественном режиме при сетке скважин 1000х1000м при депрессии на пласт 3,5 МПа.

2.2 Анализ работы механизированного фонда скважин

В 2003 г скважины переведены с фонтанного способа эксплуатации на механизированную эксплуатацию установками погружных электроцентробежных насосов.

По состоянию на 01.01.2007 эксплуатационный фонд скважин описан в таблице

Наименование

Характеристика фонда скважин

Количество скважин

Фонд добывающих скважин

Всего

25


В том числе:



Добывающие

19


Нагнетательные

6


ЭЦН

19


Ликвидированные

0


За 2006 год было добыто:

нефти - 641,438 тыс. т.

воды - 2,372 тыс. т

газа - 122927,2 млн. м3

2.3 Конструкция и принцип, условия работы оборудования УЭЦН

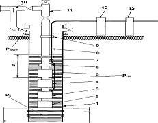
УЭЦН состоит из погружного агрегата, оборудования устья, электрооборудования и НКТ (рисунок 2).

Погружной агрегат включает в себя электроцентробежный насос, гидрозащиту и электродвигатель. Он спускается в скважину на колонне НКТ, которая подвешивается с помощью устьевого оборудования, устанавливаемого на колонной головке эксплуатационной колонны. Электроэнергия от промысловой сети через трансформатор и станцию управления по кабелю, прикрепленному к наружной поверхности НКТ крепежными поясами (хомутами), подается на электродвигатель с ротором которого связан вал центробежного электронасоса (ЭЦН). ЭЦН подает жидкость по НКТ на поверхность. Выше насоса установлен обратный шаровой клапан, облегчающий пуск установки после ее простоя, а над обратным клапаном- спускной клапан для слива жидкости из НКТ при их подъеме. Гидрозащита включает в себя компенсатор и протектор.

Рисунок 2 - Технологическая схема УЭЦН

- эксплуатационная колона

- компенсатор;

- электродвигатель;

- протектор;

- центробежный электронасос;

- обратный и спускной клапаны;

- НКТ;

- электрический кабель;

- крепежный пояс;

-обратный перепускной клапан;

- оборудование устья;

- станция управления;

- трансформатор.

Погружной насос, электродвигатель и гидрозащита соединяются между собой фланцами и шпильками. Валы насоса, двигателя и гидрозащиты имеют на концах шлицы и соединяются между собой шлицевыми муфтами.

Насос погружают под уровень жидкости в зависимости от количества свободного газа на глубину до 250-300 м, а иногда и до 600 м.

В зависимости от поперечного размера погружного агрегата УЭЦН подразделяют на три условные группы 5, 5А и 6 с диаметрами соответственно 92, 103 и 114 мм. Они предназначены для эксплуатации скважин с внутренними диаметрами эксплуатационных колонн соответственно не менее 121,7; 130; 144,3 мм, а установки УЭЦН 6-500-1100 и УЭЦН 6-700-800 - для скважин диаметром эксплуатационной колонны 148,3 мм.

Основные узлы установок ЭЦН.

Центробежные электронасосы - это погружные, центробежные, секционные, многоступенчатые насосы.

Секции насоса связанные фланцевыми соединениями, представляют собой металлический корпус, изготовленный из стальной трубы длиной до 5,5 м. В корпус секции вставляется пакет ступеней, представляющий собой собранные на валу рабочие колёса и направляющие аппараты. Число ступеней колеблется от 127 до 413 (рисунок 3).

Рисунок 3 - Разрез корпуса ЭЦН

Снизу в корпус ввинчивается основание насоса с приёмными отверстиями и фильтром-сеткой, через которые жидкость из скважины поступает в насос.

В верхней части насоса находится ловильная головка, в которой расположен обратный клапан и к которому крепятся НКТ.

Погружной электродвигатель.В качестве привода насоса используется погружной, трёхфазный, асинхронный с короткозамкнутым многосекционным ротором вертикального исполнения, маслонаполненный электродвигатель типа ПЭД. Погружной электродвигатель состоит из статора, ротора, головки и основания.

Двигатель заполняется специальным, маловязким, высокой диэлектрической прочности маслом, служащим, как для охлаждения, так и для смазки.

Погружные электродвигатели имеют следующие шифры: ПЭД 125-138АВ5, где 125 - номинальная мощность, кВт (16-125 кВт); 138 - диаметр корпуса, мм (103-138); АВ5 - серия двигателя. При работе электродвигателя серии АВ5 температура окружающей среды не должна превышать 50-70°С.

Гидрозащита предназначена для защиты ПЭД от проникновения в его полость пластовой жидкости. Она состоит из протектора и компенсатора.

Протектор устанавливается между ЭЦН и ПЭД. Протектор обеспечивает смазку упорного подшипника, который воспринимает осевую нагрузку от вала ЭЦН, и защищает ПЭД от проникновения в его полость скважинной жидкости.

Компенсатор присоединяется к основанию ПЭД. Он защищает ПЭД от проникновения в его полость скважинной жидкости.

Кабель. С поверхности до погружного агрегата подводят питающий, полиэтиленовый, бронированный круглый кабель (типа КПБК), а в пределах погружного агрегата - плоский (типа КПБП). Переход от круглого кабеля к плоскому производится горячим способом в пресс-формах. Строительная длина кабеля составляет 800-1800 м.

Станция управления обеспечивает включение и отключение установки, самозапуск после появления исчезнувшего напряжения и аварийное отключение (перегрузки, короткое замыкание и др.).

Станция управления типа ШГС - 5804 предназначена для управления УЭЦН с электродвигателем мощностью до 100 кВт, а комплектное устройство типа КУПНА - 79 -свыше 100 кВт.

Трансформаторы повышают напряжение подачи электроэнергии от напряжения промысловой сети (380 В) до напряжения питающего тока в ПЭД (350-6000 В) с учётом потерь напряжения в кабеле. В настоящее время используются силовые с масляным охлаждением трансформаторы типов ТМП и ТМПН и комплектные специальные трансформаторные подстанции типов КТП и КТППН. Они предназначены для установки на открытом воздухе. Трансформаторы подбирают по типу погружного электродвигателя.

Оборудование устья скважины обеспечивает муфтовую подвеску НКТ, герметизацию устья (вывод кабеля и НКТ), подачу продукции и регулирование режима эксплуатации, и возможность проведения различных технологических операций.

При подборе УЭЦН к скважине руководствуются паспортной (заводской) характеристикой насоса - зависимостями напора Н, потребляемой мощности N и коэффициента полезного действия з от подачи Q насоса. Вероятная характеристика работы насоса в конкретной скважине может существенно отличаться от паспортной вследствие качества изготовления насоса, отличия вязкости откачиваемой жидкости от вязкости воды и наличия в продукции скважины свободного газа.

2.4 Осложнения при эксплуатации скважин, оборудованных УЭЦН

Основными осложняющими факторами влияющими на наработку на отказ ЭЦН являются:

1. Засорение насоса мехпримесями из пласта и высокое содержание парафина в добывающей продукции.

Нефти многих нефтяных месторождений парафинистые. В таких нефтях содержание парафинов превышает 2%. В нормальных условиях парафины являются твердыми кристаллическими веществами, в пластах они чаще всего встречаются растворенными в нефти.

Асфальто-смолистые парафиноотложения (АСПО) - это компоненты нефти представляющие смесь высокомолекулярных соединений, в состав которых входит: азот, сера, кислород и металлы. Отложения асфальто-смолистытых парафиновых веществ (АСПВ) наблюдается на стенках насосно-компрессорных труб (НКТ) и зонах малой скорости потока у штуцеров, муфт и других местах гидравлического сопротивления потоку.

Основной причиной образования парафиноотложений является охлаждение газонефтяного потока до температур, меньших температуры насыщения нефти парафином вследствие разгазирования пластовой нефти и теплообмена.

Интенсивность парафиноотложения зависит от следующих факторов:

1)   физико-химических свойств;

2)   наличия высокого газового фактора;

3)   низкой продуктивности пластов;

4)   темпов обводнения;

5)   наличия слоёв многолетнемёрзлых пород;

6)   термодинамических условий залегания.

Подъем нефти от забоя скважины до устья и ее дальнейшее движение сопровождается непрерывным изменением температуры и давления. В результате этого нарушается равновесие в системе «нефть - растворенный газ - растворенный парафин».

Нефть, постепенно теряющая газ, становится более тяжелой, вязкость ее увеличивается, а ее растворяющая способность по отношению к тяжелым углеводородам и различным примесям снижается, так как уменьшается содержания в ней жидких газов, имеющих лучшую растворяющую способность. Одновременно снижается и температура нефти, что вызывается двумя причинами:

) передачей тепла от нефти в окружающие скважину горные породы

) охлаждением нефти вследствие выделения газа при большом газовом факторе.

Эти два взаимно связанных процесса вызывают выпадение из нефти мелких частиц твердых углеводородов парафина. Мелкие кристаллики парафина выпадают из нефти в наиболее охлажденных точках потока - непосредственно на стенках труб и около вновь образовавшихся газовых пузырьков. Процесс выпадения и отложения парафина непосредственно на стенках труб продолжается с различной интенсивностью на всем протяжении подъемных труб - от точки, где он начался до устья скважины. Та же часть парафина которая выпадает в потоке, поднимается по подъемным трубам в виде мелких кристалликов, взвешенных в нефти, и кристалликов, прилипших к оболочкам газовых пузырьков. По мере увеличения содержания этих кристалликов в нефти они могут прилипать к стенкам труб, увеличивая толщину отложения парафина. Парафиновые отложения представляют собой темную массу от мазеобразной до твердой консистенции: они содержат кроме парафина, значительное количество смол, масел, воды (в скважинах, дающих обводненную нефть) и минеральных частиц.

Отложения парафина в подъемных трубах приводят к резкому уменьшению. Поперечного сечения, а следовательно, к увеличению сопротивления газонефтяному потоку. Сначала это приводит к снижению дебита и буферного давления, а затем к закупориванию подъемных труб.

В случаях интенсивной добычи нефти, отсутствия закачки воды в пласт, текущее пластовое давление может понизиться до величины давления насыщения нефти и дополнительное охлаждение газожидкостного потока в средней части НКТ, вследствие чего интенсификация процесса парафиноотложения увеличивается.

Отложение АСПВ на стенках глубинного оборудования, работающих и простаивающих скважин зависит также от материала и качества обработки поверхности труб. Чем больше гидрофобизирована поверхность оборудования и чем больше степень шероховатости, тем интенсивнее идёт выпадение парафина при одинаковых технологических режимах работы скважин.

Отложение тяжёлых компонентов на стенках поровых каналов, приводящее к снижению проницаемости пласта, определяется термодинамическими условиями в призабойной зоне и в первую очередь температурой потока нефти. Изменяя дебит скважины (забойное давление) скважины можно регулировать температуру потока, предупреждая выпадение АСПО.

1. Высокий газовый фактор

Газовый фактор - это количество газа в м3 приведенное к нормальным условиям, приходящее на 1 тонну извлеченной из пласта нефти.

Попадание газожидкостной смеси каналы рабочих колес и направляющих аппаратов УЭЦН вызывает выделение газа из жидкости и полное перекрытие каналов, это может привести к прекращению подачи УЭЦН, нагреву насоса и выходу его из строя (объемная доля 25%).

Выделение газа из нефти в стволе скважины начинается при снижении Рз. На практике стремятся эксплуатировать оборудование с некоторым количеством газа на приеме насоса, это позволяет экономить трубы, штанги, кабель, СПО. Количество газа, которое не оказывает существенного влияния на работу насоса, может быть увеличина за счет применения различных устройств, применяемых как вне, так и в внутри насоса.

2. Гидратообразования

Продуктивный пласт сложен рыхлыми неустойчивыми породами (песок), тол при эксплуатации скважин с большим дебитом возможно разрушение призабойной зоны. Твердые частицы, выносимые из пласта, способствуют эрозии (разъеданию) подземного и наземного оборудования, образованию пробок, подземным обвалам и т. д. Обеспечить нормальную эксплуатацию скважины можно поддержанием нормального градиента, меньшего, чем допустимое его значение, созданием условий выноса частиц из ствола на поверхность и применением методов крепления призабойной зоны пласта.

Гидратооброзование происходит при температуре более низкой, чем температура выпадения парафинов. Поэтому при обводнености менее 50% наблюдаться образование гидратопарафиновых пробок, основу которых составляют парафиновые фракции.

Природные газы в условиях пласта насыщены парами воды, которые конденсируются и скапливаются в скважине и нефтепроводе. Таким образом, образуются твердые кристаллические вещества, называемые кристаллогидратами.

По внешнему виду гидраты напоминают снег или лед, это неустойчивые соединения и при нагревании или понижения давления быстро разлагаются на газ и воду.

Образовавшиеся гидраты могут закупорить скважины, нефтепроводы, сепараторы, нарушить работу измерительных приборов и регулирующих средств.

3. Солеотложения

Отложения солей могут происходить на всем пути движения воды - в пласте, скважине, трубопроводах и оборудовании установок подготовки нефти. Разработка месторождений Западной Сибири, проводимая с интенсификацией добычи нефти путем заводнения нефтяных пластов, как правило, осложнена отложением неорганических солей в нефтепромысловом оборудовании. Эти отложения уменьшают производительность технологических комплексов, уменьшению добычи нефти, сокращению межремонтных периодов работы скважин; в некоторых случаях они столь велики, что вообще затрудняют эксплуатацию

Причинами отложения солей считают химическую несовместимость вод (например, щелочных с жесткими), поступающих в скважины из различных горизонтов (пластов) или пропластков; перенасыщенность водо-солевых систем при изменении термодинамических условий. В основном солеотложения наблюдаются при внутриконтурном заводнении пресными водами, что связывают с обогащением закачиваемых вод сульфатами при контакте с остаточными водами и растворении минералов. Осадки могут быть плотными или рыхлыми, прочность сцепления с металлом возрастает с глубиной залегания пласта.

4. Образование песчаных пробок.

Вынос песка (частиц породы) из пласта в ствол скважины происходит в результате разрушения пород под воздействием фильтрационного напора при определенной скорости фильтрации (или перепаде давления). Вынос песка из пласта приводит к нарушению устойчивости пород в призабойной зоне, к обвалу пород и, как следствие, к деформациям эксплуатационных колонн и нередко к выходу из строя скважин. Песок, поступающий в скважину, осаждаясь на забое, образует пробку, которая снижает текущий дебит скважины, приводит также к усиленному износу эксплуатационного оборудования.

Можно выделить две группы борьбы с песком при эксплуатации скважин: - предупреждение и регулирование поступления песка из пласта в скважину; - вынос песка на поверхность.

Предупреждение поступления песка в скважину предусматривает применения различного рода фильтров и крепление призабойной зоны. Регулирование поступления песка сводится к ограничению дебита скважины до значения, при котором поступление песка резко уменьшается. Также для снижения попадания песка в насос применяют песочный якорь.

При содержании механических примесей до 0,1 г/л применяют насосы обычного исполнения, если примесей от 0,1 до 0,5 г/л применяют насосы износостойкого исполнения.

5. Искривление скважины.

Основным осложнением, встречающимся при эксплуатации глубинно-насосным способом наклонных и кривых скважин, является неравномерный износ опор насоса и двигателя для УЭЦН, и как следствие, выход из строя оборудования и частые аварии, короткий межремонтный период, низкий коэффициент эксплуатации.

Для избежания этого в УЭЦН в месте соединения валов двигателя и насоса устанавливается эксцентричная муфта, для того чтобы соединение было более подвижным.

Если искривление скважины составляет 30 на 100 метров, то такая скважина не пригодна для эксплуатации УЭЦН.

6. Обводнённость продукции

Предупреждение поступления песка в скважину предусматривает применения различного рода фильтров и крепление призабойной зоны. Регулирование поступления песка сводится к ограничению дебита скважины до значения, при котором поступление песка резко уменьшается. Также для снижения попадания песка в насос применяют песочный якорь.

При содержании механических примесей до 0,1 г/л применяют насосы обычного исполнения, если примесей от 0,1 до 0,5 г/л применяют насосы износостойкого исполнения.

Оценка эффективности работы насосов на многокомпонентных смесях должна базироваться на исследованиях физических свойств жидкости, проходящей через насос, работы отдельных ступеней, определении структурных свойств смеси и изучении процессов, происходящих в самом насосе.

А также к осложняющим условиям относят:

Конструктивные недоработки составных частей УЭЦН;

Низкие забойные давления.

3. Расчетный раздел

Произведем расчет и подбор оборудования УЭЦН к скважине.

Исходные данные для расчета представлены в таблице 3

Таблица 3 - исходные данные для рачета спуска УЭЦН

Название

Ед. изм.

205 скважина

208 скважина

223  скважина

Условные обозначения

Рнас.

МПа

15,3

15,5

15,4

Давление насыщения

  Рпл.

МПа

12,1

9,5

11,0

Пластовое давление

Рзаб.

 МПа

4,7

4,0

5,3

Давление на забое

Руст.

МПа

1,36

1,15

1,1

Устьевое давление

Рзатр.

МПа

0,43

0,14

1

Давление на затрубе

Нф

м

1553

1454

1689

Глубина скважины

св

кг/м3

1010

1010

1010

Плотность воды

сг

кг/м3

0,7242

0,7621

Плотность газа

сн

кг/м3

847

850

880

Плотность нефти

 nв

%

0,6

0,3

0,2

Обводненность

Г

м3

59,1

75

37,4

Газовый фактор

Дэ/к

мм

168

168

168

Диаметр эксплуатационной колоны

Кпр

т/сут./МПа

19,1

14,3

25

Коэффициент продуктивности

qн

т/сут

102

103

68

Дебит нефти

к

мкм2

0,33

0,381

0,58

Проницаемость

м

мПа·с

0.68

0.68

0.81

Вязкость

 в

 

1,261

1,261

1,194

Объемный коэффициент нефти


Рассчитываем УЭЦН на среднюю скважину. Для этого усредняем параметры выбранных трёх скважин с наибольшими различиями значений по длине ствола

Данные средней скважины приведены в таблице 4

Таблица 4 - Параметры средней скважины

Название

Ед.изм.

Значение

Условные обозначения

Рнас.

МПа

15,4

Давление насыщения

  Рпл.

МПа

10,8

Пластовое давление

Рзаб.

 МПа

4,6

Давление на забое

Руст.

МПа

1,2

Устьевое давление

Рзатр.

МПа

6,2

Давление на затрубе

Нф

м

1565

Глубина скважины

св

кг/м3

1010

Плотность воды

сг

кг/м3

0,7433

Плотность газа

сн

кг/м3

859

Плотность нефти

 nв

%

0,36

Обводненность

Г

м3

57,2

Газовый фактор

Дэ/к

мм

168

Диаметр эксплуатационной колоны

Кпр

т/сут./МПа

19,46

Коэффициент продуктивности

qн

т/сут

83,4

Дебит нефти

к

мкм2

0,43

Проницаемость

м

мПа·с

0,72

Вязкость

 в

 

1,238

Объемный коэффициент нефти


1.      Определим дебит по уравнению притока

Q = k ´ DР, м3/сут;

Q = 19,46 ´ (10,8 - 5,7) = 99 м3/сут

.Выбираем Ропт =4 в соответствии с условием:

Ропт = (2,5 - 3,0) - при обводненности > 50%, МПа;

Ропт = (3,4 - 4,0) - при обводненности < 50%, МПа;

3.  Определяем плотность эмульсии скважины:

ссм = сн + сг Г + сb((1 - n)/n), кг/м3

b + ((1 - n)/n)

ссм = 859 + 0,74 ´ 57,2 + 1010((1 - 0,0036)/0,0036), = 892кг/м3

1,232 + ((1 - 0,0036)/0,0036)

4. Выбираем глубину спуска насоса 620 м.

.Выбираем внутренний диаметр труб согласно рекомендации приведенной в книге Юрчук, Истомин «Расчеты добычи нефти и газа» с внешним диаметром 73 мм с высаженными наружу концами и внутренним диаметром не менее 62 мм

. Определяем работу газа при подъёме жидкости в НКТ

Нг = 0,15175 ´ dвн ´ Г (1- і√ Ру / Рнас) (1 - nв ), м; (4.5)

где, dвн - внутренний диаметр НКТ,дюйм

Нг = 0,15175 ´ 3 ´57,2 (1 - і√ 1,2 / 15,4) (1 - 0,36) = 9,79 м

4.  Определим требуемый напор насоса

Нн = Рн ´ 106 / св ´ g, м; (4.6)

Нн = 9,79 ´ 10-6 / 1010 ´ 9,8 = 804 м

5.  Определим группу насоса и его диаметр в зависимости от диаметра эксплуатационной колоны:

Диаметр вн./нар., мм

Группа насоса

Диаметр насоса, мм

140 / 121,7

5

92

146 / 130

103

168 / 144,3

6

114



По диаметру эксплуатационной колоны диаметр насоса будет равен 114 мм и он будет относится к группе 6.

Выбирают тип насоса по напору и производительности из условия:

Н н ≥ Н нтр, м;

При Qн = Q и максимальном КПД.

Для этого используем таблицы характеристик насосов, приведённые в справочнике Гиматудинова «Рабочие характеристики многоступенчатых погружных насосов». Заданные двумя, тремя насосами удовлетворяющих выше перечисленные условия.

ЭЦНМ6-250-1450, з = 63%;

.Остальное оборудование (двигатель, станцию управления, трансформатор, кабель) выбираем согласно комплектности поставки оборудования по книге: (Справочник по нефтепромысловому оборудованию под редакцией Бухаленко Е.И. М., «Недра», 1990).

ЭЦНМ6-250-1450;

Шифр электродвигателя - ПЭДУ90-123В5;

Температура окружающей среды, при номинальной мощности электродвигателя - 70°С;

Скорость охлаждающей жидкости не менее 0,3 м/с;

Кабель плоский - КПБП

число жил и площадь сечения - 3 ´ 16 мм2;

Комплектная трансформаторная подстанция - КТППН-250/10-82УХЛ1 на 6(10)кВ;5КТППНКС-1250/10/2,4-85УХЛ1 на 6(10) кВ

Газосепаратор-1МНГ6

. Проверяем соответствие мощности электродвигателя, условиям откачки, для чего определяем необходимую мощность и сравниваем с мощностью выбранного двигателя.

Nр = (Q ´ Н нт ´ ссм ´ g Ч 10-3) / (86400 Ч зн), кВт;

Nр ³ Nдв

где, зн - КПД насоса, принимается согласно (Справочник по нефтепромысловому оборудованию под редакцией Бухаленко Е.И. «Недра», 1990).

N = (99 Ч 804,9Ч 892 Ч 9,8 Ч 10-3) / (86400 Ч 0,63) = 12,82 кВт

Nдв = 63 кВт;

N = 12,82 кВт; Nдв > N;

. Определим минимальную, необходимую длину кабеля:

Lк = Lн + L, м;

где, L - расстояние от устья до станции управления, L = 10 ч 15 м;

Lк = 620 + 15 = 635 м;

. Необходимо проверить возможность спуска агрегата в скважину, для чего определим максимальные габариты агрегата и сравним их с внутренним диаметром эксплуатационной колонны. Для сохранности кабеля и устранения опасности прихвата агрегата в эксплуатационной колонне диаметральный зазор между агрегатом и эксплуатационной колонной принимают равным 5 ч 10 мм.

Дмах = Ддв / 2 + Дн / 2 + hк + S, мм;

где, Ддв - диаметр электродвигателя, мм;

Дн - наружный диаметр насоса, мм;

hк - толщина плоского кабеля, мм;

S - толщина металлического пояса, принимаем S = 1 мм;

Дмах = 123 / 2 + 123 / 2 + 16+ 1 = 140 мм;

Возможность спуска агрегата в скважину имеется

. Составим таблицу выбранного оборудования:

Дебит

Потребный напор

Насос

Электродви гатель

Трансформатор

кабель

Комплектная трансформаторная подстанция






плоский

круглый


Q = 99 т/сут

Н нтр = 804,9 м.вод.ст

ЭЦНМ6-250-1400

ПЭДУ90-123В5

ТМПН - 100 / 3 - 73У1

3 Ч 16мм2

-----

КТППН-250/10-82УХЛ1 на 6(10)кВ;5КТППНКС-1250/10/2,4-85УХЛ1 на 6(10) кВ


Таким образом, нами было выбрано оборудование для эксплуатации УЭЦН в соответствии с параметрами скважины.

Выводы

На основании анализа условий труда обслуживающего персонала, характеристики вредных веществ, загрязняющих природную среду и прогнозирования возможных чрезвычайных ситуаций на данном объекте можно сделать следующие выводы:

В основном объект отвечает требованиям ГОСТов по условиям труда, намечены мероприятий по условиям труда. Анализируя возможные чрезвычайные ситуации, в данном проекте выявлены вероятные параметры ударной волны при взрыве газовоздушной смеси, и намечены мероприятия по предотвращению возникающих поражающих вредных факторов: взрыва и др. факторов.

Похожие работы на - Подбор парка установок электроцентробежных насосов на месторождении Одопту-море

 

Не нашли материал для своей работы?
Поможем написать уникальную работу
Без плагиата!
Без нейросетей!