Основные водозащитные мероприятия при строительстве
Санкт-Петербургский
государственный университет
Кафедра
гидрогеологии
Курсовая
работа
Основные
водозащитные мероприятия при строительстве
Выполнил:
Студент 2 курса, 3
группы
Геологического
факультета СПбГУ
по специальности
«Гидрогеология»
Дунюшин Алексей
Алексеевич
Научный
руководитель:
Вивенцова Екатерина
Алексеевна,
доцент, кандидат
географических наук
ОГЛАВЛЕНИЕ
ВВЕДЕНИЕ
. ТИПЫ ВОДЫ В ПОРОДАХ
.1 ФИЗИКО-ХИМИЧЕСКИЕ СВОЙСТВА ГОРНЫХ
ПОРОД
. ТИПЫ ВОЗДЕЙСТВИЯ ПОДЗЕМНЫХ ВОД НА
ГОРНЫЕ ПОРОДЫ И СТРОИТЕЛЬНЫЕ ОБЪЕКТЫ
.1 АГРЕССИВНОСТЬ ВОДЫ
.2 КОРРОЗИЯ И ЗАЩИТА
. ПОДТОПЛЕНИЕ
.1 БОРЬБА С ПОДТОПЛЕНИЕМ
ЗАКЛЮЧЕНИЕ
СПИСОК ИСПОЛЬЗОВАННОЙ ЛИТЕРАТУРЫ
ВВЕДЕНИЕ
При строительстве любого типа необходимо
проводить инженерные изыскания, согласно Градостроительному Кодексу РФ (ст.
47), в ходе которых, кроме прочего, одной из задач является выявление степени
агрессивности грунтовых вод, в том числе для того, чтобы знать какой сорт
бетона необходимо будет использовать в дальнейшем при строительстве.
Основной литературой для данной работы являются
«Методическое пособие по инженерно-геологическому изучению горных пород» под
ред. Е. М. Сергеева, «Рекомендации по проектированию и расчетам защитных
сооружений и устройств от подтопления промышленных площадок грунтовыми водами»
ВОДГЕО Госстроя СССР и «Справочник гидрогеолога» М. Е. Альтовского. В данной
работе рассматривается агрессивное влияние подземных вод на строительные
конструкции, контактирующие с ними, и на горные породы и такое немаловажное
явление при строительстве, как подтопление. Так же представлены основные методы
борьбы с коррозионным воздействием подземных вод и подтоплением.
1. ТИПЫ ВОДЫ В ПОРОДАХ
Различные состояния влаги в горных породах и
грунтах при температурах больше 0 градусов можно разделить на четыре основных
вида (I-IV) и 5 типов (1-5).. Связанная вода
. Кристаллической структуры минерала
. Адсорбционно-связанная поверхностью. Вода
переходного состояния
. «Осмотически» поглощенная
. Капиллярно-поглощенная. Свободная вода в
жидком состоянии
. Гравитационная. Вода в газообразном состоянии
Свойства данных видов влаги связаны, в основном,
с механизмом из образования. Поле поверхностных сил имеет наибольшее действие
вблизи от твердой частицы на расстояниях до 0.01мкм и сказывается на свойствах
связанной воды, а так же частично на воде переходного состояния.
Кроме того, можно разделить
связанную воду на химически и физически связанную. Тогда увидим следующие
свойства: химически связанная вода содержится в составе таких минералов, как
гипс, медный купорос. Зачастую, вода из таких минералов может быть удалена лишь
при нагревании до 300-400
С.
Физически же связанная вода
удерживается на поверхности минералов и частиц грунта молекулярными силами и
может быть удалена из грунта при температуре не менее 90-120
С.
Для связанной воды стоит отметить,
что ее плотность выше, а в области влаги переходного состояния ниже плотности свободной
воды. Вязкость связанной и осмотической влаги повышена по сравнению со
свободной, температура замерзания -понижена. Кроме того, диэлектрическая
проницаемость и растворяющая способность связанной воды так же ниже, чем у
свободной.
1.1 ФИЗИКО-ХИМИЧЕСКИЕ СВОЙСТВА
ГОРНЫХ ПОРОД
РАСТВОРИМОСТЬ И ВЫЩЕЛАЧИВАЕМОСТЬ
Думаю, целесообразно будет начать с определений,
выдвинутых в заголовке подпункта. Известно, что вода является универсальным
растворителем. Растворимость - это способность к образованию растворов.
Выщелачиваемость - свойство переходить в раствор избирательно некоторых
компонентов твердого вещества. Наиболее ярка эти примеры проявляются при таком
явлении как карст, причем при гипсовом карсте преобладает выщелачивание, а при
солевом - растворение. Так же выщелачивание проявляется при орошении засушливых
земель, при этом соли уходят в более глубокие слои почвы.
Кроме того, интерес представляет диффузионное
растворение и выщелачивание, происходящее в слабопроницаемых породах при
отсутствии фильтрационных потоков. В результате этого явления образуются
медленно расширяющаяся зона рассоления в выщелачиваемом массиве и зона
засоления в засоляемом массиве. Диффузионный поток в направлении l
определяется законом Фика:

(№1),
где D - коэффициент молекулярной
диффузии в породе, S - поперечное сечение, c - концентрация.
Естественно, что в пористых породах
коэффициент диффузии в пористых породах изменится за счет пористости,
извилистости, пути диффузии, тормозящим влиянием связанной воды и пр.
Кроме того, для процесса миграции
солей при растворении и выщелачивании характерно появление осмотических потоков
сопутствующих или встречных, по отношению к диффундирующим компонентам.
Осмотическая фильтрация в породах имеет свою специфику, затрудняющую применение
классических законов осмоса к описанию этого процесса. Основной ее
характеристикой является напор H₀, равный гидростатическому давлению,
которое нужно приложить в направлении, противоположном давлению осмотического
потока до полного прекращения потока.
КАПИЛЛЯРНЫЕ СВОЙСТВА
Капиллярные свойства пород усиливают
фильтрацию и потери воды из оросительных систем и каналов, способствуют
подтоплению зданий при подъеме грунтовых вод. Для прогноза этих и подобных
явлений необходимо знать закономерности движения влаги в зоне аэрации.
При влагопереносе в ненасыщенной
зоне объемный единичный расход v пропорционален градиенту напора dH/dz:

(№2),
где 
- коэффициент влагопереноса, z -
плоскость сравнения, 
- величина всасывающего давления,
или давление почвенной влаги (характеризует энергетическое состояние почвенной
влаги), а единица учитывает гравитационную составляющую.
Высота капиллярного поднятия -
высота над уровнем грунтовых вод, в пределах которой почва находится в сильно
увлажненном состоянии. Понятие это очень условно, и по сути зависит от природы
и свойств самого грунта, мощности зоны аэрации и условий испарения, т.е. от
породных условий. Так, для легких пород (пески, супеси), высоту капиллярного
поднятия можно различить по более темной окраске более увлажненных пород, но в
тяжелых породах эта визуальная граница не прослеживается. Условно же ее можно
найти из профиля влажности на высоте снижения влажности породы до максимальной
молекулярной влагоемкости 
.
Таким образом, для описания процесса
влагопереноса более приемлемыми характеристиками являются потенциал влажности и
коэффициент влагопереноса, которые должны быть получены для данной породы в
зависимости от влажности. Стоит упомянуть, что для определения всасывающего
давления и потенциала влажности в капиллярной области существуют следующие
методы: метод тензиометров (для определения потенциала влажности), метод
мембранного пресса (определение капиллярного потенциала), метод равновесных
сред (
) и стационарный поток в монолите
(определение коэффициента влагопереноса).
ВОДОПРОЧНОСТЬ
Водопрочность - это способность
пород сохранять свою механическую прочность и устойчивость в водной среде.
Поскольку характер взаимодействия породы с водой бывает статический и
динамический, то и методы определения водопрочности горной породы делятся на
два соответствующих типа.
Статические методы изучают
последствия проникновения воды по порам, капиллярам и пр., и происходящих при
этом частичном или же полном ослаблении связей между структурными элементами
горной породы. В результате подобных действий изменяются прочность и
устойчивость породы. В подобных условиях, водопрочность пород характеризуется
размокаемостью и размачиваемостью (потеря прочность при замачивании).
Размокаемость - способность пород
при замачивании терять связность и превращаться в рыхлую массу. Показателями
размокания являются: время размокания 
, скорость размокания 
, степень размокания R и характер
размокания. Стоит отметить, что многие характеристики являются условными
(время, степень размокания и пр.), поскольку зависят от исходных параметров образца,
таких как объем, форма. Наиболее удобным прибором для определения размокаемости
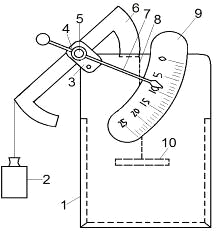
является ПРГ-1 (рис.1).
Рис.1. Прибор ПРГ-1:
- корпус из оргстекла, 2 -
противовес, 3 - две опоры, 4 - гайка, 5 - качающая ось, 6 - скобообразный
рычаг, 7 - стрелка, 8 - нить, 9 - шкала, 10 - сетка с квадратными отверстиями
10х10мм
Размягчаемость - снижение
механической прочности пород в результате их взаимодействия с водой.
Показателем здесь является коэффициент размягчаемости породы 
. Причинами размягчаемости породы в
воде является понижение прочности связей и рост числа дислокаций в
кристаллической структуре минералов при проникновении полярных молекул воды в
микротрещины породы. Принципиально, 
можно определять на водонасыщенных
и сухих образцах любыми методами прочностных испытаний, однако тогда его
значения трудносопоставимы между собой при разных методах.
Динамические методы исследуют
водопрочность пород при динамическом воздействии воды на образец для решения
некоторых прогнозных задач, связанных с переработкой берегов водохранилищ,
береговых откосов, склонового смыва и пр. Характеристиками водопрочности пород
в динамических условиях являются следующие параметры: размывающая (критическая)
скорость потока 
, интенсивность смыва 
, интенсивность размыва 
, интенсивность выноса частиц 
и критический градиент суффозии 
.
Исследования на размываемость пород
проводится в лабораторных условиях с использованием специальных лотков,
моделирующих воздействие движущегося водного потока на исследуемую породу.
Соответственно, для моделирования различных ситуаций (склоновый смыв, боковой
размыв, подмыв пород) используются различные конструкции лотковых приборов.
В данных условиях определяют такие
величины, как интенсивность размыва

=
(№3)
и интенсивность смыва

=
(№4).
2. ТИПЫ ВОЗДЕЙСТВИЯ ПОДЗЕМНЫХ ВОД НА
ГОРНЫЕ ПОРОДЫ И СТРОИТЕЛЬНЫЕ ОБЪЕКТЫ
.1 АГРЕССИВНОСТЬ ВОДЫ
Большинство опорных конструкций изготавливается
из бетона. Со временем происходит его разрушение, оголение арматуры и ее
коррозия. Для фундаментов установлены нормы содержания химических веществ в
грунтовой воде, при которых вода считается агрессивной по отношению к бетону
(см. табл.1).
Типизация коррозионной активности
подземных вод
Можно выделить множество типов подземных вод по
их коррозионному воздействию на бетонные и железобетонные конструкции, но
наиболее типичные виды следующие:
Первый вид коррозии, оказывающий воздействие в
виде выщелачивания растворимых компонентов бетона, это бикарбонатная
щелочность.
Второй вид коррозии образовывает растворимые
соединения, в результате обменных реакций между компонентами цементного камня и
жидкой агрессивной среды. Ко второму виду коррозии относятся: водородный
показатель pH, содержание свободной углекислоты CO2, Содержание магнезиальных
солей (в пересчете на ион Mg), содержание едких щелочей (в пересчете на ионы K
и Na).
Третий вид коррозии образовывает и накапливает в
бетоне малорастворимые соли, характеризующиеся увеличением объема при переходе
в твердую фазу. К третьему виду коррозии относятся содержание сульфатов (в
пересчете на ионы SO4), содержание едких щелочей (хлоридов, сульфатов,
нитратов).
Таблица 1. Содержание химических компонентов,
при которых воды являются неагрессивной средой для бетона.
|
Показатель
агрессивности
|
Сильно
и среднефильтрующие грунты, Кф более 0,1 м/сут
|
Слабофильтрующие
грунты Кф менее 0,1 м/сут
|
|
Бикарбонатная
щелочность HCO3, ммоль/л
|
более
1,4
|
Не
нормируется
|
|
Водородный
показатель pH
|
более
6,5
|
более
5
|
|
Содержание
свободной углекислоты CO2, ммоль/л
|
менее
15
|
менее
55
|
|
Содержание
магнезиальных солей (на ион Mg), мг/л
|
менее
или равно 1000
|
менее
или равно 2000
|
|
Содержание
едких щелочей (на ионы K и Na), г/л
|
менее
или равно 50 (для напорных сооружений менее или равно 30)
|
менее
или равно 80
|
|
Содержание
сульфатов (на ион SO4), мг/л
|
менее
300 (для напорных сооружений менее 250)
|
менее
300
|
|
Содержание
хлоридов, сульфатов, нитратов и других солей и едких щелочей при наличии
испаряющих поверхностей
|
менее
10 (для напорных сооружений по специальным указаниям)
|
менее
10
|
|
Агрессивность по значению бикарбонатной
щелочности.
Общая щелочность воды обуславливается анионами
слабых кислот: HCO3, CO3, H3SiO4 и др. Общая щелочность выражается в миллимолях
кислоты, необходимой для нейтрализации раствора до значений pH =4.
Оценка агрессивности воды приводится по
содержанию бикарбонатной щелочности HCO3. При содержании бикарбонатной
щелочности более 1,4 ммоль/л вода будет неагрессивной для всех случаев
безнапорных сооружений, а при содержании более 2,0 ммоль/л - неагрессивной и
для всех случаев напорных сооружений.
Бикарбонатная щелочность природных вод не может
быть ниже 0,7 ммоль/л, поэтому по степени воздействия на бетон по 1 виду
коррозии не нормируется как «сильноагрессивная».
Агрессивность по водородному показателю (pH).
Обычно природные воды имеют водородный
показатель, изменяющийся от 6 до 8. Этот показатель снижается до величин 5,5-5
в ультрапресных подземных водах хлоридно-кальциевого типа и некоторых
углекислых минеральных водах. В болотных водах pH иногда снижается до 4,5-4.
Особо низкие значения pH отмечаются для верховых
болот (4,0-4,9). Для переходных болот pH составляет 5,0-5,5, для низинных
6,0-7,0.
Дождевые воды имеют pH 6, речные воды - около7,
морские воды - 8-9.
В отдельных случаях встречаются сильнокислые
воды, связанные с сульфидными месторождениями, в которых pH меньше 4. Низкие
значения pH могут отмечаться и в водах, связанных с вулканическими проявлениями.
Щелочным характером обычно обладают воды открытых пресных водоемов в летний
период и воды некоторых термальных источников, где величина этого показателя
превышает 9. Воды, связанные с засоленными почвами, имеют pH меньше 10.
Агрессивные свойства подземных вод к бетону
проявляются при pH меньше 6,5.
Агрессивность по содержанию свободной
углекислоты (CO2).
Агрессивные свойства свободной углекислоты
зависят как от количества свободной углекислоты, так и от наличия и количества
ионов Ca2+,Cl- и SO4 при определенной бикарбонатной щелочности, т.е. от
количества компонентов, способных связывать свободную углекислоту и уменьшать
тем самым долю агрессивной углекислоты. Таким образом, следует различать
свободную, связанную и агрессивную углекислоту.
Агрессивная углекислота, определяется
экспериментально и путем расчета. Обычно агрессивными свойствами обладают
мягкие воды, имеющие кислую реакцию, и болотные воды, содержащие органические
кислоты. Агрессивные свойства подземных вод повышаются при значительной инфильтрации
дождевых и талых вод.
При минимально возможных содержаниях ионов Cl и
SO4 и при минимальной бикарбонатной щелочности вода является агрессивной при
содержании углекислоты более 15 ммоль/л для сильно- и среднефильтрующих грунтов
и более 55 ммоль/л для слабофильтрующих грунтов.
Агрессивность по содержанию магнезиальных солей.
Оценивается по содержанию в пересчете на ион
Mg2+. Воды агрессивны при содержании магнезиальных солей более 2000 мг/л в
слабофильтрующих грунтах или более 1000 мг/л в остальных случаях.
Агрессивность по содержанию едких щелочей.
Оценивается в пересчете на ионы K+ и Na+. Воды
агрессивны при содержании ионов калия и натрия в слабофильтрующих грунтах более
80 г/л, в среднефильтрующих грунтах - более 50 г/л и для напорных сооружений -
более 30 г/л.
Сульфатная агрессия.
Этот тип агрессии оценивается по содержанию
ионов SO42-. Сульфатная агрессия связана с содержанием хлора и составом бетона.
При содержании сульфат - иона менее 300 мг/л во всех грунтах и менее 250 мг/л
для напорных сооружений воды неагрессивны. Очень часто сульфатная агрессивность
связана с местным загрязнением вод сульфатсодержащими материалами.
Агрессивность по содержанию хлоридов, нитратов и
других солей едких щелочей. Эта агрессивность, как правило, связана с искусственными
источниками загрязнения грунтовых вод при суммарном содержании агрессивных
ионов более 10 г/л и учитывается только для испаряющих бетонных поверхностей.
Для напорных сооружений этот вид агрессивности оценивается по специальным
программам
2.2 КОРРОЗИЯ И ЗАЩИТА
Ясно, что защиту поверхностей
конструкций следует назначать в зависимости от вида и степени агрессивного
воздействия среды. Кроме того, в технических условиях на конструкции с
предусмотренной для них вторичной защитой от коррозии, следует указывать такие
пункты, как требования к защищаемой поверхности, требования к форме защищаемого
конструктивного элемента и к твердости его поверхностного слоя, периодичность
осмотра состояния конструкций и пр.
Исходя из этого, при
проектировании защиты поверхности конструкций следует предусматривать:
1) лакокрасочные покрытия - при действии
газообразных и твердых сред;
) лакокрасочные толстослойные покрытия -
при действии жидких сред и при непосредственном контакте покрытия с твердой
агрессивной средой;
) оклеечные покрытия - при действии
жидких сред, в грунтах, в качестве непроницаемого подслоя в облицовочных
покрытиях;
) облицовочные покрытия, в том числе из
полимербетонов, - при действии жидких сред, и грунтов в качестве защиты от
механических повреждений оклеечного покрытия;
) уплотняющую пропитку химически стойкими
материалами - при действии жидких сред, в грунтах;
) гидрофобизацию - при периодическом
увлажнении водой или атмосферными осадками, образовании конденсата;
) биоцидные материалы - при воздействии
бактерий, выделяющих кислоты, и грибов.
Стоит отметить, что защиту поверхностей от
коррозии надземных и подземных железобетонных конструкций следует назначать,
исходя из возможности обновления защитных покрытий. Так для подземных
конструкций, вскрытие и ремонт которых в процессе эксплуатации невозможны,
необходимо применять материалы, обеспечивающие защиту по возможности на весь
период эксплуатации.
В нижеприведенных таблицах,
основанных на СП 28.13330.2012, приведены расчетные данные и описания сред с допустимыми
показателями содержания некоторых химических веществ.
В случае, если подземные
конструкции находятся в обводненных грунтах, содержащих высокие концентрации
хлоридов и щелочей, происходит коррозия данных конструкций.
Профессором В.М. Москвиным исследованы
и классифицированы основные процессы коррозии бетона в агрессивных средах и
указаны основные пути повышения коррозионной стойкости бетона. Думаю, стоит
рассмотреть эту классификацию несколько подробнее.
· Коррозия первого
вида
Коррозия первого вида -
включает в себя физические процессы растворения цементного камня без
химического взаимодействия со средой.
Растворимость цементного камня
увеличивается в случае, если вода имеет низкое содержание растворенных
кальциевых солей и если в воде имеются некоторые соли, увеличивающие ионную
силу раствора, например, хлорид натрия. Установлено, что при растворении
гидроксида кальция из состава цементного камня на поверхности бетона остается
пористый несвязанный слой мало растворимых веществ: гидратов кремния, алюминия,
железа, зерна песка и др. В случае, если условия эксплуатации бетона таковы,
что это слой длительно сохраняется на поверхности и со временем увеличивается,
процесс коррозии бетона развивается с замедлением во времени по
логарифмическому закону. Если образующийся рыхлый слой продуктов коррозии
разрушается, например, смывается потоком воды, процесс разрушения бетона после
некоторого начального периода развивается по линейному закону. Знание этих
закономерностей и получаемые экспериментально в ускоренных испытаниях
кинетические коэффициенты позволяют прогнозировать глубину коррозии бетона в
большие периоды времени.
Основными мерами первичной
защиты бетона в условиях коррозии первого вида является понижение проницаемости
бетона, создание конструкций, не фильтрующих воду.
· Коррозия второго
вида
Коррозия второго вида
характеризуется химическим взаимодействием растворов с цементным камнем с
образованием хорошо растворимых соединений или веществ, не обладающих вяжущими
свойствами. Типичными случаями являются действие на бетон растворов кислот и
магнезиальных солей. Скорость разрушения бетона в этом случае сильно зависит от
растворимости образующихся химических продуктов. Например, наиболее быстрое
разрушение вызывает соляная кислота, образующая с гидроксидом кальция
цементного камня хорошо растворимый хлорид кальция. С меньшей скоростью
разрушается бетон в растворах серной кислоты - образующийся сернокислый кальция
(гипс) имеет ограниченную (ок. 2,1 г/л) растворимость в воде. Кислоты,
образующие растворимые соединения, например щавелевая кислота, наиболее
медленно разрушают бетон. Безусловно, скорость коррозии второго вида зависит от
концентрации агрессивного раствора и скорости подвода агрессивного раствора к
поверхности бетона. При свободном омывании бетона агрессивным раствором
коррозия развивается быстрее, чем при поступлении раствора к поверхности
конструкции через слабо фильтрующий грунт.
Поскольку цементный камень,
изготовленный на портландцементе, имеет щелочную реакцию, уменьшить скорость
коррозии бетона в кислых средах, изменяя в известных пределах состав
портландцементного вяжущего, не представляется возможным. Экспериментальные
работы и обследование состояния конструкций из бетона, подвергавшихся этому
виду коррозии, показывают, что с уменьшением проницаемости бетона лишь при
малых концентрациях кислот и магнезиальных солей наблюдается некоторое
повышение стойкости. Защита конструкций в этом случае осуществляется
преимущественно мерами вторичной защиты.
· Категория третьего
вида
Категория третьего вида
вызывается прониканием растворов солей и других соединений в бетон и
кристаллизацией их в порах бетона с большим увеличением объема твердых фаз.
Типичным примером коррозии третьего вида является взаимодействие бетона с
растворами сульфатов. Образующиеся в бетоне гипс и гидросульфоалюминаты
кальция, будучи кристаллогидратами, заполняют поры и вызывают внутренние
напряжения вплоть до разрушения бетона.
Коррозия третьего вида
встречается на практике достаточно часто в случаях, когда конструкции из бетона
подвергаются воздействию растворов солей с испарением воды с поверхности
конструкции.
В условиях морского и
прибрежного климата важно учитывать, что подземные воды взаимодействуют с
морскими, поэтому необходимо учитывать также воздействие морских вод. В частности
это показывается в таблице 2.
Таблица 2 - Среды эксплуатации
|
Индекс
|
Среда
эксплуатации
|
Примеры
конструкций
|
|
1
Среда без признаков агрессии
|
|
ХО
|
Для
бетона без арматуры и закладных деталей: все среды, кроме воздействия
замораживания-оттаивания, истирания или химической агрессии. Для
железобетона: сухая
|
Конструкции
внутри помещений с сухим режимом эксплуатации
|
|
2
Коррозия арматуры вследствие карбонизации
|
|
ХС2
|
Влажная
и кратковременно сухая среда
|
Поверхности
бетона, длительно смачиваемые водой. Фундаменты
|
|
6
Химическая и биологическая агрессия При действии химических агентов из почвы,
подземных вод, коррозионная среда классифицируется по следующим признакам:
|
|
ХА1
|
Незначительное
содержание агрессивных агентов - слабая степень агрессивности среды по таблицам
В.1-В.7, Г.2
|
Конструкции
в подземных водах
|
|
ХА2
|
Умеренное
содержание агрессивных агентов - средняя степень агрессивности среды по
таблицам В.1-В.7, Г.2
|
Конструкции,
находящиеся в контакте с морской водой. Конструкции в агрессивных грунтах
|
|
ХА3
|
Высокое
содержание агрессивных агентов - сильная степень агрессивности среды по
таблицам В.1-В.7, Г.2
|
Промышленные
водоочистные сооружения с химическими агрессивными стоками. Кормушки в
животноводстве. Градирни с системами газоочистки
|
|
7
Коррозия бетона вследствие реакции щелочей с кремнеземом заполнителей В
зависимости от влажности среда классифицируется по следующим признакам:
|
|
Примечание
|
В силу того, что подземные воды встречаются в
грунтах как в жидком, так и в газообразном состоянии, или же в составе
встречаются растворенные газы, то в случае глубокого заложения свайных
конструкций, эти газы выходят на поверхность, поэтому необходимо учитывать их
влияние на конструкции. В таблице 3 приведены группы агрессивных газов, в
зависимости от концентрации.
Таблица 3 - Группы агрессивных газов в
зависимости от их вида и концентрации
|
Наименование
|
Концентрация,
мг/м , для
групп газов
|
|
A
|
B
|
C
|
D
|
|
Углекислый
газ
|
До
2000
|
Св.
2000
|
-
|
-
|
|
Аммиак
|
До
0,2
|
Св.
0,2 до 20
|
Св.
20
|
-
|
|
Сернистый
ангидрид
|
До
0,5
|
Св.
0,5 до 10
|
Св.
10 до 200
|
Св.
200 до 1000
|
|
Фтористый
водород
|
До
0,05
|
Св.
0,05 до 5
|
Св.
5 до 10
|
Св.
10 до 100
|
|
Сероводород
|
До
0,01
|
Св.
0,01 до 5
|
Св.
5 до 100
|
Св.
100
|
|
Оксиды
азота
|
До
0,1
|
Св.
0,1 до 5
|
Св.
5 до 25
|
Св.
25 до 100
|
|
Хлор
|
До
0,1
|
Св.
0,1 до 1
|
Св.
1 до 5
|
Св.
5 до 10
|
|
Хлористый
водород
|
До
0,05
|
Св.
0,05 до 5
|
Св.
5 до 10
|
Св.
10 до 100
|
|
Примечание
|
Степени агрессивного воздействия неорганических
жидкостей на бетон приведены в таблице 4.
1) При оценке степени агрессивного
воздействия среды на сооружения, расположенные в слабофильтрующих грунтах с 
менее 0,1 м/сут, значения
показателей данной таблицы, кроме рН, должны быть умножены на 1,3. Значения
водородного показателя рН должны быть уменьшены в 1,3 раза для бетонов марки по
водонепроницаемости W4-W8; для бетонов марок по водонепроницаемости более W8
степень агрессивного воздействия по величине рН оценивается как для бетона
марки по водонепроницаемости W8.
)Агрессивность растворов солей
кристаллогидратов (сульфатов, хлоридов, нитратов и др.) при понижении
температуры ниже 10 °С повышается на один уровень. Содержание сульфатов, в
зависимости от вида и минералогического состава цемента, не должно превышать
пределов, указанных в таблицах В.4 и В.5.
)При любом значении бикарбонатной
щелочности, среда неагрессивна по отношению к бетону с маркой по
водонепроницаемости W6 и более, а также W4 при коэффициенте фильтрации грунта 
ниже 0,1 м/сут.
)Оценка агрессивного воздействия
среды по водородному показателю рН не распространяется на растворы органических
кислот высоких концентраций и углекислоту.
)Степень агрессивности
устанавливается специальными исследованиями.
Таблица 4 - Степень
агрессивного воздействия жидких неорганических сред на бетон
|
Показатель
агрессивности
|
Показатель
агрессивности жидкой среды для сооружений, расположенных в
грунтах с  свыше 0,1 м/сут, в открытом
водоеме и для напорных сооружений при марке бетона по
водонепроницаемостиСтепень агрессивного воздействия жидкой неорганической
среды на бетон
|
|
|
W4
|
W6
|
W8
|
W10-W12
|
|
|
Бикарбонатная
щелочность  , мг-экв/ (град)Св. 0 до
1,05---Слабоагрессивная
|
|
|
|
|
|
|
Водородный
показатель рН
|
Св.
5,0 до 6,5
|
Св.
4,0 до 5,0
|
Св.
3,5 до 4,0
|
Св.
3,0 до 3,5
|
То
же
|
|
Св.
4,0 до 5,0
|
Св.
3,5 до 4,0
|
Св.
3,0 до 3,5
|
Св.
2,5 до 3,0
|
Среднеагрессивная
|
|
Св.
0 до 4,0
|
Св.
0 до 3,5
|
Св.
0 до 3,0
|
Св.
0 до 2,0
|
Сильноагрессивная
|
|
Содержание
агрессивной углекислоты  , мг/ Св. 15 до 40 Св. 40 до 100Св. 100
-Слабоагрессивная
|
|
|
|
|
|
|
Св.
40 до 100
|
Св.
100
|
-
|
-
|
Среднеагрессивная
|
|
Содержание
солей магния, мг/ , в пересчете на ион  Св. 1000 до 2000 Св. 2000 до 3000
Св. 3000 до 4000 Св. 4000 до 5000Слабоагрессивная
|
|
|
|
|
|
|
Св.
2000 до 3000
|
Св.
3000 до 4000
|
Св.
4000 до 5000
|
Св.
5000 до 6000
|
Среднеагрессивная
|
|
Св.
3000
|
Св.
4000
|
Св.
5000
|
Св.
6000
|
Сильноагрессивная
|
|
Содержание
солей аммония, мг/ , в пересчете на ион  Св. 100 до 500 Св. 500 до 800 Св.
800 до 1000 -Слабоагрессивная
|
|
|
|
|
|
|
Св.
500 до 800
|
Св.
800 до 1000
|
Св.
1000 до 1500
|
-
|
Среднеагрессивная
|
|
Св.
800
|
Св.
1000
|
Св.
1500
|
-
|
Сильноагрессивная
|
|
Содержание
едких щелочей мг/ , в пересчете на ионы  и  Св. 50000 до 60000 Св. 60000 до
80000 Св. 80000 до 100000-Слабоагрессивная
|
|
|
|
|
|
|
Св.
60000 до 80000
|
Св.
80000 до 100000
|
Св.100000
до 150000
|
-
|
Среднеагрессивная
|
|
Св.
80000
|
Св.
100000
|
Св.
150000
|
-
|
Сильноагрессивная
|
|
Содержание
хлоридов, сульфатов, нитратов и др. солей, мг/ , при наличии испаряющих
поверхностей Св.10000 до 20000 Св. 20000 до 50000 Св. 50000 до 60000
-Слабоагрессивная
|
|
|
|
|
|
|
Св.
20000 до 50000
|
Св.
50000 до 60000
|
Св.
60000 до 70000
|
-
|
Среднеагрессивная
|
|
Св.
50000
|
Св.
60000
|
Св.
70000
|
-
|
Сильноагрессивная
|
Таблица 5 - Степень
агрессивного воздействия жидких сульфатных сред, содержащих бикарбонаты, для
бетонов марок по водонепроницаемости W4-W8
|
Цемент
|
Показатель
агрессивности жидкой среды с содержанием сульфатов в
пересчете на ионы SO, мг/дм, для сооружений, расположенных в грунтах с св.
0,1 м/сут, в открытом водоеме и для напорных сооружений при содержании ионов
НСО, мг-экв/дмСтепень агрессивного воздействия жидкой среды на бетон марки по
водонепроницаемости W4
|
|
|
св.
0,0 до 3,0
|
св.
3,0 до 6,0
|
св.
6,0
|
|
|
Портландцемент
по ГОСТ 10178, ГОСТ 31108
|
Св.
250 до 500
|
Св.
500 до 1000
|
Св.
1000 до 1200
|
Слабоагрессивная
|
|
Св.
500 до 1000
|
Св.
1000 до 1200
|
Св.
1200 до 1500
|
Среднеагрессивная
|
|
Св.
1000
|
Св.
1200
|
Св.
1500
|
Сильноагрессивная
|
|
Портландцемент
по ГОСТ 10178, ГОСТ 31108 с содержанием в клинкере C3S не более 65%, С3А - не
более 7%, C3A+C4AF - не более 22% и шлакопортландцемент
|
Св.
1500 до 3000
|
Св.
3000 до 4000
|
Св.
4000 до 5000
|
Слабоагрессивная
|
|
Св.
3000 до 4000
|
Св.
4000 до 5000
|
Св.
5000 до 6000
|
Среднеагрессивная
|
|
Св.
4000
|
Св.
5000
|
Св.
6000
|
Сильноагрессивная
|
|
Сульфатостойкие
цементы по ГОСТ 22266
|
Св.
6000 до 8000
|
Св.
8000 до 12000
|
Св.
12000 до 15000
|
Среднеагрессивная
|
|
Св.
8000
|
Св.
12000
|
Св.
15000
|
Сильноагрессивная
|
При оценке степени агрессивности
среды в условиях эксплуатации сооружений, расположенных в слабофильтрующих
грунтах с 
менее 0,1 м/сут, показатели данной
таблицы должны быть умножены на 1,3.
Показатели агрессивности
приведены для бетона марки по водонепроницаемости W4. При оценке степени
агрессивности среды для бетона марки по водонепроницаемости W6 показатели
данной таблицы должны быть умножены на 1,3, для бетона марки по
водонепроницаемости W8 - на 1,7.
В случае, если подземные воды
или же водовмещающая толща, или же грунты в пределах строительства подвержены
загрязнению, то при строительстве мы должны учитывать агрессивное воздействие
этой среды. Оценить его можно по таблице 6
Таблица 6 - Степень
агрессивного воздействия жидких органических сред
|
Среда
|
Степень
агрессивного воздействия жидких органических сред на бетон при марке по
водонепроницаемости
|
|
W4
|
W6
|
W8
|
|
Масла:
|
Слабоагрессивная
|
Слабоагрессивная
|
Неагрессивная
|
|
растительные
|
Среднеагрессивная
|
Среднеагрессивная
|
Слабоагрессивная
|
|
животные
|
То
же
|
То
же
|
То
же
|
|
Нефть
и нефтепродукты:
|
|
|
|
|
сырая
нефть
|
Среднеагрессивная
|
Среднеагрессивная
|
Слабоагрессивная
|
|
сернистая
нефть
|
То
же
|
Слабоагрессивная
|
То
же
|
|
сернистый
мазут*
|
"
|
То
же
|
"
|
|
дизельное
топливо*
|
Слабоагрессивная
|
"
|
Неагрессивная
|
|
керосин*
|
То
же
|
"
|
То
же
|
|
бензин
|
Неагрессивная
|
Неагрессивная
|
"
|
|
Растворители:
|
|
|
|
|
предельные
углеводороды (гептан, октан, декан и т.д.)
|
Неагрессивная
|
Неагрессивная
|
Неагрессивная
|
|
ароматические
углеводороды (бензол, толуол, ксилол, хлорбензол и т.д.)
|
Слабоагрессивная
|
То
же
|
То
же
|
|
кетоны
(ацетон, метилэтилкетон, диэтилкетон и т.д.)
|
То
же
|
Слабоагрессивная
|
"
|
|
Кислоты:
|
|
|
|
|
водные
растворы кислот (уксусная, лимонная, молочная и т.д.) концентрацией свыше
0,05 г/дм
|
Сильноагрессивная
|
Сильноагрессивная
|
Сильноагрессивная
|
|
жирные
водонерастворимые кислоты (каприловая, капроновая и т.д.)
|
Сильноагрессивная
|
Среднеагрессивная
|
Среднеагрессивная
|
|
Спирты:
|
|
|
|
|
одноатомные
|
Слабоагрессивная
|
Неагрессивная
|
Неагрессивная
|
|
многоатомные
|
Среднеагрессивная
|
Среднеагрессивная
|
Слабоагрессивная
|
|
Мономеры:
|
|
|
|
|
хлорбутадиен
|
Сильноагрессивная
|
Сильноагрессивная
|
Среднеагрессивная
|
|
стирол
|
Слабоагрессивная
|
Слабоагрессивная
|
Неагрессивная
|
|
Амиды:
|
|
|
|
|
карбамид
(водные растворы концентрацией от 50 до 150 г/дм)
|
Слабоагрессивная
|
Слабоагрессивная
|
Неагрессивная
|
|
свыше
150 г/дм
|
Среднеагрессивная
|
Среднеагрессивная
|
Слабоагрессивная
|
|
дициандиамид
(водные растворы концентрацией до 10 г/дм)
|
Слабоагрессивная
|
Слабоагрессивная
|
Слабоагрессивная
|
|
Амиды:
диметилформамид (водные растворы концентрацией от 20 до 50 г/дм)
|
Среднеагрессивная
|
Слабоагрессивная
|
Слабоагрессивная
|
|
свыше
50 г/дм
|
Сильноагрессивная
|
Среднеагрессивная
|
Среднеагрессивная
|
|
Прочие
органические вещества:
|
|
|
|
|
фенол
(водные растворы концентрацией до 10 г/дм)
|
Среднеагрессивная
|
Среднеагрессивная
|
Среднеагрессивная
|
|
формальдегид
(водные растворы концентрацией от 20 до 50 г/дм),
|
Слабоагрессивная
|
Слабоагрессивная
|
Неагрессивная
|
|
свыше
50 г/дм
|
Среднеагрессивная
|
Среднеагрессивная
|
Слабоагрессивная
|
|
дихлорбутен
|
То
же
|
То
же
|
То
же
|
|
тетрагидрофуран
|
"
|
Слабоагрессивная
|
"
|
|
сахар
(водные растворы концентрацией св. 0,1 г/дм)
|
Слабоагрессивная
|
То
же
|
Неагрессивная
|
|
Примечание
|
|
|
|
|
|
3. ПОДТОПЛЕНИЕ
подземный вода железобетонный
коррозия
В ходе строительства сооружений и зданий, как
правило, происходит устойчивый подъем грунтовых вод с изменением их химических
свойств и температуры. Зачастую при этом происходит подтопление подвальных
помещений и коммуникаций, а в некоторых случаях происходит снижение несущей
способности грунтов. Все это влияет на строительные затраты и нарушает
нормальную эксплуатацию сооружений, в некоторых случаях приводя к серьезным
авариям.
Подтопление так же может происходить на уже
построенных объектах - при нарушении воздушно-влажностного режима, конденсации
водяных паров из атмосферы и пр. Основными же причинами подтопления территорий
является хозяйственная деятельность человека, проявляющаяся в искусственном
создании фильтрационных завес, кольматации фильтрующих пород сточными водами,
утечек из водопроводных коммуникаций, несовершенства и засорения систем
водоотведения.
3.1 БОРЬБА С ПОДТОПЛЕНИЕМ
Для того, чтобы понять какие методы борьбы с
подтоплением использовать, в первую очередь необходимо определить общую
величину водопритока. Наиболее удобна формула Г. Н. Каменского для радиального
потока:

(№5),
где 
- ширина радиально сходящегося
потока в верхнем и нижнем расчетных сечениях, 
- высота уровней грунтовых вод над
водоупором в тех же сечениях, l - расстояние между расчетными сечениями.
1. Вертикальный дренаж (с
внедрением гидровакуумной стационарной системы):
· Первый этап включает в себя
всестороннее изучение гидрогеологических условий, хозяйственной и техногенной
обстановки территории подтопления. По полученным данным после обследования
объекта, определяются количество и места заложения вертикальных
водопонизительных и наблюдательных скважин.
· На втором этапе производится бурение
водопонизительных и наблюдательных скважин различного диаметра, в зависимости
от водообильности водовмещающих пород. Затем, по полученным данным производится
корректировка количества скважин, мест их заложения, диаметры водопроводов и
производительность водозаборного оборудования.
· Третий этап предусматривает
строительство здания или оборудование любого имеющегося здания или подвального
помещения под насосную станцию, монтаж водозаборного и водоотводного трубопровода
к этой станции. Следует отметить, что при данном способе не требуется
устанавливать в скважины глубинные насосы типа ЭЦВ и водоподъёмное
оборудование, а так же подводить электролинии к каждой скважине.
· На следующем этапе, в помещении
насосной станции устанавливается насос поверхностного типа, производительность
которого зависит от количества имеющихся скважин, их дебита и необходимой
величины снижения уровня грунтовых вод.
2. Отвод грунтовых вод из-под
зданий.
Если в здании отсутствует подвал, или же
расчетный уровень грунтовых вод расположен ниже пола подвала, достаточно
изолировать стены подвала от влаги, находящейся в грунте, и воспрепятствовать
поднятию ее по стенам.
В случае если уровень грунтовых вод расположен
выше уровня пола подвала, то наиболее целесообразно устроить дренаж,
позволяющий снизить уровень грунтовой воды ниже отметки пола. Такой отвод
грунтовых вод, возможно при наличии водоемов или коллекторов сточных вод, в
которые можно сбросить воду, отводимую от здания. Если же дренаж невозможен, то
подвал может быть защищен от затопления водой при помощи специальной
гидроизоляции.
· Отвод грунтовых вод в бесподвальных
зданиях.
В случае, если фундамент и грунтовые воды
контактируют в бесподвальных зданиях, лучшим отводом грунтовых вод будет
изоляция. Здания изолируются от грунтовой сырости бетонной подготовкой пола и
изоляцией, прокладываемой в цоколе на 1,5-2 см выше уровня тротуаров и на
1,0-1,5 см ниже деревянных конструкций пола. Изоляционный слой и бетонная
подготовка должны быть в непрерывной связи - если изоляция выполняется выше
подготовки, связь достигается двойным слоем битума на внутренней поверхности
цоколя. Изоляция состоит из слоя асфальта толщиной в 1,2 см или из слоя
цементного раствора 1:1,5, толщиной в 1,5 см, или укладываются два слоя
рубероида, склеенных битумной массой.
· Отвод грунтовых вод в зданиях с
подвалами.
В зданиях с подвалами изоляция от капиллярной
сырости выполняется на уровне пола подвала, второй слой на 15-20 см выше
поверхности тротуара. Поверхность стены подвала защищается от капиллярной влаги
двойной обмазкой горячим битумом или смолой по штукатурке, смешанным раствором
1:0,5:5 (цементным раствором 1:3) с добавкой гидрозита. Обмазка производится
после подсушки штукатурки. Изоляция зданий от напорной воды выполняется путем
устройства дренажа в какой-либо водоприемник; не исключается устройство
непрерывной водонепроницаемой оболочки подвала снаружи стен и пола подвала.
3. Влияние напорных подземных
вод на конструкцию фундамента.
· При небольших напорах (от 0,1 до 0,2
м) в котлован, свободный от грунтовой воды, укладывается слой мятой глины
толщиной 25 см выше бетонной подготовки на 10-15 см и производится смазка
цементным раствором 1:3 с гидрозитом. Поверх смазки делается цементный или
асфальтовый пол. Наружная поверхность после промазки штукатурится. За
оштукатуренную стену набивается мятая жирная глина слоями по 25 см. Напор
грунтовой воды погашается весом бетонной подготовки. Непрерывность изоляции
пола и стены в песчаных грунтах достигается устройством пола подвала после
возведения стен. В глинистых (связных) грунтах осадка может длиться
продолжительное время, а поэтому для непрерывности изоляции устраивается замок
из битума с паклей.
· При напоре воды от 0,2 до 0,8м
требуется дополнительная загрузка конструкции пола тяжелым бетоном с объемным
весом 2200 кг/м3. Это дает толщину загрузки вдвое меньше превышения уровня
грунтовой воды над полом подвала. Гидроизоляция пола и стен при напорах от 0,8
до 2м устраивается по предыдущему; количество слоев рулонной изоляции
увеличивается до трех; при больших напорах изоляция четырехслойная.
· При напоре воды более 1,25м
железобетонная плита усиливается стальными или железобетонными балками.
ЗАКЛЮЧЕНИЕ
Основными выводами данной работы можно считать
рассмотрение некоторых видов воздействия агрессивных ПВ на обводненные
железобетонные конструкции, коррозионной деятельности подземных вод. Кроме
того, немаловажной заключительной частью данной работы является выделение
методов борьбы с коррозией и подтоплением.
СПИСОК ИСПОЛЬЗОВАННОЙ ЛИТЕРАТУРЫ
1.
Методические рекомендации по инженерно-геологическому изучению горных пород,
том 2, под ред. Е. М. Сергеева;
.
Рекомендации по проектированию и расчетам защитных сооружений и устройств от
подтопления промышленных площадок грунтовыми водами, «ВОДГЕО» Госстроя СССР,
«ПНИИИС» Госстроя СССР;
.
Справочник гидрогеолога, М. Е. Альтовский;
.
Практика сельскохозяйственной мелиорации, Москва, 1963;
.
СП 28.13330.2012