Фундаментальные эксперименты ХХ столетия
Содержание
Введение
. Предпосылки развития физики ХХ
столетия
. Фундаментальные эксперименты ХХ
столетия
.1 Опыт К. Рикке по проверке
неатомного характера тока в металлах
.2 Опыт Перрена по определению масс
молекул
.3 Эксперименты Э. Резерфорда по
рассеянию альфа-частиц на атомах тяжелых элементов
.4 Открытие сверхпроводимости и
сверхтекучести. Куперовские пары
.5 Опыт Томсона-Тартаковского по
дифракции электронов на тонкой поликристаллической пленке
.6 Транзистор
Вывод
Список литературы
Дополнение
Введение
физика рикке перрен резерфорд
Физика - область естествознания, наука,
изучающая наиболее общие и фундаментальные закономерности, определяющие
структуру и эволюцию материального мира. Законы физики лежат в основе всего
естествознания.
Физика XIX века представляла собой основанную на
механике Ньютона систему знаний, которая создателям этой системы представлялась
почти завершенной. Революция в физике уже в самом начале ХХ века выявила
ограниченность классической механики, чем поставила под сомнение истинность
подобных представлений.
Старые представления о вечной и почти не
изменяющейся Вселенной сменились представлениями об изменяющейся Вселенной,
которая имела начало и, возможно, будет иметь конец.
Таким образом, к началу ХХ века обнаружилась
необходимость в коренном пересмотре представлений о пространстве и времени.
Актуальность данной темы состоит в том, что
современном мире значение физики чрезвычайно велико и всё то, чем отличается
современное общество от общества прошлых веков, появилось в результате применения
на практике физических открытий
Объектом исследования в данной работе является
влияние развития физического знания в ХХ столетии на формирование современной
науки.
Предметом исследования выступают фундаментальные
эксперименты ХХ века, на которые опирается современная физика. Их число
превышает несколько десятков (дополнение), в работе рассматриваются некоторые
из них.
Принимая во внимание, практическое значение
влияние развития физического знания в ХХ столетии на становление современной
науки как объект исследования, целью данной работы является изучение
фундаментальных экспериментов ХХ столетия. Основные заданиями, которые при этом
необходимо решить, следующие:
. Ознакомиться с предпосылками развития физики в
ХХ столетии
. Рассмотреть несколько фундаментальных
экспериментов ХХ столетия.
. Проанализировать влияние рассмотренных
экспериментов на современные представления о природе.
1. Предпосылки развития физики ХХ столетия
Физика XIX века представляла собой основанную на
механике Ньютона систему знаний, которая создателям этой системы представлялась
почти завершенной. Революция в физике уже в самом начале ХХ века выявила
ограниченность классической механики, чем поставила под сомнение истинность
подобных представлений. Классическая физика, исходя из заложенного Декартом
идеала, представляла Вселенную в виде механической системы, поведение которой
можно абсолютно точно предсказать, если известны параметры, которые определяют
начальное состояние этой системы. Иными словами, основные утверждения классической
механики имеют вполне определенный и однозначный характер. Разного рода
неопределенности и неоднозначности, могущие иметь место при измерении величин,
объясняются в ее рамках неизбежными погрешностями, сложностью процедуры
измерения и т.п.
Подобная картина основывалась на предположениях,
которые считались совершенно очевидными. Первое заключалось в том, что мы живем
в жестком и определенном мире, в котором любое явление может быть строго
локализовано, и что все развитие физического мира есть изменение положения тел
в пространстве с течением времени. Второе исходило из возможности сделать
пренебрежимо малым возмущение естественного хода изучаемого процесса, вносимое
процедурой осуществления эксперимента. Как оказалось, оба предложения могут
быть справедливыми лишь для определенных условий.
2.Фундаментальные эксперименты ХХ столетия
.1 Опыт К. Рикке по проверке неатомного
характера тока в металлах
Карл Виктор Эдуард Рикке (1845-1915) убедительно
и прямо доказал, что ток в металлах имеет неатомную природу. Сегодня известно,
что он связан с переносом электронов, при этом химический состав металла не
меняется (последнее свойство, в частности, является необходимым для т.н.
проводников первого рода, к которым относятся и металлы). Установка Рикке была достаточно
простой: это три бруска, два из меди, один - из алюминия, соединенные, как
показано на рис. 1, и включенные в цепь постоянного тока. Ток поддерживался в
цепи в течение более года, при этом через контакт металлов протек заряд порядка
3×106
Кл.
После этого Рикке тщательно изучил поверхности соприкосновения металлов и не
обнаружил следов атомов алюминия в медном бруске и наоборот. Этот факт говорил
в пользу электронной теории тока в металлах.
.2 Опыт Перрена по определению масс молекул
Опыты Жана Батиста Перрена (1870-1942)
окончательно замкнули серию исследований броуновского движения, начавшихся с
самого Роберта Брауна. Как читатель мог узнать из раздела, посвященного истории
этих исследований, к началу XX века взгляды на природу броуновского движения
претерпели целую эволюцию. Тем не менее, математическая теория этого явления
появилась только в начале XX века благодаря работам польского математика
Мариана Смолуховского (1872-1917) и физика-теоретика Альберта Эйнштейна
(1879-1955)
Несмотря на то, что специалист по теории
вероятности и математической статистике может изложить эйнштейновскую теорию
броуновского движения на языке так называемых случайных процессов, вопрос о
применимости соответствующего аппарата к физическому явлению броуновского
движения соре всего останется за рамками изложения. Обоснование этой
применимости составляет, однако, существенную часть теории Эйнштейна. Этот
раздел теории броуновского движения он именовал «субстатистическим», т.е. объясняющим,
как детерминистические законы, описывающие движение отдельных молекул,
трансформируются в статистические, которым подчиняется броуновское движение.
Оказывается, что теория броуновского движения
Эйнштейна существенным образом опирается на наличие в нем иерархии временных
масштабов:
1. среднее время между
столкновениями взвешенной частицы с отдельными молекулами 
.
. средняя длительность одного
столкновения 
, которая равна по порядку величины
времени корреляции случайной силы 
, возникающей как равнодействующая
сил, действующих на броуновскую частицу со стороны всех молекул, с которыми она
находится в процессе столкновения в данный момент.
. среднее время 
, через которое, благодаря
постоянным столкновениям с молекулами, воздействующим на частицу аналогично
силе вязкого трения, броуновская частица теряет информацию о своем начальном
состоянии, а именно о начальной скорости. За это время затухает любое
изначально нехаотическое движение броуновской частицы.
С учетом иерархии 
броуновское движение частицы можно
описать так называемым уравнением Ланжевена под действием случайной силы 
В опыте, проведенном в 1908 году,
Перрен исследовал поведение частичек гуммигута, взвешенных в воде в
гравитационном поле Земли. Гуммигут - это смола, которая не растворяется в
воде, а при попадании в нее из-за сил поверхностного натяжения распадается на
множество мелких шариков. Дело в том, что у кусочков различных размеров как
массы m, так и коэффициенты трения Г, поэтому и наблюдаемые распределения
средней плотности частиц будут зависеть от их размеров. Чтобы выделить частицы
примерно одинаковой массы, Перрен разгонял их на центрифуге. В результате были
получены частицы с размерами 0,1…0,5 мм, сравнимыми с длинами волн видимого
света. Полученные в результате центрифугирования капельки эмульсии, содержащей
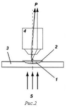
частицы гуммигута определенных размеров, помещались в кювету 1 (рис. 2) высотой
около 0,1 мм, накрытую предметным стеклом микроскопа 2. Края предметного стекла
были смазаны парафином, чтобы избежать испарения воды из кюветы и возникающих в
результате потоков жидкости. Кроме того, кювета поддерживалась при постоянной
температуре с помощью постоянного теплового контакта с термостатом 3. Источник
света S, находившийся под кюветой, освещал ее так, что прошедшие через нее лучи
попадали сначала в объектив микроскопа 4, а далее - в проекционную камеру P,
которая проецировала изображения частиц на большой экран. Экспериментальная
установка допускала как вертикальное, так и горизонтальное расположение кюветы.
Измерительная часть эксперимента
заключалась в следующем: микроскоп фокусировался на необходимом горизонтальном
слое эмульсии, а затем подсчитывалось число частиц смолы, различимых на
проекционном экране. Фактически, измерялось число этих частиц, лежащих вблизи
фокальной плоскости микроскопа. Выяснилось, что как при горизонтально, так и
при вертикально расположенной установке концентрация частиц экспоненциально
убывает с высотой. Это, с одной стороны, подтверждало распределение Больцмана,
а, с другой стороны, позволяло вычислить постоянную Больцмана k и через нее -
число Авогадро NA. Более того, полученные для NA выражения
не зависели от размеров частичек смолы, что подтверждало ее универсальный
характер.
Также Перрен сравнил полученное им в
опыте распределение концентрации плотности частиц смолы с известной со времен
Галилея и Торричелли зависимостью давления воздуха от высоты над уровнем моря.
Действительно, известно, что вблизи поверхности Земли давление убывает линейно
с высотой; с другой стороны, из уравнения Больцмана и газовых законов на малых
высотах 
получается
где p0 - давление на
уровне моря, а m - средняя масса молекул воздуха (находится между массами
молекул азота и кислорода). Получив постоянную k из эксперимента, Перрен нашел
массы молекул воздуха, которые оказались порядка 0,5×1022 г.
Фактически, Перрен получил основные
величины, характеризующие микроскопические масштабы молекулярно-кинетической
теории: число Авогадро, постоянную Больцмана и характерные массы молекул. Кроме
того, в опыте Перрена было подтверждено распределение Больцмана, а неявно -
теория броуновского движения Эйнштейна и уравнение Фоккера - Планка, которые
приводили к распределению Больцмана на основе механических (в терминологии
Эйнштейна - субстатистических) соображений. Таким образом, благодаря данным
теориям и описанному выше эксперименту науки о движении (механика) и о теплоте
(термодинамика) были окончательно связаны на микроскопическом уровне.
.3 Эксперименты Э. Резерфорда по
рассеянию альфа-частиц на атомах тяжелых элементов
Серия экспериментов Резерфорда, по
сути дела, подтвердила его планетарную модель атома, а также пролила немного
света на природу ядерных сил. В этих экспериментах исследовалось рассеяние
альфа-частиц на атомах золота. Альфа-частица представляет собой ядро атома
гелия, состоит из двух протонов и двух нейтронов, но главное - эта частица
рождается в радиоактивном распаде многих нестабильных ядер и обладает очень
высокой энергией, порядка нескольких МэВ.
В опытах Резерфорда (рис. 3)
исследовалось рассеяние на фольге Ф из золота, меди, серебра и других тяжелых
элементов.
Частицы рождались при распаде ядер
радиоактивного вещества в свинцовом контейнере (слева внизу). Рассеянные частиц
бомбардировали экран Э из сернистого цинка, вызывая в нем световые вспышки
(сцинтилляции), которые можно было наблюдать глазом через микроскоп. Оказалось,
что частицы отклоняются на все углы от 00 до 1800,
однако, малая, но существенная часть частиц отклоняется на углы, близкие к 1800
(рассеивается назад). Последнее говорило, что есть центр, который способен
оттолкнуть даже частицу с практически релятивистской энергией. Впоследствии
данный центр был отождествлен с яром атом, но сам результат оказался поначалу
неожиданным.
Дело в том, что к моменту проведения
эксперимента в науке господствовала модель атома Джозефа Джона Томсона (1903),
согласно которой точечные электроны плавают в желеобразном облаке
распределенного положительного заряда (рис. 4).
Электроны именно плавали, дрейфовали
внутри этого «желе», а не двигались с субсветовыми скоростями. Такая модель
обладала несомненным преимуществом по сравнению со сменившей ее моделью
Резерфорда: атом Томсона был устойчив, поскольку электроны не участвовали в
ускоренном движении. В такое движение они приходили только в случае, если атом
поляризовали, сместив центр отрицательного заряда относительно центра
положительного облака. Более того, тот факт, что электроны являются составляющими
атома, показал в своих экспериментах по измерению массы и заряда электрона сам
Томсон.
Модель Томсона, однако, никак не
согласовывалась с результатами экспериментов Резерфорда.
Для атомов золота атомный номер 
, а эффективный радиус
положительного облака в модели Томсона равен радиусу атома, 
.
Эксперименты же Резерфорда говорили
о том, что радиус положительного заряда имеет порядок 
.
Однако если ядро столь мало в
размере, что же удерживает электроны от падения на него? Ответ в рамках
классической физики напрашивается сам собой: центробежная сила. Другими
словами, электроны должны достаточно быстро двигаться по орбитам вокруг ядра,
чтобы поддерживать размер атома, на четыре-пять порядков величины превышающий
размеры ядра. Данная модель атома была предложена Резерфордом в 1911 году и
теперь называется планетарной из очевидной аналогии с Солнечной системой. Тем
не менее, как показывают вычисления, скорость и ускорение электрона на орбите
оказываются такими большими, что последний обязан излучать электромагнитные
волны. В результате эти волны уносят часть кинетической энергии электрона, он
тормозится… и падает на ядро! Более того, последний процесс происходит за время
порядка 10-8 секунды!
Данное противоречие было разрешено
только в рамках квантовой механики. Грубо говоря, в последней электрон может
обращаться вокруг ядра, при этом находясь в стационарном состоянии, в котором
такие величины, как плотность заряда и ток, не зависят от времени
(стационарны). Поскольку электромагнитное излучение порождают именно ток и
заряд, стационарные состояния не излучают волны и в результате стабильны.
.4 Открытие сверхпроводимости и
сверхтекучести. Куперовские пары
Поразительный эффект резкого
спадания сопротивления ртути до нуля при температуре, близкой к абсолютному
нулю, был открыт голландским физиком Хейке Камерлинг-Оннесом (1853-1926) в 1911
году. Он первым в истории достиг перехода гелия в жидкое состояние, который
происходит при атмосферном давлении при температуре 4,2 К. В своей криогенной
лаборатории он занимался изучением зависимости электрического сопротивления
металлов от температуры: согласно классическим представлениям, оно должно было
плавно падать вместе с понижением температуры, но при очень низких температурах
возрастать из-за «вмораживания» электронов в кристаллическую решетку.
Действительно, в классике средняя кинетическая энергия свободных электронов
должна быть пропорциональна температуре и поэтому становиться равной нулю при
нуле кельвин. Однако при сверхнизких температурах этого не наблюдалось -
наоборот, налицо был фазовый переход в сверхпроводящее состояние.
По современным представлениям,
сформулированным в теории Бардина-Купера-Шриффера (БКШ) в 1956 году,
сверхпроводимость - это макроскопический квантово-статистический эффект,
возникающий из-за образования так называемых куперовских пар. Куперовские пары
- это связанные состояния двух электронов, которые возникают в результате
специфического взаимодействия электронов и колебательных возбуждений
кристаллической решетки - фононов. Существенной особенностью куперовских пар
является их нулевой суммарный спин (спины двух электронов компенсируются),
поэтому на них не распространяется принцип запрета Паули. В результате
куперовские пары могут накапливаться в низшем энергетическом состоянии,
соответствующем нулевому импульсу, образуя так называемый бозе-эйнштейновский
конденсат. Частицы конденсата не могут обмениваться энергией с остальными
электронами и с ионами кристаллической решетки, поскольку это запрещают законы
сохранения энергии и импульса. В итоге мы получаем жидкость, состоящую из куперовских
пар и способную перемещаться сквозь кристаллическую решетку без потерь энергии.
Сверхтекучесть была открыта в 1938
году Петром Леонидовичем Капицей (1894-1984) в жидком гелии-3 при температурах
ниже 2,172 К. Ядра гелия-3, в отличие от гелия-4, обладают спином 1/2; таким же
спином обладает и атом изотопа. Не. Из-за своего полуцелого спина, как показал
Лев Ландау в своей теории сверхтекучести (1941), атомы гелия-3 способны
образовывать куперовские пары подобно электронам в сверхпроводнике. Эти пары
образуют конденсат, что приводит к отсутствию в сверхтекучем гелии вязкого
трения. Более того, сверхпроводимость можно рассматривать как сверхтекучесть
электронной жидкости: течение последней сквозь кристаллическую решетку не
подвержено потерям на трение, которые воспринимаются как джоулево тепло. А
отсутствие выделения джоулева тепла в неподвижном проводнике с током говорит о
его нулевом сопротивлении.
Первооткрыватели сверхпроводимости и
сверхтекучести, а также авторы теорий этих явлений были удостоены в общей
сложности четырех Нобелевских премий по физике: Камерлинг-Оннес - в 1913 году,
Капица - в 1978 году, Бардин, Купер и Шриффер - в 1972 году, а Ландау - в
1962-м.
.5 Опыт Томсона-Тартаковского по
дифракции электронов на тонкой поликристаллической пленке
Опыт, подтвердивший волновые
свойства материальных частиц, был проведен в 1928 году Джорджем Паджетом
Томсоном (1892-1975), а также независимо за год до него Петром Савичем
Тартаковским (1895-1940). В нем использовалась еще одна техника, развитая
прежде в рентгеноструктурном анализе, а именно, метод Дебая-Шерера. В этом
методе используется уже поликристаллическая пластинка L, через которую
пропускают электронный пучок высокой энергии и затем наблюдают дифракционную
картину на стоящей за поликристаллом фотопластинке P (рис. 5). В отличие от
монокристалла, использовавшегося в эксперименте Дэвиссона-Джермера,
поликристалл состоит из маленьких кристалликов, внутри которых имеет место
строгий порядок; сами же кристаллики расположены беспорядочно друг по отношению
к другу.
Если бы не было дифракционных эффектов,
кристаллики рассеивали бы свет во всех стороны. Однако условие Брэгга-Вульфа
говорит, что отражение электронного пучка от грани кристаллика происходит
тогда, когда угол ц между падающим пучком и нормали к отражающей грани
удовлетворяет соотношению:
Угол, на который в результате рассеивается
падающий пучок, составляет 2ц. В итоге множеством всевозможно ориентированных
кристалликов падающий пучок рассеивается в несколько конусов с углами раствора
При этом дифракционная картина имеет вид
концентрических окружностей (рис. 6). Данное явление было хорошо изучено в
случае рентгеновского излучения, а Томсон и Тартаковский исследовали случай
пучка электронов.
Томсон использовал электроны гораздо более
высоких энергий, чем Дэвиссон и Джермер, чтобы на пластинке уместилось хотя бы
несколько дифракционных кругов и чтобы заметная часть пучка прошла через
поликристалл (для электронов низких энергий он становится практически
непрозрачным). Действительно, даже для электронов с энергией, равной десяткам
кЭв, поликристаллическая пластинка подбиралась очень тонкой - всего лишь
десятые и сотые доли микрометра! Это в десятки-сотни раз меньше длины волны
видимого света. Монохроматический пучок таких электронов обладал длиной волны
менее ангстрема, благодаря чему наблюдалась желаемая дифракция. Далее,
аналогично опыту Дэвиссона-Джермера, исследовалась зависимость длины волны
электрона от их кинетической энергии. Кроме того, полученное из измерения
радиусов дифракционных колец расстояние между кристаллическими плоскостями
частиц поликристалла сравнивалось с результатами опытов с рентгеновскими
лучами. Результаты совпали, что говорило в пользу единства свойств пучка
электронов и электромагнитной волны высокой частоты.
.6 Транзистор
Наверное, ни одно из открытий современной физики
не повлияло столь непосредственно на жизнь людей, как транзистор. Благодаря
своим преимуществам перед электронной лампой транзистор совершил революцию в
области электронных средств связи и обеспечил создание и широкое использование
быстродействующих ЭВМ с большим объемом памяти. Наиболее очевидные преимущества
транзистора: он имеет малый объем, работая при меньших значениях напряжений, не
требует громоздких источников питания, у него отсутствует нагреваемый катод,
требующий времени на разогрев и отвод тепла. И наконец, еще одно важное
свойство транзистора, которое особенно ценно при его применении в ЭВМ, - это
малое количество потребляемой энергии в расчете на один бит информации и его
исключительная долговечность. Изобретение транзистора действительно явилось
знаменательной вехой; не удивительно, что его авторы - Джон Бардин, Уолтер
Браттейн и Уильям Шокли - были удостоены Нобелевской премии по физике за 1956
г.
Однако история создания транзистора - это не
есть история какого-либо одного тщательно поставленного эксперимента. Напротив,
открытие транзистора оказалось лишь одним из этапов весьма обширной программы
по исследованию полупроводников, проводимой группой совместно работающих
ученых. Среди них были не только физики, но и специалисты по электронике,
физической химии и металловедению. Как говорил Бардин в своей Нобелевской
лекции, «общая цель программы состояла в том, чтобы как можно глубже
разобраться в явлениях, наблюдаемых в полупроводниках, причем не эмпирически, а
объяснить их на основе атомной теории». Собственно, Нобелевская премия была
присуждена названным ученым даже не за изобретение транзистора, а за
осуществление исследовательской программы в целом. Тем не менее, Бардин
отмечал, что, «помимо собственно научного интереса, важная причина выбора
полупроводников в качестве перспективной области исследования состояла во все
расширяющихся многочисленных применениях их в электронных устройствах, к
каковым в 1945 г. относились преимущественно диоды, варисторы и термисторы. В
течение долгого времени существовала надежда создать триод, или усилитель, на
полупроводниках». Таким образом, хотя первоначально целью работы не ставилось
создание такого устройства, эта возможность всегда имелась в виду.
Начало серьезных исследований в области
полупроводников восходит, по крайней мере, к 1833 г., когда Майкл Фарадей обнаружил,
что проводимость полупроводников (он работал с сульфидом серебра) растет с
повышением температуры - в противоположность проводимости металла, которая в
этом случае уменьшается. В конце прошлого столетия были установлены три других
важных свойства: возникновение электродвижущей силы при освещении
полупроводника, используемого в качестве одного из электродов в
электролитической ванне рост проводимости полупроводника при его освещении;
выпрямляющее свойство контакта между металлом и полупроводником. Следует
заметить, что два метода резкого изменения проводимости полупроводника - путем
нагрева и освещения - были открыты довольно давно. Транзисторный эффект добавил
к ним третий метод, позволяющий управлять проводимостью посредством тока.
В письме Братейна так описывался это эксперимент
«Однажды утром Бардин зашел ко мне в кабинет и предложил определенную геометрию
устройства, в котором мог быть использован эффект усиления. Я предложил пойти в
лабораторию и проверить это.
Мы покрыли металлический наконечник тонким слоем
воска и прижали его к куску кремния р-типа, поверхность которого была
обработана таким образом, что происходил переход к проводимости п-типа. Затем
нанесли вокруг контакта каплю воды и подвели к ней электрод (рис. 7). Точка
контакта была изолирована от воды слоем воска. Обнаружилось, что приложенные
между водой и кремнием потенциалы изменяют ток, текущий через металлическое
острие в кремнии. В этот день было получено усиление по мощности!»
Действие описанного устройства состоит в
следующем. Металлическое острие смещается в «обратном» направлении, а именно в
таком, что протекающий ток мал. Частично этот ток состоит из электронов,
проходящих через поверхностный слой п-типа. Приложение к электролиту
отрицательного потенциала уменьшает число электронов в слое, что обусловлено
изменением поверхностных состояний (эффект поля), и соответственно уменьшает
ток через металлическое острие. Через электролит протекает лишь ничтожный ток,
и, таким образом, достигается усиление по току и по мощности (но не по
напряжению). Бардин отмечал, что для успеха опыта было существенно использовать
материал, имеющий очень хорошие объемные электрические свойства, а также
ограничить поток электронов в поверхностном слое путем модификации самого
материала (например, изготовляя слой п-типа в материале р-типа), а не с помощью
осаждения пленки, в которой подвижность электронов заметно снизилась бы.
Продолжим рассказ Браттейна. «Бардин предложил
провести аналогичный эксперимент на германии п-типа, и это дало еще лучший
результат. Однако капля воды испарялась, как только устройство начинало хорошо
работать, так что, по предложению Гибни, мы заменили воду боратом гликоля,
который почти совсем не испаряется. Другая проблема состояла в том, что
усиление достигалось лишь при частотах, меньших или равных 8 Гц. Мы объяснили
это медленным действием электролита. Оптимальных результатов удалось
достигнуть, когда к электролиту было приложено постоянное отрицательное
напряжение при использовании германия п-типа. При этих условиях мы заметили,
что под электродом образуется анодная оксидная пленка. Мы решили напылить на
такую пленку немного золота и далее - так как пленка изолирует золото от
германия - использовать золото как полевой электрод и обойтись без электролита.
После образования пленки мы смыли электролит и напылили золото, оставив в
центре отверстие для металлического острия. В результате происшедшего затем
электрического пробоя между острием и золотом центр капли был испорчен. Когда
же контакт переместили на край золотого пятна, был обнаружен новый эффект;
смывая электролит, мы непредвиденно смыли и растворимую в воде оксидною пленку.
Пришлось заново напылять золото на свежеанодированную поверхность германия.
После приложения к золоту небольшого положительного потенциала появился поток
дырок в направлении к поверхности германия, который сильно увеличил ток, идущий
от германия к металлическому острию, находящемуся под большим отрицательным
потенциалом»
После этой предварительной работы, результаты которой
не публиковались, создание практически полезного устройства на основе
наблюдаемого эффекта было почти неизбежным. Оставалось лишь разработать
подходящую схему такого устройства. Вот как описывал существенную часть этого
устройства Браттейн в интервью, данном им в 1964 г. в Центре истории физики при
Американском физическом институте.
«После обсуждений с Джоном Бардиным мы решили,
что следовало установить на поверхности достаточно близко друг к другу два
точечных контакта (на основании приблизительных расчетов расстояние между ними
было оценено в 0,002 дюйма). Наименьшие использованные нами для точечных
контактов провода имели 0,005 дюйма в диаметре. Сложность заключалась в том,
чтобы создать два контакта на поверхности на расстоянии не более 0,002 дюйма
друг от друга при помощи двух симметрично заостренных проводов диаметром 0,005
дюйма, которые не должны были касаться друг друга.
Мы решили эту проблему, поручив технику вырезать
из полистирена треугольную пластину с небольшим узким и плоским краем и прикрепили
к нему кусочек золотой фольги. После того как фольга была прочно прикреплена,
просушена и к ее концам присоединены контакты, я очень аккуратно разрезал
бритвой золотую фольгу в вершине треугольника пополам. Я мог точно указать
момент, когда я разделил эту фольгу. Это было все, что я сделал. Я осторожно
резал бритвой до тех пор, пока цепь не разомкнулась. Затем я укрепил все
устройство на пружине и поместил его на тот самый образец германия, который был
заранее анодирован, но находился без употребления примерно в течение недели, Я
обнаружил, что, когда я устанавливаю его правильно, так что возникает контакт с
обеими частями золотой фольги, и если один из контактов служит эмиттером, а
другой - коллектором, то я получаю усилитель с коэффициентом усиления около 100
во всем звуковом диапазоне частот».
Успех был достигнут 23 декабря 1947 г., и об
этом Бардин и Браттейн сообщили в письме в редакцию журнала The Physical Review
в июле того же года. Подробное обсуждение физических принципов и электрических
характеристик устройства было дано ими в статье, опубликованной в The Physical
Review в апреле 1949 г. Ниже мы цитируем их первое письмо.
«Приводится описание трехэлементного
электронного устройства, использующего вновь открытый принцип, который основан
на применении полупроводника в качестве основного элемента. Устройство может
быть использовано как усилитель, генератор и для других целей, для которых
обычно применяются вакуумные электронные лампы. Устройство состоит из трех
электродов, размещенных на германиевом блоке, как показано схематически на рис.
8.
Два из этих электродов, называемые эмиттером и
коллектором, являются выпрямителями с точечным контактом и располагаются в
непосредственной близости друг от друга (0,005-0,025 см) на верхней
поверхности. Третий электрод большой площади, имеющий низкое сопротивление,
нанесен на основание («базу»).
Использовался германий п-типа с избытком
электронов и удельным сопротивлением порядка 10 Ом×см.
Точечные контакты изготовлялись как из вольфрама, так и из фосфористой бронзы.
Каждый точечный контакт в отдельности вместе с
электродом базы образует выпрямитель с высоким обратным напряжением. Важное
значение для работы устройства имеет характер тока в прямом направлении. Мы
полагаем, что непосредственно у поверхности располагается тонкий слой с
проводимостью р-типа, связанной с наличием дефектов. В результате ток,
направление которого по отношению ко всему объему кристалла и является прямым,
в большой степени создается дырками, т. е. носителями, имеющими противоположный
знак по е отношению к носителям, обычно присутствующим в избытке внутри объема
германия.
Когда два точечных контакта расположены очень
близко друг к другу на поверхности и к ним приложено постоянное питающее
напряжение, контакты оказывают взаимное влияние друг на друга. Именно благодаря
ему становится возможным использовать данное устройство для усиления сигналов
переменного тока. Электрическая цепь, с помощью которой этого можно добиться,
показана на Рис. 8. К эмиттеру приложено небольшое положительное напряжение в
прямом направлении, которое вызывает ток в несколько миллиампер через
поверхность. К коллектору прикладывается обратное (отрицательное) напряжение,
достаточно большое для того, чтобы ток коллектора по порядку величины был
равным или больше тока эмиттера. Знак напряжения на коллекторе таков, что он
притягивает дырки, идущие от эмиттера; в результате большая часть тока эмиттера
проходит через коллектор. Последний создает большое сопротивление для
электронов, текущих в полупроводник, однако он почти не препятствует потоку
дырок в точечный контакт. Если, далее, ток эмиттера модулируется напряжением
сигнала, это приводит к соответствующему изменению тока коллектора. Было
обнаружено, что поток дырок из эмиттера к коллектору может изменить нормальный
ток от базы к коллектору, причем так, что изменение тока коллектора превышает
изменение тока эмиттера. Кроме того, коллектор как выпрямитель, включенный в
обратном направлении, обладает большим импедансом (104-105 Ом) и может быть с
согласован с выходной нагрузкой, имеющей большой импеданс. Была получена
большая величина отношения выходного напряжения к входному - того же порядка,
что и отношение импедансов выпрямляющего точечного контакта в обратном и прямом
направлениях. Таким образом, возникает соответствующее усиление мощности
входного сигнала...
Используя цепь, изображенную на Рис. 8, удалось
получить выигрыш в мощности более 20 дБ (т.е. более чем в 100 раз); подобные
устройства работали как усилители при частотах вплоть до 10 МГц».
То обстоятельство, что изменение тока коллектора
превосходит изменение тока эмиттера, означает, что дело здесь не только в
дырках, инжектированных эмиттером и захваченных коллектором. В подробной статье
авторы объясняют это следующим образом: «Тот факт, что ток коллектора может в
действительности изменяться более значительно, чем ток эмиттера, связан, как мы
считаем, с изменением пространственного заряда в барьерном слое вблизи
коллектора за счет дырочного тока, протекающего через переход. Увеличение
плотности объемного заряда и напряженности поля облегчает электронам выход из
коллектора, что и приводит к возрастанию тока электронов».
В этом объяснении отмечены два обстоятельства,
которые постепенно начали выявляться в ходе экспериментов. Первое состоит в
том, что изменение плотности неосновных носителей, хотя и малое по абсолютной
величине, может оказывать сильнейшее влияние на свойства всего материала в
целом. Второе сводится к тому, что существенной частью активного элемента цепи
- усилителя должно быть наличие двух границ раздела фаз: между металлом и
полупроводником и между двумя типами полупроводников, даже между металлом и
вакуумом. Эти границы должны быть достаточно близки друг к другу, чтобы
неравновесные процессы, вызванные током через одну из них, могли
непосредственно воздействовать на движение тока через другую; все три фазы,
разделенные границами, должны иметь электроподводы. Для того чтобы полностью
выяснить второе обстоятельство, потребовалось немало времени. Однако именно это
выяснение и обеспечило дальнейший прогресс.
Бардин приписывал успех работы с электролитом
наличию на поверхности полупроводника модифицированного слоя, который
ограничивает ток электронов. Однако такая интерпретация почти сразу была
поставлена под сомнение, особенно после того, как, согласно подробной статье,
обнаружилось, что «можно получать хорошие транзисторы, у которых поверхности
подготовлены обычным образом, как для выпрямителей с высоким обратным
напряжением, при условии, что коллекторный контакт формируется электрически.
Такие поверхности не обнаруживают поверхностной проводимости». Гипотеза о том,
что модифицированный поверхностный слой не играет важной роли, проверялась
несколькими способами, наиболее четкий из них был предложен Шокли и независимо
осуществлен Джоном Н. Шивом; точки эмиттера и коллектора приводились в контакт
с противоположными сторонами тонкой полоски германия, и такое устройство давало
транзисторный эффект, сравнимый с действием оригинального устройства.
Стремясь разработать эксперименты, объясняющие
это обстоятельство, Шокли пришел к рассмотрению структур, содержащих три слоя:
например, материал п-типа между двумя слоями р-типа. Он думал о таких
структурах и раньше - правда, не в связи с усилителями, - но теперь его идеи
оказались как нельзя кстати. Диффузия неосновных носителей в центральную часть
могла регулироваться приложенным к этой части потенциалом, однако, попав в
центральную часть, эти носители почти неизбежно должны были продиффундировать
далее сквозь нее. В этом состоит существо принципа работы р-п-р и
п-р-п-транзисторов. Подробная теория была опубликована в 1949 г., а первые
успешно работающие устройства появились в апреле 1950 г. С тех пор транзисторы
с п-р-п и р-п-р-переходами в значительной степени вытеснили транзисторы с точечным
контактом.
Вывод
На протяжении всего существования человечества
люди пытались понять окружающий их мир. Природное любопытство, жажда познаний и
стремление облегчить себе жизнь заставляли людей изучать законы мироздания. С
древних времен люди копили и передавали свои знания об устройстве мира, а когда
их стало достаточное количество - образовалась наука, которую мы сейчас
называем физика.
Именно физики двигают прогресс, именно благодаря
этой науке мы используем сложнейшие аппараты, живем в домах, где есть газ,
телефон, свет, водоснабжение и канализация. Эта наука дала человеку комфорт и
безопасность, покорила силы стихий и открыла новые горизонты для завоеваний.
Практически во всем, что нас окружает, есть заслуга физики.
История физики хранит немало событий и фактов,
оказавших большое влияние на ход развития этой древней науки и составивших
золотой фонд ее памяти.
Физическое понимание процессов, происходящих в
природе, постоянно развивается. Большинство новых открытий вскоре получают
применение в технике и промышленности. Однако новые исследования постоянно
поднимают новые загадки и обнаруживают явления, для объяснения которых
требуются новые физические теории. Несмотря на огромный объём накопленных
знаний, современная физика ещё очень далека от того, чтобы объяснить все
явления природы.
Список литературы
1. Тригг Дж. Физика ХХ века:
ключевые эксперименты. Пер. с англ. Ю.Г. Рудого, под ред. В.С. Эдельмана. М.,
«Мир», 1978.
.
http://novmysl.finam.ru/ListOfExperimentsChrono.html
. http://novmysl.finam.ru/Electrodynamics/Rikke.html
.
http://novmysl.finam.ru/ThermoStat/Perrin.html
.
http://novmysl.finam.ru/Quantum/Rutherford_scattering.html
.
http://novmysl.finam.ru/Quantum/Superconductivity.html
.
http://novmysl.finam.ru/Quantum/ThomsonTartakovsky.html
.
http://works.tarefer.ru/89/100267/index.html
.http://www.google.com.ua/url
Дополнение
(1901) Опыт К. Рикке по проверке неатомного
характера тока в металлах
(1908) Опыт Перрена по определению масс молекул.
Распределение Больцмана и теория броуновского движения
(1910) Эксперименты Э. Резерфорда по рассеянию
альфа-частиц на атомах тяжелых элементов
(1911; 1938) Открытие сверхпроводимости и
сверхтекучести. Куперовские пары
(1910-1913) Опыты Милликена и Иоффе по измерению
заряда электрона. Дискретность электрического заряда
(1910-1913) Опыт Толмена-Стюарта по наблюдению
инерционного тока в металлах. Определение знака заряда носителей тока в них и
соотношения e/m
(1912) Открытие дифракции рентгеновских лучей М.
фон Лауэ
(1913) Наблюдения кривых блеска двойных звезд и
другие астрономические подтверждения постоянства скорости света в вакууме
(1913) Опыт Франка-Герца
(1914) Магнитомеханический опыт Барнетта и
гиромагнитное отношение для спина электрона
(1919) Опыт 1919г. по наблюдению отклонения
световых лучей в гравитационном поле Солнца. Гравитационные линзы
(1920) Опыт Штерна по измерению скоростей
движения молекул в газе. Распределение Максвелла
(1921) Опыт Штерна-Герлаха. Спин электрона
(1923) Эффект Комптона - неупругое рассеяние
жесткого электромагнитного излучения на заряженных частицах
(1927) Опыт Дэвиссона-Джермера по дифракции
электронов. Гипотеза де Бройля. Копускулярно-волновой дуализм
(1928) Опыт Томсона-Тартаковского по дифракции
электронов на тонкой поликристаллической пленке
(1929) Космологическое красное смещение и
расширение Вселенной. Закон Хаббла. Модели Фридмана
(1932) Открытие позитрона. Античастицы
(1932) Опыт Кеннеди-Торндайка как проверка
релятивистской формулы для замедления времени
(1930-1934) Наблюдение поглощения отдельных
фотонов в фотоэлектронном умножителе
(1938) Измерение релятивистских поправок к
эффекту Доплера. Опыт Ивеса-Стилвелла
(1941) Наблюдение среднего времени жизни
нестабильных релятивистских частиц
(1947) Наблюдение лэмбовского сдвига в атомах -
первое свидетельство существования электромагнитного вакуума
(1947) Открытие пионов (пи-мезонов). Теория
ядерных сил Юкавы
(1948) Измерение аномального магнитного момента
электрона
(1950) Наблюдение спинового эха в статистических
системах - реализация парадокса Лошмидта.
(1951) Резонансы в реакциях между элементарными
частицами. Их описание как короткоживущие промежуточные частицы
(1956) Открытие нейтрино. Догадка В. Паули.
Слабое взаимодействие
(1959) Изучение гравитационного красного
смещения с помощью мёссбауэровской спектроскопии. Опыт Паунда-Ребка
(1954-1960 и позднее) Изобретение лазера и
открытие нелинейно-оптических эффектов.
(1961) Наблюдение К. Йонссоном интерференции
электронов на двух щелях (опыт Юнга с электронами). Коллапс волновой функции
(1936 - мюон, 1962 - мюонное нейтрино,…, 2000 -
тау-нейтрино) Наблюдение высших поколений лептонов и кварков
(1964) Открытие реликтового излучения. Горячая
вселенная Г. Гамова
(1965) Ускорители на встречных пучках -
непосредственное воплощение принципов релятивистской динамики частиц.
(1967) Открытие внутренней структуры адронов.
Кварковая модель
(1971) Наблюдение замедления времени в
гравитационном поле. Опыт Хафеле-Китинга
(1972, 1981) ЭПР-парадокс. Опыты
Фридмана-Клаузера и Аспэ. Копенгагенская интерпретация квантовой механики
(1974) Наблюдения двойных пульсаров: прецессия
периастра и потери энергии на гравитационное излучение.