Совершенствование системы учета и контроля ядерных материалов хранилища отработавшего ядерного топлива

  • Вид работы:
    Дипломная (ВКР)
  • Предмет:
    Физика
  • Язык:
    Русский
    ,
    Формат файла:
    MS Word
    374,88 Кб
  • Опубликовано:
    2014-03-15
Вы можете узнать стоимость помощи в написании студенческой работы.
Помощь в написании работы, которую точно примут!

Совершенствование системы учета и контроля ядерных материалов хранилища отработавшего ядерного топлива

Реферат

Выпускная квалификационная работа 91 с., 5 рисунков, 13 таблиц, 18 источников, 3 приложения, 1 л. графич. материала.

Ключевые слова: ядерный материал, учет и контроль ядерных материалов, зона баланса материалов, средства контроля доступа, пломбы физическая инвентаризация.

Цель работы - анализ и разработка рекомендаций по совершенствованию действующей системы учета и контроля ядерных материалов в «мокром» хранилище отработавшего ядерного топлива реакторных установок ВВЭР-1000.

В процессе работы проводился анализ нормативно - правовой документации и выделение требований к применению средств контроля доступа и проведению физической инвентаризации, разработаны рекомендации к действующей СУиК ЯМ в ХОЯТ ВУ ВВЭР-1000.

В результате работы были созданы рекомендации по созданию системы видеонаблюдения и автоматизированной системы сбора данных на действующем ХОЯТ РУ ВВЭР-1000.

Выпускная квалификационная работа выполнена в текстовом редакторе Microsoft Office Word 2013.

Содержание

Введение

. Анализ существующей системы учета и контроля ЯМ в хранилище ОЯТ РУ ВВЭР-1000

.1 Требования нормативной документации в области учета и контроля ЯМ

.2 Технологические решения «мокрого» хранилища ОЯТ

.3 Методы учета и контроля ЯМ в технологическом процессе обращения с ОЯТ

.4 Физические границы и структура ЗБМ-10

.5 Схема движения ЯМ в ЗБМ. Места размещения ЯМ на схеме ЗБМ

.6 Учет и контроль при передачах ЯМ

.7 Описание СКД к ЯМ в ХОЯТ

.8 Программа применения пломб

.9 Физическая инвентаризация ЯМ

.10 Виды, порядок оценки безвозвратных потерь ЯМ

. Разработка рекомендаций по совершенствованию действующей СУиК ЯМ в хранилище ОЯТ РУ ВВЭР-1000

.1 Обоснования и требования к модернизации действующей СУиК ЯМ

.2 Технологическое решение по выбору и размещению технических систем

.2.1 Технологическое решение использования средств наблюдения в хранилище ОЯТ

.2.2 Технологическое решение использования АССД в хранилища ОЯТ

. Организационно-экономическая часть

.1 Технико-экономическое обоснование

.2 Обзор рассматриваемых вопросов

.3 Планирование НИР

.3.1 Планирование этапов и работ по выполнению НИР

.3.2 Определение трудоемкости выполнения НИР

.3.3 Техническая готовность темы

.4 Разработка календарного плана работ

.5 Определение плановой себестоимости проведения НИР

.5.1 Состав затрат, включаемых в себестоимость НИР

. Производственная и экологическая безопасность при совершенствовании СУиК ЯМ в хранилище ОЯТ РУ ВВЭР-1000

.1 Анализ опасных и вредных производственных факторов

.2 Обоснование и разработка мероприятий по снижению уровней опасного и вредного воздействия и устранению их влияния на работающих

.2.1 Организационные и технические мероприятия на рабочем месте и при работе с ПЭВМ

.2.2 Электробезопасность

.2.3 Пожарная и взрывная безопасность

Заключение

Список использованных источников

Приложение А

Приложение Б

Приложение В

Обозначения и сокращения

АРМ             -   автоматизированное рабочее место

АССД          -   автоматизированная система сбора данных

БВ                -   бассейн выдержки

В-К               -   вагон - контейнер

Группа ЭиЯБ   -  группа эксплуатации и ядерной безопасности

ГХК             -   Горно-химический комбинат

ЖДК            -   железнодорожный коридор

ЗБМ             -   зона баланса материалов

зд.                -   здание (сооружение)

ИР                -   инвентаризационная разница

ИХЗ              -   Изотопно-химический завод

КТИ             -   ключевая точка измерений

МБО             -   материально-балансовый отчет

МБП             -   межбалансовый период

МОЛ            -   материально-ответственное лицо

МП               -   машина перегрузочная

НД                -   нормативная документация

НИИАР        -   Научно-исследовательский институт атомных реакторов

ОГМ             -   отдел главного механика

ОИК             -   отчёт об изменении инвентарного количества

ОТВС           -   отработавшая тепловыделяющая сборка

отм.              -   геодезическая отметка

ОЯТ             -   отработавшее ядерное топливо

ПЭГ             -   планово-экономическая группа

РИК             -   рабочая инвентаризационная комиссия

СНК             -   список наличного количества ядерных материалов

СУиК           -   система учета и контроля

СФНК          -   список фактически наличного количества ядерных материалов

СХТК           -   Служба хранения, транспортирования и контроля спецпродукции

ТО                -   технический отдел

УиК              -   учет и контроль

УЕ                -   учетная единица

ФГУП “ГХК”   -  Федеральное государственное унитарное предприятие “Горно-химический комбинат”

ФИ               -   физическая инвентаризация

ХОЯТ          -   хранилище отработавшего ядерного топлива

ЯБ                -   ядерная безопасность

ЯМ               -   ядерный материал

Термины и определения

В данной работе применены следующие термины с соответствующими определениями:

Аномалия в учете и контроле ядерных материалов - расхождение значений фактически наличного количества ядерных материалов и данных учетных документов, выходящее за установленные пределы, недостача (излишек) учетной единицы с ядерными материалами.

Баланс ядерных материалов - сравнительный итог зарегистрированного и фактически наличного количества ядерных материалов.

Вид ядерных материалов - совокупность ЯМ, параметры которых находятся в области, устанавливаемой Госкорпорацией "Росатом" и (или) эксплуатирующей организацией.

Зона баланса материалов - территориально и административно установленная в пределах ядерной установки или пункта хранения ядерных материалов зона для учета и контроля ядерных материалов, в которой на основании измерений определяется количество ядерных материалов при каждом их перемещении в зону и из нее и подводится баланс ядерных материалов за установленный период времени.

Инвентаризационная разница - разница между фактически наличным и документально зарегистрированным количеством ядерного материала.

Категория ядерного материала - Количественная и качественная характеристика совокупности ЯМ в ЗБМ с точки зрения учета и контроля ЯМ.

Ключевая точка измерений - место в ЗБМ, где проводятся учетные и (или) подтверждающие измерения.

Контроль ядерных материалов - административный контроль за наличием и перемещением ядерных материалов с целью предотвращения их несанкционированного использования.

Материально-ответственное лицо - лицо из числа персонала, на которое специальным приказом и/или по договору возложена ответственность за учет и сохранность ЯМ и специальных неядерных материалов, а также контроль за их перемещением в ЗБМ.

Межбалансовый период - промежуток времени между двумя последовательными физическими инвентаризациями.

Отработавшая тепловыделяющая сборка (ОТВС)- тепловыделяющая сборка ядерного реактора, проработавшая в ядерном реакторе, дальнейшее использование которой в нем исключается.

Отработавшее ядерное топливо (ОЯТ) - облученное ядерное топливо, извлеченное из ядерного реактора.

Отчетные данные - данные о продуктах и ЯМ, непосредственно (без пересчета) используемые для составления отчетных документов ЗБМ, ЗО организации.

Партия материала (учетная партия) - совокупность (порция) ЯМ (продукта), содержащаяся в одной или нескольких УЕ, технологическом оборудовании, количественный и (или) качественный состав которого в целях учета и контроля определен на основании единого набора данных и результатов измерений, зарегистрированных в учетных документах.

Подтверждающие измерения - измерения, результаты которых используются для подтверждения всех или некоторых учетных данных УЕ, партий ЯМ.

Пломба - техническое средство, используемое для целей учета и контроля ядерных материалов, имеющее идентификационный признак, предназначенное для обнаружения несанкционированного доступа к объектам применения.

Система учета и контроля ядерных материалов - совокупность организационных, административных и правовых мер, инженерных, технических средств и программного обеспечения, а также методик обработки информации и действий персонала, направленных на обеспечение целей и задач контроля обращения ЯМ.

Средства контроля доступа - технические средства, предназначенные для обнаружения несанкционированных изъятия, использования, перемещения ядерных материалов, а так же несанкционированного доступа к ЯМ. Подразделяются на системы наблюдения и пломбы.

Учет ядерных материалов - определение количества ядерных материалов, составление, регистрация и ведение учетных и отчетных документов.

Учетные данные - параметры продуктов, ЯМ, атрибутивные признаки УЕ, используемые для сбора и хранения в рамках ведения учета.

Учетная единица - объект, содержащий ЯМ, имеющий индивидуальный атрибутивный признак или индивидуальную совокупность атрибутивных признаков, параметры которого зарегистрированы в учетных документах, а целостность подтверждена мерами контроля доступа с момента регистрации учетных данных.

Учетные измерения - измерения характеристик ядерных материалов, продуктов, результаты которых используются для определения данных, регистрируемых в учетных документах.

Физическая инвентаризация - определение фактического количества ядерных материалов, имеющихся в наличии в ЗБМ.

Ядерные материалы - материалы, содержащие или способные воспроизвести делящиеся (расщепляющиеся) ядерные вещества. [1]

Введение


Значительные усилия в мире прилагаются к тому, чтобы обеспечить безопасное обращение с ядерными материалами. В том числе безопасное обращение направлено на обеспечение сохранности и непрерывности знаний о ядерном материале. А это подразумевает три главные составляющие безопасного обращения: физическая защита, учет и контроль ядерных материалов. Основная цель мероприятий по учету и контролю ядерных материалов - предотвращение хищений и его несанкционированного использования.

Целью данной выпускной квалификационной работы являются анализ существующей системы учета и контроля ядерных материалов в «мокром» хранилище отработавшего ядерного топлива реакторных установок ВВЭР-1000 и разработка рекомендаций по ее совершенствованию. Для достижения поставленной цели были сформулированы следующие задачи:

-       анализ нормативно-правовой документации и выделение требований к применению средств контроля доступа и проведению физической инвентаризации;

-       рассмотрение существующей системы учета и контроля ЯМ в хранилище ОЯТ РУ ВВЭР-1000;

-       рекомендации по совершенствованию системы видеонаблюдения и созданию концепта автоматизированной системы сбора данных;

-       подготовка экономического раздела дипломной работы;

-       подготовка раздела охраны труда дипломной работы.

1. Анализ существующей системы учета и контроля ЯМ в хранилище ОЯТ РУ ВВЭР-1000

 

.1 Требования нормативной документации в области учета и контроля ЯМ


НП-030-2012 «Основные правила учета и контроля ядерных материалов» является одним из основных нормативных документов, регламентирующих правила государственного учета и контроля ядерных материалов. Знакомство с ключевыми положениями этого документа необходимо для понимания содержания системы государственного учета и контроля ядерных материалов, образующих ее элементов, а также применяемых процедур и методик ее осуществления.

Согласно этому документу, ядерные материалы подлежат государственному учету и контролю, начиная с минимальных количеств.

Также ядерные материалы классифицируют по категориям в целях обеспечения дифференцированного подхода к определению процедур и методов учета и контроля. Критерием классификации по категориям ЯМ является «привлекательность» ЯМ для возможного хищения. Эта классификация позволяет сосредоточить усилия на физической защите, учете и контроле наиболее «привлекательных» для хищения видов ЯМ. Всего выделены четыре категории: 1 категория соответствует максимальной «привлекательности»; 4 - минимальной.

Эксплуатирующие организации устанавливают зоны баланса материалов (ЗБМ) в пределах ядерной установки или пункта хранения ядерных материалов.

Разделение предприятия на ЗБМ позволяет эксплуатирующей организации оптимизировать затраты труда, ресурсов и времени, необходимых для успешного проведения физических инвентаризаций и оперативного УиК ЯМ. Увеличение числа ЗБМ предупреждает возникновение аномалий в учете ЯМ, и, тем самым, уменьшает затраты на расследование причин их возникновения. С другой стороны, увеличение числа ЗБМ приводит к увеличению затрат на средства контроля доступа, пропускной режим, увеличение численности персонала. Процесс разделения предприятия на ЗБМ - есть итерационная процедура, в процессе которой происходит оптимизация трудовых и материальных затрат на УиК ЯМ.

В НП-081-07 и НП-030-2012 сформулированы требования, которыми следует руководствоваться при организации ЗБМ:

-       масса ядерного материала, поступающего в ЗБМ и отправляемого из ЗБМ, должна определяться на основе измеренных характеристик ядерных материалов (кроме случаев, когда допускается применение расчетных методик), результатов полного пересчета и идентификации учетных единиц, тары, в которой находится ядерный материал, по данным сопроводительной документации, паспортным данным ядерных материалов;

-       ядерные материалы различных категорий по возможности должны быть отнесены к разным ЗБМ;

-       структурные подразделения эксплуатирующей организации, такие, как заводские лаборатории, зоны перевалки и склады, а также участки с ядерными материалами, требующие специальной защиты информации, должны быть выделены в отдельные ЗБМ.

В каждой ЗБМ определяют ключевые точки измерений (КТИ) ядерных материалов.

В каждой ЗБМ необходимо организовать КТИ таким образом, чтобы поступление ЯМ в ЗБМ и передача ЯМ из ЗБМ осуществлялась через КТИ. Количество КТИ в ЗБМ диктуется особенностями технологического процесса и системы УиК ЯМ в ЗБМ.

В местах нахождения ядерных материалов должны применяться средства контроля доступа (СКД). СКД подразделяются на системы наблюдения и пломбы.

СКД, сами по себе, не обеспечивают сохранности ядерных материалов. Они являются одним из рубежей в глубокоэшелонированной системе физической защиты, учета и контроля ЯМ. При надлежащем применении СКД позволяют обнаружить попытки доступа к ЯМ или констатировать, что доступа к ЯМ не было. В последнем случае для УиК ЯМ могут быть использованы результаты ранее проведенных измерений ЯМ и, тем самым, сокращены ресурсы и трудозатраты, необходимые на их проведение.

Учет ядерных материалов основывается на результатах измерений количественных характеристик ядерных материалов.

Учетные измерения - измерения параметров (характеристик) ЯМ, продуктов, результаты которых используются для определения данных, регистрируемых в учетных документах.

Подтверждающие измерения - измерения, результаты которых используются для подтверждения всех или некоторых учетных данных УЕ, партий ЯМ.

Только объективные данные - результаты количественных измерений ЯМ могут являться основой для УиК ЯМ.

Допускается:

-       использование результатов предыдущих измерений количественных характеристик ядерных материалов, если их достоверность подтверждена надлежащим применением СКД, соответствующими подтверждающими измерениями;

-       применение расчетных методов (методик), основанных на результатах предварительных измерений или экспериментальных исследований.

Для определения фактически наличных количеств ядерных материалов в ЗБМ проводятся физические инвентаризации (ФИ). При физической инвентаризации должны осуществляться:

-       подготовка к физической инвентаризации;

-       составление СНК для ЗБМ на дату инвентаризации;

-       проверка соответствия данных СНК и данных учетных документов;

-       проверка состояния пломб, анализ данных других СКД, в том числе применяемых в целях физической защиты помещений, в которых осуществляется обращение с ЯМ;

-       учетные и (или) подтверждающие измерения, проверка атрибутивных признаков;

-       оценка значений количеств неизмеренных потерь ЯМ и их погрешностей в соответствии с установленными в организации методиками;

-       составление инвентаризационной комиссией СФНК, сверка данных СФНК с данными СНК;

-       определение значений ИР и ее погрешности для каждого ЯМ.

Физические инвентаризации в ЗБМ должны быть спланированы, организованы и проведены не реже:

-       двух календарных месяцев (для ЗБМ с ЯМ категории 1);

-       трех календарных месяцев (для ЗБМ с ЯМ категории 2);

-       шести календарных месяцев (для ЗБМ с ЯМ категории 3);

-       двенадцати календарных месяцев (для ЗБМ с ЯМ категории 4).

Атрибутивные признаки - признаки объекта, допускающие их проверку средствами визуального и (или) инструментального контроля.

Примеры атрибутивных признаков:

-       идентификатор (номер);

-       местоположение (номер помещения, стеллажа, места, ячейки и т.п.);

-       вид и номер пломбы;

-       состояние оболочки, конструкционных элементов, характеризующих целостность объекта, УЕ.

Вес объекта не является атрибутивным признаком.

Инвентаризационная разница (ИР) - разница между фактически наличным и документально зарегистрированным количеством ядерного материала. ИР данного ядерного материала в ЗБМ определяется с помощью уравнения:

ИР=ФК-ДК=ФК-(НК+УВ-УМ)                          (1.1)

где ФК - фактически наличное количество ядерного материала в ЗБМ, определенное в результате данной физической инвентаризации;

ДК - документально зарегистрированное количество ядерного материала в ЗБМ на начало инвентаризации;

УВ - определенное и документально зарегистрированное увеличение количества ядерного материала в ЗБМ за данный межбалансовый период в результате всех поступлений, наработок и т.д.;

УМ - определенное и документально зарегистрированное уменьшение количества ядерного материала в ЗБМ за данный межбалансовый период в результате всех отправок из ЗБМ, ядерных превращений, потерь и т.д.;

НК - наличное количество ядерного материала в ЗБМ, определенное и документально зарегистрированное на начало данного межбалансового периода.

Выводы о недостаче/излишках ядерных материалов, о качестве учета и контроля ядерных материалов делаются на основе результатов определения фактического наличия ядерных материалов, включая статистические правила принятия решений, путем сравнения полученной величины ИР с ее допустимой величиной для каждой ЗБМ.

В НП-030-2012 определены допустимые величины ИР (критерии обнаружения аномалий в учете и контроле ядерных материалов) для каждой ЗБМ.

К аномалиям относятся:

-       недостача (излишек) УЕ;

-       расхождение значений фактически наличного количества ядерных материалов и данных учетных документов, выходящее за установленные пределы.

Аномалии должны быть подтверждены на основании проверки по исходным документам правильности данных в учетной документации.

При обнаружении аномалий в количественных показателях следует подтвердить наличие расхождений на основании исходной документации, представить результаты подтверждения правильности калибровки и результаты контроля качества измерений, провести повторные физические измерения.

При нарушении пломбы на контейнере следует уточнить, когда пломба была проверена в последний раз, проверить, является ли нарушение пломбы случайным, провести повторные измерения, выяснить, кто в последний раз имел доступ к ядерному материалу.

Результаты обнаружения аномалий должны быть отражены в специальном отчете.

Определение ИР и оценивание ее статистической значимости проводят по результатам физической инвентаризации.

Если в течение межбалансового периода (МБП), предшествующего данной инвентаризации, в ЗБМ выполнялись учетные измерения данных ядерных материалов при их производстве, получении, переработке, отправке или таковые производились в процессе инвентаризации, то критерием обнаружения аномалий в учете и контроле этих ядерных материалов является превышение модулем ИР наименьшего из значений нижеперечисленных величин:

-       утроенной среднеквадратической погрешности определения ИР;

-       2% от количества данного ЯМ, которое было преобразовано и подверглось учетным измерениям в данный МБП или в процессе физической инвентаризации - для промышленных ядерных установок;

-       3% от такой же величины - для исследовательских ядерных установок и заводских лабораторий;

-       3 кг - по плутонию, урану-233 для ЗБМ, содержащих ЯМ категорий 1, 2;

-       8 кг - по урану-235 для ЗБМ, содержащих ЯМ категорий 1, 2 и 3;

-       50 кг - по урану-235 и 8 кг - по плутонию (для ЗБМ радиохимических заводов, в которых перерабатываются уран-плутониевые растворы);

-       70 кг - по урану-235 для ЗБМ, содержащих ЯМ категории 4, в продуктах с концентрацией (содержанием) ВОУ менее 1 г/л (1 г/кг), а также:

-       любых продуктах, содержащих НОУ, природный и обедненный уран;

-       любых продуктах, содержащих ВОУ с мощностью поглощенной дозы на расстоянии 1 м без защиты не менее 1 Гр/ч = 100 рад/ч.

Если в течение МБП и в процессе проведения физической инвентаризации учетные измерения данного ЯМ не выполнялись, а достоверность результатов предыдущих учетных измерений была обеспечена применением СКД, в том числе используемых в целях физической защиты помещений, в которых осуществляется обращение с ЯМ, то выводы об отсутствии аномалий в учете и контроле ЯМ должны быть сделаны на основе результатов выборочных подтверждающих измерений, а также проверки СКД. Объем случайной выборки УЕ, которые будут подвергнуты подтверждающим измерениям, определяется с помощью статистических методов, исходя из значений двух параметров: порогового количества ЯМ для обнаружения их недостачи (излишка) и вероятности обнаружения недостачи (излишка) этого порогового количества.

Для ЯМ категорий 1, 2 и 3 пороговое количество составляет:

-       3 кг - для плутония, урана-233;

-       8 кг - для урана-235.

Для НОУ (категория 4) пороговое количество составляет 70 кг по урану-235.

Если масса ЯМ в ЗБМ меньше вышеуказанного значения, то пороговое количество составляет 30% от массы данного ЯМ в ЗБМ.

Для остальных ЯМ значение порогового количества составляет 5% от документально зарегистрированного наличного количества данного ЯМ в ЗБМ на момент инвентаризации.

Ведение учетных документов на всех уровнях государственного учета и контроля ядерных материалов должно осуществляться по установленным единым формам отчетности.

Унификация документов упрощает их использование. НП-030-2012 устанавливает следующую систему учетных и отчетных документов.

Учетные документы ведутся для каждой ЗБМ и содержат данные о каждом виде ядерного материала, включая: количество ядерных материалов в ЗБМ; изменения количества ядерных материалов в ЗБМ. В учетных документах отражаются также:

-       все изменения количества ядерных материалов для каждой партии;

-       характеристики партий и исходные данные для формирования партии;

-       указываются даты изменения количества ядерных материалов; указываются ЗБМ организации-отправителя и организации-получателя.

В соответствующих документах отражаются также данные, используемые для определения количественных и качественных изменений ядерных материалов в ЗБМ, включая:

-       результаты калибровки, проверки и поверки всех измерительных средств;

-       данные об отборе проб и результатах их анализа; результаты контроля качества измерений; случайные и систематические погрешности измерений.

В каждой эксплуатирующей организации создается и действует, основанная на учетных документах система отчетных документов в рамках единой системы форм отчетности, состоящая из: ОИК - отчет об изменении инвентарных количеств; МБО - материально-балансовый отчет; СНК - список наличных количеств; СФНК - список фактически наличных количеств; СО - специальный отчет.

НП-030-2012 регламентирует содержание перечисленных документов и структуру рассылки этих документов.

Исправление учетных данных допускается только путем внесения изменений в учетные документы в соответствии с установленным в организации порядком, с указанием даты и лица, внесшего изменения, и возможностью прочтения ошибочно сделанной записи. В случае исправления отчетных данных предоставляются новые отчетные документы.

Никакая информация в учетных документах не должна уничтожаться. Она всегда должна быть доступной для последующего анализа. Системы учета и контроля ядерных материалов в ведомствах, эксплуатирующих организациях, предприятиях, ЗБМ должны обеспечивать сохранность и защиту информации. [2]

1.2 Технологические решения «мокрого» хранилища ОЯТ


Горно-химический комбинат - Федеральное государственное унитарное предприятие в составе Государственной корпорации по атомной энергии «Росатом». Это уникальное предприятие с подземным расположением основных ядерных производств, не имеющее аналогов в мире. Основное назначение ГХК до 1995 года - выполнение государственного оборонного заказа по производству плутония для ядерного оружия. За успешное освоение сложных промышленных технологий и выполнение производственных показателей в 1966 году комбинат награжден орденом Ленина.

Сегодня ГХК - ведущее в России предприятие по созданию полного технологического комплекса в области цивилизованного обращения с отработанным ядерным топливом (ОЯТ) энергетических реакторов и замыканию ядерного топливного цикла. За значительный вклад в развитие атомной промышленности страны в 2010 году комбинат награжден Почетной грамотой Правительства Российской Федерации.

В настоящее время основными видами деятельности являются:

-       транспортирование и хранение отработавшего ядерного топлива;

-       выработка тепловой энергии на СТС для отопления и горячего водоснабжения города Железногорска;

-       вывод из эксплуатации объектов оборонного комплекса;

-       строительство и эксплуатация «сухого» хранилища отработавшего ядерного топлива;

-       эксплуатация «мокрого» хранилища отработавшего ядерного топлива;

-       создание завода по производству МОКС-топлива для реакторов на быстрых нейтронах;

-       создание опытно-демонстрационного центра (ОДЦ) по радиохимической переработке ОЯТ.

Водоохлаждаемое («мокрое») хранилище было введено в эксплуатацию в 1985 году и предназначено для технологической выдержки ОЯТ реакторов ВВЭР-1000 перед будущей радиохимической переработкой.

Хранилище функционально разделено на три отделения:

-       отделение приёма контейнеров с ОЯТ РУ ВВЭР-1000 и подготовки их к разгрузке;

-       отделение хранения ОЯТ РУ ВВЭР-1000 в бассейнах выдержки;

-       отделение водоподготовки и вспомогательных служб.

Доставка ОЯТ с АЭС на ФГУП «ГХК» осуществляется на специальных транспортёрах в сертифицированных контейнерах, соответствующих требованиям МАГАТЭ по безопасности.

Обращение с ОЯТ ВВЭР-1000 на «мокром» хранилище включает в себя следующие основные операции:

-       приём транспортёра в здание хранилища;

-       открытие створок крыши транспортёра, дозиметрический контроль транспортного контейнера (ТК) и установка контейнера в вертикальное положение;

-       передача контейнера в узел расхолаживания, где осуществляется сброс давления газа из ТК, снижение температуры ОТВС в ТК и подготовка ТК к разгрузке ОЯТ в чехол хранения;

-       транспортирование ТК с ОЯТ из узла расхолаживания в отсек перегрузки;

-       перегрузка ОТВС ВВЭР-1000 из транспортного контейнера в чехол хранения;

-       транспортирование загруженного чехла хранения в бассейн выдержки отделения хранения;

-       опорожнение ТК от воды, полная дезактивация его внешней поверхности в узле мойки контейнеров с последующим осмотром и подготовкой к очередному рейсу.

.09.2010 заполнение «мокрого» хранилища ОЯТ доведено до проектной вместимости. В 2011 году завершилась реконструкция объекта, обусловленная необходимостью приведения его в соответствие с действующими нормами и правилами для обеспечения дальнейшей безопасной эксплуатации и увеличением вместимости для обеспечения ритмичного приёма ОЯТ атомных электростанций.

В результате реконструкции выполнены следующие работы:

-       перенос узла расхолаживания контейнера на новое место, расположенное в непосредственной близости от отсека разгрузки;

-       реконструкция отсека перегрузки с установкой напольной перегрузочной машины, предназначенной для перегрузки ОТВС в автоматическом режиме;

-       реконструкция системы охлаждения воды бассейна выдержки;

-       замена кранов с увеличением их грузоподъемности и приведения их в соответствие с требованиями действующей нормативной документации;

-       полная замена кровельного покрытия на облегченное и пожаробезопасное;

-       усиление основных несущих конструкций каркаса и железобетонных колонн здания хранилища;

-       создание дополнительного узла хранения ОТВС;

-       оснащение хранилища новыми средствами технологического и радиационного контроля, соответствующими требованиям, предъявляемым к оборудованию ОЯТЦ и подключение их к АСКДУ;

-       оснащение хранилища автоматической пожарной сигнализацией, предназначенной для обнаружения пожара, включения оповещения о пожаре и дымоудаления, отключения вентсистем и передачи сигналов о пожаре на пульт оператора;

-       реконструкция существующей системы учета и контроля ядерных материалов, обеспечивающая своевременное получение информации о местонахождении, составе и массе ядерных материалов, позволяющей надёжно контролировать наличие ядерных материалов и предотвращать их потерю, хищение или несанкционированное использование.

В результате реконструкции хранилище является безопасным объектом использования атомной энергии на современной технологической платформе с увеличенной вместимостью. [3]

1.3 Методы учета и контроля ЯМ в технологическом процессе обращения с ОЯТ


Согласно НП-030-2012, СУиК ЯМ должна выполнять следующие функции:

-       сбор и хранение информации о ЯМ, поступающих на хранение в хранилище ОЯТ РУ ВВЭР-1000;

-       формирование, регистрация и ведение учетных и отчетных документов;

-       контроль за перемещением ЯМ;

-       контроль доступа к ЯМ и защита данных;

-       инвентаризация имеющихся в наличии ЯМ;

-       предотвращение потерь, несанкционированного использования и хищения ЯМ;

-       предоставление Федеральным органам исполнительной власти информации о наличии и перемещении ЯМ.

Ядерные материалы в ЗБМ-10, соответствии с НП-030-12, относятся к 4 категории.

Приемка и постановка на учет ЯМ получателем должна быть произведена не позднее 10 суток после получения ЯМ, паспортов (формуляров, сертификатов) на них и выполнения подтверждающих измерений, если не превышены пределы допускаемых расхождений данных отправителя и получателя о ЯМ.

При отправлении ЯМ отправитель производит снятие их с учета после получения от получателя оформленного в установленном порядке акта приемки ЯМ или подтвержденной доверенностью получателя подписи уполномоченного представителя в накладной.

К ядерным материалам, подлежащим учету в хранилище ОЯТ относятся:

-       плутоний (сумма изотопов);

-       уран (сумма изотопов);

-       уран-235. [2]

Ядерные материалы находятся в ОТВС и пеналах с твэлами исследованных ОТВС, каждая из которых (ОТВС и пенал) имеет идентификационный номер и является учетной единицей.

На заводе осуществляется своевременная постановка на учет и снятие с учета ЯМ на основании первичных учетных документов в соответствии с требованиями НП-030-12.

Бассейн выдержки ОТВС (пеналов) состоит из отсеков. Отсеки представляют собой бетонные резервуары, облицованные изнутри листовой нержавеющей сталью и заполненные обессоленной водой. Отсеки бассейна соединены друг с другом и с отсеком перегрузки транспортным коридором и шлюзами.

Транспортирование ОТВС (пеналов) производится вагон-контейнерным (В-К) поездом. Вагон-контейнеры поочередно подаются для разгрузки в железнодорожный коридор (ЖДК) здания 1.

После расхолаживания ТУК с ОЯТ транспортируется в отсек перегрузки, где проводится перегрузка ОТВС и пеналов с твэлами в чехлы хранения, которые после загрузки устанавливаются на технологическое хранение в отсеки БВ.

Разгрузка начинается с открытия створок крыши вагона и проведения дозиметрического контроля.

Контейнер кантуется краном с помощью траверсы в вертикальное положение и передается в помещение узла расхолаживания. После проведения операции расхолаживания контейнер с транспортным чехлом краном переносится в отсек.

Перегрузка УЕ осуществляется на основании задания на перегрузку.[4]

1.4 Физические границы и структура ЗБМ-10


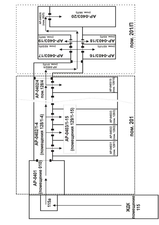
Физические границы ЗБМ-10 указаны в приложении А. В структуру ЗБМ-10 входят:

-       железнодорожный коридор (помещение 115);

-       узел расхолаживания (помещение 115а);

-       монтажный зал щелевого перекрытия отсеков хранения ОЯТ (помещения 201, 201/П);

-       отсек перегрузки АР-0401 (помещение 010);

-       отсеки хранения АР-0403/1-20 (помещения 129/1-15, 02/1/П, 02/2/П, 03/П, 04/П, 06/П);

-       транспортный коридор бассейна АР-0402/1-6 (помещения 128/1-4, 01/П, 05/П).

1.5 Схема движения ЯМ в ЗБМ. Места размещения ЯМ на схеме ЗБМ


Бассейн выдержки ОТВС (пеналов) состоит из 20-ти отсеков. Отсеки АР-0403/1-20 представляют собой бетонные резервуары, облицованные изнутри листовой нержавеющей сталью и заполненные обессоленной водой. Отсеки бассейна соединены друг с другом и с отсеком перегрузки транспортным коридором АР-0402/1-6 и шлюзами.

Схема движения ЯМ отражена в приложении Б.

Транспортирование ОТВС (пеналов) производится вагон-контейнерным (В-К) поездом. Вагон-контейнеры поочередно подаются для разгрузки в железнодорожный коридор (ЖДК) здания 1. Одновременно в ЖДК могут подаваться два вагона.

После расхолаживания ТУК с ОЯТ транспортируется в отсек перегрузки (АР-0401), где проводится перегрузка ОТВС и пеналов с твэлами в чехлы хранения, которые после загрузки устанавливаются на технологическое хранение в отсеки БВ.

Разгрузка начинается с открытия створок крыши вагона и проведения дозиметрического контроля.

Контейнер кантуется краном грузоподъемностью 160 т с помощью траверсы в вертикальное положение и передается в помещение узла расхолаживания. После проведения операции расхолаживания контейнер с транспортным чехлом краном переносится в отсек перегрузки АР-0401 и устанавливается на амортизатор отм. - 8,50.

Операция снятия крышки главного разъема с контейнера, перегрузки ОТВС (пеналов) из транспортного чехла в чехол хранилища и транспортирование на технологическое хранение в отсеки бассейна хранилища проводятся под водой мостовыми кранами и машиной перегрузочной с помощью специальных штанг. Перегрузка из транспортного чехла в чехол хранилища производится машиной перегрузочной или краном с помощью штанги типа П с удлинителем, в соответствии с заданием на перегрузку сборок. Чехол хранилища, загруженный ОТВС (пеналами), устанавливается на отм. - 2.40 отсека перегрузки, а затем транспортируется на место хранения в отсек бассейна.

1.6 Учет и контроль при передачах ЯМ


Основанием для поставки ОТВС с одного предприятия на другое являются разрешение ГК “Росатома” и договор между предприятиями. Получение ОТВС от атомных станций (пеналов от НИИАР) осуществляется на основании доверенности, выданной сопровождающему от ФГУП “ГХК”.

На атомной станции опломбированные контейнеры с ОТВС загружаются в вагоны-контейнеры. Ответственный сопровождающий получает следующие документы:

-       паспорта ОТВС (пеналов), загруженных в чехол;

-       паспорта упаковки с ОТВС;

-       диаграммы загрузки чехлов;

-       акт контроля мощности эквивалентной дозы гамма - и нейтронного излучения и уровня радиоактивного загрязнения средств транспортирования;

-       сопроводительную накладную в 2-х экземплярах;

-       накладную-разрешение в 2-х экземплярах;

-       протоколы испытаний на герметичность транспортных контейнеров. [5]

Сопровождающий рейс с ОЯТ (инженер группы транспортирования) выполняет следующие обязанности во время нахождения на АС:

-       документальный контроль количества загружаемых ОТВС в контейнер и выборочный контроль их номеров с помощью телевизионной установки АС;

-       проверку опломбировки контейнера после загрузки в него ОЯТ.

По прибытии вагон - контейнерного поезда на подъездные пути завода вагоны - контейнеры подаются в здание 13. Проводится входной контроль (внешний осмотр вагон - контейнеров, сверка и проверка целостности пломб).

Ответственный сопровождающий передает опломбированные вагон - контейнеры с ОТВС (пеналами) материально-ответственному лицу ОГМ по сопроводительной накладной, а техническую и сопроводительную документацию - начальнику смены цеха.

О приходе вагон-контейнерного поезда и приеме сопроводительной документации начальник смены цеха делает запись в журнале рапортов, составляет протокол входного контроля.

С момента подачи контейнера в хранилище на разгрузку начальник смены, как лицо, ответственное за работу хранилища во время своей смены, несет ответственность за учет, контроль и сохранность ЯМ.

Приняв сопроводительную документацию, НС в течение суток через заместителя начальника цеха передает паспорта ОТВС и накладную - разрешение в ТО завода (второй экземпляр накладной остается в цехе), оставляя себе копии необходимых документов. ТО знакомит с документами заместителя главного инженера и экономиста завода.

Оригиналы паспортов компонуются ТО по годам, а затем передаются в архив и хранятся с пометкой «для служебного пользования» в течение всего срока эксплуатации ХОЯТ. Экономист сверяет данные накладной формы с паспортными данными, фиксирует поступление ОТВС в журнале формы СУ-1 и передает 1-й экземпляр накладной в главную бухгалтерию комбината в течение 2 суток.

Ядерные материалы в ХОЯТ содержатся в поддающихся идентификации изделиях - ОТВС (пеналах). Идентификатором является маркировка (код сборки, заводской номер, год изготовления или номер пенала), выполненная в соответствии с техническими условиями заводом-изготовителем. Учетной единицей ядерных материалов в хранилище является ОТВС (пенал). При поступлении пенала с твэлами ОТВС из НИИАР ведется учет по номеру пенала, номеру и количеству твэлов от исследованной ОТВС.

Во время перегрузки ОТВС (пеналов) из транспортного чехла в чехол хранилища по диаграмме загрузки транспортного чехла на атомной станции осуществляется размещение их в чехле хранилища согласно заданию на перегрузку и проводится входной контроль. При помощи системы телевизионной специальной визуально определяется заводской номер ОТВС (пеналов) и сверяется с паспортными данными поставщика. При помощи индикатора нейтронного излучения подтверждается наличие продуктов деления.

Порядок действий, в случае установления аномалии при проведении входного контроля:

-       ЯМ, поступивший из ЗБМ предприятия, подлежит возврату в ЗБМ откуда он отправлен; либо ставится на временное хранение до завершения расследования;

-       ЯМ, полученный от внешних получателей, подлежит временной приемке по документам получателя с составлением акта о несоответствии данных.

Согласно заданию на перегрузку начальника участка во время перегрузки ОТВС (пеналов) заполняет учетную карту. Учетная карта чехла хранилища является первичным документом по учету ОТВС (пеналов) в хранилище.

Загруженный чехол хранилища оператор-крановщик устанавливает в отсек хранилища в соответствии с заданием на перегрузку и диаграммой загрузки отсека. В случае неполной загрузки чехла хранилища его дозагрузка производится по другому заданию на перегрузку. Передача ОТВС (пеналов) из одной смены в другую проводится под роспись в журнале рапортов. После загрузки ОТВС в хранилище, ПЭГ оформляет приходный ордер формы М-4 в 2-х экземплярах, подписывает приходный ордер у материально-ответственного лица, регистрирует и направляет 1 экземпляр приходного ордера вместе с накладной в главную бухгалтерию, второй экземпляр хранится в ПЭГ ИХЗ.

Начальник участка проверяет заполнение учетной карты чехла хранилища и подписывает ее.

По разработанной программе паспортные данные каждой ОТВС (пеналов), данные по установке чехлов в отсеках вводятся в компьютер с последующей распечаткой.

По итогам года цех комплектует отдельное дело, в которое подшиваются распечатки диаграмм загрузки отсеков, копии учетных карт чехлов хранилища, копии паспортов ОТВС (пеналов). Оригиналы паспортов ОТВС (пеналов) и учетных карт сдаются в ТО, где комплектуются в папки по годам и затем хранятся в архиве.

При перемещении загруженных чехлов хранилища из одного отсека в другой вносится изменение в учетную карту чехла и диаграмму загрузки отсека.

Согласно пункту 30 НП-030-12, выбор ключевой точки измерения в ЗБМ должен осуществляется таким образом, чтобы обеспечить контроль передач ЯМ в/из ЗБМ и определение их фактически наличного количества в ЗБМ.

КТИ-1 находится в отсеке перегрузки ЗБМ-10.

КТИ-1 предназначена для проведения подтверждающих измерений УЕ во время входного контроля при получении ЯМ и при проведении ФИ ЯМ. В КТИ-1 выполняются: внешний осмотр и проверка количества УЕ, атрибутивных признаков УЕ, мест размещения УЕ в чехлах, индикация наличия ЯМ.

Учёт ЯМ в ЗБМ-10 ведётся по паспортным данным поставщиков.

Средствами контроля доступа к ядерным материалам в «мокром» хранилище ОЯТ являются:

-       техническая система видеонаблюдения физической защиты здания 1;

-       автоматизированная техническая система доступа персонала в здание 1 по электронным пропускам;

-       автоматизированная техническая система доступа персонала в помещение 201 по электронным пропускам;

-       техническая система видеонаблюдения помещения 201;

-       пломбы, примененные к отсекам БВ. [4]

 

1.7 Описание СКД к ЯМ в ХОЯТ


Хранилище ОТВС (помещение 201 - монтажный зал совместно с помещением 115 - ЖДК) является помещением с ограниченным доступом:

-       вход в здание №1 осуществляется через автоматизированную систему доступа;

-       все двери в ЖДК из смежных помещений 063, 111/1, 119 закрыты запорными устройствами и опломбированы. Входная дверь из помещения 123 в ЖДК оборудована кодовым замком;

-       аварийные двери помещения 201 закрыты запорными устройствами и опломбированы;

-       доступ в хранилище ОТВС по правилу “двух лиц в зоне” осуществляется по спискам с записью в «Журнале регистрации посещения помещения 201» начальника смены времени посещения хранилища;

-       входная дверь в помещение 201 в осях 5-6 постоянно закрыта на электромагнитный замок, вход в помещение 201 осуществляется по электронным пропускам;

Средствами контроля доступа к ядерным материалам четвертой категории в ЗБМ-10 (зд.1 ИХЗ) являются:

-       пломбирование створок центральной щели отсеков хранения пом. 201;

-       система видеонаблюдения пом.201, здание 1;

-       система видеонаблюдения физической защиты здания 1;

-       доступ в пом.201, здания 1 по «правилу двух замков» (производится по спискам с записью времени посещения хранилища в «Журнале регистрации посещения помещения 201» начальника смены).

Данные о характере и времени использования подъемно-транспортного оборудования для перемещения ОТВС фиксируется в журнале рапортов оператора-крановщика формы Рок и в вахтенном журнале.

Разгрузка вагон-контейнеров, перегрузка ОТВС (пеналов) из транспортных чехлов в чехлы хранилища и обратно, а также из чехла хранилища в другой чехол хранилища осуществляются в соответствии с требованиями регламента и на основании задания на перегрузку, которое выдает начальник участка цеха.

В технологическом процессе обращения с отработавшим ядерным топливом (ОЯТ) применяются пломбы на следующих объектах:

-       отсеки АР-0403/1-20 бассейна-хранилища ОЯТ.

В качестве пломб в системе УиК ЯМ используются следующие изделия концерна «Страж» - ЗПУ «СКАТ» и «СПРУТ». Пломбировке подлежат створки центральной транспортной щели первого ряда отсека хранения.

На заводе назначены: хранитель пломб, ответственные лица по установке и снятию пломб, «вторые лица» при снятии и установке пломб.

 

1.8 Программа применения пломб


В местах доступа в помещения, камеры, боксы, на контейнеры и другое оборудование, где имеются ЯМ, устанавливаются идентифицируемые устройства одноразового действия, обеспечивающие защиту объекта от несанкционированного доступа путем индикации вмешательства и сдерживания в определенных пределах от проникновения.

Объектами пломбирования в хранилище ОЯТ РУ ВВЭР-1000 являются отсеки БВ, полностью или частично загруженные ОЯТ и вагоны-контейнеры с упаковками.

Пломбы не устанавливаются на УЕ, из которых ЯМ не могут быть извлечены без нарушения целостности УЕ, и целостность которых обеспечена их конструкцией и может быть подтверждена визуальным или инструментальным контролем.

На ИХЗ ФГУП «ГХК» в СУиК ЯМ применяются пломбы типа «Скат» и «Спрут-777» производства концерна ЗАО ИПК «Страж. [5]

Концерн «Страж» в течение последних лет поставлял для потребителей уникальное по своей конструкции силовое пломбировочное устройство тросового типа «Спрут-Универсал». На сегодняшний день ассортимент тросовых ЗПУ фирмы "Страж" значительно расширился. Среди последних разработок такие модели как "Спрут - 777", "Спрут-М4", различные модификации типа «Страж-1,2,3,4,5», "Скат", "Скат-М", "Закрутка", «Кобра».

Моноблочное запорно-пломбировочное устройство (ЗПУ) «Спрут-777» (Рисунок 1.1) относится к группе охранных средств повышенной надежности, является универсальным устройством для блокирования дверей всех типов железнодорожных вагонов и контейнеров, автофургонов, складских помещений и опасных объектов, имеющих диаметр пломбировочных отверстий не менее 5 мм и где наряду с высокими показателями прочностных свойств необходима повышенная устойчивость к подделке и криминальному воздействию.

Рисунок 1.1 - Общий вид ЗПУ «Спрут-777»

Пломбирование объектов с помощью «Спрут-777» выполняется вручную без вспомогательных инструментов путем последовательного продевания каната гибкого стержня через пломбировочные отверстия запирающего узла и входного отверстия корпуса с последующим затягиванием до упора образованной канатом петли. Проверка замкнутого состояния ЗПУ проводится попыткой сместить корпус по канату в сторону ослабления петли. Снятие ЗПУ проводится путем перерезания каната тросорезами (кусачками).

Рисунок 1.2 - Маркировка ЗПУ «Спрут-777»

Моноблочное запорно-пломбировочное устройство «Спрут-777» состоит из: корпуса с запирающим механизмом невозвратной фиксации; гибкого стержня (каната), жестко закрепленного в корпусе. На корпус ЗПУ наносится следующая маркировка (Рисунок 1.2):

-       наименование изделия;

-       индивидуальный контрольный знак из 7 цифр;

-       сокращенное наименование предприятия пользователя;

-       товарный знак и наименование изготовителя ЗАО ИПК «Страж».

Таблица 1.1 - Технические характеристики ЗПУ «Спрут-777»

Разрушающее усилие при растяжении

Свыше 2000 кгс

Диаметр гибкого стержня

4,7 мм

Длина гибкого стержня

500 мм

Габаритные размеры корпуса

50 x 24 x 12 мм

Масса

110 г


Основными преимуществами ЗПУ «Спрут-777» являются:

-       моноблочное исполнение;

-       возможность использования ЗПУ на всех видах транспорта, различных перемещаемых и стационарных объектах;

-       малогабаритность, сочетающаяся с высокой стойкостью к внешним механическим нагрузкам;

-       высокая стойкость к криминальному вскрытию;

-       удобство в эксплуатации (установка, снятие).

ЗПУ «Скат» (Рисунок 1.3) относится к группе охранных средств одноразового использования и предназначено для запирания и одновременного пломбирования узлов запирания автофургонов, цистерн, складских помещений, имеющих диаметр пломбировочных отверстий от 2,5 мм.

ЗПУ «Скат» устанавливается вручную следующим образом: гибкий стержень (канат) пропускают через совмещенные пломбировочные отверстия узла запирания, затем свободный конец гибкого стержня вводят во входное отверстие корпуса, протягивая через корпус гибкий стержень, затягивают петлю до упора. Снятие запорно-пломбировочного устройства «Скат» производится путем перекусывания каната с помощью клещей-кусачек или бокорезов.

Рисунок 1.3 - Общий вид ЗПУ «Скат»

Моноблочное запорно-пломбировочное устройство «Скат» состоит из корпуса, жестко зафиксированного в нем охватывающего элемента в виде гибкого стержня (каната) и стопорного элемента (2-х фиксаторов). Фиксаторы стопорного элемента расположены внутри корпуса и обеспечивают надежное запирание устройства. Корпус, охватывающий элемент и фиксаторы, выполнен из стали и имеют антикоррозийное покрытие. [5]

Рисунок 1.4 - Маркировка ЗПУ «Скат»

На поверхность корпуса (Рисунок 1.4) наносится следующая маркировка:

-       наименование изделия;

-       буквенный шифр пользователя;

-       индивидуальный заводской номер из 7 цифр;

-       наименование ЗПУ и товарный знак изготовителя - ЗАО ИПК «Страж»;

-       последняя цифра года выпуска;

-       сведения о патентовании.

Таблица 1.2 - Технические характеристики ЗПУ «Скат»

Разрушающее усилие при растяжении

Свыше 350 кгс

Диаметр каната

2,2 мм

Длина каната

500 мм

Масса

35 г


На основании плана работы службы УиК ЯМ предприятия или производственной необходимости хранитель пломб оформляет заявку в произвольной форме на приобретение необходимого количества и типа пломб, подписывает ее у ответственного за программу применения пломб, помощника директора по хозяйственным вопросам, руководства завода.

Приобретенные предприятием пломбы, прошедшие входной контроль, передаются в подразделения предприятия. В течение трех рабочих дней с момента получения пломб, хранитель пломб обязан осуществить их постановку на учет в журнал учета пломб.

Установка пломб на объект контроля производится ответственным исполнителем в присутствии «второго лица», выступающего в качестве свидетеля, в следующем порядке:

-       трос продевается в пломбировочные отверстия объекта контроля и вводится в входное отверстие корпуса пломбы;

-       трос проводится через корпус пломбы;

-       петля троса затягивается до упора;

-       проверяется надежность установки попыткой перемещения корпуса пломбы по тросу в обратном направлении;

-       оформляется факт установки пломбы на объект.

При невозможности установки пломбы на объект контроля по причине ее неработоспособности необходимо выполнить следующие действия:

-       взять новую, ранее неиспользованную, пломбу и установить ее на объект контроля;

-       дефектную пломбу сдать хранителю пломб под роспись в журнале «Установки и снятия пломб».

После установки пломбы запрещается отрезать хвостовик.

Снятие пломбы с объекта контроля выполняет ответственный исполнитель в присутствии «второго лица» в следующем порядке:

-       проверяется целостность пломбы, соответствие номера и типа установленной пломбы с учетной документацией (подтверждается надлежащее состояние пломбы);

-       тросорезом перерезается трос непосредственно у корпуса пломбы, так, чтобы пломбу нельзя было использовать повторно;

-       перерезанный трос извлекается из пломбировочных отверстий объекта контроля;

-       оформляется факт снятия пломбы с объекта контроля в журнале «Установки и снятия пломб»;

-       снятая пломба сдается хранителю под роспись.

Снятые пломбы уничтожаются - переводятся в состояние, исключающее их повторное использование или воспроизведение их идентификационных признаков.

Для уничтожения пломбы необходимо, удерживая корпус пломбы за перерезанный трос, ударным способом при помощи молотка привести идентификационный номер на корпусе пломбы в нечитаемое состояние. Уничтожение пломб производится комиссией с оформлением акта, утверждаемого руководителем программы применения пломб. На основании акта уничтожения в учетных документах и в электронной базе данных пломб производится отметка о снятии соответствующих пломб с учета.

Утилизация пломб производится в контейнер для твердых радиоактивных отходов.

В промежутках между инвентаризациями ЯМ необходимо выполнять выборочный (эксплуатационный) контроль установленных пломб в ЗБМ. Эксплуатационный контроль проводят с целью определения правильности установки, исправности и целостности пломб, возможности их дальнейшей эксплуатации на объекте установки, обнаружения и фиксации видимых следов несанкционированных воздействий.

Эксплуатационный контроль проводят непосредственно на объекте установки пломб. Контроль проводят визуально и с применением технических средств.

При проведении эксплуатационного контроля проверяют:

-       соответствие типа пломб учетным документам;

-       соответствие контрольной идентификационной маркировки пломб учетным документам;

-       правильность установки пломб на объект;

-       целостность пломб;

-       наличие (отсутствие) признаков, свидетельствующих о несанкционированном вмешательстве и подделке;

-       баланс пломб по записям в учетных документах (при необходимости).

Соответствие типа пломб учетным документам проверяют сравнением с имеющейся технической документацией или образцом-эталоном. При этом обращают внимание на дизайн пломбы, цвет и фактуру покрытия, состав и размещение маркировки, габаритные размеры пломбы.

Контроль маркировки проводят считыванием идентификационных номеров (контрольных знаков), нанесенных на пломбу, и их сравнением с технической документацией.

Правильность установки пломб на объект проверяют визуально, сравнивая со схемой установки, определенной изготовителем в технической документации на пломбы.

Целостность пломб проверяют:

-       визуально, контролируя наличие разрывов и трещин;

-       вручную проводят попытку сместить корпус пломбы в направлении, противоположном замыканию;

-       вручную контролируют наличие (отсутствие) зазоров (люфтов), предусмотренных конструкцией пломбы.

Типовые признаки вмешательства:

-       наличие деформаций корпуса и нарушений покрытия, схожих со следами от зажимных устройств;

-       изменения цвета и фактуры покрытия;

-       обрыв двух и более нитей каната, расплетение прядей каната;

Проверки установленных пломб осуществляют совместно хранители пломб и лица, ответственные за учет и контроль ядерных материалов.

К признакам нарушений в УиК ЯМ в отношении пломб относятся:

-       пропажа пломбы;

-       повреждение или разрушение пломбы;

-       неправильная установка;

-       несоответствие типа и паспортных данных пломбы;

-       неправильная идентификация пломбы.

В хранилище ОЯТ ВВЭР-1000 начальники смен обязаны контролировать установленные пломбы с периодичностью раз в три дня с записью в журнале рапортов.

При обнаружении поврежденной пломбы выполняются следующие действия:

-       ставится в известность непосредственный руководитель и ответственный за программу применения пломб;

-       на объект контроля ставится временная пломба с составлением акта;

-       пишется объяснительная записка с подробным изложением всех обстоятельств и указанием времени инцидента;

-       специальной комиссией проводится расследование инцидента. [6]

1.9 Физическая инвентаризация ЯМ


В соответствие с НП-030-12 для ЯМ 4 категории установлена частота проведения плановых физических инвентаризаций 1 раз в 12 календарных месяцев (на 24 ч. 00 мин. 31 декабря отчетного года). ФИ проводится рабочей инвентаризационной комиссией (РИК), назначаемой приказом директора подразделения (на основании приказа по предприятию о проведении ФИ ЯМ), в сроки, указанные в этом же приказе. Все работы, связанные с приемом, отправкой и перемещением ОЯТ, на время проведения ФИ должны быть приостановлены.

В состав РИК входят:

-       председатель - главный инженер подразделения (или его заместитель, или назначенное ответственное лицо);

-       представители подразделения из числа лиц, ответственных за учет и контроль ЯМ в хранилище ОЯТ РУ ВВЭР-1000;

-       При необходимости, в состав РИК могут быть включены:

-       представитель центральной инвентаризационной комиссии;

-       представители службы безопасности предприятия;

-       представители технического отдела подразделения;

-       представители главной бухгалтерии;

-       специалисты по измерениям ЯМ.

В состав РИК подразделения включаются подготовленные сотрудники, имеющие оформленный в установленном порядке допуск к работам с ЯМ, учетной, сопроводительной и технической документацией. РИК состоит не менее чем из 3-х человек.

Материально ответственное лицо (МОЛ) в состав инвентаризационной комиссии не включается. Его присутствие в ЗБМ при работе инвентаризационной комиссии обязательно.

Перед началом ФИ в ЗБМ по распоряжению главного инженера завода выполняются следующие работы:

-       своевременная подготовка всей учетной, а также сопроводительной документации на имеющиеся в наличии ЯМ (учетные карты, паспорта, диаграммы);

-       проверка готовности оборудования и приборов, предназначенных для измерений при проведении ФИ;

-       учетные данные по ЯМ, отраженные как в журнальной системе учета ЗБМ, так и в компьютерной базе данных, подготавливаются и сверяются МОЛ, подготавливается список наличного количества ЯМ (СНК). МОЛ подтверждает результаты сверки своей подписью в СНК.

Данные по ЯМ в ЗБМ-10 вносятся в список наличного количества по данным, указанным в сопроводительной документации.

При подготовке к проведению ФИ, председатель РИК телефонограммой оповещает членов комиссии и привлекаемый для подтверждающих измерений персонал о дате проведения ФИ и месте сбора РИК для оценки объема работ по ФИ и разработки (при необходимости) плана проведения ФИ.

Работы по определению наличия ЯМ должны проводиться в специально оборудованных местах в присутствии представителей РИК.

До начала проверки фактического наличия ЯМ РИК получает от МОЛ список наличного количества (СНК) и расписку о том, что к началу ФИ все расходные и приходные документы по ЯМ сданы в бухгалтерию или переданы РИК и все ЯМ, поступившие на их ответственность оприходованы, а выбывшие списаны в расход.

РИК проверяет соответствие фактического наличия ЯМ учетным данным, а именно:

-       фактическое наличие учетных единиц с ЯМ в ЗБМ;

-       атрибутивные признаки и количество УЕ, массу ЯМ согласно учетным документам;

-       при необходимости проверяется соответствие учетных данных данным первичной документации (паспортов);

-       состояния пломб, анализ данных других СКД, в том числе применяемых в целях физической защиты помещений, в которых осуществляется обращение с ЯМ;

-       соответствие СНК учетным данным.

В случаях, когда определение фактического наличия ЯМ к завершению рабочего дня не закончено, производственное помещение (хранилище) с ЯМ опечатывают дополнительными пломбами в присутствии комиссии. Хранилище сдается под охрану в установленном порядке. Вскрытие хранилища производится материально ответственным лицом в присутствие рабочей инвентаризационной комиссии.

Работы по проведению ФИ в помещениях, где персонал подвергается повышенному радиационному воздействию, должны быть оформлены нарядом-допуском на выполнение работ с повышенной опасностью.

Размер статистической выборки УЕ для проведения подтверждающих измерений определяется по формуле:

                                  (1.2)

где n - размер выборки (количество УЕ для проверки);- количество УЕ в ЗБМ на момент проведения ФИ ЯМ;- средняя масса ЯМ в одной УЕ;- пороговое количество ЯМ в единицах массы;

Р - вероятность обнаружения недостачи/излишка порогового количества ЯМ в безотносительных единицах ;

[ ]+ - в формуле означает округление до ближайшего большего целого числа.

Выбор ОТВС (чехлов) осуществляется случайным образом с использованием генератора случайных чисел программы Microsoft Excel. В столбец А таблицы вводятся номера УЕ, в столбец В во все ячейки вставляется функция =СЛЧИС(), которая генерирует случайные числа. Затем выделяются оба столбца и выполняется команда из меню «Данные» «сортировка» по столбцу В. Номера УЕ в столбце А при этом меняются произвольным образом. Таким образом, выбирается необходимое количество УЕ от верха столбца А.

Ранее определенные значения масс ЯМ используются при выполнении учетных процедур только в тех случаях, когда их достоверность с момента их определения до момента их использования может быть подтверждена надлежащим состоянием примененных СКД и/или подтверждена в процессе выполнения учетной процедуры измерениями атрибутивных признаков.

По результатам работы, проведенной РИК, составляется СФНК ЯМ.

Обо всех выявленных в процессе работы признаках аномалий и нарушений председатель РИК сообщает председателю ЦИК. По окончанию проведения подтверждающих измерений УЕ с ЯМ, отсеки бассейна выдержки опломбируются с отметкой в журнале «Установки и снятия пломб».

За межбалансовый период для каждого вида ЯМ должна быть определена инвентаризационная разница (ИР), рассчитываемая по формуле (1.1).

Инвентаризацию заканчивают подведением материального баланса, оценкой ИР для каждого вида ЯМ, составлением и подписанием акта физической инвентаризации, материально-балансового отчета, списка фактически наличного количества ЯМ, протокола подтверждающих измерений, перечня ЯМ, переданных на временное хранение. Ответственные за документальное оформление результатов ФИ ЯМ назначаются приказом главного инженера предприятия.

Акт ФИ ЯМ должен содержать результаты проверки атрибутивных признаков учетных единиц с ЯМ, выводы РИК об отсутствии или наличии аномалии и об учетном количестве ЯМ на начало следующего МБП, а также рекомендации комиссии. Акт ФИ подписывают председатель и все члены комиссии, проводившие инвентаризацию. С актом ФИ ЯМ знакомится материально-ответственное лицо и заверяет его своей подписью.

СФНК в ЗБМ составляется на дату проведения ФИ в виде последовательных записей для каждой партии ЯМ с указанием идентификационных характеристик и параметров ЯМ для каждой партии ЯМ отдельно. Суммарное количество каждого ЯМ, указанного в СФНК, сверяется с данными бухгалтерского учета (факт сверки подтверждается подписью главного бухгалтера).

В МБО ЗБМ в виде отдельных записей по каждому ЯМ отражаются:

-       начальное зарегистрированное количество ЯМ;

-       увеличение и уменьшение количества ЯМ за отчетный МБП;

-       конечное фактически наличное количество ЯМ, установленное по результатам ФИ;

-       значение ИР и погрешность ее определения.

СНК, подписанный МОЛ, прилагается к вышеперечисленным документам. Члены РИК сверяют СНК с СФНК и визируют акт ФИ ЯМ. Полный комплект документов ФИ ЯМ направляется на рассмотрение и утверждение председателю ЦИК.

В документах РИК (акт ФИ, МБО, СФНК, протокол подтверждающих измерений, перечень ЯМ, переданных на временное хранение) не должно быть исправлений. Исправления отчетных данных допускаются только путем представления новых отчетных документов. [7]

1.10 Виды, порядок оценки безвозвратных потерь ЯМ


В соответствии с приказом ГК «Росатом» № 410 дсп от 19.06.2009, оценка безвозвратных потерь ЯМ осуществляется по фактическим потерям ЯМ. Которые были получены на основании проведенных измерений ЯМ или в соответствии с утвержденными расчетными методиками, основанными на результатах предварительных измерений или экспериментальных исследований, в пределах утвержденных норм потерь ЯМ, безвозвратно теряемых во время конкретного технологического процесса, связанного с обращением с ЯМ.

Готовой продукцией ХОЯТ являются ОТВС ВВЭР-1000 и твэлы исследованных в ОАО “ГНЦ НИИАР” ОТВС ВВЭР-1000 после технологического хранения в отсеках БВ хранилища ОЯТ.

Прием дефектных, негерметичных ОТВС в ХОЯТ не предусмотрен. Хранение дефектных, негерметичных ОТВС и пеналов с твэлами ОТВС, обнаруженных в процессе хранения, осуществляется в чехле-контейнере.

Ядерные материалы находятся в ОТВС и в пеналах с твэлами исследованных ОТВС, которые имеют идентификационный номер и являются учетными единицами.

В процессе хранения ОТВС в ХОЯТ технологических операций с ядерным материалом не производятся, безвозвратных потерь ЯМ на ИХЗ нет.[4]

 

2. Разработка рекомендаций по совершенствованию действующей СУиК ЯМ в хранилище ОЯТ РУ ВВЭР-1000

 

.1 Обоснования и требования к модернизации действующей СУиК ЯМ


Согласно постановлению Правительства Российской Федерации об утверждении положения о системе государственного учета и контроля ядерных материалов:

Система государственного учета и контроля ядерных материалов является элементом системы государственного управления использованием атомной энергии и предназначена для выполнения следующих задач:

-       обеспечение контроля за обращением ядерных материалов;

-       обеспечение сохранности, своевременного выявления и предотвращения потерь, несанкционированного использования и хищений ядерных материалов;

-       предоставление органам государственной власти Российской Федерации, органам управления использованием атомной энергии, органам государственного регулирования безопасности при использовании атомной энергии и другим заинтересованным федеральным органам исполнительной власти необходимой для выполнения ими своих полномочий информации о наличии и перемещении ядерных материалов, включая их перемещение через таможенную границу Российской Федерации;

-       определение наличного количества ядерных материалов в местах их нахождения;

-       обеспечение необходимых условий для применения гарантий Международного агентства по атомной энергии, а также реализации двусторонних договоренностей о контроле за ядерными материалами.

Для обеспечения должного контроля за ЯМ на ядерном объекте реализуется программа применения СКД.

СКД состоит из системы наблюдения за ЯМ и системы АССД.

Система наблюдения за ЯМ включают:

-       автоматизированные технические системы, устройства (мониторы для контроля перемещения ЯМ, доступа персонала в помещения, датчики контроля вскрытия дверей, люков, аварийные сигнализаторы и т.п.);

-       технические системы, устройства для теле- или фотонаблюдения с фиксацией происходящих событий.

Результаты показаний элементов системы наблюдения оформляются документально и представляются инвентаризационной комиссии для рассмотрения.

Если ЯМ представлены в форме УЕ, целостность которых при нахождении в ЗБМ на МБП обеспечена их конструкцией (например, неразборные тепловыделяющие сборки или диски, блочки, изделия с ЯМ, покрытые оболочками, в результате чего ЯМ не могут быть извлечены из них без нарушения целостности оболочек) и может быть подтверждена (например, визуальным осмотром, сравнением образов гамма- или ультразвукового сканирования швов сварки), то для этих ЯМ при расчете объема выборки для подтверждающих измерений применяются параметры обнаружения, аналогичные применяющимся к УЕ, оснащенным пломбами.[2]

2.2 Технологическое решение по выбору и размещению технических систем


Выполненный анализ существующей СУиК ЯМ в хранилище ОЯТ РУ ВВЭР-1000 позволяет сделать вывод, что с увеличением объема хранимого отработавшего топлива появляется необходимость модернизировать данную систему. Было принято решение расширить состава системы наблюдения и создать концепт системы автоматизированного сбора данных.

 

.2.1 Технологическое решение использования средств наблюдения в хранилище ОЯТ

В составе здания 1 запроектирована система наблюдения за технологическим процессом, которая предназначена для:

-       наблюдения за проведением транспортно-перегрузочных операций в здании 1;

-       обеспечения подводного наблюдения за работой инструментов в бассейне помещения 201 при разделке и пеналировании ОТВС;

-       наблюдения за работой персонала в помещениях 201 и 201/П, в помещении оборудования узла расхолаживания и на рабочей площадке;

-       обеспечение видеонаблюдения при перегрузке ОЯТ в ЖДК.

Система наблюдения предназначена для работы в составе комплекса оборудования и инженерных систем для обращения с ОЯТ в здании 1. Система наблюдения является вспомогательной системой.

Оборудование системы изготовлено в исполнении, предназначенном для эксплуатации в районе с умеренным климатом. Исполнение оборудования системы наблюдения также пригодно для работы в условиях ионизирующего излучения и в различных средах, таких как технологический водный раствор.

В основу архитектуры построения системы заложены принципы децентрализованного управления телекамерами с пунктов наблюдения и централизованного приема потока видеоданных на диспетчерский пульт для контроля и управления технологическими процессами, а также для архивирования и временного хранения видеоданных.

Оборудование системы наблюдения по назначению и месту расположения условно подразделяется на передающую и приемную части или стороны. К передающей части относятся телекамеры с устройствами наведения и светильниками, а также камерный кабель до первого разъемного соединения. К приемной части относится аппаратура приема, преобразования, архивирования и воспроизведения видеосигнала от телекамер, а также блоки и пульты управления аппаратурой передающей стороны (поворот и наклон телекамер, фокусировка, масштабирование, диафрагмирование изображения, управление освещением).

Оборудование системы соответствует классу безопасности 4Н (элементы нормальной эксплуатации, не влияющие на безопасность). [10]

Аппаратура системы наблюдения включена постоянно. Архивирование изображений от телекамеры ведется в круглосуточном режиме. Отдельные телекамеры могут быть отключены, если в зоне их наблюдения не проводится никаких работ в текущей смене.

Для обеспечения должного контроля за перемещением и хранением ЯМ в ХОЯТ было принято решение разделить систему наблюдения на несколько групп:

-       группа наблюдения за транспортировкой, перегрузкой и перемещением ЯМ в ХОЯТ (ждк 115, 115а, транспортный коридор);

-       группа наблюдения за размещением ЯМ в ХОЯТ (главный зал здания 1);

-       группа наблюдения за персоналом (помещения 201, 201/П).

Каждая группа ведет наблюдения только за своей областью применения, путем контролирования контрольных точек наблюдения.

2.2.2 Технологическое решение использования АССД в хранилища ОЯТ

Автоматизированная система сбора данных (АССД) предназначена для сбора, анализа и архивирования данных об операциях по обращению с ЯМ в ХОЯТ.

Автоматизированная система сбора данных выполняет следующие функции:

-       административные:

-       обслуживание информационных запросов потребителей и администрации о состоянии работ на предприятии по обращению с ЯМ, о их наличии, местоположении и т.п.;

-       обеспечение контроля и управления разрешительной системой допуска к данным СУиК и к ЯМ;

-       информационную поддержку расследований по нештатным ситуациям, связанным с ЯМ;

-       управление операциями и базами данных:

-       получение и обработка исходной информации о наличии и перемещениях ЯМ между зонами баланса, ядерными установками предприятия, между данным предприятием и предприятиями Минатома России, предприятиями других ведомств;

-       формирование баз данных по предприятию;

-       формирование выходной и отчетной информации в необходимых форматах и на нужных носителях;

-       контроль за взаимосогласованностью поступившей информации и сигнализация о найденных несоответствиях;

-       управление базами данных, оперативный поиск и выдача информации;

-       ведение работы по поддержке архивов и резервных копий баз данных.

Автоматизированная система сбора данных удовлетворяет следующим требованиям:

-       объективности - все учетные записи имеют документальное подтверждение;

-       согласованности - вся документация по учету и контролю ЯМ и содержимое баз данных СУиК составляет единую систему; обмен информацией данного предприятия с внешними организациями ведутся в согласованных формах и форматах;

-       надежности хранения баз данных, включая сбои и отказы оборудования;

-       своевременности - безотлагательная регистрация изменений учетных единиц, инвентарных количеств материалов. Отчетность по ним соответствует требованиям отраслевой системы учета и контроля ЯМ;

-       полноте - все перемещения, ведущие к изменению зарегистрированного количества ЯМ, регистрируются системой;

-       последовательности - информация о количестве ЯМ, зарегистрированного на определенную дату, в дальнейшем не может быть изменена. Исправление ошибочно введенных данных о ЯМ в базах данных производится и фиксируется по специально разработанной процедуре, исключающей возможность фальсификации;

-       преемственности - автоматизированная система учета и контроля согласуется с существующей на предприятии системой учета и контроля на бумажных носителях.

Автоматизированная система сбора данных содержит:

-       полную информацию по количеству, составу, номенклатуре, месту нахождения ЯМ;

-       документацию по учету и контролю ЯМ для каждого типа документа в течение времени, установленного в утвержденном порядке;

-       сведения о планируемых мероприятиях по учету и контролю ЯМ на предприятии;

-       информацию по составу и правам доступа персонала, осуществляющего непосредственный учет и контроль ЯМ; сведения о технических характеристиках ядерной установки в пределах, необходимых для учета и контроля ЯМ;

-       сведения о технических характеристиках контролирующей измерительной аппаратуры.

Автоматизированная система сбора данных обеспечивает выполнение следующих функций:

-       хранение информации о ЯМ;

-       обработку данных по ЯМ;

-       подготовку отчетных данных;

-       формирование отчетов;

-       контроль на отсутствие ошибок и достоверность;

-       подготовку отчетов для передачи в информационный центр;

-       выдачу учетных и отчетных форм исполнителям;

-       контроль своевременности предоставления отчетов и выдачи отчетных документов;

-       контроль корректности операций с ЯМ в каждой зоне баланса материалов;

-       контроль своевременности ввода данных;

-       выдачу статистической информации по базе данных о ЯМ.

Автоматизированная система сбора данных является системой нормального функционирования, т.е. аварийный выход ее из строя или отключение не наносят ущерба учету ЯМ на предприятии.

АССД построена на базе промышленного компьютера (одно АРМ), включённого одновременно в локальную сеть ХОЯТ и в общую сеть предприятия. Программное обеспечение организует периодические запросы данных о состоянии ЯМ (о их наличии, местоположении и т.п.) и выдачу этих данных на монитор в графической и цифровой форме. Полученные данные сохраняются на жёстком диске в базе данных. Система управления базой данной обеспечивает формирование печатных отчётов и выдачу необходимой информации по запросу оператора. [11]

Сохраняемая в базе данных информация должна быть дублирована на двух независимых носителях. Объёмов носителей должно быть достаточно для хранения информации в течение 1 года, после чего новая информация размещается по принципу FIFO.

Информация о действиях оператора (квитирование сообщений) должна сохраняться в базе данных.

Период опроса и выдачи на экран информации о ЯМ - не более 1 минуты.

Максимальна задержка между моментом получения информации и выдачи её на экран - не более 10 cекунд.

В случае отсутствия сигнала квитирования в течение заданного времени включается звуковой оповещающий сигнал.

АРМ должно быть оснащено сторожевым таймером, контролирующим правильность работы ПК и осуществляющего перезагрузку программного обеспечения в необходимых случаях.

В нормальном режиме эксплуатации (все контролируемые параметры находятся в диапазонах, соответствующих штатному режиму работы ХОЯТ) система функционирует в автоматическом режиме.

ядерный материал хранилище контроль

 

3. Организационно-экономическая часть

 

.1 Технико-экономическое обоснование


Основная цель мероприятий по учету и контролю ядерных материалов - предотвращение хищений и его несанкционированного использования. Учет - одно из мероприятий, обеспечивающих выполнение этой цели, который должен осуществляться своевременно и на должном уровне.

В Национальном исследовательском Томском политехническом университете для студентов специальности «Безопасность и нераспространения ядерных материалов» ведется преподавание курсов, посвященных изучению вопросов построения и обеспечения правильной работы систем учета и контроля ядерных материалов. Поэтому для закрепления полученных мною знаний в области учета и контроля ядерных материалов было принято решение рассмотреть действующую СУиК ЯМ на примере хранилища ОЯТ РУ ВВЭР-1000.

Основными целями данной дипломной работы являлись анализ и модернизация существующей системы учета и контроля ядерных материалов в хранилище ОЯТ.

Затраты на проведение НИР по данной теме представлены в ниже изложенной части дипломной работы.

3.2 Обзор рассматриваемых вопросов


Наука в настоящее время в значительной степени определяет темпы технического прогресса и роста народного благосостояния. Только рациональное использование выделяемых для науки средств, концентрация их на приоритетных направлениях, совершенствование координации деятельности научно-исследовательских учреждений, быстрое внедрение научных и исследовательских разработок и проектов может ускорить научно-технический прогресс (НТП). Это обуславливает необходимость планирования и организации научно-исследовательских работ (НИР).

Однако важно не только разработать ту или иную научную тему, но и провести ее анализ с точки зрения экономических требований, то есть определить затраты на разработку, продолжительность работ, рассмотреть вопрос об экономической эффективности НИР.

Экономическая часть включает в себя рассмотрение следующих вопросов:

-       календарное планирование НИР;

-       определение плановой себестоимости проведения НИР;

-       анализ экономической эффективности НИР. [10]

3.3 Планирование НИР


3.3.1 Планирование этапов и работ по выполнению НИР

Для выполнения научных исследований сформирована рабочая группа, в состав которой входят научный руководитель и дипломник. Порядок составления этапов и работ приведен в таблице 3.1.

Таблица 3.1 - Перечень этапов, работ и распределение исполнителей

Основные этапы

№ раб.

Содержание работ

Должность исполнителя

Разработка технического задания на НИР

1

Составление и утверждение технического задания

Руководитель

Выбор направления исследования

2

Подбор и изучение материалов по теме

Руководитель, Дипломник


3

Календарное планирование работ по теме

Руководитель, Дипломник

Теоретические и экспериментальные исследования

4

Основная часть

Руководитель, Дипломник


5

Практическая часть

Дипломник

Обобщение и оценка результатов

6

Оценка эффективности полученных результатов

Руководитель, Дипломник


7

Составление пояснительной записки

Дипломник


8

Подготовка темы к защите

Руководитель, Дипломник


3.3.2 Определение трудоемкости выполнения НИР

Трудоемкость выполнения НИР оценивается экспертным путем в человеко-днях и носит вероятностный характер, поскольку зависит от множества трудно учитываемых факторов. Для определения ожидаемого (среднего) значения трудоемкости работ используется следующая формула:

 

где    t ожi - ожидаемая трудоемкость выполнения i-ой работы, чел.-дн.;

t min i - минимально возможная трудоемкость выполнения заданной i-ой работы (оптимистическая оценка: в предположении наиболее благоприятного стечения обстоятельств), чел.-дн.;

t max i - максимально возможная трудоемкость выполнения заданной i-ой работы (пессимистическая оценка: в предположении наиболее неблагоприятного стечения обстоятельств), чел.-дн.

 

Исходя из ожидаемой трудоемкости работ, определяется продолжительность каждой работы в рабочих днях Тр, учитывающая параллельность выполнения работ несколькими исполнителями. Такое вычисление необходимо для обоснованного расчета заработной платы, так как удельный вес зарплаты в общей сметной стоимости научных исследований составляет около 65 %.

 

где    T pi - продолжительность одной работы, раб. дн.;

t ож i - ожидаемая трудоемкость выполнения одной работы, чел.-дн.;

Чi - численность исполнителей, выполняющих одновременно одну и ту же работу на данном этапе, чел.

.

Результаты расчетов трудоёмкости и продолжительности одной работы сведены в таблице 3.2.

3.3.3 Техническая готовность темы

Определение технической готовности темы позволяет точно знать, на каком уровне выполнения находится определенный этап или работа. Показатель технической готовности темы характеризует отношение продолжительности работ, выполненных на момент исчисления этого показателя, к общей запланированной продолжительности работ, при этом следует учесть, что период дипломного проектирования составляет примерно 6 месяцев, включая производственную практику, и дипломник выступает в качестве основного исполнителя.

Для начала следует определить удельное значение каждой работы в общей продолжительности работ:

 

где    Уi - удельное значение каждой работы в %;

Tpi - продолжительность одной работы, раб.дн.;

Тр - суммарная продолжительность темы, раб.дн.

 

Тогда техническую готовность темы Гi, можно рассчитать по формуле:

 

где    ΣTpi - нарастающая продолжительность на момент выполнения i-той работы.

 

Результаты расчетов удельной работы и технической готовности темы сведены в таблице 3.2.

3.4 Разработка календарного плана работ


Так как научная тема является сравнительно небольшой относительно объема работ, в этом случае наиболее удобным и наглядным будет являться построение ленточного графика проведения НИР в форме диаграммы Ганга. Для удобства построения календарного план-графика, длительность этапов в рабочих днях переводится в календарные дни и рассчитывается по следующей формуле:

 

где    TKi - продолжительность выполнения одной работы в календарных днях;

Трi - продолжительность одной работы в рабочих днях;

k - коэффициент календарности, предназначен для перевода рабочего времени в календарное.

 

Коэффициент календарности рассчитывается по формуле:

 

где    Ткг - количество календарных дней в году;

Твд - количество выходных дней в году;

Тпд - количество праздничных дней в году.

В данной работе число праздничных и выходных дней принимается равным 118 дней. Исходя из этого, коэффициент календарности равен:

 

Длительность этапов в календарных днях сведена в таблице 3.2.

Таблица 3.2 - Временные показатели проведения НИР

Этап

Исполнители

,

,






раб. дн.

кал. дн

%

%

1

5

10

7

Руководитель

7

10,36

5,24

5,24

2

7

15

10,2

Руководитель, Дипломник

5,1

7,55

3,81

9,05

3

15

25

19

Руководитель, Дипломник

9,5

14,06

16,16

4

30

45

36

Руководитель, Дипломник

18

26,64

13,46

29,62

5

40

50

44

Дипломник

44

65,12

32,91

62,53

6

7

15

10,2

Руководитель, Дипломник

5,1

7,55

3,81

66,34

7

30

40

34

Дипломник

34

50,32

25,43

91,77

8

20

25

22

Руководитель, Дипломник

11

16,28

8,23

100

Итого

182,4


133,7

198

100



Диаграмма Ганта - горизонтальный ленточный график, на котором работы по теме представляются протяженными во времени отрезками, характеризующимися датами начала и окончания выполнения данных работ.

График строится на основе данных таблицы 3.2 с разбивкой по месяцам и декадам (10 дней) за период времени преддипломной практики и дипломирования. Работы на графике выделены различной штриховкой в зависимости от исполнителей, ответственных за ту или иную работу. Календарный план-график в виде диаграммы Ганта приведен в Приложении В.

3.5 Определение плановой себестоимости проведения НИР

 

.5.1 Состав затрат, включаемых в себестоимость НИР

Определение затрат на выполнение НИР производится путем составления калькуляции но отдельным статьям затрат всех видов необходимых ресурсов. Калькуляция является основным документом, па основании которого осуществляется планирование и учет затрат на научные исследования.

Калькуляция плановой себестоимости проведения НИР составляется по следующим статьям затрат:

.        Материалы;

.        Затраты на оплату труда работников, непосредственно участвующих в НИР;

.        Отчисления во внебюджетные фонды;

.        Прочие прямые расходы;

.        Накладные расходы.

Статьи 1-4 относятся к прямым затратам. Величина прямых затрат, как правило, определяется прямым счетом, это затраты, связанные непосредственно с выполнением конкретной НИР, остальные затраты рассчитываются косвенным способом, это затраты на содержание аппарата управления, общетехнических и общехозяйственных служб, они объединяются в статье «Накладные расходы».

3.5.2 Формирование и расчёт затрат, включаемых в себестоимость

1. Затраты на материалы

Стоимость материалов формируется исходя из цены их приобретения и платы за транспортировку, осуществляемую сторонними организациями. В том случае, если расходы, связанные с доставкой материальных ресурсов для конкретной НИР, незначительны, то их можно опустить. Расчет затрат на материалы производится по форме приведенной в таблице 3.3.

На статью «Материалы» относятся следующие затраты:

-       сырьё, основные и вспомогательные материалы;

-       покупные полуфабрикаты и комплектующие изделия;

-       электроэнергия на технологические цели.

К основным затратам в данной НИР относятся затраты на электроэнергию, приобретение канцелярских товаров и затраты на изготовление стендов. Результаты расчётов по затратам на материалы приведены в таблице 3.3.

Затраты на электроэнергию рассчитываются по формуле:

 

где Цэл - тариф на промышленную электроэнергию (235 коп. за 1 кВт/ч);

Р - мощность оборудования. кВт; - время использования оборудования, ч.

Для данной работы затраты на электроэнергию составляют:

 

Таблица 3.3 - Материалы, комплектующие изделия и покупные полуфабрикаты

Наименование

Единица измерения

Количество

Цена за ед., руб.

Сумма, руб.

Картридж принтера (черный)

Штук

1

290

290

Электроэнергия

кВт/ч

2,35

Итого по статье См

2861,84


. Затраты на оплату труда работников, непосредственно занятых выполнением НИР

Статья включает основную заработную плату работников, непосредственно занятых выполнением НИР, (включая премии, доплаты) и дополнительную заработную плату.

 

где    З осн - основная заработная плата;

Здоп - дополнительная заработная плата.

Основная заработная плата руководителя рассчитывается по следующей формуле:

 

где    Зосн - основная заработная плата одного работника;

Траб - продолжительность работ, выполняемых научно-техническим работником, раб. дн. (из таблицы 3.2);

Здн - среднедневная заработная плата работника, руб.

Среднедневная заработная плата рассчитывается но формуле:

 

где    Зм - месячный должностной оклад работника, руб.;

М - количество месяцев работы без отпуска в течение года (при отпуске в 48 раб. дней М=10,4 месяца, 6-дневная неделя);

Fд - действительный годовой фонд рабочего времени научно-технического персонала (в рабочих днях).

Баланс рабочего времени представлен в таблице 3.4.

Таблица 3.4 - Баланс рабочего времени

Показатели рабочего времени

Руководитель

Дипломник

Календарное число дней

365

365

Количество нерабочих дней - выходные дни - праздничные дни

 52 14

 104 14

Потери рабочего времени - отпуск - невыходы по болезни

 48 -

 24 -

Действительный годовой фонд рабочего времени

251

223


Студент во время прохождения преддипломной практики получает стипендию, равную 2200,4 руб/месяц. Среднедневная стипендия (оплата) составляет, согласно (3.10):

 

Основной заработок студента, за время преддипломной практики, равен:

 

Данная научно-исследовательская работа выполнялась под руководством научного руководителя, который имеет должность доцента.

Месячный должностной оклад руководителя:

 

где Зтс - заработная плата по отраслевой системе труда, руб. (для доцента Зтс составляет 22300 руб);

Кр - районный коэффициент, равный 1,3.

 

Результаты расчета основной заработанной платы представлены в таблице 3.5.

Таблица 3.5 - Расчёт основной заработной платы.

Исполнители

Зтс, руб

Кр

Зм, руб

Здн, руб.

Траб раб. дн.

Зосн, руб.

Руководитель

22 300

1,3

28 990

1 201,18

56

67 266

Дипломник

-

-

2200,4

102,6

126,7

12999,5


Заработная плата руководителя, за время подготовки студента к дипломированию, составляет:

 

Дополнительная заработная плата включает оплату за непроработанное время (очередной и учебный отпуск, выполнение государственных обязанностей, выплата вознаграждений за выслугу лет и т.п.) и рассчитывается исходя из 10-15% от основной заработной платы, работников, непосредственно участвующих в выполнение темы:

 

где    Здоп - дополнительная заработная плата, руб.;

кдоп - коэффициент дополнительной зарплаты;

Зосн - основная заработная плата, руб.

Примем коэффициент дополнительной зарплаты равным 0,15 для научного руководителя.

 

В таблице 3.6 приведены результаты расчётов основной и дополнительной заработной платы исполнителей НИР.

Таблица 3.6 - Заработная плата исполнителей НИР

Заработная плата

Руководитель

Дипломник

Основная зарплата, руб.

67 266

12 999,5

Дополнительная зарплата, руб.

10 089,9

0

Зарплата исполнителя, руб.

77 355,9

12 999,5

Итого по статье Сзп, руб.

90 355,4


3. Отчисления во внебюджетные фонды

Статья включает в себя отчисления во внебюджетные фонды. Размер отчислений составляет 30 % от суммы затрат на оплату труда работников, непосредственно занятых выполнением НИР

 

где    квнеб - коэффициент отчислений на уплату ЕСН.

 

. Спецоборудование для научных и экспериментальных работ

Статья включает в себя затраты на приобретение приборов и устройств, предназначенных для использования в качестве объектов исследований, необходимых для выполнения НИР. Определение затрат по этой статье производится по фактической стоимости приобретения с учетом транспортно-заготовительных расходов.

Специальное оборудование: ПК является собственностью Томского политехнического университета, где проходило дипломирование. Возможность его использования для НИР была предоставлена бесплатно.

5. Прочие прямые расходы

В прочие расходы могут быть включены: затраты на приобретение научно-технической литературы; расходы на пользование Интернетом, аренду спецоборудования, командировки, почтовые и телеграфные расходы и т.п.

Прочие расходы составляют 5% от единовременных затрат на реализацию проекта и составят:

 

где    кпр - коэффициент прочих расходов.

 

6. Накладные расходы

В данную статью входят расходы на содержание аппарата управления и общехозяйственных (общеуниверситетских) служб, которые в равной степени относятся ко всем выполняемым НИР. По этой статье учитываются оплата труда административно-управленческого персонала, содержание зданий, оргтехники и хозинвентаря, амортизация имущества, расходы по охране труда и подготовке кадров.

Накладные расходы в ТПУ составляют 25 - 35% от суммы основной и дополнительной заработной платы, работников, непосредственно участвующих в выполнение темы. Расчет накладных расходов ведется по следующей формуле:

 

где    к накл - коэффициент накладных расходов.

Поскольку НИР выполнялась в ИНОЦ ФТИ, предположим, что накладные расходы составляют 30 % от общей заработной платы работников.

 

На основании полученных данных по отдельным статьям затрат составляется калькуляция плановой себестоимости НИР, приведенная в таблице 3.7.

Таблица 3.7 - Калькуляции плановой себестоимости

Наименование статей затрат

Сумма, руб.

1. Материалы

2 861,84

2. Затраты на оплату труда работников, непосредственно занятых созданием НИР

90 335,4

3. Отчисления во внебюджетные фонды

23 206,77

4. Работы, выполняемые сторонними организациями

0

5. Спецоборудование для научных работ

0

6. Прочие прямые расходы

5 820,2

7. Накладные расходы

27 100,62

Итого себестоимость НИР Снир

149 324,83


3.6     Оценка научно - технического уровня НИР

Результатом НИР является достижение научного, научно-технического, экономического и социального эффектов. Научный эффект характеризует так называемую научную новизну, то есть прирост достоверной информации, описывающей объект исследования. Научно-технический уровень показывает возможность использования результатов исследования в других НИР, ОКР или для создания продукции. Экономический эффект отражает возможное улучшение экономических показателей вследствие проведения данной НИР или ОКР и/или внедрения результатов в народное хозяйство. Социальный эффект проявляется в улучшении условий труда, повышении экономического благосостояния, развитии культуры, здравоохранения, науки, образования.

В данной работе наиболее возможным представляется оценить уровень научного и научно-технического эффекта ввиду теоретической направленности НИР.

Для оценки научной ценности, технической значимости и эффективности планируемых и выполняемых работ получил распространение метод бальных оценок. Он заключается в том, что каждому фактору по принятой шкале присваивается определённое количество баллов. Обобщённую оценку проводят по сумме баллов по всем показателям или рассчитывают по формуле. На этой основе делается вывод о целесообразности НИР.

На основе оценок новизны результатов, их ценности, масштабам реализации определяется показатель научного и научно-технического уровня по формуле:

 

где    НУ (НТУ) - показатель научного (научно-технического) уровня;

m - количество факторов НУ (НТУ);

ri - коэффициент значимости i-гo фактора НУ (НТУ);

ki - балльная оценка i-гo фактора НУ (НТУ).

Результаты оценки научного и научно-технического уровней НИР приведены соответственно в таблицах 3.8 и 3.9.

Таблица 3.8 - Сводная таблица оценки научного уровня НИР

Фактор НУ

Значимость

Выбранный балл

Новизна результатов

0,5

0,7

Технический уровень

0,35

0,6

Завершенность результатов

0,15

0,8

НУ = 0,68


Таблица 3.9 - Сводная таблица оценки научно-технического уровня НИР

Фактор НТУ

Значимость

Выбранный балл

Перспективность использования результатов

0,5

0,8

Масштаб реализации

0,3

0,7

Завершенность результатов

0,2

0,6

НТУ = 0,73


В организационно-экономической части работы составлен календарный план-график работ по НИР в виде диаграммы Ганта.

3.7 Экономический эффект НИР

Полная себестоимость НИР составила 149325 рублей.

Оценки научного и научно-технического уровней НИР составили соответственно 0,68 и 0,73 по отношению к максимальному уровню.

В данной выпускной квалификационной работе экономический эффект, выраженный в денежных средствах, определить не представляется возможным, так как создавался лабораторный практикум направленный исключительно на образовательные цели. Оценить эффективность можно лишь в качественном выражении. Результатом НИР является улучшение качества образовательного процесса, улучшение содержания работы преподавателя, возможная передача опыта другим учебным заведениям, возможность изучения основных процедур учета и контроля ядерных материалов на основе созданного лабораторного практикума.

4. Производственная и экологическая безопасность при совершенствовании СУиК ЯМ в хранилище ОЯТ РУ ВВЭР-1000


В современных условиях одним из основных направлений коренного улучшения всей профилактической работы по снижению производственного травматизма и профессиональной заболеваемости является повсеместное внедрение комплексной системы управления охраной труда, то есть путем объединения разрозненных мероприятий в единую систему целенаправленных действий на всех уровнях и стадиях производственного процесса.

Правила по охране труда и техники безопасности вводятся в целях предупреждения несчастных случаев, обеспечения безопасных условий труда работающих и являются обязательными для исполнения рабочими, руководящими, инженерно-техническими работниками.

Опасным производственным фактором, согласно Федеральному закону, называется такой производственный фактор, воздействие которого в определенных условиях приводят к травме или другому внезапному, резкому ухудшению здоровья. [13]

Дипломная работа была выполнена в аудитории 312 Инновационного научно-образовательного центра ФТИ. Здесь в эксплуатации находится дорогостоящее оборудование, что требует соблюдения специальных правил техники безопасности, охраны труда, правил электро- и пожарной безопасности.

Работа выполнялась с использованием современной вычислительной техники, что позволило достичь высокой эффективности процесса и уменьшения временных затрат на его проведение.

Перед началом работ был проведен вводный инструктаж по правилам пользования аппаратурой и инструктаж на рабочем месте.

Организация рабочего места способствовала наиболее эффективному выполнению каждого конкретного раздела работ. Техническая исправность и безопасность использования, применяемого оборудования регулярно проверялись квалифицированными специалистами.

4.1 Анализ опасных и вредных производственных факторов


Производственные условия на рабочем месте характеризуются наличием опасных и вредных факторов, которые классифицируются по группам элементов: физические, химические, биологические, психофизиологические. [13,14]

На дипломника, работа которого связана использованием персонального компьютера, воздействуют следующие факторы (таблица 5.1):

-       физические:

-       температура и влажность воздуха;

-       шум;

-       статическое электричество;

-       электромагнитное поле низкой чистоты;

-       освещённость;

-       наличие излучения от ЭВМ;

-       психофизиологические.

Психофизиологические опасные и вредные производственные факторы, делятся на: физические перегрузки и нервно-психические перегрузки (умственное перенапряжение, эмоциональные перегрузки, монотонность труда).

Таблица 4.1 - Основные элементы производственного процесса, формирующие опасные и вредные факторы

Наименование видов работ и параметров производственного процесса

ФАКТОРЫ

Нормативные документы


Вредные

Опасные


Расчёт данных на ПЭВМ

Электрический ток

нет

ГОСТ 12.1.038-82 ССБТ. Электробезопасность

Расчёт данных на ПЭВМ

Воздействие радиации (ВЧ, УВЧ, СВЧ и т.д.)

нет

СанПиН 2.2.2/2.4.1340-03 Санитарно-эпидемиологические правила и нормативы. «Гигиенические требования к ПЭВМ и организация работы»


4.2 Обоснование и разработка мероприятий по снижению уровней опасного и вредного воздействия и устранению их влияния на работающих

 

.2.1 Организационные и технические мероприятия на рабочем месте и при работе с ПЭВМ

Организационные мероприятия

Весь персонал обязан знать и строго соблюдать правила техники безопасности. Обучение персонала технике безопасности и производственной санитарии состоит из вводного инструктажа и инструктажа на рабочем месте ответственным лицом.

Проверка знаний правил техники безопасности проводится квалификационной комиссией после обучения на рабочем месте. Проверяемому, присваивается соответствующая его знаниям и опыту работы квалификационная группа по технике безопасности и выдается специальное удостоверение.

Лица, обслуживающие электроустановки не должны иметь увечий и болезней, мешающих производственной работе. Состояние здоровья устанавливается медицинским освидетельствованием.

Технические мероприятия рабочего места

Рациональная планировка рабочего места предусматривает четкий порядок и постоянство размещения предметов, средств труда и документации. То, что требуется для выполнения работ чаще должно располагаться в зоне легкой досягаемости рабочего пространства (Рисунок 4.1).

Рисунок 4.1 - Зоны досягаемости рук в горизонтальной плоскости

Здесь а - зона досягаемости рук; б - зона досягаемости пальцев; в - зона легкой досягаемости ладони; г - пространство грубой ручной работы; д - пространство тонкой ручной работы.

Оптимальное размещение предметов труда и документации в зонах досягаемости рук: дисплей размещается в зоне а (в центре); системный блок в зоне б (слева); принтер в зоне а (справа); клавиатура - в зоне г/д; -литература и документация, необходимая при работе - в зоне в (слева); литература, не используемая постоянно - в выдвижных ящиках стола.

При проектировании рабочего пространства письменного стола должны быть учтены следующие требования.

Высота рабочей поверхности стола рекомендуется в пределах 680-800 мм. Высота рабочей поверхности, на которую устанавливается клавиатура, должна быть 650 мм. Рабочий стол должен быть шириной не менее 700 мм и длиной не менее 1400 мм. Должно иметься пространство для ног высотой не менее 600 мм, шириной - не менее 500 мм, глубиной на уровне колен - не менее 450 мм и на уровне вытянутых ног - не менее 650 мм.

Рабочее кресло должно быть подъёмно-поворотным и регулируемым по высоте и углам наклона сиденья и спинки, а так же расстоянию спинки до переднего края сиденья. Рекомендуется высота сиденья над уровнем пола 420-550 мм. Конструкция рабочего кресла должна обеспечивать: ширину и глубину поверхности сиденья не менее 400 мм; поверхность сиденья с заглублённым передним краем.

Монитор должен быть расположен на уровне глаз оператора на расстоянии 500-600 мм. Согласно нормам угол наблюдения в горизонтальной плоскости должен быть не более 45 D к нормали экрана. Лучше если угол обзора будет составлять 30 D. Кроме того должна быть возможность выбирать уровень контрастности и яркости изображения на экране.

Должна предусматриваться возможность регулирования экрана:

-       по высоте +3 см;

-       по наклону от 10 до 20 градусов относительно вертикали;

-       в левом и правом направлениях.

Клавиатуру следует располагать на поверхности стола на расстоянии 100-300 мм от края. Нормальным положением клавиатуры является её размещение на уровне локтя оператора с углом наклона к горизонтальной плоскости 15 D. Более удобно работать с клавишами, имеющими вогнутую поверхность, четырёхугольную форму с закруглёнными углами. Конструкция клавиши должна обеспечивать оператору ощущение щелчка. Цвет клавиш должен контрастировать с цветом панели.

При однообразной умственной работе, требующей значительного нервного напряжения и большого сосредоточения, рекомендуется выбирать неяркие, малоконтрастные цветочные оттенки, которые не рассеивают внимание (малонасыщенные оттенки холодного зеленого или голубого цветов). При работе, требующей интенсивной умственной или физической напряженности, рекомендуются оттенки тёплых тонов, которые возбуждают активность человека. [15]

Условия безопасной работы

Основные параметры, характеризующие условия труда это: микроклимат, шум, вибрация, электромагнитное поле, излучение, освещённость.

Воздух рабочей зоны (микроклимат) производственных помещений определяют следующие параметры: температура, относительная влажность, скорость движения воздуха. Оптимальные и допустимые значения характеристик микроклимата [15] устанавливаются в соответствии с нормами и приведены в таблице 4.1.

Таблица 4.1 - Оптимальные и допустимые параметры микроклимата

Период года

Температура, оС

Относительная влажность, %

Скорость движения воздуха, м/с

Холодный и переходный

23-25

40-60

0,1

Тёплый

22-24

40

0,1


К мероприятиям по оздоровлению воздушной среды в производственном помещении относятся: правильная организация вентиляции и кондиционирования воздуха, отопление помещений. Вентиляция может осуществляться естественным и механическим путём. В помещение должны подаваться следующие объёмы наружного воздуха: при объёме помещения до 20 м3 на человека - не менее 30 м3 в час на человека; при объёме помещения более 40 м3 на человека и отсутствии выделения вредных веществ допускается естественная вентиляция.

Система отопления должна обеспечивать достаточное, постоянное и равномерное нагревание воздуха. В помещениях с повышенными требованиями к чистоте воздуха должно использоваться водяное отопление. Параметры микроклимата в используемой лаборатории регулируются системой центрального отопления, и имеют следующие значения: влажность - 40%, скорость движения воздуха - 0,1 м/с, температура летом -20..25 °С, зимой - 20…24 °С. В лаборатории осуществляется естественная вентиляция. Воздух поступает и удаляется через щели, окна, двери. Основной недостаток такой вентиляции в том, что приточный воздух поступает в помещение без предварительной очистки и нагревания.

Шум и вибрация ухудшают условия труда, оказывают вредное воздействие на организм человека, а именно, на органы слуха и на весь организм через центральную нервную систему. В результате этого ослабляется внимание, ухудшается память, снижается реакция, увеличивается число ошибок при работе. Шум может создаваться работающим оборудованием, установками кондиционирования воздуха, осветительными приборами дневного света, а также проникать извне. При выполнении работы на ПЭВМ уровень шума на рабочем месте не должен превышать 50 дБ.

Экран и системные блоки производят электромагнитное излучение. Основная его часть происходит от системного блока и видео-кабеля. Согласно нормам напряженность электромагнитного поля на расстоянии 50 см вокруг экрана по электрической составляющей должна быть не более:

-       в диапазоне частот 5Гц-2кГц - 25В/м;

-       в диапазоне частот 2кГц-400кГц - 2,5В/м.

Плотность магнитного потока должна быть не более:

-       в диапазоне частот 5Гц-2кГц - 250нТл;

-       в диапазоне частот 2кГц-400кГц - 25нТл.

Существуют следующие способы защиты от электромагнитного поля:

-       увеличение расстояния от источника (экран должен находится на расстоянии не менее 50 см от пользователя);

-       применение приэкранных фильтров, специальных экранов и других средств индивидуальной защиты.

При работе с компьютером источником ионизирующего излучения является дисплей. Под влиянием ионизирующего излучения в организме может происходить нарушение нормальной свертываемости крови, увеличение хрупкости кровеносных сосудов, снижение иммунитета и др. Доза облучения при расстоянии до дисплея 20 см составляет 50мкбэр/час. По нормам конструкция ЭВМ должна обеспечивать мощность экспозиционной дозы рентгеновского излучения в любой точке на расстоянии 0,05м от экрана не более 7,7×10 А/кг, что соответствует эквивалентной дозе, равной 100 мкР/час.

Утомляемость органов зрения может быть связана как с недостаточной освещенностью, так и с чрезмерной освещенностью, а также с неправильным направлением света.

При проведении компьютерных исследований использовалась аппаратура, питание которой осуществляется от сети с напряжением 220 В. Оборудование лаборатории является низковольтным. По наличию признаков электрических опасностей - помещение относится к категории помещений с пониженной опасностью.

Для предотвращения выхода из строя компьютеров вследствие бросков напряжения питающей сети, а также, для обеспечения сохранности данных при аварийном отключении сети, питание осуществляется через источник бесперебойного питания UPS-400. Во избежание травматизма следует, соблюдать следующие правила:

-       Должна быть изучена инструкция по эксплуатации аппаратуры. Перед каждым включением производился осмотр рабочего места;

-       Обращать особое внимание на последовательность включений и выключения питания отдельных узлов;

-       Все узлы вычислительного комплекса должны быть заземлены через контур заземления;

-       Контур заземления периодически проверяется на электрическое сопротивление.

Анализ опасности электрических сетей практически сводится к определению значения тока, протекающего через тело человека в различных условиях, в которых может оказаться человек при эксплуатации электрических сетей.

При прохождении электрического тока через тело человека могут возникнуть повреждения организма. Действие тока на организм человека может быть местным и общим. Общее (рефлекторное) поражение - электрический удар, представляет для человека наибольшую опасность: нарушается работа центральной нервной и сердечно-сосудистой систем, что приводит к фибрилляции и параличу сердца, а также к остановке дыхания.

Характер и последствия поражения зависят от величины, частоты и пути прохождения тока; продолжительности воздействия. Своевременно оказанная помощь при поражении током позволяет сохранить жизнь пострадавшему. Поэтому помощь должна быть оказана немедленно. При оказании первой помощи пострадавшего необходимо отсоединить от токоведущей части, одновременно защищая себя от опасности контакта с тоководами.

В первую очередь надо отключить ток. При легких поражениях пострадавшего следует вынести на свежий воздух. Если дыхание очень резкое и судорожное, необходимо сделать искусственное дыхание. При остановке дыхания и отсутствии пульса делают искусственное дыхание и непрямой массаж сердца. Затем необходима госпитализация.

4.2.3 Пожарная и взрывная безопасность

Согласно нормам пожарной безопасности, в зависимости от характеристики используемых в производстве веществ и их количества, по пожарной и взрывной опасности помещения подразделяются на категории А, Б, В, Г, Д. Так как помещение по степени пожаровзрывоопасности относится к категории В, то есть к помещениям с твердыми сгорающими веществами, необходимо предусмотреть ряд профилактических мероприятий. [16]

Возможные причины загорания:

-       неисправность токоведущих частей установок;

-       работа с открытой электроаппаратурой;

-       короткие замыкания в блоке питания;

-       несоблюдение правил пожарной безопасности;

-       наличие горючих компонентов: документы, двери, столы, изоляция кабелей и т.п.

Мероприятия по пожарной профилактике разделяются на: организационные, технические, эксплуатационные и режимные.

Организационные мероприятия предусматривают правильную эксплуатацию оборудования, правильное содержание зданий и территорий, противопожарный инструктаж рабочих и служащих, обучение производственного персонала правилам противопожарной безопасности, издание инструкций, плакатов, наличие плана эвакуации.

К техническим мероприятиям относятся: соблюдение противопожарных правил, норм при проектировании зданий, при устройстве электропроводов и оборудования, отопления, вентиляции, освещения, правильное размещение оборудования.

К режимным мероприятиям относятся, установление правил организации работ, и соблюдение противопожарных мер. Для предупреждения возникновения пожара от коротких замыканий, перегрузок и т. д. необходимо соблюдение следующих правил пожарной безопасности:

-       исключение образования горючей среды (герметизация оборудования, контроль воздушной среды, рабочая и аварийная вентиляция);

-       применение при строительстве и отделке зданий несгораемых или трудно сгораемых материалов;

-       правильная эксплуатация оборудования (правильное включение оборудования в сеть электрического питания, контроль нагрева оборудования);

-       правильное содержание зданий и территорий (исключение образования источника воспламенения - предупреждение самовозгорания веществ, ограничение огневых работ);

-       обучение производственного персонала правилам противопожарной безопасности;

-       издание инструкций, плакатов, наличие плана эвакуации;

-       соблюдение противопожарных правил, норм при проектировании зданий, при устройстве электропроводов и оборудования, отопления, вентиляции, освещения;

-       правильное размещение оборудования;

-       своевременный профилактический осмотр, ремонт и испытание оборудования. [16, 17, 18]

При возникновении аварийной ситуации необходимо немедленно прекратить работу, сообщить непосредственному руководителю работ или дежурному, позвонить по телефону 01 и принять меры в соответствии с инструкцией.

При работе с оборудованием соблюдались все перечисленные выше правила пожарной безопасности.

Заключение


В ходе проделанной работы был проведен анализ нормативно-правовой документации и выделены требования к применению средств контроля доступа и проведению физической инвентаризации.

Рассмотрена действующая система учета и контроля ядерных материалов в хранилище отработавшего ядерного топлива реакторных установок ВВЭР-1000.

Созданы рекомендации по совершенствованию системы наблюдения и созданию автоматизированной системы сбора данных в существующей системе учета и контроля ядерных материалов в хранилище отработавшего ядерного топлива реакторных установок ВВЭР-1000.

Проведен анализ и расчет организационно-экономической части. Рассмотрены вопросы производственной и экологической безопасности при выполнении данной выпускной квалификационной работы.

Список использованных источников


1.       «Учет, контроль и физическая защита ядерных материалов. Терминологический словарь». М.: Госкорпорация «Росатом», 2011.

2.       «Основные правила учета и контроля ядерных материалов». НП-030-2012. Федеральные нормы и правила в области использования атомной энергии. М: Федеральная служба по экологическому, технологическому и атомному надзору, 2012.

.        Сайт ФГУП «Горно-химический комбинат» [Электронный ресурс]. - Режим доступа: #"705984.files/image047.jpg">

Физические границы ЗБМ-10

 

Приложение Б

(обязательное)

Схема движения ЯМ

Приложение В

(обязательное)

Таблица В1 - Календарный план-график проведения НИР


Содержание работ

Тк, кал.дн.

Уi,%

Гi,%

Время выполнения работ






Июль

Август

Сентябрь

Октябрь

Ноябрь

Декабрь

 Январь

1

1

Составление и утверждение технического задания

10,36

5,24

5,24






















2

2

Подбор и изучение материалов по теме

7,55

3,81

9,05























3

Календарное планирование работ по теме

14,06

7,11

16,16






















3

4

Основная часть

26,64

13,46

29,62























5

Практическая часть

65,12

32,91

62,53






















4

6

Оценка эффективности полученных результатов

7,55

3,81

66,34























7

Составление пояснительной записки

50,32

25,43

91,77























8

Подготовка темы к защите

16,28

8,23

100






















Итого дней

198


100


- научный руководитель - дипломник


Похожие работы на - Совершенствование системы учета и контроля ядерных материалов хранилища отработавшего ядерного топлива

 

Не нашли материал для своей работы?
Поможем написать уникальную работу
Без плагиата!
Без нейросетей!