Результаты экспериментального исследования развязывающих, пассивных и активных приборов, работающих на поверхностной ферритовой волне
Результаты экспериментального исследования развязывающих,
пассивных и активных приборов, работающих на поверхностной ферритовой волне
1. Развязывающие
ферритовые СВЧ приборы на ПФВ
.1 Физические основы
создания развязывающих приборов на ПФВ
ферритовый циркулятор аттенюатор
сверхвысокочастотный
В основе работы развязывающих
приборов на ПФВ лежит эффект невзаимного смещения электромагнитного поля в СВЧ
линиях с поперечно-намагниченным ферритом. Известно [1], что в полосковых
линиях с поперечно - намагниченным ферритом основной является поверхностная
ферритовая волна, характеризующаяся экспоненциальным распределением поля в
поперечном сечении линии.
На рис. 1 схематически изображена
структура поля прямой (1) и обратной (2) волн. В полосковой линии, частично
заполненной поперечно - намагниченным ферритом (3), поверхностная волна
распространяется по краю феррита (рис. 1, а), а в симметричной полосковой
длинии, полностью заполненной поперечно - намагниченным ферритом, - по краю
центрального проводника (рис. 1, б). Поэтому иногда в литературе ПФВ называют
краевой.
Ez - составляющая поля
рассматриваемой волны в феррите имеет вид [2]
Еz = A exp {± 2 π
(1)
где
и
-
недиагональная и диагональная составляющие тензора магнитной проницаемости
феррита;
- диэлектрическая проницаемость феррита;
= ω
(2)
постоянная распространения ПФВ. В
(1) знаки «±» относятся к прямой и обратной волнам соответственно. Из
приведённого соотношения видно, что невзаимное смещение напряженности поля
пропорционально параметрам феррита k,
,
и в случае рис. 1, а толщине ферритового слоя, а в случае рис. 1,
б ширине центрального проводника.
При нарушении условия
распространения ПФВ в одном из направлений можно получить однонаправленные для
ПФВ линии передачи.
На рис. 2, а и б показаны полосковая
и симметричная полосковая линии, в которых вдоль одного из краёв ферритового
вкладыша 1 и центрального проводника 2 установлена электрическая стенка 3.
Очевидно, что в рассматриваемых несимметричных линиях ПФВ может
распространяться только в одном направлении.
На рис. 3 показана качественная
зависимость нормированной постоянной распространения ПФВ (Ɣу/k0, где k0 = ω√(Ɛ_0 µ_0 )) от
нормированного значения напряженности подмагничивающего поля (ω0/ω) для взаимных (см.
рис. 1) и невзаимных (см. рис. 2) линий передачи без учета потерь.
Из рис. 3 можно сделать важные для
создания развязывающих приборов на ПФВ выводы:
1. приборы
могут работать только при напряжённости подмагничивающего поля, меньшей
резонансного значения, т.е. ω0/ω ˂ 1;
2. приборы
на взаимных линиях могут работать во всей области дорезонансных
подмагничивающих полей, т.е. 0 ˂ ω0/ω ˂ 1;
3. приборы
на невзаимных линиях могут работать только или в области µ⊥ > 0, или в области µ⊥ ˂ 0, где µ⊥=(µ2 - k2)/ µ - эффективная
магнитная проницаемость феррита. В области µ⊥ > 0 могут
распространяться как высшие типы ПФВ, так и волноводные типы волн, поэтому
область µ⊥
˂ 0 более предпочтительна: в ней существует только ПФВ - волна низшего
типа. (Для простоты постоянные распространения высших и волноводных типов волн
на рис. 3 не показаны).
1.2 Выбор параметров
настройки развязывающих приборов на ПФВ
К таким параметрам можно отнести:
а). напряженность постоянного
подмагничивающего поля Нi;
б). ширину ферритового слоя (tф) или ширину центрального проводника (W) соответственно для волноводных и
полосковых линий.
Намагниченность насыщения феррита (4πMs), с одной стороны, ограничена потерями в слабых подмагничивающих
полях, с другой, - малым диапазоном частот, в котором µ⊥ ˂ 0. Для
расширения области µ⊥ ˂ 0 величина 4πMs берётся несколько большей, чем для широкораспространённых Y - циркуляторов, работающих в
дорезонансном режиме в том же диапазоне частот. Оптимальная нормированная
намагниченность насыщения феррита для приборов, работающих на ПФВ, определяется
как
А = Ɣ4πMs/ω ≈ 0,8. (3)
Поскольку ПФВ в линиях передачи типа
показанных на рис. 1 может существовать во всей области дорезонансных полей,
интервал напряжённости подмагничивающих полей для развязывающих приборов,
выполненных на этих линиях, можно записать в виде
На ˂ Нi ˂
-
ΔН, (4)
где
-
- напряженность подмагничивающего поля, при которой µ = 0 и в
соответствии с выражением (2) ПФВ испытывает отсечку (низкочастотная граница
отсечки ПФВ).
Для приборов, создаваемых на линиях
передачи типа показанных на рис. 2, интервал подмагничивающих полей ограничен
областью µ⊥ ˂ 0, т.е.
Н0 - 4πMs ˂ Нi ˂
-
-
ΔН, (5)
где (Н0 - 4πMs) - напряжённость
подмагничивающего поля, при которой µ⊥ = 0 и в соответствии с рис. 3, б ПФВ испытывает отсечку
(высокочастотная граница отсечки ПФВ).
Ширина ферритового слоя tф и ширина центрального проводника W ограничены, с одной стороны,
распространением высших типов волн в области µ⊥ > 0, с другой,
- сильной частотной дисперсией постоянной распространения ПФВ как в области µ⊥ > 0, так и в
области µ⊥
˂ 0 [1] и уменьшением эффекта смещения поля (1).
Таким образом, эти параметры
определяются из соотношений
0,1 λ0 ˂ tф ˂ 0,2 λ0; 0,1 λ0 ˂ W ˂ 0,2 λ0. (6)
На рис. 4 показана экспериментальная
частотная зависимость ширины центрального проводника симметричной полосковой
линии (см. рис 2, б) при достижении однонаправленности более 35 дб. При этом 4πMs и Нi выбирались в соответствии с выражениями (3) и (5).
.3 Типы конструкции
приборов на ПФВ
На однонаправленной линии с ПФВ
могут быть реализованы различные типы конструкций развязывающих СВЧ приборов:
вентили с вентильным отношением не менее 200, многоплечные циркуляторы,
работающие в режиме «бегущей волны», многоплечные вентили - циркуляторы с
электрической стенкой, многоплечные вентили - циркуляторы с поглощающим
элементом, невзаимные делители свч мощности, невзаимные волноводно -
коаксиальные и волноводно - микрополосковые СВЧ переходы.
Режим «бегущей волны» относится ко
всем развязывающим приборам, работающим на ПФВ. Выделение развязывающих
приборов с поглощающим элементом и с электрической стенкой в отдельные типы
является чисто условным и связано только с конструктивным исполнением этих
устройств и их выходными электрическими параметрами.
Как будет показано далее,
однонаправленные линии с ПФВ могут успешно использоваться (вместо
У-циркуляторов) и при создании активных приборов: невзаимных аттенюаторов и
модуляторов, с неизменяющимся входным импедансом, усилителей мощности и
малошумящих усилителей отражательного типа.
1.4 Волноводный СВЧ
вентиль, с вентильным отношением более 200
На рис. 5 изображена конструктивная
схема вентиля 2-х см. диапазона длин волн [2]. Прибор состоит из корпуса 1 и
притёртой к нему крышки 2.
В корпусе вдоль продольной оси
выполнена металлическая перегородка 3, расчленяющая волновод на два
параллельных слоя, что позволяет трансформировать обратную ПФВ в предельную
волну высшего (второго) типа, имеющую по сравнению с обратной волной низшего
типа вдвое больше погонное обратное затухание. По узким стенкам корпуса
приклеены прямоугольные ферритовые вкладыши 4. Марка феррита 1СЧ-4, марка клея
ВТ-25-200. Допуски на высоту корпуса, толщину ферритовых вкладышей и клеевого
шва задают из условия обеспечения между ферритовыми вкладышами и крышкой
гарантированного зазора 0,03 - 0,07 мм.
Введение диэлектрического зазора
позволяет значительно снизить уровень вносимого прямого затухания. Впервые
такой метод снижения вносимого затухания был показан в работе [3].Физическое
обоснование данного метода заключается в следующем. Из-за неэллипсоидальной
формы ферритовых образцов внутреннее магнитное поле в образцах неоднородно.
На рис. 6, а) показана Нz - компонента
внутреннего подмагничивающего поля вдоль и поперёк ферритового образца.
Известно [4], что внутренние магнитные неоднородности приводят к возбуждению
паразитных магнитостатических волн (МСВ). Частотный диапазон существования этих
МСВ (в нашем случае паразитных) частично перекрывает частотный диапазоном
существования ПФВ, что и приводит к увеличению вносимого затухания вентиля. При
введении между ферритом и экранирующей плоскостью зазора, происходит сужение
частотного диапазона существования объёмных МСВ за счет исчезновения МСВ с
большими волновыми числами, причем спектр МСВ смещается в область частот,
расположенную ниже частотной области существования ПФВ. Последнее и приводит к
уменьшению электромагнитных потерь прибора.
Дополнительно снизить уровень
вносимых потерь и расширить рабочую полосу частот прибора, можно путём
уменьшения внутренней магнитной неоднородности вдоль продольной границы
феррит-воздух, по которой распространяется ПФВ в прямом направлении [5]. Это
достигается за счет использования магнита клинообразной формы (см. Рис. 6, б,
п. 1) или незначительного смещения магнитов в поперечном направлении корпуса
(или относительно друг друга). Величина смещения определялась экспериментально
и для 2-х см. диапазона длин волн составляет не менее 0,2 от ширины феррита. На
рис. 5 показан этот вариант расположения магнитов (п. 6). Ферритовые вкладыши
подмагничиваются противоположно. Марка магнита КС-37. Для обеспечения температурной
устойчивости в приборе использовались термомагнитные шунты (см. рис. 5, п. 7).
Марка термомагнитного материала Н32Х6Ю.
Потери рассогласования определяются
в основном согласованием входа и выхода вентиля. Вообще при согласование
приборов на ПФВ необходимо учитывать различие в структуре поля падающей волны
(Н10) и распространяющейся в приборе ПФВ. Проводя экспериментальное
исследование возбуждения ПФВ в линиях СВЧ, содержащих один или несколько
ферритовых элементов, позволило найти оригинальный простой преобразователь
типов волн (волны Н10 в ПФВ) [6]. Преобразователь типов волн
представляет из себя реактивный элемент, выполненный в виде металлического
штыря, перемещающегося вдоль своей продольной оси, перпендикулярной широким
стенкам волновода. Для ферритового вкладыша, имеющего прямоугольную форму,
реактивный элемент лежит на продольной оси волновода в плоскости, проходящецй
через торец феррита, при этом боковая поверхность реактивного элемента
прилегает к поверхности ферритового вкладыша (см. рис 5, п. 5). Диаметр штыря
составляет λ0/8, где λ0 - длина волны в свободном пространстве середины рабочего диапазона
длин волн.
Величина зазора между торцем штыря и
противоположной широкой стенкой волновода выбирается из условия обеспечения на
центральной частоте рабочего диапазона последовательного резонанса.
Преобразователь типов волн работает
следующим образом. При возбуждении отрезка волновода энергия волны Н10
из-за последовательного резонанса в контуре, образованном металлическим штырём
и зазором, локализуется в реактивном элементе. Близость реактивного элемента к
поверхности феррита позволяет обеспечить сильную электромагнитную связь отрезка
волновода с ферритовым вкладышем. Эквивалентность плотности СВЧ тока в
реактивном элементе и структуры поля рабочего типа волны (ПФВ) в феррите
позволяет преобразовать волну Н10 в ПФВ с высоким коэффициентом
передачи.
Таким образом, малые размеры
металлического штыря (диаметр штыря составляет λ0/8), согласование СВЧ
тока в контуре с полем ПФВ в ферритовом элементе и близость расположения штыря
к поверхности феррита, вдоль которой распространяется ПФВ, обуславливает
уменьшение электромагнитных потерь и расширение рабочей полосы частот
преобразования волны Н10 в ПФВ.
Очевидно, что отмеченные выше два
технических решения позволяющих уменьшить вносимые потери, обусловленные
паразитными МСВ, а также преобразователь типов волн с высоким коэффициентом
преобразования волны Н10 в ПФВ, могут быть применены не только в СВЧ
вентилях на ПФВ, но и во всех ферритовых приборах, работающих на ПФВ.
Описываемый вентиль СВЧ стыкуется с
волноводным трактом сеч. 17х4 мм. Габаритные размеры вентиля составляют
32х30х27 мм. Вес прибора не более 70г. Вентиль имеет следующие электрические
характеристики:
рабочая полоса частот, не менее ±
500 МГ;
обратное затухание, не менее 90 дб;
прямое затухание, не более 0,4 дб;
КСВН, не более 1,2;
интервал рабочих температур -600С
+800С.
Из вышеуказанного следует, что по
величине вентильного отношения (не менее 200) разработанный прибор существенно
превосходит зарубежные аналоги.
1.5 Приборы, собранные
на однотипной линии передачи. Волноводные циркуляторы
На рис. 7 изображена конструктивная
схема волноводного четырёхплечного циркулятора с замкнутой схемой циркуляции.
Устройство представляет собой Н-плоскостное волноводное Х-сочленение, в центре
которого расположен поперечно-намагниченный ферритовый вкладыш, имеющий форму
кольца (см. пунктир на рис. 7, п. 2) с суженными отводами (п. 3), выходящими в
плечи волноводного сочленения [7], [8].
Кольцевая форма ферритового вкладыша
позволяет уменьшить нежелательную связь между развязанными плечами устройства,
обусловленную конечной величиной смещения СВЧ - поля в поперечном сечении
ферритового образца.
Принцип работы циркулятора сводится
к следующему. При возбуждении одного из плеч сочленения I на суженном ферритовом
участке происходит преобразование волны Н10 в ПФВ, которая при
определённой ориетации подмагничивающего поля распространяется по внешнему краю
ферритового вкладыша в направлении плеча II. На выходном суженном
отводе плеча II ПФВ преобразуется в волну Н10. Таким образом, сигнал в
рассматриваемом сочленении циркулирует в направлении I→II→III→IV→I и при отводе энергии из
плеча II (согласовании плеча II) плечи II и I, IV и I взаимно развязаны. Волноводный тип волны Н10 в данном
сочленении распространяться не может, так как при µ⊥ ˂0 волновод
для этого типа волны является предельным. Параметры настройки выбирались в
соответствии с выражениями (3), (5), (6) и для 2-х см. диапазона длин волн
составляли: 4πMs ≈ 4200 Гс (феррит 2СЧ-4), Нi = 2300 Э, tф = 4 мм. Используемая конфигурация ферритового вкладыша не
позволила точно рассчитать величину внешнего подмагничивающего поля, которая
уточнялась в процессе настройки циркулятора и составляла 4000 Э. Внутренний
диаметр ферритового кольца выбирался из условия обеспечения предельности
сочленения для волноводного типа волны Н10. Длина суженных
ферритовых отводов (п. 3) составляла 4,5 мм. Прибор собран на сочленении
волноводов сечением 17Х4 мм.
На рис. 8 показаны электрические
характеристики циркулятора. В полосе частот 18% устройство имеет КСВН ˂
1,2, прямое затухание не более 1 дб и развязки не менее 20 и 35 дб
соответственно.
Несколько увеличенный уровень
прямого затухания обусловлен длиной суженных ферритовых отводов. В отличие от
мостовых Х-образных циркуляторов величина развязки между ближайшими плечами в
рассматриваемом устройстве зависит в основном от числа плеч устройства,
нагруженных на согласованные элементы, а не от просачивания мощности
непосредственно из входного в развязанное плечо. Указанная зависимость является
характерной особенностью циркуляторов, работающих на ПФВ.
В отличие от рассмотренного в
предыдущем разделе четырёхплечного циркулятора наличие в этом приборе среза у
ферритового вкладыша и металлического выступа, полностью заполняющего волновод
по высоте, препятствует распространению сигнала в направлении III→II→I. Длина электрической
стенки «m» (Рис. 9) определяет величину обратного затухания и для 2-х см.
диапазона волн равна 4 мм. Конструктивные параметры выбирались так же, как и
для четырёхплечного прибора с замкнутой циркуляцией.
На рис. 10 и рис. 11 приведены
модернизированные конструктивные схемы циркуляторов, соответственно с замкнутой
и разомкнутой схемой циркуляции. Данные схемы позволяют снизить уровень прямого
затухания до 0,5 дб при сохранении высокой величины развязки. Уменьшение
затухания достигается за счет использования, вместо согласующих суженных
ферритовых отводов, сосредоточенного преобразователя типов волн (Н10 в
ПФВ) [6]. Кроме того, предлагаемые схемы позволяют существенно снизить высоту
циркуляторов, из - за расположения магнитов внутри ферритового кольца (п. 3,
рис. 10).
Полосковые циркуляторы.
На рис. 12 показана конструкция
восьмиплечного циркулятора дециметрового диапазона волн на симметричной
полосковой линии с замкнутой схемой циркуляции [10, фиг. 3].
Устройство представляет собой
замкнутую полосковую линию (1), расположенную между двумя поперечно
намагниченными (полем Н) ферритовыми вкладышами (2). Линия имеет восемь
радиально расположенных полосковых отводов (I-VIII). Согласование
осуществляется полосковыми четвертьволновыми трансформаторами (3),
расположенными на фторопласте (4), и клинообразными вырезами (5). На рис. 12, а
показан внешний вид прибора.
На рис. 13 показаны электрические
характеристики такого циркулятора.
В полосе частот 30% циркулятор
имеет: Ксвн не более 1,2, обратное и прямое затухание между ближайшими плечами
соответственно более 20 дб и менее 0,5 дб. Обратное затухание между остальными
плечами не менее 30 дб. Наименьшие потери устройства составляют 0,3 дб в полосе
частот 8%.
На рис. 14 приведена схема и
электрические параметры трёхплечного циркулятора с разомкнутой схемой
циркуляции (вентиля - циркулятора) 2-х сантиметрового диапазона длин волн [10,
фиг. 2].
Устройство собрано на симметричной
полосковой линии, центральный проводник (1) которой расположен между двумя
прямоугольными поперечно намагниченными ферритовыми вкладышами (2). Вдоль
одного из краёв центрального проводника расположена электрическая стенка (3).
Согласование осуществлялось с помощью четвертьволновых трансформаторов (4), расположенных
на фторопласте (5). Значения 4πMs, Нi и ширина центрального
проводника W определялись в соответствии с выражениями (3), (5) и рис. 4.
Прибор в полосе частот 20% имеет: Ксвн не более 1,2, прямое затухание не более
0,5 дб, обратное затухание между вторым и первым плечами LII,I не менее 35 дб, а между
выходом и входом LIII,I не менее 70 дб. Экспериментальные исследования показали, что если
вместо электрической стенки (3) ввести поглощающий элемент, то по значению
вентильного отношения вентили-циркуляторы с электрической стенкой более
перспективны.
Микрополосковые
развязывающие приборы.
На рис. 15 изображена схема
микрополоскового вентиля-циркулятора, поглощающий элемент которого выполнен в
виде сосредоточенной нагрузки на компланарной СВЧ линии передачи [11].
Прибор содержит поперечно
намагниченную ферритовую подложку (1), разветвление микроиолосковых линий
передачи (2) и металлизацию (3). Часть ферритовой подложки (4), имеет
поперечное намагничивание. Прибор имеет по крайней мере одну согласованную
нагрузку (5). Согласованная нагрузка имеет компланарную линию передачи (6),
один из концов которой имеет короткое замыкание. Последнее достигается за счет
подключения к этому концу двух разомкнутых шлейфов (9) длиной λ/4.
Центральный проводник компланарной
линии (6) выполнен в виде резистивного слоя (7). Разветвление (2) имеет «n» отрезков микрополосковых линий
передачи, где n = 3, 4, 5, 6…. Волновое сопротивление отрезка микрополосковой
линии (8), конец которого соединен с концом резистивного слоя (7), выбрано
равным входному сопротивлению разветвления (2) микрополосковой линии. Длина L отрезка микрополосковой линии (8)
составляет не менее λ/8, где λ - рабочая длина волны.
Микрополосковый вентиль - циркулятор
работает следующим образом. При возбуждении одного из отрезков микрополосковой
линии разветвления (2), электромагнитная волна квази - ТЕМ типа
трансформируется в поперечно-намагниченной части (4) ферритовой подложки (1) в
ПФВ. В зависимости от направления внешнего магнитного поля поверхностная волна
распространяется в разветвлении отрезков микрополосковой линии по или против
часовой стрелки, последовательно возбуждая каждый отрезок микрополосковой
линии.
При возбуждении отрезка
микрополосковой линии разветвления, не имеющего соединения с согласованной
нагрузкой, сигнал с малыми потерями и в широкой полосе частот распространяется
между двумя смежными отрезками микрополосковой линии.
При возбуждении микрополосковой
линии разветвления, соединенной с согласованной нагрузкой, сигнал в широкой
полосе частот активно затухает в резистивном слое, что обуславливает высокое
вентильное отношение и широкую полосу частот, микрополоскового вентиля -
циркулятора. Активное затухание СВЧ - сигнала в согласованной нагрузке (5)
происходит из-за распределения СВЧ - тока как по нижней, так и по верхней
поверхности резистивного слоя, что достигается за счет того, что центральный
проводник (7) компланарной линии (6) выполнен в виде резистивного слоя, а
волновое сопротивлеие отрезка микрополосковой линии (8) равно входному
сопротивлению разветвления (2). При этом длина отрезка микрополосковой линии
(8) составляет не менее λ/8.
Необходимо отметить, что
микрополосковое разветвление (2) может иметь не менее трёх микрополосковых
линий, при этом не требуется строгая круговая симметрия расположения отрезков
микрополосковой линии относительно центральной части разветвления, и равенство
волновых сопротивлений микрополосковых линий.
На рис. 16 и рис. 17 приведены схемы
микрополосковых СВЧ приборов, которые могут быть использованы в качестве
развязывающих устройств в активных приемно-передающих системах СВЧ, а также в
пассивных фильтрующих и распределительных СВЧ устройствах, выполненных по
гибридно-интегральной технологии и имеющих самое различное назначение,
например, в радиорелейных линиях связи и системах самолётной радиосвязи [12].
На рис. 16 а) представлен
сверхвысокочастотный вентиль, отрезок микрополосковой линии, в котором выполнен
в виде круга (6), а преобразователь обратной электромагнитной волны в
диссипативные потери выполнен в виде резонатора, имеющего лентообразную форму
(4), и электромагнитно связан с отрезком микрополосковой линии.

На рис. 16 б), в) - отрезок микрополосковой
линии выполнен в виде круга со срезанными сегментами (7,8). На рис. 17 а) - то
же, в виде кольца (9), на рис 17 б) - кольцо выполнено разрезным (10), а
преобрпазователь имеет круглую форму (11). На рис. 17 в) - вентиль имеет два
резонатора круглой формы (12,13).На рис. 17 г.) - резонатор (14) имеет
резистивный слой(16). На рис. 17 д) - резонатор (15) имеет одинаковую
электромагнитную связь с отрезком микрополосковой линии (6), выполненной в виде
круга.
Устройство содержит поперечно
намагниченную полем Не ферритовую подложку (рис. 16 а, поз. 1),
сочленение (2) микрополосковой линий (5) и отрезка (6) микрополосковой линии.
Длина отрезка (поз. 6, 7,8,9,10) микрополосковой линии составляет не более 0,75
λ и не менее 0,25 λ, где λ - средняя длина волны рабочего
диапазона в связанных линиях (4,6); (4,7); (4,8) см. рис. 16, а также (4,9);
(11,10); (12,13,6); (14,6); (6,15) см. рис. 17.
Вентиль работает следующим образом.
При возбуждении микрополосковой линии (поз. 5) со стороны входа вентиля,
например как на рис. 16 (вход прибора определяется направлением внешнего
магнитного поля Не) СВЧ сигнал с малым затуханием распространяется
по микрополосковой линии (поз. 5) и поступает на выход прибора. Последнее
обусловлено тем, что рабочим типом волны является ПФВ, доминирующая часть СВЧ
энергии которой распространяется по краю микрополосковой линии (поз. 5), не
соединенному с отрезком (6) микрополосковой линии. При возбуждении
микрополосковой линии (поз. 5) со стороны выхода вентиля основная часть СВЧ
энергии ПФВ распространяется по краю микрополосковой линии (поз. 5).
соединенному с отрезком микрополосковой линии, имеющей форму, например, круга
(см. поз. 6, рис. 16). За счет электромагнитной связи резонатора (4) с отрезком
(6) микрополосковой линии через зазор (ρ) (см. рис. 16) происходит активное и широкополосное преобразование
ПФВ, распространяющейся в обратном направлении, в диссипативные потери, что
обуславливает высокое широкополосное обратное затухание, а следовательно, и
большое вентильное отношение в широкой полосе частот. Широкая рабочая полоса
частот вентиля достигается за счет того, что преобразователь обратной волны в
диссипативные потери выполнен в виде резонатора (поз. 4). электромагнитно
связанного с отрезком (6) микрополосковой линии, а следовательно, имеющего
малую частотную дисперсию.
Выполнение отрезка микрополосковой
линии в виде круга со срезанными сегментами или в виде кольца позволяет
дополнительно увеличить обратное затухание прибора за счет подавления высших
типов волн. Возбуждаемых в отрезке микрополосковой линии, имеющей сравнительно
большой диаметр.
Выполнение преобразователя в виде по
крайней мере одного резонатора, имеющего круглую форму (см. рис. 17 б), в).
поз. 11,12,13), позволяет расширить эксплуатационные возможности
микрополоскового вентиля, так как в этом случае он выполняет функцию
невзаимного полосно - заграждающего фильтра СВЧ. Последнее обусловлено тем, что
резонаторы круглой формы осуществляют селективный отбор энергии обратной ПФВ.
Частота режекции определяется диаметром резонатора и величиной связи.
Дополнительное расширение функциональных возможностей микрополоскового вентиля
достигается за счет выполнения микрополоскового кольца разрезным (см. рис. 17
б) поз. 10), причем резонатор (поз. 11) электромагнитно связан с концами разрезного
кольца. В этом случае прибор выполняет функцию невзаимного полосно -
пропускающего фильтра. Последнее обусловлено тем, что концы разрезного кольца
связаны между собой через резонатор (поз. 11), обладающий частотно
избирательными свойствами.
Включение в резонатор (Рис. 17 г.),
поз. 14) резистивного слоя (поз. 16) приводит к более активному преобразованию
обраной ПФВ в диссипативные потери, что обеспечивает дополнительное увеличение
обраного затухания невзаимного прибора.
Рассматриваемый прибор имеет более
простую конструкцию за счет изготовления по однослойной тонкоплёночной
технологии и меньше габаритные размеры за счет уменьшения поперечных размеров
преобразователя обратной ПФВ в диссипативные потери. Изготовленный вентиль в
2-х см. диапазоне длин волн (рис. 16) имеет вентильное отношеие не менее 180 в
полосе частот 25%.
Микрополосковые приборы
с касательным подмагничиванием.
Микрополосковые развязывающие
устройства могут быть реализованы не только при намагничивании ферритового слоя
в направлении перпендикулярном его широкой поверхности, но и при касательном
намагничивании ферритового слоя [13].
Вентиль СВЧ (см. рис. 18 а))
содержит отрезок прямоугольного волновода (1), выполненный по тонкоплёночной
технологии и ферритовый образец, выполненный в виде прямоугольной пластины (2),
намагниченной полем Не параллельно её широкой поверхности. Одна
поверхность феррита прилегает к одной из широких стенок отрезка волновода (1),
а другая к диэлектрическому слою (3). Ширина ферритовой пластины и
диэлектрического слоя одинакова и равна ширине отрезка волновода. Толщина
прямоугольной ферритовой пластины равна толщине диэлектрического слоя и
определяется из сооношения:
≤
tф ˂
, (7)
где: tф - толщина прямоугольной ферритовой пластины;
эффективная
магнитная проницаемость ферритовой пластины (величина отрицательная);
µ, µa - диагональная и
недиагональная соответственно компоненты тензора магнитной проницаемости
феррита;
k0 - постоянная распространения среды, окружающей ферритовую
пластину.
Диэлектрическая проницаемость
диэлектрического слоя (3) равна или меньше диэлектрической проницаемости
прямоугольной ферритовой пластины (2).
Соотношение (7) получено из
дисперсионного уравнения постоянной распространения ТЕ - волны в двухслойном
волноводе при поперечном касательном подмагничивании, приведенного в работе
[14], при ограничении величины относительной постоянной распространения
интервалом:
{1 ˂ k/k0 ≤ 4},
где: k - постоянная распространения волны
в развязывающем устройстве СВЧ.
При k/k0 ≤ 1 развязывающее устройство становится неработоспособным,
т. к. указанное соотношение является условием прекращения существования ПФВ.
При k/k0 > 4 в развязывающем устройстве начинают распространяться волны
с большой величиной «k», что приводит к уменьшению вентильного отношения и сужению
рабочей полосы частот.
Для вентиля 2-х см. диапазона длин
волн толщина ферритовой пластины (2) составляет 1,6 мм; диэлектрическая
проницаемость диэлектрического слоя (3) равна 9,8 (марка диэлектрика -
поликор); намагниченность насыщения ферритовой пластины составляет 4800 гс
(марка феррита 1СЧ-4); сечение отрезка волновода (1) составляет 13 х 3,2 мм,
длина ферритовой пластины составляет 4 мм.
Вентиль в полосе частот 10% имеет
прямое затухание не более 0,5 дб (в полосе частот 5% прямое затухание
составляет не более 0,4 дб), обратное затухание не менее 30 дб, КСВН не более
1,2; вентильное отношение более 60.
Физика работы устройств,
представленных на рис. 18 ÷ 19, заключается в следующем. Известно, что диапазон частот, в
котором распространяется ПФВ ограничен интервалом частот, в котором эффективная
магнитная проницаемость
имеет отрицательное значение, т.е.
{(ω0 + Ɣ4πMs)
(8)
где: ω0 = ƔН0 - резонансная частота;
πMs - намагниченность насыщения феррита;
Ɣ - гиромагнитное отношение.
При различных граничных условиях на
противоположных поверхностях ферритового слоя частоты отсечки ПФВ будут
зависеть от направления её распространения. В представленных на рис. 18 ÷ 19 устройствах
ферритовая пластина имеет границы раздела: «феррит - металл» и «феррит -
диэлектрик». При распространении ПФВ вдоль границы «феррит - металл» частотный
диапазон её существования определяется вышеуказанным интервалом частот. При
распространении поверхностной волны вдоль границы «феррит - диэлектрик»
частотный диапазон её существования ограничен частотным интервалом:
{(ω0 + Ɣ2πMs)
. (9)
Таким образом, полоса частот в которой
существует однонаправленное распространение поверхностной волны составляет
{(ω0 + Ɣ2πMs)
(ω0 + Ɣ4πMs)
(10)
При возбуждении входа вентиля СВЧ и
при ориентации внешнего подмагничивающего поля Не, как показано на
рис. 18 а), волна типа ТЕ трансформируется в ПФВ и распространяясь с малым
затуханием поступает на выход. Диапазон частот, в котором ПФВ может
распространяться в вентиле в прямом направлении определяется выражением (8).
При возбуждении выхода вентиля волна
типа ТЕ трансформируется в ПФВ и поступает на вход устройства. Диапвзон частот,
в котором ПФВ может распространяться в вентиле в обратном направлении
определяется выражением (9). Таким образом, рабочий диапазон частот вентиля СВЧ
ограничен интервалом (10).
Для невзаимного распределителя СВЧ
мощности (см. рис. 18, б)), широкая стенка отрезка волновода (1), расположенная
со стороны прямоугольной ферритовой пластины (2) выполнена в виде по крайней
мере трёх отрезков микрополосковых проводников (4,5,6). Один микрополосковый
проводник (4) совпадает с продольной осью отрезка волновода (1), а два других
(5,6) параллельны ей. Длина микрополосковых проводников (10,11) не менее λ0/4.
Невзаимный распределитель СВЧ
мощности работает следующим образом.
При возбуждении входа сигнал
распространяясь по границе «феррит - широкая стенка волновода» (в этом случае
широкая стенка волновода выполнена в виде микрополосковых проводников (4, 10,
11, 5, 6) разветвляется на участках микрополосковых проводников (10, 11) и
поступает с малым прямым затуханием на выход (8, 9). При возбуждении выходных
микрополосковых каналов (8, 9) сигналы распространяются по границе «феррит (2)
- диэлектрик (3)». Таким образом, в диапазоне частот определяемым выражением
(10), связь между выходом и входом, а также между выходными каналами (8, 9)
невзаимного распределителя СВЧ отсутствует.
Для локального изменения величины
погонной невзаимности коэффициента передачи (рис. 18, в)) широкая стенка
отрезка волновода (1), расположенная со стороны ферритовой пластины (2),
выполнена в виде микрополоскового проводника (12), при этом этот проводник
имеет по крайней мере один зигзагообразный участок (13), у которого два
перекрёстных угла «β» одинаковы. Величина погонной невзаимности определяется из
соотношения:
В = В0 sin Ɣ,
где: В0 - погонная
невзаимность развязывающего устройства, содержащего микрополосковый проводник
(12), расположенный параллельно продольной оси «00'» отрезка
волновода (1), равная отношению кэффициентов передачи в прямом и обратном
направлениях единицы длины микрополоскового проводника (12);
Ɣ - меньший угол между участком
микрополоскового проводника (13), являющегося общей стороной перекрёстных углов
«β» и направлением
подмагничивающего поля Не.
На рис. 19 б) представлена
конструктивная схема трехплечного волноводно-микрополоскового вентиля -
циркулятора. Устройство работает следующим образом. При возбуждении входного
волноводного плеча I, сигнал распространяется
по границе «феррит - широкая стенка (25) отрезка волновода» и возбуждает
несимметричную микрополосковую линию, токонесущим проводником которой является
металлизация (19), а экранной плоскостью - широкая стенка (16) отрезка
волновода (1), расположенная со стороны изотропного диэлектрического слоя (3).
При равенстве волновых сопротивлений отрезка волновода и микрополосковой линии,
сигнал из входного волноводного плеча I поступает в микрополосковое плечо II, а из II - в III. Таким образом, сигнал
в направлении I → II → III распространяется в
диапазоне частот (8), а в направлении III → II → I в диапазоне частот (9),
т.е. в интервале частот (10) устройство работает в качестве волноводно -
микрополоскового вентиля - циркулятора.
На рис. 19 г.) представлено
развязывающее устройство, у которого прямоугольная ферритовая пластина (2) и
диэлектрический слой (3) принимают форму колец (23, 24). Ферритовое кольцо (23)
является внешним по отношению к диэлектрическому кольцу (24). Широкая стенка
(25) отрезка волновода, свернутого в кольцо, расположенная со стороны
ферритового кольца выполнена по крайней мере с шестью поперечными разрывами
(26, 27, 28, 29, 30, 31), а каждая узкая стенка (32, 33) выполнена по крайней
мере с тремя поперечными разрывами (34, 35, 36). Данное развязывающее
устройство СВЧ выполняет функции кольцевого циркулятора. Работа этого
кольцевого циркулятора аналогична работе вышеописанного волноводно -
микрополоскового вентиля - циркулятора.
На рис. 19 в) изображена схема
вентиля с двумя противоположно намагниченными ферритовыми пластинами. Данный
вентиль по сравнению с вышеописанными развязывающими устройствами имеет
существенно больше вентильное отношение. Последнее обусловлено тем, что
эффективная магнитная проницаемость ферритовых пластин имеет отрицательное
значение, что приводит к более активному подавлению высших типов волн.
На рис. 19 д) приведена схема
вентиля СВЧ, у которого ферритовая пластина (2) удалена от ближайшей широкой
стенки (41) отрезка волновода (1) на расстоянии менее 0,1 толщины ферритовой
пластины (2). Рассматриваемый вентиль по сравнению с вышеописанными
устройствами имеет более широкую рабочую полосу частот. Последнее обусловлено
изменением формы дисперсионной характеристики, распространяющейся в прямом
направлении волны и приближением её к линейной зависимости.
Таким образом, подводя итог схемным
решениям построения развязывающих СВЧ устройств с касательным подмагничиванием,
изображенных на рис. 18 ÷ 19, следует отметить, что данный тип приборов может выполнять функции:
невзаимного распределителя СВЧ
мощности;
устройства с локальным изменением
величины погонной невзаимности коэффициента передачи;
невзаимного волноводно -
микрополоскового перехода;
трёхплечного волноводно -
микрополоскового вентиля - циркулятора;
кольцевого циркулятора.
1.6 Невзаимные приборы,
собранные на сочленении разнотипных линий передачи
Волноводно-коаксиальные
циркуляторы СВЧ.
Известно [4], что в волноводных
линиях передачи, частично заполненных поперечно намагниченным ферритом, при
отрицательном значении эффективной проницаемости материала (µ⊥ ˂0) основной волной является ПФВ, распределение электрической
компоненты СВЧ - поля Еz которой в поперечном сечении линии изображено на рис. 20 (где:
сплошная линия - прямая волна; пунктир - обратная волна).
При определённом соотношении между «tф» и «а» волновод для обратной волны оказывается
предельным, т.е. в рассматриваемой линии распространяется волна только в одном
направлении. При включении вдоль широкой стенки волновода согласованных
коаксиальных отводов распространяющаяся в прямом направлении ПФВ будет
последовательно поступать в каждый согласованный отвод [15], [16], [17]. На
рис. 21 представлена конструктивная схема четырёхплечного волноводно -
коаксиального циркулятора, где: 1 - коаксиальные плечи; 2 - ферритовые
вкладыши; 3 - согласующий трансформатор; 4 - подстроечный элемент.
При отводе энергии из плеча II плечи III и I, IV и I взаимно развязаны. При возбуждении коаксиального плеча II сигнал поступает в
согласованное плечо III. В направлении волноводного плеча I сигнал из плеча II не распространяется.
Таким образом, сигнал в рассматриваемом приборе распространяется по незамкнутой
схеме: I → II → III → IV.
Выбор оптимальных параметров
настройки циркулятора определялся в соответствии с рекомендациями
вышеприведённого раздела (1.2). Расстояние между плечами прибора, а
следовательно, длина ферритового вкладыша определяется требованиями по величине
обратного и прямого затухания. Экспериментальные исследования показали, что при
выполнении рекомендаций раздела (1.2) и при а ≈ 0,5 λ0 затухание обратной волны примерно составляет 30 дб/см и
практически не зависит от ширины линии ферромагнитного резонанса ΔН.
Затухание прямой волны линейно зависит
от величины ΔН и при
составляет примерно 0,35 дб/см.
Для 3-х см. диапазона длин волн
конструктивные параметры составляют: 4πMs = =3300 Гс, Нi ≈ 2000 Э, tф = 6 мм, Lф =35 мм, а = 19 мм; для 2-х см. диапазона длин волн: 4πMs = 4200 Гс, Нi ≈ 2500 Э, tф = 4,5 мм, Lф =30 мм, а = 13 мм.
В приборах использовались
коаксиальные 50 - омные отводы сечением 3Х1,3 (в общем случае сопротивление
коаксиальных отводов может быть произвольным).
На рис. 22 изображена частотная
зависимость входного импеданса циркулятора со стороны коаксиального плеча.
Видно, что в области слабой
дисперсии реактивная часть входного импеданса по абсолютной величине близка к
активной. Условие для согласования входного сопротивления Z2 и сопротивления коаксиальной линии Z1 имеет вид,
Z1 =Zтр
(11)
Выражение для расчета сопротивления Zтр и длины
трансформатора,
согласующего активное сопротивление линии с комплексным входным импедансом
имеют вид:
Zтр =
tg
.
В нашем случае Zвх =8 Ом + j 5 Ом. В соответствии с выражением (12) Zтр и Lтр для приборов 3-х см.
диапазона длин волн составляет
Zтр ≈ 19,3 Ом,
Lтр ≈ 7,5 мм,
а для 2-х см. диапазона длин волн
На рис. 23 приведены электрические
параметры четырёхплечного вентиля - циркулятора 3-х см. (а) и 2-х см. (б)
диапазонов длин волн (где Рпр - прямое затухание, R - обратное затухание).
Прибор 3-х см. диапазона в полосе
частот Δf/f0 =15% имеет КстU ˂ 1,2; прямое затухание Рпр
˂ 0,5 дб; обратное затухание R > 30 дб; интервал рабочих температур -600С…+750С; габаритные размеры
70Х30Х25 мм.
Прибор 2-х см. диапазона длин волн в
полосе частот Δf/f0 =10% имеет КстU ˂ 1,2; прямое затухание Рпр˂0,5 дб; обратное
затухание R > 35 дб; интервал рабочих температур -600С…+750С; габаритные размеры
60Х25Х20 мм.
Разработанные приборы по
электрическим параметрами не уступают широко распространённым циркуляторам,
выполненным на однотипных линиях передачи. Конструция приборов позволяет делать
в широкой стенке волновода произвольное число коаксиальных отводов и удобно
сочленять пассивные и активные СВЧ - приборы, выполненные на разнотипных линиях
передачи. Кроме того, коаксиальные отводы могут быть выполнены для разного
сопротивления, при этом параметры прибора не изменяются.
Невзаимные делители
мощности СВЧ.
При разработке устройств СВЧ широкое
применение находят делители мощности, которые являются взаимными устройствами.
Существенным недостатком взаимных устойств является отсутствие развязки между
выходными и входными плечами при произвольных нагрузках, что может привести к
неустойчивой работе аппаратуры. Поэтому в радиосистемах необходимы устройства,
способные выполнять функции деления мощности и развязки. Ниже приведены
конструкции невзаимных делителей мощности, работающих на ПФВ. На рис. 25
показана конструктивная схема 3-х канального невзаимного
волноводно-микрополоскового делителя [18].
Устройство состоит из запредельного
отрезка прямоугольного волновода (1), вдоль узких стенок которого расположены
прямоугольные ферритовые вкладыши (2), поперечно намагниченные в
противоположных направлениях. Верхняя широкая стенка (3) отрезка прямоугольного
волновода (1) со стороны выхода делителя снята на длине λв/4 (4) (где λв - длина волны в
волноводе). На открытые части стенок (4) ферритовых вкладышей (2) нанесены
микрополосковые проводники (5), (6). Укороченная широкая стенка (3) отрезка
волновода (1) гальванически соединена с микрополосковыми проводниками (5), (6).
Для неравномерного распределения мощности между выходными плечами введён
реактивный элемент (7), выполненный в виде круглого металлического штыря. Штырь
установлен вблизи торца одного из ферритовых вкладышей с возможностью
продольного перемещения. Диаметр штыря равен λв/8, величина зазора
между торцом штыря и противоположной широкой стенкой отрезка волновода (1)
выбирается из условия обеспечения на центральной частоте при бора
последовательного резонанса.
Принцип работы делителя заключается
в следующем. При возбуждении входного канала I волна типа Н10
преобразуется в ПФВ и распространяется по двум внутренним поверхностям
ферритовых вкладышей в направлении выходных каналов II, III и возбуждает микрополосковые
линии 5, 6. Малый коэффициент отражения на стыке волноводной и микрополосковой
линий передачи обусловлен одинаковым типом волны, распространяющейся в этих
линиях, одинаковым их волновым сопротивлением и непрерывностью продольной
составляющей СВЧ тока. Металлический штырь (7) выполняет роль преобразователя
волны Н10 в ПФВ и работает следующим образом. При возбуждении
волноводного входа энергия электромагнитной волны Н10 из-за
последовательного резонанса в контуре, образованном металлическим штырём и
зазором, концентрируется в контуре. Близость штыря к ферритовому вкладышу
обеспечивает сильную связь волновода с вкладышем и преобразовывает волну Н10
в ПФВ с большим коэффициентом передачи. Согласование стуктуры поля в контуре с
полем ПФВ в ферритовом вкладыше обуславливает расширение рабочей полосы частот
и уменьшение потерь преобразования волны Н10 в ПФВ. Возможность
регулировки перераспределения мощности СВЧ между выходными каналами делителя
расширяет эксплуатационные возможности прибора. В обратном направлении (от
выходных каналов к входному) сигнал не распространяется, что связано с наличием
«электрических» стенок вдоль внешних границ ферритовых вкладышей.
Величина намагниченности насыщения
ферритового материала, величина подмагничивающего поля и ширина ферритового
вкладыша выбирались в соответствии с выражениями (3), (5), (6) и для 2-х см.
диапазона длин волн составляют соответственно: 4πMs = 4800 Гс (марка феррита
1СЧ-4), Нi = 2500 Э (магнит марки КС-37), Wф = 3 мм. Длина и толщина ферритового вкладыша составляют: Lф =10 мм., tф = 1 мм. Расстояние от
выходных концов ферритовых вкладышей до края укороченной широкой стенки
волновода - 1,5 мм. Прибор собран на волноводе сечением 13Х3,2 мм2.
Полоса рабочих частот делителя
составляет 10%, КСВН каждого плеча - не более 1,2; прямое затухание - не более
0,5 дб; развязка между выходными каналами, а также между каждым выходным и
входным каналами - не менее 40 дб. При равномерном делении мощности между
выходными каналами величина неравномерности составляет не более 0,15 дб.
Неравномерность деления мощности в небольших пределах (0,15……1,5 дб)
корректируется путём подмагничивания ферритовых вкладышей разной величиной
поля.
Применение металлического штыря
вблизи одного из входных торцев ферритового вкладыша позволяет обеспечивать
любую неравномерность деления мощности при малых потерях в устройстве.
Электрические параметры устройства сохраняются в интервале температур -60…..+800С. Для обеспечения термостабилизации электрических параметров в
приборе используются термошунты из материала 32Н6ХЮ. Габаритные размеры
делителя составляют 30Х30Х25 мм3. Внешний вид делителя изображен на
рис. 26.
На рис. 27 приведена схема 6 -
канального невзаимного делителя [19]. Устройство содержит шесть запредельных
волноводов (1), сходящихся к радиальной линии (2), которая возбуждается с
помощью коаксиальной линии (3). Вдоль узких стенок запредельного прямоугольного
волновода (1) расположены ферритовые вкладыши (4) прямоугольной формы,
намагниченные постоянным магнитным полем. Коаксиальная линия (3) согласуется с
радиальной (2) с помощью ¼ - волнового трансформатора (5), включенного в коаксиальную линию
(3).
Для преобразования ПФВ в волну ТЕМ
коаксиальной линии используется подстроечный элемент (6). Связь с коаксиальной
линией регулируется зазором между ферритовым вкладышем (4) и радиальной линией
(2). Концы ферритовых вкладышей (4) со стороны выходных каналов на длине λв/4 освобождены от верхней широкой стенки отрезка волновода (1). На
ферритовый вкладыш (4) нанесены микрополосковые проводники (7). При возбуждении
входного коаксиального канала (3) волна ТЕМ с помощью подстроечного элемента
(6) преобразуется в ПФВ, которая распространяется по микрополосковой линии (7)
в направлении выходных плеч I-VI. Благодаря однонаправленным свойствам микрополосковых линий,
выполненных на поперечно намагниченных ферритовых вкладышах, выходные каналы не
только взаимно развязаны, но и каждый выходной канал развязан с входным.
- канальный делитель мощности 2-х
см. диапазона длин волн в полосе частот 15% имеет: прямые потери не более 0,6
дб, обратное затухание между каждым выходным и входным каналами не менее 50
дб., развязки между выходными каналами не менее 40 дб., КСВН каждого плеча - не
более 1,2. Указанные параметры сохраняются в интервале температур - 600С …….+ 800С. Прибор имеет
габаритные размеры: диаметр - 50 мм, высота - 20 мм. На рис. 28 приведён
внешний вид 5-ти канального невзаимного делителя.
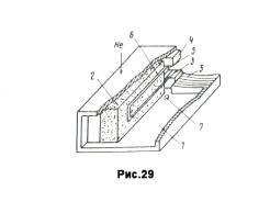
На рис. 29 приведена схема 3-х
канального невзаимного волноводно - микрополоскового делителя с одним
ферритовым вкладышем [20]. Целью этого изобретения является упрощение
конструкции и уменьшение габаритов.
Этот делитель содержит отрезок (1)
запредельного прямоугольного волновода, с одним прямоугольным поперечно -
намагниченным ферритовым вкладышем (2), два полосковых проводника (3),
размещённых на диэлектрических подложках (4), которые расположены в
прямоугольном отверстии короткозамыкателя (5). П - образный проводник (6),
расположенный на поверхности прямоугольного ферритового вкладыша (2) подключен
к полосковым проводникам 3. Каждый из этих проводников образует, совместно с
внутренними поверхностями прямоугольного отверстия желобковую линию. В широких
стенках отрезка (1) установлены штыри (7) с возможностью перемещения в
прямоугольном отверстии между торцом прямоугольного вкладыша (2) и
соответствующей диэлектрической подложкой (4). Энергия входного сигнала
распределяется между двумя желобковыми линиями, а в обратном напрвлении не
распространяется из - за наличия электрической стенки на границе вкладыша (2).
Металлические штыри (7) дополнительно трансформируют волновое сопротивление
отрезка (1) и структуру его СВЧ - поля, что повышает коэффициент передачи.
Все вышерассмотренные невзаимные
делители, по сравнению с известными взаимными делителями, имеют ряд
преимуществ: большую величину развязки как между выходными каналами, так и между
выходным и входным каналами; возможность использования делителей в схемах с
применением разнотипных линий передачи (волноводных, микрополосковых). Кроме
того, электрические параметры делителей не изменяются при изменении в широких
пределах сопротивлений выходных каналов.
Невзаимные
волноводно-коаксиальные (микрополосковые) переходы СВЧ.
В технике СВЧ часто находят
применение соединительные устройства между приборами, выполненными на
разнотипных линиях передачи. Однако, практически все широкоизвестные волноводно-коаксиальные
(микрополосковые) СВЧ переходы взаимны, что часто приводит к появлению
несанкционированных паразитных обратных связей. В этом разделе приведены
конструктивные схемы невзаимных СВЧ переходов, основанных на конструктивных
решениях ранее рассмотренных волноводно - коаксиальных циркуляторов и
невзаимных СВЧ делителей.
На рис. 30 представлена схема
Г-образного невзаимного волноводно-коаксиального СВЧ - перехода, полученного
путём модификации схемы циркулятора, изображённого на рис. 21.
На рис. 31 и рис. 32 представлены
схемы соосных невзаимных волноводно-микрополосковых СВЧ - переходов, полученных
из конструктивных решений невзаимных СВЧ-делителей (см. рис. 25 и рис. 29).

Электрические параметры приведённых
невзаимных преходов (см. рис. 30, 31, 32) идентичны параметрам невзаимных
СВЧ-приборов, изображённых соответственно на рис. 21, 25, 29.
На рис 33 изображен внешний вид
невзаимного соосного волноводно - коаксиального перехода 2-х см. диапазона дли
волн (а - волноводный вход, б - коаксиальный выход).
2. Активные СВЧ приборы
2.1 Электрически
управляемые аттенюаторы СВЧ
Известны схемы электрически
управляемых СВЧ-устройств (модуляторов, выключателей, аттенюаторов), в которых
в качестве управляющих элементов используются p-i-n диоды. В этих схемах для
обеспечения минимального коэффициента отражения используют большое число диодов
или включают в их состав У- или Х - циркуляторы. Использование большого числа
диодов, а тем более циркуляторов, приводит к увеличению габаритов и снижению
надёжности СВЧ схемы в целом.
Ниже описаны электрически
управляемые аттенюаторы СВЧ, в которых входной импеданс равен выходному и не
зависит в рабочей полосе частот от величины регулируемого ослабления. Приборы
собраны на высокооднонапрвленных волноводной и микрополосковой линиях передачи.
Волноводная конструция аттенюатора работает в 3-х сантиметровом диапазоне длин волн,
микрополосковая - в дециметровом. В схемах использовались n-i-p-i-n диоды.
Схема волноводного электрически
управляемого аттенюатора и структура Еz - компоненты,
распространяющейся в нём ПФВ, показаны на рис. 34.
Прибор собран на предельном для
волны типа Н10 отрезке волновода, вблизи одной из узких стенок
которого расположен прямоугольный поперечно-намагниченный ферритовый вкладыш.
При возбуждении плеча I волна Н10 трансформируется в ПФВ и распространяется по
границе феррит - воздух к плечу II. В направлении II-I ПФВ распространяться не может из-за наличия
электрической стенки вдоль внешней боковой поверхности ферритового вкладыша.
Используемые в аттенюаторе балансные n-i-p-i-n диоды включаются вблизи области с максимальной концентрацией СВЧ
поля. При подаче на диоды напряжения, ПФВ отражается от них, преобразуясь в
быстрозатухающие в феррите магнитостатические типы волн. Вследствие
однонапрвленности линии входной импеданс устройства остаётся постоянным.
Аттенюатор имеет следующие
электрические параметры: рабочая полоса частот 10%; КСВН не более 1,2; прямое
начальное ослабление не более 1дБ; обратные потери не менее 60дБ; диапазон
регулирования прямого ослабления L 1 - 45дБ. Интервал рабочих температур - 60….+ 750С. Габаритные
размеры аттенюатора с согласующими элементами на входе и выходе 40Х35Х10 мм.
Сечение волновода 23Х2 мм. Вкладыш из феррита 2СЧ7 имеет размеры 20Х6Х2 мм. В
устройство включено три балансных n-i-p-i-n диода 2А505А. При запирании на 45дБ мощность управления равна 120
мВт Количество диодов в устройстве устанавливается в зависимости от требуемой
величины регулирования прямого ослабления L. При этом, настройка аттенюатора не
зависит от числа диодов и определяется выбором намагниченности насыщения феррита,
подмагничивающего поля и ширины ферритового вкладыша tф. Расстояние между диодами определяется величиной обратного
затухания ПФВ на единицу длины.
Микрополосковый
аттенюатор СВЧ.
На рис. 35 показана
конструктивная схема и структура Еz - компоненты поля ПФВ микрополоскового электрически управляемого
аттенюатора.
Прибор собран на ферритовой подложке
1, с нанесенной на ней микрополосковой линией 2, край которой имеет
гальваническую связь 3 с экранной плоскостью. Согласование прибора
осуществляется с помощью трансформатора 4. При возбуждении входного плеча I квази ТЕМ - волна трансформируется
в ПФВ, которая по внутреннему краю токонесущего проводника 2 распространяется к
выходному плечу II. В направлении II-I ПФВ распространятся не может из-за наличия гальванической связи
между краем токонесущего проводника 3 и экранной плоскостью.
Балансный n-i-p-i-n диод 2А505А включается как можно
ближе к максимуму поля ПФВ (рис. 35, а, п. 5). При подаче на диод напряжения
происходит отражение ПФВ, которая, как и в волноводном аттенюаторе, преобразуется
в быстро затухающие в феррите магнитостатические типы волн из-за
однонаправленности линии передачи. Микрополосковый аттенюатор дециметрового
диапазона имеет следующие параметры: рабочая полоса частот 10%; КСВН не более
1,2; начальное прямое ослабление не более 0,8 дБ; Обратное затухание не менее
40дБ; диапазон регулирования прямого ослабления 0,8 - 25 дБ. Потребляемая
мощность при запирании на 25 дБ равна 45 мВт. Интервал рабочих температур
-60…+750С. Аттенюатор выполнен на подложке из феррита 80СЧ размером
30Х24Х2 мм. Увеличивая число диодов, можно добиться более глубокого запирания,
практически ограниченного только излучающими свойствами микрополосковой линии.
На рис. 36 приведён внешний вид (для
наглядности без внешнего магнита) семидиодного микрополоскового аттенюатора
дециметрового диапазона длин волн.
Рассмотренные аттенюаторы СВЧ,
выполненные на высокооднонаправленных линиях передачи, по сравнению с широко
распространёнными известными взаимными приборами имеют ряд достоинств:
неизменность входного импеданса
прибора во всём диапазоне регулирования мощности;
существенно меньшие габариты;
независимость числа параметров
настройки от числа включаемых диодов.
Эти приборы можно также использовать
в качестве модуляторов и выключателей.
2.2 Усилитель СВЧ
мощности отражательного типа
В этом разделе приведены схемы и
результаты экспериментального исследования усилителя СВЧ - мощности
отражательного типа на арсенидгаллиевом ЛПД. Прибор с габаритными размерами
40Х35Х20 мм собран на волноводной высокооднонаправленной линии передачи,
работающей на ПФВ. Усилитель Х - диапазона в полосе частот 150 МГц имеет
коэффициент усиления 10 дб, неравномерность коэффициента усиления 1 дб,
выходную мощность не менее 0,5 Вт, КПД 10%.
К недостаткам известных
отражательных схем усилителей СВЧ, выполненных на объёмных волноводно -
коаксиальных сочленениях, следует отнести большие габаритные размеры устройств.
Особенно велики габаритные размеры многокаскадных усилителей, поскольку из-за
недостаточной развязки (обычно 20 дб) между каскадами в усилителях помимо У -
циркуляторов применяют дополнительные развязывающие элементы (вентили), которые
и увеличивают габариты, массу, усложняют конструкцию, снижают надёжность
усилителя в целом.
Ниже приводятся схема и результаты
экспериментального исследования в Х - диапазоне длин волн усилителя мощности
отражательного типа, габаритные размеры которого уменьшены в несколько раз.
Настройка усилителя упрощена за счет обеспечения плавной регулировки электрической
связи коаксиального резонатора с прямоугольным волноводом.
Схема, принцип работы и
электрические параметры.
На рис. 37 показана схема усилителя
[21].
Прибор содержит
высокооднонаправленную линию передачи, выполненную в виде запредельного (для
волны Н10) отрезка волновода (1), частично заполненного ферритовым
вкладышем (2), расположенным вдоль узкой стенки волновода и поперечно
намагниченным полем Не. Свободная от феррита часть волновода
пересекается перпендикулярно его широким стенкам внутренней структурой
коаксиального резонатора (3), который содержит фильтр низких частот (4),
центральный проводник (5) и полупроводниковый диод (7). Для уменьшения
геометрических размеров коаксиальный резонатор заполнен диэлектриком (6).
Плавная регулировка связи коаксиального резонатора с высокооднонаправленной
линией передачи осуществляется благодаря аксиальному перемещению внутренней
структуры с помощью винта (8). Величина связи зависит от того, насколько далеко
запредельный волновод отстоит от пучности магнитного СВЧ - поля в коаксиальном
резонаторе.
Принцип работы усилителя заключается
в следующем. При возбуждении одного из волноводных плеч и определённой
ориентации внешнего магнитного поля вдоль внутренней границы ферритового вкладыша
распространяется ПФВ, характеризующаяся экспоненциальным изменением поля как в
ферритовом образце, так и в свободной от феррита части волновода. На рисунке
штриховой линией показана электрическая компонента СВЧ - поля в поперечном
сечении запредельного волновода. Работа прибора основана на усилении СВЧ -
мощности диодом, расположенным в коаксиальном резонаторе. Наличие электрической
стенки вдоль внешней границы ферритового вкладыша и запредельность волновода
нарушает условия распространения как обратной ПФВ, так и волны типа Н10.
Таким образом, резонатор с диодом нагружен со стороны выхода усилителя на
активную нагрузку, а со стороны входа - на реактивность (электрическую стенку),
что эквивалентно усилителю, работающему на отражение. В описываемом усилителе
так же, как и в усилителе, работающем на У - циркуляторе, практически весь
усиленный сигнал поступает на выход прибора. Вышеуказанный «циркуляторный
эффект» высокооднонаправленной линии позволяет реализовать малогабаритный
усилитель мощности отражательного типа на ЛПД.
Усилитель экспериментально
исследовался в Х - диапазоне длин волн. Конструктивные параметры
высокооднонаправленной линии выбирались в соответствии с рекомендациями
вышеприведенного раздела 1.2 и составляют: намагниченность насыщения феррита
3500 Гс (феррит марки 2СЧ - 7); величина подмагничивающего поля 2600 Э (магнит
марки КС - 37); размер ферритового вкладыша 20Х6Х2 мм; ширина свободной от
феррита части запредельного волновода 7 мм.
В качестве активного элемента
использовался арсенидгаллиевый ЛПД со структурой Рида. Для уменьшения сечения
коаксиального резонатора последний заполняется диэлектриком. Диэлектрическая
проницаемость которого равна 10 (марка диэлектрика СТ - 10). Сечение
коаксиального резонатора составляет 3,5Х1,3 мм.
Прибор Х - диапазона в полосе частот
150 МГц имеет кэффициент усиления 10 дб, неравномерность коэффициента усиления
1 дб, выходную мощность не менее 0,5 Вт, КПД 10%. Габаритные размеры усилителя
составляют 40Х35Х20 мм.
Разработанный усилитель по
электрическим параметрам не уступает известным схемам отражательных усилителей,
использующих У - циркуляторы. Принцип работы прибора позволяет включать вдоль
высокоодноапрвленной линии передачи произвольное число коаксиальных резонаторов
с диодом и таким образом создавать малогабаритные многокаскадные усилители
отражательного типа.
2.3 Малошумящие
усилители с отрицательным сопротивлением
Из вышеприведенного раздела 1 известно,
что волноводы с одним или двумя поперечно намагниченными ферритовыми
вкладышами, расположенными вдоль узких стенок, могут обладать высокими
однонаправленными свойствами. При использовании отрезков таких волноводов для
осуществления развязки в малошумящих усилителях с отрицательным сопротивлением
важно знать частотную зависимость прямых и обратных потерь. Экспериментальные
исследования показали, что волновод с двумя ферритовыми вкладышами обладает
лучшими характеристиками с точки зрения прямых и обратных потерь. Однако
использование волновода с одним ферритовым вкладышем позволяет реализовать
более высокое эквивалентное сопротивление генератора Rг, что необходимо для достижения предельно высоких полосовых и
шумовых характеристик параметрических усилителей, имеющих более высокое
отрицательное сопротивление [22].
На рис. 38 изображена схема
усилителя, который состоит из устройства с отрицательным сопротивлением (1),
включенным в отрезок запредельного волновода (2), вдоль узких стенок которого
расположены прямоугольные ферритовые вкладыши (3), поперечно намагниченные в
противоположных направлениях полем Не.
Принцип работы заключается в
следующем. При подаче СВЧ сигнала на вход усилителя в запредельном отрезке
волновода по внутренним границам ферритовых вкладышей распрлостраняется ПФВ,
возбуждающая токи в устройствах с отрицательным сопротивлением. Коэффициент
усиления определяется соотношением между величинами отрицательного
сопротивления и Rг, которое можно в
некоторых пределах изменять, перемещая устройство с отрицательным
сопротивлением (туннельный или параметрический диод) в поперечном относительно
оси волновода направлении. Усиленный СВЧ сигнал распространяется в сторону
выхода.
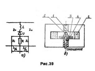
На рис. 39 приведены эквивалентная
схема усилителя на туннельном диоде (а) и его конструктивная схема (б).
Относительно невысокое волновое
сопротивление Z0 однонаправленных
волноводов требует реализации малой величины эффективного сопротивления диода.
Последнее достигается использованием диодов с резонансной частотой, близкой к
рабочей частоте усилителя, работающего в режиме с последовательной настройкой.
В качестве индуктивности настройки
используется отрезок низкоомной коаксиальной линии, выполненной на конце
прижимного винта (1). Смещение на туннельный диод (2) (тип IИI03Б) подается через четвертьволновую
радиальную линию (3) с низким волновым сопротивлением Z1. Резистор (4) обеспечивает устойчивость усилителя за пределами
рабочего диапазона однонаправленного волновода. Волновод с поперечным сечением
21Х2 мм2 содержит два ферритовых вкладыша (5) (марка феррита 2СЧ -7)
размером 2Х5,5Х20 мм3. Однокаскадный усилитель на туннельном диоде
имел полосу пропускания (по уровню 3 дб) 500 МГц при усилении 10 - 12 дб,
коэффициент шума 5,8 дб.
Отрезок однонаправленного волновода
такого же сечения, но длиной 80 мм использовался для построения
четырёхкаскадного усилителя, в котором туннельные диоды отстояли друг от друга
на равном расстоянии. Для увеличения развязки между каскадами использовались
простые модовые фильтры, ослабляющие волноводные типы волн, распространяющиеся
на частотах выше границы однонаправленности. Эти фильтры представляют собой
проводящие стержни (или пластины), включенные в центре свободной части
волновода. Как показано выше (см. рис. 5), металлическая пластина практически
не ослабляет поверхностной волны, но сильно отражает мощность на волноводных
типах волн. Четырёхкаскадный усилитель имеет следующие параметры: коэффициент
усиления 44 дб, полоса пропускания 400 МГц, коэффициент шума 6,1 дб.
Из известных схем параметрических
усилителей (ПУ) наиболее просто реализовать в однонаправленном волноводе
балансный ПУ вырожденного типа [23]. На рис. 40 показана эквивалентная схема
(а) и конструктивная схема (б) такого ПУ.
Бескорпусные диоды (1) ёмкостью Сg образуют с индуктивностью
L
контактной иглы (2) колебательный контур, в полосу которого входят частота
сигнала и разностная частота. Мощность накачки подается через коаксиально -
волноводный переход (3). Для настройки контура на частоте накачки используется
поршень (4). Диоды возбуждаются на частоте накачки в противофазе. Благодаря
поляризационной развязке сигнальный волновод не возбуждается на частоте
накачки. Волновод поперечного сечения 21Х4 мм2 содержит один
ферритовый вкладыш (5). Для увеличения Rг увеличена высота волновода, и диоды включены почти вплотную к
границе феррит - воздух. Полученное значение Rг оказалось тем не менее ниже требуемого для достижения наилучших
полосовых и шумовых характеристик. В результате полоса пропускания составила
300 МГц при усилении 14 дб. Коэффициент шума 2,1 дб.
Таким образом, комплексирование в
одном модуле функций усилителя и циркулятора позволило устранить ряд
недостатков, присущих обычным отражательным усилителям с У - циркулятором.
Отпала необходимость в межкаскадных согласующих трансформирующих устройствах,
приводящих к росту потерь, уменьшению полосы пропускания и усложнению
настройки. Существенно уменьшены габариты и увеличены надёжность за счет
устранения большого числа соединений в многокаскадном усилителе.
Заключение
Разработка на однонаправленных СВЧ
линиях передачи комплексированных изделий позволяет:
резко уменьшить массогабаритные
характеристики СВЧ - приборов;
одновременно увеличить количество
выполняемых функций (развязывание, генерация, усиление, переключение, модулирование
сигналов);
оптимизировать режим работы
приборов, входящих в комплексированные изделия;
повысить эксплуатационную надёжность
систем и обеспечить более высокие тактико - технические характеристики СВЧ -
аппаратуры в целом.
Список литературы
. Микаэлян А.Л. Теория и применение ферритов на сверхвысоких
частотах. ГЭИ, М. - Л., 1963 г.
. Кирсанов Ю.А. и др. «Вентиль СВЧ», А.С. СССР №1227072, Н 01 Р
1/38, 1985 г.
. Кирсанов Ю.А. и др. «Невзаимное устройство». Патент №1185446,
кл. Н 01 Р 1/38, 1993 г.
. Гуревич А.Г. Магнитный резонанс в ферритах и
антиферромагнетиках. М.:Наука, 1973 г.
. Кирсанов Ю.А. и др. «Сверхвысокочастотный вентиль», А.С. СССР
№1309851, М. Кл.Н 01 Р 1/36, 1987 г.
. Кирсанов Ю.А. и др. «Развязывающее устройство». Патент №1371323,
кл. Н 01 Р 1/36, 1985 г.
. Кирсанов Ю.А и др. «Циркулятор СВЧ». А.С. СССР №448520, М. Кл. Н
01 р 1/32, 1974 г.
. Кирсанов Ю.А. и др. «Сверхвысокочастотный циркулятор». А.С. СССР
№749318, кл. Н 01 Р 1/38, 1980 г.
. Кирсанов Ю.А. и др. «Сверхвысокочастотный циркулятор», А.С. СССР
№506090 М. Кл. Н 01Р 1/32, 1976 г.
. Кирсанов Ю.А. и др. «Многоплечный незамкнутый циркулятор», А.С.
СССР №322121, МПК Н 01 р 5/14, 1971 г.
. Кирсанов Ю.А. и др. «Сверхвысокочастотный вентиль». Патент
№1838849, Н 01Р 1/38, 1991 г.
. Кирсанов Ю.А. и др. «Сверхвысокочастотный вентиль». Патент
№2057382, Н 01 Р 1/38, 1992 г.
. Кирсанов Ю.А. и др. «Развязывающее СВЧ - устройство». А.С. СССР
№1340531, Н 01 Р 1/36, 1985 г.
. Нефёдов Е.Н., Фиалковский А.Т. Полосковые линии передачи, М.,
Наука 1980 г.
. Кирсанов Ю.А. и др. «Сверхвысокочастотный циркулятор». Патент
№797496, М. Кл.3 Н01 Р 1/38, 1975 г.
. Кирсанов Ю.А. и др. «Сверхвысокочастотный циркулятор». Патент
№867257, М. Кл.3 Н01 Р 1/38, 1977 г.
. Кирсанов Ю.А. и др. «Волноводно - коаксиальный циркулятор». А.С.
СССР №1228166 А1, Н01 Р 1/38, 1984 г.