Проектирование фильтра ВЧ на коаксиальных линиях с характеристикой Баттерворта
Введение
Целью данного курсового проектирование фильтра
ВЧ на коаксиальных линиях с характеристикой Баттерворта со следующими
параметрами согласно условию ТЗ:
частота среза 1 ГГц,
затухание в полосе заграждения не менее 23 дБ,
затухание в полосе прозрачности не более 0,3 дБ,
волновое сопротивление тракта 50 Ом,
диаметр внешнего проводника 16 мм.
В разделе 2 курсового проекта производится
краткий анализ устройств и узлов, решающих ту же задачу, что и разрабатываемый
фильтр. В этом разделе производится обзор устройства данного типа,
классификация по принципу действия, радиотехническим, электрическим параметрам,
конструктивным и технологическим признакам. Производится выбор устройства,
наиболее удовлетворяющий условиям технического задания и экономическим требованиям.
В разделе 3 производится электрический и
конструктивный расчет. Расчетная часть содержит: исходные данные для расчета;
эскиз рассчитываемого изделия; расчет.
В разделе 4 описываем конструкцию фильтра, его
работы, обоснование и выбор материалов для изготовления узла. В данном разделе
приводится пример конструктивного исполнения фильтра и его электрическая схема.
В разделе 5происходит оценка надежности
рассчитываемого устройства, и делаются выводы по результатам оценки.
В разделе 6 производится расчет допусков на
изготовление проектируемого устройства.
В итоге проделанной работы делается заключение.
Выводы по всем этапам проделанной работы.
Краткий анализ устройств или узлов,
решающих ту же задачу, что и разрабатываемое устройство или узел
Фильтрующие цепи в диапазоне СВЧ могут
предназначаться либо для выделения сигналов в определенной полосе частот и
подавления сигналов в другой полосе частот, либо для выделения или подавления
каких-либо типов волн в линии передачи. Первые фильтры называются частотными,
вторые- фильтрами типов волн.
Ниже будут рассматриваться только частотные
фильтры.
Частотные фильтры находят все более широкое
применение в технике СВЧ для эффективной передачи сигналов в заданной полосе
частот ,в схемах умножителей и преобразователей частоты, для коррекции
фазочастотных характеристик и согласования различных СВЧ приборов и т. п.
В технике СВЧ наибольшее распространение
получили фильтры, работающие на отражение, т. е. составленные из реактивных
элементов. Идеальный фильтр такого типа обладает нулевым затуханием в заданной
полосе частот и бесконечным затуханием вне этой полосы. Полоса частот, в
которой затухание фильтра равно нулю (бесконечности), называется полосой
пропускания (заграждения). По взаимному расположению частот пропускания и
заграждения фильтры разделяются на следующие основные типы:
фильтр нижних частот (ФНЧ), имеющий
полосу проникания 0


и полосу заграждения
<
<¥
;
фильтр верхних частот (ФВЧ), имеющий
полосу пропускания 

<¥ и полосу заграждения 0
<
полосно-пропускающий, или полосовой
фильтр (ППФ), имеющий полосу пропускания 



и полосы заграждения
<
и
<
полосно-заграждающий или
заграждающий фильтр (ПЗФ), имеющий полосу заграждения 



и полосы пропускания
<
и
<
. Граничные
частоты
и
называются
частотами среза фильтра.
Фильтр с идеальными характеристиками
не может быть физически реализован, поэтому реальные фильтры, помимо полосы
пропускания и полосы заграждения, характеризуются еще определенной полосой
перехода, причем в полосе пропускания реального фильтра затухание не должно
превышать заданной величины Амин, в полосе заграждения не должно быть менее
заданной величины Аа, ширина полосы перехода должна быть по возможности малой.
На практике чаще всего требуется, чтобы заданные характеристики фильтра
сохранялись лишь в ограниченном диапазоне частот. Так, полоса заграждения ФНЧ
не обязательно должна простираться до бесконечности, а, например, только до
частоты 4f. При таком ограничении задача проектирования фильтров значительно
упрощается.
Как правило, фильтры СВЧ не могут
быть спроектированы на основе элементов с сосредоточенными параметрами, а
представляют либо систему связанных резонаторов, либо систему связанных
отрезков линий передачи, либо, наконец, передающую линию с периодически
изменяющимися параметрами или периодически нагруженную реактивностями.
Микрополосковые фильтры с
максимально плоской характеристикой или с чебышевской.Особенности их в том ,что
при одинаковой неравномерности затухания в полосе пропускания и одинаковом
числе элементов фильтра полином Чебышева обеспечивает наибольшее затухание в
полосе заграждения. Однако максимально плоские фильтры имеют более линейную
фазочастотную и лучшую переходную характеристики, хотя и содержат большее число
элементов. Поэтому такие фильтры находят преимущественное применение в
широкополосных системах.
Полосовой фильтр из полуволновых
разомкнутых резонаторов с четвертьволновыми электромагнитными связями.
Рис. 1 - Полосовой фильтр из
полуволновых разомкнутых резонаторов с четвертьволновыми электромагнитными
связями
Полосовой фильтр из полуволновых
разомкнутых резонаторов с четвертьволновыми электромагнитными связями [1]
является наиболее распрастранёным представителем полосовых микрополосковых
фильтров. Расчет фильтра относительно трудоемок, но позволяет получать как
фильтры с чебышевской характеристикой, так и с максимально плоской.
Достоинства: Малые габаритные
размеры, пропускаемая непрерывная мощность через тракт может достигать » 50 Вт (в зависимости от
материала подложки) в микрополосковом устройстве. Стабильность характеристик
при изменении температуры, высокая надежность и простота конструкции.
Недостатки: Неточность расчета
топологии фильтра, а следовательно и получения отличающихся от заданных
характеристик. Для исследования фильтра необходимо использовать
специализированные программные продукты MicroWave Office.
Двухзвенный микрополосковый фильтр
со шлейфными элементами
В данной конструкции [8] были
реализованны двухзвенные микрополосковые секции на подложках из поликора
(е=9.6), в которых резонаторы, имеющие форму гантельки, располагались рядом
друг с другом и кондуктивно подключались к 50-омным линиям передачи. Для
увеличения крутизны склонов АЧХ рассматриваемого МПФ, каждый резонатор содержал
два нерегулярных режекторных шлейфа (рис. 2), которые на характеристике в
совокупности давали четыре полюса затухания.
Рис. 2 - Двухзвенный микрополосковый
фильтр со шлейфными элементами
Частоты полюсов легко настраиваются
подгонкой размеров шлейфов. Если подбором размеров шлейфов свести частоты всех
полюсов у низкочастотного склона полосы пропускания фильтра, то реализуется
АЧХ, показанная на рис.3в. При настройке частот полюсов на правый склон полосы
пропускания получится АЧХ, показанная на рис.3. При сведении по два полюса на
каждый склон, АЧХ принимает вид как на рис 3а. Численный анализ микрополосковой
структуры проводился на одномерных моделях в квазистатическом приближении.
Рис 3 - АЧХ фильтров с различным
положением полюсов затухания вблизи полосы пропускания. Сплошная линия -
расчет, точки - експеримент
Из рисунка 3 видно хорошее согласие
теоретического расчета фильтра с экспериментом, которое позволяет создавать
эффективные системы для автоматизированного проектирования подобных фильтров.
Для сравнения с характеристиками других конструкций МПФ можно отметить, что
прямоугольность АЧХ (рис.3а) у двухзвенного фильтра со шлейфами значительно
выше чем у четырехзвенного на таких же резонаторах, но без шлейфов.
Достоинства: Малые габаритные размеры.
Возможность изменять АЧХ при изменении топологии фильтра, после изготовления.
Недостатки: Неполное совпадение
экспериментальных и теоретических результатов характеристик фильтра .Для
исследования фильтра необходимо использовать специализированные программные
продукты MicroWave.
Широкое применение нашли фильтры Бесселя, Баттерворта
и Чебышева, отличающиеся крутизной наклона амплитудно-частотной характеристики
(АЧХ) в начале полосы задерживания и колебательностью переходного процесса при
ступенчатом воздействии. Амплитудно-частотные характеристики этих ФНЧ
четвертого порядка приведены на рис. 1.
Амплитудно-частотная характеристика фильтра
Баттерворта имеет довольно длинный горизонтальный участок и резко спадает за
частотой среза. Переходная характеристика такого фильтра при ступенчатом
входном сигнале имеет колебательный характер. С увеличением порядка фильтра
колебания усиливаются.
Амплитудно-частотная характеристика фильтра
Чебышева спадает более круто за частотой среза. В полосе пропускания она,
однако, не монотонна, а имеет волнообразный характер с постоянной амплитудой.
При заданном порядке фильтра более резкому спаду амплитудно-частотной
характеристики за частотой среза соответствует бoльшая неравномерность в полосе
пропускания. Колебания переходного процесса при ступенчатом входном воздействии
сильнее, чем у фильтра Баттерворта.
Фильтр Бесселя обладает оптимальной переходной
характеристикой. Причиной этого является пропорциональность фазового сдвига
выходного сигнала фильтра частоте входного сигнала. При равном порядке спад
амплитудно-частотной характеристики фильтра Бесселя оказывается более пологим
по сравнению с фильтрами Чебышева и Баттерворта.
Рис. 4 - Амплитудно-частотные характеристики
фильтров четвертого порядка. 2 - фильтр Бесселя; 3 - фильтр Баттерворта; 4 -
фильтр Чебышева с неравномерностью 3 дБ
На практике наиболее широко применяются два вида
фильтров: фильтр с максимально плоской характеристикой - фильтры Баттерворта,
фильтры с чебышевской характеристикой.
Конструктивный расчет
Исходные данные:
частота среза 1 ГГц,
затухание в полосе заграждения не менее 23 дБ,
затухание в полосе прозрачности не более 0,3 дБ,
волновое сопротивление тракта 50 Ом,
диаметр внешнего проводника 16 мм.
Задача расчета.
Необходимо рассчитать фильтра верхних частот с
максимально плоской характеристикой. Выполнен разрабатываемый фильтр ВЧ на
коаксиальных линиях с характеристикой Баттерворта.
Разработка конструкции.
Существует много методов расчета фильтров.
Основными из них являются два метода: практический метод и общий метод - метод
расчета фильтров по их рабочим характеристикам.
Первый метод расчета предусматривает построение
фильтра из определенных элементов - четырехполюсников с помощью их каскадного
соединения, то есть лестничных фильтров. Составляющие фильтр четырехполюсники
должны иметь одинаковые частоты и одинаковые сопротивления в точках сочленения,
а также согласованны с нагрузкой и генератором. Расчет простой. При выполнении
указанных требований постоянная передача фильтра равна сумме постоянных
передач, передачи отдельных элементов.
Однако большое число ограничений не позволяет
получить фильтры с оптимальными частотными характеристиками, содержащих малое
число элементов.
Второй метод - общий метод синтеза
по рабочим параметрам свободен от недостатков первого и в настоящее время
получил наибольшее распространение. В качестве исходных данных задаются: вид
функции рабочего затухания (максимально плоская или чебышевская), граничные
частоты
или
,
, допустимые
потери в полосе прозрачности.
.
Основой расчета являются
фильтры-прототипы нижних частот. Фильтр-прототип нижних частот может быть реализован
в одном из двух вариантов схем, приведенных на рисунке.
Переход от обычного фильтра нижних
частот к фильтру - прототипу нижних частот осуществляется с помощью перехода от
действительной частоты к нормализированной (изменение масштаба частоты)
,
где
.
При таком выборе масштаба по оси
частот граничная частота нормализованного фильтра всегда равна 1. Величена
внутреннего сопротивления генератора
также нормируется к 1.
Схема фильтра-прототипа имеет вид

Обозначения имеют следующий смысл:
- индуктивность последовательной
катушки и емкость параллельного конденсатора.
- сопротивление генератора
, если
, или
проводимость генератора
, если
;
- сопротивление нагрузки
, если
, или
проводимость нагрузки
, если
.
При переходе к нормализированной
частоте величины элементов нормируются так, чтобы
и
.
Приведенная схема фильтра-прототипа предусматривает нагрузку фильтра с правой и
левой стороны на чисто активные нагрузки. Если нагрузки комплексные, то их
мнимые части включаются в ближайший к ним элемент фильтра. Переход от
нормированных фильтров-прототипов к другим значениям сопротивлений и
действительной шкале частот осуществляется с помощью следующих преобразований
элементов цепи: для активных сопротивлений и проводимостей
или
,
для індуктивностей
для ємкостей
.
Обычно значения параметров фильтров
прототипов
приводятся
в справочниках, например такие таблицы есть в книге [ ]. Требуется только
задать число элементов фильтра
и
для каждой из структур, приведенных
на рисунке.
Фильтр верхних частот.
В этом случае для перехода к
нормализованной частоте
следует
произвести преобразование (замену частотной переменной)
.
Такая замена возможна для четной
функции. Функция вносимых потерь является четной относительно
и
.
Замена такого вида эквивалентна
перемене местами начала координат и бесконечно удаленной точки, а также замене
положительной оси частот отрицательной. На рисунке показано такое преобразование
Рис. 6 - Фильтр верхних частот
Как видно из рисунка для получения
следует
принять
.
При таком преобразовании приходим к
обращенным схемам фильтра, в которых последовательными элементами являются
конденсаторы, а параллельными индуктивности и для фильтра верхних частот,
получаемого из фильтра-прототипа следует находить индуктивности и емкости как
.
Эквивалентная схема фильтра верхних
частот имеет вид, показанный на рисунках

Рис. 7
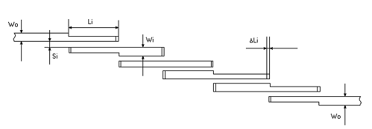
Для расчета коаксиальной линий
передачи воспользуемся методикой, предложенной в [1].Разрез коаксиальной линии
показан на рис. 8:
Рис. 8 - Структура коаксиальной
линии
Число звеньев в фильтре Баттерворта:
округляем до
ближайшего целого числа
принимаем
равным 1 как и g4
рассчитываем g параметры для 3
звеньев
сопротивление
нагрузки
частота в рад/с
Ом сопротивление линии
Расчет ФВЧ.
Перейти от фильтра прототипа к фильтру верхних
частот с помощью перехода от действительной частоты к нормализованной
(изменением масштаба частоты)[1].
емкость
конденсатора
индуктивность
фильтра
=8 радиус линии
передачи см. задание
отношение из
которого выбирают линию передачи есть в книгах=2.2222 радиус внутреннего
проводника линии передачи
диэлектрическая
постоянная
диэлектрическая
проницаемость диэлектрика в обкладках конденсатора
площафчдь обкладок
конденсатора
рассотояние между
обкладками=0.99
αααε0
L=3 cm
длина индуктивного шлейфа
(м) длина отрезков
линии передачи
радиус индуктивного
шлейфа=0.00625
Выбор материалов корпуса и деталей
Перед выбором диэлектрического материала для
конкретного устройства разработчик должен располагать следующими данными:
техническими требованиями к устройству;
условиями эксплуатации изделия;
перечнем факторов, воздействующих на материал;
типами навесных элементов и методами их
установки и монтажа платы.
СВЧ диэлектрические материалы делятся в
зависимости от природы химической основы на органические и неорганические.
способностью сохранять форму и линейные размеры
в различных климатических условиях;
чистотой обработки поверхности;
допусками на размеры по толщине;
составом;
теплопроводностью;
электропроводностью;
диэлектрической проницаемостью;
тангенсом угла диэлектрических потерь.
Для устройства необходимо обеспечить наибольшую
точность изготовления элементов для наименьших разбросов параметров. Известно,
что увеличивая значение диэлектрической проницаемости уменьшаются габариты
устройства, следовательно уменьшаются размеры элементов и точность изготовления
понижается. При уменьшении диэлектрической проницаемости увеличиваются габариты
устройства, следовательно и увеличиваются размеры и точность изготовления
повышается.
Таблица 1 - Свойства диэлектриков
Наименование диэлектрика Относительная
диэлектрическая проницаемость ε Тангенс угла диэлектрических потерь
tgδ
(на
10 ГГц) Температурный коэффициент линейного расширения,
1/˚СПлотность,
г/
Электрическая
прочность, кВ/ммКоэф. теплопроводности, кал/(см·с·˚С)макс.
|
рабочая
т-ра, ˚С
|
|
|
|
|
|
|
полиэтилен
|
2,3-2,4
|
4-5
|
-
|
0,95
|
40
|
-
|
110-125
|
|
полистирол
|
2,5-2,6
|
3-4
|
7
|
1,05
|
20
|
-
|
80-85
|
|
фторопласт-4
|
1,9-2,2
|
2-3
|
8-20
|
2,2
|
40
|
0,0006
|
300
|
|
поликор
|
9,8
|
0,2-0,5
|
57
|
3,96
|
50
|
0,06-0,09
|
|
|
М-7
|
8,65
|
2
|
57
|
2,83
|
50-59
|
0,024
|
|
|
брокерит
9
|
6,6
|
2-4
|
53
|
3,02
|
10
|
0,3
|
|
|
С-88-1
|
6,1
|
75
|
88
|
2,56
|
150
|
0,0014
|
|
|
СТ-38-1
|
7,25
|
2
|
38
|
2,9
|
112
|
|
Выбираем материалом диэлектриков полиэтилен, так
как он имеет наименьшее значение диэлектрической проницаемости среди материалов,
представленных в таблице 2.Также он подходит по максимальной рабочей
температуре, электрической прочности.
Выбор материала корпуса
Конструктивно фильтр коаксиального типа
располагается в металлическом корпусе, который обеспечивает механическую защиту
устройства, одновременно являясь внешним проводником отрезков коаксиальной
линии. На входе и выходе фильтра нарезана резьба и имеется соединительное
устройство для встраивания фильтра в линию. Индуктивные шлейфы припаяны к
отрезкам центрального проводника коаксиальной линии. Конденсаторы выполнены
клейкой диэлектриков в разрывы центрального проводника коаксиальной линии. [3]
Таблица 2 - Свойства металлов и сплавов
|
Название
металла
|
Плотность,
г/ Удельная
проводимость, См/ Активная
составляющая поверхностного сопротивления ,
Ом
|
|
|
|
Серебро
|
10,5
|
6,25
|
4,40/
λ
|
|
Медь
|
8,9
|
5,72
|
4,45/
λ
|
|
Золото
|
19,3
|
4,10
|
5,17/
λ
|
|
Алюминий
|
2,7
|
3,57
|
5,90/
λ
|
|
Латунь
|
8,3-8,9
|
2,62-1,57
|
8,70/
λ
|
|
Никель
|
8,9
|
1,4
|
-
|
|
Палладий
|
12,2
|
0,925
|
-
|
|
Бронза
|
7,5-9,4
|
0,89
|
11,70/
λ
|
|
Олово
|
7,3
|
0,87
|
-
|
|
Константан
|
-
|
0,21
|
24,8/
λ
|
Основные требования к материалу корпуса это
высокая механическая прочность, малая электропроводнсть, влагозащищенность. Так
как латунь окисляется на холоде и при нагреве меньше, чем медь, механическая
прочность латуни выше чем у меди, электропроводность составляет 25% от
электропроводности чистой меди, и что она применяется там, где требуется
большая механическая прочность, но не требуется высокой электропроводности,
выбираем материалом корпуса латунь.
Оценка надежности
Произведем оценку надежности. Интенсивность
отказа устройства в целом λуст
определяется по следующей формуле:
,
где k1 - коэффициент, зависящий от
воздействия механических факторов;- коэффициент, зависящий от воздействия
влажности и температуры;- коэффициент, зависящий от давления воздуха;
λэ - интенсивность отказа элемента
схемы;
λпаек - интенсивность отказа
паек;- количество паек.равен 1,35.равен 2 для следующих условий: температура
20-25, относительная влажность до 98%.равен 1 для нормального атмосферного
давления
Данные об интенсивностях отказов
составных частей устройства и паек приведены в таблице 3.
Таблица 3
|
Наименование
|
λ
* 10-6 , 1/ч
|
|
Переход
высокочастотный
|
0,062
|
|
Пайка
|
0,03
|
Найдем значение интенсивности отказа устройства
в целом λуст
по формуле:
Среднее время наработки на отказ
устройства в целом Tуст определятся по следующей формуле:
Вычислим среднее время наработки на
отказ устройства по формуле:
Рассчитаем и построим график
вероятности безотказной работы. Для этого воспользуемся формулой:
Подставим в эту формулу значение
интенсивности отказа устройства в целом λуст и построим график для
интервала времени от 0 до 106 часов:
Рис. 9 - График вероятности
безотказной работы полосового фильтра
фильтр допуск резонатор
диапазон
Рассчитаем значение времени t при
вероятности равной 0,99 (P(t) = 0,99):
Произведем расчет, подставим
известные величины:
.
В течении 7143 ч вероятность
безотказной работы будет составлять 0,998. Из всего выше перечисленного можно
сделать вывод, устройство обладает хорошей надежностью. Устройство будет
работоспособным в течение рассчитанного времени при соблюдении условий
эксплуатации. Для устройств СВЧ хорошей надежностью будет являться от 5000
часов, то есть разрабатываемое устройство удовлетворяет требованиям надежности.
Расчет допусков
Расчёт произведём для значения
затухания полосы пропускания ФВЧ. Воспользуемся методом моментов [3]:
В соответствии с этим методом допуск
на выходной параметр определяют либо применением формулы полного дифференциала,
либо разложением в ряд Тейлора аналитической зависимости выходного параметра от
внутренних параметров.
Данные для расчёта:


Если точность изготовления определяется
квалитетом Н14, то имеем отклонения,мм:
Тогда отклонение
определится,
дБ:
Таким образом мы получили допуск на
величину затухания в полосе пропускания -0,032, то есть значение затухания
колеблется в пределах от 0,268 до 0,3 дБ, что соответствует требованиям,
предъявляемым к СВЧ приборам.
Заключение
Целью данной курсовой работы была разработка ФВЧ
коаксиального типа. Прежде всего, был произведен краткий анализ устройств
решающих ту же задачу, что и разрабатываемое устройство. Из множества вариантов
построения фильтров был выбран фильтр с максимально плоской характеристикой,
как наиболее соответствующий техническим условиям.
Была разработана конструкция ФВЧ. Выбраны
материал корпуса, материал диэлектриков и материал покрытия, как наиболее
соответствующие требованиям технического задания.
В ходе расчетов были определены геометрические
размеры фильтра.Произведен расчет надежности устройства. Устройство обладает
хорошей надежностью, на уровне современных устройств РЭА.
Все параметры разработанного устройства
соответствуют требованиям технических условий. Из чего можно сделать вывод, что
устройство спроектировано удовлетворительно.
Данное устройство найдет применение и в широкой
потребительской технике. В частности использование устройства будет оправданно
для использования в таких областях ,как телеретрансляционных станциях,
мобильных базовых станциях . Применение изделия и для лабораторных работ тоже
будет оправданно.
Список используемой литературы
1. Гупта
К., Радж Р., Чадха Р. Машинное проектирование СВЧ устройств. Москва: Радио и
связь, 1987.-430с.
. Иванов
Б.П. Конструирование РТС. Методические указания. Ульяновск: УлГТУ, 1993.-50с.
. Маттей
Д. Л., Янг Л., Джонс Е.М.Т. Фильтры СВЧ, согласующие цепи и цепи связи, т.1.
Москва: связь, 1971.-242с.
. Фуско
В. СВЧ цепи. Анализ и автоматизированное проектирование. Москва: Радио и связь,
1990.-288с.
. Халяпин
Д.Б. Коаксиальные и полосковые фильтры сверхвысоких частот. Москва: связь,
1969.-64с.