Парогазовые установки с впрыском пара
Введение
Идея создания парогазовых энергетических установок, в которых
в качестве рабочих тел используются продукты сгорания топлива и водяной пар,
впервые были высказаны французским ученым С. Карно еще в 1824 г. Он предложил
схему поршневой парогазовой установки и обосновал основное условие получения
эффективных парогазовых установок: использование продуктов сгорания топлива в
качестве рабочего тела в области высоких температур и использования отбросного
тепла газов после газового двигателя для получения водяного пара, совершающего
работу в паровом двигателе. Практическое осуществление этой идеи гениального
ученого, более чем на столетие опередившего создание и развитие парогазовых
установок, оказалось возможным лишь после больших успехов в области развития
энергетической науки вообще, теплоэнергетики и создания совершенных паровых и
газовых турбин. Уже на начальной стадии работ по созданию газотурбинных
установок конструкторы обращались к водяному пару как к средству снижения
температуры газа на входе в газовую турбину.
Первую попытку создать комбинированную установку, в которой в
качестве рабочих тел используются продукты сгорания и водяной пар, сделал
русский инженер П.Д. Кузьминский в 1892-1900 гг. Его установка работала по
газопаровой схеме, предусматривающей непосредственное смешение продуктов
сгорания с водяным паром. Тепло, выделявшееся при сгорании керосина, частично
отдавалось воде под давлением более 5 МПа, протекавшей через змеевики,
охлаждавшие стенки камеры сгорания. То обстоятельство, что к продуктам сгорания
добавлялся водяной пар, на подачу которого (подачу воды насосом) требовались
ничтожные затраты мощности, значительно увеличивало общую полезную работу.
Ограниченные температуры газов и низкие КПД проточной части турбомашин,
характерные для конца XIX века, обрекали на неудачу всякие попытки применить в
турбоустановке газовый цикл. К тому же подвод тепла к воде осуществлялся не за
счет тепла уходящих газов, а от газов перед газовой турбиной.
К 1908-1910 гг. относится создание комбинированной установки
Хольцварта-Шюле, работавшей по циклу с прерывистым процессом горения при
постоянном объеме. Вода и водяной пар использовались для снижения температуры
газа на входе в газовую турбину путем отвода тепла от него в теплообменнике в
камере сгорания. Для повышения КПД установки это тепло, а также тепло выхлопных
газов турбины использовались для получения водяного пара, энергия которого
затем использовалась в паровой турбине. В связи с трудностями
осуществления такого парогазового цикла и относительной низкой
экономичностью эти установки развития не получили.
В начале 30-х годов швейцарской фирмой «Броун Бовери» была
разработана конструкция и начато производство высоконапорных парогенераторов
«Велокс», которые нашли практическое применение. В этих парогенераторах
применялся наддув камеры горения, который осуществлялся с помощью турбонадувной
группы, состоящей из газовой турбины и осевого компрессора. После камеры
горения, парогенераторных поверхностей нагрева и пароперенагревателя продукты
сгорания жидкого топлива или газа под повышенным давлением при температуре
(550ч600)°С поступали в газовую турбину, энергия которой использовалась для
привода компрессора. При умеренных температурах газа перед газовой турбиной и
сравнительно невысоких КПД турбины и компрессора мощности турбины хватало для
привода компрессора только при полной нагрузке парогенератора, а при частичных
нагрузках использовалась мощность регулировочного («добавительного») двигателя
- паровой турбины или электродвигателя. Эффект применения такого наддува
парогенератора состоял в интенсификации процессов горения и теплообмена, в
результате чего резко уменьшалась площадь, металлоемкость, габариты и масса
поверхностей нагрева и всего парогенератора, а также повышался его КПД. В
1944-1945 гг. в ЦКТИ им. И.И. Ползунова проф. А.Н. Ложкин, исследовавший циклы
и рабочие процессы бинарных ртутно-паровых установок и высоконапорные
парогенераторы, разработал схему и цикл парогазовой установки со сгоранием
топлива при постоянном давлении. В дальнейшем под руководством А.Н. Ложкина в
ЦКТИ и в Высшем инженерно-техническом училище ВМФ проводились исследования по
разработке цикла, конструкции и применения этих установок. Большой вклад в
разработку теории и конструкции парогазовых установок был сделан М.И. Корнеевым
Е.Н. Прутковским. Эти работы привели к получению благоприятных энергетических
характеристик подобных установок определению Целесообразных тепловых схем и
разработок специального оборудования.
В 50-е годы на базе достижений в области энергетического
машиностроения начали интенсивно развиваться парогазовые установи со сбросом
газов после газовой турбины в паровой котел, которые получили большое
многообразие и растущее применение Фундаментальные исследования в области
парогазовых установок был проведены А.И. Андрющенко, В.А. Зысиным, И.И.
Кирилловьг Г.Г. Ольховским и др. советскими учеными.
Основная общая особенность парогазовых установок состоит том, что
все они работают по бинарному или частично бинарному циклу. В них используется
два рабочих тела: продукты сгорания, водяной пар. Первое рабочее тело
обеспечивает эффективный подвод теплоты при высокой верхней температуре цикла -

=(1000ч1600) К, а второе - эффективный отвод теплоты при низкой
нижней температуре цикла 
- порядка 300 К. КПД цикла Карно, являющегося эталоном
термодинамического совершенства цикла, работающего в заданном диапазоне
температур, для указанных температур 
и 
составляет (0,7ч 0,8). Лучшие осуществленные парогазовые
установки достигли электрического КПД брутто (0.55ч0.58). Изложенное показывает
высокое термодинамическое совершенство циклов парогазовых установок и является
залогом получения ПГУ, отличающихся высокой тепловой эффективностью,
значительно превосходящей эффективность входящих в них как газотурбинных, так и
паротурбинных установок.
В настоящее время известно очень большое количество различных схем
и конструкций парогазовых установок.
Исследования парогазовых установок проводились и проводятся и за
рубежом. Еще в 1955 г. на юбилейной сессии Американского общества
инженеров-механиков был прочитан доклад, в котором предлагалась схема
парогазовой установки, аналогичная схеме ЦКТИ. Большое внимание парогазовым
установкам было уделено пятой Международной энергетической конференцией,
состоявшейся в 1956 г. в Вене, где были рассмотрены различные парогазовые
схемы. В настоящее время за рубежом накоплен большой опыт создания и
эксплуатации парогазовых установок различных типов, который частично будет
освещен в настоящей книге. В нашей стране также создано и успешно работает ряд
различных парогазовых установок.
За рубежом рассматриваются возможности применения в качестве
рабочего тела в паротурбинном контуре не только водяного пара, но и фреонов,
бутана, смеси водяного пара и органического вещества - нонана, а также водяного
раствора аммиака.
В любой газотурбинной и парогазовой установке основным рабочим
телом являются продукты сгорания топлива, которые работают в проточной части
газовых турбин при высоких температурах и движутся с большими скоростями. Это
предъявляет высокие требования к применяемому топливу: оно не должно содержать
золы, серы и других веществ и ингредиентов, вызывающих коррозию и эрозию
материалов. Поэтому ПГУ используется преимущественно природный газ и
газотурбинное жидкое топливо. В качестве резервного применяется обессеренный
мазут и дизельное топливо. Очистка потока продуктов сгорания оказывается
дорогой и приводит к увеличению сопротивлений газового тракта, что снижает КПД
всей установки. Поэтому основными направлениями для использования твердого
топлива в ПГУ оказывается его предварительная или внутрицикловая газификация,
сжигание топлива в кипящем слое и др.
1.
Цикл ПГУ с конденсационной паровой турбиной
парогазовый турбина конденсационный
Тепловая схема конденсационной ПГУ со сбросом газов в
парогенератор и с паровой турбиной, приводящей электрический генератор,
приведена на рисунке 1.1, а на рисунке 1.2 - газотурбинная часть ее цикла в Ts-координатах. Если в
установке подвод тепла производится только в камере сгорания ГТУ, то такая ПГУ
называется бинарной (рисунок 1.2, а).
Поток отработавших в газовой турбине газов характеризуется
коэффициентом избытка воздуха (2,7ч4,3). Поэтому в нем может сжигаться
значительное количество топлива. В этом случае получим ПГУ со сбросом газа в
парогенератор с дожиганием в нем котельного топлива (рисунок 1.2, б) или со
степенью бинарности 
, под которой понимается отношение количества теплоты, подведенной
в камере сгорания ГТУ, ко всей подвденной теплоте в цикле.
Подвод теплоты в паротурбинной части цикла для рассматриваемых ГТУ
осуществляется газами, выходящими из газовой турбины с температурой
(450ч550)°С. Следовательно, перегрев может быть осуществлен до (400ч500)°С. В
зависимости от принятых параметров пара и схемы паротурбинной установки КПД
паротурбинной части цикла может составлять до (0.30ч0.35). Для ПГУ с дожиганием
температура пара на выходе из парогенератора может быть более высокой, и КПД
паротурбинной части цикла может быть повышен. Увеличивается также общая
мощность ПГУ. Однако ее общий КПД, как увидим ниже, при этом снижается [1].
- компрессор; 2 - камера сгорания; 3,4 - газовые турбины
газогенератора и электрогенератора; 5 - электрогенератор; 6 - парогенератор; 7
- паровая турбина; 8 - конденсатор; 9 - конденсационный насос; 10 - питательный
насос; В-воздух, 
и 
- топливо,
УГ - уходящие газы
Рисунок 1.1. Принципиальная схема конденсационной ПГУ

а - бинарный цикл; б - цикл со сжиганием топлива в
парогенераторе. 1-2 - процесс в компрессоре; 2-3 - подвод теплоты в камере
сгорания; 3-4 - процесс в газовой турбине; 4-5 - подвод теплоты в
парогенераторе за счет сжигания топлива; 4-6 - передача теплоты воде и пару в
бинарном цикле; 5-6 - передача теплоты воде и пару в цикле со сжиганием топлива
в парогенераторе.
Рисунок 1.2. Газотурбинная часть циклов ПГУ со сбросом газов
в парогенератор в Ts-координатах
2. Расчет схемы ПГУ
Парогазовая установка создается на базе конкретной ГТУ. ПГУ
может исполняться как бинарная, так и с дожиганием топлива в парогенераторе. В
соответствии с этим расчет схемы ПГУ может подразделяться на следующие этапы:
принимаются исходные данные; расчет схемы ГТУ; расчет схемы бинарной ПГУ;
расчет схемы ПГУ с дожиганием топлива в парогенераторе.
Пример такого расчета схемы ПГУ приведен в таблице 2.1. В
качестве базовой газотурбинной установки принята ГТУ AЛ-31 СТЭ.
Таблица 2.1. Результаты расчетов схем ПГУ с ГТУ АЛ-31СТЭ
|
Показатели
|
Значение
|
|
Исходные данные
|
|
Мощность ГТУ,
МВт
|
20
|
|
Температура
перед газовой турбиной,°С
|
1133
|
|
Температура
уходящих газов после парогенератора,°С
|
120
|
|
Степень
повышения давления
|
17
|
|
КПД компрессора
|
0,87
|
|
КПД газовой
турбины
|
0,9
|
|
Механический
КПД ГТУ и ПТУ
|
0,97
|
|
КПД
электрического генератора ГТУ и ПТУ
|
0,95
|
|
Температура
воздуха на входе в компрессор,°С
|
0
|
|
Потери давления
на входе в компрессор, кг с/см20,02
|
|
|
Потери давления
от компрессора до газовой турбины, кг с/см20,54
|
|
|
Потери давления
после выхода из газовой турбины, кг с/см20,03
|
|
|
Топливо -
природный газ с кДж/м3пг Внутренний КПД паротурбинной части
|
0,3
|
|
Расчет схемы
ГТУ
|
|
Давление в
точке 1, кг с/см21,0133
|
|
|
Давление в
точке 2, кг с/см217,2261
|
|
|
Температура в
точке 2,°С
|
376,9
|
|
Давление в
точке 3, кг с/см216,686
|
|
|
Коэффициент
избытка воздуха
|
2,984
|
|
Давление в
точке 4, кг с/см21,0633
|
|
|
Степень
расширения в турбине
|
15,693
|
|
Температура
после газовой турбины,°С
|
521,8
|
|
Работа
компрессора, кДж/м3 кг14762,2
|
|
|
Работа газовой
турбины, кДж/м3 кг29281,1
|
|
|
Внутренняя
работа ГТУ, кДж/м3 кг14519,1
|
|
|
Внутренний КПД
ГТУ
|
0,3930
|
|
Электрический
КПД ГТУ
|
0,3622
|
|
Расход топлива,
м3 кг/с1,4948
|
|
|
Мощность компрессора,
кВт
|
22066,5
|
|
Мощность
газовой турбины, кВт
|
43769,7
|
|
Электрическая
мощность ГТУ, кВт
|
20000
|
|
Расход воздуха,
м3/с
|
43,95
|
|
Расход газа, м3/с
|
46,26
|
|
Расчет схемы
бинарной ПГУ
|
|
Приведенный
выше расчет ГТУ
|
|
Теплота,
переданная паровой части цикла, кДж/с
|
26120,7
|
|
Электрическая
мощность паровой турбины, кВт
|
7221,1
|
|
Электрическая
мощность ПГУ, кВт
|
27220,6
|
|
Электрический
КПД ПГУ
|
0,4930
|
|
Расчет схемы
ПГУ с дожиганием
|
|
Принимаем
предельное значение коэффициента избытка воздуха в топке парогенератора
|
1,15
|
|
Наибольший
возможный относительный расход топлива в точке парогенератора
|
1,595
|
|
Предельная
степень бинарности
|
0,3854
|
|
Теплота,
переданная паровой части цикла, кДж/с
|
110507
|
|
Внутренняя
мощность паровой турбины, кВт
|
33152
|
|
Электрическая
мощность ПГУ, кВт
|
50855,3
|
|
Расход топлива
ПГУ,  3,879
|
|
|
Электрический
КПД ПГУ
|
0,3528
|
В рассмотренном примере электрические КПД составили: ГТУ - 36.22%,
ПТУ - 0.3
0.97
0.95=27,65%, бинарной ПГУ - 49,3 и ПГУ с максимальным дожиганием
топлива в количестве 1,6 от расхода на ГТУ - 35,28%. В последнем случае
мощность увеличилась и составила 50,86 МВт (мощность бинарной ПГУ 27,22 МВт).
Уменьшение величины подачи топлива в парогенератор приведет к повышению КПД, но
к уменьшению мощности ПГУ.
2.1 Приближенные формулы для определения КПД ПГУ
КПД бинарного цикла может быть получен на основании следующих
соотношений:
где 
и 
- соответственно подведенная в цикле теплота и внутренняя работа
ГТУ;

- внутренняя работа паровой турбины (полезно использованная
теплота в теплофикационном паротурбинном цикле).
Здесь и далее все величины относятся к 1 кг рабочего газа (продуктов
сгорания).
Для рассматриваемого цикла имеются место зависимости:
где 
и 
- КПД ГТУ и паротурбинной (теплофикационной) части цикла;

- теплота, подведенная к паротурбинной (теплофикационной) части
цикла.
Значения величин, входящих в уравнения (2.1.2) и (2.2.3), определяются
как:
где 
, 
, 
, 
- энтальпии газа в соответствующих точках цикла (рисунок 1.2, а).
С учетом указанных величин уравнение (2.1.1) может быть записано в
виде:
Отношение 
при 
в уравнении (2.1.7) может быть преобразовано следующим образом:
С учетом выражения (2.1.8) уравнение (2.1.7) приобретает вид:
2.2
КПД цикла с дожиганием
КПД цикла с дожиганием может быть определен следующим образом
(рисунок 1.2, б):
где 
;

- общее количество теплоты топлива, дожигаемого в топке
парогенератора;

- общее количество теплоты, передаваемой в паровой части цикла.
Введем в рассмотрение степень бинарности цикла, представляющего
собой отношение теплоты, подведенной в камере сгорания газовой турбины, к общей
теплоте, подведенной в цикле:
Преобразуем уравнение (2.1.2):
Преобразуем дробь второго члена уравнения (2.2.3):
С учетом (2.2.4) уравнение (2.2.3) приобретает вид:
Легко видеть, что при 
=1 уравнение (2.2.5) превращается в (2.1.9).
Из выражения (2.2.5) следует, что уменьшение степени бинарности р
ведет к уменьшению 
.
Выражение (2.2.5) отличается простотой и универсальностью. Оно
дает возможность проследить влияние основных факторов (
, 
и 
) на внутренний КПД цикла ПГУ. Оно применимо для ПГУ с
конденсационной паровой турбиной и теплофикационной (а также без выработки
электроэнергии). Во втором случае под 
следует понимать КПД теплофикационной установки брутто (или
коэффициент использования тепла топлива теплофикационной установкой ГТУ-ТЭЦ).
Однако выражение (2.2.5) является приближенным, так как его вывод
основан на замене в действительности разомкнутого цикла замкнутым идеальным,
представленным на рисунке 1.2. В результате этого оно дает завышение КПД на
(3ч5)%, так как при выводе автоматически принималось, что подвод теплоты к
паровой части цикла несколько завышен. Вместе с тем выражение (2.2.5) весьма
полезно при анализе эффективности парогазового цикла.
Полученные формулы относятся к внутренним КПД и не учитывают электромеханический
КПД агрегатов, равный 
[5].
3.
Мощность всей ПГУ и конденсационной паровой турбины при заданной мощности ГТУ,
входящей в ПГУ
Внутренние мощности ГТУ, ПГУ и конденсационной паровой
турбины определяются выражениями:
где 
- теплота сгорания топлива;

- соответствующие внутренние КПД.
Расход воздуха в ГТУ и ПГУ один и тот же.
Поэтому;
где 
, и 
- расход топлива и коэффициент избытка воздуха в камере сгорания
газовой турбины;

, и 
- общий расход топлива в ПГУ и коэффициент избытка воздуха в
парогенераторе.
Значение степени бинарности цикла ПГУ 
на основании выражений (2.2.2) и (3.4) может быть записано как:
Относительные величины мощности Nпгу и Nп на основании (3.1) -
(5.17) и (3.5), а также (2.2.5) составляют:
Величина наименьшего коэффициента избытка воздуха определяется
условием полноты горения топлива в парогенераторе и для условий ГТУ может
приниматься 
пред=(1,15ч1,10).
Для этого значения по формуле (3.5) находится предельное наименьшее значение
степени бинарности 
пред,
которое, в свою очередь, определяет наибольшее значение относительных мощностей
vпгу и vn -
формулы (3.6) и (3.7).
В качестве примера, иллюстрирующего полученные зависимости,
рассмотрим ПГУ на базе ГТУ при следующих данных: Nгту=21,7 МВт, 
гту=0,393,

п=0,3, 
гту=2,98, 
пред=1,15
(рассматриваются внутренние мощности и КПД).
Для бинарной ПГУ:
Значения относительных и абсолютных мощностей:
или
Для ПГУ с дожиганием при 
пред:
Для данных по ГТУ, дают следующие результаты: для бинарной ПГУ 
пгу=0,535,
Nпгу=29,539 МВт и Nп=7,836 МВт; для ПГУ с 
пред=0,386
Лпгу =0,383 Nnry=54,855 МВт и Nn=33,15 МВт.
В рассматриваемом примере расчет по приближенной формуле (2.2.5)
дает увеличение 
пгу на 4%
и некоторое увеличение Nпгу и Nп [2].
4.
Парогазовые установки с впрыском пара
Принципиальная схема и теоретический цикл простейшей ПГУ с
впрыском пара представлены на рисунке 4.1 и 4.2. Атмосферный воздух сжимается
компрессором и подается в камеру сгорания, в которой происходит сгорание
природного газа или распыленного жидкого газотурбинного топлива. Обессоленная
вода под давлением, превышающим давление в газовом потоке, подается через
поверхности нагрева экономайзера, использующие теплоту уходящих после турбины
газов, на впрыск в газовый поток. Впрыскиваемый пар подается непосредственно в
камеру сгорания. В результате смешения потоков газа и пара объем рабочего тела,
проходящего через газопаровую турбину, увеличивается, что приводит к увеличению
мощности турбины. Единый цикл парогазовой смеси можно условно разделить на
газовый и паровой, как это показано на рисунке 4.2. Конфигурация этих двух
циклов не выявляет очевидных термодинамических преимуществ такого
комбинирования, тем более что пароводяной цикл, в котором пар поступает на
выхлоп, характеризуется, как известно, низким КПД. Эффективность установки
может быть оценена в результате расчета реальных процессов.
Очень привлекательной особенностью схемы является ее крайняя
простота, а недостатком - необходимость подачи значительного количества
обессоленной воды, которая выбрасывается в атмосферу в виде пара вместе с
продуктами сгорания топлива. Конденсация и использование образующейся воды и
скрытой теплоты парообразования в простой схеме невозможны. Это может быть
связано со значительными трудностями. Однако, последние исследования показывают
возможность и перспективность таких решений.
Тепловой расчет рассматриваемой схемы отличается
существенными особенностями. Рабочими телами здесь являются воздух, продукты
сгорания топлива, вода и образующийся из нее насыщенный, а затем перегретый
пар, который смешивается с продуктами сгорания. Образовавшаяся парогазовая
смесь совершает работу в турбине, поступает в хвостовую часть установки и далее
выбрасывается в атмосферу. В частях установки, где происходит подогрев воды,
парообразование и перегрев пара для определения количества теплоты энтальпии
пара должны определяться по таблицам воды и водяного пара. Вследствие
сравнительно высоких температур парогазовой смеси и низких парциальных давлений
водяного пара в проточной части турбины и других элементах схемы процессы,
происходящие с водяным паром в газовом потоке, не заходят в область насыщения,
а находятся далеко за ее пределами. Поэтому их можно рассчитывать по уравнениям
для идеальных газов. Процессы в теплообменных аппаратах протекают практически
при постоянных давлениях. Поэтому количество передаваемой в них теплоты можно
определять по изменению энтальпии, а последнюю - по средней теплоемкости при
постоянном давлении от 0 до t°C. Теплоемкости и энтальпии могут определяться по данным для
соответствующих газов и по зависимостям для их смесей.
- компрессор; 2 - камера сгорания; 3-4 - газовая турбина; 5 -
регенератор-парогенератор; 6 - электрогенератор; 7 - водяной насос. В-воздух, Т
- топливо, УГ - уходящие газы, W - вода, ПП - перегретый пар.
Рисунок 4.1. Схема ПГУ с впрыском пара перед газовой турбиной
В любой обычной ГТУ заданная температура перед турбиной t3 обеспечивается за счет избытка воздуха, подаваемого в топку и
определяемого коэффициентом избытка воздуха 
. Величина 
является важным параметром, используемым в тепловом расчете схемы
ГТУ. Этот параметр однозначно определяется уравнением теплового баланса камеры
сгорания. В ПГУ с впрыском пара на температуру t3
существенное влияние оказывает величина подачи воды (пара) d. Для обеспечения заданной t3 возможны
различные сочетания 
и d.
-2 - процесс в компрессоре; 2-3 - передача теплоты газу в камере
сгорания; 3-4 и 3'-4' - процесс в парогазовой турбине; 4-5 и 4'-5' - передача
теплоты от парогазовой смеси воде и водяному пару в регенераторе; 1'-2'-2»-3' -
передача теплоты воде и водяному пару в регенераторе и камере сгорания; 5-1 и
5'-1' - условный процесс, замыкающий цикл (выхлоп парогазовой смеси).
Рис. 4.2. Цикл ПГУ с впрыском пара
Уравнение теплового баланса в камере сгорания на единицу топлива
имеет вид:
где V - объемы при нормальных условиях воздуха, пара и газа
на единицу топлива;
hB2 - энтальпия воздуха на входе в камеру
сгорания;
hr3 - энтальпия газа на выходе из камеры сгорания;
hп и hп3 - энтальпия воды на входе в
регенератор-парогенератор и пара на входе в камеру сгорания;

- теплота сгорания топлива.
Уравнение (4.1) можно записать в виде:

п =0.804
кг/нм3 - плотность водяного пара при нормальных условиях.
В уравнении (4.2) левая часть - функция 
, а правая - d.
Впрыскиваемый пар увеличивает работу газовой турбины без
увеличения работы, необходимой для привода компрессора, а также, что очень
важно, обеспечивает возможность полезного использования большого количества
теплоты выхлопных газов в парогенераторе - утилизаторе. На подачу пара для
впрыска затрачивается очень мало энергии вследствие малого объема подаваемой
воды. На основании изложенного представляется целесообразным так построить
цикл, чтобы на образование пара d была затрачена
вся теплота выхлопных газов (от t4 до tуг).
Это условие определяется уравнением теплового баланса экономайзера
(или регенератора-парогенератора):
где d - подача воды (пара), кг на единицу топлива;
hnl и hw - энтальпия впрыскиваемого пара и воды на входе
в экономайзер;
hr4 и hyг - энтальпии газа на входе в экономайзер и выходе
из него (на нм3).
Энтальпии hnl, и hw определяются по таблицам
воды и водяного пара, кДж/кг, a hr4 и hуг - по формулам, кДж/м3.
Уравнение теплового баланса экономайзера (4.3) представляет собой
условие оптимальности цикла, так как показывает, что все тепло уходящих после
турбины газов с температурами от tr4 до tуг
передается пару, который поступает в камеру сгорания с температурой tnl. Очевидно, что КПД ПГУ увеличивается с
увеличением tnl - Пределом этого увеличения является t4. Для обеспечения приемлемых размеров поверхности нагрева
экономайзера необходимо, чтобы 
t=t4 - tnl имело величину не менее некоторой
допустимой. За такое минимальное значение 
t можно
экспертно принять (50ч60)°С.
4.1
Параметры оптимальных режимов ПГУ с впрыском пара по простейшей схеме
По описанной методике были произведены расчеты, некоторые
результаты которых приведены в таблице 4.1.1. Параметры впрыскиваемого пара
были получены в результате предварительных расчетов.
Таблица 4.1.1. Результаты расчетов оптимальных режимов ПГУ с
впрыском пара
|
Показатели
|
t3=900°С
|
t3=1000°с
|
|
Исходные данные
|
|
Топливо-природный
газ, кДж/м3
|
36940
|
36940
|
|
Электрическая
мощность ПГУ, МВт
|
100
|
100
|
|
Степень сжатия,
|
12
|
12
|
|
Атмосферное
давление, МПа
|
0,1053
|
0,1053
|
|
Температура
воздуха перед компрессором,°С
|
0
|
0
|
|
Температура
входящих газов,°С
|
120
|
120
|
|
Температура
воды, подаваемой на впрыск,°С
|
10
|
10
|
|
КПД
компрессора,
|
0,86
|
0,86
|
|
КПД газовой
турбины,
|
0,88
|
0,88
|
|
Механический
КПД турбоагрегата,
|
0,98
|
0,98
|
|
КПД
электрического генератора.
|
0,98
|
0,98
|
|
Результаты
расчетов
|
|
Давление
воздуха после компрессора, МПа
|
1,260
|
1,260
|
|
Температура
воздуха после компрессора,°С
|
319,0
|
319,0
|
|
Давление перед
ГТ, МПа
|
1,252
|
1,252
|
|
Давление после
ГТ, МПа
|
0,1104
|
0,1104
|
|
Температура
после ГТ,°С
|
447,0
|
519,4
|
|
Температура
впрыскиваемого пара,°С
|
400
|
460
|
|
Энтальпия
впрыскиваемого пара, ккал/кг
|
778
|
809
|
|
Коэффициент
избытка воздуха
|
3,222
|
2,605
|
|
Величина
впрыска пара, кг/м3 кг6,2566,370
|
|
|
|
То же, кгДкг
воздуха)
|
0,1525
|
0,1921
|
|
Работа
компрессора, кДж/м3 кг1342010851
|
|
|
|
Работа ГТ,
кДж/м3 кг2904427104
|
|
|
|
Внутренняя
работа ПГУ
|
15624
|
16253
|
|
Электрическая
работа ПГУ, кДж/м3пг
|
15006
|
15609
|
|
КПД ПГУ брутто
|
0,4062
|
0,4225
|
|
Расход топлива,
м3 кг/с6,6646,407
|
|
|
|
Мощность
компрессора, кВт
|
89435
|
69520
|
|
Мощность
турбины, кВт
|
193558
|
173644
|
|
Расход воздуха,
м3/с
|
211.6
|
164,5
|
|
Расход
газопаровой смеси, м3/с
|
274,0
|
224,7
|
|
Расход воды,
кг/с
|
41,69
|
40,81
|
Из таблицы 4.1.1 видно, что при степени сжатия 12 оптимальные
определяющие параметры при t3=900°C составляют 
=3,222 и d=6,256 кг/м3
ПГ, а при t3=1000°C - 
=2,605 и d=6,370 кг/м3
кг. КПД брутто цикла - соответственно 0,4062 и 0,4225 и расход
воды - 41,69 и 40,81 кг/с.
Для принятых исходных данных таблицы 4.1.1 дает полную
характеристику оптимальных режимов ПГУ с впрыском пара, то есть режимов, при
которых достигается наибольший КПД.
Наиболее характерными параметрами, с помощью которых для
выполненной установки можно получать оптимальный режим, являются подача воды d и коэффициент избытка воздуха а, легко изменяемый
подачей топлива. В этом смысле их можно считать определяющими.
4.2
Сравнение расчетных параметров с параметрами осуществленной установки
Приведены данные о ПГУ с впрыском пара 501 кН, выполненной на базе
газотурбинного агрегата 501 кB, который
представляет собой модификацию турбовинтового двигателя. Установка 501 кН
одновальная. Она состоит из 14-ступенчатого осевого компрессора и 4-ступенчатой
газовой турбины с воздушным охлаждением первой ступени. Переход к циклу ПГУ дал
увеличение КПД до 40,7% по сравнению с базовой ГТУ 29,1% таблица 4.2.1. Определяющие
показатели этой ПГУ очень близки расчетному варианту с 
=12 и t3=1000°С Таблица 4.1.1. Это свидетельствует о близком совпадении
расчетных данных оптимального цикла с показателями осуществленной ПГУ.
Таблица 4.2.1 Сравнение показателей ПГУ 501 кН с расчетными
таблица 4.1.1
|
Показатели
|
501 кН
|
Данные
|
|
Степень сжатия
компрессора
|
11,6
|
12
|
|
Температура
перед газовой турбиной,°С
|
982
|
1000
|
|
Температура на
выходе из турбины,°С
|
502
|
519
|
|
Относительный
расход пара, кг пара/кг воздуха)
|
0,167
|
0,192
|
|
Отношение
мощности турбины к мощности компрессора
|
2,1
|
2,5
|
|
КПД, %
|
40,7
|
42,2
|
4.3
Форсировка ПГУ увеличением впрыскиваемого пара
Рассмотренные оптимальные режимы ПГУ характеризуются
наибольшим КПД при заданных определяющих параметрах. В практике, как
упоминалось выше, в некоторых случаях увеличивают мощность установки путем
увеличения впрыска, которое сопровождается увеличением подачи топлива. Для
получения наибольшего эффекта в этом случае увеличивать подачу следует
настолько, чтобы обеспечить расчетную температуру газов перед турбиной, а для
кратковременных режимов - и более высокую температуру.
Приближенная оценка возможных пределов увеличения мощности
ПГУ и снижения при этом КПД может быть сделана на основании следующих
допущений:
степень сжатия, расход воздуха и температура парогазовой
смеси перед турбиной обеспечиваются те же, что и базового оптимального режима;
в потоке газопаровой смеси сжигается дополнительной
количество топлива, теплота сжигания которого идет на образование и перегрев
дополнительного количества пара, смешиваемого с базовым потоком газа и
совершающего работу в турбине.
Рассмотрим при этих допущениях изменения параметров рабочего
процесса ПГУ от оптимального базового режима при наибольшем возможном
увеличении подачи воды. Максимальное дополнительное количество топлива b, которое может быть
подано на единицу топлива базового режима определяется соотношением:
где 
- коэффициент избытка воздуха в базовом режиме;

2 -
коэффициент избытка воздуха в режиме форсировки, который ориентировочно может
быть принят равным до (1,03ч1,05).
Соответствующее этому количеству топлива дополнительное количество
пара на единицу топлива базового режима 
d составит
где hпз и hwo -
энтальпии водяного пара при температуре t3 и воды
дополнительного потока, кДж/кг. Газопаровой поток перед турбиной образуется в
результате смешения продуктов сгорания топлива с коэффициентом избытка воздуха 
2 в
количестве:
с общим количеством пара:
Дальнейший расчет может быть произведен по зависимостям, рассмотренным
выше. Результаты таких расчетов для оптимальных базовых режимов с 
=12 и t3 = 900 и 1000°С таблицы 4.1.1 приведены в таблице 4.3.1. При
расчетах были приняты минимальные допустимые значения 
2 = 1,03,
что определяет максимальную форсировку: максимальное увеличение подачи воды на
впрыск и расход топлива.
Результаты расчетов свидетельствуют о большом увеличении мощности
ПГУ при форсировке. При этом расход рабочего газа через турбину увеличивается
весьма существенно. Для реализации таких режимов необходимо решение ряда
конструктивных вопросов по камере смешения и горения, а также турбины вплоть до
установки специальной пиковой турбины, по мощности соизмеримой с мощностью
турбины оптимального базового режима.
Возможности рассматриваемой форсировки при увеличении степени
сжатия и температуры перед газовой турбиной уменьшаются вследствие снижения
коэффициента избытка воздуха и уменьшения возможности подачи дополнительного
топлива.
Таблица 4.3.1. Результаты расчета максимальной форсировки
мощности ПГУ
|
Величина
|
Температура
перед турбиной, °С
|
|
900
|
|
Дополнительная
удельная подача топлива b, м3/м3
 кг2,1281,529
|
|
|
|
Дополнительный
впрыск пара  d, кг/м3
 кг18,07812,309
|
|
|
|
Обычная доля
водяного пара в парогазовой смеси
|
0,459
|
0,447
|
|
Температура на
выходе из турбины, °С
|
474,6
|
545,1
|
|
КПД ПГУ, %
|
28,36
|
30,91
|
|
Относительная
электрическая мощность ПГУ
|
2,184
|
1,850
|
|
Относительный
расход топлива
|
3,128
|
2,530
|
|
Относительный
расход газопаровой смеси через турбину
|
1,60
|
1,48
|
|
Относительный
расход воды
|
3,890
|
2,932
|
|
Расход воды, кг
|
10,275
|
9,756
|
.4
ПГУ с впрыском пара на базе параметров ГТУ АЛ-31СТЭ
Расчет схемы ГТУ АЛ-31СТЭ электрической мощностью 20 МВт
рассмотрен выше. На базе параметров этой ГТУ были выполнены расчеты схемы ПГУ с
впрыском пара в оптимальном и форсированном режимах, результаты которых
приведены в таблице 4.3.1. При этом для оптимального режима принята мощность
ПГУ 33,8 МВт, при которой производительность компрессора равна
производительности компрессора ГТУ AЛ-31 СТЭ. Эта мощность была определена в результате
серии предварительных расчетов.
Результаты расчета схем представлены в таблице 4.4.1 Расчеты
были выполнены при работе на дизельном топливе и природном газе. Температура
пара на выходе из регенератора (перед подачей в камеру сгорания) принята 490°С
- на 58°С ниже температуры парогазовой смеси на выходе из турбины, что вместе с
температурой уходящей парогазовой смеси, равной 120°С, обеспечивает получение
наибольшего возможного КПД (оптимального режима).
|
Величина
|
Дизельное
топливо
|
Природный газ
|
|
Исходные данные
|
|
Температура
наружного воздуха,°С
|
0
|
0
|
|
Температура
перед газовой турбиной,°С
|
1133
|
1133
|
|
Степень
повышения давления
|
17
|
17
|
|
Электрическая
мощность, МВт
|
33,8
|
33,8
|
|
КПД компрессора
|
0,87
|
0,87
|
|
КПД газовой
турбины
|
0,90
|
0,90
|
|
Механический
КПД ГТУ
|
0,97
|
0,97
|
|
КПД
электрогенератора
|
0,95
|
0,95
|
|
Перепад
давления на всасе, кг/см2
|
0,02
|
0,02
|
|
Перепад
давления от компрессора до входа в турбину, кг/см2
|
0,54
|
0,54
|
|
Перепад
давления после турбины, кг/см2
|
0,54
|
0,54
|
|
Теплота
сгорания топлива, МДж/кг или (МДж/нм3 кг)43,58736,940
|
|
|
|
Параметры
воздуха после компрессора:
|
|
давление, кг/см2
|
17,226
|
17,226
|
|
температура,°С
|
377,0
|
377,0
|
|
Параметры
парогазовой смеси перед турбиной:
|
|
давление, кг/см2
|
16,69
|
16,69
|
|
температура,°С
|
1133
|
1133
|
|
Температура
пара из утилизатора,°С
|
490
|
490
|
|
Энтальпия пара
из утилизатора, кДж/кг
|
823
|
823
|
|
Температура
уходящей парогазовой смеси,°С
|
120
|
120
|
|
Результаты
расчетов. Оптимальный режим
|
|
Температура
после турбины,°С
|
548,4
|
548,7
|
|
Коэффициент
избытка воздуха
|
2,1201
|
2,1829
|
|
Впрыск пара,
кг/кг топлива
|
6,9356
|
5,8327
|
|
Парциальное
давление пара в потоке
|
0,2400
|
0,2403
|
|
Абсолютное
парциальное давление пара в потоке, кгс/см2
|
4,003
|
4,010
|
|
Работа
компрессора, кДж/кг
|
13233
|
10798
|
|
Работа газовой
турбины, кДж/кг
|
34622
|
29074
|
|
Внутренняя
работа ПГУ, кДж/кг
|
21389
|
18276
|
|
Электрическая
работа ПГУ, кДж/кг
|
19709
|
16842
|
|
КПД ПГУ
|
0,4522
|
0,4559
|
|
Расход топлива,
кг/с (нм3пг/с)
|
1,7149
|
2,0069
|
|
Мощность
компрессора, МВТ
|
22,694
|
21,670
|
|
Мощность
газовой турбины, МВт
|
59,373
|
58,349
|
|
Электрическая
мощность ПГУ, МВт
|
33,800
|
33,800
|
|
Расход воздуха,
нм3/с
|
45,206
|
43,167
|
|
Расход
парогазовой смеси, нм3/с
|
61,643
|
60,566
|
|
Расход
впрыскиваемого пара, кг/с
|
11,894
|
11,706
|
|
Относительный
расход воды, кг/кг воздуха
|
0,2035
|
0,2097
|
|
Форсированный
режим
|
|
Температура
после турбины,°С
|
574,7
|
575,3
|
|
Относительный
расход топлива  2,05842,1193
|
|
|
|
Впрыск пара,
кг/кг топлива (кг/нм3пг)
|
16,3307
|
14,2538
|
|
Абсолютное
парциональное давление пара, кгс/см2
|
7,0323
|
7,0688
|
|
Работа
компрессора, кДж/кг
|
13233
|
10798
|
|
Работа газовой
турбины, кДж/кг
|
47220
|
41016
|
|
Внутренняя
работа ПГУ, кДж/кг
|
33987
|
30219
|
|
Электрическая
работа ПГУ, кДж/кг
|
31319
|
27846
|
|
КПД ПГУ
|
0,3491
|
0,3557
|
|
Расход топлива,
кг/с (нм3пг/с)
|
3,5300
|
4,2534
|
|
Относительная
мощность ПГУ
|
1,5890
|
1,6534
|
|
Электрическая
мощность, МВт
|
53,709
|
55,886
|
|
Расход воздуха,
нм3/с
|
45,206
|
43,167
|
|
Расход
парогазовой смеси, нм3/с
|
82,651
|
83,988
|
|
Расход воды,
кг/с
|
28,006
|
22,606
|
|
Относительный
расход воды, кг/кг воздуха
|
0,4791
|
0,5125
|
Необходимо отметить, что такие высокие показатели могут быть получены
путем коренного изменения всей конструкции базового ТРД. Неизменными остаются
только компрессор, степень сжатия и температура перед турбиной.
Должны быть разработаны заново камера сгорания и вся проточная часть газового
тракта, конструкция регенератора-парогенератора, а также должна быть обеспечена
подача обессоленной воды в значительном количестве. По существу,
должна быть разработана новая установка, использующая: достижения технологии
разработки и опыт создания ГТУ АЛ-31СТЭ.
4.5
Формулы для приближенной оценки определяющих параметров цикла
На основании обработки результатов математического
моделирования для рассматриваемой схемы ПГУ с впрыском пара при работе на газе
были - получены формулы для определения следующих важных параметров для оптимальных
режимов:
для режима максимальной форсировки:
где 
и 
2 -
коэффициенты избытка воздуха в оптимальном режиме и в режиме максимальной
форсировки;
dT и 
- удельные расходы воды на впрыск в оптимальном и максимальном
режимах, кг/нм3пг;

- КПД брутто в оптимальном и максимальном режимах.
Формулы (4.5.1ч4.5.6) были получены для работы ПГУ на природном
газе для диапазона определяющих параметров 
=6ч12 и t3=700ч1000°C. Принималось 
к = 0,86 и

т = 0,86.
Расчеты показали, что они могут применяться для получения ориентировочных
значений рассматриваемых величин и для более широких пределов 
и t3. По этим формулам построены графики, представленные на рисунке
4.5.1 и 4.5.2 [4].

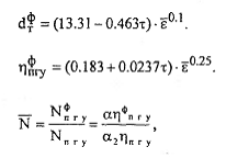
- коэффициент избытка воздуха в оптимальном режиме;
dT - величина подачи воды на впрыск в оптимальном ht; bvt;

- величина подачи воды на впрыске в режиме форсировки.
Рисунок 4.5.1 Приближенная оценка возможных параметров ПГУ с
впрыском пара для заданных начальных температур t3 и
степеней сжатия 

пгу и 
- КПД ПГУ в оптимальном режиме и режиме форсировки; 
- относительная мощность в режиме форсировке.
Рисунок 4.5.2 Приближенная оценка возможных параметров ПГУ с
впрыском пара для заданных начальных температур t3 и степеней сжатия
5.
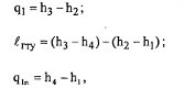
Расчет и построение в термодинамических диаграммах парового цикла
Примером реального газа является водяной пар. Пар, в
зависимости от состояния, может быть сухим насыщенным, влажным насыщенным и
перегретым.
На рисунке 5.1 показана
диаграмма процесса парообразования. Кривая 1 соответствует воде
при температуре 0 оС (273,15 К), кривая 2 - воде при температуре
кипения (насыщения), кривая 3 - сухому насыщенному пару. Кривая 2 - это нижняя
пограничная кривая, кривая 3 - верхняя пограничная кривая. Точка
, разделяющая пограничные кривые -
критическая. Кривые 1, 2, 3 делят диаграмму на три части. Область
между кривыми 1 и 2 - жидкость, область
между кривыми 2 и 3 - смесь кипящей
жидкости и пара (влажный насыщенный пар), область
правее кривой 3 - перегретый пар.
Критическая точка характеризует критическое состояние, при котором исчезает
различие в свойствах пара и жидкости. Критическая температура является
наивысшей температурой жидкости и ее насыщенного пара. При температурах выше
критической может существовать только перегретый пар. Для водяного пара
критические параметры:
= 22,129 МПа,
= 647,3 К,
= 0,00326 м3/кг.
Рисунок 5.1 - Диаграмма процесса парообразования
Процесс образования перегретого пара при постоянном давлении
состоит из следующих процессов: подогрева жидкости до температуры кипения,
парообразования при постоянной температуре и перегрева пара при повышении
температуры. На рисунке 4 показан процесс парообразования. Точка
соответствует состоянию воды при
= 273,15 К, давлении
и удельном объеме
. В результате процесса
при
повышается температура воды до температуры насыщения
, удельный объем увеличивается до
удельного объема насыщенной (кипящей) жидкости
, следовательно при температуре, соответствующей выбранному
давлению, в точке
вода закипает. Кипение сопровождается
парообразованием по всему объему жидкости. Образуется смесь кипящей жидкости и
пара (влажный насыщенный пар) - точка
, при этом удельный объем равен
. Изобара и изотерма процесса кипения пара совпадают. В точке
при удельном объеме
происходит полное выкипание воды и
образуется сухой насыщенный пар. При дальнейшем подводе теплоты в процессе
происходит повышение температуры,
удельный объем увеличивается до объема
и образуется перегретый пар (точка
).
Процесс парообразования можно изобразить в
-диаграмме (рисунок 5.2).
Рисунок 5.2 -
-диаграмма водяного пара
Жидкость.
Состояние насыщенной жидкости определяется давлением или температурой. Все
остальные параметры (
,
,
,
) можно определить по таблицам насыщенной жидкости.
Количество теплоты, которое затрачивают на подогрев жидкости от 0 оС
до температуры кипения при постоянном давлении, называется теплотой жидкости
, кДж/кг:
,
где
- энтальпия насыщенной жидкости, кДж/кг;
- энтальпия жидкости при температуре 0 оС и давлении,
соответствующем
, кДж/кг.
Можно считать, что справедливо выражение:
,
так как при невысоких давлениях можно считать
.
Внутренняя энергия насыщенной жидкости
, кДж/кг:
,
где
- удельный объем насыщенной жидкости, м3/кг.
При невысоких давлениях можно принимать, что:
.
Теплота парообразования - это количество теплоты, которое
необходимо затратить, чтобы превратить 1 кг кипящей жидкости в сухой насыщенный
пар. Удельную теплоту парообразования
, кДж/кг, определяют по формуле:
,
где
- энтальпия сухого насыщенного пара,
кДж/кг.
Энтропию насыщенной жидкости
, кДж/(кг×К),
определяют по формуле:
,
где
- теплоемкость воды, кДж/(кг×К);
- температура насыщения, К.
Сухой насыщенный пар. Состояние сухого насыщенного пара определяется его давлением или
температурой. Все остальные параметры (
,
,
,
) можно определить по таблицам насыщенного
водяного пара.
Энтальпию сухого насыщенного пара
, кДж/кг, определяют по формуле:
.
Внутреннюю энергию сухого насыщенного пара
, кДж/кг, определяют:
.
Энтропия сухого насыщенного пара
, кДж/(кг×К):
.
Влажный насыщенный пар. Состояние влажного насыщенного пара определяется его давлением
или температурой и степенью сухости
, а для насыщенной жидкости
, для сухого насыщенного пара
. Температура влажного насыщенного пара является функцией только
давления и может быть определена по паровым таблицам. Удельный объем влажного
пара
зависит от давления и от степени сухости.
Удельный объем влажного насыщенного пара
, м3/кг, определяют по уравнению:
.
Для давлений до 3 МПа и при
удельный объем влажного насыщенного пара
, м3/кг, можно определять по
формуле:
.
Энтальпию влажного насыщенного пара
, кДж/кг, определяют из выражения:
.
Внутреннюю энергию влажного насыщенного пара
, кДж/кг, определяют по формуле:
.
Энтропия влажного насыщенного пара
, кДж/(кг×К):
.
Перегретый пар. У перегретого пара температура выше температуры насыщения сухого
насыщенного пара того же давления. Следовательно, перегретый пар определенного
давления может иметь различные температуры. Для характеристики состояния
перегретого пара надо знать два его параметра (обычно это температура и
давление). Разность температур перегретого и насыщенного пара того же давления
называется перегревом пара.
Количество теплоты, которое необходимо для перевода 1 кг сухого
насыщенного пара в перегретый при постоянном давлении, называется теплотой
перегрева
, кДж/кг:
,
где
- энтальпия перегретого пара, кДж/кг.
Расчеты термодинамических процессов с водяным паром можно
проводить с помощью термодинамических таблиц и диаграмм состояний водяного
пара. Удобно использование при проведении таких расчетов
-диаграммы, на которой каждая точка
соответствует определенным значениям параметров состояния
;
;
;
;
. На диаграмму нанесены изохоры
(пунктирные линии), изобары, изотермы, линии равной степени сухости пара.
Верхняя и нижняя пограничные кривые делят
-диаграмму на области ненасыщенной жидкости
, влажного насыщенного пара
и перегретого пара
. Изобары в области влажного насыщенного
пара - прямые линии, одновременно являются изотермами. При переходе в область
перегретого пара изобары и изотермы разделяются.
При расчете по этой диаграмме изменение внутренней энергии
, кДж/кг, и работу
, кДж/кг, для всех процессов определяют по
формулам:
;
.
Количество теплоты в изохорном процессе
, кДж/кг:
.
Количество теплоты в изобарном процессе
, кДж/кг:
.
Количество теплоты в изотермическом процессе
, кДж/кг:
.
В процессе с постоянной степенью сухости (
) возможно только приближенное решение.
Количество теплоты
, кДж/кг, определяют:
.
Водяной пар часто используют в качестве рабочего тела паровых
двигателей, отопительных и других устройств.
Рисунок 5.3 -
-диаграмма водяного пара
Задание:
1 Исходные данные по варианту 15. Изобразить паровой цикл в
и
диаграммах (схематично).
Для каждого процесса, входящего в цикл, определить параметры в
характерных точках:
,
,
,
,
,
(с помощью
диаграммы).
Для каждого процесса цикла определить
(удельное изменение внутренней энергии),
(удельное изменение энтальпии),
(удельное изменение энтропии),
(удельное количество теплоты),
(удельную работу) с помощью
диаграммы.
Для цикла в целом определить: подведенное количество теплоты
, отведенное количество теплоты
, работу цикла
и термический к.п.д.
цикла.
Для отмеченной точки (таблица 2) определить с помощью паровых
таблиц и по
диаграмме:
,
,
,
,
[3].
График 5.1. Паровой цикл в
диаграмме
График 5.2. Паровой цикл в
диаграмме
Таблица
5.1. Значения параметров в характерных точках
|
Точки
|
Параметры
|
|
, МПа , м3/кг , оС , кДж/кг , кДж/кг , кДж/(кг×К)
|
|
|
|
|
|
|
1
|
0,5
|
0,37
|
150
|
244,5
|
2540
|
6,33
|
|
2
|
0,5
|
0,55
|
300
|
489
|
3060
|
7,46
|
|
3
|
0,075
|
2,3
|
90
|
146,7
|
2660
|
7,46
|
|
4
|
0,075
|
2,1
|
90
|
146,7
|
2440
|
6,85
|
Таблица
5.2. Значения
,
,
,
,
|
Процесс
|
, кДж/кг , кДж/кг , кДж/(кг×К) , кДж/кг , кДж/кг
|
|
|
|
|
|
1-2
|
-244,5
|
-520
|
-1,13
|
520
|
764,5
|
|
2-3
|
342,3
|
400
|
0
|
0
|
-342,3
|
|
3-4
|
0
|
220
|
0,61
|
-220
|
-220
|
|
4-1
|
-97,8
|
-100
|
0,52
|
62,4
|
160,2
|
|
Сумма
|
0
|
0
|
0
|
362,4
|
362,4
|
, кДж/кг , кДж/кг , кДж/кг , %
|
|
|
|
|
582,4
|
-220
|
362,4
|
62
|
Таблица 6. Значения , , , ,
|
Параметры
|
По паровым
таблицам
|
По диаграмме
|
|
2,12,1
|
|
|
|
24312440
|
|
|
|
155160
|
|
|
|
6,846,85
|
|
|
|
2282,52
|
|
Заключение
Исследования и мировой опыт показывают, что развитие и
широкое использование парогазовых установок различных типов являются основным
направлением повышения эффективности тепловых электростанций, дающих до
последнего времени до 70% всей выработки электроэнергии. Их широкое
использование обеспечит большую экономию топлива и существенное снижение
негативного воздействия энергетики на окружающую среду. Я постаралась изложить
основы теории парогазовых установок и расчета их тепловых схем, сведения о
различных типах ПГУ, применяемых в настоящее время, и о возможных объемах их
использования в перспективе.
Основу ПГУ составляют газотурбинные установки, достигшие к
настоящему времени высокого совершенства. При работе по простейшей схеме ГТУ
имеют КПД до 33-37% и используются в энергетике.
Сделав практическую часть курсовой работы я посчитала КПД,
который равен 62% и сравнивала параметры по паровым таблицам и по is диаграмме и с
уверенностью могу сказать, что практическая часть была сделана мною правильно,
т.к. данные по паровым таблицам очень близки к данным по is диаграмме.
Список
использованной литературы
1 Степанов И.Р. Парогазовые установки. Основы
теории, применение, перспективы. - Кольск: Апатиты, 2000. - 166 с.
Пригожин И.Д. Современная термодинамика. От
тепловых двигателей до диссипативных структур. - М.: Мир, 2002. - 461 с.
3 Кудинов В.А. Техническая термодинамика. Учеб.
Пособие для вузов/В.А. Кудинов, Э.М. Карташов. - 3-е изд. испр. - М.: Высш.
шк., 2003, - 261 с.
4 Кириллин В.А. Сычев В.В., Шейндлин А.Е.
Техническая термодинамика. - 5 изд. - М.: Издательский дом МЭИ, 2008. - 496 с.
Александров А.А. Термодинамические основы циклов
теплоэнергетических установок. Учебное пособие. - 2 изд. - М.: Издательство
МЭИ, 2006. - 158 с.
Похожие работы на - Парогазовые установки с впрыском пара
|