Модернизация электропривода грузового лифта грузоподъемностью 2 тонны

  • Вид работы:
    Курсовая работа (т)
  • Предмет:
    Физика
  • Язык:
    Русский
    ,
    Формат файла:
    MS Word
    2,14 Мб
  • Опубликовано:
    2014-01-08
Вы можете узнать стоимость помощи в написании студенческой работы.
Помощь в написании работы, которую точно примут!

Модернизация электропривода грузового лифта грузоподъемностью 2 тонны

Федеральное государственное автономное образовательное учреждение высшего профессионального образования

Российский государственный профессионально педагогический университет

Институт электроэнергетики и информатики

Кафедра электрооборудования и автоматизации промышленных предприятий






Курсовой проект

по дисциплине «Автоматизированный электропривод»

На тему: Модернизация электропривода грузового лифта грузоподъемностью 2 тонны











Екатеринбург 2014

Реферат

Курсовой проект содержит 34 иллюстраций, 4 таблицы, 11 использованных источников.

Произведен расчет силовой части системы:

«Тиристорный преобразователь - ДПТ НВ», включающий в себя:

предварительный выбор двигателя;

расчет и построение нагрузочной диаграммы и  проверка двигателя на нагрев;

выбор тиристорного преобразователя;

моделирование электропривода в MATLAB.

1. Введение

Несмотря на значительное многообразие типов и конструкций современных грузовых лифтов, все они состоят из основных элементов, имеющих принципиально одинаковое назначение.

На рис.1 представлена схема грузового лифта грузоподъемностью 2000 кг с электроприводом, предназначенного для обслуживания зданий до 4 этажей с общей высотой здания 20 метров.

Рис.1

Главной приводной частью лифта является подъемный механизм (лебедка), который с помощью канатов и подвески перемещает кабину на различные этажи обслуживаемого здания, останавливаясь на нужном из них так, чтобы пол кабины был по возможности на уровне пола соответствующей этажной площадки. Для уравновешивания кабины и части полезного груза предусмотрен противовес. Кабина и другие подвижные части лифта перемещаются в специально оборудованном сооружении, называемом шахтой, которую со стороны этажных площадок оборудуют дверьми. Внутри шахты (практически по всей её высоте) крепят направляющие кабины и направляющие противовеса, а в верхних и нижних частях каркасов кабины и противовеса устанавливают башмаки. охватывая с трех сторон рабочую часть направляющих, башмаки четко фиксируют кабину и противовес в вертикальном положении.

В аварийных ситуациях, когда кабина развивает скорость выше дозволенной (предельной), что контролируется ограничителями скорости, срабатывают ловители, установленные внизу или вверху кабины (иногда и на противовесе). Захватывая направляющие, они прочно удерживают кабину на этих направляющих.

В случае неисправности системы управления кабина или противовес могут пройти ниже рабочего положения. Чтобы предотвратить жесткий удар о пол шахты, в её нижней части предусмотрены упоры или буфера и, смягчающие удар при посадке.

Нижнюю часть шахты, где расположены буфера и натяжные устройства, называют приямком.

В машинном помещении расположены подъемный механизм, ограничитель скорости и станция управления. В некоторых лифтах под машинным помещением над шахтой предусмотрено блочное помещение, в котором устанавливают контрблоки (контршкивы).

2. Задание и исходные данные

Грузовой лифт установлен в четырехэтажном производственном здании и служит для опускания готовой продукции в контейнерах, закатываемых в кабину, а также для транспортировки полуфабрикатов в контейнерах между этажами и подачи порожних контейнеров. Полуфабрикаты изделий не допускают чрезмерных динамических нагрузок при транспортировании, из-за чего должно быть ограничено максимальное ускорение кабины. Работу лифта и его конструктивное исполнение поясняет кинематическая схема (рис.2). Кабина лифта уравновешивается противовесом через канат на канатоведущем шкиве трения, который приводится в движение через редуктор от одного или двух двигателей. Электропривод лифта работает в повторно-кратковременном режиме с переменной нагрузкой.

Работа лифта осуществляется по следующему циклу:

опускание кабины с четвертого этажа на первый этаж;

стоянка на первом этаже (двигатель отключен);

подъем кабины с первого этажа на второй этаж;

стоянка на втором этаже (двигатель отключен);

подъем кабины со второго этажа на третий этаж;

стоянка на третьем этаже (двигатель отключен);

подъем кабины с третьего этажа на четвертый этаж;

стоянка на четвертом этаже (двигатель отключен).

После каждой стоянки масса груза в кабине изменяется (табл.2.1).

Рис.2. Кинематическая схема грузового лифта

Таблица 2.1

Исходные данные по грузовому лифту

Параметр

Обозначение




4

Масса кабины, т

0,5

Номинальная грузоподъемность лифта, т

mгп

2

Скорость движения кабины, м/с

V

0,7

Радиус канатоведущего шкива, м

0,25

Момент инерции канатоведущего шкива, кг·м2

4,5

Максимально допустимое ускорение кабины, м/с2

адоп

2,1

Продолжительнось включения, %

ПВ

45

Масса груза при движении с четвертого этажа на первый (4→1), т

m41

3

Масса груза (1→2), т

m12

0,4

Масса груза (2→3), т

m23

1,4

Масса груза (3→4), т

m34

1

Полная высота подъема, м

L

20

Число этажей

N

4

Коэффициент трения лифта о направляющие

µ

0,05

КПД механических передач

ηп

0,6



3. Выбор типа электропривода

При выборе типа электропривода, прежде всего, учитывается условие работы производственного механизма. Высокая производительность и качество выпускаемой продукции могут быть обеспечены лишь при правильном учёте статических и динамических характеристик привода и рабочей машины. Кинематика, и даже конструкция рабочей машины в значительной степени определяются типом применяемого ЭП, и, наоборот, в зависимости от конструктивных особенностей исполнительного механизма привод претерпевает значительные изменения.

При выборе типа ЭП должны быть учтены: характер статического момента, необходимые пределы регулирования скорости, плавности регулирования, требуемых механических характеристик, условий пуска и торможения, числа включений в час, качества окружающей среды и т.п.

Первоначально решается вопрос о выборе регулируемого или нерегулируемого типа ЭП. В последнем случае задача значительно упрощается. Все сводится к выбору двигателя переменного тока (асинхронные двигатели). В случае с регулированием по скорости решается вопрос о выборе рода тока привода.

Применение привода постоянного тока может быть оправдано лишь в тех случаях, когда привод должен обеспечивать повышенные требования к плавности регулирования скорости. Приводы постоянного тока используются в механизмах, работающих в повторно-кратковременном режиме: краны, подъёмные механизмы, вспомогательные механизмы металлургической промышленности (шлепперы, рольганги, сталкиватели, нажимные устройства).

В случае приводов повторно-кратковременного режима тип двигателя определяется из условий получения минимальной деятельности переходного процесса, минимальных динамических моментов. С этой целью либо используют специальные двигатели с минимальным моментом инерции, либо переходят к двухдвигательному приводу (суммарный момент инерции двух двигателей той же мощности, что и однодвигательный привод меньше на 20 - 40%).

По защите от воздействия окружающей среды различают открытые, защищенные, закрытые и герметичные двигатели. Закрытые двигатели (IP44) предохраняют от попадания во внутрь брызг воды любого направления. Пыль влага и газы имеют доступ в такие двигатели. При выборе двигателей необходимо учитывать то, что при одной и той же мощности и скорости наибольшие массы, габариты и стоимость имеют закрытые двигатели.

Для грузового лифта возможно использование следующих ЭП:

«ТПЧ-АД» (тиристорный преобразователь частоты - асинхронный двигатель);

«Г - Д» (генератор - двигатель);

«ТП - Д» (тиристорный преобразователь - двигатель).

Система «ТПЧ-АД» в принципе, позволяет получить характеристики, аналогичные «ТП - Д», но стоимость частотного преобразователя гораздо выше управляемого выпрямителя.

К недостаткам системы «Г - Д» относят:

необходимость в двукратном преобразовании энергии, что приводит к значительному снижению КПД;

наличие двух машин в преобразовательном агрегате;

значительные габариты установки;

высокие эксплуатационные расходы.

Для ЭП грузового лифта принимаем систему «ТП4 - Д»

4. Выбор и проверка электродвигателя

.1 Расчет мощности двигателя

Для выбора двигателя необходимо рассчитать его требуемую номинальную мощность, исходя из нагрузочной диаграммы механизма (т.е. временной диаграммы моментов или сил статического сопротивления механизма на его рабочем органе). По рассчитанной мощности затем выполняется предварительный выбор двигателя.

Определим массу противовеса и построим нагрузочную диаграмму лифта (график статических моментов на канатоведущем шкиве). Расчет времени участков цикла на этапе предварительного выбора двигателя выполняем приблизительно, т.к. пока нельзя определить время разгона и замедления (суммарный момент инерции привода до выбора двигателя неизвестен).

Масса противовеса выбирается таким образом, чтобы противовес уравновешивал кабину и половину массы номинального груза:пр = 0,5mгп + mк;пр=0.5·2000+500=1500 кг.

Активные составляющие момента статического сопротивления на канатоведущем шкиве определяются силами тяжести кабины с грузом и противовеса:




Реактивные составляющие момента статического сопротивления на канатоведущем шкиве определяются силами трения кабины и противовеса о направляющие:

Нм;

 Нм;

 Нм;

 Нм;

Моменты статического сопротивления на канатоведущем шкиве представляют собой сумму активной и реактивной составляющей:

 Нм;

 Нм;

 Нм;

 Нм;

Угловая скорость канатоведущего шкива:


Расстояние между этажами:


Время движения при перемещении на три этажа (приблизительно):


Время движения при перемещении на один этаж (приблизительно):


Время работы в цикле (приблизительно):=3t1э+t3э =3·16,7 +50 = 100,1 с.

Время стоянки на этаже (приблизительно):


Возможный вид нагрузочной диаграммы лифта представлен на рис.3.

Рис. 3. Нагрузочная диаграмма двигателя

Эквивалентный статический момент на канатоведущем шкиве за время работы в цикле (с учетом влияния потерь в редукторе) составит:

 Нм

Учет влияния потерь в редукторе выполняется подстановкой следующих значений в формулу (1):

• в тормозном режиме:


• в двигательном режиме:

 Нм

 Нм

Примечание. Двигательный режим имеет место, если знаки электромагнитного момента двигателя и его скорости одинаковы, тормозной режим - если различны. Скорость двигателя считается положительной при подъеме кабины, отрицательной - при опускании кабины. Положительное направление момента двигателя совпадает с положительным направлением его скорости.

При расчете требуемой номинальной мощности двигателя предполагаем, что будет выбран двигатель, номинальные данные которого определены для повторно-кратковременного режима работы и стандартного значения продолжительности включения ПBN=40%.


где Кз -коэффициент запаса (примем Кз=1.1)

.2 Предварительный выбор двигателя

Выбираем двигатель серии Д(22)

Для грузового лифта выбираем двигатель с естественным охлаждением, номинальные данные которого определены для повторно-кратковременного режима работы с продолжительностью включения ПВN =40%.

Выбираем двигатель серии Д. Номинальные данные двигателя приведены в табл.4.1.

Таблица 4.1

Данные выбранного двигателя Д(22)

Параметр

Обозначение

Значение

Номинальная мощность двигателя, кВт

РN

4,8

Номинальное напряжение якоря, В

U1N

220

Номинальный ток якоря, А

I1N

26

Номинальная частота вращения, об/мин

n1

1150

Максимально допустимый момент,Нм

Mmax

108

Сопротивление обмотки якоря(T=20oC), Ом

0,37

Сопротивление обмотки дополнительных полюсов(T=20oC),, Ом

Rдп

0,196

Момент инерции двигателя, кг∙м2

0,15

Число пар полюсов

Pn

2

Максимально допустимый коэффициент пульсации тока якоря

K1(доп)

0,15


Для дальнейших расчетов потребуется ряд данных двигателя, которые не приведены в справочнике. Выполним расчет недостающих данных двигателя:

Номинальная мощность:  кВт

Момент инерции:  кг*м2

Номинальная частота вращения:  об/мин

Максимальный доп. момент:  Нм

Максимальный коэффициент пульсации: K1(доп)=0,15

Номинальный ток якоря: А

Сопротивление обмоток якоря:  Ом

Сопротивление доп. полюсов:  Ом

Данные выбранного двигателя Д(2*22)

Табл. 4.2

Параметр

Обозначение

Значение

Номинальная мощность двигателя, кВт

РN

9,6

Номинальное напряжение якоря, В

U1N

220

Номинальный ток якоря, А

I1N

52

Номинальная частота вращения, об/мин

n1

1150

Максимально допустимый момент,Нм

Mmax

216

Сопротивление обмотки якоря(T=20oC), Ом

0,19

Сопротивление обмотки дополнительных полюсов(T=20oC),, Ом

Rдп

0,098

Момент инерции двигателя, кг∙м2

0,3

Число пар полюсов

Pn

2

Максимально допустимый коэффициент пульсации тока якоря

K1(доп)

0,15


Для дальнейших расчетов потребуется ряд данных двигателя, которые не приведены в справочнике. Выполним расчет недостающих данных двигателя:

Номинальная угловая скорость:


где ΩN - номинальная угловая скорость, рад/с;- номинальная частота вращения, об/мин.

Номинальный момент двигателя:

Сопротивления цепи якоря приведенного к рабочей температуре:


Где  - коэффициент увеличения сопротивления при нагреве до рабочей температуры(=1,38)

Номинальный ЭДС якоря:


Конструктивная постоянная двигателя, умноженная на номинальный магнитный поток:


Момент холостого хода:


где МN - номинальный момент двигателя, Нм;

РN - номинальная мощность двигателя, Вт.

Индуктивность цепи якоря двигателя:



4.3 Расчет передаточного числа редуктора

Расчет передаточного числа редуктора ip выполняется так, чтобы максимальной скорости рабочего органа механизма соответствовала номинальная скорость двигателя.


.4 Расчет и построение нагрузочной диаграммы двигателя

Для проверки предварительно выбранного двигателя по нагреву выполним построение упрощенной нагрузочной диаграммы двигателя (т.е. временной диаграммы момента двигателя без учета электромагнитных переходных процессов). Для ее построения произведем приведение моментов статического сопротивления и рабочих скоростей к валу двигателя, определим суммарный момент инерции привода и зададимся динамическим моментом при разгоне и замедлении привода. По результатам расчета строится нагрузочная диаграмма, а также тахограмма двигателя.

Моменты статического сопротивления, приведенные валу двигателя:

 

где - X,Y - индексы, которые принимают значения 41, 12, 23, 34 (т.е. данная формула используется четыре раза);


Суммарный момент инерции механической части привода:


где δ - коэффициент, учитывающий моменты инерции полумуфт и редуктора (принимаем δ=1,2).

Примечание. Считаем, что момент инерции не зависит от массы груза в кабине, поэтому подставляем в формулу массу номинального груза.

Модуль динамического момента двигателя определяем по условию максимального использования двигателя по перегрузочной способности:

|Mдин | =k(Mmax-|Mc|max),

где k - коэффициент, учитывающий увеличение максимального момента на уточненной нагрузочной диаграмме, k=0,95;

|Mc|max - максимальный по модулю статический момент, приведенный к валу двигателя.

М max= (2-2,5)МN

Принимаем М max= 195 Нм

|М дин |= 0,95·(216-107,23)=103,33 Нм.

Ускорение вала двигателя в переходных режимах:


Ускорение кабины лифта:


Расчетное ускорение кабины лифта не превышает максимально допустимое по исходным данным.

Разбиваем нагрузочную диаграмму на 16 интервалов: 4, 8, 12, 16 -интервалы пауз; 1, 5, 9, 13 - интервалы разгона; 3, 7, 11, 15 - интервалы замедления; 2, 6, 10, 14 - интервалы работы с установившейся скоростью. Вид тахограммы и нагрузочной диаграммы двигателя показан на рис.4. Выполним расчет нагрузочной диаграммы.

Продолжительность интервалов разгона-замедления:

.

Путь кабины при разгоне-замедлении:


Путь кабины при перемещении на три этажа, пройденный на постоянной скорости:


Путь кабины при перемещении на один этаж, пройденный на постоянной скорости:


Время движения с постоянной скоростью при перемещении на три этажа:


Время движения с постоянной скоростью при перемещении на один этаж:


Время работы в цикле:


Время стоянки на этаже:


Моменты двигателя на интервалах разгона:

М1=МС(41)-|МДИН| = 48,24- 103,3=-55,06 Нм;

М5 = МС(12) + |МДИН| = -86,48 +103,3=16,8 Нм;

М9 = МC(23) + |МДИН| = 107,23 + 103,3=210,53 Нм;

М13 = МC(34) + |Мдин| = 19,14+103,3=122,4 Нм.

Моменты двигателя на интервалах замедления:

М3 = МC(41) + |МДИН| = 48,24 +103,3= 151,54 Нм;

М7 = МC(12) - |Мдин|=-86,48-103,3=-189,78 Нм;= МC(23)-|Мдин| = 107,23 - 103,3,45 = 3,9 Нм;= МС(34)-|МДИН| = 19,14-103,3=-84,2 Нм.

Моменты двигателя на интервалах движения с постоянной скоростью:

М2 = МC(41) = 48,24 Нм; М6 = МC(12) = -86,6Нм;

М10 = МC(23) = 107,23 Нм; М14 = МC(34) = 19,14 Нм.

По результатам расчета строится нагрузочная диаграмма и тахограмма двигателя (рис.4)

.5 Проверка двигателя по нагреву

Для проверки выбранного двигателя по нагреву используем метод эквивалентного момента.

Используя нагрузочную диаграмму двигателя, определяем эквивалентный по нагреву момент за время работы в цикле.

,

где n - число интервалов нагрузочной диаграммы, на которых двигатель находится в работе (интервалы пауз не учитываются).

Мэкв = 69,233≈69 Нм.

Для механизмов, работающих в повторно-кратковременном режиме, продолжительность включения в рабочем цикле отличается от номинальной продолжительности включения двигателя. Поэтому для этих приводов необходимо выполнить приведение эквивалентного момента к номинальной продолжительности включения двигателя.


Проверка теплового состояния двигателя осуществляется сравнением приведенного эквивалентного момента с номинальным моментом двигателя. Двигатель проходит по нагреву, если выполняется неравенство: Мэкв(пр)≤МN.

Если данное условие не выполняется, то необходим выбор другого двигателя большей номинальной мощности. 68.4 Нм < 91Нм.

Так как условие Мэкв(пр)≤МN выполняется, то выбранный двигатель проходит по нагреву.

Запас по нагреву:


Запас более 5%.

5. Выбор основных узлов силовой части электропривода

.1 Выбор тиристорного преобразователя

Для обеспечения реверса двигателя и рекуперации энергии в тормозных режимах выбираем двухкомплектный реверсивный преобразователь для питания цепи якоря. Принимаем встречно-параллельную схему соединения комплектов и раздельное управление комплектами. Выбираем трехфазную мостовую схему тиристорного преобразователя. Проектирование самого тиристорного преобразователя не входит в задачи курсового проекта. Поэтому выбираем стандартный преобразователь, входящий в состав комплектного тиристорного электропривода КТЭУ. Подробные сведения о комплектных электроприводах КТЭУ приведены в справочнике (1).

Номинальные значения напряжения и тока преобразователя выбираются по табл.З. Номинальное напряжение преобразователя UdN выбирается так, чтобы оно соответствовало номинальному напряжению якоря двигателя (UdN должно быть больше номинального напряжения якоря двигателя на 5-15%). Номинальный ток преобразователя IdN выбирается из ряда стандартных значении (см.табл. 5.1). Его значение должно быть равным или ближайшим по отношению к номинальному току якоря двигателя.

Таблица 5.1

Стандартные значения номинального напряжения и номинального тока тиристорного преобразователя

UяN

220

440

UdN

230

460

IdN

25,50,100,200,320,500 800,1000,1600,2500

25,50,100,200,320,500, 800,1000,1600,2500,3200,4000



Выберем преобразователь с параметрами (U я N = 220 UdN = 230 В, IdN=100A

Выберем способ связи тиристорного преобразователя с сетью.

Если IdN <200 А, то питание цепи возбуждения в электроприводе КТЭУ выполняется од однофазной сети переменного тока с напряжением 380 В через мостовой выпрямитель. При больших номинальных токах - от трехфазной сети с напряжением 380 В через нереверсивный мостовой тиристорный преобразователь.

.2 Выбор силового трансформатора

При трансформаторном варианте связи с сетью следует выбрать трансформатор типа ТСП-трехфазный двухообмоточный сухой с естественным воздушным охлаждением открытого исполнения (или ТСЗП- защищенного исполнения). Справочные данные о трансформаторах этого типа приведены в прил.2. Номинальный вторичный ток трансформатора I2n должен соответствовать номинальному току тиристорного преобразователя IdN- Эти токи для трехфазной мостовой схемы преобразователя связаны по формуле:

I2N = 0,816 • IdN = 0,816100 = 81,6 А

Выбираем трансформатор ТСП-25/0,7-УХЛ4

Выпишем данные выбранного трансформатора:

тип трансформатора: трёхфазный двухобмоточный сухой с естественным воздушным охлаждением открытого исполнения;

схему соединения первичных и вторичных обмоток У/Л;

номинальную мощность St - 29,1 кВА;

номинальное линейное напряжение вторичных обмоток U2n=205 В;

номинальный линейный ток вторичных обмоток I2n=82 А;

мощность потерь короткого замыкания Рk = 1100Вт

относительное напряжение короткого замыкания Uk=5,5%.

Рассчитаем параметры трансформатора.

Коэффициент трансформации:


Номинальный линейный ток первичных обмоток:

А

Активное сопротивление обмоток одной фазы трансформатора:

Ом

Активная составляющая напряжения короткого замыкания:


Реактивная составляющая напряжения короткого замыкания:


Индуктивное сопротивление обмоток одной фазы трансформатора:

 Ом

Индуктивность обмоток одной фазы трансформатора:

 Гн

где Qc -угловая частота сети (при частоте питающей сети 50 Гц Qc= 314 рад/с).

.3 Выбор сглаживающего реактора

Сглаживающий реактор включается в цепь выпрямленного тока преобразователя с целью уменьшения переменной составляющей тока (пульсаций). Пульсация выпрямленного тока должны быть ограничены на уровне допустимого значения для выбранного двигателя. Максимально допустимый коэффициент пульсации KI(доп) задается в числе данных двигателя и представляет собой отношение действующего значения переменной составляющей тока якоря к его номинальному значению. Для расчета индуктивности сглаживающего реактора определим требуемую индуктивность всей главной цепи системы «тиристорный преобразователь- двигатель» по условию ограничения пульсаций.

ЭДС преобразователя при угле управления :


где Ке - коэффициент, зависящий от схемы преобразователя (для трехфазной мостовой схемы Ке = 1,35).

Максимальная эквивалентная индуктивность главной цепи по условию ограничения пульсаций выпрямленного тока:

 Гн

Расчетная индуктивность сглаживающего реактора:

Гн

.4 Разработка принципиальной электрической схемы силовой части электропривода

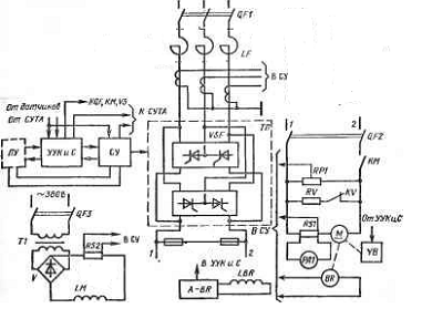
На рис. 5.1. приведена функциональная схема реверсивного электропривода серии КТЭУ на ток до 200 А. Тиристорный преобразователь ТП, состоящий из двух встречно включенных мостов VSF, VSB, получает питание от сети 380 В через автоматический выключатель QF1 и анодный реактор LF (первый вариант) или трансформатор TM (второй вариант). На стороне постоянного тока защита автоматическим выключателем QF2. Линейным контактор КМ служит для частой коммутации якорной цепи (при необходимости), торможение электродвигателя М осуществляется через контактор KV и резистор HV. Отметим, что в первых поставках электроприводов цепь динамического торможения замыкалась через тиристоры. Трансформатор 77 и диодный мост V служат для питания обмотки возбуждения двигателя LM. Тахогенератор JBR возбуждается от отдельного узла А - BR:имеется также узел питания электромагнитного тормоза YВ. Система управления СУ по сигналам оператора с пульта управления ПУ, сигналам о состоянии коммутационных и защитных аппаратов получаемым из узлов управления этими аппаратами и сигнализации УУКиС, сигналам из обшей схемы управления технологическим агрегатом СУТА. сигналам о токе якоря двигателя и токе возбуждения, получаемый с шунтов RS1, RS2. сигналам о напряжении на якоре электродвигателя, снимаемым с потенциометра RP1, сигналам о скорости, формируемым тахогенератором BR, выдает сигналы управления в СИФУ, УУКиС и на пульт управления ПУ. Узел управления коммутационной аппаратурой и сигнализации УУКиС по командам оператора и сигналам от СУ включает или выключает аппараты QF1-QF3, КМ, KV, а также осуществляет сигнализацию о состоянии этих и других защитных аппаратов.

Сигналы задания и обратных связей в СУ гальванически разделяются от внешних протяженных цепей или цепей с высоким потенциалом. Система управления СУ через гальванические разделители выдает в СУТА значения необходимых регулируемых параметров (скорости. тока и др.). Устройство УУКиС получает сигналы от ПУ, датчиков; СУТА через двухпозиционные гальванические разделители и преобразователи напряжения высокого уровня в напряжение низкого уровня, используемое в системе. Устройство УУКиС выдает на пульт управления и в СУТА двухпозиционные логические или контактные сигналы: о готовности электропривода к работе, состоянии аварийной и предупреждающей сигнализации нулевой скорости или достижении некоторой заданной скорости и т. п. Логические сигналы подаются через гальванические разделители и преобразователи напряжения низкого уровня в напряжение высокого уровня.

Рисунок 5. 1 Функциональная схема однодвигательного электропривода серии КТЭУ, Iном<200А

Определим параметры силовой части в абсолютных единицах.

Фиктивное сопротивление преобразователя, обусловленное коммутацией тиристоров:

Ом

Эквивалентное сопротивление главное цепи:

Ом

Эквивалентная индуктивность главной цепи:

Гн

Электромагнитная постоянная времени главной цепи:

с

Электромагнитная постоянная времени цепи якоря двигателя:

с

электропривод грузовой лифт регулятор

Коэффициент передачи преобразователя:


Где Uy(max) - напряжение на входе импульсно-фазового управления тиристорного преобразователя, при котором угол управления равен нулю и ЭДС преобразователя в режиме непрерывного тока максимальна. В проекте примем Uy(max) =10В.

Выбор базисных величин системы относительных единиц

При рассмотрении модели силовой части электропривода как объекта управления параметры и переменные электропривода удобно перевести в систему относительных единиц. Переход к относительным единицам осуществляется по формуле:


где Y- значение в абсолютных (физических) единицах,б- базисное значение (также в абсолютных единицах);

у - значение в относительных единицах.

Принимаем следующие основные базисные величины силовой части электропривода:

Базисное напряжение: U6 = ЕяN = 210,1 В

Базисный ток: Iб =IяN = 52 А

Базисную скорость:  =  = 120,4 рад/с

Базисный момент: Мб =МN =91 Нм

Базисный магнитный поток: Фб =ФN = 1,75 Вб

Базисный ток и базисное напряжение регулирующей части электропривода выбираются так, чтобы они были соизмеримы с реальными уровнями токов и напряжений в регулирующей части.

В проекте принимаем:

Базисное напряжение системы регулирования:p = 10 В;

Базисный ток системы регулирования:бр = 0,5 мА.

Рассчитаем производные базисные величины:

базисное сопротивление для силовых цепей:

Ом

базисное сопротивление для системы регулирования:

Ом

Механическая постоянная времени электропривода зависит от суммарного момента инерции и принятых базисных значений скорости и момента:

.5 Расчет параметров силовой части электропривода в относительных единицах

На рис 5.2 показана структурная схема модели силовой части электропривода как объект управления. Переменные модели выражены в относительных единицах. В модель входят следующие звенья:

тиристорный преобразователь (ТП) - пропорциональное звено с коэффициентом передачи kп

главная цепь (ГЦ) - апериодическое звено с электромагнитной постоянной времени Тэ и коэффициентом передачи, равным rэ-1 т.е. эквивалентной проводимости главной цепи в относительных единицах;

механическая часть (МЧ)- интегрирующее звено с механической постоянной времени Тj,

звенья умножения на магнитный поток (поток рассматривается в модели как постоянный параметр).

Входные величины модели представляют собой управляющее воздействие иу (сигнал управления на входе преобразователя) и возмущающие воздействие тc (момент статического сопротивления на валу двигателя).

Переменными модели являются:

ЭДС преобразователя ed;

ЭДС якоря двигателя ея;

ток якоря двигателя iя;

электромагнитный момент двигателя m;

угловая скорость двигателя со.

Рис 5.2

Определим параметры электропривода в относительных единицах:

коэффициент передачи преобразователя:


эквивалентное сопротивление главной цепи:

Ом

сопротивление цепи якоря двигателя:

 Ом

магнитный поток двигателя:



5.6 Расчет коэффициентов передачи датчиков

Рассчитаем коэффициенты передачи датчиков в абсолютных единицах так, чтобы при максимальном значении величины, измеряемой датчиком, напряжение на выходе датчика было равно базисному напряжению регулирующей части.

Коэффициент передачи датчика тока:


Где Iя(max) - максимальный ток якоря по перегрузочной способности двигателя. Максимальный ток определяется по формуле:

А

Коэффициент передачи датчика напряжения:


Коэффициент передачи датчика скорости:


Рассчитаем коэффициенты датчиков в относительных единицах.

Коэффициент передачи датчика тока:


Коэффициент передачи датчика напряжения:


Коэффициент передачи датчика скорости:



6. Разработка системы управления электроприводом

.1 Выбор типа системы управления электроприводом

В методических указаниях рассматривается типовой вариант курсового проекта, в котором проектируется аналоговая система управления электроприводом. Система управления строится по принципу подчиненного регулирования координат.

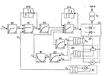
Рассмотрим функциональную схему системы управления электроприводом (рис. 6). Система управления электроприводом представляет собой двухконтурную систему автоматического регулирования (САР) скорости. Внутренним контуром системы является контур регулирования тока якоря, внешним и главным контуром - контур регулирования скорости.

Рисунок 6. Функциональная схема системы управления, электроприводом

Управляющим воздействием на объект управления (силовую часть электропривода) является напряжение Управления Uy, напряжение управления подается на вход системы импульсно-фазового управления тиристорного преобразователя, которая регулирует угол управления, т.е. фазу подачи управляющих импульсов на тиристоры.

Нелинейные элементы НЭ1 и НЭ2 предназначены для ограничения координат системы. Элемент НЭ1 ограничивает выходной сигнал регулятора тока, а следовательно, напряжение управления преобразователя и его выходную ЭДС. Элемент НЭ2 ограничивает выходной сигнал регулятора скорости, тем самым ограничивается сигнал задания тока и сам ток якоря.

.2 Расчет регулирующей части контура тока якоря

.2.1 Расчет параметров математической модели контура тока

Рассмотрим структуру и выполним расчет параметров модели контура тока, используя систему относительных единиц. Структурная схема контура тока представлена на puс.11. В контуре тока находятся звенья регулятора тока (РТ), фильтра (Ф), тиристорного преобразователя (ТП) и главной цепи (ГЦ). На структурной схеме фильтр показан внутри контура, что эквивалентно наличию фильтра в цепи задания и обратной связи (см. рис.7). Обратная связь по току при рассмотрении относительных величин принимается единичной. Па процессы в контуре тока влияет ЭДС якоря двигателя, которую можно считать возмущающим воздействием. При отсутствии ЭДС якоря (якорь неподвижен) в контуре тока можно рассматривать одно звено объекта управления с передаточной функцией:


Рисунок 7. Структурная схема контура регулирования тока якоря

Некомпенсируемую постоянную времени Т рекомендуется принять в пределах 0,004 - 0,01с.

При синтезе регулятора тока влияние ЭДС якоря не учитывается, Передаточная функция регулятора тока находится по условию настройки контура на модульный оптимум:


Получаем передаточную функцию ПИ-регулятора. Из этих формул следует, что параметры регулятора тока находятся по следующим формулам:


Контур регулирования тока при настройке на модульный оптимум описывается передаточной функцией фильтра Баттерворта 2-го порядка:


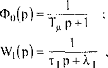
Влияние ЭДС якоря приводит к появлению статической ошибки по току, что ухудшает качество системы. Для компенсации данного влияния вводится положительная обратная связь по ЭДС якоря. Структурная схема контура тока с компенсацией ЭДС представлена на рис. 8. При выносе фильтра из контура он должен оказаться в цепи задания на ток (Ф1) в цепи обратной связи по току (Ф2) и в цепи обратной связи по ЭДС, где его удобно объединить с датчиком ЭДС. Таким образом, датчик ЭДС имеет небольшую инерционность, что является необходимым, т.к. безынерционный датчик ЭДС реализовать невозможно.

Рисунок 8. Структурная схема контура тока с компенсацией ЭДС

Компенсирующий сигнал УК подается на вход регулятора тока. а не непосредственно в точку действия ЭДС якоря (между звеньями ТП м ГЦ). Поэтому влияние звеньев регулятора тока преобразователя на прохождение компенсирующего сигнала необходимо устранить. Это достигается за счет включения в цепь обратной связи по ЭДС звена компенсации. Передаточная функция звена компенсации определяется по формуле:


Таким образом, звено компенсации является реальным дифференцирующим звеном. Параметры компенсации находятся по следующим формулам:


В результате компенсации ЭДС статическая ошибка по току устраняется.

ЭДС якоря двигателя недоступна для прямого измерения. Косвенный датчик ЭДС якоря использует сигналы тока и напряжения якоря. Связь между током, напряжением и ЭДС якоря следует из уравнения электрического равновесия для якорной цепи. В области изображений по Лапласу это уравнение имеет вид:


Реализовать датчик ЭДС в полном соответствии с формулой невозможно, т.к. требуется идеальное форсирующее звено. Поэтому внесем в датчик инерционное звено с постоянной времени . В результате уравнение датчика ЭДС принимает вид:


В статическом режиме формулы дают одинаковый результат. Уравнению  соответствует структурная схема датчика ЭДС, показанная на рис. 9. Также на рис. 9 показано звено компенсации.

Рисунок 9. Структурная схема датчика ЭДС и звена компенсации

В аналоговых системах автоматического управления электроприводами реализация регуляторов и других преобразователей сигналов осуществляется на базе операционных усилителей.

Принципиальная схема датчика ЭДС и звена компенсации тока показана на рис. 10. Фильтр в канале напряжения реализуется на элементах R12, R13, C6. Форсирующее звено в канале тока реализуется на элементах R10, R11, С3. Операционный усилитель DA 3 предназначен для суммирования сигналов в датчике ЭДС, что осуществляется путем суммирования токов I1 и I3. Звено компенсации выполнено на операционном усилителе DA 2, Элементы входной цепи и цепи обратной связи усилителя DA 2 R8,.R7,С4 обеспечивают реализацию свойств реального дифференцирующего звена.

Рисунок 10. Принципиальная схема датчика ЭДС и звена компенсации

На рис. 11 представлена структурная схема для абсолютных величин токов и напряжений, которая соответствует принципиальной схеме, показанной на рис. 10. При ее составлении было принято, что сопротивления R12 и R13 одинаковы.

Рис. 11. Структурная схема датчика ЭДС и звена компенсации для абсолютных величин

От структурной схемы для абсолютных величин перейдем к структурной схеме для относительных величин (рис. 12). На данной схеме показаны относительные коэффициенты датчиков напряжения и тока. При переходе от абсолютных величин к относительным величинам в передаточных функциях входных цепей операционных усилителей появляется сопротивление Rбр В передаточных функциях         цепей обратной связи операционных усилителей появляются обратные величины 1/Rбp

Рисунок 12. Структурная схема датчика ЭДС компенсации для относительных величин

Сопоставляя структурные схемы, показанные на рис. 9 и 12, получим соотношения между параметрами математической модели датчика ЭДС и звена компенсации в относительных единицах и параметрами элементов принципиальной схемы.

Необходимые коэффициенты передачи обеспечиваются при выполнении условий:


Требуемые значения постоянных времени обеспечиваются при выполнении условий:

Из записанных соотношений выразим и рассчитаем параметры элементов принципиальной схемы (сопротивления и емкости).


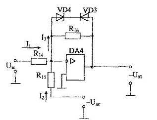
.2.2 Конструктивный расчет регулятора тока

На рис.13 показана принципиальная схема регулятора тока и его входных цепей. Регулятор тока выполнен на операционном усилителе DA1.Прдварительное включение в цепь обратной связи DA 1 сопротивления R1 и емкости С1 обеспечивает пропорционально-интегральный тип регулятора.

На входе усилителя DA 1 суммируются три сигнала приходящие по каналам задания на ток, обратной связи по току и по каналу компенсации ЭДС, путем суммирования токов I1 I2 и 13. В цепи задания на ток и в цепи Обратной связи по току установлены фильтры на элементах R2.R3.C2 и R4.R5 и С3 соответственно. Нелинейный элемент НЭ1 реализуется на стабилизаторах VD1 и VD 2.

Рисунок 13. Принципиальная схема регулятора тока и его входных цепей.

На рис. 14. представлена структурная схема для абсолютных величин токов и напряжений, которая соответствует принципиальной схеме, показанной на рис.13. При составлении структурной схемы предполагалось, что сопротивления R2 и R3 а также R4 и R5 одинаковы. От структурной схемы для абсолютных величин перейдем к структурной схеме для относительных величин (рис. 15)

Рисунок 14. Структурная схема регулятора тока и его входных цепей для абсолютных величин

Рис. 15. Структурная схема регулятора тока и его входных цепей для относительных величин

Составляя структурные схемы (см. рис. 8 и 15), получим, между параметрами математической модели регулирующей части контура тока в относительных единицах и параметрами принципиальной схемы.

Для обеспечения единичных коэффициентов передачи в каналах задания тока обратной связи по току и компенсации ЭДС должны выполняться условия:

Требуемые значения постоянных времени обеспечиваются при выполнении условий:


Из записанных соотношений выразим и рассчитаем параметры элементов принципиальной схемы (сопротивления и емкости).


.3 Расчет регулирующей части контура скорости

.3.1 Расчет параметров математической модели контура скорости

Однократная система автоматического регулирования скорости: анализ его свойств, методика синтеза регулятора скорости подробно рассмотрено в учебном пособии(5).

Рассмотрим структуру и выполним расчет параметров модели контура скорости, используя систему относительных едениц. Структурная схема контура регулирования скорости представлена на рис.26. Контур регулирования тока якоря при его настройке на модульный оптимум рассматриваем как одно звено с передаточной функцией (5). Контур скорости включает в себя звено регулятора скорости (РС), звено контура тока якоря (КТ), звено умножения на поток и звено механической части привода. Обратная связь по скорость при рассмотрении оптимальных величин принимаем единичной. На объект управления действует возмущающие воздействие - момент статического сопротивления, создаваемый нагрузкой на валу двигателя.

Рисунок. 16 Структурная схема контура регулирования скорости

При синтезе регулятора скорости считаем, что момент статического сопротивления равен нулю (режим идеального холостого хода двигателя). При условии mc=0 объект управления в контуре скорости


Передаточная функция регулятора скорости находится по условию настройки контура на модульный оптимум:


Получаем передаточную функцию П-регулятора. Коэффициент передачи регулятора скорости согласно (14)-(15) находится по формуле:


Однократная САР скорости является статической по возмущающему воздействию, поэтому в результате появления нагрузки на валу двигателя появляется статическая ошибка по скорости. Определим величину максимальной статической ошибки по скорости:


где mc - максимальный по модулю статический момент на валу двигателя в относительных единицах (см. нагрузочную диаграмму двигателя).


.3.2 Конструктивный расчет регулирующей части контура скорости

Принципиальная схема регулирующей части контура скорости представлена на рис.17. Регулятор скорости выполнен на операционном усилителе DA 4. Суммирование сигнала задания на скорость и сигнала обратной связи по скорости осуществляется путем суммирования токов I1 и I2. Включение в цепь обратной связи усилителя DA 4 сопротивления R16 обеспечивает пропорциональный тип регулятора. Стабилитроны VD 3, VD 4 регулируют нелинейный элемент НЭ2.

Рисунок 17. Принципиальная схема регулирующей части контура скорости

На рис. 18 показана структурная схема для абсолютных величин токов и напряжений, соответствующая принципиальная схема на рис. 21.

Рисунок 18. Структурная схема регулирующей части контура скорости для абсолютных величин

От структурной схемы для абсолютных величин перейдем к структурной схеме для относительных величин (рис. 19).

Рисунок 19. Структурная схема регулирующей части контура скорости для относительных единиц

Сопоставляя структурные схемы (16 и 19), получим соотношения между параметрами математической модели регулирующей части контура скорости в относительных единицах и параметрами элементов принципиальной схемы.

Для обеспечения единичных коэффициентов передачи в каналах задания скорости и обратной связи по скорости должны выполняться условия:


Для обеспечения требуемого коэффициента передачи регулятора скорости должно выполняться условие:


Из записанных соотношений выразим и рассчитаем сопротивления R14, R15 и R16.


.4 Расчет задатчика интенсивности

.4.1 Расчет параметров математической модели задатчика интенсивности

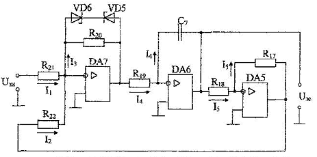
Задатчик интенсивности предназначен для формирования линейно изменяющегося во времени сигнала задания на скорость с определенным темпом. Структурная схема задатчика представлена на рис.20. Темп изменения выходного сигнала задатчика определяется уровнем ограничения Q нелинейного элемента (НЭ) и постоянной времени и интегратора (И).

Рис. 20. Структурная схема задатчика интенсивности

Определим параметры математической модели задатчика интенсивности в относительных единицах.

Темп задатчика:


Уровень ограничения нелинейного элемента (принимается): Q=0,9

Постоянная времени интегрирующего звена ЗИ:

Коэффициент передачи в линейного зоне нелинейного элемента (принимается): Кл=100

.4.2 Конструктивный расчет задатчика интенсивности

Принципиальная схема задатчика интенсивности представлена на рис. 21. Нелинейный элемент реализуется на операционном усилителе DA 7. Ограничение выходного сигнала обеспечивается за счет включения в цепь обратной связи усилителя DA 7, стабилитронов VD 5 и VD 6. Интегратор базируется на операционном усилителе DA 6. Емкость C7 в цепи в обратной связи операционного усилителя DA 6 определяет постоянную времени интегратора. Усилитель DA 5 предназначен для инвертирования сигнала, чтобы обеспечить отрицательную обратную связь, охватывающую нелинейный момент и интегратор (рис.24).

Рис21. Принципиальная схема задатчика интенсивности

На рис. 21 показана структурная схема для абсолютных величин токов опережений, соответствующая принципиальной схеме на рис. 20.

Рисунок 22.Структурная схема задатчика интенсивности для абсолютных величин

От структурной схемы задатчика интенсивности для абсолютных величин перейдем к структурной схеме для относительных величин (рис. 23).

Рисунок 23.Структурная схема задатчика интенсивности для относительных величин

Из сравнения структурных схем задатчика интенсивности (см.рис.20 и 23): получим соотношения между параметрами математической модели и параметрами элементов принципиальной схемы задатчика.


Для обеспечения требуемого коэффициента передачи в линейной зоне нелинейного элемента должно выполняться условие:


Остальные сопротивления в схеме задатчика должны быть таковы, чтобы обеспечить единичные коэффициенты передачи. Для этого должно выполняться следующие условие:


7. Основы теории систем подчиненного регулирования

Современные системы управления электроприводами строятся в большинстве случаев в виде многоконтурных систем подчиненного регулирования.

Рассмотрим теоретические положения, лежащие в основе синтеза структур, методов расчета и анализа свойств таких систем.

Обобщенная схема многоконтурной системы подчиненного регулирования

Регулирующая часть    | Силовая часть

Рис. 24. Обобщенная структурная схема многоконтурной системы подчиненного регулирования

В основе построения систем подчиненного регулирования (СПР) лежит определенное структурное представление объекта регулирования, т.е. силовой части электропривода. Обобщенная структурная схема многоконтурной СПР представлена на рис. 24

Объект регулирования представлен в виде цепи последовательно соединенных звеньев направленного действия, передаточные функции которых обозначены как

 i=1,……n

где n - количество звеньев модели объекта.

Разбиение модели объекта на звенья производится с таким расчетом, чтобы выходными величинами звеньев X1,... Хn оказались физические величины, представляющие интерес с точки зрения регулирования и контроля (ток якоря, скорость вращения двигателя, угол поворота вала и т.д.).

Регулирующая часть системы починенного регулирования строится следующим образом.

На входе объекта регулирования (или же на выходе регулирующей части) устанавливается фильтр, ограничивающий полосу пропускания системы и обеспечивающий ее помехозащищенность. Передаточная функция этого фильтра обычно представляется в виде:


где    - называется базовой или некомпенсируемой постоянной времени системы подчиненного регулирования.

.. Для каждой из регулируемых величин X1,...Xn

предусматривается замкнутая САР с регулированием по отклонению. Каждая САР снабжена индивидуальным регулятором, передаточная функция которого обозначается как


Таким образом, количество регуляторов СПР равно количеству регулируемых величин объекта.

Для формирования сигнала обратной связи в каждой из САР предусматривается датчик соответствующей регулируемой величины, передаточную функцию которого обозначим как


В первом рассмотрении примем =1

г.е. будем рассматривать систему с идеализированными датчиками, обеспечивающими безынерционные единичные обратные связи. Вопросы учета не идеальности датчиков будут служить предметом отдельного анализа, развивающего исходные принципиальные положения теории построения СПР.

Подобно звеньям объекта регуляторы соединяются между собой последовательно, но в обратном порядке по отношению к порядку связи звеньев объекта. Сигналы задания для каждой из регулируемых величин Х1...,Xn обозначены соответственно X1*……Xn*. Каждый последующий (по мере возрастания номера) регулятор вырабатывает задание для предыдущего регулятора. Так как в структуре САР можно выделить ряд последовательно вложенных друг в друга контуров, то общее название этих систем - многоконтурныс системы подчиненного регулирования.

Вследствие последовательной подчиненности регуляторов и образуемых с их помощью локальных САР регулируемые величины не равноценны между собой. Основной (главной) из них является величина х„, процессу регулирования которой подчиняются процессы регулирования всех остальных величин.

.2 Синтез регуляторов

Задача синтеза заключается в определении структуры и параметров контурных регуляторов. Синтез осуществляется по так называемой стандартной методике и заключается в следующем.

Синтез регуляторов производится последовательно, начиная с регулятора внутреннего контура (т.е. регулятора величины X1). После этого синтезируются регуляторы промежуточных контуров и, наконец, регулятор внешнего контура (регулятор величины Xn).

Каждый контурный регулятор выполняется в виде последовательного корректирующего устройства, обеспечивающего желаемые свойства данной локальной системы регулирования. Регулятор строится с таким расчетом, чтобы своим действием он:

компенсировал действие (и прежде всего, проявление инерционности) звена объекта, попадающего в данный контур;

обеспечивал астатизм системы по управляющему воздействию (т, е. равенство нулю установившейся ошибки САР при определенном типе управляющего воздействия).

обеспечивал оптимизацию процессов регулирования по выбранному критерию.

Рассмотрим более конкретно методику синтеза регуляторов и свойства контуров системы подчиненного регулирования.

Синтез регулятора первого контура и его свойства

Основой синтеза регулятора является расчетная схема САР величины X], изображенная на рис. 25

Регулятор Фильтр Звено объекта

Рис. 25. Расчетная схема системы регулирования величины X1

Здесь показана замкнутая система с регулированием по отклонению, элементами которой являются регулятор, фильтр и звено объекта. Передаточные функции этих элементов обозначаются соответственно как R1(p), Ф0(р) и W1(p). Датчик регулируемой величины X1 обеспечивает единичную обратную связь замкнутой САР.

В задаче синтеза регулятора заданной частью системы являются фильтр и звено объекта с передаточными функциями вида:


где Тμ - нскомпенсируемая постоянная времени, выбираемая

исходя из требуемого быстродействия и помехоустойчивости системы регулирования;

Т1p - параметры звена объекта, попадающего в первый контур регулирования.

Последняя формула описывает при основных типа звеньев объекта регулирования.

Если τ1>0 и λ1=0 то звено является апериодическим. В этом случае параметры звена объекта определяются как

λ1-1 - коэффициент усиления

τ1 λ1-1 - постоянная времени

.

Если τ1>0, λ1=0, то  т.е звено является интегрирующим

Если τ1=0, λ1>0, то  т.е звено является усилительным

К числу элементов САР с известными параметрами отнесем также датчик регулируемой величины. Напомним, что нами принято Di(p) = 1, т.е. рассматривается система с безынерционной единичной

обратной связью по величине X1.

Структура и параметры регулятора величины X1 выбираются исходя из решения трех перечисленных выше основных задач.

Для решения первой задачи (компенсации действия звена объекта методом последовательной коррекции) в структуру регулятора вводится звено, передаточная функция которого обратна по отношению к передаточной функции компенсируемого звена:

Итак, в структурном отношении регулятор состоит из двух частей: компенсирующей и интегрирующей.

Следующий этап синтеза регулятора заключается в определении его параметров, оптимизирующих процессы регулирования по некоторому критерию. Параметры компенсирующей части регулятора полностью определяются параметрами объекта. Поэтому единственным варьируемым параметром регулятора, который может быть использован для оптимизации процесса, является постоянная времени его интегрирующего звена Т1. Эту величину удобно выражать в долях от некомпенсируемой постоянной времени Tμ, используя коэффициент α1

Т1 = α1 Tμ

На рис. 26 показаны реакции САР на ступенчатое задающее воздействие при различных соотношениях постоянной времени интегрирующего звена регулятора и некомпенсируемой постоянной времени. При выборе коэффициента α1 <<l т.е. при Т1 <<Tμ реакция системы на типовое задающее воздействие протекает относительно быстро, но имеет сильно колебательный характер (кривая 1). При выборе α1>>1, т.е. Т1 >>Tμ переходный процесс протекает гораздо медленнее и носит апериодический характер (кривая 3). Оптимальным вариантом настройки регулятора считается такой, при котором α1 =2, то есть Т1= Tμ,

Рис. 26 Реакции САР на ступенчатое задающее воздействие при различных вариантах настройки регулятора

Этот вариант настройки регулятора по существу является компромиссным, удачно сочетающим достаточно высокую скорость протекания процесса с одной стороны и небольшое перерегулирование с другой (кривая 2 рис. 26). Такой вариант настройки системы носит специальное название; настройка на технический или модульный оптимум. Рассмотрим подробнее основные свойства системы, настроенной на модульный оптимум. С этой целью проведем эксперимент, схема которого и зображена на рис. 27

Рис.27. Схема эксперимента

Математически эксперимент описывается следующим образом. Пусть входной сигнал представляет собой единичную ступенчатую функцию времени:

*(t)=1(t)

Тогда при нулевых начальных условиях реакция САР описывается следующим выражением:

 

Рис. 28. График переходного процесса при настройке первой САР на модульный оптимум

График переходного процесса, характеризующего реакцию САР на скачок управляющего воздействия, изображен на рис. 28

Основные показатели переходного процесса при настройке системы на модульный оптимум следующие:

время первого согласования                             4.7T μ

время достижения максимума                          6.28 T μ

время достижения зоны 5%                                       4.1 T μ

отклонения время достижения зоны 1%          8 T μ

отклонения перерегулирование                         4.3 T μ

На практике эти показатели служат определенным стандартом, которому должна удовлетворять оптимально настроенная система.

Таким образом, оптимальная настройка регулятора обеспечивает переходный процесс с незначительным перерегулированием σ = 4.3% и реальной длительностью отработки задания (оцениваемой по времени достижения максимума) порядка 6.28 T μ.

Отсюда следует важный вывод о том, что благодаря компенсирующему действию регулятора быстродействие системы не зависит от параметров объекта регулирования и полностью определяется выбранной величиной базовой (некомпенсируемой) постоянной времени T μ. Поэтому величина T μ

может быть использована в качестве инструмента для достижения необходимого быстродействия САР при сохранении стандартного перерегулирования.

Для синтеза последующих регуляторов необходимо определение передаточной функции замкнутой системы регулирования величины как элемента, подчиненного следующему регулятору. Сначала найдем передаточную функцию разомкнутой системы:


В итоге получаем выражение, характеризующее стандартную передаточную функцию разомкнутой системы, настроенной на модульный оптимум:


Пользуясь известной из теории автоматического регулирования [5] формулой замыкания системы единичной отрицательной обратной связью


найдем передаточную функцию замкнутой системы, настроенной на модульный оптимум:


Это выражение можно представить в так называемой канонической форме


Она характеризует рассмотренную САР, как оптимально демпфированную систему второго порядка с постоянной времени Θ1 =  и коэффициентом демпфирования

8. Системы регулирования тока якоря

В структуре многоконтурной системы подчиненного регулирования система регулирования тока якоря является внутренней САР, непосредственно воздействующей на силовую часть электропривода как объект регулирования.

.1 Функциональная схема САР тока якоря

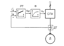
Рассмотрим сначала простейшую систему регулирования тока якоря двигателя, функциональная схема которой приведена на рис. 29

Рис. 29 Функциональная схема САР тока якоря

Здесь приняты следующие условные обозначения основных элементов системы:

РТ - регулятор тока якоря;

Ф - фильтр, ограничивающий полосу пропускания САР;

СПА - силовой преобразовательный агрегат;

ДТ - датчик тока якоря;

Д - двигатель постоянного тока независимого возбуждения.

Условные обозначения сигналов:я* - заданный ток якоря:- фактический гок якоря; - управляющее воздействие на входе СПА.

.2 Синтез регуляторов тока якоря


Рис. 30. Математическая модель Сар тока якоря

Типовая методика синтеза ориентирована на трехзвенную структуру прямого тракта САР. Поэтому для данной системы звено объекта имеет следующую передаточную функцию по управлению:


Особенность звена объекта состоит в том, что оно подвержено действию не только прямой связи с регулятором тока, но и внутренней обратной связи объекта по ЭДС якоря двигателя. Иными словами, структура объекта в данном случае не полностью соответствует идеализированной структурной схеме рис. 25. В первом приближении пренебрежем влиянием внутренней обратной связи по ЭДС. Кроме того, будем считать, что в цепи обратной связи но току используется безынерционный датчик с коэффициентом передачи Кдт = 1.

Согласно типовой методике передаточная функция регулятора тока якоря


где Тi=2Тμ, что соответствует условию настойки САР на модульный оптимум.

В итоге получаем регулятор тока со следующей передаточной функцией:


Данной передаточной функции соответствует следующая структурная схема регулятора:

Рис 31 Структурная схема регулятора тока

Таким образом, в результате применения стандартной методики получен регулятор тока ПИ - типа.

Использованная стандартная методика не учитывает влияния ЭДС двигателя на процессы регулирования тока. Однако в действительности такое влияние объективно существует, поскольку ток в цепи якоря зависит не только от ЭДС силового преобразовательного агрегата, но и от противо-ЭДС двигателя. В структуре математической модели силовой части это влияние отражается внутренней обратной связью по ЭДС двигателя. Рассмотрим подробнее вопросы учета внутренней обратной связи по ЭДС при синтезе САР тока якоря.

.3 Анализ свойств САР тока якоря

Предположим сначала, что вал двигателя заторможен, то есть ω = 0. Очевидно, что при этом ЭДС якоря двигателя ед = φ. Пусть на вход САР тока якоря подается ступенчатый сигнал задания

Наблюдение ведется за фактическими значениями тока iя. Для определения реакции САР на данное воздействие найдем сначала передаточную функцию разомкнутой, а затем замкнутой системы.


Полученные выражения совпадают с выражениями рассмотренных ранее стандартных передаточных функций первого (внутреннего) контура обобщенной структурной схемы СПР.

Следовательно можно утверждать, что реакция САР тока на внешние воздействия должна соответствовать стандартам, принятым для первой системы, настроенной на модульный оптимум.


Такой результат мы действительно получим в том случае, если вал двигателя заторможен. При незаторможенном состоянии двигателя реакция САР тока на скачок задания вызывает разгон двигателя под действием развиваемого им электромагнитного момента, который пропорционален току якоря. С ростом скорости пропорционально увеличивается ЭДС двигателя. Вследствие влияния ЭДС реакция САР тока будет отличаться от стандартной (кривая 1 рис, 33.). Здесь же для сравнения приведена кривая 2 изменения тока при заторможенном состоянии двигателя, которая соответствует принятому стандарту.

Анализ реакции системы с учетом влияния ЭДС показывает, что установившееся значение тока якоря определяется формулой:

Из формулы видно, что установившееся значение тока меньше, чем установившееся значение задания. Таким образом, вследствие влияния ЭДС двигателя система регулирования тока со стандартным ПИ-регулятором, синтезированным без учета влияния ЭДС, теряет астатизм по управляющему воздействию.

Данное явление объясняется (см. рис. 33) непрерывным увеличением скорости и соответственно величины противо-ЭДС незаторможенного двигателя. Ток якоря зависит как от ЭДС преобразователя, так и от ЭДС двигателя. Поэтому компенсация влияния на ток якоря непрерывно растущей величины ЭДС двигателя в принципе возможна лишь путем соответствующего непрерывного увеличения ЭДС преобразователя. Для этого требуется непрерывное увеличение выходного сигнала регулятора тока. Такое увеличение сигнала регулятора тока в установившемся режиме в принципе возможно лишь за счет действия его интегральной части при наличии ненулевой установившейся ошибки на его входе. Именно поэтому, несмотря на наличие в структуре регулятора интегральной компоненты, возникает определенное установившееся рассогласование между заданным и фактическим значениями тока якоря. Иными словами, в условиях непрерывного изменения ЭДС двигателя ресурсы интегральной части регулятора полностью расходуются на поддержание постоянства тока. На полную ликвидацию установившейся ошибки по току их уже не достаточно.

Установившаяся ошибка САР тока зависит от соотношения параметров Тм и Tj. Как следует из формулы, при одном и том же значении Тм ошибка будет тем меньше, чем меньше Tj. Поэтому повышение быстродействия регулятора тока обеспечивает улучшение точности САР.

При одном и том же значении Tj ошибка будет тем меньше, чем больше Тм, т.е. чем более инерционна электромеханическая система, медленнее изменяется во времени скорость и соответственно ЭДС.

При благоприятном соотношении параметров (при Тм>> Tj) переходный процесс незначительно отличается от стандартного и поэтому типовой

ПИ-регулятор тока оказывается приемлемым.

При неблагоприятных соотношениях параметров различие процессов регулирования тока при заторможенном и незаторможенном состояниях двигателя может оказаться недопустимо большим. В этом случае применяют усовершенствованные САР тока, реализующие принцип комбинированного регулирования.

Заключение

В настоящее время отмечается непрерывный рост парка лифтов при устойчивой тенденции поиска новых конструктивных решений, отражающих требования рынка и научно-технические достижения в различных отраслях промышленности.

Совершенствуются организационные формы и технические средства службы эксплуатации лифтов. Серьезное внимание уделяется вопросам повышения производительности и качества монтажных работ.

Жесткая конкуренция на внутреннем и мировых рынках, расширяющийся спектр потребностей заказчиков лифтового оборудования, служат хорошим стимулом поиска более эффективных технических решений.

Можно отметить следующие основные тенденции развития лифтостроения.

Совершенствование конструкции всех систем оборудования лифта с целью снижения уровня шума и вибрации в здании и в кабине лифта.

Расширение сферы применения наружной установки лифтов в углублении наружных стен жилых и административных зданий башенного типа.

Повышение надежности устройств, обеспечивающих безопасное применение лифтов.

Совершенствование систем привода и расширение области применения привода переменного тока с тиристорным и амплтудно-частотным управлением.

Совершенствование систем управления на основе достижений промышленной электроники и микропроцессорной техники.

Расширение масштабов применения гидравлических лифтов плунжерного типа с канатными мультипликаторами в зданиях малой и средней этажности.

Комплексное решение проблем внутреннего транспорта зданий и сооружений на основе комбинированного применения лифтов, многокабинных подъемников, эскалаторов и пассажирских конвейеров.

Широкое использование методов унификации и стандартизации с целью повышения качества изготовления, снижения стоимости массового производства и эксплуатационных затрат.

Расширение практики модернизации действующего лифтового оборудования.

Повышение эффективности системы технического обслуживания лифтов на основе применения современных методов компьютерной обработки информации и управления в сочетании с внедрением микропроцессорной системы самодиагностики лифтового оборудования.

Совершенствование технологии изготовления лифтового оборудования на основе роботизации производственных процессов.

Повышение эффективности и качества монтажа лифтового оборудования на основе совершенствования технологии и механизации трудоемких процессов.

В последнее время наметилась устойчивая тенденция к применению частотно-регулируемых электроприводов в лифтах как в нашей стране, так и за рубежом. Это обстоятельство объясняется следующим. Использование регулируемых приводов в лифте позволяет значительно повысить показатели комфортности работы лифта из-за эффективного ограничения ускорений и рывков. При этом пассажиры практически не ощущают движения. В свою очередь, обеспечиваемые частотно-регулируемым приводом плавные переходные процессы приводят к значительному снижению динамических нагрузок в элементах кинематической цепи привода, что позволяет повысить надежность и долговечность работы механического оборудования лифта, исключает необходимость частой замены редуктора, канатоведущего шкива, тормозных колодок, электродвигателя и элементов подвески противовеса при эксплуатации лифта. Причиной, определившей широкое применение регулируемого привода в лифтах, является снижение энергопотребления на 40... 60 % [18], которое достигается в основном значительным снижением момента инерции лебедки главного привода за счет удаления маховика с ведущего вала.

Применение ППЧ позволяет использовать в лифтах односкоростные асинхронные двигатели с короткозамкнутым ротором общего назначения. Маховый момент ротора таких двигателей на порядок меньше аналогичных лифтовых двухскоростных двигателей, а стоимость их в 3 - 4 раза ниже по сравнению с двухскоростными.

Таким образом, экономический эффект от внедрения частотно-регулируемого электропривода в лифтах складывается из экономии электроэнергии и снижения эксплуатационных затрат.

Список использованной литературы

1. Чиликин М.Г., Сандлер А.С. Общий курс электропривода: Учеб. для вузов.- 6-е изд., доп. и перераб.- М.: Энергоатомиздат, 1981.- 576 с.

. Томашевский Н.И. и др. Типовые задания к курсовому проекту по основам электропривода - Свердловск: Изд-во Свердл. инж.-пед. ин-та, 1989. - 48 с.

. Евзеров И.Х. и др. Комплектные тиристорные электроприводы: Справ.; Под. ред. В.М. Перельмутера.- М.: Энергоатомиздат, 1988. - 319 с.

. Шрейнер Р.Т. Системы подчиненного регулирования электроприводов. Ч. 1: Электроприводы постоянного тока с подчиненным регулированием координат: Учеб. пособие для вузов. - Екатеринбург: Изд-во Урал. гос. проф.-пед. ун-та, 1997.- 279 с.

. Прайс-лист НПО «Электропроект» от 28.04.2004г. (www.elp.ru)

. Савицкая Г.В. Методика комплексного анализа хозяйственной деятельности: Краткий курс.-М.:ИНФРА-М, 2003.

. ГОСТ 12.1.019-79. Электробезопасность. Общие требования и номенклатура видов защиты. М.: Издательство стандартов, 1998. - 48 с.

. Правила устройства электроустановок. 7-е изд., - М.: Энергоатомиздат, 2008 - 648 с.

. ГОСТ 12.4.011-89 Средства защиты работающих. Общие требования и классификация. http://vsegost.com/Catalog/11/11167.shtml

. ГОСТ 22011 - 95 Лифты пассажирские и грузовые. Технические условия.

. Чуватов А.Б., Бойков Р.Р. Внедрение энергосберегающих технологий при модернизации лифтового оборудования //Подъемно-транспортное оборудование. - 2000. - № 2. - С. 11 -12.

Похожие работы на - Модернизация электропривода грузового лифта грузоподъемностью 2 тонны

 

Не нашли материал для своей работы?
Поможем написать уникальную работу
Без плагиата!
Без нейросетей!