Модернизация парогенератора ПГВ-1000М энергоблока АЭС с ВВЭР-1000
Введение
парогенератор атомный электростанция
контур
Ядерная энергетика является важной и
неотъемлемой частью мировой экономики. В настоящее время в 26 странах мира
действуют 434 ядерных энергоблока, которые вырабатывают более 14% всей
электроэнергии в мире. Основными предпосылками быстрого роста ядерной
энергетики являются, во-первых, высокая калорийность ядерного топлива (примерно
в 2×106 раза
выше, чем органического топлива). Поэтому на основе ядерной энергетики можно
развивать энергетическую базу районов, лишенных собственных запасов
энергетического сырья, без увеличения затрат на его доставку. Во-вторых малое,
в условиях нормальной эксплуатации, загрязнение окружающей среды. При сжигании
органического топлива расходуется огромное количество кислорода и происходит
выброс продуктов сгорания в окружающую среду.
Суммарное производство
электроэнергии на АЭС в год в настоящее время эквивалентно сжиганию на ТЭС-550×106 тонн угля или 320×106 тонн нефти. ТЭС электрической мощностью 1000 МВт
потребляет в год 3×106
тонн угля, производя при этом 7×106
тонн углекислого газа, 120×103
тонн диоксида серы, 20×103
тонн оксидов азота и 750×103
тонн золы. Накопление в атмосфере диоксида углерода и ряда других продуктов
сгорания уже к 2030 году может привести к парниковому эффекту и глобальному
росту температуры на 1,5-4,5 К, в результате уровень мирового океана поднимется
на 0,8-1,7 м. В этих условиях становится очевидно необходимость строительства
АЭС /1, 9, 15/.
1.
Основные характеристики района сооружения АЭС
Необходимо спроектировать АЭС на
средней Волге. Условия работы электрической системы и входящих в ее состав
электростанций определяются режимом электропотребления района.
На рисунке 1 показан
график электрических нагрузок. Так как АЭС работает в базовой части графика, то
продолжительное время АЭС работает на номинальном режиме. Всего в году данная
АЭС работает 7673 часов, из них 2304 часов - на пониженной нагрузке (
).
Остальное время в году - профилактика.
2.
Предварительное технико-экономическое обоснование модернизации ПГ энергоблока
АЭС
Оценка эффективности инвестиционного
проекта осуществляется по следующим показателям:
Чистый дисконтированный доход (ЧДД)
определяется как сумма текущих (годовых) эффектов за весь расчетный период,
приведенная к начальному шагу, или как превышение интегральных результатов
(доходов) над интегральными затратами (расходами).
ЧДД вычистяется по формуле:
где
-
издержки на ремонт до модернизации на
шаге расчета;
Ир_посл
- издержки на ремонт после модернизации на t-том
шаге;
Т - продолжительность
расчетного периода или горизонт расчета (принимается по согласованию с
руководителем проекта);
- коэффициент
дисконтирования
Е - норма дисконта,
равная приемлемой для инвестора норме дохода на капитал (принимается по
рекомендации консультанта);
t
- номер шага расчета, как правило, по годам, начиная с момента начала
осуществления проекта (строительства, монтажа и др.);
Дисконтированные
капиталовложения:
где Кt - капиталовложения на t-том
шаге.
Если интегральный эффект
(ЧДД) проекта положителен, проект является эффективным (при заданной норме
дисконта). Чем больше ЧДД, тем эффективнее проект.
Индекс доходности (ИД)
представляет собой отношение суммы приведенных эффектов к величине
капиталовложений
Если ИД > 1, то
проект эффективен, если ИД < 1 - неэффективен.
Внутренняя норма
доходности (ВНД) представляет собой ту норму дисконта
,
при которой величина приведенных эффектов равна приведенным капиталовложениям.
Иными словами
(ВНД)
является решением уравнения:
Если расчет
интегрального эффекта (ЧДД) проекта дает ответ на вопрос, является он
эффективным или нет при заданной норме дисконта Е, то ВНД проекта определяется
в процессе расчета и затем сравнивается с требуемой инвестором нормой дохода на
вкладываемый капитал. В случае, когда ВНД равна или больше требуемой инвестором
нормы дохода на капитал, капиталовложения в данный проект (вариант проекта)
оправданы.
Срок окупаемости -
минимальный временной интервал (от начала осуществления проекта), за пределами
которого интегральный эффект (ЧДД) становится неотрицательным. Иными словами
это - период (измеряемый в городах или месяцах), после которого первоначальные
вложения и другие затраты покрываются суммарными результатами (доходами) его
осуществления.
Оценка эффективности
инвестиционного проекта
Расчет затрат на
материалы
Затраты основных
материалов по модернизации парогенератора ПГВ-1000М составили (Таблица 2.1):
Таблица 2.1. Расшифровка
материальных затрат
|
п/п
|
Наименование материалов и покупных изделий
|
Ед. изм.
|
Расход на изд.
|
Действ. цена в руб.
|
Затраты на изд. по действующим ценам
|
|
1
|
Сталь сортовая нержавеющая
|
кг
|
162,66
|
68,33
|
11114,56
|
|
2
|
Сталь толстолист. ряд марок
|
-
|
4450,1
|
12,59
|
56045,21
|
|
3
|
Сталь лист. констр. 10ГН2МФА
|
-
|
153,7
|
20,42
|
3138,55
|
|
4
|
Сталь лист. констр. углеродистая
|
-
|
95,3
|
12,50
|
1191,25
|
|
5
|
Сталь лист. нержавеющая г/к
|
-
|
133,15
|
62,50
|
8321,88
|
|
6
|
Сталь лист. нержавеющая х/к
|
-
|
160,31
|
68,33
|
10953,37
|
|
7
|
Трубы катанные нерж.
|
-
|
5,88
|
183,33
|
1077,98
|
|
8
|
Трубы катанные нерж. ЭПХ
|
-
|
101,11
|
316,64
|
32018,50
|
|
9
|
Трубы т/ст нерж. ЭПХ
|
-
|
365
|
458,33
|
167290
|
|
10
|
Трубы т/ст нерж. бесшовные
|
-
|
291,84
|
233,33
|
68095
|
|
11
|
Уайт-спирит
|
-
|
8,7
|
5,17
|
44,98
|
|
12
|
Ткань х/б
|
м.кв
|
104
|
25
|
2613,75
|
|
13
|
Аргон
|
м.куб
|
401
|
16,56
|
6640,56
|
|
14
|
Электроды вольфрамовые
|
кг
|
0,5
|
775,00
|
387,50
|
|
15
|
Проволока св 80ГС
|
-
|
183,2
|
19
|
3480,80
|
|
16
|
Проволока св 04Х19Н11М3
|
-
|
18,1
|
105,00
|
1900,5
|
|
17
|
Электроды нерж.
|
-
|
355,4
|
150,00
|
53306
|
|
18
|
Швеллер
|
кг
|
241,98
|
8,50
|
2056,83
|
|
19
|
Прочие материалы
|
|
|
|
4149,88
|
|
20
|
Итого материалов
|
|
|
|
441238
|
|
21
|
Итого возвратных отходов
|
|
|
|
3049
|
Сос.м=441238 [руб.]
Затраты на покупные полуфабрикаты
составили (Таблица 2.2):
Таблица 2.2. Покупные полуфабрикаты
|
п/п
|
Наименование материалов и покупных изделий
|
Ед.изм.
|
Расход на изд.
|
Действ. цена в руб.
|
Затраты на изд. всего
|
|
1
|
Поковка 320.630.10.02.001 22К
|
кг
|
35,4
|
18,20
|
644,28
|
Сп.ф.=644 [руб.]
Транспортно-заготовительные расходы
составили 9% от расхода основных материалов:
Ст.з=(Сос.м + Сп.ф)∙0.09=(441238+644)
∙0.09=39769 [руб.]
Всего затраты основных материалов за
вычетом отходов составили:
См= Сос.м+ Сп.ф+
Ст.з-Св.отх=441238+644+39769-3049=478602 [руб.]
Расчет численности
работающих по категориям
Расчет основных рабочих, участвующих
в модернизации ПГ:
где Тд - трудоемкостьдр
- действующий фонд рабочего времени одного работающего
Списочная численность:
где к=1,1 - коэффициент,
учитывающий не выходы на работу по уважительной причине:
Кроме основных рабочих,
непосредственно принимают участие в модернизации вспомогательные рабочие, ИТР и
служащие.
Численность
вспомогательных рабочих определяется, укрупнено в размере 28-32% от численности
основных рабочих:
Численность
инженерно-технических работников и служащих укрупнено, может быть определенно в
размере 8-12% от численности всех рабочих (основных и вспомогательных):
Общая численность
работающих на модернизации ПГ:
Расчет фонда заработной
платы
Основная заработная
плата производственных рабочих отражает заработную плату рабочих и
инженерно-технических работников, непосредственно участвующих в модернизации
ПГ:
Таблица 2.3
|
п/п
|
Наименование показателей
|
Ед. измерения
|
Значение
|
Примечания
|
|
1
|
Численность принятая для расчета человек
|
чел.
|
28
|
|
|
Средняя заработная плата одного работающего
|
|
2
|
Минимальная тарифная ставка рабочего первого разряда
|
руб.
|
4500
|
|
|
3
|
Средняя ступень оплаты труда (средний разряд работ)
|
6,2
|
|
|
4
|
Тарифный коэффициент
|
1,8044
|
|
|
5
|
Среднемесячная тарифная ставка
|
руб.
|
8120
|
4500* 1,8044
|
|
6
|
Доплата к тарифу за условия труда и др. выплаты предусмотрены
К30Т РФ Всего На человека
|
% руб.
|
18 1461,6
|
8120*18%
|
|
7
|
Текущее премирование - средний % премирования по положению - на
чел. к тарифу
|
% руб.
|
50 4790,8
|
(8120+1461,6)*50%
|
|
8
|
Выплата вознаграждений за выслугу лет Годовой стажевой коэффициент
выслуги лет - в% к тарифу - на человека
|
% руб.
|
1,36 11,33 919,996
|
8120*11,33%
|
|
9
|
Итого расчетная средняя зарплата пром. произв. персона. на чел.
в месяц
|
руб.
|
15292,4
|
8120+1461,6+4790,8+919,996
|
ЗПосн=Зср.м∙28 чел.∙3
мес
где Зср.м - средняя месячная
заработанная плата одного производственного работающего.
ЗПосн=15292,4∙28∙3=1284561,6
[руб.]
К дополнительной заработной плате
относятся оплата очередных и дополнительных отпусков, компенсации за
неиспользуемый отпуск, оплата перерывов в работе кормящих матерей, оплата за
время, использованное работником на выполнение государственных и общественных
обязанностей, и другие выплаты, предусмотренные трудовым законодательством, за
не проработанное на производстве время. Дополнительная заработная плата укрупнено
берется 9% от основной заработной платы.
ЗПдоп=ЗПосн∙0,09=1284561,6∙0,09=115610,544
[руб.]
В случае превышения заработной платы
работников над нормативной, для последующих расчетов берется нормативная
заработная плата с пересчетом превышения.
Отчисления на социальные нужды
определяются:
Зотч=(ЗПосн+ ЗПдоп) ∙0,262=(1284561,6+115610,544)
∙0,262=366845,1 [руб.]
Расчет
общепроизводственных расходов
Расчет общепроизводственных расходов
состоит из расходов на содержание и эксплуатацию оборудования, в которые входят
затраты:
износ оборудования на полное
восстановление
ремонт оборудования
потребление электроэнергии
Расходы на содержание и эксплуатацию
оборудования составят:
Сэо=Си+ Ср+ Сэ+ Ссом
Износ оборудования на полное
восстановление начисляется по нормам с учетом нагрузки и числа часов работы
оборудования.
Начисления амортизации производится
по группам основных фондов ежемесячно.
Где
- среднегодовая стоимость ПГ.год - годовая норма амортизационных отчислений
(3,3%).
Си=3078000∙0,033/12∙3=25394
[руб.]
Затраты на ремонт
оборудования:
Где Nр - коэффициент,
учитывающий затраты на ремонты и осмотры (30% годовых).
Ср=3078000∙0,3/12∙3=230850
[руб.]
Затраты на использование
электроэнергии:
Сэ=1044140/12∙3∙0,8
=208828 [руб.]
Сэо=25394+230850+208828
=465072 [руб.]
Расчет общехозяйственных
расходов
К общехозяйственным
расходам относятся основная и дополнительная зарплата всего
административно-управленческого персонала, расходы на все служебные
командировки того же персонала, подъемные при перемещении, сюда же относятся
канцелярские, почтово-телеграфные расходы, расходы по содержанию легкового
транспорта, кроме того входят расходы по содержанию пожарной, военизированной и
сторожевой охраны, а также отчисления на содержание вышестоящих организаций.
К общехозяйственным
расходам относятся расходы по содержанию зданий, сооружений и инвентаря
общехозяйственного характера. Также относятся расходы по подготовке кадров, по
набору рабочей силы, по производственной практике студентов. Также учитываются
расходы по уплате налогов и т.д.
Расчет общехозяйственных
расходов берем по сложившимся расходам (160%) по отношению к основной
заработной плате:
Собщ/хоз= ЗПосн∙1,6=1284561,6∙1,6=2055298,56
[руб.]
Итого затраты по
модернизации ПГ составили:
С=См+Ст.з+Сотх+ЗПосн+ЗПдоп+Зотч+Сэо+Собщ/хоз=478602+
39769+3049+1284561,6+115610,544
+366845,1 +465072+2055298,56 = 4808807,804 [руб.]
Расчет прибыли
На статью «Прибыль» списываются
штрафы, пени и неустойки, полученные и уплаченные за нарушение договорных
обязательств, штрафы за простой транспорта и др. штрафы за нарушение правил.
В затратах учтена прибыль исходя из
рентабельности к себестоимости в размере 20%.
Затраты берем методом укрупненного
калькулирования
П=С∙20%
П=4808807,804 ∙0,2=961761,56
[руб.]
Всего затрат по модернизации ПГ
составили:
З=С+П
З=961761,5608+4808807,804 =5770569,36
[руб.]
КАЛЬКУЛЯЦИЯ
На модернизацию парогенератора
ПГВ-100М
Таблица 2.4
|
п/п
|
Наименование статей
|
Сумма в рублях
|
|
1
|
Сырье и основные материалы
|
441238
|
|
2
|
Покупные и комплектующие изделия, полуфабрикаты и услуги
подрядных организаций
|
644
|
|
Итого: материалов и полуфабрикатов
|
441882
|
|
3
|
Транспортно-заготовительные расходы
|
39769
|
|
4
|
Возвратные отходы
|
3049
|
|
Итого: за вычетом отходов
|
478602
|
|
5
|
Основная зарплата
|
1284561,6
|
|
6
|
Дополнительная зарплата
|
115610,544
|
|
7
|
Отчисления на социальное страхование
|
366845,1
|
|
8
|
Общепроизводственные расходы
|
574902
|
|
9
|
Общехозяйственные расходы
|
2055298,56
|
|
10
|
Внепроизводственные расходы
|
1782360
|
|
11
|
Полная себестоимость
|
4808807,804
|
|
12
|
Прибыль 20%
|
961761,56
|
|
Итого: затраты
|
5770569,36
|
Расчет экономического
эффекта
За счет модернизации уменьшились
расходы на ремонт коллектора т.е. затраты на ремонт коллектора составили:
Зр.к=12130347 [руб.] (382299 руб.∙1,67∙19)
,67 - коэффициент перевода цен к
ценам 1982 года.
- рыночный коэффициент.
При модернизации был демонтирован
жалюзийный сепаратор ПГВ-1000, т.е. расход материалов уменьшился на сумму
Зж.с=42945 [руб.] (629,1 [кг])
Тогда стоимость ремонта
парогенератора до модернизации составит:
Ир_до= Зр.к + Зр.пг=
12130347+1235800= 13366147 [руб.]., где
Зр.пг - затраты на плановый ремонт
парогенератора в ППР
Стоимость ремонта ПГ после
модернизации составит:
Ир_посл= Ир_до - Зр.к -
Зж.с=13366147-12130347-42945=1192855 [руб.].
В результате модернизации
межремонтный срок увеличился в 2,5 раза;
Индекс доходность проекта:
Внутренняя норма доходности:
Таблица 2.5
|
Е
|
0.16
|
0.20
|
0.40
|
0.60
|
0.80
|
|
ЧДД, Млн. руб.
|
21,14
|
15,19
|
11,07
|
1,8
|
-1,35
|
-2,85
|
3.
Теплотехнологические расчёты, подтверждающие работоспособность, надежность и
эффективность эксплуатации энергоблока АЭС
3.1 Выбор
основного оборудования
Основным оборудованием станции
являются: реакторная установка, турбоустановка, электрогенераторы и
трансформаторы.
В реакторную установку двухконтурной
АЭС входят: реактор, парогенераторы, циркуляционные трубопроводы с главными
запорными задвижками, циркуляционные насосы, ряд вспомогательных систем
(компенсации давления, аварийные, дренажные, очистки воды первого контура).
Таблица 3.1 Основные характеристики
серийной реакторной установки ВВЭР-1000
|
Наименование
|
Величина
|
|
Мощность, [МВт] Электрическая Тепловая
|
1000 3200
|
|
КПД брутто, %
|
33
|
|
Расход воды через реактор, [м3/час]
|
76000
|
|
Число петель главного реакторного контура, [шт.]
|
4
|
|
Среднее обогащение топлива, %
|
3,3-4,4
|
|
Средняя глубина выгорания топлива, [МВт*сут/кг]
|
26-40
|
|
Средняя удельная энергонапряженность активной зоны, [МВт/м2]
|
115
|
|
Средняя плотность теплового потока, [МВт/м2]
|
0,545
|
|
Давление в корпусе реактора, [МПа]
|
16
|
|
Температура воды на входе в реактор, [°С]
на выходе из реактора, [°С]
|
289 322
|
|
Скорость воды в активной зоне, [м/с]
|
5,3
|
|
Диаметр и высота корпуса, [м]
|
4,5х10,85
|
|
Диаметр и толщина оболочек ТВЭЛов, [мм]
|
9,1х0,65
|
|
Число ТВЭЛов в кассете, [шт.]
|
320
|
|
Число кассет в активной зоне, [шт.]
|
163
|
Система компенсации объема
предназначена для создания давления при пуске, поддержания постоянного давления
в первом контуре, необходимого при нормальной эксплуатации реактора, и
ограничения его отклонений, вызываемых изменениями температурного режима
контура охлаждения.
Главный циркуляционный насос
предназначен для создания циркуляции теплоносителя в замкнутом контуре. ГЦН
состоит из насоса, выносного электродвигателя и вспомогательных систем с
механическим уплотнением вала. Для АЭС с ВВЭР-1000 используется ГЦН-195М. Он
устанавливается на «холодной» нитке петли реакторного контура. ГЦН работают в
режиме параллельной работы четырех насосов при номинальных параметрах
теплоносителя.
Таблица 3.2 Основные параметры
ГЦН-195М
|
Параметр
|
Значение
|
|
Подача насоса, [м3
/час]
|
20000
|
|
Температура теплоносителя, [°С]
|
300
|
|
Давление на всасе, [МПа]
|
15,6
|
|
Расчетное давление, [МПа]
|
18,0
|
|
Расчетная температура, [°С]
|
350
|
|
Напор насоса, [МПа]
|
0,675
|
|
Частота вращения, [1/с]
|
16,7
|
|
Номинальное напряжение электродвигателя, [В]
|
6000
|
|
Расход воды промежуточного контура, [м3/с]
|
Более 0,015
|
|
Протечки запирающей воды в контур, [м3/ч]
|
0,6
|
|
Температура запирающей воды, [°С]
|
Менее 70
|
|
Высота, [мм]
|
11500
|
|
Габаритные размеры, [мм]
|
4700х5000
|
Парогенератор ПГВ-1000М предназначен
для выработки насыщенного пара давлением 64 [кгс/см2] с влажностью 0,2% при
температуре питательной воды 220 0С (в режиме без ПВД 164 ± 4) в составе
энергоблока АЭС с водо-водяным энергетическим реактором ВВЭР-1000 (РУ В-320) и
является составной частью циркуляционного контура. Парогенераторы ПГВ-1000 и
ПГВ-1000М изготавливались на двух заводах: ЗИО (завод им. Орджоникидзе, г.
Подольск) и ПО «Атоммаш» (г. Волгодонск).
Конструктивное исполнение
парогенератора ПГВ-1000М было принято исходя из следующих основных требований к
парогенераторам АЭС:
технологическая отработанность
конструкции (освоенность производства);
обеспечение надежного расхолаживания
реактора при минимальных разностях высотных отметок между реактором и
парогенератором;
обеспечение охлаждения теплоносителя
первого контура до требуемого уровня температур во всех проектных режимах;
обеспечение резервирования подачи
питательной воды в ПГ по отдельной линии;
габаритные размеры обеспечивают
транспортировку по железным дорогам;
соединения элементов и деталей ПГ
должны обеспечивать плотность, исключающую возможность перетечек из одного
контура в другой (регламентный предел протечек 5 [л/час]).
Указанные выше требования и
определили конструкцию парогенератора. Парогенератор ПГВ-1000 - горизонтальный,
однокорпусный, с погруженной в воду 2 контура трубчатой поверхностью
теплообмена и встроенными паросепарационными устройствами, системой раздачи
питательной воды, паровым коллектором, с погруженным дырчатым листом, системой
раздачи аварийной питательной воды.
В состав парогенератора входят
следующие сборки, поставляемые отдельно от него: две опоры, один паровой
коллектор, одна труба с проставышем, комплекты: закладных деталей, контрольных
монтажных соединений и монтажных частей.
Существует два варианта исполнения
ПГ, различающихся ориентацией парового коллектора относительно коллекторов
первого контура: ПГ 3,4 - выход пара со стороны «холодного» коллектора, ПГ 1,2
- выход пара со стороны «горячего» коллектора. Это связано с различной
ориентацией парогенераторов относительно турбинного отделения.
Парогенераторы размещены попарно (N2
и N3, N1 и N4) в боксах герметичного объема и установлены каждый на две
подвижные опорные конструкции. Для предотвращения динамических перемещений
(например, при землетрясении) парогенераторы раскреплены с помощью
гидроамортизаторов.
Масса парогенератора с опорами в
сухом виде - 694 т, масса парогенератора без опор - 322 [т]. Масса
парогенератора с опорами, полностью заполненного по I и II контурам - 842 [т]
(без учета теплоизоляции).
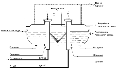
Рис. 3.1. Схема включения
парогенератора ПГВ-1000М в технологическую схему РУ с ВВЭР-1000 (В-320)
Рис. 3.2. Принципиальное устройство
ПГВ-1000
Конструкция парогенератора с восемью
гидроамортизаторами разработана с учетом землетрясения до 9 баллов и работы в
условиях тропического климата.
Парогенератор состоит из следующих
элементов и основных узлов:
корпуса;
поверхности теплообмена (трубного
пучка);
«горячего» и «холодного»
коллекторов;
сепарационного устройства
жалюзийного типа;
устройства раздачи основной
питательной воды;
устройства раздачи аварийной
питательной воды;
устройства выравнивания паровой
нагрузки (дырчатый лист);
опорных конструкций и
гидроамортизаторов;
устройства измерения уровня в ПГ;
системы продувок и дренажа.
Рис. 3.3 Парогенератор ПГВ-1000
в разрезе
- жалюзийный сепаратор; 2 -
раздающие трубы питательной воды; 3 - трубный пучок; 4 - входной коллектор 1-го
контура; 5 - выходной коллектор 1 контура; 6 - погружной дырчатый лист (ПДЛ); 7
- трубы отвода сепарата; 8 - штуцер воздушника 2-го контура; 9 - пароотводящие
трубы;
Таблица 3.3 Основные характеристики
парогенераторов ПГВ-1000:
|
Наименование
|
Величина
|
|
Тепловая мощность на 1 ПГ, [мВт]
|
750
|
|
Число ПГ на 1 реактор
|
4
|
|
Электрическая мощность на 1 ПГ, [мВт]
|
250
|
|
Паропроизводительность, [т/час]
|
1470
|
|
Расход теплоносителя 1 к через ПГ [т/час] при: работе на 4-х
петлях при работе на 2-х петлях
|
21200 26000
|
|
Длина, [мм]
|
13,84
|
|
Объем воды 1 контура в ПГ, [м3]
|
20,5
|
|
Сопротивление ПГ по 1 контуру при ном. Расходе, [кгс/см2]
|
1,25
|
|
Сопротивление ПГ по 2 контуру при ном. Параметрах, [кгс/см2]
|
1,1
|
|
Скорость теплоносителя в трубках,[м/сек]
|
4,89
|
|
Скорость выхода пара с зеркала испарения, [м/сек]
|
0,42
|
|
Влажность пара на выходе из ПГ, не более%
|
0,2
|
|
Средняя длина теплообменной трубки, [м]
|
11,1
|
|
Число/диаметр теплообменных труб, [мм]
|
11000/16х1,5
|
|
Поверхность нагрева, [м2]
|
6115
|
|
Удельный тепловой поток (средний), [кВт/ м2]
|
123
|
|
Объем воды для заполнения ПГ до рабочего уровня, [м3]
|
81,5
|
|
Объем воды для полного заполнения по 2 контуру, [м3]
|
127
|
|
Внутренний диаметр корпуса,
[м]
|
4000
|
|
Толщина корпуса в средней части /на днищах, [мм]
|
145/120
|
|
Материал корпуса и коллекторов
|
сталь 10ГН2МФА
|
|
Материал теплообменных труб
|
сталь 08Х18Н10Т
|
|
Материал коллектора питательной воды
|
сталь 20
|
Корпус парогенератора ПГВ-1000 -
сварной цилиндрический сосуд, воспринимает давление 2 контура. Корпус
парогенератора включает в себя цилиндрическую часть, состоящую из 3-х обечаек
различной толщины и эллиптические днища. На обоих днищах корпуса имеются люки
для осмотра и ремонта внутрикорпусных устройств парогенератора. В верхней части
корпуса имеются патрубки для отвода генерируемого пара, патрубки для подвода
питательной воды и люки для доступа к уплотнениям коллекторов теплоносителя.
Длина корпуса парогенератора 13840
[мм], внутренний диаметр 4000 [мм], толщина стенок корпуса в средней части -
145 [мм], на концевых участках - 105 [мм], толщина стенок днищ - 120 [мм]. В
корпусе парогенератора имеются:
десять патрубков Ду350, расположены
в верхней части корпуса, служит для отвода насыщенного пара;
штуцер Ду100, расположен в средней
нижней части, служит для отвода котловой воды в линию дренажа;
патрубок Ду400, расположен в
центральной верхней части, служит для подвода питательной воды;
два штуцера Ду80, расположены снизу
в крайних частях, служат для отвода котловой воды в линию продувки;
патрубок Ду100, расположен на днище
симметрично люку Ду500, служит для подвода аварийной питательной воды;
два штуцера Ду20, расположены по одному
на каждом люке Ду800, предназначены для контроля плотности фланцевых соединений
2 контура;
два штуцера Ду20, воздушники 2
контура, расположены по одному на каждом люке Ду800;
двадцать штуцеров Ду20, расположены
на корпусе и днищах, предназначены для присоединения линий КИП;
два люка Ду500, расположены по
одному на каждом эллиптическом днище, предназначены для доступа в объем 2
контура ПГ;
два штуцера Ду20, расположены по
одному на каждом люке Ду500, предназначены для контроля плотности фланцевых
соединений 2 контура.
В нижней части корпуса вварены
переходные патрубки Ду1200 для приварки коллекторов теплоносителя 1 контура: -
«горячего» и «холодного». Коллекторы расположены симметрично относительно
вертикальной оси ПГ на расстоянии 1150 [мм] от нее в продольном и на 890 [мм] в
поперечном направлении. Коллекторы 1 контура выполнены из легированной
конструкционной стали. Внутренняя поверхность коллекторов, включая крышки
фланцевых разъемов, плакирована антикоррозионной наплавкой из нержавеющей
стали. Коллекторы по принятой технологии изготовления имеют кольцевой сварной
шов, который при номинальных условиях эксплуатации парогенератора находится
выше уровня котловой воды в ПГ. Каждый коллектор имеет:
переходное кольцо Ду850 для входа
(выхода) теплоносителя и соединения с главным циркуляционным трубопроводом;
штуцер Ду20 для непрерывной
продувки;
два штуцера Ду10, воздушник и
контроль плотности фланцевого соединения 1 контура.
Как уже было указано, корпус в
средней части сварен с двумя вертикальными коллекторами первого контура,
предназначенными для соединения с 11000 теплопередающих труб, согнутых в
U-образные змеевики. Змеевики изготавливаются методом холодной гибки и согласно
принятой технологии впоследствии термически не обрабатываются и в них
сохраняются напряжения, полученные в результате наклепа (согласно пояснительной
записки ОКБ «» Гидропресс» 320.05.00.00.000 ПЗ). Поэтому для исключения
коррозионных повреждений в котловой воде ПГ нормируется содержание примесей и
при превышении удельной загрязненности трубного пучка более 150 [г/ м2]
необходимо проведение химической отмывки парогенератора.
Змеевики скомпонованы в два
U-образных пучка, что обеспечивает самокомпенсацию разных температурных
удлинений корпуса и труб, и имеют по три вертикальных коридора шириной около
200 [мм] для обеспечения организованной гидродинамики циркулирующей котловой
воды. Змеевики изготавливаются из труб, не имеющих сварного шва на длине трубы.
Применены трубы с внутренней электрохимполированной и наружной шлифованной
поверхностями с дополнительным контролем качества ультразвуком. Максимальная
развернутая длина змеевика составляет 15,1 [м], минимальная - 10,1. Трубки в
пучках размещены в шахматном порядке с шагами 19 мм по высоте и 23 [мм] по
ширине. Верхний ряд труб расположен на 190 [мм] выше поперечной оси
парогенератора.
Трубный пучок с элементами
дистанционирования и крепления занимает около 78% площади части поперечного
сечения корпуса, ограниченной сверху последним рядом труб пучка. В соответствии
с формой поперечного сечения пучка труб число змеевиков в горизонтальных рядах
изменяется; оно максимально в первых (верхних) рядах и уменьшается по мере
увеличения номера ряда. В парогенераторе ПГВ-1000 для ВВЭР-1000 число змеевиков
уменьшается от 120 (верхние ряды) до 16 (нижний ряд). Высота трубного пучка -
2,2 метра.
В целях унификации изделий по
применяемым материалам в проекте для коллекторов I контура была принята та же
сталь, что и для корпуса ПГ. Для надежной обварки концов нержавеющих труб
внутренняя поверхность коллекторов, включая крышки фланцевых разъемов,
плакирована антикоррозионной аустенитной наплавкой (1-й слой - ЗИО-8, 2-й слой
- ЭА 898/21Б).
Концы змеевиков на ПГ, изготовленных
до 1990 года, заделаны в отверстиях коллектора по взрывной технологии путем
обварки их торцов с антикоррозионным покрытием внутренних полостей
аргоно-дуговой сваркой и последующей вальцовкой на всю глубину заделки в
коллектор методом взрыва.
Концы змеевиков на ПГ, изготовленных
с 1990 года, заделаны в отверстиях коллектора методом гидрораздачи и
механической довальцовки выходного участка. Торцы змеевиков сварены с
антикоррозионной наплавкой коллектора аргоно-дуговой сваркой.
Змеевики дистанционируются в трубном
пучке специальными элементами, которые в свою очередь закреплены в опорных
конструкциях, расположенных на корпусе ПГ. Дистанционирующие элементы
представляют собой волнообразные полосы в сочетании с промежуточными плоскими
планками. Дистанционирующие элементы изготовлены из стали 08Х18Н10Т. С учетом
более высоких скоростей теплоносителя в трубках и пара в межтрубном
пространстве в конструкции ПГВ-1000М для увеличения жесткости конструкции
теплообменного пучка увеличено количество опор и дистанционирующих элементов
пучка по сравнению с ранее спроектированными конструкциями парогенераторов для
ВВЭР-440.
Теплоноситель из реактора поступает
в «горячий коллектор, проходя внутри теплопередающих труб, отдает тепло воде 2
контура, выходит в «холодный» коллектор и далее на всас ГЦН. Питательная вода
по трубопроводу Ду400 через коллектор питательной воды с раздаточными лучами
подается на «горячую» часть теплообменного пучка ПГ, чем достигается частичное
выравнивание паровой нагрузки по сечению парогенератора за счет конденсации
части пара.
Циркуляция воды 2 контура в ПГ -
естественная. Пар, выходя с зеркала испарения (со скоростями порядка 0,42
м/сек), осушается в паровом объеме между зеркалом испарения и входным сечением
жалюзийных сепараторов за счет гравитационных сил (первая ступень сепарации) и
поступает в жалюзийный сепаратор (вторая ступень сепарации), где дополнительно
осушается до необходимой степени (влажность пара должна быть не более 0,2%).
Отсепарированный конденсат
собирается в корыто и отводится системой трубок под уровень воды. Осушенный пар
выходит из парогенератора через 10 паровых патрубков Ду350. Патрубки с помощью
переходников и гнутых труб Ду200 объединены в общий паровой коллектор Ду600, по
которому пар подается на турбину.
Для равномерного распределения
пароводяной смеси по паровому объему парогенератора применен погруженный дырчатый
лист (ПДЛ), который представляет собой набор листов с отверстиями диаметром 13
[мм], установленных на металлической раме. Расположен он на расстоянии 260 [мм]
от верхнего ряда труб теплопередающей поверхности, живое сечение дырчатого
листа для прохода пара составляет около 5%. Конструктивный материал
изготовления дырчатого листа - сталь 12Х18Н10Т толщиной 6 [мм]. Для стока воды
со щита между корпусом и щитом (вдоль него) оставлены проходы шириной 150 [мм].
По всему периметру к щиту приварены листы шириной 700 [мм] (иногда их называют
«закраинами»), препятствующие выходу пара из межтрубного пространства через
проходы для воды. Закраины изготовлены из нержавеющей стали толщиной 8 [мм].
При заполнении парогенератора
котловой водой уровень ее устанавливается примерно на расстоянии 100 [мм] над
погруженным дырчатым листом. Расчетная высота зеркала испарения над дырчатым
листом в зоне максимальных паровых нагрузок (над входным участком трубного
пучка) равна 340 [мм].
В верхней части коллектора 1 контура
имеется фланцевый разъем Дy500 с плоской крышкой для осмотра и ремонта сварных
соединений приварки теплообменных труб к плакирующему слою внутренней
поверхности коллектора. Разъем снабжен плоской крышкой с вытеснителем из стали
10ГН2МФА. Поверхность крышки, обращенная в сторону теплоносителя первого
контура и плоскость разъема плакированы нержавеющей сталью. В парогенераторах
ПГВ-1000 расточки под прокладки выполнены не на плоской крышке (как на ПГВ-1000
V блока НВАЭС) а на торцевой поверхности коллекторов первого контура. Крышка с
вытеснителем также выполняет роль дросселирующего устройства, предназначенного
для уменьшения проходного сечения до Дy100 и ограничения истечения
теплоносителя 1 контура во второй при отрыве крышки коллектора.
Для доступа к этому люку предусмотрен
люк с отверстием Дy800 и эллиптической крышкой на корпусе ПГ. Для доступа в ПГ
со стороны 2 контура на эллиптических днищах корпуса ПГ имеются 2 люка Дy500 в
разъемными фланцевыми соединениями. Уплотнения всех фланцевых соединений
выполнены при помощи 2-х никелевых прокладок (шестимиллиметровых) с
организацией контроля плотности межпрокладочной полости. Контроль выведен на
фрагменты РМОТ БЩУ.
Устройство раздачи основной
питательной воды состоит из трубопроводов, коллекторов и раздающих труб, имеющих
по своей длине «лучи» для выхода питательной воды. К патрубку питательной воды
через проставыш с трубой присоединен коллектор Dy 400, расположенный в паровом
объеме парогенератора, разветвляющийся на две раздающие трубы Dy 250,
расположенные над погруженным дырчатым листом. Материал устройства подвода
питательной воды - конструкционная углеродистая сталь, устройств раздачи
питательной воды - нержавеющая хромо-никелевая сталь
Конструкция патрубка выполнена таким
образом, что труба подвода питательной воды непосредственно не соприкасается с
корпусом ПГ. Это предотвращает возникновение температурных напряжений, в том
числе и переменных, в корпусе ПГ в месте прохода трубы.
Питательная вода по проекту ПГВ-1000
подается на «горячую» сторону трубного пучка в верней его части под погружной
дырчатый лист через 16 раздающих коллекторов Ду80, каждый из которых соединен с
32 раздающими трубками Ду20, имеющими по своей длине отверстия для выхода
питательной воды.
Подвод аварийной питательной воды
осуществляется через специальный патрубок с проставышем Ду100 на эллиптической
днище ПГ, к которому присоединен раздающий коллектор Ду80, смонтированный над
трубопроводом основной питательной воды Ду250. Вода подается через 38
перфорированных трубок Ду25 в паровую часть корпуса ПГ. При обесточивании АЭС
или падении уровня в ПГ по отдельной магистрали подается аварийная питательная
вода из баков ТХ10,20,30В01 с температурой от 5 до 45 градусов С и создает
условия для расхолаживания до давления в 1 контуре до 15 кгс/см2. Однако нужно
помнить, что подача аварийной питательной воды с температурой ~ 25 0С в горячий
ПГ с t 280 0С вызывает крайне негативные воздействия «теплового удара» и
допустима лишь в крайних случаях. В условиях нормальной эксплуатации следует
избегать подпитки ПГ по линии аварийной питательной воды во избежание выработки
его ресурса.
Снаружи корпус ПГ покрыт тепловой
изоляцией. Тепловая изоляция парогенератора предназначена для снижения тепловых
потерь от ПГ в окружающую среду (гермообъем) и удовлетворяет требованиям
Главного Конструктора РУ.
Особенностью конструкции коллекторов
ПГ является осевая несимметричность зоны перфорации, что обусловлено уровнями
размещения теплообменных трубок в принятых габаритах корпуса парогенератора.
Эта несимметричность образует вдающийся в поле перфорации клин
неперфорированного металла. Конструкция и технология изготовления обоих
коллекторов одинакова. Разница между ними - в рабочей температуре: горячего
коллектора - 320 градусов С, холодного - 290 при температуре воды во 2 контуре 279
градусов С. Из-за разной длины теплообменных трубок температура холодного
коллектора по периметру отличается на 7 градусов С. Перлитная сталь 10ГН2МФА,
из которой изготавливают коллекторы, более прочная, что удовлетворяем условиям
транспортабельности по железной дороге. Предполагалось также, что будут
исключены проблемы хлоридного растрескивания теплообменных трубок под
напряжением. Фактически реализованный по взрывной технологии (которая
применялась вплоть до 1990 года) на заводах-изготовителях ПГ узел заделки
трубок в стенки коллектора показан на рисунке далее в ходе пособия. Фактическая
глубина недовальцованного участка при этом оставила ~ 20 [мм]. Техническими
условиями на ПГВ-1000М установлены: проектный срок службы 30 лет, а также
требования к эксплуатации: водно-химический режим, номенклатуры и число циклов
нагружения. Конструкция ПГВ-1000М обоснована комплексом расчетно-теоретических
и экспериментальных работ и одобрена к применению в составе энергоблоков с
ВВЭР-1000.
В состав турбоустановки входят турбоагрегат
и вспомогательное теплообменное оборудование: конденсаторы, регенеративные
подогреватели, деаэратор, конденсатный, питательный и циркуляционный насосы.
Таблица 3.4 Основные характеристики
турбины К-1000-60/1500-2
|
Характеристика
|
Значение
|
|
Электрическая мощность, [МВт]
|
1000
|
|
Давление свежего пара, [МПа]
|
5,88
|
|
Температура свежего пара, [°С]
|
274,3
|
|
Давление пара после промперегрева, [МПа]
|
1,14
|
|
Температура перегрева, [°С]
|
250
|
|
Число отборов на регенерацию, [шт.]
|
7
|
|
Давление отработавшего пара, [МПа]
|
0,0039
|
|
Число выхлопов ЦНД, [шт.]
|
6
|
|
Температура питательной воды, [°С]
|
223
|
|
Расчетный удельный расход теплоты, [кДж/кВт*ч]
|
10600
|
|
Начальная степень сухости, %
|
99,5
|
|
Расход пара на турбину, [т/ч]
|
6160
|
|
Общая масса турбины, [т]
|
|
|
Длина турбины, [м]
|
50,7
|
|
Средний диаметр последней ступени, [м]
|
4,15
|
|
Влажность пара после турбины, %
|
13,0
|
Паровая конденсационная турбина
К-1000-60/1500 с начальным давлением пара 5,88 МПа предназначена: для
непосредственного привода генератора переменного тока ТВВ-1000-4УЗ с частотой
вращения ротора 25 1/с; для работы на АЭС в блоке с реактором ВВЭР-1000 по
моноблочной схеме; для базовой нагрузки, нормального и аварийного регулирования
нагрузки энергосистемы.
Турбина представляет собой
одновальный агрегат, состоящий из четырех цилиндров: 1 ЦВД + 3 ЦНД.
Парораспределение - дроссельное. К-1000 выполнена без регулируемых отборов
пара, с сепарацией и однократным двухступенчатым перегревом (отборным свежим
паром).
.2 Расчет тепловой схемы
станции на номинальном режиме
Исходные данные:
. Электрическая мощность турбины
1000 МВт;
. Начальные параметры пара:
давление 6 МПа
степень сухости 99,5%;
. Параметры пара после
промперегрева:
давление 0.93 МПа
температура 262 °С;
. Температура питательной воды 224 °С;
. Давление пара в конденсаторе 0,004
МПа
Принципиальная тепловая схема блока
представлена на рис. 3.4
Построение процесса работы
расширения пара в турбине в h-s - диаграмме (см. рис. 3.5):
Для определения состояния пара в
ступенях турбины и в СПП строим процесс расширения пара.
Параметры пара в точке 0:
Приняв потери давления в
паровпускных клапанах в размере 3% от давления свежего пара, получаем давление
пара перед ЦВД:
Энтальпия пара в конце
изоэнтропного процесса расширения:
Энтальпия пара в конце
действительного процесса расширения может быть найдена по формуле:
Принимаем потери давления пара в СПП
равными 7%, тогда давление:
Энтальпия пара в конце
изоэнтропного процесса расширения:
Энтальпия пара в конце
действительного процесса расширения:
Построение процесса
расширения пара в приводной турбине питательного насоса.
Параметры пара перед
стопорным клапаном турбины:
Давление в конденсаторе турбины:
КПД турбины:
Энтальпия пара в конце
действительного процесса расширения:
Расчет параметров воды и
водяного пара в характерных точках системы регенеративных подогревателей
По известным давлениям
в
отборах на регенерацию определяем давления в соответствующих регенеративных
подогревателях:
где
-
относительные потери давления в трубопроводах регенеративных отборов. Принимаем
.
По таблицам свойств воды
и водяного пара определяем температуру насыщения:
.
Температура нагреваемой
воды на выходе из j-го подогревателя
находится по формуле:
;
где
-
недогрев воды до температуры насыщения.
Принимаем:
для ПВД
;
для ПНД
.
Энтальпия конденсата на
выходе из конденсатора:
C
учетом нагрева воды в конденсатных насосах энтальпия воды на входе в ПНД №1:

где
-
нагрев основного конденсата в конденсатных насосах, кДж/кг;
- нагрев основного
конденсата в охладителях основного эжектора, эжектора уплотнений и в
сальниковом подогревателе, кДж/кг. Принимаем нагрев равным 30 кДж/кг.
.
где
-
средний удельный объем воды, м 3/кг;
- давление воды на
выходе из конденсатных насосов, МПа;
;
Рк - давление в
конденсаторе, МПа.
- КПД насоса. Принимаем
равным 0.8;
.
Энтальпия питательной
воды на входе в ПВД №6:
,
где
-
энтальпия питательной воды на выходе из деаэратора, кДж/кг;
- нагрев воды в
питательных насосах, кДж/кг
.
где
-
давление на выходе из питательных насосов, МПа;
;
.
Энтальпия воды на выходе
из j - го поверхностного подогревателя определяется по таблицам
термодинамических свойств воды и водяного пара:
Энтальпия дренажа для
ПНД определяется как энтальпия кипящей воды при давлении греющего пара в
подогревателе:
.
Энтальпия дренажа из
сепаратора:
Энтальпия дренажа из ППI:
Энтальпия дренажа из ППII:
Энтальпия пара после
сепаратора:
Энтальпия пара после ПП:
Доля расхода питательной воды в
парогенератор бПВ определяется из уравнения материального баланса парогенератора:
бПВ
= бПГ = б0+ бупл
+ бут + бэж = 1 + 0.005 + 0.005 + 0.01 = 1.02
Определяем доли расхода греющего
пара на элементы тепловой схемы:
Уравнение теплового и материального
баланса для сепаратора:
;
Уравнение теплового и материального
баланса для пароперегревателя 1-ой ступени:
;
- КПД теплообменника.

Уравнение теплового и материального
баланса для пароперегревателя второй ступени:
;
Уравнение материального и теплового
баланса для ПВД-1:
Уравнение материального и теплового
баланса для ПВД-2:
.
Уравнение материального
и теплового баланса для деаэратора:
Расчет доли расхода
отработавшего пара на турбопривод:
- механический КПД
насоса.
Расчет долей расхода
греющего пара на ПНД:
Расчет точки смешения
№1:
Уравнение материального
и теплового баланса для ПНД - 4:
;
Уравнение материального
и теплового баланса для ПНД - 5:
;
Уравнение материального
и теплового баланса для точки смешения №1:
С помощью метода
итераций (метода последовательного приближения) решим систему уравнений с тремя
неизвестными:
первоначально задаемся
значениями
,
;
рассчитываем доли
отборов пара на ПНД-4;
уточняем значения
,
;
если полученные данные
отличаются от ранее принятых, то перезадаемся
значениями
,
и
производим аналогичный повторный расчет.
Расчет точки смешения
№2:
Уравнение материального и теплового
баланса для ПНД - 6:
;
Уравнение материального
и теплового баланса для ПНД - 5:
;
Уравнение материального
и теплового баланса для точки смешения №1:
С помощью метода
итераций (метода последовательного приближения) решим систему уравнений с тремя
неизвестными:
первоначально задаемся
значениями
,
;
рассчитываем доли
отборов пара на ПНД-6;
уточняем значения
,
;
если полученные данные
отличаются от ранее принятых, то перезадаемся значениями
,
и
производим аналогичный повторный расчет.
Расчет удельной работы
пара в турбине:
Определяем расход пара в
голову турбины:
- КПД машинный и
генератора.
- КПД машинный.
- КПД генератора.
Погрешность расчетов
составит:
- номинальный расход
пара.
.
3.3 Выбор
вспомогательного оборудования
Процесс конденсации пара,
отработавшего в турбине, осуществляется в конденсационной установке при
постоянном давлении за счет нагрева охлаждающей воды, температура которой ниже
температуры насыщения пара.
Конденсационное устройство состоит
из конденсаторной группы, конденсатных насосов и воздухо-удаляющего устройства.
Конденсаторная группа состоит из
трех конденсаторов подвального типа, что обеспечивает более простую компоновку
турбоагрегата. Конденсаторы снабжены устройством для очистки трубок резиновыми
шариками.
Таблица 3.6 Характеристики
конденсатора турбины К-1000-60/1500
|
Характеристика
|
Значение
|
|
Типоразмер конденсатора
|
К-33160
|
|
Температура охлаждающей воды, °С
|
15
|
|
Давление в паровом пространстве, кПа
|
3,9
|
|
Расход охлаждающей воды, м3/ч
|
169800
|
|
Число ходов воды, шт.
|
2
|
|
Масса конденсатора без воды, т
|
1890
|
|
Площадь поверхности охлаждения, м2
|
3х33160
|
После конденсаторов основной
конденсат при помощи конденсатных насосов направляется в систему регенерации.
Турбоустановка обслуживается двумя группами насосов. Первая группа (три
КсВА-1500-120) подает конденсат через эжекторную группу на обессоливающую
установку (1850 м3/ч конденсата при напоре 95 м). Вторая группа (три
КСА-1500-240-2а) содержит 3 насоса второй ступени, которые подают 1850 м3/ч
конденсата при напоре 170 м каждый от обессоливающей установки через
регенеративные подогреватели в деаэратор.
Регенеративная установка
предназначена для подогрева питательной воды паром, отбираемым из
нерегулируемых отборов турбины, и имеет четыре ступени подогревателей низкого
давления, две ступени подогревателей высокого давления и деаэратор.
Подогреватели низкого давления -
поверхностного типа, вертикальные, с нижним расположением водяной камеры. ПНД
№1 выполнен в трех, а ПНД №2 - в двух корпусах, включенных параллельно по пару,
питательной воде и дренажам. ПНД №3,4 выполнены однокорпусными.
Слив конденсата пара в ПНД -
двухкаскадный. Конденсат греющего пара из ПНД №4 сливается в ПНД №3, откуда
сливным насосом КСВ-630-125 откачивается в линию основного конденсата между ПНД
№4 и №3. Из ПНД №2 дренаж сливается через охладитель дренажа №2 в ПНД №1,
откуда сливным насосом КСВ-360-160 откачивается в линию основного конденсата.
Таблица 3.7 Основные характеристики
ПНД (Завод - изготовитель ПОТКЗ)
|
Типоразмер
|
Площадь поверхности теплообмена, м2
|
Номинальн. массов. расход воды, кг/с
|
Расчетн. тепловой поток, МВт
|
Max температура пара, °С
|
Высота, мм
|
Диаметр корпуса, мм
|
Масса сухого подогр., т
|
Масса заполннного водой, т
|
|
ПН-1200-25-6-IА (ПНД №7)
|
1180
|
311,4
|
34,7
|
200
|
9640
|
2050
|
47,5
|
81
|
|
ПН-1200-25-6-IIА (ПНД №6)
|
1215
|
370,8
|
43,5
|
200
|
9653
|
2050
|
47,0
|
76,5
|
|
ПН-3000-25-16-IIIА (ПНД №5)
|
3000
|
1112,5
|
176,5
|
200
|
10542
|
3060
|
98,9
|
165
|
|
ПН-3000-25-16-IVА (ПНД 4)
|
3000
|
1448,3
|
115,8
|
200
|
10542
|
3060
|
99,3
|
165
|
Подогреватели высокого давления -
поверхностного типа с трубной системой из спиральных змеевиков. Каждый
подогреватель размещен в двух корпусах, включенных параллельно по пару,
питательной воде и дренажам.
Конденсат греющего пара из ПВД №7
сливается в ПВД №6, из которого направляется в деаэратор.
Таблица 3.8 Основные характеристики
ПВД (Завод-изготовитель ПО ТКЗ)
|
Типоразмер
|
Площадь поверхности теплообмена, м2
|
Номин. массовый расход воды, кг/с
|
Расчетн. теплов. поток, МВт
|
Max температура пара, °С
|
Высота, мм
|
Диаметр корпуса, мм
|
Масса сухого подогревателя, т
|
Масса заполнен ного водой, т
|
|
ПВ-2500-97-10А (ПВД №5)
|
2500
|
908
|
161
|
184,7
|
14090
|
3272
|
159,7
|
254,7
|
|
ПВ-2500-97-18А (ПВД №6)
|
2500
|
908
|
182
|
216
|
14090
|
3272
|
159,7
|
254,6
|
|
ПВ-2500-97-28А (ПВД №7)
|
2500
|
908
|
204
|
230,9
|
14090
|
3300
|
175,6
|
270,6
|
Деаэрация питательной воды
осуществляется в двух деаэраторах ДП-3200 (2х1600/185) повышенного давления,
произведенных БКЗ. Деаэраторы включены параллельно по воде и греющему пару. На
каждом деаэраторном баке установлено по две вертикальные деаэраторные колонки,
рассчитанные на деаэрацию в каждой по 1600000 кг/ч питательной воды.
Таблица 3.9. Основные характеристики
ДП-3200
|
Характеристика
|
Значение
|
|
Номинальная производительность колонки, т/ч
|
1600
|
|
Рабочее давление, МПа
|
0,7
|
|
Рабочая температура, °С
|
164,2
|
|
Диаметр колонки, мм
|
3442
|
|
Масса колонки, т
|
19,75
|
|
Полезная емкость бака - аккумулятора, м3
|
120
|
|
Емкость бака - аккумулятора, м3
|
185
|
|
Масса деаэратора, т
|
39,74
|
Питательная установка блока включает
в себя две группы насосов. Каждая из них состоит из бустерного ПД-3750-200 и
основного ПТ-3750-100.
Таблица 3.10. Основные
характеристики ПТ-3750-100
|
Характеристика
|
Значение
|
|
Подача, м3/ч
|
3750
|
|
Напор, м
|
1000
|
|
Частота вращения, об/мин
|
3500
|
|
Тип и мощность привода
|
К-12-10П
|
|
КПД насоса, %
|
81,5
|
Приводом основного питательного
насоса является паровая турбина К-12-10П. Она же приводит в действие через
понижающий редуктор бустерный насос. Пар для питания приводной турбины берется
из горячей нитки промперегрева.
Предвключенный (бустерный) насос
типа ПД-3750-200 (центробежный, горизонтальный с рабочим колесом двухстороннего
входа).
Промежуточный перегрев пара
осуществляется в двухступенчатом сепараторе - промперегревателе,
предназначенном для удаления влаги и перегрева пара, поступающего в ЦНД.
Таблица 3.11. Основные
характеристики турбопривода К-12-10П
|
Характеристика
|
Значение
|
|
Номинальная мощность, МВт
|
11,6
|
|
Номинальная частота вращения, 1/с
|
58,33
|
|
Диапазон изменения частоты вращения, 1/с
|
41,3-58,3
|
|
Параметры перед стопорным клапаном: Давление, МПа Температура, °С
|
0,97 248
|
|
Давление в конденсаторе, кПа
|
5,88
|
|
Температура охлаждающей воды, °С
|
22
|
|
Расход пара через стопорный клапан, кг/с
|
19,11
|
Табл.3.12 . Основные характеристики
бустерного насоса ПД-3750-200
|
Характеристика
|
Значение
|
|
Расход, м3/ч
|
3815
|
|
Напор, м.вод. ст.
|
214
|
|
Температура перекачиваемой воды, °С
|
Не более 165
|
|
Давление на входе, МПа
|
0,71
|
|
Мощность, кВт
|
2435
|
|
Число оборотов, об/мин
|
1800
|
СПП выполнен четырехкорпусным.
Каждый корпус представляет собой единую конструкцию, состоящую из
сепарационного устройства и ступеней перегрева. Отсепарированная влага подается
насосом из СПП в деаэратор. Конденсат греющего пара 1-й и 2-й ступеней
перегрева направляется в ПВД №6 и №7 соответственно.
Испарительная установка
предназначена для упаривания стоков ХВО, БОУ, АОУ. Оборудование испарительной
установки состоит из предочистки и трех испарителей поверхностного типа.
4.
Основные компоновочные решения оборудования 2-го контура
В главном корпусе АЭС располагается
основное технологическое оборудование - реактор, парогенератор, турбина,
конденсаторы, электрогенераторы и все вспомогательное оборудование,
непосредственно связанное с ними.
Компоновка главного корпуса
подчинена основному принципу подразделения на зоны. К зоне строго режима
относятся центральная часть зала с реактором и смонтированным на нем
оборудованием, шахты перезагрузки и выдержки, а также помещения, в которых
расположены оборудование и проходят трубопроводы первого контура с
радиоактивным теплоносителем.
К зоне свободного режима относят
операторные, щитовые и другие помещения, предназначенные для постоянного
пребывания людей. Машинный зал двух и трех контурных АЭС относят к зоне
свободного режима, а одноконтурных - строгого режима.
Компоновка оборудования в главном
здании 2-го контура (также как и 1-го) АЭС должна предусматривать и
обеспечивать:
Надежную безаварийную эксплуатацию
оборудования и выполнение специальных санитарных норм проектирования и
эксплуатации АЭС;
Удобство эксплуатации с наименьшим
числом эксплуатационного персонала;
Возможность проведения ремонтных
работ в короткие сроки с высоким качеством;
Удобство монтажа оборудования и
механизацию всех основных работ;
Наиболее целесообразную связь между
цехами главного здания с другими объектами станции и с подъездными путями.
Оборудование турбинного цеха
размещают на двух уровнях:
на верхнем располагается
турбоустановка, генератор, возбудитель;
на нижнем - конденсатор,
конденсатные и циркуляционные насосы, регенеративные и прочие подогреватели.
В конце машинного зала оставляют
монтажный проем, позволяющий вести ремонтные и монтажные работы внизу (на
уровне отметки земли). Для монтажа и ремонта турбогенераторов машинный зал
должен быть оборудован мостовыми кранами с грузоподъемностью, соответствующей
весу статора генератора или самой тяжелой части турбоустановки, поднимаемой при
ремонте, если монтаж статора генератора производится специальными
приспособлениями. Машинный зал может быть с продольным и поперечным
расположением турбин. Для турбин АЭС на насыщенном паре применяют продольное
расположение.
5.
Расчет процессов циркуляции в парогенераторе модернизированного типа
5.1
Анализ надежности работы парогенераторов ПГВ-1000М
На эксплуатируемых в нашей стране
блоках АЭС с ВВЭР-1000 в 1986-1991 гг. были обнаружены повреждения коллекторов
теплоносителя 1 контура ПГВ-1000. Были повреждены парогенераторы на
Южно-Украинской, 5-м блоке Нововоронежской, Запорожской, Калининской и
Балаковской АЭС.
Недопустимые повреждения (до
образования сквозных трещин) были зафиксированы почти во всех случаях на
холодных коллекторах. Недопустимые повреждения на горячих коллекторах
выявлялись только в двух случаях (оба на Южно-Украинской АЭС). Время наработки
парогенераторов до обнаружения повреждений составляло от 10 до 60 тыс. часов. В
одном случае оно оказалось равным приблизительно 7 тыс. часов (ЮУ АЭС).
По данным заседания
Научно-технического Совета Министерства РФ по атомной энергии от 24.09.92 по
состоянию на июнь 1992 года всего на АЭС с ВВЭР-1000 было заменено 32
парогенератора в связи с разрушением металла «холодных» коллекторов ПГ.
Максимальное время наработки ПГ до повреждения составило 60 тыс. часов (на 1-ом
комплекте ПГ 5-го блока Нововоронежской АЭС), минимальное - 6900 часов (на 2-ом
комплекте ПГ 1-го блока Южно-Украинской АЭС).
На основании анализа и обобщения
всех известных случаев был сделан вывод о том, что повреждение холодных
коллекторов ПГВ-1000 (М) представляет не встречавшееся до сих пор в практике
парогенераторостроения явление, заключающееся в зарождении и постепенном
(невзрывоопасном) разрастании и объединении между собой множества
коррозионно-механических трещин и обусловленное воздействием:
значительных статических (включая
остаточные) и накладывающихся на них циклических напряжений механического и
термического происхождения;
локализованной в месте
конструкционной неоднородности перфорированной части коллектора (вершине
«клина») пластической деформации, при которой напряжения превышают предел
текучести стали 10ГН2МФА; водной среды второго контура, особенно активной в
вершинах зазоров в местах недовальцовки труб ПГ в стенку коллектора;
теплогидравлической и физической неравномерности по объему; непроектных режимов
эксплуатации.
Повреждения коллекторов
Впервые (в конце 1986 года) трещины
в коллекторе были выявлены при анализе причины повышения нормируемой (<10
(-8) ки/л) радиоактивности воды второго контура в одном из ПГ Южно-Украинской
АЭС. В нескольких соседних перемычках обнаружили сквозную трещину, что и
вызвало потерю герметичности сварных швов в месте приварки трубок, к
антикоррозионной наплавке.
Анализ картограмм повреждений,
составленных по результатам контроля целостности перемычек токовихревым
прибором (марки ВД-73НЦ разработки НПО ЦНИИТМАШ), показал следующее: дефекты в
перемычках между отверстиями находятся в перфорированной части коллектора в
зоне на стороне оси, на которой расположен неперфорированный клин; большее
число дефектов располагалось параллельно сторонам клина, образуя трещины,
расположенные горизонтально и наклонно, в средней и верхней частях
неперфорированной зоны.
Напряженно-деформированное состояние
коллекторов
При эксплуатации коллекторы
парогенераторов нагружаются давлением со стороны первого и второго контуров,
температурным полем и усилиями со стороны трубопроводов первого контура.
Расчеты показали, что напряжение от действия рабочих нагрузок удовлетворяют
требованиям норм прочности.
Исследования на смоляной модели
напряжения от перепада давления 9,4 МПА между первым и вторым контуром показали
максимальные растягивающие напряжения в зоне клина ~ 100 МПА. Температурные
напряжения вследствие разницы коэффициентов линейного расширения металла
коллектора и трубок составляют 145 МПА. Различие в рабочей температуре
холодного и горячего коллекторов позволяет сделать вывод о том, что температура
эксплуатации влияет на стойкость коллектора.
Однако наиболее нагружен горячий
коллектор, и если причиной повреждений является только напряженное состояние,
то разрушаться в первую очередь должны горячие коллекторы. Как показали
исследования фактического напряженного состояния с учетом всех технологических
операций, коллекторы в состоянии поставки ПГ высоко нагружены (технологические
условноупругие локальные напряжения составляют ~ 800 МПА). Остаточные
технологические напряжения в коллекторе явились следствием его формоизменения
от взрывной запрессовки труб в условиях «заневоливания» относительно корпуса
парогенератора в районе люка Ду 700.
При запрессовке трубок по принятой
ранее технологии коллектор изгибается, причем конечный прогиб оси составляет
~4,5 мм, перемещение свободного фланца в сторону клина достигало на некоторых
парогенераторах 20 мм.
При запрессовке труб в составе
собранного парогенератора эти перемещения заневоливаются, что приводит во время
эксплуатации к циклическому нагружению (при каждом пуске и нагружении
давлением). Напряжения при этом равны 160 МПА. Таким образом, очевидны методы
уменьшения напряжений: разневоливание коллекторов и уменьшение энергии
вальцевания - переход на гидравлическое вальцевание.
По расчетам разневоливание
коллектора снижает повреждаемость в 1,5 - 4 раза, переход от взрывной вальцовки
к гидровальцеванию - не менее чем в 50 раз.
Состояние металла
Исследования перемычек после
технологических операций сверления и вальцевания взрывом показали, что металл
на поверхности отверстия сильно наклепан (до 70%), предел текучести
приближается к пределу прочности, коэффициенты относительного удлинения и
сужения уменьшаются вдвое.
В целом пластические свойства
металла перемычек снизились примерно в 2 раза. Металл перфорированной зоны
после вальцевания имел остаточную деформацию в среднем 0,5% (увеличение на
10-15 мм при начальной длине зоны 2000 мм). За счет сверления из коллектора
удаляется 3 т металла и это также не могло не сказаться на возникновении
остаточных напряжений.
Исследования оказали возможность
восстановления пластических свойств металла перфорированной зоны после
сверления и вальцовки взрывом, а также релаксации остаточных напряжений за счет
низкотемпературной термообработки с нагревом до 450 градусов С со скоростью 20
0С/час, выдержке при этой температуре в течение 20 часов и охлаждении со
скоростью не более 20 0С/час.
Эффективность этой операции
оценивается возможностью повышения ресурса в 2,5-8 раз за счет увеличения
циклической прочности наклепанного (при сверлении) слоя в ложе отверстий и
снижения остаточных напряжений (возникающих при изготовлении).
Низкотемпературная термообработка
введена в качестве обязательной на ПГВ-1000М, трубки в которых запрессованы
взрывным методом, а также в случаях, когда коллекторы после сверления в
отдельности не подвергались такой обработке.
Довальцовка трубок
Проектом предусматривалась вальцовка
трубок полностью по всей толщине стенки. Однако во избежание появления
«раздутий» трубок при взрывном вальцевании за пределами коллектора допуски на
заряд и его фактическая установка привели к тому, что трубки оказались
недовальцованными на глубину до 20 мм. Наличие недовальцованных щелей, как
показали исследования темплетов, извлеченных из поврежденных коллекторов,
привело к негативным последствиям: интенсификации коррозионных процессов в щели
и образованию зародышевых коррозионных трещин, захолаживанию наружного слоя
вследствие интенсивного теплообмена в щели.
Для горячего коллектора эти процессы
существенно замедлены вследствие «запаривания» щелей или их закупорки плотными
продуктами коррозии, для холодного вероятно наличие воды (электролита) в щели в
процессе эксплуатации, отложения в щели холодного коллектора рыхлые. Кроме
того, вследствие недовальцовки наружный слой металла оказывается растянутым по
отношению к остальной массе.
Оценки показывают, что устранение
зон недовальцовки уменьшает повреждаемость коллектора в 1,5-3 раза только за
счет снижения напряжений. Очевидна эффективность этого мероприятия также и за
счет снижения или, может быть, исключения электрохимической коррозии.
Довальцовка трубок реализована для парогенераторов, изготовленных с
использованием взрывной технологии развальцовки, которые еще не были введены в
эксплуатацию.
Для вновь изготовляемых парогенераторов
технология гидровальцевания обеспечивает заделку трубок по всей толщине стенки
коллектора без недовальцованных зон.
Материал коллекторов
Исследования темплетов, вырезанных
из поврежденных коллекторов, а также дополнительные стендовые и лабораторные исследования
показали, что сталь 10ГН2МФА в условиях первоначально принятой технологии
изготовления ПГВ-1000 (М) деформационно стареет в области рабочей температуры
холодного коллектора (290 градусов С), имеет склонность к питтингообразованию в
щели и в условиях электрохимического взаимодействия со сталью 08Х18Н10Т (трубки
ПГ) - к коррозионному растрескиванию.
По оценкам вышеперечисленные
мероприятия снижают повреждаемость материала коллекторов ПГ и для вновь
изготовленных обеспечивают проектный ресурс. Однако, вместе с тем,
прорабатывается возможность замены стали 10ГН2МФА в коллекторе на другую. В
частности, разработана конструкция ПГВ-1000У с коллекторами, центральная
перфорированная часть которых выполняется из хромоникелевой стали 08Х18Н10Т-ВД
вакуумно-дугового переплава, расчетные оценки показывают, что повреждаемость
такого коллектора уменьшается в 100-1000 раз по сравнению с коллектором из
стали 10ГН2МФА. На каждом из коллекторов ПГВ-1000У «появились» два композитных
стыка, так как верхняя и нижняя части коллекторов изготавливаются по прежнему
из стали 10ГН2МФА.
Для более основательного обоснования
работоспособности стали 08Х18Н10Т в перфорированной зоне коллекторов, а также
для получения информации по состоянию композитного сварного шва были вырезаны темплеты
и исследованы образцы из перфорированных зон коллекторов одного из
парогенераторов ПГВ-4 первого блока Армянской АЭС, проработавшего более 10
календарных лет. Исследования показали удовлетворительное состояние металла и
сварного соединения.
Температурный режим ПГВ-1000М
Как на одну из причин повреждения
коллекторов указывается на их возможный нестабильный режим работы. Для
определения фактического протекания теплогидравлических режимов в ПГВ-1000 на
Хмельницкой, Нововоронежской, Калининской АЭС и АЭС «Козлодуй» (Болгария) были
смонтированы системы термоизмерений водяного объема парогенератора второго
контура и температуры коллектора со стороны теплоносителя 1 контура.
В результате измерений было
установлено, что во всех эксплуатационных режимах показания термопар,
установленных на холодной стороне парогенератора между закраиной погруженного
дырчатого листа и корпуса, а также между трубным пучком и закраиной,
соответствовали температуре воды на линии насыщения; каких-либо термопульсаций
в воде не зафиксировано. Термопары верхнего ряда теплообменных трубок вблизи
холодного коллектора зафиксировали повышение температуры трубок на 6-8 градусов
С при глубоком (> 1600 мм) уменьшении уровня.
При проведении термоизмерений на
Калининской АЭС (при проектной работе ТЗиБ) при снижении уровня воды в ПГ до
500 мм от номинального температура на выходе из парогенератора не менялась. Это
говорит о том, что в пределах работы проектной защиты АЗ по снижению уровня в
ПГ (-650 от L ном) и блокировок по уровню воды (-500 от L ном откл. ГЦН)
теплообменный пучок и коллекторы теплоносителя в пределах перфорированной части
находятся в зоне уверенного охлаждения водой с равномерной температурой.
В период вода в эксплуатацию 1-го
блока Хмельницкой АЭС проведен комплекс температурных измерений в течение
регламентных динамических испытаний блока (режимы отключения ГЦН, сбросы
нагрузки реактора и турбины, отключения турбопитательного насоса). Наибольшие
зафиксированные изменения температуры воды в указанных режимах не превышали 10
градусов С. При срабатывании аварийной защиты реактора (нагрузка блока 90%)
зафиксировано изменение температуры воды в парогенераторах на 16 градусов С.
На основании измерений оказалось
возможным сделать следующие выводы: в стационарных режимах работы энергоблоков
температура воды парогенератора, омывающей коллектора, является постоянно и
равной ts при номинальном давлении, в переходных режимах температура воды
меняется в соответствии с изменением давления и также равна ts при
соответствующем давлении; принятые в проекте защиты и блокировки по уровню воды
обеспечивают температурный режим работы коллекторов в пределах проектных
алгоритмов; смешение холодной питательной воды с температурой 220 или 165
градусов С c водой парогенератора происходит полностью на расстоянии 30 мм от
места ее выхода из раздаточных сопел питательных труб; максимальная разница
температуры по периметру выходного коллектора по первому контуру составляет 7
градусов С; температурных пульсаций в коллекторе не обнаружено. Указанное
свидетельствовало, что температурный режим напрямую не являлся причиной
повреждения холодных коллекторов.
Высказывались предположения о
возможности гидродинамических воздействий ГЦН на холодный коллектор, в
частности, гидроударов при его отключениях. Аналитические исследования и
непосредственные измерения на ряде АЭС не подтвердили наличия гидроударов.
давление на всасе и напоре ГЦН при пуске и останове (примерно на 5-6 кгс/см2)
изменяется плавно в течение, примерно, 0,5-1 мин.
Водно-химический режим
Если оценивать время работы
парогенераторов до повреждения, то имеет место тот факт, что время службы
изготовленных по единой технологии теплопередающих трубок и коллекторов ПГ
имеет значительный разброс: от 7 до 59 тысяч часов, что скорее всего
определяется химическим фактором. Эксплуатация оборудования в условиях
ухудшенного водного режима, при наличии коррозионно активных примесей
значительно снижает рабочий ресурс оборудования.
Таким образом в деле повышения
надежности парогенераторов очень важным моментом является снижение «солевой
нагрузки» на конструкционные элементы ПГ. Исследования, проведенные на
Нововоронежской и Хмельницкой АЭС, подтвердили ранее высказываемые
предположения об образовании зон повышенного солесодержания в объеме
парогенератора по сравнению с величиной солесодержания усредненной продувки.
Характер распределения зон, как показали испытания, не зависел от величины
продувки и имел ярко выраженный «горб» в районе горячего коллектора. Причем,
при номинальной нагрузке концентрация примесей у «горячего» коллектора в шесть
раз превышала их концентрацию в «холодном» торце парогенератора.
Эти испытания показали, что штатный
режим продувки парогенераторов позволяет поддерживать величину нормируемого
содержания солей в продувочной воде при соответствующих нормам показателях
питательной воды, но при этом концентрации примесей в отдельных зонах водяного
объема могут превосходить допустимые величины, что с учетом процессов
упаривания в щелях и зазорах создает благоприятные условия для активизации
коррозионных процессов.
В связи с этим проектной
организацией (ОКБ «Гидропресс») были выданы рекомендации по первой модернизации
внутрикорпусных устройств ПГВ-1000М и изменения схемы продувки ПГ. Указанная
модернизация заключалась в изменении схем водопитания, продувки и перераспределения
циркуляции в объеме парогенераторов. Главной целью модернизации являлось
удаление зон повышенного солесодержания от коллекторов теплоносителя путем
перераспределения питательной воды по длине парогенератора и образования в
«холодном» торце ПГВ (вблизи днища) так называемого «солевого отсека», из
которого организована непрерывная продувка котловой воды с наибольшей
концентрацией растворенных примесей.
Согласно проекту модернизации ВКУ
ПГВ необходимое перераспределение питательной воды было получено путем
установки в «горячем» торце парогенераторов на погружном дырчатом листе четырех
дополнительных раздающих коллекторов питательной воды с отверстиями,
направленными вертикально вниз. Коллектор N010 переведен на «холодную» сторону
ПГВ для увеличения подачи питательной воды в зону «холодного» коллектора
теплоносителя. В «холодном» торце парогенератора отглушены пять крайних
раздающих коллекторов питательной воды, также в «холодном» торце ПГВ из листов
нержавеющей стали выполнены две поперечные перегородки (высотой 200 мм - над
ПДЛ и 240 мм под ПДЛ) и перекрыты в верхней части боковые каналы между
закраиной ПДЛ и корпусом ПГ для организации «солевого» отсека. Цель установки
перегородки - уменьшение продольной циркуляции от «горячего» коллектора в торцы
для предотвращения распространения солевых зон по длине парогенератора.
К сожалению, в последнее время также
проявилась ранее неизвестная проблема коррозии металла трубной системы ПГ со
стороны второго контура. Наибольшая интенсивность коррозионных процессов
наблюдалась в локальных участках внутри ПГВ-1000М. Развитию коррозионного
растрескивания теплообменных трубок под дистанционирующими решетками
способствовало концентрировании коррозионно-активных загрязнений в слое
отложений и повышенные напряжения. Результаты расследования массовых
коррозионных повреждений трубок ПГ Ровенской, Южно-Украинской и Балаковской АЭС
показали возможность развития интенсивной язвенной коррозии теплообменных
трубок ПГВ-1000М из аустенитной стали марки 08Х18Н10Т под слоем шлама продуктов
коррозии в локальном участке нижних рядов между 2-4 дистанционирующими
решетками от «горячего» коллектора в сторону «холодного» днища. Последующие
наблюдения на других АЭС с реакторами ВВЭР-1000 подтвердили наличие локальных
зон скопления коррозионного шлама на днищах ПГ.
Согласно результатам специальных
исследований, условиями предотвращения массовых коррозионных повреждений трубок
ПГВ-1000М в локальных зонах скопления коррозионного шлама на днище являются:
регулярные эффективные химические
отмывки ПГ по 2 контуру, выполняемые на основании результатов как ежегодных
осмотров рядов трубок и днищ, так и систематического контроля поступления
продуктов коррозии в ПГ по данным химконтроля;
снижение поступления в ПГ продуктов
коррозии медных сплавов, интенсифицирующих электрохимическую коррозию
аустенитной стали;
систематическое ограничение
поступления с питательной водой и накопления в котловой воде
коррозионно-агрессивных загрязнений (включая сульфат-ион и хлорид-ион), причем
для контроля накопления в котловой воде коррозионно-агрессивных загрязнений
должны использоваться представительные пробы продувочной воды из участков
концентрирования коррозионно-агрессивных загрязнений;
поддержание нейтрального или
слабощелочного молярного соотношения компонентов в котловой воде ПГ.
5.2
Расчёт циркуляции воды
В соответствии с обобщенными
результатами исследований гидродинамики на натурных ПГ в период ПНР, общая
картина циркуляции воды в ПГВ-1000 /25/ представляется следующим образом.
В трубных пакетах наблюдается подъемное
движение, в опускных каналах между пакетами в основном опускное. Высокая
паровая нагрузка верхних рядов трубного пучка вблизи горячего коллектора
обуславливает их значительное гидравлическое сопротивление, что приводит к
выходу части пара из трубного пучка в опускной канал. Вместе с паром в опускной
канал выходит и часть циркулирующей воды, образуя локальный контур циркуляции в
его нижней части. Таким образом, в нижней части пучка вода входит в него из
опускного коридора под действием статического напора столба пароводяной смеси.
По мере приближения к верхней части пучка начинают преобладать процессы выхода
пароводяной смеси в коридор из-за возрастания нагрузки и, соответственно,
гидравлического сопротивления пакета.
В верхней части опускных каналов, на
горячей стороне пучка наблюдается подъемное движение, вызванное выходом в канал
и всплытием пузырей пара. По мере приближения к холодному концу труб, опускное
движение преобладает по всей высоте пакета, а локальная кратность циркуляции
увеличивается за счет улучшений условий опуска и снижения локальной величины
паропроизводительности. Часть циркулирующей через пучок воды проходит через
отверстие ПДЛ и затем попадает в опуск между закраиной и корпусом. Другая часть
циркулирует через опускные каналы между пакетами, свободными от подъемного
движения.
Наличие значительного количества
пара в верхней части пакетов подтверждается также путем измерения температур в
опускных коридорах в зоне раздачи питательной воды. На всех уровнях мощности
амплитуды термопульсаций по высоте коридора монотонно снижаются, а полный
прогрев питательной воды наступает на глубине ниже 450 мм от ПДЛ. При этом
максимальная амплитуда термопульсаций отмечена на мощности 65% от номинальной,
а минимальная на номинальной мощности. По-видимому, это свидетельствует о том,
что поток пара, выходящего из опускных коридоров на номинальной мощности,
настолько интенсивен, что препятствует попаданию недогретой питательной воды
вглубь коридоров.
В целом, исследования процессов
перемешивания питательной и котловой воды в горизонтальных ПГ, говорят о
значительной интенсивности этого процесса, в особенности на номинальной
мощности. Проникновения питательной воды в зоны, удаленный от места раздачи в
стационарном режиме не происходит, что свидетельствует о том, что расход
питательной воды, попадающий в опускной коридор недостаточен для полной
конденсации пара. Особый интерес представляет результаты измерений ц с помощью
датчика с базой измерения 450 мм в верхней части горячего канала возле
коллектора. При номинальной нагрузке его показания достигают 0,9. Учитывая
показания установленного рядом датчика с базой 1000 мм (ц примерно 0,48), можно
говорить о тенденции интенсивного увеличения ц в верхней части канала, между
пакетами. Это подтверждает возможность существования в этой зоне (высотой
примерно 450 мм от верхнего ряда труб) паро-капельной структуры двухфазного
потока.
Такой характер циркуляции,
характерный для невыгороженного пакета труб, приводит к достаточно низкой
величине кратности циркуляции в верхней части пакета. При этом одним из
основных ограничителей циркуляции является высокое паросодержание, снижающее
движущий напор и препятствующее опускному движению воды. Очевидным, в этом
случае, является техническое решение, состоящее в увеличении расхода питательно
воды, попадающей в опускной канал между пакетами. При этом, необходим
тщательный расчет этого расхода, так как превышение его сверх допустимой
величины может привести к попаданию питательной воды вниз и «захолаживанию»
нижней части корпуса ПГ, в то время как недостаточный расход будет неэффективен
для повышения циркуляции.
Проверка эффективности упомянутого
технического решения может быть осуществлена путем сравнения солесодержания
котловой воды на входе и выходе трубного пучка.
Здесь необходимо отметить, что
величина кратности циркуляции, которая обычно определяется как соотношение
массовых расходов пара и пароводяной смеси, становится неопределенной для пучка
труб в целом, так как данное соотношение переменно по высоте из-за выхода части
воды и пара в опускной канал. В самом деле, если паропроизводительность
относить к расходу воды на входе в пучок (в нижней части) то величина не будет
характеризовать условия циркуляции в верхней части пакета, где расход смеси
значительно меньше, чем в нижней части.
Таким образом, кратность циркуляции
можно определить как величину обратную массовому расходному паросодержанию Х,
которое переменно по всей высоте пакета.
Для работоспособности трубчатки
имеет смысл говорить о кратности циркуляции в верхней части пучка, так как в
этой зоне она минимальна. Оценка этой величины представляет определенные
трудности, так как измерить расход пароводяной смеси через пучок в вертикальном
и горизонтальном направлении не представляется возможным. Для количественной
оценки циркуляции в невыгороженных пакетах можно использовать величину
кратности упаривания пароводяной смеси в трубном пучке.
Если пренебречь растворимостью
примесей в паре, из условий солевого баланса для выгороженного пакета можно
записать следующее выражение для кратности упаривания:
Sвых/Sвх = Кц/(Кц-1)
(5.1)
Кц = 1/(1-Sвх/Sвых)
(5.2)
Кц = Gсм/G`, где
(5.3)
G` - расход пара через пакет;
Gсм - расход пароводяной смеси;
Sвх - солесодержание воды на входе в пучок;
Sвых - солесодержание воды на выходе из пучка.
Для невыгороженного пакета величины G` и Gсм становятся переменными по высоте
и не поддаются измерению. Между тем, величина кратности упаривания может быть
измерена. Зная эту величину, можно вычислить кратность циркуляции по формуле
(5.3). Полученную по этой формуле кратность циркуляции для невыгороженных
пучков следует считать условной, так как формула справедлива лишь для
выгороженных пучков. Тем не менее, эта величина также характеризует условия
циркуляции.
5.3 Расчет расхода воды,
необходимого для конденсации пара в опускном канале
Расчет расхода воды на конденсацию.
Исходные данные: энтальпия воды и
пара
h`=1236 КДж/кг,
h``=2779 КДж/кг,
h220=994 КДж/кг,
h164=696 КДж/кг;
плотность пара с``=35 кг/м3,
расход питательной воды Gпв=1470 т/ч
В исходном состоянии коллектор имеет
32 патрубка Ду18, в результате реконструкции остается 20 патрубков Ду18 и 4
отверстия Ду18 в торцевой части. Коллектор в исходном состоянии и после
реконструкции показан на рис. 5.1.
По балансу энтальпий можно записать
соотношение между расходами пара и воды, требуемой для его конденсации
пв=Gп/ (h`-hпв),
при 220 оС Gпв=Gп/0,18
при 164 оС Gпв=Gп/0,35
Согласно /1/ расход воды на холодную
половину - 533 т/ч.
Из них на 1 ый коллектор 533/9=60
т/ч.
На 4 остальных 473 т/ч.
Принимаем долю расхода вниз 25%, то
есть 118 т/ч на длину 2,3 м (две секции дистанционирования с 4 коллекторами
питательной воды), то есть 51 т/ч на 1 п.м., что позволит сконденсировать 9,2
т/ч пара при 220 оС или 17,8 т/ч при 164 оС.
5.4 Расчет естественной
циркуляции с учетом конденсации пара в опускном канале
Расход пара в опускном канале можно
оценить из расчета естественной циркуляции. При этом критерием правильности
оценки может служить величина паросодержания в опускном канале, полученная
измерениями на действующих ПГ при помощи датчиков паросодержания, установленных
в верхней части опускного канала.
Вариант 1.
Разобьем трубный пучок по высоте на
12 участков по 0,19 м
Давление пара во втором контуре 6,3
МПа температура насыщения Тs=280 оС
Энтальпия воды на линии насыщения
1236 КДж/кг
Энтальпия пара на линии насыщения
2779 КДж/кг
Энтальпия питательной воды
принимается 1236 КДж/кг
Плотность воды на линии насыщения
753 кг/м3
Плотность пара на линии насыщения
32,4 кг/м3
Значения приведенных скоростей пара и
воды в опускном и подъемном участке получены в /26/ с помощью программы CIRC (расчет ведется на
погонный метр длины трубного пучка) по формулам Колбасникова А.В., полученным
им в его диссертации «Разработка методов расчета гидродинамики двухфазной среды
и теплообмена в поперечно омываемых поверхностях нагрева парогенераторов на
основе экспериментальных исследований.»
Параметры естественной
циркуляции в подъемном участке
Из /26/возьмем значения цист,Wп, Wв.
|
Nучастка
|
цист
|
Wп,
м/с
|
Wв,
м/с
|
|
1
|
0,33
|
0,21
|
|
2
|
0,48
|
0,66
|
0,19
|
|
3
|
0,64
|
0,96
|
0,17
|
|
4
|
0,75
|
1,25
|
0,15
|
|
5
|
0,71
|
1,53
|
0,13
|
|
6
|
0,75
|
1,79
|
0,11
|
|
7
|
0,77
|
2,05
|
0,09
|
|
8
|
0,8
|
2,3
|
0,07
|
|
9
|
0,81
|
2,55
|
0,06
|
|
10
|
0,88
|
2,81
|
0,04
|
|
11
|
0,93
|
3,07
|
0,02
|
|
12
|
0,6
|
0,86
|
0,01
|
Для любого сечения канала,
содержащего пароводяную смесь, можно записать, используя /8/ уравнение
сплошности в виде:
Мц= Мп +Мв=
Мсмеси
где Мп, Мв, Мсмеси
массовый расход соответственно пара, воды и смеси в сечении канала. Тогда
скорость циркуляции в парогенерирующем канале можно определить как:
Wц= Мсмеси/(свf) = (Мп +Мв)
/(свf)=Wв+Wпсп/св
Используя эту формулу, рассчитаем
скорость циркуляции на каждом участке по высоте и полученные результаты
представим в виде таблицы:
|
Nучастка
|
1
|
2
|
3
|
4
|
5
|
6
|
7
|
8
|
9
|
10
|
11
|
12
|
|
Wц,
м/с
|
0,22
|
0,22
|
0,21
|
0,2
|
0,19
|
0,18
|
0,18
|
0,17
|
0,17
|
0,16
|
0,16
|
0,04
|
Отношение массового расхода пара к
общему массовому расходу потока является массовым паросодержанием:
Х=Мп/Мсмеси=Wпсп/Wцсв
Используя эту формулу, рассчитаем
массовое паросодержание на каждом участке по высоте и полученные результаты
представим в виде таблицы:
|
Nучастка
|
1
|
2
|
3
|
4
|
5
|
6
|
7
|
8
|
9
|
10
|
11
|
12
|
|
Х
|
0,06
|
0,13
|
0,2
|
0,27
|
0,34
|
0,42
|
0,5
|
0,58
|
0,67
|
0,75
|
0,85
|
0,83
|
Кратность циркуляции для верхней
части пучка
Кц=1/Х=1,2.
Параметры естественной
циркуляции в опускном участке.
Из /26/возьмем значения Wп, Wв:
|
Nучастка
|
Wп,
м/с
|
Wв,
м/с
|
|
1
|
0,01
|
0,06
|
|
2
|
0,02
|
0,05
|
|
3
|
0,06
|
0,05
|
|
4
|
0,1
|
0,04
|
|
5
|
0,16
|
0,03
|
|
6
|
0,24
|
0,03
|
|
7
|
0,31
|
0,03
|
|
8
|
0,39
|
0,03
|
|
9
|
0,47
|
0,02
|
|
10
|
0,55
|
0,02
|
|
11
|
0,86
|
0,02
|
|
12
|
0,86
|
0,02
|
Паросодержание в опускном канале
согласно /28/, определяется по формуле:

, где
Wб
- относительная скорость паровой фазы (в дальнейшем, согласно /26/, принимается
Wб=0,3939 м/с).
Используя эту формулу,
рассчитаем истинное паросодержание на каждом участке по высоте и полученные
результаты представим в виде таблицы:
|
Nучастка
|
1
|
2
|
3
|
4
|
5
|
6
|
7
|
8
|
9
|
10
|
11
|
12
|
|
цист
|
0,02
|
0,06
|
0,14
|
0,22
|
0,31
|
0,39
|
0,46
|
0,51
|
0,56
|
0,6
|
0,7
|
0,7
|
Вариант 2
Расход питательной воды в опуск 40
т/ч
Разобьем трубный пучок по высоте на
12 участков по 0,19 м
Давление пара во втором контуре 6,3
МПа
Энтальпия воды на линии насыщения
1236 КДж/кг
Энтальпия пара на линии насыщения
2779 КДж/кг
Энтальпия питательной воды
принимается 220 КДж/кг (температура Т=220 оС)
Плотность воды на линии насыщения
753 кг/м3
Плотность пара на линии насыщения
32,4 кг/м3
Параметры естественной
циркуляции в подъемном участке.
В программе CIRC ведется расчет по
формулам Колбасникова А.В. значений параметров естественной циркуляции в
зависимости от расхода питательной воды в опуск. При расходе 40 т/ч и
температуре питательной воды 220 оС в /26/ получены следующие
значения приведенных скоростей пара и воды и истинного паросодержания в
подъемном участке:
|
Nучастка
|
цист
|
Wп,
м/с
|
Wв,
м/с
|
|
1
|
0,26
|
0,34
|
0,26
|
|
2
|
0,46
|
0,67
|
0,24
|
|
3
|
0,6
|
0,99
|
0,22
|
|
4
|
0,71
|
1,3
|
0,19
|
|
5
|
0,68
|
1,6
|
0,17
|
|
6
|
0,72
|
1,9
|
0,15
|
|
7
|
0,75
|
2,2
|
0,13
|
|
8
|
0,77
|
2,5
|
0,12
|
|
9
|
0,79
|
2,81
|
0,1
|
|
10
|
0,81
|
3,15
|
0,09
|
|
11
|
0,82
|
3,49
|
0,08
|
|
12
|
0,67
|
0,94
|
0,06
|
Используя ранее полученную формулу
Wц =Wв+Wпсп/св,
Рассчитаем скорость циркуляции на
каждом участке по высоте и полученные результаты представим в виде таблицы:
|
Nучастка
|
1
|
2
|
3
|
4
|
5
|
6
|
7
|
8
|
9
|
10
|
11
|
12
|
|
Wц,
м/с
|
0,27
|
0,27
|
0,26
|
0,25
|
0,24
|
0,23
|
0,23
|
0,22
|
0,22
|
0,22
|
0,23
|
0,1
|
Используя ранее полученную формулу
(Х =Wпсп/Wцсв,), рассчитаем массовое паросодержание на каждом участке по высоте
и полученные результаты представим в виде таблицы:
|
Nучастка
|
1
|
2
|
3
|
4
|
5
|
6
|
7
|
8
|
9
|
10
|
11
|
12
|
|
Х
|
0,05
|
0,11
|
0,17
|
0,22
|
0,29
|
0,35
|
0,41
|
0,48
|
0,55
|
0,61
|
0,66
|
0,42
|
Кратность циркуляции для верхней части
пучка
Кц=1/Х=2,4.
Параметры естественной
циркуляции в опускном участке.
Из /26/ возьмем значения Wп, Wв для данного варианта:
|
Nучастка
|
Wп,
м/с
|
Wв,
м/с
|
|
1
|
0
|
0,25
|
|
2
|
0,01
|
0,24
|
|
3
|
0,03
|
0,24
|
|
4
|
0,06
|
0,23
|
|
5
|
0,1
|
0,22
|
|
6
|
0,1
|
0,21
|
|
7
|
0,11
|
0,2
|
|
8
|
0,12
|
0,19
|
|
9
|
0,11
|
0,18
|
|
10
|
0,08
|
0,18
|
|
11
|
0,01
|
0,17
|
|
12
|
0
|
0,15
|
Паросодержание в опускном канале
определяется по формуле:

где Wб относительная скорость паровой фазы (в дальнейшем, согласно /26/,
принимается Wб=0,3939 м/с).
Используя эту формулу,
рассчитаем истинное паросодержание на каждом участке по высоте и полученные
результаты представим в виде таблицы:
|
Nучастка
|
1
|
2
|
3
|
4
|
6
|
7
|
8
|
9
|
10
|
11
|
12
|
|
цист
|
0,02
|
0,07
|
0,16
|
0,27
|
0,35
|
0,35
|
0,36
|
0,36
|
0,34
|
0,26
|
0,05
|
0
|
Вариант 3.
Расход питательной воды в опуск 40
т/ч
Разобьем трубный пучок по высоте на
12 участков по 0,19 м
Давление пара во втором контуре 6,3
МПа
Энтальпия воды на линии насыщения
1236 КДж/кг
Энтальпия пара на линии насыщения
2779 КДж/кг
Энтальпия питательной воды
принимается 696 КДж/кг (температура Т=164 оС, режим работы без
подогревателей высокого давления)
Плотность воды на линии насыщения
753 кг/м3
Плотность пара на линии насыщения
32,4 кг/м3
Параметры естественной
циркуляции в подъемном участке.
В программе CIRC ведется расчет по
формулам Колбасникова А.В. значений параметров естественной циркуляции в
зависимости от расхода питательной воды в опуск. При расходе 40 т/ч и
температуре питательной воды 164 оС в /26/ получены следующие
значения приведенных скоростей пара и воды и истинного паросодержания в
подъемном участке:
|
Nучастка
|
цист
|
Wп,
м/с
|
Wв,
м/с
|
|
1
|
0,24
|
0,34
|
0,28
|
|
2
|
0,43
|
0,67
|
0,26
|
|
3
|
0,58
|
0,99
|
0,24
|
|
4
|
0,68
|
1,3
|
0,22
|
|
5
|
0,76
|
1,6
|
0,2
|
|
6
|
0,7
|
1,89
|
0,18
|
|
7
|
0,73
|
2,18
|
0,16
|
|
8
|
0,76
|
2,47
|
0,14
|
|
9
|
0,78
|
2,77
|
0,12
|
|
10
|
0,8
|
3,11
|
0,11
|
|
11
|
0,81
|
3,45
|
0,1
|
|
12
|
0,66
|
0,83
|
0,07
|
Используя ранее полученную формулу
Wц =Wв+Wпсп/св,
Рассчитаем скорость циркуляции на
каждом участке по высоте и полученные результаты представим в виде таблицы:
|
Nучастка
|
1
|
2
|
3
|
4
|
5
|
6
|
7
|
8
|
9
|
10
|
11
|
12
|
|
Wц,
м/с
|
0,29
|
0,29
|
0,28
|
0,27
|
0,27
|
0,26
|
0,25
|
0,24
|
0,24
|
0,24
|
0,25
|
0,1
|
Используя ранее полученную формулу
Х =Wпсп/Wцсв,
Рассчитаем массовое паросодержание
на каждом участке по высоте и полученные результаты представим в виде таблицы:
|
Nучастка
|
1
|
2
|
3
|
4
|
5
|
6
|
7
|
8
|
9
|
10
|
11
|
12
|
|
Х
|
0,05
|
0,1
|
0,15
|
0,2
|
0,26
|
0,32
|
0,37
|
0,44
|
0,5
|
0,56
|
0,6
|
0,35
|
Кратность циркуляции для верхней
части пучка
Кц=1/Х=2,9.
Параметры естественной
циркуляции в опускном участке.
Из /26/ возьмем значения Wп, Wв для данного варианта.
|
Nучастка
|
Wп,
м/с
|
Wв,
м/с
|
|
1
|
0
|
0,27
|
|
2
|
0,01
|
0,26
|
|
3
|
0,03
|
0,26
|
|
4
|
0,06
|
0,25
|
|
5
|
0,1
|
0,25
|
|
6
|
0,08
|
0,23
|
|
7
|
0,07
|
0,22
|
|
8
|
0,06
|
0,21
|
|
9
|
0,04
|
0,2
|
|
10
|
0
|
0,2
|
|
11
|
0
|
0,19
|
|
12
|
0
|
0,17
|
Паросодержание в опускном канале
определяется по формуле:

где Wб относительная скорость паровой фазы (в дальнейшем, согласно /26/,
принимается Wб=0,3939 м/с).
Используя эту формулу,
рассчитаем истинное паросодержание на каждом участке по высоте и полученные
результаты представим в виде таблицы:
|
Nучастка
|
1
|
2
|
3
|
4
|
5
|
6
|
7
|
8
|
9
|
10
|
11
|
12
|
|
цист
|
0,02
|
0,07
|
0,17
|
0,29
|
0,39
|
0,34
|
0,29
|
0,25
|
0,16
|
0
|
0
|
0
|
Вариант 4.
Расход питательной воды в опуск 44
т/ч
Разобьем трубный пучок по высоте на
12 участков по 0,19 м
Давление пара во втором контуре 6,3
МПа
Энтальпия воды на линии насыщения
1236 КДж/кг
Энтальпия пара на линии насыщения
2779 КДж/кг
Энтальпия питательной воды
принимается 220 КДж/кг (температура Т=220 оС)
Плотность воды на линии насыщения
753 кг/м3
Плотность пара на линии насыщения
32,4 кг/м3
Параметры естественной
циркуляции в подъемном участке.
В программе CIRC ведется расчет по
формулам Колбасникова А.В. значений параметров естественной циркуляции в
зависимости от расхода питательной воды в опуск. При расходе 44 т/ч и
температуре питательной воды 220 оС в /26/ получены следующие
значения приведенных скоростей пара и воды и истинного паросодержания в
подъемном участке:
|
Nучастка
|
цист
|
Wп,
м/с
|
Wв,
м/с
|
|
1
|
0,2
|
0,29
|
0,32
|
|
2
|
0,37
|
0,64
|
0,31
|
|
3
|
0,51
|
0,97
|
0,29
|
|
4
|
0,62
|
1,29
|
0,27
|
|
Nучастка
|
цист
|
Wп,
м/с
|
Wв,
м/с
|
|
5
|
0,7
|
1,61
|
0,25
|
|
6
|
0,76
|
1,92
|
0,23
|
|
7
|
0,7
|
2,22
|
0,21
|
|
8
|
0,73
|
2,53
|
0,2
|
|
9
|
0,75
|
2,85
|
0,18
|
|
10
|
0,77
|
3,19
|
0,17
|
|
11
|
0,78
|
3,54
|
0,16
|
|
12
|
0,68
|
0,97
|
0,08
|
Используя ранее полученную формулу
Wц =Wв+Wпсп/св,
Рассчитаем скорость циркуляции на
каждом участке по высоте и полученные результаты представим в виде таблицы:
|
Nучастка
|
1
|
2
|
3
|
4
|
5
|
6
|
7
|
8
|
9
|
10
|
11
|
12
|
|
Wц,
м/с
|
0,33
|
0,33
|
0,33
|
0,33
|
0,32
|
0,32
|
0,31
|
0,31
|
0,3
|
0,31
|
0,31
|
0,12
|
Используя ранее полученную формулу
Х =Wпсп/Wцсв,
Рассчитаем массовое паросодержание
на каждом участке по высоте и полученные результаты представим в виде таблицы:
|
Nучастка
|
1
|
2
|
3
|
4
|
5
|
6
|
7
|
8
|
9
|
10
|
11
|
12
|
|
Х
|
0,04
|
0,08
|
0,13
|
0,17
|
0,22
|
0,26
|
0,31
|
0,36
|
0,4
|
0,45
|
0,49
|
0,35
|
Кратность циркуляции для верхней
части пучка
Кц=1/Х=2,9.
Параметры естественной
циркуляции в опускном участке.
Из /26/ возьмем значения Wп, Wв для данного варианта:
|
Nучастка
|
Wп,
м/с
|
Wв,
м/с
|
|
1
|
0
|
0,3
|
|
2
|
0,3
|
|
3
|
0
|
0,3
|
|
4
|
0
|
0,3
|
|
5
|
0
|
0,29
|
|
6
|
0
|
0,28
|
|
7
|
0
|
0,27
|
|
8
|
0
|
0,26
|
|
9
|
0
|
0,25
|
|
10
|
0
|
0,24
|
|
11
|
0
|
0,23
|
|
12
|
0
|
0,22
|
Паросодержание в опускном канале
определяется по формуле:

где Wб относительная скорость паровой фазы (в дальнейшем, согласно /26/,
принимается Wб=0,3939 м/с).
Используя эту формулу,
рассчитаем истинное паросодержание на каждом участке по высоте и полученные
результаты представим в виде таблицы:
|
Nучастка
|
1
|
2
|
3
|
4
|
5
|
6
|
7
|
8
|
9
|
10
|
11
|
12
|
|
цист
|
0
|
0
|
0
|
0
|
0
|
0
|
0
|
0
|
0
|
0
|
0
|
0
|
Для варианта 1, соответствующего
штатному варианту конструкции ПГ паросодержание в опускном коридоре между
пакетами на высоте 1 м от верха пучка составляет 0.5, что корреспондируется с
величиной, измеренной на 5 блоке НВАЭС.
Таблица 5.1. Сводные результаты
расчетов циркуляции
|
Тпв, оС
|
Gпв
в опуск, т/ч
|
цоп
|
|
280
|
0
|
0
|
|
220
|
40
|
>0
|
|
164
|
40
|
>0
|
|
220
|
44
|
0
|
Из таблицы следует, что полная
конденсация пара в центральном опускном коридоре наступает при расходах
питательной воды между 40 т/ч и 44 т/ч на погонный метр, таким образом,
принятая величина расхода 51 т/ч на погонный метр, представляется достаточной
для конденсации пара.
Полученные значения скорости
циркуляции и массового паросодержания по высоте трубного пучка (рис. 5.1 и рис.
5.3 соответственно) и истинного паросодержания в опускном канале (рис. 5.2) для
наглядности представлена в виде графиков, где варианту 1 соответствует штатная
система питательной воды, варианту 2 - с модернизированным коллектором и
расходом 40 т/ч на погонный метр в опускной канал, варианту 4 - с
модернизированным коллектором и расходом питательной воды в опускной канал 44
т/ч на погонный метр.
Рисунок 5.1 Скорость циркуляции по
высоте трубного пучка вблизи горячего коллектора ПГВ-1000
Рисунок 5.2 Истинное паросодержание
по высоте опускного канала вблизи горячего коллектора ПГВ-1000
Рисунок 5.3 Массовое паросодержание
по высоте трубного пучка вблизи горячего коллектора ПГВ-1000.
5.5
Гидравлический расчет коллектора
Исходя из требований неизменности
гидравлического сопротивления новой системы принимаем сопротивление нового узла
равным сопротивлению торцевой части коллектора с 8 патрубками Ду18, что
примерно обеспечит 25% от расхода воды через коллектор (8/32=0.25). При этом
сопротивление оставшейся части коллектора принимается, как для 24 отверстий
(при этом 4 отверстия вДу20 в торце коллектора считаются 4 парубками Ду18).
Расчет сопротивления удаленной
торцевой части коллектора
Расход G=6,94 кг/с
Длина участка раздачи L=0,7 м
Длина начального участка L0=0,1 м
Коэффициент трения используя /29/,
принимаем л=0.16
Диаметр трубы Dтр=0,08 м
Диаметр отверстий D0=0.018 м
Число отверстий n=8
Скорость в трубе согласно /29/ Wтр=G/(0,785Dтр2с)/2=1,84 м/с
Скорость в отверстии согласно /29/ W0=G/(0,785D02с)/n=4,55 м/с
Коэффициент сопротивления
отверстия(патрубка)
используя /29/ (Рис. 2-5,2-9),
принимаем о0=1,7
Потеря давления на трение согласно
/29/ ∆Pтр=л
(0,423L0+L)*сWтр2/2g=8,2 Па
Потеря давления на коллекторный
эффект согласно /29/
∆Pкол=2/3*0,8сWтр2/2g=69,2 Па
Потеря давления на отверстия
согласно /29/
∆P0=о0W02/2g=1347 Па
Сумма потерь давления
∆P=∆Pтр+∆Pкол+∆P0=1424 Па
Расчет сопротивления новых раздающих
труб
Расход G=6,94 кг/с
Длина участка раздачи L=0,2 м
Длина начального участка L0=0,6 м
Коэффициент трения
используя /29/, принимаем
л=0.28
Диаметр трубы Dтр=0,05 м
Диаметр отверстий D0=0.008 м
Число отверстий n=60
Скорость в трубе
Wтр=G/(0,785Dтр2с)/2=2,36 м/с
Скорость в отверстии
W0=G/(0,785D02с)/n=3,07 м/с
Коэффициент сопротивления тройника,
отнесенный к скорости в отверстии используя /29/ (таб. 2-4), принимаем от=(1,05+0,4)/2=0,72
Коэффициент сопротивления гиба 135о+30о
используя /29/ (Рис. 2-6), принимаем
ог=0,38
Коэффициент сопротивления отверстия
используя /29/ (диаграмма 4-22
график б),
принимаем о0=2,75
Потеря давления на тройнике
∆Pт= отсWтр2/2g=175 Па
Потеря давления на гибе
∆Pг= огсWтр2/2g=81 Па
Потеря давления на трение
∆Pтр=л (0,423L0+L)*сWтр2/2g=61 Па
Потеря давления на коллекторный
эффект
∆Pкол=2/3*0,8сWтр2/2g=113 Па
Потеря давления на отверстия
∆P0=о0W02/2g=993 Па
Сумма потерь давления
∆P=∆Pт +∆Pг +∆Pтр+∆Pкол+∆P0=1423 Па
Заключение
парогенератор атомный
электростанция контур
Целью данного дипломного проекта
является является модернизация парогенератора ПГВ-1000М энергоблока АЭС с
ВВЭР-1000.
Среди основных задач, которые были
рассмотрены в дипломном проекте, можно выделить следующие:
проведено технико-экономическое
обоснование варианта модернизации парогенератора.
выполнены тепло-технологические
расчеты, обосновывающие работоспособность, надежность, безопасность и
эффективность оборудования второго контура АЭС.
разработана схема электроснабжения
сетевого и конденсатного насосов ТФУ и выбрано основное электротехническое
оборудование.
разработана схема автоматизации
объекта регулирования.
проведена оценку воздействия АЭС на
окружающую среду и разработаны меры по защите ОС.
обоснованы мероприятия по
обеспечению безопасной эксплуатации АЭС.
В качестве специального вопроса
выполнен расчет процессов циркуляции в парогенераторе модернизированного типа.
Проведен расчет ожидаемых
технико-экономических показателей модернизированного энергоблока АЭС 1000 МВт.
Список используемых
источников
1 Пуско-наладочные
работы, промышленные тепловые и сепарационные испытания и исследование
теплогидравлических характеристик парогенераторов в период ввода в эксплуатацию
и освоения проектной мощности 1 блока Балаковской АЭС. ВНИИАМ, 1987 год.
Структура
атомной энергетики с учетом производства энергии помимо электри-чества /
Александров А.П., Легасов В.А., Сидоренко В.А. и др. - Атомная энергия, 1977,
т. 43, вып. 6, 456 с.
Технико-экономические
аспекты осуществления централизованного теплоснабжения от атомных котельных /
Емельянов И.Я., Батуров Б.Б., Корытников В.П. и др. - Атомная энергия, 1979, т.
46, вып. 1, 63 с.
Теплофикационные
установки и их использование: Учеб. пособие для теплоэнергет. спец. Вузов. /
А.И. Андрющенко, Р.З. Аминов, Ю.М. Хлебалин. - М.: Высшая школа, 1989. - 256
с.: ил.
Системы
турбинного отделения. Часть 1. Основные, обеспечивающие, вспомогательные
системы. Концерн «Росэнергоатом». Балаковская Атомная Электростанция.
Турбина паровая
К-1000-60/1500-2. Технические условия ТУ 108.1055-82.
Чеповский М.А.
Учебное пособие для курсового и дипломного проектирования по курсу «Атомные
электрические станции», Обнинск, 1980.
Ривкин С.Л.,
Александров А.А. Термодинамические свойства воды и водяного пара. М.:
Энергоатомиздат, 1984.
Маргулова Т.Х.
Атомные электрические станции. М.: Высшая школа, 1984.
Трояновский
Б.М. Турбины для атомных электростанций. М.: Энергия, 1973.
Турбина паровая
К-1000-60/1500-2. Анализ опыта эксплуатации СРК, предложения, расчеты. №Д-5909.
НПО «Турбоатом».
Турбина паровая
К-12-10ПА. Технические условия ТУ 5.432-9665-86.
Основное
оборудование реакторного отделения. Концерн «Росэнергоатом». Балаковская
Атомная электростанция.
Региональная
эффективность проектов АЭС / Под общ. ред. П.Л. Ипатова. - М.: Энергоатомиздат,
2005. - 228 с.: ил.
Самсонов В.С.,
Вяткин М.А. Экономика предприятий энергетического комплекса. - М.:
Энергоатомиздат, 2001. - 348 с.
Дейч М.Е.,
Зарянкин А.Е. Гидрогазодинамика. - Энергоатомиздат, 1984. - 440 с.
Тепловые и
атомные электрические станции: Справочник / Под общ. ред. В.А. Григорьева, В.М.
Зорина. - 2-е изд., перераб. - М.: Энергоатомиздат, 1989. - 608 с.
Устройство,
проектирование и эксплуатация схем электроснабжения собственных нужд АЭС / Ю.Б.
Гук, В.М. Кобжув, А.К. Черновец. - М.: Энергоатомиздат, 1991. - 296 с.
Неклепаев Б.Н.,
Крючков И.П. Электрическая часть электростанций и подстанций: Справочные
материалы для курсового и дипломного проектирования: Учебное пособие для вузов.
- 4-е изд., перераб. и доп. - М.: Энергоатомиздат, 1989. - 608 с.: ил.
Неклепаев Б.Н.
Электрическая часть электростанций и подстанций: Учебник для вузов. - 2-е изд.,
перераб. и доп. - М.: Энергоатомиздат, 1986. - 640 с.: ил.
Расчет и
проектирование установки по огневому обезвреживанию промышленных сточных вод:
Методические указания / сост.: Ю.В. Мусатов, В.Г. Прелатов, А.В. Рыжов.
Саратов: СГТУ, 2004. - 28 с.
Охрана
атмосферного воздуха от загрязнений: Метод. указ. к дипломному проектированию /
Сост.: В.В. Каштанов, С.В. Артемьев. Саратов: СГТУ, 1999. - 33 с.
О нормативах
платы за выбросы в атмосферный воздух загрязняющих веществ, сбросы загрязняющих
веществ в водоемы, размещение отходов производства и потребления: Постановление
Правительства РФ №344 от 12.06.2003 г.
Правила техники
безопасности при эксплуатации тепломеханического оборудования электростанций и
тепловых сетей. Руководящий документ РД 34.03.201-97. М.: Научно-учебный центр
ЭНАС, 1997. - 233 с.
Парогенератор с
опорами. Пояснительная записка. 320.05.00.00.000 ПЗ. ОКБ «Гидропресс», 1979
год.
Программа-методика
сепарационных испытаний реконструированной системы раздачи питательной воды
ПГ-4 блока N4 Балаковской АЭС.
Термодинамические
свойства воды и водяного пара. Вукалович М.П.
Экономические
расчеты производственного участка. М.Л. Макальская, А.Ю. Денисов. Москва, 1998
г.
Программа-методика
теплохимических испытаний реконструированной системы раздачи питательной воды
ПГ-4 блока N4 Балаковской АЭС.
Технические
решения о модернизации системы водопитания и паросеперационной схемы на ПГ-4
блока N4 Балаковской АЭС.