Исследование состояния и процессов влажного воздуха в различных сечениях воздушного канала

  • Вид работы:
    Контрольная работа
  • Предмет:
    Физика
  • Язык:
    Русский
    ,
    Формат файла:
    MS Word
    664,96 Кб
  • Опубликовано:
    2013-10-30
Вы можете узнать стоимость помощи в написании студенческой работы.
Помощь в написании работы, которую точно примут!

Исследование состояния и процессов влажного воздуха в различных сечениях воздушного канала

Содержание

1.   Цель работы

2.       Схема опытной установки с коротким описанием принципа её действия

.        Порядок выполнения опыта

.        Результаты измерений

.        Обработка результатов измерений

.        Диаграмма влажного воздуха

Вывод

. Цель работы

Целью работы является исследование состояния и процессов влажного воздуха в различных сечениях воздушного канала.

. Схема опытной установки с коротким описанием принципа её действия

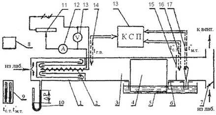
Рисунок 2.1 - Схема экспериментального стенда

Главной частью стенда является воздушный канал, представляющий собой последовательно соединенные калорифер 1 и сушильную камеру 3. Конструкция калорифера обеспечивает «лабиринтное» движение воздуха от поверхности калорифера к его центральной зоне, в которой установлен электрический нагреватель 2. Регулирование воздуха через установку осуществляется с помощью шибера 4, изменяющего проходное сечение воздушного канала. Параметры воздуха, поступающего из лаборатории в установку, определяются с помощью барометра 5 и психрометра 6, которые показывают барометрическое давление Рб и температуры «сухого» (t’х.в) и «мокрого» (t’м) термометров. Падение давления ΔР на входе в установку определяется по U-образному манометру 7. Нагрев воздуха в калорифере регулируется с помощью переменного сопротивления 8, а мощность электронагревателя измеряется по показаниям амперметра 9 и вольтметра 10. Температура горячего воздуха tг.в. на выходе из калорифера измеряется с помощью термопары 11. Температура подключена к автоматическому электронному потенциометру 12, на ленте которого непосредственно идет запись температур. Термопара не имеет холодного спая, так как в автоматическом потенциометре имеется специальное компенсирующее устройство, заменяющее холодный спай термопары.

3. Порядок выполнения опыта

Порядок выполнения опыта:

1. При полностью закрытом шибере 7 включается вентилятор.

. Тумблером «Сеть» подается напряжение на стенд; загорается индикаторная

лампочка.

. Тумблером 7 включается электронагреватель калорифера

. Регулятором «Калорифер» устанавливается заданное значение напряжения.

. Тумблером «Потенциометр» включается потенциометр.

. В таблицу измерений заносят первоначальные показания всех приборов (таблица 4.1).

. Производится регистрация экспериментальных значений.

. Опыт заканчивается выключением потенциометра, электронагревателя, а затем вентилятора.

По полученным данным на i, d - диаграмме (рисунок 4.1) строят процессы, происходящие в установке.

Рисунок 3.1 -Расчетная схема однопоточной сушильной установки

. Результаты измерений

Таблица 4.1 - Результаты измерений

I, А

U, В

tг.в., °С

tс”, °C

tм”,°C

tс’,°C

tм’,°C

ΔP, ммвод.ст.

Рб, кПа

0,54

15

80

32

28

21

15,5

25

102.3


Рисунок 4.1 - Диаграмма процессов

Процесс 1-2: нагревание в калорифере.

Процесс 2 - 3: сушка.

Таблица 4.2 - Параметры влажного воздуха

№ опыта

tC, °С

tM, °С

φ, %

d, г/кг

i, кДж/кг

РП, кПа

1

21

15.5

51

8

41

1,06

2

80

-

8

102

1,06

3

32

28

74

23

88

3,19


. Обработка результатов измерений

) Плотность воздуха на выходе из калорифера находим по уравнению состояния идеального газа:

,

где Pб - барометрическое давление в лаборатории, Па;

V - удельный объем газа, м3/кг;

R=287 Дж/(кг*К) - газовая постоянная воздуха;

Тг.в.= tг.в.+273 -абсолютная температура воздуха на выходе из калорифера, К.

) Массовый расход воздуха, проходящего через установку, определяется по формуле:

,

где αf = 5.434·10-6 м2 - постоянная установки;

p - плотность воздуха, кг/м3;

Dp - перепад давления на U - образном манометре, Па;

мм водяного столба = 9,81 Па.

) Массовый расход сухого воздуха находят по формуле:


Где di - влагосодержание воздуха на входе в установку, г/кг

) Количество испаренной влаги на 1 кг сухого воздуха определяется по разности влагосодержания на выходе и входе установки:

Dd = d3 - d1= 23 - 8 =15 г/кг

) Затраты тепла в установке на испарение 1 кг влаги находят по формуле:


) Тепловые потери в окружающую среду:

) Доля тепла, теряемого установкой в окружающую среду, от тепла, выделяемого электронагревателем:


) В теоретической сушилке, т.е. без потерь тепла в окружающую среду, процесс сушилки будет происходить при постоянной энтальпии, тогда

Доля тепла:

опыт установка влажный воздух

Рисунок 5.1 - Диаграмма влажного воздуха

Процесс 1-2 нагревание влажного воздуха; 2-3 сушка.

Вывод

В результате опыта на учебном стенде установлено, что экспериментально найденное значение доли тепла, теряемого установкой, практически не отличается от теоретического значения, разница составляет 2,2%.

Похожие работы на - Исследование состояния и процессов влажного воздуха в различных сечениях воздушного канала

 

Не нашли материал для своей работы?
Поможем написать уникальную работу
Без плагиата!
Без нейросетей!