Апирогенность как одно из основных требований к качеству парентеральных лекарственных форм. Пирогенные вещества. Способы депирогенизации
Министерство
здравоохранения и социального развития РФ
ГОУ
ВПО Самарский Государственный медицинский университет
кафедра
фармацевтической технологии
Курсовая
работа на тему:
Апирогенность
как одно из основных требований к качеству парентеральных лекарственных форм.
Пирогенные вещества. Способы депирогенизации
Выполнил студент:
Манова Мария
Александровна
Самара,
2012
Содержание
Введение
Цели и задачи работы
1. Пирогенные
вещества
2. Источники
и природа пирогенных веществ
2.1 Эндогенные
пирогенные вещества
2.2 Экзогенные
пирогенные вещества
3. Пирогенал
4. Лихорадка
5. Пирогенная
реакция
6. Предотвращение
пирогенности лекарственных препаратов (способы депирогенизации)
7. Получение
апирогенной дистиллированной воды для инъекций
8. Хранение
воды для инъекций
9. Методы
определения пирогенных веществ в лекарственных средствах
9.1 Биологический
метод (испытание на кроликах)
9.2 Лимулус-тест
(LaL-тест)
9.2 Труднодоступные
и малоиспользуемые методы определения пирогенных веществ в лекарственных средствах
Заключение
Список использованной литературы
пирогенный лекарственный лимулус
тест
Введение
В номенклатуре современных лекарственных
препаратов инъекционные лекарственные формы занимают особое место. В организм
их вводят при помощи шприца с нарушением целостности кожных покровов или
слизистых оболочек.
Различают две формы введения жидкостей в
организм - инъекция (injection
- впрыскивание) и инфузия (infusion
- вливание). Различие между ними заключается в том, что первые представляют
собой сравнительно небольшие объемы жидкости, вводимые с помощью шприца, а
вторые - большие объемы, вводимые капельно или струйно. Инфузионные растворы
вводятся при различных патологических состояниях, связанных с большой потерей
крови, шоком, нарушением микроциркуляции, интоксикацией. Они способны
поддерживать жизнедеятельность клеток не вызывая сдвигов физиологического
равновесия. Вводятся в объеме более 100 мл.
Растворы для инъекций - это особая группа
лекарственных форм, изготовляемых в условиях асептики с последующей
стерилизацией.
Асептика - это определенный режим работы,
комплекс организационных мероприятий, позволяющий свести к минимуму возможность
попадания микроорганизмов в лекарственные препараты на всех этапах
технологического процесса. Для обеспечения асептики необходимо учитывать
источники микробной контаминации лекарственных препаратов. К ним относятся
помещения, воздух, вспомогательные и упаковочные материалы, лекарственные
вещества, а также работающий персонал. Создание асептических условий
достигается изготовлением лекарственных препаратов в специально оборудованном
асептическом блоке, комнате, изолированной от других помещений аптеки, или в
настольном боксе с использованием стерильных вспомогательных материалов и
посуды.
К инъекционным и инфузионным растворам
предъявляется ряд требований: отсутствие механических включений (прозрачность),
стабильность, стерильность, апирогенность и специальные требования
(осмолярность, соответствующий ионный состав, значение рН, изовязкость и др.).
Апирогенность инъекционных растворов
обеспечивают точным соблюдением правил получения и хранения апирогенной воды (Aqua
pro injectionibus)
и условий изготовления инъекционных растворов.
Требование апирогенности в первую очередь
относится к инфузионным растворам, а также к инъекционным при объеме
одноразового введения 10 мл и более.
Качество растворов для инъекций во многом
зависит от чистоты воды, используемой для их приготовления. Количество
микроорганизмов и посторонних веществ в воде, превышающие допустимые нормы,
установленные Государственной фармакопеей IX
издания и нормативами, разработанными ЦАНИИ, вызывает появление пирогенных
свойств у растворов. Пирогенные свойства обусловливаются пирогенными
веществами, которые являются продуктами обмена и распада микроорганизмов и
относятся к соединениям типа комплексных белков, полисахаридов или
липополисахаридов. Растворы для инъекций, обладающие пирогенными свойствами,
могут вызывать у больных при введении повышение температуры, озноб и другие
болезненные реакции, а при высоком содержании пирогенных веществ даже приводить
к летальному исходу.
В связи с этим Государственная фармакопея IX
издания требует, чтобы пирогенные вещества отсутствовали в воде для инъекций и
растворах лекарственных веществ для инъекций, а другие посторонние вещества не
превышали допустимые нормы.
Цели и задачи работы
Цель моей курсовой работы заключается в том,
чтобы показать, что одним из основных требований к качеству парентеральных
лекарственных форм является апирогенность. Пирогенные вещества - это продукты жизнедеятельности
и распада микроорганизмов (главным образом, грамотрицательных), погибшие
микробные клетки. Присутствие этих веществ в инъекционных растворах может
вызвать у больного при введении в сосуды, спинномозговой канал пирогенную
реакцию - повышение температуры тела, озноб и другие болезненные реакции, а
высокое содержание их может привести к летальному исходу.
Пирогенные вещества термостабильны и сохраняют
пирогенные свойства после стерилизации растворов, проходят через многие
фильтры, и освободить от них воду, инъекционные растворы путем термической
стерилизации практически невозможно. Поэтому очень важна профилактика
образования пирогенных веществ, которая достигается: созданием асептических
условий изготовления, строгим соблюдением правил санитарного режима и поведения
персонала в асептическом блоке; депирогенизацией трубопроводов, посуды,
соединительных трубок. Следовательно, очень важно строго соблюдать данные
требования на практике при изготовлении парентеральных лекарственных форм.
1. Пирогенные
вещества
Пирогенные вещества (греч. pyr
- огонь +gennao -
создавать, производить) - биологически активные вещества экзогенного
(бактериального и вирусного) и эндогенного (клеточно-тканевого) происхождения,
обладающие свойством вызывать перестройку уровня регуляции температурного
гомеостаза, приводящую к повышению температуры тела и развитию лихорадки.
Пирогенные
вещества относятся к соединениям типа липополисахаридов - веществ с большой
молекулярной массой, достигающей 8 000 000 и размером частиц 0,05- 1 мкм.
Активным пирогеном в липополисахаридах является липидная часть, которая
действует на терморегуляторные центры гипоталамуса и вызывает функциональные
нарушения в органах и системах организма. Присутствие этих веществ в
инъекционных растворах может вызвать у больного при введении в сосуды,
спинномозговой канал пирогенную реакцию - повышение температуры тела, озноб и
другие болезненные реакции, а высокое содержание их может привести к летальному
исходу. Наиболее резкие пирогенные реакции наблюдаются при внутрисосудистых,
спинномозговых и внутричерепных инъекциях. Первоначально
это явление было описано в 1865 г. при парентеральном введении дистиллированной
воды. В 1876 г. впервые появился термин "пироген" применительно к
веществам, выделенным из гниющего мяса. В 1891 г. С. П. Боткин установил, что
одной из причин лихорадочной реакции при брюшном тифе является образование
тканевых пирогенов. В период 1892 - 1912 г. г. было установлено, что пирогенная
реакция вызывается как живыми, так и погибшими микроорганизмами. В 1923 г. F.
B. Seibert
выделил пирогенные вещества из растворов, установил их термостабильность и
первым обосновал использование кроликов для изучения пирогенной реакции.
2. Источники и
природа пирогенных веществ
Различают эндогенные и экзогенные пирогены.
Первые являются клеточно-тканевыми продуктами, образующимися в определенных
условиях. Вторые - это вещества, содержащиеся в микробах и выделяющиеся в
процессе их жизнедеятельности.
2.1 Эндогенные
пирогенные вещества
Эндогенные пирогенные вещества образуются в
организме при действии бактериальных пирогенных веществ и экзогенных факторов,
вызывающих воспаление, а также при иммунопатологических процессах с участием
лимфокинов. Основным источником эндогенных пирогенных веществ являются моноциты
крови, альвеолярные и перитонеальные макрофаги, фиксированные макрофаги
селезенки и печени, а также нейтрофильные гранулоциты и эозинофилы; они
спонтанно синтезируются клетками некоторых опухолей. Образование эндогенных
пирогенных веществ лейкоцитами осуществляется только в условиях патологии при
взаимодействии с различными раздражителями и протекает в две фазы: фаза
активизации и фаза освобождения пирогенна. Вырабатываемый лейкоцитами
пирогенного вещества (лейкоцитарный пироген) термолабильный белок с молекулярной
массой 10 000 - 45 000 обладает в очищенном виде высокой пирогенной
активностью; стимулирует лейкоцитопоэз, синтез иммуноглобулинов и белков
(фибриногена, гаптоглобулина, церулоплазмина, C-реактивного
белка). В острой фазе воспаления лейкоцитарный пироген не имеет видовой
пирогенной специфичности. Открытие эндогенных пирогенных веществ позволило
обосновать современную унитарную теорию лихорадки. Они играют роль белковых
медиаторов; их действие на гипоталамические центры терморегуляции через простагландины
и циклические нуклеотиды приводит к смещению уровня регуляции температуры,
включению аппарата физической и химической терморегуляции, к развитию
лихорадки.
2.2 Экзогенные
пирогенные вещества
Экзогенные пирогенные вещества не действуют
непосредственно на центры терморегуляции; их пирогенная активность опосредуется
через образование вторичных, эндогенных, пирогенных веществ в организме. Такой
способностью обладают также метаболиты стероидных гормонов, синтетические
хемотоксические пептиды и интерфероногенная двуспиральная РНК. Наиболее высокой
биологической активностью обладают липополисахариды грамотрицательных бактерий,
способные повышать температуру тела, стимулировать гипофиз-адреналовую систему,
лейкоцитопоэз, синтез иммуноглобулинов, образование и выделение лейкоцитами
вторичных пирогенных веществ, интерферона, простагландинов, тормозить
рубцово-спаечные процессы и др.
Источниками пирогенных веществ в лекарственных
средствах в большинстве случаев являются микроорганизмы: главным образов
грамотрицательные бактерии, а также грибы и даже вирусы. Кроме того, пирогенную
реакцию могут вызывать некоторые химические вещества: продукты
термоокислительной деструкции пластмасс (например, фторопластов), суспензия
фосфата кальция, нуклеинат натрия и другие химические вещества.
Носителем пирогенности является эндотоксин
(0-антиген), присутствующий в клеточной оболочке микроорганизмов и составляющий
от 1 до 5 % сухой массы бактериальных клеток. Эндотоксин представляет собой
липополисахаридо-протеино-липоидный комплекс.
При его гидролизе образуются не обладающие
пирогенностью сложный протеин и липид В, а также относительно устойчивый
липополисахарид, ответственные за пирогенную реакцию.
Липополисахаридный комплекс является компонентом
самой внешней зоны клеточной стенки грамотрицательных бактерий. При кислотном
гидролизе липополисахарид расщепляется на свободный липид А и
"деградированный" нетоксичный фосфорилированный полисахарид. Липид А
липополисахаридов различных микроорганизмов имеет очень близкое строение, в то
время как полисахаридная часть весьма отличается как своей молекулярной массой,
так и природой моносахаридов. Считают, что пирогенность и токсичность пирогенов
определяется именно липидом А, полисахарид же биологически неактивен и
обеспечивает растворимость липополисахаридного комплекса.
Широким варьированием свойств полисахаридов
объясняют значительные колебания у пирогенов, образуемых различными
микроорганизмами, молекулярной массы (от 10 000 до 8 000 000), размеров частиц
(от 50 мкм до 1 мкм) и минимальной дозы, вызывающей пирогенную реакцию (от
0,001 до 7 мкг/мл).
3. Пирогенал
К экзогенным пирогенным веществам относится
препарат пирогенал. Пирогенал - биогенный препарат; липополисахаридный комплекс
из клеточных оболочек грамотрицательных бактерий.
Светло-кремовый аморфный порошок, легко
растворимый в воде. Активность препарата определяют биологическим путем и
выражают в минимальных пирогенных дозах (МПД). За 1 МПД принимают количество
препарата, которое при внутривенном введении вызывает повышение температуры
тела кроликов на 0,6 град. МДП стандартного пирогенала - 0,01 мкг/кг.
Пирогенал вызывает повышение температуры тела
путем активации ретикулоэндотелиальной и гипоталамо-гипофизарной систем.
Стимулирует общую и специфическую резистентность организма, а также обладает
адъювантными, десенсибилизирующими и противовоспалительными свойствами. В
механизме действия пирогенала имеет значение его фиксация на лейкоцитах и
мастоцитах с последующим высвобождением лизосомальных ферментов, лейкоцитарного
(эндогенного) пирогенна, биогенных аминов и других биологически активных
веществ.
Лейкоцитарный (эндогенный) пироген, воздействуя
на термочувствительные нейроны преоптической области гипоталамуса, способствует
повышению температуры тела. Другие биологически активные вещества, выделяющиеся
под влиянием пирогенала, определяют развитие прочих эффектов препарата. Так,
под влиянием лизосомальных ферментов происходит активация фибринолитической и
кининовой систем крови, вследствие чего повышается проницаемость сосудов,
улучшается кровоснабжение и регенерация тканей. Противовоспалительное и
десенсибилизирущее действие пирогенала обусловлено, очевидно, стимуляцией
гипофизарно-адреналовой системы. Повышая проницаемость сосудов, пирогенал
способствует лучшему проникновению химиотерапевтических веществ в очаги
повреждения.
Пирогенал применяют в целях стимуляции
репаративных процессов после травм, ожогов, заболеваний и поражений нервной
системы, для рассасывания патологических рубцов, спаек (например, стриктуры
уретры), при некоторых воспалительных заболеваниях (простатите, уретрите,
аднексите и др.), при помутнении роговицы. Пирогенал используют также как
неспецифическое средство в терапии венерических болезней, например сифилиса.
Препарат вводят внутримышечно один раз в день.
Инъекции производят через день или реже (через 2 - 3 дня). Дозы подбираются
индивидуально. Начальные дозы для взрослых обычно составляют 25-50 МПД, для
детей 5-15 МПД. Доза, вызвавшая повышение температуры до 37,5 - 38,0 град. при
последующих инъекциях повторяется до тех пор, пока температура перестанет
повышаться. После этого дозу постепенно увеличивают на 25 - 50 МПД.
Максимальная разовая доза для взрослых 1000 МПД, для детей - 250 - 300 МПД. В
зависимости от заболевания курс лечения для взрослых состоит из 10 - 30
инъекций, для детей - из 10 - 15 инъекций. Интервалы между курсами не менее 2 -
3 мес.
При передозировке препарата могут возникать
головная боль, боли в суставах и пояснице, озноб, тошнота, рвота, резкое
повышение температуры тела (иногда до 39,5 - 40 град.). Эти явления
продолжаются обычно 6 - 8 часов и полностью проходят.
Пирогенал противопоказан при острых лихорадочных
заболеваниях и беременности. Лицам страдающим гипертонией и диабетом, пирогенал
назначают с осторожностью в уменьшенных дозах.
4. Лихорадка
Лихорадка - типовая терморегуляторная реакция на
воздействие пирогенных раздражителей, выражающаяся перестройкой регулирования
температурного гомеостаза организма на поддержание более высокого, чем в норме,
уровня теплосодержания и температуры тела. Лихорадка является в своей основе
приспособительной реакцией , повышающей естественную резистентность организма
при инфекционных болезнях, хотя при определенных условиях она может приносить
вред больному.
К пирогенным агентам, т. е. факторам, вызывающим
лихорадочную реакцию, относятся микробы и вирусы, продукты их распада и
вещества, становящиеся в организме объектом фагоцитоза или пиноцитоза, а также
любые вещества и воздействия, повреждающие ткани и вызывающие воспаление.
Лихорадочная реакция как особый терморегуляторный акт развивается при разных
болезнях и введении в организм различных пирогенных веществ в основном
однотипно. Это обусловлено тем, что действие экзогенных пирогенных веществ и
факторов инфекционной и неинфекционной природы на центральный механизм
терморегуляции непрямое и опосредуется существующим в организме физиологическим
механизмом запуска и поддержания лихорадки.
Лихорадочная реакция проходит в три стадии:
подъем температуры (stadium
incrementi), состояние
температуры на высоких цифрах (stadium
fastigii) и спад
температуры (stadium
decrementi).
5. Пирогенная
реакция
При внутрисосудистом введении лекарственных
препаратов, содержащих пирогенные вещества, развивается пирогенная реакция.
Различают 3 степени пирогенной реакции: легкую, среднюю и тяжелую.
При легкой степени реакции наблюдается
незначительные субъективные расстройства и повышение температуры до 37 град.
Реакция средней тяжести проявляется в ознобе, головной боли, повышении
температуры до 39 град. и исчезает через несколько часов. При тяжелой степени
пирогенной реакции появляется сильный озноб, боль в пояснице, рвота, одышка,
цианоз, повышение температуры до 40 град. Улучшение наступает лишь через сутки.
В отдельных случаях вливания пирогенных препаратов наблюдались смертельные
исходы, вызванные указанными выше явлениями, а также изменениями в картине
крови, расстройством сердечно-сосудистой деятельности, кровоизлияниями в
желудочно-кишечном тракте, некрозами в различных органах и др.
Большинство видов микроорганизмов вызывают
пирогенную реакцию при содержании 104 - 106 микробных
клеток в 1 мл раствора. Грамположительные микроорганизмы, как правило, не
вызывают пирогенную реакцию.
6. Предотвращение
пирогенности лекарственных препаратов (способы депирогенизации)
Пирогенные вещества термостабильны и сохраняют пирогенные
свойства после стерилизации растворов, проходят через многие фильтры, и
освободить от них воду, инъекционные растворы путем термической стерилизации
практически невозможно. Поэтому очень важна профилактика образования пирогенных
веществ, которая достигается: созданием асептических условий изготовления,
строгим соблюдением правил санитарного режима и поведения персонала в
асептическом блоке; депирогенизацией трубопроводов (в случаях их
использования), посуды, соединительных трубок; обработкой их раствором водорода
перекиси или калия перманганата, подкисленного серной кислотой. Также очень
важны: правильное хранение воды для инъекций; депирогенизация натрия хлорида и
других термостабильных веществ; соблюдение времени от начала изготовления
инъекционных растворов до стерилизации.
Существующие методы депирогенизации подразделяют
на химические, физико-химические и энзиматические (последние не пригодны в
фармацевтической технологии).
Химические:
· Нагревание в водороде пероксида при
100 0 С в течение 1 часа.
· Выдерживание в подкисленном кислотой
серной 0,5 - 1 % растворе калия перманганата
в течение 25 - 30 мин.
· Нагревание растворов с добавлением
натра едкого.
· Нагревание растворов с добавлением
антрахинона.
· Нагревание растворов с добавлением
кислоты хлористоводородной.
Однако, эти методы не могут найти широкого
применения вследствие одновременного разрушения лекарственных веществ. Эти
методы используют для обработки стеклянных соединительных трубок и др.
Физико-химические:
· Адсорбция на активированном угле,
коалине, окиси алюминия, асбесте, целлюлозе,
крахмале, кизельгуре, а также на ионообменных смолах. К недостаткам этого
метода относится адсорбция лекарственных веществ, особенно при использовании
угля, а также необходимость очистки депирогенизированных растворов от
механических включений.
· Ультрафильтрация - процесс
разделения и фракционирования растворов,
при котором макромолекулы (с М. м. от 1 тыс. до 1 млн.) отделяются от раствора
и низкомолекулярных соединений фильтрацией через мембраны. Мембранные фильтры
представляют собой тонкие (100 - 150 мкм) пластины из полимерного материала,
характеризующиеся ситовым механизмом задержания микроорганизмов и постоянным
размером пор. Средний размер пор фильтра, гарантирующего получение стерильного
фильтрата, составляет 0,3 мкм. Во избежание быстрого засорения фильтра мембраны
используют в сочетании с предфильтрами, имеющими более крупные поры. Мембранные
фильтры "Владипор" из ацетата целлюлозы типа МФА могут быть
использованы для очистки от механических примесей и микроорганизмов растворов
лекарственных веществ, имеющих рН в пределах от 1,0 до 10,0. Фильтры
"Владипор" имеют 10 номеров от 0,05 до 0,95 мкм (для фильтрации
воды). Для стерилизации растворов лекарственных веществ предназначены фильтры
МФА-3 и МФА-4 со средним размером пор соответственно 0,25 - 0,35 и 0,35 - 0,45
мкм. Выпускаются они в виде пластин и дисков разного диаметра. Фильтры типа МФА
до фильтрования стерилизуют насыщенным водяным паром при избыточном давлении,
температура 120+2 0 С или сухим горячим воздухом при температуре 180
0 С, обработкой формальдегидом, этанолом, водорода пероксидом,
окисью этилена, УФ или радиационным методом. Установлено, что при
ультрафильтрации через ацетилцеллюлозный мембранный фильтр "Владипор"
УАМ-100 задерживается более 99 % липополисахаридов, обуславливающих
пирогенность. С применением ультрафильтрации получены апирогенные растворы
глюкозы, аминокислот, апоморфина гидрохлорида, викасола, барбитала натрия и др.
· Удерживание диэлектрическими
материалами.
· Стерилизация ионизирующим излучением
(радиационный метод).
Данный метод основан на
бактерицидном действии 
-лучей. Стерилизацию проводят в 
-установках, ускорителях электронов
и других установках с ионизирующим излучением дозой 25 кГр (2,5 Мрад) в
конечной упаковке, имеющих мощные защитные приспособления. Источниками 
-излучения служат долгоживущие
изотопы кобальта-60 и цезия-137. Метод рекомендован для изделий из пластмасс,
изделий одноразового применения, перевязочных материалов, некоторых
лекарственных препаратов.
7. Получение
апирогенной дистиллированной воды для инъекций
Качество растворов для инъекций во
многом зависит от чистоты воды, используемой для их приготовления. По ГФ ХI вода для
инъекций должна отвечать требованиям, предъявляемым к воде дистиллированной, и
быть апирогенной.
Воду для инъекций получают в
асептических условиях на основании приказа Минздрава СССР № 581 от 30.04.85 г.
"Санитарные требования к получению, транспортировке и хранению воды
дистиллированной и воды для инъекций". Получение воды для инъекций
производят в дистилляционной комнате асептического блока, где категорически
запрещается выполнять какие-либо работы, не связанные с дистилляцией воды.
Получение воды для инъекций
производится с помощью аквадистилляторов согласно прилагаемым к ним
инструкциям.
Известно, что пирогенные
(высокомолекулярные соединения) вещества нелетучи и не перегоняются с водяным
паром. Загрязнение дистиллята пирогенными веществами происходит путем
перебрасывания мельчайших капель воды или уноса их струей пара в конденсатор.
Поэтому главной задачей при получении воды для инъекций является отделение
капелек воды от паровой фазы. Для этой цели предложены аппараты, в которых в
отличие от обычного дистиллятора водяной пар проходит через специальные
приспособления различной конструкции - сепараторы. По конструкции они бывают
центробежные, пленочные, объемные, массообъемные, комбинированные. В
центробежных сепараторах создается вращательное движение сепарируемого пара и
под действием ускорений частицы влаги интенсивно выделяются из потока пара.
Пленочные сепараторы состоят из набора пластинок различного профиля, через
зазоры которых проходит сепарируемый пар. В объемных сепараторах капли воды
выпадают из потока пара под действием силы тяжести. В комбинированных используется
сочетание двух или нескольких видов сепарации. В некоторых аппаратах пар
проходит длинный извилистый путь и на пути в конденсатор постепенно теряет
капельно-жидкую фазу.
К числу таких аппаратов относится
аквадистиллятор ДЭ-25 "рис. 1", воду дистиллированную в котором
получают путем тщательной сепарации пара, проходящего через отражательные
экраны, расположенные в верхней части камеры испарения. Аппарат снабжен
автоматическим устройством - датчиком уровня, предохраняющим электронагреватели
от перегорания в случае понижения уровня воды ниже допустимого.
Производительность аппарата 25 л/ч. Несмотря на то что данный аквадистиллятор
используют в основном для получения воды дистиллированной, он при правильной
эксплуатации дает воду апирогенную.
"Рис. 1" Аквадистиллятор
ДЭ-25
Для получения воды апирогенной
предложен ряд аппаратов различной конструкции, к числу которых относятся
аппараты АА-1, А-10 (ДА-10), АЭВС-4, АЭВС-25, АЭВС-60.
Аппарат для получения воды апирогенной
АА-1 - аквадистиллятор апирогенный электрический имеет номинальную
производительность 1 л/ч. Конструкция и принцип работы аппарата незначительно
отличаются от аквадистиллятора ДЭ-25 "рис. 2".
"Рис. 2" Аппарат для получения
воды апирогенной АА-1
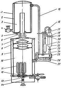
Основными частями аппарата являются
камера испарения (10) с сепаратором (8), конденсатор (1), сборник-уравнитель
(25) и электрощит. Камера испарения (10) снаружи защищена стальным кожухом (9),
предназначенным для уменьшения тепловых потерь и предохранения обслуживающего
персонала от ожогов. В дно (12) камеры вмонтированы четыре электронагревателя
(11). В камере испарения (10) вода (с добавлением химических реагентов),
нагреваемая электронагревателями (11), превращается в пар, который через
сепараторы (8) и паровую трубку (7) поступает в конденсационную камеру (3),
охлаждаемую снаружи холодной водой, и, конденсируясь, превращается в воду
апирогенную. Вода апирогенная вытекает через ниппель (5). Для предотвращения
повышения давления в камерах (3) и (10) имеется предохранительная щель (6),
через которую может выйти излишек пара.
Охлаждающая вода, непрерывно
поступая через вентиль (4) в водяную камеру (2) конденсатора (1), по сливной
трубке (15) сливается в сборник-уравнитель (25), сообщающийся с камерой
испарения (10), предназначенный для постоянного поддержания уровня воды в ней.
В начале работы аппарата вода заполняет камеру испарения до установленного
уровня. В дальнейшем, по мере выкипания, вода будет поступать в камеру испарения
частично, основная же часть через штуцер (26) будет сливаться в канализацию.
Для визуального наблюдения за уровнем воды в камере испарения (10) на штуцере
сборника-уравнителя (25) имеется водоуказательное стекло (27).
Сборник-уравнитель (25) также предназначен
для смешивания воды с химическими реагентами, добавляемыми в камеру испарения
для получения качественной апирогенной воды, отвечающей требованиям фармакопеи.
Для этой цели в сборнике-уравнителе имеется специальная трубка, через которую
химические реагенты поступают в камеру испарения (10) вместе с водой. Строгая
дозировка химических реагентов обеспечивается специальным дозирующим
устройством, состоящим из двух стеклянных сосудов (22) с капельницами (24),
двух фильтров (21) и двух дозаторов (18), соединенных резиновыми трубками.
Дозирующее устройство соединено со
сборником-уравнителем (25) через капельницы (24). Крепление дозирующего
устройства осуществляется на кронштейне (19), в котором имеются специальные
отверстия для стеклянных сосудов (22), закрепляемых при помощи резиновых колец
(20), и специальные пазы, в которые свободно вставлены дозаторы (18). Дозаторы
(18) крепятся на кронштейне (19) контргайками (17). Таким образом, получение
воды апирогенной обеспечивается за счет тщательной сепарации пара, а также за
счет добавления в воду по необходимости химических реагентов: калия
перманганата, квасцов алюмокалиевых и натрия гидрофосфата, для чего имеется
специальное дозирующее устройство, состоящее из двух стеклянных сосудов с
капельницами, фильтрами и дозаторами. В один сосуд помещают раствор натрия
гидрофосфата и квасцов алюмокалиевых, в другой - раствор калия перманганата.
Дозирующее устройство устанавливают так, чтобы на один литр воды подавалось
0,152 г калия перманганата, 0,228 г квасцов алюмокалиевых и 0,228 г натрия
гидрофосфата. Однако, вода до дистилляции не освобождается от солей, придающих
ей жесткость.
Аппарат А-10 работает с
производительностью (10 л/ч), но является технически более совершенной моделью.
Получение воды апирогенной в нем обеспечивается за счет тщательной сепарации
пара, проходящего через отражательные экраны сепаратора, расположенные в
верхней части камеры испарения, а также за счет добавления в воду необходимых
химических реагентов. Аппарат снабжен датчиком уровня воды, предотвращающим
перегорание электронагревателей путем автоматического их отключения от
электросети, если уровень воды в камере испарения будет ниже допустимого.
В настоящее время выпускают три типа
дистилляторов (АЭВС-4, АЭВС-25, АЭВС-60). Они отличаются друг от друга
производительностью, габаритами и потреблением электроэнергии.
Аппарат АЭВС-4А (дистиллятор
электрический с водоподготовкой для получения воды апирогенной) представляет
собой стационарную установку, состоящую из следующих составных частей: испарителя,
сборника воды для инъекций, трубопроводов, электрошкафа и противонакипного
магнитного устройства (ПМУ).
Работа аппарата осуществляется
следующим образом: на линии подачи водопроводной воды находится противонакипное
магнитное устройство для освобождения исходной (водопроводной) воды от солей и
различных примесей, затем вода попадает в охлажденную рубашку сборника и
испаритель. После достижения заданного уровня излишки воды сбрасываются в
канализацию. Образующийся в камере испарения пар проходит через сепаратор и
затем по трубопроводу поступает в сборник, в котором благодаря водяной
охлаждающей рубашке пар охлаждается и конденсируется. После заполнения сборника
водой электронагреватель в камере испарения отключается. Производительность
аппарата - 4 л/ч.
АЭВС-25 (дистиллятор электрический с
водоподготовкой для получения апирогенной воды) представляет собой стационарную
установку. Аппарат состоит из следующих составных частей: испарителей и 2
ступеней (2), конденсатора (1), сборника воды для инъекций (3) "рис.
3".
На линии подачи водопроводной воды в
испарителе вмонтировано противонакипное магнитное устройство, предназначенное
для предварительной очистки исходной воды. Одновременно с подачей воды в
испаритель по специальному трубопроводу водопроводная вода подается в
охлаждающую рубашку сборника. Образующийся в испарителе 1 ступени пар проходит
через сепаратор и затем по трубопроводу поступает в нагревательную камеру
испарителя 2 ступени.
Пароводная смесь из нагревательной
камеры и пар, прошедший через сепаратор испарителя 2 ступени, поступают по
трубопроводам в сборник. В сборнике благодаря его водяной охлаждающей рубашке
проходит конденсация пароводяной смеси и собирается вода для инъекций.
"Рис. 3" Аппарат для
получения воды апирогенной АЭВС-25
Аппарат АЭВС-60 представляет собой
аквадистиллятор с водоподготовкой для получения воды апирогенной стационарного
типа (производительность 60 л/ч). Принцип работы его тот же, что и у аппарата
АЭВС-25.
Вода деминерализованная (Aqua demineralisata) в
медицинской практике применяется наряду с водой для инъекций, для изготовления
инъекционных растворов. Вода деминерализованная для инъекционных растворов
получается путем пропускания исходной воды через стерилизующий фильтр и
свежерегенерированные иониты: пористые сильнокислотные катиониты и
высокоосновные аниониты в Н- и ОН-формах, так как они после тщательной отмывки
не выделяют в воду никаких примесей. В качестве катионита используют КУ-23 или
его аналог КУ-2-8пч, в качестве анионита АВ-171 или АВ-17-8пс. Ионообменные
смолы перед употреблением и периодически по мере истощения обменной емкости
подвергают регенерации. В качестве стерилизующего фильтра используют фильтр Сальникова
( "СФ-5"). Можно использовать и другие, гарантирующие стерильность
пропущенной через них воды фильтры: пористые стеклянные, фарфоровые,
керамические, миллипоровые.
В процессе получения воды
осуществляют постоянное наблюдение за показаниями кондуктомера для определения
электросопротивления воды, т. е. осуществляют контроль за глубиной
обессоливания воды.
Воду деминерализованную для
инъекционных растворов контролируют в соответствии со статьями ГФ ХI "Вода
дистиллированная" и "Вода для инъекций". Срок хранения - не
более 24 ч.
8. Хранение
воды для инъекций
Большое значение для качества воды
имеет способ ее сбора и хранение.
Хранить воду для инъекций необходимо
в закрытых сосудах, защищенных от попадания углерода диоксида и пыли. Сосуды
необходимо часто мыть и стерилизовать.
Для этой цели рекомендованы сборники
воды для инъекций, которые предназначены для сбора, хранения и стерилизации
воды в аптеках и стационарных лечебных учреждениях. Вместимость сборников 40 л
(СИ-40) и 100 л (СИ-100). Сборники воды для инъекций "рис. 4" сделаны
из нержавеющей стали, снабжены трубчатыми электорнагревателями, фильтром
воздуха, устройством для наблюдения за уровнем воды, питающим патрубком,
сливным краном и температурным датчиком, отключающим электронагреватели при повышении
температуры стенок сборника выше 1000 С. Сборники могут
присоединяться к одному или нескольким аппаратам для получения воды для
инъекций, работающим одновременно.
Для сохранения стерильности воды
апирогенной в ряде аптек осуществляют подачу ее от аквадистиллятора к рабочему
месту ассистента по стерильному стеклянному трубопроводу. На пути следования по
трубопроводу вода стерилизуется ультрафиолетовой радиацией. Хранение в
сборниках воды для инъекций и подача ее на рабочее место ассистента осуществляется
в соответствии с приказом Минздрава СССР № 581 от 30.04.85 г. Вода для инъекций
применяется свежеперегнанной. Хранится в асептических условиях. Годна к
употреблению не более 24 ч.
"Рис. 4" Сборник воды для
инъекций
Контроль качества воды для инъекций.
На основании приказа Минздрава СССР № 573 от 30.11.62 г. вода для инъекций
контролируется ежедневно в соответствии со статьями ГФ ХI "Вода
дистиллированная" и "Вода для инъекций". СЭС два раза в квартал
проверяет воду на стерильность и один раз в квартал на пирогенность.
9. Методы
определения пирогенных веществ в лекарственных средствах
В связи значительной сложности
предохранения лекарственных средств от микробной контаминации и большой
опасности пирогенной реакции фармакопеями многих стран мира, в том числе СССР,
предусмотрена проверка воды для инъекций и ряда лекарственных веществ на
пирогенность.
Проверке на пирогенность подвергают
растворы, вводимые внутривенно в объемах 10 мл и более (ГФ XI).
Обязательно должны проверяться 5% раствор глюкозы, изотонический натрия хлорид,
10% раствор желатина. Один раз в квартал (приказ Минздрава № 573 от 30. 11. 62
г.) проводят испытание на пирогенность воды для инъекций. Важно проверять также
препараты, получаемые из природного сырья (антибиотики, ферменты, экстракты из
печени, препараты крови, лизаты белков и т. п.). Требуют также проверки
пирогенности вода и другие жидкости, используемые для промывания флаконов,
ампул, приборов для инфузий, изделий из стекла, пластмассы и резины, в которых
содержатся или с которыми соприкасаются препараты для вливания; шприцы
одноразового использования; пластмассы и резины, применяемые при изготовлении
растворов для инъекций.
.1 Биологический
метод (испытание на кроликах)
Согласно ГФ XI испытание
пирогенности проводят на кроликах (биологический метод). Берут кроликов обоего
пола массой от 1,5 до 2,5 кг, содержащихся в строго регламентированных условиях
и имеющих исходную ректальную температуру от 38,50 С до 39,50
С. Растворы испытуемых лекарственных веществ или препаратов и жидкие
лекарственные препараты вводят в количествах и растворителях, указанных в
соответствующих фармакопейных статьях или специальных инструкциях. Используемая
для разведения вода для инъекций должна быть стерильной и апирогенной. Для
испытания воды для инъекций из нее предварительно готовят 0,9%-ный раствор
натрия хлорида, используя депирогенизированный и простерилизованный
(нагреванием при 2500 С в течение 30 мин или при 1800 С в
течение 2 ч) натрия хлорид. Количество вводимого раствора натрия хлорида
составляет 10 мл на 1 кг массы.
Стерильные испытуемые растворы,
подогретые до 370 С, вводят кроликам в ушную вену.
Испытание каждого раствора проводят
на 3 кроликах, измеряя ректальную температуру 3 раза с промежутками 1 ч.
Вода или раствор лекарственного
вещества считаются непирогенными, если после введения ни у одного из трех
подопытных кроликов ни при одном из трех измерений не наблюдалось повышение
температуры более, чем на 0,60 С по сравнению с исходной
температурой, и в сумме повышение температуры у 3 кроликов не превышало 1,40
С.Если эта сумма превышает 2,20 С, воду для инъекций или исследуемый
раствор лекарственного средства считают пирогенным. Когда сумма повышений
температуры тела у трех кроликов находится в пределах от 1,5 до 2,20
С, испытание повторяют дополнительно на пяти кроликах. Нормативными
документами установлены тест-дозы на апирогенность растворов: для растворов
натрия гидрокарбоната 1 мл/кг массы тела животного; глюкозы 5 и 10 %
концентрации - 10 мл/кг (в виде 5 % раствора), 20 и 40 % концентрации - 10
мл/кг (в виде 10 % раствора); для солевых растворов: "Хлосоль",
"Трисоль", "Квартасоль", "Квинтасоль", Рингера -
Локка и других - 10 мл/кг массы тела животного.
Рассмотренный метод имеет ряд
существенных недостатков: необходимость содержать большое количество подопытных
животных, значительные колебания чувствительности кроликов к пирогенам, высокая
стоимость анализа.
9.2 Лимулус-тест
(LaL-тест)
В настоящее время наиболее
перспективным методом испытания на пирогенность можно считать лимулус-тест (LaL-тест).
Метод основан на способности лизированных клеток (амебоцитов) крови крабов Limulus poliphemus реагировать
с бактериальными пирогенными эндотоксинами, образуя гель.
Лизат амебоцитов Limulus (LaL) получают
следующим образом. Отбирают иглой кровь краба, помещают ее в буферный раствор.
Отделяют центрифугированием амебоциты, являющиеся единственными клетками крови
краба, отмывают их гипертоническим раствором натрия хлорида, а затем лизируют,
добавляя дистиллированную апирогенную воду. Полученный LaL, хранящийся
при +40 С, устойчив в течение 9 месяцев.
Лимулус-тест проводят, смешивая в
асептических условиях в пробирке 0,1 мл испытуемого раствора с 0,1 мл LaL. Смесь
инкубируют при 370 С в течение от 15 до 90 мин при рН от 6,0 до 8,0,
не подвергая ее встряхиванию. При наличии пирогенных эндотоксинов
грамотрицательных бактерий образуется гель, который обнаруживается по
увеличению вязкости смеси, потере ею текучести. При повороте пробирки на 1800
гель не должен разрушаться.
Лимулус-тест уже в 1980 г. включен в
ХХ фармакопею США наряду с тестом на кроликах. Его преимуществом является
высокая чувствительность, позволяющая в определенных условиях обнаруживать до 1
нг эндотоксина. Метод в 5 - 10 раз чувствительнее, чем тест на кроликах. Он
легко воспроизводится, надежен и экономичен. Тест широко используется для
контроля пирогенности воды, требуя для проведения от 20 до 90 мин, хорошо
коррелирует с тестом на кроликах. Применение этого метода позволяет очень
быстро и своевременно, до использования растворов в клинике, получить
результаты анализа на их пирогенность.
Предложена также новая модификация
лимулус-теста, проводимого в капилляре с применением всего 1 мкл реагента
вместо 0,1 мл при пробирочном методе. Для прочтения результата капилляр с
реакционной смесью погружается вертикально в окрашенный раствор. Если гель
образовался, то раствор не поступает в капилляр, и, наоборот, при отсутствии
пирогенов окрашенный раствор заполняет капилляр.
Капиллярный вариант лимулус-теста
позволяет определить очень малые количества эндотоксина, например в случае E. Coli - до 0,02
нг/мл.
К недостаткам лимулус-теста
относится влияние на него некоторых лекарственных веществ, замедляющих или
ускоряющих образование геля. Так, новокаин, гексаметилентетрамин ингибируют эту
реакцию, а растворы калия хлорида, натрия лактата ускоряют ее, что ведет к
получению ошибочных результатов. В связи с этим в подобных случаях
испытуемые растворы предварительно освобождаются от мешающих определению
лекарственных веществ путем ультрафильтрации, позволяющей отделить
низкомолекулярные вещества от высокомолекулярных пирогенов.
.3 Труднодоступные
и малоиспользуемые методы определения пирогенных веществ в лекарственных
средствах
К физическим методам относится
полярография. С. Ш. Чаусовским разработана методика определения пирогенности
воды и ряда лекарственных препаратов, основанная на способности пирогенных
веществ подавлять полярографический максимум кислорода. Однако
полярографический метод по чувствительности обнаружения пирогенных веществ на 2
порядка уступает биологическому испытанию на кроликах.
Л. Е. Щедриной и Л. И. Брутко
разработана методика люминесцентного анализа определения бактериальных
пирогенов в дистиллированной воде, основанная на изменении спектральных свойств
двух красителей (родамина 6Ж и 1-анилино-нафталин-8-сульфоната) в присутствии
пирогенов. Однако указанная методика не может широко использоваться, так как
она осуществляется с применением малодоступного и дорогого флуориметра марки
СДЛ-1.
Пирогенообразующие микроорганизмы, а
также бактериальные липополисахариды обладают поглощением в УФ-области при 259
- 260 нм. В связи с этим разработана методика обнаружения пирогенов в
дистиллированной воде и 0,9%-ном растворе натрия хлорида, включающая
предварительное концентрирование пирогенов с последующим определением
оптической плотности. Однако и эта методика не нашла применения в практике, так
как требует использования малодоступных кварцевых кювет с толщиной слоя 10 см
или же труднодоступной аппаратуры для концентрирования пирогенов методом
ультрафильтрации с применением специальных мембранных фильтров.
За рубежом на ряде фармацевтических
предприятий в настоящее время для определения пирогенности применяется
микробиологический метод, основанный на подсчете общего числа микроорганизмов в
анализируемом образце до его стерилизации. Так, вода для инъекций считается пирогенной,
если в ней содержится более 10 микроорганизмов в 1 мл.
Недостатком этого метода является
отсутствие дифференциации грамположительных и грамотрицательных
микроорганизмов, так как именно последние обуславливают пирогенность растворов.
В связи с этим несомненный практический интерес представляет
усовершенствованный метод обнаружения пирогенов, основанный на избирательной
идентификации грамотрицательных микроорганизмов в присутствии 3%-ного раствора
гидроксида калия.
По методике Л. Е. Щедриной и Л. И.
Брутко на предметное стекло наносят 1 каплю 3%-ного раствора гидроксида калия и
вносят в нее одну или несколько (до 10) колоний микроорганизмов, выращенных на
мясопептонном агаре. Если в течение 1 мин взвесь бактерий становится вязкой,
желеобразной, тянется за петлей, то анализируемая культура является
грамотрицательной. Предложенная методика проверена на большом количестве
грамположительных и грамотрицательных микроорганизмов и рекомендована к
внедрению на фармацевтических мероприятиях.
Заключение
В данной курсовой работе было
рассмотрено одно из важнейших требований к качеству инъекционных лекарственных
форм, а именно апирогенность. Апирогенность инъекционных растворов обеспечивают
точным соблюдением правил получения и хранения апирогенной воды (Aqua pro injectionibus) и условий
изготовления инъекционных растворов.
В связи с этим в курсовой работе
были подробно рассмотрены способы депирогенизации (химические и
физико-химические); методы и аппараты для получения апирогенной воды для
инъекций; методы определения пирогенных веществ в лекарственных средствах
(биологический метод, лимулус-тест и др.).
Требования к получению воды
апирогенной регламентированы в приказе Минздрава СССР № 581 от 30. 04. 85 г.
"Санитарные требования к получению, транспортировке и хранению воды
дистиллированной и воды для инъекций", фармакопейной статье "Aqua pro injectionibus",
статье ГФ XI
"Испытание на пирогенность", а также во временной инструкции по
получению в аптеках апирогенной дистиллированной воды для инъекций.
Качество изготовленных лекарственных
форм для инъекций напрямую зависит от условий изготовления. Следовательно, ясна
важность строжайшего соблюдения асептических условий изготовления инъекционных
лекарственных препаратов на всех этапах, независимо от последующей стерилизации.
Список использованной литературы
1. Бакулев А. Н. Большая
медицинская энциклопедия. Том 24. Издание второе. - М.: Государственное научное
издательство "Советская энциклопедия", 1962.
. Валевко С. А. Вода для
фармацевтических целей. Чистые помещения. - М.: ЯСИНКОМ, 1998.
. Валевко С. А., Соколова Л.
Ф., Карчевская В. В. Современные требования к воде, используемой для
приготовления лекарственных средств. Актуальные проблемы фармацевтической
технологии. - М.: НИИФ, 1994.
. Кондратьева Т. С. Технология
лекарственных форм: Учебник в 2 томах. Том 1. - М.: Медицина, 1991.
. Краснюк И. И., Михайлова Г.
В. Фармацевтическая технология. Технология лекарственных форм. - М.:
Издательский центр "Академия", 2006.
. Методические указания по
изготовлению стерильных растворов в аптеках (утв. Минздравом России 24 августа
1994).
. Молдавер Б. Л. Асептически
приготовляемые лекарственные формы.: Текст лекций. - Л.: 1990.
. Петровский Б. В. Большая
медицинская энциклопедия. Том 19. - М.: Издательство "Советская энциклопедия",1982.
. Приказ Минздрава России от
21 октября 1997 г. № 308 "Об утверждении инструкции по изготовлению в
аптеках жидких лекарственных форм".
. Приготовление, хранение и
распределение воды очищенной и воды для инъекций: МУ-78-113. - М., 1998.
. Применение мембранной
технологии и других средств фильтрования при изготовлении стерильных растворов:
методические рекомендации. - М., 1995.
. Синев Д. Н., Марченко Л.
Г., Синева Т. Д. Справочное пособие по аптечной технологии лекарств. Издание
2-е. - С-Пб.: Невский диалект, 2001.
. Тенцова А. И. Справочник
фармацевта. - 2-е издание, перераб. и дополн. - М.: Медицина, 1981.
. Фармакопея СССР IX
издания.
. Щепин О. П. Контроль
качества лекарственных средств. Справочник. - М.: Медицина, 1986.