Технология ремонта коробок передач с разработкой технологии восстановления первичного вала делителя

  • Вид работы:
    Курсовая работа (т)
  • Предмет:
    Транспорт, грузоперевозки
  • Язык:
    Русский
    ,
    Формат файла:
    MS Word
    295,92 Кб
  • Опубликовано:
    2014-01-19
Вы можете узнать стоимость помощи в написании студенческой работы.
Помощь в написании работы, которую точно примут!

Технология ремонта коробок передач с разработкой технологии восстановления первичного вала делителя



 

 

 

 

 

 

 

 

 

 

 

 

Технология ремонта коробок передач с разработкой технологии восстановления первичного вала делителя

 


1. Технические характеристики делителя коробки передач

На автомобилях установлена коробка передач мод. 14 или 15.

Коробка передач мод. 15 состоит из основной пятиступенчатой коробки передач и переднего двухступенчатого делителя. Делитель имеет высшую и низшую (прямую) передачи и в сочетании с основной пятиступенчатой коробкой позволяет получить десять передач переднего хода и две заднего хода.

Коробка передач мод. 14 в отличие от коробки передач мод. 15 не имеет делителя.

Делитель - механический редуктор, состоящий из одной пары цилиндрических зубчатых колес внешнего зацепления, первичного и промежуточного валов, синхронизатора и механизма переключения передач. При включении высшей передачи вращение передается от первичного вала делителя на его промежуточный вал, соединенный с промежуточным валом основной коробки передач. При включении низшей передачи вращение предается непосредственно на первичный вал основной коробки передач.

Чугунный картер делителя отлит как одно целое с картером сцепления. В гнездах картера на шариковых подшипниках установлены первичный и промежуточный валы. Передний шариковый подшипник первичного вала с манжетным уплотнением расположен в выточке коленчатого вала. Зубчатое колесо первичного вала установлено на специальных роликовых подшипниках. Первичные валы делителя и коробки передач соединены между собой зубчатой муфтой. Передачи в делителе включаются кареткой синхронизатора, которая перемещается поршнем пневмоцилиндра через рычаг и вилку. В нижней части картера делителя и коробки передач имеются три сливных отверстия, два из которых закрыты магнитными пробками для улавливания металлических частиц продуктов износа.

Для принудительного смазывания переднего подшипника вторичного вала и подшипников зубчатых колес коробки на первичном валу делителя установлено маслонагнетающее устройство, к которому масло поступает самотеком из маслонакопителя. Масло к подшипникам подводится по каналам в валах и ступицах зубчатых колес. Необходимый уровень масла в картере делителя поддерживается благодаря циркуляции его через два отверстия в стенках картера делителя и коробки передач.

Рис. 1. Делитель передач: 1, 32 - гайки; 2, 4 - шайба замковая; 3, 29 - крышка; 5, 27, 50 - болты; 6 - крышка в сборе; 7, 26, 46 - прокладка; 8, 9 - прокладка регулировочная; 10 - вал первичный в сборе; 11 - гайка кольцевая; 12 - кольцо маслонагнетающее; 13, 43 - штифт; 14, 45 - подшипник; 15, 51 - кольцо установочное; 16 - подшипник шариковый; 17 - вал первичный; 18 - шпонка призматическая; 19 - втулка; 20 - шестерня в сборе; 21 - пробка сливная; 22 - картер делителя передач с втулками в сборе; 23 - масленка; 24 - рым-болт; 25 - заглушка; 28, 31 - шайба пружинная; 30 - шпилька; 33 - синхронизатор в сборе; 34 - прокладка картера; 35 - вал промежуточный в сборе; 36 - гнездо заднего подшипника; 37 - винт; 38 - подшипник роликовый; 39 - шпонка; 40 - вал промежуточный; 41 - шестерня; 42 - делитель передач с управлением в сборе; 44, 48 - шпилька; 47 - шайба упорная; 49 - планка стопорная; 52 - кольцо уплотнительное

2. Технологический процесс разборки и сборки делителя коробки передач

Приборы, оборудование, инструмент.

Кран-балка ГОСТ 7890-84; стенд для разборки и сборки делителя передач; установка для мойки деталей мод. 196 М; пистолет для обдува деталей сжатым воздухом мод. 199; пресс ручной; пресс гидравлический мод. П6323; рукоятка динамометрическая мод. 131М; приспособление для разборки и сборки первичного вала делителя; верстак слесарный мод. И-153; оправка для снятия промежуточного вала делителя с переднего подшипника Д=35 мм, L=300 мм; оправка для выпрессовки переднего подшипника промежуточного вала из картера делителя трубчатая Днар=115 мм, Двн=90 мм, L=250 мм; оправка для запрессовки шестерни промежуточного вала на промежуточный вал делителя трубчатая Днар=85 мм, Двн=65 мм, L=60 мм; оправка для запрессовки переднего роликоподшипника на промежуточный вал трубчатая Днар=80 мм, Двн=67,5 мм, L=50 мм; оправка для запрессовки переднего подшипника промежуточного вала в картер делителя трубчатая Днар=68 мм, Двн=60 мм, L=300 мм; ключи гаечные 10, 13, 14, 17, 19 мм ГОСТ 2839-80; ключ для круглых шлицевых гаек ГОСТ 16984-79; ключ для кольцевых гаек; головки сменные 13, 14, 17, 19 мм ГОСТ 25604-83; клещи специальные; отвертка 6,5 и 8,0 мм ГОСТ 17199-71; бородок ГОСТ 7214-72; кернер; вороток ГОСТ 25601-83; молоток ГОСТ 2310-77; зубило ГОСТ 7211-72; технологические пластины; масленка; набор щупов №2 ГОСТ 882-75; ванна; емкость; ерш; кисть ГОСТ 10597-87; штангенциркуль ШЦ-11-160-0,05 ГОСТ 166-73; микрометр МК-25 гладкий ГОСТ 6507-78.

Разборка делителя передач:

1. Установить делитель передач в сборе на стенд.

Кран-балка, стенд для разборки и сборки делителя передач.

. Отвернуть болты крепления 34 с шайбами и снять кронштейн шаровой опоры промежуточной тяги управления в сборе с промежуточной тягой 33 (рис. 2).

. Отвернуть болты крепления 27 с шайбами, снять крышку смотрового люка 29 картера делителя передач и прокладку 26 (рис. 1).

Ключ гаечный 13 мм, отвертка 6.5 мм.

. Отвернуть болты крепления 14 с шайбами скоб воздухопроводов 15, снять скобы 16 (рис. 2).

Ключ гаечный 13 мм, головка сменная 13 мм, вороток.

Рис. 2. Привод управления механизмом переключения делителя передач: 1 - штифт; 2 - кольцо уплотнительное; 3 - клапан включения делителя в сборе; 4 - шайба плоская; 5, 15, 19 - шайба пружинная; 6, 7, 14, 25, 26, 30, 34 - болты; 8, 9, 10, 17, 21, 22, 23 - воздухопровод в сборе; 11 - прокладка воздухораспределителя; 12 - воздухораспределитель в сборе; 13 - гайка; 16 - скоба; 20 - клапан редукционный в сборе; 24 - колодка наконечников; 27, 29 - прокладка; 28 - болт полый; 31 - цилиндр воздухораспределителя передний; 32 - цилиндр воздухораспределителя задний; 33 - промежуточная тяга; 35 - промежуточная тяга в сборе

5. Отвернуть болты крепления 28 с шайбами и отсоединить воздухопроводы 8, 9, 10 управления механизмом переключения передач от колодки 24 крепления воздухопроводов (рис. 2).

Ключ гаечный 14 мм.

. Отвернуть болты крепления 30 с шайбами, отсоединить воздухопроводы от переднего 31 и заднего 32 цилиндров воздухораспределителя 12 и снять воздухопроводы с картера делителя передач (рис. 2).

Ключ гаечный 14 мм.

. Отвернуть болты крепления с шайбами 6 воздухопровода от клапана включения делителя передач 3 к воздухораспределителю и снять воздухопровод 17 (рис. 2).

Ключ гаечный 14 мм.

. Отвернуть болты крепления с шайбами воздухопровода от редукционного клапана к клапану включения делителя передач 3 и снять воздухопровод.

Ключ гаечный 14 мм.

. Вывернуть болты 25 колодки крепления воздухопроводов и снять колодку крепления воздухопроводов 24.

Ключ гаечный 13 мм.

. Отвернуть болт крепления с шайбой воздухопровода от редукционного клапана к ресиверу и снять воздухопровод.

Ключ гаечный 17 мм.

. Отвернуть болты крепления с шайбами 19 и снять редукционный клапан 20.

Ключ гаечный 10 мм.

. Отвернуть болты крепления с шайбами 15, 16, снять механизм переключения передач с воздухораспределителем в сборе 1 и прокладку 2.

Головка сменная 17 мм, вороток, отвертка 6,5 мм.

. Отвернуть болты крепления с шайбами 4, 5 и снять клапаны включения делителя 3 (рис. 2).

Головка сменная 13 мм, вороток.

. Отогнуть усы замковой шайбы 5, отвернуть стяжной болт с шайбой 5, снять рычаг механизма переключения передач 14 и шпонку 7 (рис. 3).

Ключ гаечный 19 мм, молоток, зубило.

Рис. 3. Механизм переключения делителя передач: 1 - механизм переключения передач в сборе; 2 - прокладка; 3 - фиксатор штока; 4 - пружина; 5 - шайба стопорная; 6, 10, 17 - болты; 7 - шпонка; 8 - валик; 9 - штифт; 11 - шайба рамковая; 12 - вилка; 13 - сухарь вилки; 14 - рычаг механизма; 15 - шайба плоская; 16 - шайба пружинная

. Расстопорить болты крепления 10 вилки механизма переключения делителя передач отгибом замковых шайб 11, ослабить болты крепления 10 и вынуть валик вилки 12, одновременно вынимая синхронизатор делителя передач 33 и вилку 12 механизма переключения делителя передач.

Молоток, зубило, ключ гаечный 17 мм, отвертка 6,5 мм.

. Расстопорить болты крепления 5 крышки заднего подшипника первичного вала отгибом замковых шайб 4, отвернуть болты крепления с шайбами, снять крышку в сборе 6, прокладки 7, 8, 9 и вынуть первичный вал делителя передач в сборе 10 (рис. 1).

Перед снятием первичного вала повернуть конусное кольцо синхронизаторов так, чтобы лыска кольца находилась напротив зацепляющихся зубьев шестерен.

Головка сменная 17 мм, вороток, молоток, зубило, отвертка 6,5 мм.

. Расстопорить гайки крепления 1 крышки переднего подшипника 45 промежуточного вала отгибом замковых шайб 2 и отвернуть гайки 1 с шайбами.

Молоток, зубило, отвертка 8,0 мм, головка сменная 19 мм, вороток.

. Ввернуть два технологических болта М10х1,25-7Н в крышку 3 переднего подшипника промежуточного вала, снять крышку и прокладку 51.

Головка сменная 17 мм, вороток, отвертка 6,5 мм.

. Расстопорить болты крепления 50 упорной шайбы 47 переднего подшипника промежуточного вала отгибом стопорной планки 49, снять стопорную планку, упорную шайбу и установочное кольцо 46.

Молоток, зубило, головка сменная 19 мм, вороток.

. Отвернуть винты крепления 37 гнезда заднего подшипника промежуточного вала.

Отвертка 6,5 мм.

. Ввернуть два технологических болта М8-7Н в гнездо заднего подшипника промежуточного вала 38, снять гнездо в сборе с роликоподшипником 38.

Головка сменная 13 мм, вороток.

. Спрессовать промежуточный вал 35 делителя с переднего подшипника 45 и вынуть вал в сборе из картера делителя передач.

Молоток, оправка.

. Выпрессовать передний подшипник промежуточного вала 45 из картера делителя передач.

Молоток, оправка.

. Установить промежуточный вал 35 в сборе на пресс и спрессовать шестерню 41 с промежуточного вала 40.

Пресс гидравлический, технологические пластины.

. Выпрессовать сегментную шпонку 39 из промежуточного вала 40.

Молоток, зубило.

. Установить первичный вал 10 делителя передач в сборе на приспособление.

Приспособление для разборки и сборки первичного вала делителя.

. Расстопорить в двух точках и отвернуть кольцевую гайку 11 М52х2-6д - левая первичного вала и снять маслонагнетающее кольцо 12, вынуть стопорный штифт 13.

28.     Снять первичный вал с приспособления, установит его на пресс и спрессовать задний подшипник 16 в сборе со втулкой 19.

Приспособление, пресс гидравлический мод. П6323, технологические пластины.

29.     Выпрессовать шпонку 18 втулки заднего подшипника, снять шестерню 20 первичного вала и два роликовых подшипника 14.

Молоток, зубило.

30.     Выпрессовать роликоподшипник 38 из стакан 36 заднего подшипника промежуточного вала.

Молоток, бородок, верстак слесарный.

31.     Спрессовать шарикоподшипник 16 с втулки 19 заднего подшипника первичного вала и снять с шарикоподшипника стопорное кольцо 15.

Верстак слесарный, молоток, бородок, клещи специальные.

. Промыть детали делителя передач и обдуть их сжатым воздухом. Установка для мойки деталей мод. 196М, пистолет для обдува деталей сжатым воздухом.

. Продефектовать детали делителя.

Дефектовка деталей производится в соответствии с картами дефектовки.

Сборка делителя передач:

34. Собрать задний шарикоподшипник 16 первичного вала с кольцом стопорным 15.

Клещи специальные.

. Установить втулку 19 заднего подшипника первичного вала на пресс и напрессовать на втулку подшипник 16.

Верстак слесарный, пресс ручной.

. Установить стакан 36 заднего подшипника промежуточного вала на пресс и запрессовать в стакан подшипник 38.

Верстак слесарный, пресс ручной.

. Установить два роликовых подшипника 14 и шестерню 20 на первичный вал делителя передач.

Перед установкой сопрягаемые поверхности первичного вала и шестерни смазать маслом ТСп-15к ГОСТ 23652-79. Роликовые подшипники должны быть данной размерной группы.

Масленка.

. Запрессовать призматическую шпонку 18 втулки заднего подшипника в паз первичного вала.

Молоток.

. Напрессовать шарикоподшипник задний в сборе со втулкой 19 на первичный вал 17.

Пресс гидравлический мод. П6323, оправка.

. Установить на первичный вал стопорный штифт 13 маслонагнетающего кольца и кольцо маслонагнетающее 12.

. Навернуть кольцевую гайку М52х2-6д - левая на первичный вал, затянуть ее и раскернить в двух точках.

Гайка должна быть затянута до отказа. Шестерня должна вращаться от руки плавно, без заеданий. Осевой люфт шестерни на валу должен быть в пределах 0,375…0,715 мм.

Ключ для кольцевых гаек, молоток, кернер, набор щупов №2.

. Запрессовать сегментную шпонку 39 шестерни промежуточного вала в паз промежуточного вала 40.

Молоток.

. Нагреть шестерню 41 промежуточного вала, установить ее на пресс, совместить отверстие шпоночного паза шестерни со шпонкой 39 и напрессовать шестерню на промежуточный вал 40.

Нагревать шестерню до температуры 90 С в масле.

Шестерня должна быть напрессована до упора.

Ванна, клещи специальные, пресс гидравлический мод. П6323, оправка.

. Установить промежуточный вал в сборе с шестерней в картер 22 делителя передач.

Перед установкой промежуточного вала дать шестерне остыть.

. Запрессовать стакан 36 заднего подшипника промежуточного вала в сборе с подшипником 38 в картер делителя передач.

Молоток.

. Завернуть винты крепления 37 стакана заднего подшипника промежуточного вала.

Отвертка 6,5 мм.

. Запрессовать передний подшипник 45 промежуточного вала.

Молоток, оправка.

. Установить на промежуточный вал установочное кольцо 46, упорную шайбу 47, стопорную планку 49 и завернуть болты 50 крепления. Момент затяжки болтов крепления 60…90 Н м (6,0…9,0 кгс м)

Головка сменная 19 мм, вороток, рукоятка динамометрическая.

. Застопорить болты крепления 50 сгибом стопорной планки 49.

Молоток, зубило.

. Установить прокладку 46, крышку 3 переднего подшипника промежуточного вала в сборе с уплотнительным кольцом, навернуть и затянуть гайки с замковыми шайбами на шпильки 48.

Перед установкой прокладка должна быть смазана пастой УН-25 ТУ 6-10-1284-77. материал прокладки - паронит ПМБ. Момент затяжки гаек крепления - 23…53 Н м (2,3…5,3 кгс м).

Головка сменная 19 мм, вороток, рукоятка динамометрическая.

. Застопорить гайки крепления 1 крышки переднего подшипника промежуточного вала сгибом замковых шайб 2.

Молоток, зубило.

. Вставить втулку механизма переключения передач делителя 12 в сборе с сухарями 13 и синхронизатор 33 делителя в картер делителя.

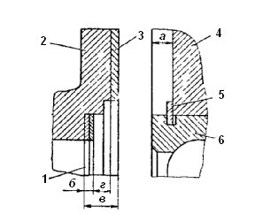
Рис. 5. Регулирование осевого зазора валов коробки передач и делителя: 1 - регулировочные прокладки; 2 - крышка заднего подшипника переднего вала; 3 - уплотнительная прокладка; 4 - картер коробки передач или делителя - стопорное кольцо; 6 - подшипник регулируемого вала

53. Установить и запрессовать первичный вал в сборе 10 в картер делителя передач, отцентрировав его с помощью приспособления (рис. 4).

Перед установкой первичного вала повернуть конусное кольцо синхронизатора так, чтобы лыска кольца находилась напротив зацепляющихся зубьев шестерен промежуточного и первичного валов.

Молоток, оправка.

. Установить валик 8 вилки механизма переключения передач и затянуть болты крепления 10 вилки с шайбами (рис. 3)

Ключ гаечный 17 мм, отвертка 6,5 мм.

. Застопорить болты крепления 10 вилки механизма переключения передач делителя сгибом замковых шайб 11.

Молоток, зубило.

. Смазать отверстия картера делителя передач под болты 5 крепления крышки заднего подшипника первичного вала делителя 9 (рис. 1)

Смазывать уплотнительной пастой УН-25 ТУ 6-10-1284-77.

Емкость, ерш.

. Замерить размер «А» картера делителя передач (рис. 5).

Размер «А» замерять от торца наружного кольца подшипника до плоскости картера делителя при запрессованном до упора подшипнике с точностью + - 0,05 мм.

Штангенциркуль.

. Положить на привалочную плоскость крышки заднего подшипника первичного вала уплотнительную прокладку и замерить размер «В» (рис. 5).

Материал прокладки - картон. Толщина прокладки - 0,5+-0,05 мм.

. Подобрать регулировочные прокладки и замерить суммарную толщину прокладок.

Суммарная толщина регулировочных прокладок должна быть меньше разности «В-А» на 0,2…0,4 мм.

Микрометр.

. Установить регулировочные прокладки на крышку.

. Смазать уплотнительную прокладку крышки 6 заднего подшипника первичного вала 16 делителя (рис. 1).

Смазывать уплотнительной пастой УН-25 ТУ 6-10-1284-77.

Емкость, ерш.

. Смазать рабочую кромку манжеты крышки заднего подшипника первичного вала.

Смазывать смазкой 158 ТУ 38-101320-77.

Емкость, кисть.

. Установить крышку 6 заднего подшипника первичного вала с прокладками на вал, совместить отверстия крышки, уплотнительной прокладки и картера делителя передач, ввернуть и затянуть болты крепления 5 с замковыми шайбами.

Материал уплотнительной прокладки - картон, момент затяжки болтов 23…53 Н м (2,3…5,3 кгс м).

Головка сменная 14 мм, вороток, рукоятка динамометрическая.

. Застопорить болты крепления 5 заднего подшипника первичного вала сгибом замковых шайб 4.

Молоток, зубило.

. Запрессовать сегментную шпонку 7 в паз валика вилки механизма переключения передач делителя (рис. 3).

Молоток.

. Совместить отверстие шпоночного паза рычага механизма переключения передач делителя 14 со шпонкой, напрессовать рычаг 14 на валик вилки 8 и ввернуть стяжной болт 6 с замковой шайбой 5.

Ключ гаечный 19 мм, молоток.

. Установить клапан 3 включения делителя передач и завернуть болты крепления 6 с пружинными 5 и плоскими 4 шайбами (рис. 2).

Головка сменная 13 мм, вороток.

. Установить прокладку 2, корпус механизма переключения передач в сборе с воздухораспределителем 1 и заверните болты 17 крепления с пружинными и плоскими шайбами 15, 16 (рис. 3).

Материал прокладки - паронит ПМБ.

Головка сменная 17 мм, вороток.

. Установить редукционный клапан 20 и завернуть болты 18 крепления с пружинными шайбами 19 (рис. 2).

Ключ гаечный 10 мм.

. Установить и присоединить воздухопровод от ресивера к редукционному клапану, завернуть болт крепления с шайбой.

Материал шайбы - медь.

Ключ гаечный 17 мм.

. Установить колодку крепления 24 воздухопроводов и ввернуть болты крепления колодки 28.

Ключ гаечный 13 мм.

. Установить и присоединить воздухопровод к редукционному клапану и к клапану включения делителя передач 3, завернув болты крепления с шайбами.

Материал шайбы - медь.

Ключ гаечный 14 мм.

. Установить и присоединить воздухопровод к клапану включения делителя передач 3 и к воздухораспределителю 12, завернув болты крепления с шайбами.

Материал шайбы - медь.

Ключ гаечный 14 мм.

. Установить и присоединить воздухопроводы к переднему и заднему цилиндрам воздухораспределителя, завернув болты крепления с шайбами.

Материал шайбы - медь.

Ключ гаечный 14 мм.

75. Присоединить воздухопроводы 8, 9, 10 управления механизмом переключения передач делителя к колодке 24 крепления воздухопроводов, завернув болты крепления 28 с шайбами 29.

Материал шайбы - медь.

Ключ гаечный 14 мм.

. Установить скобы крепления 16 воздухопроводов с прокладками и завернуть болты крепления 14 с пружинными шайбами.

Материал прокладок - резина.

Ключ гаечный 13 мм, головка сменная 13 мм, вороток.

. Установить крышку смотрового люка 29 картера делителя передач с прокладкой и завернуть болты крепления с пружинными шайбами 28.

Материал прокладки - паронит ПМБ (рис. 1).

Головка сменная 13 мм, вороток.

. Установить кронштейн шаровой опоры промежуточной тяги управления в сборе с промежуточной тягой и завернуть болты крепления с пружинными шайбами.

Ключ гаечный 17 мм.

. Снять делитель передач в сборе со стенда.

Кран-балка, стенд для разборки и сборки делителя передач.

. Контролируемые при дефектации основные геометрические размеры

Наименование дефекта

Метод опр-я, инструмент

Размер, мм

Заключение

 

Обломы и трещины

Осмотр

-

-

Браковать

 

Износ шлицев (1)

Осмотр Штангенциркуль ШЦ-11 ГОСТ 166-80

-0,10 6 -0,15

5,80

Браковать

 

Износ зубьев под каретку синхронизатора (2); - крайних венцов; - среднего венца.

Измерение бокового зазора в зацеплении- с сопряженной новой деталью. Набор щупов №2

Браковать

 



- -

1,6 1,0


 

Вмятины от роликов или износ шейки под ролики и втулку заднего подшипника (3)

Осмотр Микрометр гладкий МК-75

62

-0,02

61,97

Браковать

 

Вмятины от роликов или износ отверстия под подшипник первичного вала (4)

Осмотр Нутрометр индикаторный 2 ИГ ГОСТ 9244-75

43,98

+0,050 +, 025

44,13

Браковать

 

Износ шейки под передний подшипник (5)

Микрометр рычажный МР-25 ГОСТ 4381-68

25

-0,008 -0,022

24,96

Браковать

Износ шпоночного паза (6)

Нутрометр индикаторный 1 ИГ ГОСТ 9244-75

8

-0,015 -0,065

8,01

Заварить. Выполнить новый паз под углом 180 к изношенному.

Риски, задиры или износ шейки под сальники (7)

Осмотр Штангенциркуль ШЦ-1 ГОСТ 166-80

45

-0,1

-

Обработать до устранения дефектов. Желез-нить, хромировать или наплавить при размере менее 44,83 мм

Повреждение резьбы (8)

Осмотр Калибр-кольцо резьбовой НЕ М 52х2-8д ГОСТ 18465-73

М 52х2-6д

-

Ремонтировать

 


4. Причины изменения формы и геометрических размеров первичного вала делителя

В процессе эксплуатации деталь подвергается периодическим нагрузкам от сил давления газов и инерции движущихся масс, которые вызывают переменные напряжения в ее элементах; трению при высоких удельных давлениях и нагрузках при наличие абразивных элементов; динамическим нагрузкам; изгибу и скручиванию.

При наличии на валу обломов и трещин вал бракуется. Выкрашивание рабочих поверхностей зубьев восстанавливается заменой зубчатого венца дополнительной ремонтной деталью, в случае невозможности замены деталь бракуется. Забоины, отколы на торцах зубьев или износ зубьев по длине определяются осмотром и калибром - скобой и устраняются зачисткой или заменой зубчатого венца. Износ зубьев по толщине определяется калибром «НЕ» по длине общей нормали по 2,3 или 4 зубьям и восстанавливается заменой зубчатого венца дополнительной деталью. При невозможности восстановления деталь бракуется. Износ шпоночных пазов устраняется путем нарезания новых пазов под углом 180 градусов к изношенному или заваркой.

Износ шеек под передний и задний подшипники, под шестерню соответствующих передач, шестерню привода коробки отбора мощности, привода промежуточного вала определяется калибром и восстанавливается железнением, хромированием или наплавкой.

Износ под хвостик вала ведущей шестерни масляного насоса по ширине восстанавливается заваркой. Повреждение резьбы восстанавливаются постановкой дополнительной резьбовой вставки, калибровки.

5. Сравнительная оценка существующих способов восстановления первичного вала делителя

Исходными данными при проектировании технологического процесса восстановления деталей являются:

рабочий чертеж детали с техническими условиями на ее изготовление;

программа производства (штук в год);

перечень дефектов детали;

информация о наличии оборудования, опыта и навыков по восстановлению подобных деталей.

Технологический процесс разрабатывается не на каждый дефект в отдельности, а на совокупность дефектов и предусматривает наивыгоднейшую потребность их устранения.

Наиболее сложная задача - это выбор способа восстановления, ибо спектр возможных способов очень широк. Например, для восстановления кулачков распределительных валов предложено около 300 способов.

На выбор способа восстановления детали влияют конструкция детали, материал, способ термической обработки, твердость, качество поверхности, жесткость детали, запас прочности, величина износа (дефекта), программа производства, наличие оборудования, навыков и опыта восстановления подобных деталей. Очевидно, что полностью воспроизвести геометрические размеры и первоначальные физико-механические свойства детали далеко не всегда возможно, да в этом нет и необходимости. Нужно, чтобы восстановленная деталь обладала высокой надежностью.

Необходимо ознакомиться с условиями работы детали в узле, с конструкцией новой детали и с техническими требованиями к ее изготовлению. Эта информация позволит определиться, какие требования должны быть предъявлены к восстановленной детали.

Далее следует изучить технические условия на дефектацию. В технических условиях, приведенных в настоящей главе, рекомендованы те способы восстановления, которые прошли апробацию в научно-техническом центре АО «КамАЗ». Это не означает, что другие способы применять нельзя.

При выборе способа восстановления детали необходимо учитывать следующее. Наиболее универсальным способом восстановления изношенных деталей является наплавка. Наплавка достаточно экономична как при малой, так и при большой программе производства, особенно при средних и больших износах (более 0,3 мм).

Все виды наплавки дают возможность получить широкий спектр покрытий, износостойкость которых зависит от достигаемой твердости, а влияние на выносливость - внутренними напряжениями в наплавленном слое, отсутствием в наплавленном металле трещин.

К сожалению, без термообработки или специального легирования можно наплавить детали относительно невысокой твердости (до HRC3 35). Если требуется более высокая твердость, применяют легирование через проволоку, через флюс или производят термообработку наплавленной детали. При этом нужно иметь в виду, что наплавка без подогрева приводит к образованию трещин, если содержание углерода в наплавленном металле превышает 0,25 процента. Это не опасно, если деталь имеет большой запас прочности. Если запасы прочности невелики, деталь перед наплавкой необходимо подогревать до определенной температуры

Наплавку под флюсом можно применять при диаметре (толщине) детали более 45 мм, конструкция детали должна позволять вести процесс в нижнем положении, причем наплавка внутренних поверхностей затруднена. Способ позволяет получать покрытия до HRC3 50 и более путем применения специальных флюсов (например. АНК-19) или добавкой в обычный флюс (АН-348А) по 2 процента феррохрома и графита, но наплавленный металл при этой технологии имеет трещиноватую структуру. Преимущество наплавки под слоем флюса по сравнению с другими способами - возможность легировать металл через флюс.

Наплавка в углекислом газе более экономична, чем под флюсом. В углекислом газе можно варить наружные и внутренние, нижние, вертикальные и потолочные поверхности. При использовании тонких проволок можно варить тонкие детали, в том числе тонколистовую сталь. Основной недостаток способа - металл легируется только через проволоку.

Электроимпульсная (вибродуговая) наплавка позволяет восстанавливать наружные и внутренние поверхности, но в нижнем положении. При наплавке деталь интенсивно охлаждается жидкостью, поэтому можно восстанавливать тонкостенные элементы. При наплавке чугунных поверхностей зона сплавления получается небольшой, верхний наплавленный слой не отбеливается и, если использовались малоуглеродистые проволоки, поверхность легко обрабатывается. Способ удобно использовать для восстановления резьбы. Высокоуглеродистые пружинные проволоки дают возможность после наплавки получить твердость HRC3 49-56. Недостаток способа - существенное снижение выносливости восстановленной детали.

Если необходимо обеспечить твердость наплавленных слоев более HRC3 50 или высокую выносливость детали, после ни плавки детали подвергаются термической обработке в 2 этапа. Вначале деталь нормализуется, т.е. нагревается до 920°, выдерживается в течение часа и охлаждается на воздухе. После обработки лезвийным инструментом деталь подвергается термообработке вторично: закаливается с помощью ТВЧ, либо цементируется и закаливается.

При больших программах производства эффективно восстановление деталей приваркой металлической ленты. Приварка производится короткими импульсами тока силой 10-20 кА, используется стальная или порошковая лента толщиной 0,15-1,5 мм. Способ весьма удобен при восстановлении внутренних поверхностей: отверстий под подшипники в корпусных деталях, ступиц колес и т.п. При этом способе не снижается жесткость детали, не происходит отбеливание чугуна в зоне механической обработки, т. к. зона сплавления мала.

Напыление порошковых покрытий используется для восстановления, главным образом, посадочных поверхностей. Традиционные способы электро- и газовой металлизации применяются там, где нет ударных нагрузок, значительных контактных напряжений, например, при восстановлении стаканов подшипников. Преимущества металлизации - возможность получать покрытия различной толщины, отсутствие термического влияния на деталь. Недостаток - низкая прочность сцепления и значительная хрупкость покрытия.

Детали из алюминиевых сплавов могут быть восстановлены аргонодуговой сваркой или электросваркой электродом 1103A-2. Можно также воспользоваться газовой сваркой с применением флюсов АФ-4А и прутков из алюминиевого сплава с повышенным содержанием кремния.

В тех случаях, когда прочность детали уже обеспечена и требуется получить плотное соединение, целесообразно восстановить деталь эпоксидными композициями. Например, этим способом можно воспользоваться для устранения трещины в стенке рубашки охлаждения головки цилиндров.

Погнутости и другие виды деформаций ремонтируются правкой, лучше в холодном состоянии. Если существует опасность обратных деформаций, (под влиянием остаточных напряжений), производят термофиксацию при 400° в течение 2-х часов. Если деталь имеет поверхности, закаленные до твердости выше HRC3 45, термофиксацию проводить нельзя. В этом случае предупредить обратную деформацию можно правкой наклепом с обратной стороны детали.

Выбор способа восстановления - задача много вариантная, и следует остановиться на самой экономичной технологии, обеспечивающей надежность детали.

В настоящее время ремонтные предприятия располагают достаточно большим числом проверенных практикой способов восстановления деталей, позволяющих возвратить работоспособность изношенным и поврежденным деталям.

Применительно для первичного вала делителя коробки передач наиболее подходящими, на мой взгляд, методами являются: метод ремонтных размеров, наплавка под флюсом и хромированием.

Метод ремонтных размеров обработка поверхности детали под ремонтный размер эффективна в том случае, если механическая обработка при изменение размера не приведет к ликвидации термически обработанного поверхностного слоя детали. Тогда у дорогостоящей детали соединения дефекты поверхности устраняются механической обработкой до заранее заданного ремонтного размера, а другую заменяют новой соответствующего размера. В этом случае соединению будет возвращена первоначальная посадка, но поверхности детали, будут отличные от первоначальных. Ремонтные размеры и допуски устанавливают завод - изготовитель.

Недостатки способа - увеличение номенклатуры запасных частей и усложнение организации процессов хранения деталей на складе, комплектования и сборки.

Дуговая наплавка под флюсом способ широко применяется для восстановления цилиндрических и плоских поверхностей деталей. Это механизированный способ наплавки, при котором совмещены два основных движения электрода - это его подача по мере оплавления к детали и перемещении вдоль сварочного шва.

Сущность способа наплавки под флюсом заключается в том, что в зону горения дуги автоматически подается сыпучий флюс и электродная проволока. Под действием высокой температуры образуется газовый пузырь, в котором существует дуга, расплавляющая металл. Часть флюса плавится, образуя вокруг дуги эластичную оболочку из жидкого флюса, которая защищает металл от окисления, уменьшает разбрызгивание и угар. При кристаллизации металла образуется сварочный шов.

Преимущества способа:

возможность получения покрытия заданного состава, т.е. легирования металла через проволоку и флюс и равномерного по химическому составу и свойствам;

защита сварочной дуги и ванны жидкого металла от вредного влияния кислорода и азота воздуха;

выделение растворенных газов и шлаковых включений из сварочной ванны в результате медленной кристаллизации металла под флюсом;

возможность использования повышенных сварочных токов, которые позволяют увеличить скорость сварки, что способствует повышению производительности труда в 6…8 раз;

экономичность в отношении электроэнергии и электродного металла;

отсутствие разбрызгивания металла благодаря статическому давлению флюса;

- возможность получения слоя наплавленного металла большой толщины (1,5…5 мм и более);

- независимость качества наплавленного металла от квалификации исполнителя;

лучшие условия труда сварщиков ввиду отсутствия ультрафиолетового излучения;

возможность автоматизации технологического процесса.

Недостатки способа:

значительный нагрев детали;

невозможность наплавки в верхнем положении шва и деталей диаметром менее 40 мм из-за стекания наплавленного металла и трудности удержания флюса на поверхности детали;

сложность применения для деталей сложной конструкции, необходимость и определенная трудность удаления шлаковой корки;

возможность возникновения трещин и образования пор в наплавленном металле.

Хромирование получило широкое распространение как для восстановления деталей и повышению их износостойкости, так и для декоративных и противокоррозионных целей.

Преимущества:

электролитический хром - металл серебристо-белого цвета с высокой микротвердостью, близкой к микротвердости корунда;

обладает высокой износостойкостью особенно в абразивной среде;

устойчив к химическим и температурным воздействиям;

имеет низкий коэффициент трения;

высокая прочность сцепления покрытия с поверхностью детали.

Недостатки:

низкий выход металла по току;

небольшая скорость отложения осадков;

высокая агрессивность электролита;

большое количество ядовитых выделений, образующихся при электролизе;

толщина отложений покрытия практически не превышает 0,3 мм;

- гладкий хром плохо удерживает смазочное масло

6. Технологический процесс восстановления первичного вала делителя коробки передач

Из выше перечисленных способов я считаю, наиболее целесообразным является метод дуговой наплавки под слоем флюса. Данный метод ряд существенных преимуществ. Одним из наиболее важных отличий является возможность автоматизации данного метода. Поскольку в условиях АРП наибольшее значение имеет производительность и время на ремонт и восстановление.

Блок схема технологического процесса восстановления первичного вала делителя коробки передач.


7. Техническое нормирование операций технологического процесса восстановления

Техническое нормирование труда представляет собой систему установления технически обоснованных норм времени, т.е. необходимых затрат времени на качественное выполнение определенной работы.

Значение технического нормирования в новых условиях хозяйствования исключительно велико. Оно позволяет:

правильно организовать труд всех категорий работников предприятия;

обеспечить данные, на основе которых можно четко спланировать, подготовить и организовать работу многочисленных подразделений предприятия;

обоснованно подойти к оценке затрат на ремонт изделия.

Техническое нормирование и научная организация труда неотделимы друг от друга, поскольку нормировать необходимо организованный труд, т.е. труд, приведенный к определенной системе.

Главная задача технического нормирования - это обеспечение более высоких темпов роста производительности труда. Реализация этой задачи осуществляется за счет разработки мероприятий, направленных:

на выявление и использование резервов повышения производительности труда, которые имеются практически на каждом предприятии в силу наличия как явных, так и скрытых потерь рабочего времени;

на повышение производительности труда;

на разработку и установление технически обоснованных норм на различные работы с учетом наиболее полного и эффективного использования имеющейся техники. При этом предусматривается четкая организация рабочих мест и построение технологических процессов, использование передовых приемов и методов труда.

Выявление скрытых резервов производства (резервов рабочего времени) осуществляется на основе исследования производственных процессов, анализа содержания труда и всех условий, оказывающих влияние на его производительность.

Методы, которые применяет техническое нормирование в повседневной практике, просты и доступны для применения на любом предприятии и включают наблюдение за работой непосредственно на рабочем месте, обработку и анализ всего того, что удалось увидеть и зафиксировать. Результаты анализа являются основой разработки новой, более рациональной и более эффективной организации труда, лучших и более совершенных приемов работы.

Сокращение рабочего времени на изготовление (ремонт) той или иной продукции может осуществляться различными путями (например, за счет создания и использования новых, более производительных машин, механизмов, транспортных средств, путем привлечения большего числа рабочих). Они весьма эффективны, но неминуемо влекут за собой увеличение материальных и трудовых затрат и следовательно могут использоваться только на предприятиях с большой производственной программой и эффективной экономикой.

Техническое нормирование труда предлагает свои пути и способы снижения затрат рабочего времени, которые проявляются в самом принципе нормирования. Норма времени на определенную операцию или работу является мерой труда, необходимого при изготовлении (ремонте) данного изделия. В виде нормы выступают только минимально необходимые затраты времени, расходуемые на изготовление (ремонт) данного изделия или выполнение данной работы, при использовании максимальных возможностей машин и оборудования, на которых выполняется работа, прогрессивных формы организации и оплаты труда.

Под методом нормирования понимается совокупность приемов установления норм труда, которые включают анализ трудового процесса, проектирование рациональной организации и расчет норм труда. Выбор метода определяется характером нормируемых работ и условий их выполнения.

Техническая норма времени на выполнение наплавочной операции (поверхности А) определяется по формуле

шк=tо +tв+tорм+Tпз/z,

где tо - основное машинное время направления слоя металла, мин.

В общем виде tо=G/g,

где G - масса наплавляемого металла, г;

g - масса наплавленного металла за одну минуту, г.

Для одноэлектродной наплавки цилиндрической поверхностей

о=l*i/n*S,

где l =35,5 мм - длина наплавляемой поверхности, мм;= 3 - частота вращения детали, обор/мин;= 3 - подача (шаг наплавки), мм обор;= 1 - количество слоев наплавки.

Частота вращения детали n определяется по формуламо= 35,5*1/3*3=3,94 мин

Вспомогательное время tВ складывается из времени на установление, закрепление и снятие детали со станка tВ1 и времени, связанного с процессом наплавки tВ2

В=tВ1 + tВ2, мин

Вспомогательное время tВ2 определяется по формуле

В2 = tВ2 * L, мин,

где tВ2 - вспомогательное время на очистку и контроль одного погонного метра наплавляемого валика, мин/пог. м;- длина наплавленного валика

L = pdl/1000S = 3,14*2*35,5/1000*3=0,074 м.

tВ2=0,7*0,074=0,052 мин,

Время обслуживания рабочего места определяется в процентах от оперативного

оп = tо + tВ = 3,94+0,582 = 4,522 минорм = 0,13 * tоп = 0,13*4,522 =0,588 мин.

Подготовительно - заключительное время на одну деталь определяется по формуле:

пз = Tпз / z,

пз - подготовительно - заключительное время на партию обработки деталей операций, мин.

Количество восстанавливаемых деталей в партии определяется по формуле

z = STпз / Stшт * k,

где STпз - сумма подготовительно - заключительного времен по всем операциях технологического процесса восстановления деталей одного наименования, мин;

STпз=12+1+0,8+0,1+5,4=19,3 мин

Stшт - то же штучных времен, мин

Stшт = tоп + tорм=4.522+0,588=5,11 мин;

=0,1 - коэффициент, учитывающий вид производства

z=19,3/(5,11*0,1)=38

tпз=19,3/38=0,5 мин

tшк=3,94+0,582+0,588+0,5= 5,61 мин.

Заключение

В данной курсовой работе был разработан технологический процесс восстановления первичного вала делителя коробки передач.

Технологический процесс выбран из наиболее широко применяемых на авторемонтных предприятиях и является:

достаточно высоко производительным и учитывающим последние достижения науки и техники, передовой опыт новаторов производства, а также достижения в области механизации и автоматизации производственных и вспомогательных операций;

обеспечивающим высокое качество восстанавливаемых деталей, заданную чистоту обработки поверхностей, размеры, соответствующие техническим условиям на изготовление и ремонт детали. Восстановленные детали по сроку службы обеспечивают последующий межремонтный пробег соответствующего агрегата.

Так же хотелось бы отметить то, что по мере роста цен на запасные части, восстановление деталей принесет значительную экономию для АТП.

Список литературы

дефектовка коробка передача восстановление

1. Ремонт автомобилей КамАЗ / Б.А. Титунин, Н.Г. Старостин, В.М. Муниченко. - Л.: Агропромиздат. Ленингр. отд-ние, 1987. - 288 с., ил. - (Учебники и учеб. пособия для подготовки кадров массовых профессий).

. Руководство по ремонту и техническому обслуживанию автомобилей КамАЗ. - М.: Изд-во «РусьАвтокнига», 2001. - 288 с.: ил.

. Устройство автомобиля: Учебник для учащихся автотранспортных техникумов / Е.В. Михайловский, К.Б. Серебряков, Е.Я. Тур. - 6-е изд., стереотип. - М.: Машиностроение, 1987. - 352 с.: ил.

. Технологические карты текущего ремонта агрегатов автомобилей КамАЗ. Часть 4, 5, 6, 7. Издание второе и дополненное. ОАО «КамАЗ». Изд-во ООО «ГКИ», 2002.

. Молодык Н.В., Зенкин А.С. Восстановление деталей машин. Справочник. - М.: Машиностроение, 1989. - 480 с.: ил.

. Техническое обслуживание и ремонт автомобилей: Учебник для ПТУ / С.И. Румянцев, А.Ф. Синельников, Ю.Л. Штоль. - М.: Машиностроение, 1989. - 272 с.: ил.

. Азаматов Р.А., Дажин В.Г., Кулаков А.Т., Модин А.И. Восстановление деталей автомобилей КамАЗ / Под ред. В.Г. Дажин. - Набережные Челны: КамАЗ, 1994 - 215 с.: ил.

. Диагностирование и ремонт агрегатов трансмиссии: Методические указания к лабораторной работе по курсу «Техническая эксплуатация автомобиля» / Составители: Шведков С.В., Блохин И.В., Тахавиев Р.Х. - Набережные Челны: КамПИ, 2001. - 26 с.

Похожие работы на - Технология ремонта коробок передач с разработкой технологии восстановления первичного вала делителя

 

Не нашли материал для своей работы?
Поможем написать уникальную работу
Без плагиата!
Без нейросетей!