Станочное приспособление для ремонта трехосной тележки КВЗ-1М
Министерство
транспорта Российской Федерации
Федеральное
агентство железнодорожного транспорта
Федеральное
государственное бюджетное образовательное учреждение
высшего
профессионального образования
Омский
государственный университет путей сообщения (ОмГУПС)
Кафедра:
«Вагоны и вагонное хозяйство»
Пояснительная
записка к курсовому проекту
по
дисциплине: «Технология ремонта вагонов»
«Станочное
приспособление для ремонта трехосной тележки КВЗ-1М»
Разработчик: студент
группы 19 А Салов А.М.
Руководитель: доцент
кафедры ВВХ Петракова А.Г.
Омск
2013
Реферат
Курсовой проект содержит __ страниц,
18 рисунков, 3 таблицы, 8 источников.
Деталь, механизм, обработка, призма,
станок, элемент.
Цель курсового проекта:
спроектировать приспособление для механической обработки предохранительной
скобы тележки КВЗ-1М, провести анализ технических условий на деталь, выбрать
базирующие и установочные элементы приспособления, рассчитать параметры режима
механической обработки, выбрать силовой механизм и рассчитать его параметры, а
также описать приспособление.
Содержание
Введение
1. Характеристика детали
1.1 Назначение детали, её основные характеристики
2. Анализ технических условий на деталь, процесс выполнения
операций по механической обработке, подбор типа станка и инструмента
. Выбор технологических баз и их обоснование
4. Выбор базирующих и установочных элементов приспособления,
расстановка сил, действующих на деталь при закреплении
5. Определение величин сил и моментов резания
. Выбор силового механизма и расчет его параметров
.1 Выбор силового механизма
6.1.1 Винтовые зажимы
6.1.2 Клиновые зажимы
.1.3 Эксцентриковые зажимы
.1.4 Цанги
.1.5 Устройства для зажима деталей типа тел вращения
. Описание приспособления
.1 Состав приспособления
.2 Работа приспособления
Заключение
Список использованных источников
Введение
Одними из важнейших задач
машиностроения являются повышение качества машин, снижение трудоемкости и
себестоимости изготовления, унификация элементов, механизация и автоматизация
производства, а также сокращение сроков подготовки производства новых объектов.
Совершенствование конструкций
вагонов и повышение требований к качеству работы вагонного парка связано с
интенсификацией производства на основе широкого использования прогрессивных
технологий и средств автоматизации и механизации.
Интенсификация производства в
машиностроении неразрывно связано с техническим перевооружением и модернизацией
средств производства на основе применения новейших достижений науки и техники.
В общем объеме средств технологического оснащения примерно 50 % составляют
станочные приспособления. Основные требования предъявляемые к станочным
приспособлениям: они должны безопасными в работе, быстродействующими,
достаточно жесткими для обеспечения заданной точности обработки, удобными для
быстрой установки на станок, что особенно важно при периодической смене
приспособлений.
Объектом исследования является
проектирование станочного приспособления.
Предметом исследования является
проектирование станочного приспособления, применяемого при сверлении,
зенкеровании и развертывании отверстий в теле детали (скобе предохранительной).
1. Характеристика детали
.1 Назначение детали, её основные
характеристики
Для шестиосных вагонов Крюковским
вагоностроительными заводом была построена трехосная тележка КВЗ-1М с
центральным рессорным подвешиванием. Тележка имеет сложную конструкцию,
повышенное воздействие на элементы пути. Поэтому широкого применения на
железных дорогах России она не нашла. Тележки КВЗ-1м, так же как и тележки
других вагонов-самосвалов, предназначены для движения по промышленным
железнодорожным путям со скоростью до 70 км/ч.
Тележками КВЗ-1М оборудованы
шестиосные вагоны-самосвалы грузоподъемностью 105 т. Трехосная тележка КВЗ-1м
имеет три колесные пары 2, четыре боковые рамы 1 (две правые и две левые), две
надрессорные балки 3, шкворневую балку 4, два балансира 7 букс средней оси,
шесть букс 5, четыре подушки рессорных комплектов (две правые и две левые),
восемь двухрядных пружин 6, четыре фрикционных гасителя колебаний и рычажную
передачу. Боковые рамы тележки опираются на буксы крайних колесных пар
непосредственно, а на буксы средней пары - через балансиры 7. Боковые рамы
соединены с балансирами валиками. Чтобы разгрузить валики от срезывающих
усилий, нагрузка от боковых рам тележек передается на балансир через подкладку
и вкладыш; отверстия валика в боковой раме имеют овальную форму. Вертикальная
нагрузка, приходящаяся на тележку, воспринимается подпятником шкворневой балки.
Затем нагрузка передается на боковины, а через них - на колесные пары. Чтобы
обеспечить равномерную передачу вертикальной нагрузки на все колесные пары,
проемы для рессорных комплектов в боковых рамах выполнены на расстоянии 1/3
длины тележки от оси буксового проема крайней колесной пары. В результате такого
размещения рессорных комплектов каждая колесная пара воспринимает 1/3 всей
вертикальной нагрузки тележки, т. е. все колесные пары тележки нагружены
одинаково. Надрессорные балки уложены на пружины рессорных комплектов и своими
выступами сопрягаются с боковыми рамами. Шкворневая балка литая, коробчатого
сечения, паукообразной формы, уложена на надрессорные балки симметрично и
соединена с ними четырьмя болтами.
Боковые рамы, надрессорные и
шкворневые балки, подушки, располагаемые под пружинами, балансиры и корпуса
букс отлиты из мартеновской стали или из электростали, химический состав
которых должен быть следующим: углерода - не более 0,25%, марганца 0,9%,
фосфора и серы- не более 0,05%. Сталь по механическим свойствам в
нормализированном состоянии должна соответствовать следующим требованиям:
предел прочности 42-50 кгс/мм2;предел текучести - не менее 25 кгс/мм2;
относительное удлинение - не менее 22%.Боковые и надрессорные балки также
выполнены литыми коробчатого сечения. Сталь по химическому составу и механическим
свойствам аналогична стали, используемой для шкворневой балки. Колеса тележки
цельнокатаные диаметром 950 мм, ось колесной пары типа РУ1. Буксовый узел
выполнен для установки роликовых подшипников ЗН42726Л и ЗН2Э2726Л1. Рычажная
передача тележки состоит из вертикальных рычагов, горизонтальных тяг, подвесок
и триангелей и обеспечивает одностороннее нажатие колодок на крайние колеса и
двустороннее нажатие на средние. Рессорное подвешивание тележки состоит из
четырех комплектов. Каждый комплект имеет три двойные пружины и четвертую
пружину, внутри которой расположен амортизатор трения.
Конструкция тележки имеет
подбуксовые струнки для предотвращения выпадения колесной пары из буксовых
челюстей. Подбуксовые струнки представляющие собой стержень круглой формы,
устанавливаются на предохранительные скобы и фиксируются с помощью гайки. Скоба
представляет собой металлический стержень U - образной формы с круглым
поперечным сечением. По её концам имеются участки с резьбой, которые
предназначены для закрепления скобы на боковой раме тележки снизу.
Рисунок 1 − Тележка модели
КВЗ-1М
Предохранительная скоба
изготавливается из Ст 3 сп - мартеновская сталь конструкционная углеродистая
обыкновенного качества, 3 - порядковый номер, сп - спокойная.
Таблица 1 − Технологические
свойства стали Ст3сп
|
Технологические свойства
|
Показатель
|
|
Свариваемость
|
без ограничений
|
|
Флокеночувствительность
|
не чувствительна
|
|
Склонность к отпускной хрупкости
|
не склонна
|
Таблица 2 − Механические свойства
стали при Т=20 °С
|
Предел прочности Ϭв,
МПа
|
Предел текучести ϬT,
МПа
|
Относительное удлинение при разрыве d,
%
|
Твердость материала, НВ
|
|
372
|
245
|
23
|
131
|
Таблица 3 − Химический состав
материала Ст3сп в процентах
Si
|
Mn
|
Ni
|
S
|
P
|
Cr
|
N
|
Cu
|
As
|
|
0,14 - 0,22
|
0,15 - 0,3
|
0,4 - 0,65
|
до 0,3
|
до 0,05
|
до 0,04
|
до 0,3
|
до 0,008
|
до 0,3
|
до 0,08
|
2. Анализ технических условий на
деталь, процесс выполнения операций по механической обработке, подбор типа
станка и инструмента
Качество поверхностей определяется
шероховатостью, допусками формы и размеров, структурой металла, твердостью и
остаточным напряжением.
Для изготовления предохранительной
скобы применяют гладкую стержневую арматуру диаметром 20 мм, которая
подвергается следующим видам механической обработки: 1) сверление; 2)
развертывание; 3) накатывание резьбы; 4) прессование.
На рисунке 2 указаны обрабатываемые
поверхности предохранительной скобы, и соответствующие им виды механической
обработки.
- сверление; 2 - зенкерование; 3 -
развертывание; 4 - прессование; 5 - нарезание резьбы
Рисунок 2 − Виды механической
обработки детали
Сверление - распространенный метод
получения отверстий в сплошном материале. Сверлением получают сквозные и
несквозные (глухие) отверстия и обрабатывают предварительно полученные
отверстия в целях увеличения их размеров, повышения точности и снижения
шероховатости поверхности.
Сверление осуществляют при сочетании
вращательного движения инструмента вокруг оси - главного движения резания и
поступательного его движения вдоль оси - движения подачи. Оба движения на
сверлильном станке сообщают инструменту.
Процесс резания при сверлении
протекает в более сложных условиях, чем при точении. В процессе резания
затруднены отвод стружки и подвод охлаждающей жидкости к режущим кромкам
инструмента. При отводе стружки происходит трение ее о поверхность канавок
сверла и сверла о поверхность отверстия. В результате повышаются деформация
стружки и тепловыделение. На увеличение деформации стружки влияет изменение
скорости главного движения резания вдоль режущей кромки от максимального
значения на периферии сверла до нулевого у центра.
За скорость главного движения
резания при сверлении принимают окружную скорость точки режущей кромки,
наиболее удаленной от оси сверла.
Подача равна осевому перемещению
сверла за один оборот.
За глубину резания при сверлении
отверстий в сплошном материале принимают половину диаметра сверла.
Сверление - операция черновой
обработки. Операцией сверления получаем отверстия диаметром 3,5 мм, шероховатость
поверхностей которых Ra = 25 мкм. Для получения шероховатости Ra
= 12,5 мкм, соответствующей Rz = 40 мкм.
Зенкерование - это обработка
отверстия, полученного при литье, ковке или штамповке, для придания ему
цилиндрической формы, требуемого размера и получения чистой поверхности.
Зенкерование - промежуточная операция при обработке отверстия под развертку,
выполняемая зенкером. Зенкером обрабатывают также конусные и цилиндрические
углубления с плоским дном. Операцию зенкерования выполняют так же, как и
развертывание.
Зенкером обрабатывают отверстия,
предварительно штампованные, литые или просверленные. Припуск под зенкерование
(после сверления) составляет 0,5-3 мм на сторону. Зенкер выбирают в зависимости
от обрабатываемого материала, вида (сквозное, ступенчатое, глухое) и диаметра
отверстия и заданной точности обработки. Зенкер имеет три и более режущие
кромки, поэтому при зенкеровании снимается более тонкая стружка и получаются
более точные отверстия, чем при сверлении; он прочнее сверла, благодаря чему
подача при зенкеровании в 2,5-3 раза превышает подачу при сверлении.
Зенкерование может быть как предварительной (перед развертыванием), так и
окончательной операцией. Кроме обработки отверстий зенкеры применяются для
обработки торцовых поверхностей. Для повышения точности зенкерования (особенно
при обработке литых или штампованных глубоких отверстий) рекомендуется
предварительно расточить (резцом) отверстие до диаметра, равного диаметру
зенкера на глубину, примерно равную половине длины рабочей части зенкера. Для
обработки высокопрочных материалов (σв > 750 МПа) применяют
зенкеры, оснащенные пластинами из твердого сплава. Скорость резания для
зенкеров из быстрорежущей стали такая же, как и для сверл. Скорость резания
твердосплавных зенкеров в 2-3 раза больше, чем зенкеров из быстрорежущей стали.
При обработке высокопрочных материалов и литья по корке скорость резания
твердосплавных зенкеров следует уменьшать на 20-30%.
Операцией зенкерования получаем
отверстия диаметром 3,8 мм, шероховатость поверхностей которых Ra =
25 мкм., после операции зенкерования проводим операцию развертывания.
Высокие темпы развития мирового и
российского машиностроения непрерывно связаны с внедрением в производство новых
прогрессивных методов обработки металлов. Одним из путей развития прогрессивной
технологии машиностроения является переход на обработку металлов давлением в
холодном состоянии вместо обработки резанием. Применение этого метода обработки
приводит к значительному повышению производительности труда, повышению точности,
улучшению механических свойств и чистоты поверхности обрабатываемых деталей, и
создает предпосылки для комплексной автоматизации.
Резьба представляет собой винтовую
канавку постоянного сечения, выполненную на наружной (наружная резьба) и
внутренней (внутренняя резьба) цилиндрической или конической поверхности. Она
применяется для соединения деталей, а также для преобразования вращательного
движения в поступательное (или наоборот) в механизмах и машинах.
Резьбы бывают однозаходные,
образованные одной винтовой линией (ниткой), или многозаходовые, образованные
двумя и более линиями.
По направлению винтовой линии резьбы
подразделяют на правые и левые.
В зависимости от системы размеров
резьбы делятся на метрические, дюймовые и трубные.
В метрической резьбе угол
треугольного профиля равен 60°, наружный, средний и внутренний диаметры и шаг
резьбы выражаются в миллиметрах. Метрические резьбы с крупным шагом
обозначаются буквой и числом, выражающим наружный диаметр в миллиметрах: М6,
М12 и т. д. Для обозначения резьбы с мелким шагом (расстояние между витками) к
этим данным добавляют число, выражающее шаг резьбы в миллиметрах: М6×0,6, М20×1,5 и т. п.
Нарезание резьбы осуществляется на
сверлильных, токарных и специальных резьбонарезных (профиле-накаточных) станках
резцами или фрезами, а также вручную. При ручной обработке металлов внутреннюю
резьбу нарезают метчиками, а наружную - плашками (рисунок 3).
- стружечные канавки; 2 - режущие
кромки
Рисунок 3 - Резьбонарезные плашки
предохранительная скоба тележка
приспособление
Нарезание резьбы резцами
производится на токарно-винторезных станках, имеющих ходовой винт с разъемной
гайкой, гитару сменных колес, коробку подач и реверсивный механизм. На станке
можно нарезать различные резьбы - наружные и внутренние, метрические и
дюймовые, правые и левые, однозаходные и многозаходные, крепежные и грузовые;
по форме профиля - треугольные, прямоугольные, трапецеидальные и др. Кроме
того, на токарно-винторезных станках нарезают червяки. Перед нарезанием резьбы
заготовку обтачивают (растачивают) до определенного диаметра, который должен
быть несколько меньше наружного диаметра резьбы. Это объясняется наличием
упругих и пластических деформаций, возникающих в материале заготовки, от чего
наружный диаметр стержня увеличивается, а внутренний диаметр отверстия
уменьшается. Выбор диаметра заготовки производится по специальным таблицам.
Для нарезания резьбы применяют
стержневые, призматические и круглые (дисковые) резцы и резьбовые гребенки.
Более широкое применение находят стержневые резцы. У резцов для окончательной
обработки передний угол γ = 0, у резцов для предварительной обработки резьбы, когда искажение
профиля резьбы не имеет большого значения, применяют положительный передний
угол γ = 10...20°. Угол
профиля в режущей части резца равен углу профиля резьбы (например, для
метрической - 60°). Угол профиля режущей части резца и установку его в
резцедержателе измеряют шаблоном или угломером на просвет. Для нарезания резьбы
необходимо увязать вращение заготовки (шпинделя) с подачей резьбового резца
(суппорта). Резьба нужного шага получится в том случае, когда за один оборот
заготовки резец переместится в провальном направлении на один шаг (нитку)
нарезаемой резьбы.
Современные токарно-винторезные
станки с коробкой подач имеют простую конструкцию и заданный шаг резьбы.
Настройка станка осуществляется либо по таблице, прикреплённой в зависимости от
модели верхней или боковой стенке коробки, или на барабане настройки станка на
требуемую резьбу нужного положения рукояток барабанов коробки подач, либо чисел
зубьев сменных зубчатых колес и установке их в нужное положение. Станки обычно
имеют два комплекта сменных колес. В тех токарно-винторезных станках, в которых
нет коробки подач, настройку производят только по расчету. К таким станкам
прилагают комплекты сменных зубчатых колес из 17, 19, 38 или другого количества
колес. Резьбу нарезают за несколько предварительных и окончательных ходов,
количество которых зависит от шага резьбы. Применяют несколько способов (схем)
подачи резьбового резца на глубину резания при каждом проходе. При нарезании
резьбы с шагом Р < 2 мм резец подается в поперечном направлении
перпендикулярно оси нарезаемой заготовки - радиальная подача. При нарезании
резьбы с шагом Р>2...2,5 мм для облегчения деформации и свободного выхода
стружки из зоны резания применяют комбинированную подачу резца - одновременно
поперечную и продольную. Вторая схема резания может быть также осуществлена с
помощью подачи верхних салазок суппорта, повернутых к оси центров станка под
углом 60°. Для получения более точной резьбы окончательные проходы желательно
выполнять только с радиальной подачей - по первой схеме. Возврат резьбового
резца в исходное рабочее положение для выполнения очередного прохода
осуществляют двумя способами, выбор которых зависит от шага нарезаемой резьбы и
шага ходового винта станка. Прямоугольную и трапецеидальную резьбы и червяки в
зависимости от размеров и точности нарезают одним или несколькими резцами. При
нарезании резьбы применяют различные смазочно-охлаждающие жидкости, которые
поглощают теплоту, уменьшают трение трущихся поверхностей резца и заготовки,
удаляют мелкие частицы стружки. При обработке стальных деталей используют
эмульсию, масло, сульфофрезол.
Установка резца для нарезания резьбы
(рисунок 4) требует большого внимания. Резец нужно установить точно на высоте
центров, иначе профиль резьбы получится неправильным. Кроме того, средняя линия
профиля резца должна быть перпендикулярна к оси детали (рисунок 5, а). Это
условие обязательно при нарезании как наружных, так и внутренних резьб. Если
пренебречь этим, то профиль резьбы получится несимметричным (повернутым в
сторону), как показано на рисунке 5, б.
Рисунок 4 - Резец для нарезания
наружной резьбы
Резьбовой резец устанавливают при
помощи шаблона, как показано на рисунке 6 при нарезании наружной резьбы. Для
проверки прикладывают шаблон к цилиндрической (торцовой) поверхности детали в
горизонтальной плоскости и вводят резец в вырез шаблона. По просвету между
режущими кромками резца и вырезом шаблона судят о правильности установки. Если
имеется большой просвет, то его устраняют перестановкой резца, после чего резец
прочно закрепляют в резцедержателе.
Рисунок 5 - Установка резьбового
резца: а - правильная; б - неправильная
Рисунок 6 - Установка резьбового
резца по шаблону при нарезании наружной резьбы
Нарезание внутренней и наружной
треугольной крепежной резьбы метчиками и плашками на токарных,
токарно-револьверных и других станках является одним из высокопроизводительных
способов обработки. Резьбу нарезают окончательно за один или несколько проходов
инструмента. Специальную настройку станка на нарезание резьбы не производят.
Наиболее целесообразно применять метчики и плашки для нарезания неточных
крепежных резьб диаметром до 25-30 мм и с шагом не более 3 мм.
Поэтому в условиях работы вагонных
депо наиболее целесообразно нарезать резьбу плашками на токарно-винторезных
станках. Данный способ получения резьбы имеет ряд преимуществ: высокая точность
и низкая шероховатость обработанной резьбы, простота и дешевизна конструкции
инструмента.
Для придания арматуре U - образной
формы производят процесс механической обработки - прессование.
Состояние поверхности заготовки
оказывает значительное влияние на качество поверхности и точность прессованных
профилей. Поэтому во многих случаях после нагрева поверхность заготовки
тщательно очищают от окалины.
При прессовании металл подвергается
всестороннему неравномерному сжатию и поэтому имеет весьма высокую
пластичность. Коэффициент, характеризующий степень деформации и определяемый
как отношение площади сечения заготовки к площади сечения прессуемого профиля,
при прессовании составляет 10... 100.
Прессованием можно обрабатывать
такие специальные стали, цветные металлы и их сплавы, которые ввиду низкой
пластичности (особенно в литом состоянии) другими видами обработки давлением
деформировать невозможно или затруднительно.
Прессованием можно получать профили
сложных форм, которые не могут быть получены другими видами обработки металлов
давлением (в частности, прокаткой). Точность прессованных профилей выше, чем
прокатанных.
Развёртывание - вид чистовой
механической обработки отверстий резанием.
Развёртывание производят после
предварительного сверления и зенкерования для получения отверстия с меньшей
шероховатостью. Вращающийся инструмент - развертка - снимает лезвиями
мельчайшие стружки с внутренней поверхности отверстия. Условия резания и
нагрузка на инструмент при выполнении развёртывания, и шероховатость
поверхности схожи с так называемым протягиванием.
Отверстия развертывают вручную или
на станках: сверлильном или токарном. Осуществляя развертывание вручную,
вращают развертку воротком или трещеткой.
Толщина снимаемого разверткой
материала очень небольшая - 0,1-0,2 мм. Поэтому перед развертыванием отверстие
рассверливают до диаметра меньше нормального с различными припусками на
развертывание. Сначала отверстие развертывают черновой разверткой, а затем - чистовой.
Черновой разверткой снимают 0,1-0,5 мм, а чистовой 0,05-0,1 мм.
Для сверления и развертывания будем
использовать универсальный вертикально - сверлильный станок, поскольку он
отличается удобством и практичностью в эксплуатации, простотой в обслуживании.
Благодаря своей компоновке, вертикально сверлильный станок имеет ряд
преимуществ по сравнению с аналогичными типами.
Так как арматура имеет небольшой
диаметр поперечного сечения, а именно - 20 мм, то нет необходимости применять
сверла большой длины. Соответственно для получения отверстий диаметром 4 мм
используем спиральное сверло из быстрорежущей стали с цилиндрическим
хвостовиком короткой серии, диаметр которого равен 3,5 мм.
Для промежуточной обработки отверстий
применим цельный зенкер с цилиндрическим хвостовиком, диаметр которого равен
3,8 мм.
Для окончательной обработки
отверстий применим машинные цельные развертки с цилиндрическим хвостовиком,
диаметр разверток - 4 мм, длина рабочей части равна 20 мм, а длина развертки -
58 мм.
Обработка отверстий разверткой
обеспечивает необходимые точность и шероховатость.
Полученные в результате процессов
сверления, зенкерования и развёртывания отверстия должны соответствовать
требованиям: предельное отклонение диаметра отверстий Ϭ = +0,3 мм, а
шероховатость поверхностей отверстий Rz = 40 мкм. Rz -
высота неровностей профиля по десяти точкам - сумма средних абсолютных значений
пяти наибольших высот выступов и пяти наибольших глубин впадин.
3. Выбор технологических баз и их
обоснование
При конструировании изделия и
разработке технологических процессов большое значение имеет правильный выбор
баз. Точность обработки детали, быстрота ее установки в приспособление,
конструкция приспособления в сильной степени зависят от выбранной базы.
Базами называют исходные
поверхности, линии или точки, определяющие положение заготовки в процессе ее
обработки на станке или готовой детали в собранной машине. Различают
конструкторские, технологические, измерительные базы.
Конструкторскими базами называют
поверхности, оси или точки, определяющие положение детали относительно других
деталей при ее работе в машине. За конструкторские базы часто принимают не
материалы, а геометрические элементы деталей машин (осевые линии отверстий и
валов, оси симметрии и т. п.). Сборку изделия производят, сопрягая
конструкторские базы его элементов друг с другом.
Технологическими базами называют
поверхности, используемые для определения положения заготовки или изделия в
процессе изготовления. При использовании приспособлений за технологические базы
принимают реальные поверхности, непосредственно контактирующие с элементами
приспособления. При установке с выверкой используют как реальные поверхности
заготовки так и геометрические линии и точки, материально представляемые на
заготовке в виде разметочных рисок. Технологические базы делятся на черновые,
промежуточные и окончательные.
Черновые базы используются на первых
операциях обработки когда обработанных поверхностей на заготовке еще нет. Они
служат для создания промежуточных или окончательных технологических баз. В
общем случае в машиностроении последовательно применяются все три указанные
технологические базы. Однако нередки случаи, когда простые детали обрабатывают
полностью за одну установку, используя черновую базу. К таким деталям относятся
крышки подшипников, простые подшипниковые щиты, различные втулки и кольца. При
обработке заготовок на автоматических линиях в приспособлениях спутниках вся
обработка может быть произведена при одной установке заготовки. В этом случае
также используют только черновые технологические базы. Подобные варианты
базирования заготовок используют для обработки на агрегатных станках,
многошпиндельных автоматах и полуавтоматах, станках с программным управлением.
Кроме того, технологические базы
делят на основные и вспомогательные. Основные базы - это поверхности,
предусмотренные конструкцией и выполняющие определенную роль при ее работе в
изделии. Вспомогательные базы - это поверхности, специально создаваемые на
детали с учетом технологических требований. При необходимости после завершения
обработки эти поверхности могут быть удалены. Возможность создания
вспомогательных технологических баз должна быть предусмотрена и оговорена в
конструкции детали. Примерами вспомогательных баз могут служить центровые
гнезда валов, приливы на подшипниковых щитах и др.
Измерительная база - это
поверхность, линия или точка поверхности, относительно которой измерением
проверяют положение обработанной поверхности.
Конструкторская база определяет
положение детали в изделии, технологическая база - положение детали в процессе
ее изготовления, измерительная база - положение детали относительно средств
измерения.
При выборе технологических баз для
обработки заготовок следует использовать принцип совмещения баз, т. е. в
качестве технологической базы брать поверхность, являющуюся измерительной
базой. Лучшие результаты достигаются при совмещении технологической,
измерительной и конструкторской баз, т. е. тех поверхностей, которые определяют
положения детали в собранном изделии.
При выборе баз руководствуются
общими положениями с учетом особенностей каждого из них:
) деталь должна удобно
устанавливаться и выниматься из приспособления за минимальное время;
) базовые поверхности должны
быть ровными и иметь достаточную площадь для устойчивого положения детали в
приспособлении;
) усилия резания, зажима и
собственного веса должны подвергать деталь наименьшим деформациям;
) черные (необработанные)
поверхности детали следует использовать только в первой операции для полученная
чистых баз;
) для деталей, у которых
обрабатываются все поверхности, за черновую базу (первую) принимают
поверхность, имеющую наименьший припуск.
На рисунке 7 указаны технологические
базы предохранительной скобы.
- измерительная база; 2
- конструкторская база; 3 - технологическая база
Рисунок 7 -
Технологические базы предохранительной скобы
В качестве измерительной
базы будем считать торцевую поверхность предохранительной скобы, та как от неё
производят отсчёт размеров при измерении. В данном случае установочная база
совпадает с измерительной, и измерение производят от установочной базы. Она
обеспечивает соблюдение линейных размеров и параллельность обработанных торцов.
Имеют место три
конструкторских базы. Двумя из них являются участки с резьбой, которые
предназначены для закрепления скобы на боковой раме тележки снизу. А третьей
конструкторской базой является основание по внутреннего радиуса
предохранительной скобы, на которую устанавливается подбуксовая струнка, предотвращающая
выпадение колесной пары на путь.
В качестве
технологической базы выступает вся боковая поверхность скобы, непосредственно
контактирующая с элементами приспособления во время механической обработки (эта
поверхность является опорной поверхностью, так как в процессе сверления она
непосредственно контактирует со столом сверлильного станка).
4. Выбор базирующих и
установочных элементов приспособления, расстановка сил, действующих на деталь
при закреплении
Установочные элементы
(опоры) служат для ориентации детали или заготовки в пространстве при
обработке, сборке или контроле.
Число опор должно быть
равно числу устраняемых степеней свободы. Для повышения жесткости и
виброустойчивости дополнительно используют вспомогательные регулируемые или
самоустанавливающиеся опоры.
Для полной ориентации
заготовка должна быть лишена всех шести степеней свободы, для частичной
ориентации - трех, четырех или пяти. При этом полную ориентацию заготовок
осуществляют в следующем порядке:
) назначают комплект
баз;
) из комплекта баз
выбирают главную базу (установочную, двойную
направляющую или тройную
опорную), лишающую заготовку
наибольшего числа
степеней свободы;
) назначают число, вид и
место расположения установочных элементов для этой базы;
) определяют, каких степеней
свободы будет лишена заготовка с помощью этой базы;
) выбирают число, вид и
место расположения установочных элементов для второй базы (эти установочные
элементы не должны дублировать назначение установочных элементов, выбранных
ранее);
) выбирают число, вид и
место расположения установочных элементов для третей базы комплекта (эти
установочные элементы не должны дублировать назначение установочных элементов,
выбранных ранее).
Установочные элементы
должны удовлетворять следующим требованиям:
1) количество и расположение
установочных элементов должны учитывать необходимую ориентацию детали и
достаточную ее устойчивость;
) при использовании черновых
баз установочные элементы должны выполняться с ограниченной опорной
поверхностью;
) установочные элементы
должны обладать достаточной жесткостью, износостойкостью и легкосьемностью при
работе.
Различают основные опоры и
вспомогательные. В свою очередь основные опоры бывают регулируемыми и
самоустанавливающимися и служат для базирования детали или заготовки в
приспособлении.
Вспомогательные опоры применяют не
для базирования, а для повышения устойчивости и жесткости детали или заготовки
в приспособлении.
Форма установочных элементов зависит
от формы базовой поверхности детали или заготовки. В качестве установочных
элементов при базировании заготовок по плоским поверхностям (в соответствии с
рисунком 8) используют точечные опоры со сферической, плоской и насеченной
опорными поверхностями, опорные пластины и шайбы.
Рисунок 8 - Схемы установки
заготовок плоскими поверхностями на: а - опорные шайбы; б - опорные пластины; в
- точечные опоры
Точечные опоры используют для
установки небольших по размерам заготовок. Опоры со сферической опорной
поверхностью служат для установки на них деталей и заготовок с необработанными
базами.
Детали и заготовки с обработанными
базами устанавливают на опоры с плоской опорной поверхностью. Опоры с
насеченной опорной поверхностью, как правило, являются боковыми опорами или
служат для установки по черновым базам.
Опорные шайбы и опорные пластины
служат для установки заготовок по окончательно обработанным поверхностям. Шайбы
используют для установки мелких, а пластины - средних и крупных по размерам
заготовок. Опорные пластины без пазов (исполнение 1) служат боковыми и верхними
опорами, а опорные пластины с пазами (исполнение 2) - нижними опорами (для
размещения в пазах стружки).
Установку деталей и заготовок по
отверстию осуществляют с использованием установочных пальцев, оправок и
самоцентрирующих патронов.
Оправки различают консольные и
центровые. Они служат для закрепления заготовок и деталей с центральным
отверстием (втулок, колец, шестерен) при изготовлении которых необходимо
получить высокую соосность наружных и внутренних поверхностей и заданную
перпендикулярность торцов к оси детали.
В зависимости от способа установки и
центрирования обрабатываемых заготовок консольные и центровые оправки разделяют
на жесткие, зажимные механизмы которых имеют постоянные диаметры, и разжимные,
у которых изменяются диаметральные размеры центрирующего зажимного механизма. К
жестким относятся конические, цилиндрические под запрессовку и цилиндрические с
гарантированным натягом (в соответствии с рисунком 9).
Рисунок 9 - Центровые жесткие
оправки: а - конусная; б - цилиндрическая с гарантированным зазором; в -
цилиндрическая с гарантированным натягом
Установочные пальцы служат для
установки на них одним или двумя отверстиями обрабатываемых деталей. По
конструктивному исполнению различают пальцы установочные: цилиндрические с
упором (ГОСТ 16898-71); срезанные с упором (ГОСТ 16899-71); цилиндрические
(ГОСТ 16900-71); цилиндрические срезанные (ГОСТ 16901-71); цилиндрические постоянные
(ГОСТ 12209-66); срезанные постоянные (ГОСТ 12210-66; цилиндрические сменные
(ГОСТ 12211-66); срезанные сменные (ГОСТ 12212-66); цилиндрические высокие
(ГОСТ 17774-72); срезанные высокие (ГОСТ 17775-72).
Различают три отличных друг от друга
схемы установки деталей с использованием установочных пальцев. Когда за главную
базу принимают торец детали 2 (в соответствии с рисунком 10, а) то ее
устанавливают на низком пальце 1. Торец детали является установочной базой,
отверстие -двойной опорной. Когда за основную базу принимают отверстие детали,
то ее устанавливают на высоком пальце (в соответствии с рисунком 10, б).
Отверстие - двойная направляющая база, торец - опорная.
Рисунок 10 - Схемы установки детали
на установочных пальцах: а) на низком установочном пальце; б) на высоком
установочном пальце
Детали и заготовки по наружным
цилиндрическим поверхностям устанавливают в опорные призмы, втулки и
самоцентрирующие патроны. Последние наряду с базированием обеспечивают закрепление
заготовки. Поэтому их называют установочно-зажимными элементами приспособлений.
В призмы устанавливают заготовки
деталей типа тел вращения с обработанными и необработанными базовыми
поверхностями (в соответствии с рисунком 11). Призмы для установки коротких
заготовок стандартизованы. По конструктивному исполнению различают призмы:
опорные (ГОСТ 12195-66); с боковым креплением (ГОСТ 12197-66); подвижные (ГОСТ
12193-66); установочные (ГОСТ 12194-66); неподвижные (ГОСТ 12196-66).
Рисунок 11 - Примеры установки
заготовок наружной цилиндрической поверхностью: а - коленчатого вала на две
призмы; б - ступенчатого вала в призму с использованием самоустанавливающейся
опоры
Длинные заготовки устанавливают по
двум сечениям в нестандартных призмах с разобщенными рабочими участками. При
установке деталей с необработанными базами поверхности контакта призм выполняют
узкими или применяют призмы с запрессованными точечными опорами (в соответствии
с рисунком 12).
Рисунок 12 - Призмы для установки
заготовок большой длины по необработанным поверхностям
Стандартизованные призмы имеют
рабочий угол α =900. Нестандартные призмы
могут выполняться с рабочими углами 600 и 1200. Призмы с α =120о применяют, когда заготовка не имеет полной цилиндрической
поверхности и по небольшой дуге окружности нужно определить положение оси
детали. Заготовка, помещенная на такой призме, имеет небольшую устойчивость.
Призмы с углом α =600 применяют для повышения
устойчивости в том случае, когда имеются значительные силы обработки,
действующие параллельно оси призмы.
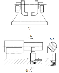
Для установки предохранительной
скобы используем в качестве установочного элемента - призмы, поскольку они
являются наиболее эффективными элементами приспособлений для закрепления
заготовок деталей типа тел вращения (рисунок 13) и имеют ряд преимуществ:
хорошая устойчивость, постоянство баз, простота и компактность конструкции.
Рисунок 13 - Базирующие и
установочные элементы приспособления, расстановка сил, действующих на деталь
при закреплении
5. Определение величин сил и
моментов резания
При сверлении глубина резания:
= 0,5 ∙ D (1)
=0,5 ∙ 3,5 = 1,75 мм.
При зенкеровании:
= 0,5 ∙ (D - d) (2)
где D - диаметр отверстия после обработки;- начальный диаметр
отверстия.= 0,5 ∙ (3,8 - 3,5) = 0,15 мм.
При развертывании: = 0,5 ∙ (4 - 3,8) = 0,1 мм.
При сверлении отверстий без ограничивающихся факторов выбираем
максимально допустимую по прочности сверла подачу (таблица 25, [1]) - 0,13
мм/об. Подачи при зенкеровании приведены в таблице 26, [1]. Величина подачи при
зенкеровании - 0,6 мм/об. Подачи при развертывании приведены в таблице 27, [1].
Величина подачи при развертывании - 0,8 мм/об.
Общий поправочный коэффициент на скорость резания, учитывающий
фактические условия резания:
Кv = Кмv ∙
Киv ∙ Кιv, (3)
Кv = 0,532 ∙ 0,8 ∙
0,7 = 0,298
где Кмv - коэффициент на
обрабатываемый материал (таблицы 1-4, [1]);
Киv - коэффициент на
инструментальный материал (таблица 6, [1]);
Кιv, - коэффициент учитывающий глубину сверления (таблица 31, [1]).
Крутящий момент Mкр, Н·м,
и осевую силу Ро, Н, при сверлении рассчитывают по формулам:
Мкр = 10 ∙ См ∙
Dq ∙ sy ∙ Кр; (4)
где Cм - постоянная для
конкретных (расчетных) условий обработки (таблица 32, [1]);q -
диаметр сверла, (мм), показатель степени определяется по таблице 32, [1];y
- подача, (мм/об), показатель степени определяется по таблице 32, [1];
Кр - поправочный
коэффициент (таблица 9, [1]).
Мкр = 10 ∙ 0,0345 ∙
3,52 ∙ 0,130,8 ∙ 0,75 = 0,62 Н ∙ м;
Р0 = 10 ∙ Ср ∙
Dq ∙ sy ∙ Кр; (5)
где Cр - постоянная для
конкретных (расчетных) условий обработки (таблица 32, [1]);
Р0 = 10 ∙ 68 ∙
3,5 ∙ 0,130,7∙ 0,75 = 427,95 Н.
Коэффициент Kp,
учитывающий фактические условия обработки, в данном случае зависит только от
материала обрабатываемой заготовки и определяется выражением:
Кр = Кмр (6)
Кр =0,75
Крутящий момент Mкр, Н·м,
и осевую силу Ро, Н, при зенкеровании рассчитывают по формулам:
Мкр = 10 ∙ См ∙
Dq ∙ t x ∙ sy ∙ Кр;
(7)
где Cм - постоянная для
конкретных (расчетных) условий обработки (таблица 32, [1]);q -
диаметр сверла, (мм), показатель степени определяется по таблице 32, [1];x
- глубина резания, (мм), показатель степени определяется по таблице 32,
[1];y - подача, (мм/об), показатель степени определяется по таблице
32, [1];
Кр - поправочный
коэффициент (таблица 9, [1]).
Мкр = 10 ∙ 0,09 ∙
3,81 ∙ 0,150,9 ∙ 0,60,8 ∙
0,75 = 0,31 Н ∙ м;
Р0 = 10 ∙ Ср ∙
t x ∙ sy ∙ Кр; (8)
где Cр - постоянная для
конкретных (расчетных) условий обработки (таблица 32, [1]);
Р0 = 10 ∙ 67 ∙
0,151,2 ∙ 0,60,65∙ 0,75 = 37 Н.
При диаметре инструмента D крутящий
момент, H·м, при развертывании определяется по формуле:
; (9)
где Cр -
постоянная для конкретных (расчетных) условий обработки (таблица 22, [1]);-
диаметр развертки, (мм);
tx - глубина резания,
(мм), показатель степени определяется по таблице 22, [1];
sz - подача, мм на один
зуб инструмента, равная s/z, при z = 8,
(10)
где s - подача, мм/об, z
- число зубьев развертки.
6. Выбор силового
механизма и расчет его параметров
.1 Выбор силового механизма
При закреплении заготовки в
приспособлении должны соблюдаться следующие основные правила:
) не должно нарушаться
положение заготовки достигнутое при ее базировании;
2) закрепление должно быть
надежным, чтобы во время обработки положение заготовки сохранялось неизменным;
) возникающие при закреплении
смятие поверхностей заготовки, а также ее деформация должны быть минимальными и
находиться в допустимых пределах;
) для обеспечения контакта
заготовки с опорным элементом и устранения возможного его сдвига при закреплении
зажимное усилие следует направлять перпендикулярно к поверхности опорного
элемента. В отдельных случаях зажимное усилие можно направлять так, чтобы
заготовка одновременно прижималась к поверхностям двух опорных элементов;
) в целях устранения деформации
заготовки при закреплении точку приложения зажимного усилия надо выбирать так,
чтобы линия его действия пересекала опорную поверхность опорного элемента. Лишь
при закреплении особо жестких заготовок можно допускать, чтобы линия действия
зажимного усилия проходила между опорными элементами.
Количество точек приложения зажимных
усилий определяется конкретно к каждому случаю зажима заготовки. Для уменьшения
смятия поверхностей заготовки при закреплении необходимо уменьшать удельное
давление в местах контакта зажимного устройства с заготовкой путем
рассредоточения зажимного усилия.
Это достигается применением в
зажимных устройствах контактных элементов соответствующей конструкции, которые
позволяют распределить зажимное усилие поровну между двумя или тремя точками, а
иногда даже рассредоточить по некоторой протяженной поверхности. Количество
точек зажима во многом зависит от вида заготовки, метода обработки, направления
силы резания. Для уменьшения вибраций и деформаций заготовки под действием силы
резания следует повышать жесткость системы заготовка-приспособление путем
увеличения числа мест зажатия заготовки и приближения их к обрабатываемой
поверхности.
К зажимным элементам относятся
винты, эксцентрики, прихваты, тисочные губки, клинья, плунжеры, прижимы,
планки. Они являются промежуточными звеньями в сложных зажимных системах.
.1.1 Винтовые зажимы
Винтовые зажимы (рисунок 14)
применяют в приспособлениях с ручным закреплением заготовки, в приспособлениях
механизированного типа, а также на автоматических линиях при использовании
приспособлений-спутников. Они просты, компактны и надежны в работе.
Рисунок 14 - Винтовые зажимы: а - со
сферическим торцом; б - с плоским торцом; в - с башмаком
Винты могут быть со сферическим
торцем (пятой), плоским и с башмаком, предупреждающим порчу поверхности.
.1.2 Клиновые зажимы
Клин применяется в следующих
конструктивных вариантах:
) плоский односкосый клин
(рисунок 15, а);
2) двускосый клин (рисунок 15,
б);
) круглый клин (рисунок 15,
в);
а)
б) в)
Рисунок 15 - Клиновые зажимы: а -
плоский односкосый клин; б - двускосый клин; в - круглый клин
4) кривошипный клин в форме
эксцентрика или плоского кулачка с рабочим профилем, очерченным по архимедовой
спирали (рисунок 16);

Рисунок 16 - Кривошипный клин: а - в
форме эксцентрика; б) - в форме плоского кулачка
) винтовой клин в форме торцевого
кулачка. Здесь односкосый клин как бы свернут в цилиндр: основание клина
образует опору, а его наклонная плоскость -винтовой профиль кулачка;
) в самоцентрирующих клиновых
механизмах (патроны, оправки) не пользуются системы из трех и более клиньев.
6.1.3 Эксцентриковые зажимы
Такие зажим (рисунок 17) являются
быстродействующими, но развивают меньшую силу, чем винтовые. Обладают свойством
самоторможения. Основной недостаток: не могут надежно работать при значительных
колебаниях размеров между установочной и зажимаемой поверхностью обрабатываемых
деталей.
а)
б)
Рисунок 17 - Схемы для расчета
эксцентриков
.1.4 Цанги
Цанги представляют собой пружинящие
гильзы. Их применяют для установки заготовок по наружным и внутренним цилиндрическим
поверхностям.
.1.5 Устройства для зажима деталей
типа тел вращения
Кроме цанги для зажима деталей
имеющих цилиндрическую поверхность, применяют разжимные оправки, зажимные
втулки с гидропластом, оправки и патроны с тарельчатыми пружинами, мембранные
патроны и другие.
Консольные и центровые оправки
применяют для установки с центральным базовым отверстием втулок, колец,
шестерен, обрабатываемых на многорезцовых шлифовальных и других станках.
При обработке партии таких деталей
требуется получить высокую концентричность наружных и внутренних поверхностей и
заданную перпендикулярность торцов к оси детали.
В зависимости от способа установки и
центрирования обрабатываемых деталей консольные и центровые оправки можно
подразделить на следующие виды: 1) жесткие (гладкие) для установки деталей с
зазором или натягом; 2) разжимные цанговые; 3) клиновые (плунжерные,
шариковые); 4) с тарельчатыми пружинами; 5) самозажимные (кулачковые,
роликовые); 6) с центрирующей упругой втулкой.
В качестве зажимного механизма
применим винтовой механизм.
Преимущества винтовых элементарных
зажимных механизмов: простота и компактность конструкции; широкое использование
стандартизованных деталей; удобство в наладке, что позволяет успешно применять
винтовые зажимные устройства в конструкциях прогрессивных переналаживаемых
приспособлений; хорошая ремонтопригодность; возможность получать значительную
силу закрепления заготовок при сравнительно небольшом моменте на приводе;
способность к самоторможению; большой ход нажимного винта (гайки), позволяющий
надежно закреплять заготовку со значительными отклонениями размеров.
Винтовые механизмы используются для
непосредственного зажима или для зажима с помощью прихватов. Непосредственный
зажим осуществляется винтом (при неподвижной гайке).
Рисунок 18 - Винтовой рычажный
механизм с поворотным рычагом
Произведем расчет крутящего момента
Mкр и усилия Q необходимого для получения заданной силы зажима P.
Усилие Q определяется по формуле:
(11)
где 
- сила зажима, (Н),
таблица 11.3, [2];

- коэффициент,
учитывающий потери от трения в шарнире (на оси) прихвата.
Коэффициент, учитывающий потери от
трения в шарнире (на оси) прихвата определяется по формуле:
(12)
где Rср - средний радиус
пяты, (мм);cp- средний радиус резьбы, (мм);- коэффициент трения
резьбы, (f = 0,25);- шаг резьбы, (K = 1,75 мм);
μ -
коэффициент трения в пяте, (μ = 0,1).
Крутящий момент M определяется по
формуле:
(13)
где Q - усилие, (Н);ср - средний диаметр резьбы винта,
(мм).
Сравнивая полученные значения
крутящего момента Mкр и усилия Q необходимого для получения заданной
силы зажима P со значениями моментов кручения и осевых сил при сверлении,
зенкеровании и развертывании можно сделать вывод о том, что выбранный винтовой
механизм обеспечит зажим детали, достаточный для обеспечения условия
неподвижности. Извесно, что для полного исключения подвижности твердого тела в
пространстве необходимо лишить его шести степеней свободы.
7 Описание приспособления
.1 Состав приспособления
Приспособление состоит из следующих
элементов:
) плита с пазами типа
«ласточкин хвост», 1 шт.;
) призмы опорные ГОСТ
12195-66, 6 шт.;
) болты М6-6×90 ГОСТ 7798-70, 6 шт.;
) шайбы С 6.37 ГОСТ 10450-78,
12 шт.;
) винты А.М5-6×16 ГОСТ 1488-84, 3 шт.;
) гайка 7003-0222 ГОСТ
13426-68, 1 шт.;
) гайки М6-6Н ГОСТ 5915-70, 6
шт.
.2 Работа приспособления
Монтаж приспособления САМ-5
производится следующим образом. Три призмы устанавливаются на плиту в пазы,
образуя соединение «ласточкин хвост». Деталь (предохранительная скоба)
устанавливается на призмы, для её фиксации используются ещё три призмы, которые
располагаются непосредственно над призмами, установленными на плиту в пазы. Для
предотвращения перемещений призм относительно друг друга и фиксации их
положения на плите при помощи гайки с рукояткой 7003-0222 ввинчиваются шесть
болтов М6-6×90,
по два на каждую пару призм. Болты ввинчиваются в стол насквозь и имеют запас
«тела» для облегчения демонтажа призм. Для образования разъемного соединения на
болты навинчиваются гайки М6-6Н снизу (под плитой), по одной гайке на один
болт. Для увеличения площади прижатия болта и гайки в резьбовом соединении под
гайки М6-6Н и головки болта М6-6×90 подкладываются шайбы С 6.37. При механической обработке детали
установленной в приспособлении, она не должна совершать перемещения. Для
предотвращения перемещений в приспособлении САМ-5 используются три винта,
которые ввинчиваются в верхние призмы (относительно стола) посередине.
Основания винтов непосредственно взаимодействуют с деталью, прижимают её и не
позволяют перемещаться.
Демонтаж приспособления САМ-5
осуществляется в обратном порядке.
Заключение
В процессе выполнения курсового
проекта были проведены: анализ технических условий на деталь, расчёт основных
режимов резания при сверлении, зенкеровании и развертывании, выбран силовой
механизм (винтовой механизм). Для выполнения обработки выбраны режущие
инструменты (сверло с цилиндрическим хвостовиком, зенкер с цилиндрическим
хвостовиком, развертка с цилиндрическим хвостовиком), а также спроектировано и
обосновано приспособление для установки детали на заданное положение.
Приспособление рассчитано на точность по заданным параметрам и принятые
параметры оказались удовлетворительными для обеспечения заданной точности
детали. При силовом расчёте рассчитано усилие зажима (Q = 467,2 Н), которого
оказалось достаточно для закрепления детали. Приведены чертежи: детали,
рабочего приспособления для данных операций сверления, зенкерования и
развертывания, а также спецификация к сборочному чертежу приспособления.
Список использованных источников
1 Справочник технолога машиностроителя, ч.1; А.Г. Косилова,
Р.К. Мещеряков, Москва 1972 г.
Справочник технолога машиностроителя, ч.2; А.Г. Косилова,
Р.К. Мещеряков, Москва 1972 г.
Технология производства и ремонта вагонов/ Под редакцией
К.В. Мотовилова. - М.:Маршрут,2003г.-382с
Лукин, В.В. Вагоны. Общий курс: учебник для вузов ж.-д.
трансп. / В. В. Лукин. - М.: Изд-во Маршрут, 2004. - 424 с
Изготовление деталей [Электронный ресурс]/
технологический процесс; ред. Гуров А. Н.; web-мастер Носков В. К. - электрон.
дан. - М.: Центр технологий 2009 -. Режим доступа
http://fss.ru/docs/buh/HTM/ND8.54.h
Контроль [Электронный ресурс] / Технический справочник;
ред. Андреев С. В.; web-мастер Гричевский А.Г. - электрон. дан. - М.: Центр
технологий 2007 -. Режим доступа: http://razvitie-pu.ru/?page_id=2269
Производственный процесс [Электронный ресурс] /
Технический справочник; ред. Морзин С. В.; web-мастер Соседов Ю.А. - электрон.
дан. - М.: Центр технологий 2009 -. Режим доступа: http://spravconstr.ru/html
СТП ОмГУПС -1.2 - 02 «Система управления качеством
подготовки специалистов. Работы студенческие учебные и выпускные
квалификационные требования и правила оформления текстовых документов ».