Механическая вентиляция. Приточная и вытяжная вентиляция. Конструктивные элементы общеобменной вентиляции

  • Вид работы:
    Практическое задание
  • Предмет:
    Строительство
  • Язык:
    Русский
    ,
    Формат файла:
    MS Word
    4,54 Мб
  • Опубликовано:
    2014-01-08
Вы можете узнать стоимость помощи в написании студенческой работы.
Помощь в написании работы, которую точно примут!

Механическая вентиляция. Приточная и вытяжная вентиляция. Конструктивные элементы общеобменной вентиляции

МИНИСТЕРСТВО ВЫСШЕГО И СРЕДНЕГО СПЕЦИАЛЬНОГО

ОБРАЗОВАНИЯ РЕСПУБЛИКИ УЗБЕКИСТАН

Ташкентский Архитектурно-Строительный Институт

Факультет Инженерно-Строительной Инфраструктуры

Кафедра: Инженерные коммуникации






Самостоятельная работа

по предмету: "Инженерное оборудование населенных мест и зданий"

на тему: "Механическая вентиляция. Приточная и вытяжная вентиляция. Конструктивные элементы общеобменной вентиляции"











Ташкент 2013г.

Содержание

1.   Приточная механическая вентиляция

1.1 Основные схемы

.2 Основные схемы приточной механической вентиляции

.3 План и разрезы приточной камеры

2.   Основные элементы приточной вентиляции

2.1 Калориферы

.2 Фильтры

.3 Вентиляторы

.4 Виброизоляторы

.5 Шумоглушители

.6 Воздуховоды

.7 Воздухозаборная решетка

.8 Воздушный клапан

.9 Воздухораспределители

2.10 Вытяжные камеры

Список использованной литературы

приточный механический вентиляция фильтр

1.       Приточная механическая вентиляция


Эффективность вентиляции помещений в большей мере зависит от правильного выбора и расположения устройств для подачи и удаления воздуха. В первую очередь распределение параметров воздуха в объёме помещения, распределение конструктивных решений приточных устройств. Влияние вытяжных устройств на скорость движения и температуру воздуха в помещении обычно не значительное. В то же время общая эффективность зависит от правильной организации вытяжки воздуха из помещения. Основные принципы организации вентиляции заключены в следующем:

1.       Приточный воздух необходимо подавать так, что бы он поступал в зону дыхания людей, т.е. обслуживаемую зону, приточный воздух должен быть чистым и иметь температуру и скорость движения, соответствующие санитарным нормам.

2.       Общеобменная вентиляция должна разбавлять и удалять вредные выделения, поступающие в помещение, обеспечивая в обслуживаемой зоне допустимые значения параметров, а именно температуры, относительной влажности, скорости движения воздуха и концентрации вредных веществ в нём.

.        Местная вытяжная вентиляция должна удалять вредные выделения в местах их образования, предотвращая их распространение.

.        Объёмы приточного и вытяжного воздуха должны исключать, с учётом воздушного режима здания, перетекание загрязнённого воздуха из помещения с выделением вредных веществ в другие помещения.

Выбор воздухораспределительных устройств и места расположения их зависит от назначения и габаритных размеров помещения. Сочетание вредных выделений, требования, предъявляемые к воздушной среде, размещение в объёме помещения оборудования, рабочих мест и другие условия. При этом следует учитывать конструктивное строительное решение здания. Решение вопроса подачи и удаления воздуха зависит от конструктивных условий можно основывать на следующих рекомендациях:

а) Траектория подачи приточного воздуха не должна пересекать загрязнённые участки помещения, обеспечивая поступление в обслуживаемую рабочую зону чистого воздуха.

б) При значительных избытках явного тепла в помещении приточный воздух в холодный период года следует подавать с минимальной дополнительной температурой, имея в виду его подогрев за счёт избытков тепла.

в) В тёплый период года во всех случаях предпочтительна подача приточного воздуха в обслуживаемую зону помещения.

г) При решении воздухораздачи необходима проверка уровня температура и скорости движения воздуха на рабочих местах при этом следует учитывать взаимное влияние струйных течений, стеснение струй ограждениями и технологическим оборудованием, свойство струй настилаться на поверхности и возбуждать циркуляционные потоки.

1.1 Основные схемы


Наиболее простым примером организации воздухообмена является вентиляция жилых и общественных зданий.

По действующим нормам в этих зданиях устраивают вытяжную вентиляцию из верхней зоны помещений- кухонь, сан. узлов, ванных, а в некоторых случаях и жилых комнат. Приточный воздух поступает неограниченно через форточки неплотности в ограждающих конструкциях. В административных зданиях объёмом до 1500 м3 вентиляцию помещений осуществляют в виде вытяжки из верхней зоны с неорганизованным притоком через окна. В зданиях большого объёма вытяжку из верхней зоны приток так же в верхнюю зону. В общественных зданиях (детские сады, общеобразовательные, магазины, высшие учебные заведения и т.д.) вентиляцию основных помещений так же осуществляют по схеме сверху вверх. Схема организации воздухообмена в театрах, клубах, кинотеатрах зависят от размера, режимов эксплуатации, климатических условий и могут быть рекомендованы следующие схемы:

а) В залах без балконов с числом мест до 400 подача в верхнюю или среднюю по высоте зону помещения вытяжка осуществляется через отверстие в потолке или в верхнюю часть стен или у экрана.


б) В производственных помещениях при выделении паров и газов и недопустимости их скопления в верхней зоне их взрывоопасность и отравление людей

в) В помещении с одновременными выделениями тепла и влаги.

Основные схемы


1.2 Основные схемы приточной механической вентиляции


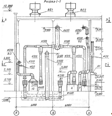
Рис.1. План.

Рис.2. Разрез 1-1.

Рис.3. План.

1.3 План и разрезы приточной камеры




2.       Основные элементы приточной вентиляции


Приточная вентиляция состоит из следующих основных элементов: приточной установки, воздуховодов, воздухораспределительных устройств, через которые воздух подается в помещение.

Рассмотрим систему приточной вентиляции промышленного здания (рис.1,2).

Для обеспечения параметров воздуха в помещении предусмотрены 3 приточные системы вентиляции П1 и П2, П3.

Приточный воздух забирается снаружи, проходит обработку воздуха в фильтре - очистка, калорифере - нагрев, в камере орошения - увлажнение и вентилятором через систему воздуховодов подается через воздухораспределительные устройства в помещение.

Приточная установка может быть скомпонована в раздельном исполнении отдельных элементов (рис 4) или как единое целое (рис 1) или кондиционер центральный (рис 5), который может быть собран из отдельных блоков (рис 6).



Рис.5. Приточная камера компании YORK.

- воздухоприемный клапан; 2 - двухступенчатый фильтр; 3 - калорифер; 4 - вентилятор; 5 - электродвигатель; 6 - внешняя изоляция.

Рис.6. Спец блоки приточной камеры компании YORK.

2.1 Калориферы


Для подогрева приточного воздуха в системах вентиляции используются калориферы. По виду теплоносителя они могут быть огневыми водяными, паровыми, электрическими.

Наиболее распространены водяные и паровые калориферы, которые подразделяются на гладкотрубные и ребристые; последние в свою очередь подразделяются на пластинчатые и спирально-навивные.

По движению теплоносителя калориферы бывают одноходовые и многоходовые. В одноходовых движение теплоносителя происходит в одну сторону, в многоходовых движение несколько раз меняется вследствие наличия в коллекторных крышках перегородок.

Калориферы выполняют двух моделей: средние (С) и высокие (В).

Гладкотрубные калориферы выполнены из стальных трубок диаметром 20-32 мм. Трубки могут быть расположены в коридорном или шахматном порядке.

Пластинчатые калориферы состоят из трубок, на которые насажены пластинки прямоугольной или круглой формы. Для лучшего контакта между пластинками и трубками наружная поверхность нагрева калориферов оцинковывается.


Схема присоединения калориферов к паропроводам при р < < 0,003 МПа (а, 6) и при р > 0,003 МПа (в, г).

а, в - однорядная установка, б, г - двухрядная установка: 1 - паропровод 2 - вентиль; 3 - тройник с пробкой; 4 - калориферы; 5 - обводной канал; 6 - конденсатопровод; 7 - конденсатоотводчик.

Схемы присоединения одноходовых (а - г) н многоходовых (д - з) калориферов к водяным сетям. а, 6, д, е - параллельное присоединение; а, г, ж, з - последовательное прнсоединение; 1 - трубопровод горячей воды; 2 - вентиль; 3 - тройник с пробкой для выпуска воздуха: 4 - калорифер: 5 - трубопровод обратной воды; 6 - тройник c пробкой для спуска воды.

2.2 Фильтры


Фильтр необходим для защиты, как самой системы вентиляции, так и вентилируемых помещений от пыли, пуха, насекомых. Обычно устанавливается один фильтр грубой очистки, который задерживает частицы величиной более 10 мкм. Если к чистоте воздуха предъявляются повышенные требования, то дополнительно могут быть установлены фильтры тонкой очистки (задерживают частицы до 1 мкм) и особо тонкой очистки (задерживают частицы до 0.1 мкм).

Фильтрующим материалом в фильтре грубой очистки служит ткань из синтетических волокон, например, акрила. Фильтр необходимо периодически очищать от грязи и пыли, обычно не реже 1 раза в месяц. Для контроля загрязнения фильтра можно установить дифференциальный датчик давления, который контролирует разность давления воздуха на входе и выходе фильтра - при загрязнении разность давления увеличивается.

Фильтр кассетный.

2.3 Вентиляторы


Вентиляторы служат для побуждения движения воздуха в системах вентиляции. Вентиляторы бывают двух видов: радиальные (центробежные) и осевые. По месту установки вентиляторы могут быть крышными, которые в свою очередь бывают радиальными и осевыми.

Вентилятор канальный.


Вентилятор канальный.

Вентилятор крышный осевой.

Радиальные вентиляторы обеспечивают большее давление нежели осевые, поэтому радиальные вентиляторы работают в сети, а осевые устанавливаются в основном в ограждающих конструкциях, т.е. для транспортировки воздуха либо из помещения наружу, либо снаружи внутрь.

Радиальные вентиляторы бывают левого и правого исполнения, если встать со стороны электродвигателя, если движение по часовой стрелке считается что вентилятор правого вращения, если против - левого вращения. Положение выхлопного отверстия может иметь 7 положений: при угле 00, 450, 900, 1350, 1800, 2700, 3150. По величине развиваемого давления различают 3 вида вентиляторов:

Низкого давления - >1000Па

Среднего давления - ≥1000Па и ≤3000Па

Высокого давления - >3000Па и <15000Па

Вентиляторы общего назначения маркируются:

ЦЧ-70, ЦЧ-75,ЦЧ-76, ОС-300, ЦП…- пылевой вентилятор высокого давления. Для каждого вида вентиляторов имеются каталоги. Вентиляторы имеют следующие характеристики: полное давление, которое складывается из потерь давления на всасывание и нагнетание с учётом запаса в размере 10%; производительность, м3/ч; КПД, число оборотов в минуту, КВт; окружная скорость. Для каждого номера вентилятора даётся в каталоге, характеристика, в которой указаны вышеуказанные параметры.

2.4 Виброизоляторы


Вибрации, возникающие при работе вентиляционной установки, передаются воздуховодам и основанию, на котором смонтирована установка. Вибрации являются причиной возникновения структурного звука.

При установке вентилятора на фундаменте колебания по грунту передаются фундаментам, стенам и перекрытиям здания. При установке вентилятора на междуэтажном перекрытии структурный звук непосредственно передаётся в нижележащее помещение.

Снижение структурного звука, передаваемого основанию, может быть достигнуто путём установки вентиляторов на виброизоляторах.


2.5 Шумоглушители


Звуком называют волновое колебание упругой среды, создающее в ней дополнительное переменное давление.

Для характеристики звука используют физические и физиологические показатели.

К физическим показателям оценки звука относятся:

а) частота колебания;

б) длина волны;

в) интенсивность звука;

г) уровень интенсивности звука;

д) звуковое давление;

е) уровень звукового давления.

Шум, создаваемый вентиляционной установкой, передаётся следующими путями:

а)       по воздушной среде внутри воздуховодов в помещение через приточные и вытяжные решётки или в атмосферу через воздухозаборные решётки приточных систем или через шахты вытяжных систем;

б)      через стенки транзитных воздуховодов в помещение, по которому они расположены;

в)      по воздушной среде, окружающей вентиляционную установку, к ограждающим конструкциям камеры и через них в смежные помещения.

Каждый из перечисленных путей передачи шума определяет соответствующие мероприятия, которые должны быть предусмотрены для уменьшения шума в помещениях с нормируемым уровнем звука.

Шумы нормируются в 8 октавных насосах со среднегеометрическими частотами 63, 125, 250, 500, 1000, 2000, 4000, 8000.

В зависимости от назначения помещения нормы могут быть разными, они приведены в КМК 2.01.08-96 "Защита от шума".

Снижение уровня звука любого давления на постоянных рабочих местах или в расчётных точках помещения может осуществляться комплексом мероприятий:

1.       Установка вентиляторов наиболее совершенных по акустическим характеристикам

2.       Выбор оптимальных режимов работы вентиляторов

а) на максимальном коэффициенте полезного действия

б) с минимально возможным давлением, развиваемым вентилятором.

. Снижение скорости движения воздуха в отводах, тройниках и других элементах вентиляционных систем.

а) до 5-6 м/с в магистральных воздуховодах

б) до 2-4 м/с в ответвлениях для общественных зданий.

в) до 10-12 м/с в магистральных воздуховодах

г) до 4-8 м/с в ответвлениях для производственных зданий.

. Изменение акустических качеств в помещениях, в которых требуется снижение уровня звукового давления путём применения звукопоглощающих установок или других звукопоглотителей.

. Снижение уровней звуковой мощности источников по пути распространения звука, путём установки глушителей или облицовки внутренней поверхности воздуховодов звукопоглощающими материалами. Вибрация вентиляционной установки не должна передаваться воздуховодам, для этого воздуховод следует прикреплять к вентилятору, как со стороны всасывания, так и со стороны нагнетания через гибкую вставку из упругих материалов.

Для глушения шума в вентиляционных установках применяют глушители дистепативного действия, т.е. такие, в которых происходит рассеивание звуковой энергии. По конструкции глушители разделяются на: трубчатые, сотовые, пластинчатые и камерные.

Шумоглушитель трубчатый. Схемы глушителей шума. а - трубчатого; 6 - сотового; в - пластинчатого; г - камерного; 1 -наружный кожух; 2 - звукопоглощающий материал; 3 - гофрированный воздуховод; 4 - звукопоглощающие ячейки; 5 - звукопоглощающие пластины; 6 - каналы для воздуха; 7 - обтекатель; 8 -каркас пластины; 9 - ткань; 10 - сетка; 11 - камера; 12 - б.

Шумоглушитель трубчатый.

2.6 Воздуховоды


Они применяются для распределения обработанного воздушного потока по помещениям. Для этого их объединяют в воздухопроводную сеть, состоящую из воздуховодов и фасонных деталей (тройников, поворотов, переходников). Основными характеристиками воздуховодов являются площадь сечения, форма (круглая или прямоугольная) и жесткость (жесткие, полу гибкие, гибкие).

Скорость потока в воздуховоде не должна превышать определенного значения, иначе воздуховод станет источником шума. Поэтому площадью сечения воздуховода определяется объем прокачиваемого воздуха, то есть размер воздуховодов подбирается исходя из расчетного значения воздухообмена и максимально допустимой скорости воздуха.

Жесткие воздуховоды изготавливаются из оцинкованной жести и могут иметь круглую или прямоугольную форму. Полу гибкие и гибкие воздуховоды имеют круглую форму и изготавливаются из многослойной алюминиевой фольги. Круглую форму таким воздуховодам придает каркас из свитой в спираль стальной проволоки. Такая конструкция удобна тем, что воздуховоды при транспортировке и монтаже можно складывать "гармошкой". Недостатком гибких воздуховодов является высокое аэродинамическое сопротивление, вызванное неровной внутренней поверхностью, поэтому их используют только на участках небольшой протяженности.


2.7 Воздухозаборная решетка


Через воздухозаборную решетку в систему вентиляции поступает наружный воздух. Эти решетки, как и все другие элементы вентиляционной системы, бывают круглой или прямоугольной формы. Воздухозаборные решетки не только выполняют декоративные функции, но и защищают систему вентиляции от попадания внутрь капель дождя и посторонних предметов.

Воздухозаборная решетка.

2.8 Воздушный клапан


Он необходим для предотвращения попадания холодного наружного воздуха в помещение при выключенной вентиляции. Наибольшее распространение получили пружинный обратный клапан "бабочка" и воздушный клапан с электроприводом и возвратной пружиной (возвратная пружина закрывает клапан при пропадании электропитания).

Пружинный обратный клапан недорогой, но менее эффективный (возможно попадание холодного воздуха с улицы в помещение при выключенной системе). Воздушный клапан с электроприводом дороже, но он гарантированно перекрывает доступ холодного воздуха и, кроме того, позволяет полностью автоматизировать управление системой - при включении вентилятора (и калорифера) клапан открывается, а при выключении - закрывается.


Кроме того, существуют так же ручные клапаны - управление заслонкой такого клапана производится с помощью рукоятки. Ручной клапан рекомендуется устанавливать совместно с пружинным обратным клапаном для того, что бы иметь возможность перекрыть доступ холодного воздуха в помещение при отключении системы вентиляции на длительный период.

В противном случае соприкосновение теплого внутреннего воздуха с холодной поверхностью воздуховодов может привести к образованию конденсата, который в виде капель воды будет стекать в помещение.

2.9 Воздухораспределители


Через воздухораспределители воздух из воздуховода попадает в помещение. Как правило, в качестве воздухораспределителей используют решетки (круглые, прямоугольные, настенные или потолочные) или диффузоры (плафоны).

Помимо декоративных функций, воздухораспределители служат для равномерного рассеивания воздушного потока по помещению, а так же для индивидуальной регулировки воздушного потока, направленного из воздухораспределительной сети в каждое помещение.


2.10 Вытяжные камеры


В настоящее время в приточных камерах в основном устанавливаются оборудования зарубежных фирм производителей из России - ВЕЗА, Франции - СИАТ, Америки - YORK, и другие.

План и разрез вытяжной камеры.

Изображение движений воздуха в различных помещениях.

1.       СКВ на базе кондиционеров сплит-систем и система естественной вытяжной вентиляции жилых помещений (рис. 1.)


На рис. 1. рассмотрен вариант автономного обеспечения внутренних температурных условий в жилых помещениях с использованием кондиционеров сплит-систем настенного типа.

Достоинством автономных кондиционеров такого типа является простота установки и монтажа.

Внутренний блок установлен на стене на высоте h=2,5 м.

Наружный блок - на балконе. Фреоновая трасса между внутренним и наружным блоками прокладывается вдоль стены в декоративных коробах.

Конденсат, образующийся во внутреннем блоке, при работе кондиционера в режиме охлаждения с помощью дренажного трубопровода выведен на улицу.

Вентиляция жилых помещений осуществляется естественным путем.

Приток свежего воздуха - через открытые окна. Вытяжка на улицу - через решетки, установленные на кухне и в санузле, далее - через вытяжные шахты. Для очистки воздуха на кухне используется воздухоочиститель.

2.       Система технической вентиляции на базе при точной установки и вытяжного крышного вентилятора (рис. 2.)


На рис. 2. показан пример механической вентиляции жилых помещений коттеджа. Приточная вентиляционная установка обеспечивает допустимые метеорологические условия и санитарные нормы воздуха в помещениях согласно СНиП. В своем составе приточная установка имеет:

клапан с электрическим приводом на воздухозаборе;

фильтр для очистки воздуха от пыли;

вентилятор;

систему автоматики с пунктом управления.

Все перечисленные элементы смонтированы в едином металлическом звукоизолированном корпусе.

3.       СКВ технологического помещения на базе прецизионного шкафного кондиционера (рис. 3.)


4.       СКВ зала кинотеатра на базе центрального приточно-рециркуляционного кондиционера (рис. 4.)

5. СКВ операционной на базе приточно-вытяжного автономного кондиционера (рис. 5.)


. Система вентиляции административного здания на базе поэтажных приточно-вытяжных вентиляционных установок с утилизацией тепла вытяжного воздуха (рис.6.)


7.       СКВ на базе <чиллера-фанкойлов> и приточно-вытяжная установка с утилизацией тепла вытяжного воздуха коттеджа (рис. 7.)


Список использованной литературы


.        Саидова Д.З. "Инженерное оборудование населенных мест и зданий. Конспект лекций". Т. 2010г.

2.       www.buildingseq.ru/ý

.        dic.academic.ru/

.        www.abok.ru/

Похожие работы на - Механическая вентиляция. Приточная и вытяжная вентиляция. Конструктивные элементы общеобменной вентиляции

 

Не нашли материал для своей работы?
Поможем написать уникальную работу
Без плагиата!
Без нейросетей!