Проект реконструкции зоны агрегатного ремонта в ремонтно-механической мастерской
Министерство образования и науки РФ
ФГБОУ ВПО "СибГТУ"
Факультет: Механический
Кафедра: АТЛМ
Проект реконструкции зоны агрегатного
ремонта в ремонтно-механической мастерской
Выполнил: студент группы 95-1
Скуматов В.В.
Принял: Федченко В.Б.
Красноярск 2013
Содержание
Введение
1. Технологическая часть
1. Краткая характеристика предприятия
2. Планировка предприятия
2.1 Технологическая планировка производственных зон и участков
2.2 Общие требования и положения
2.3 Определение ширины проезда в зонах ТО и ТР
2.4 Планировочное решение участка по диагностированию и ремонту
ходовой части автомобиля
3. Годовая производственная программа
3.1 Режим работы участка. Годовые фонды времени рабочих и
оборудования
3.2 Трудоемкость и годовой объем работ
4. Текущий ремонт автомобилей КамАЗ
4.1 Текущий ремонт двигателей - КамАЗ
4.2 Двигатель КамАЗ
4.3 Блок цилиндров и привод агрегатов
4.4 Неисправности двигателей КамАЗ
4.5 Конструктивные особенности и дефекты коленчатых валов
4.6 Технические условия на контроль, сортировку и восстановление
коленчатых валов и противовесов
4.7 Технологический процесс восстановления коленчатых валов
4.8 Замена вкладышей после восстановления коленчатого вала
4.9 Сборка коленчатого вала и установка его в блок цилиндров
4.10 Технология капитального ремонта двигателей КамАЗ
Существующий технологический процесс ремонта ДВС
2. Конструкторская часть
2.1 Обзор существующих стендов для шлифования коленчатых валов
2.2 Разработка оснастки для шлифования коленчатых валов двигателей
2.2.1 Назначение и устройство приспособления
2.2.2 Принцип действия
2.2.3 Анализ существующих конструкций
Заключение
Список использованных источников
Введение
Перевозки автомобильным транспортом
предполагают использование подвижного состава (автомобилей и автопоездов),
находящегося в исправном техническом состоянии.
Исправное техническое состояние означает полное
соответствие подвижного состава нормам, определяемым правилами технической
эксплуатации, и характеризует его работоспособность.
Работоспособность автомобиля оценивается
совокупностью эксплуатационно-технических качеств - динамичностью,
устойчивостью, экономичностью, надежностью, долговечностью, управляемостью и
т.д. - которые для каждого автомобиля выражаются конкретными показателями.
Чтобы работоспобность автомобиля в процессе эксплуатации находилась на
требуемом уровне, значение этих показателей длительное время должны мало
измениться по сравнению с их первоначальными величинами.
Однако техническое состояние автомобиля,
как и всякой другой машины, в процессе длительной эксплуатации не остается
неизменными. Оно ухудшается в следствии изнашивания деталей и механизмов,
поломок и других неисправностей, что приводит результате к ухудшению
эксплуатационно-технических качеств автомобиля.
Изменение указанных качеств автомобиля по
мере увеличения пробега может происходить также в результате несоблюдения
правил технической эксплуатации или технического обслуживания автомобиля.
Основным средством уменьшения
интенсивности изнашивания деталей и механизмов и предотвращения неисправностей
автомобиля, то есть поддержания его в должном техническом состоянии, является
своевременное и высококачественное выполнение технического обслуживания.
Под техническим обслуживанием понимают
совокупность операций (уборо-моечные, крепежные, регулировочные, смазочные и
др.), цель которых - предупредить возникновение неисправностей (повысить
надежность) и уменьшить изнашивание деталей (повысить долговечность), а
последовательно, длительное время поддерживать автомобиль в состоянии
постоянной технической исправности и готовности к работе.
Даже при соблюдении всех мероприятий
изнашивание деталей автомобиля может приводить к неисправностям и к
необходимости восстановления его работоспособности или ремонта. Следовательно,
под ремонтом понимается совокупность технических воздействий, направленных на
восстановление технического состояния автомобиля (его агрегатов и механизмов),
потерявшего обслуживание и ремонта автомобилей.
1.
Технологическая часть
1. Краткая
характеристика предприятия
Наименование: " ОАО "Лесосибирский ЛДК№1, Шиверский
филиал".
Название предприятия:
. Полное фирменное наименование Общества - Открытое
акционерное общество "Лесосибирский ЛДК№1".
. Сокращенное фирменное наименование Общества - ОАО
"Лесосибирский ЛДК№1".
. Наименование Общества на английском языке - JSC "Lesosibirskiy LDK №1".
Местонахождение: Красноярский край, пос. Шиверский Береговая
ул., д.1 стр. корп. А
Телефон / факс: +7 (39162) 22196 /+7 (39162) 35221
ОАО "Лесосибирский ЛДК №1" - является одним из
старейших предприятий Красноярского Края (основан в 1968г.), специализирующимся
на производстве экспортного пиломатериала (ангарская сосна, лиственница, ель и
пихта), ДВП (древесноволокнистых плит) и продукции деревообработки (мебель,
мебельные щиты, заготовки, строганный погонаж). На сегодняшний день
Лесосибирский ЛДК-1 располагает полным технологическим циклом выпуска
пиломатериалов.
ОАО "Лесосибирский ЛДК№1" имеет 5 филиалов,
занимающихся лесозаготовительной деятельностью: Артюгинский, Тагаринский,
Высокогорский, Мотыгинский, Шиверский (включая Невонский участок).
Рисунок 1. - Схема предприятия
2. Планировка
предприятия
2.1
Технологическая планировка производственных зон и участков
Технологическая планировка зон и участков представляет собой
план расстановки постов, автомобиле-мест ожидания и хранения, технологического
оборудования, производственного инвентаря, подъемно-транспортного и прочего
оборудования и является технической документацией проекта, по которой
расставляется и монтируется оборудование. Степень проработки и детализации
технологической планировки зависит от этапа проектирования. Для разработки
общего объемно-планировочного решения зданий предприятия в ряде случаев
недостаточно иметь только площади отдельных помещений, рассчитанных по удельным
показателям, а необходимо знать геометрические размеры и конфигурацию отдельных
зон и участков, что требует укрупненной проработки их планировочных решений.
Это, прежде всего, относится к зонам ТО и ТР, особенно при поточном методе
организации ТО, и участкам с крупногабаритным оборудованием и въездом на них
автомобилей, например, кузовному, малярному. Поэтому в ряде случаев проработка
планировочных решений отдельных зон и участков производится одновременно с
разработкой общего объемно-планировочного решения зданий СТО.
Уточнение и окончательная доработка технологических
планировок зон и участков выполняются на основе размеров помещений исходя из
принятого общего объемно-планировочного решения зданий.
2.2 Общие
требования и положения
Планировочное решение зон ТО и ТР разрабатывается с учетом
требований СНиП II-93-74.
агрегатный ремонт мастерская автомобиль
Посты диагностирования располагают или в обособленных
помещениях или в общем помещении с постами ТО и ТР. При организации диагностирования
на поточной линии ее располагают обычно в самостоятельном помещении. Линии
(посты) общего диагностирования (Д-1) тормозов, углов установки управляемых
колес, приборов освещения и сигнализации допускается размещать в одном
помещении с постами ТО и ТР. Посты углубленной диагностики (Д-2), связанные с
проверкой тягово-экономических качеств автомобилей, из-за повышенного шума при
работе стенда следует располагать в отдельных изолированных помещениях.
Посты ТР можно располагать в общем помещении с постами ТО-1 и
ТО-2. При поточной организации этих обслуживании посты ТР располагают в
обособленных, помещениях. Посты ТО и ТР для автопоездов и сочлененных
автобусов, исходя из удобства маневрирования, следует проектировать проездными.
При размещении постов ТО и ТР необходимо руководствоваться
нормируемыми расстояниями между автомобилями, а также между автомобилями и
элементами здания, которые установлены в зависимости от категории автомобилей.
Планировочное решение и размеры зон ТО и ТР зависят от
выбранной строительной сетки колонн (шага колонн и ширины пролетов),
обустройства постов, их взаимного расположения и ширины проезда в зонах.
Наиболее распространенными осмотровыми устройствами в зонах
ТО и ТР являются канавы и подъемники. В соответствии со СНиП II-93-74 для
удобства работы и обеспечения безопасности при наличии двух и более
параллельных канав, расположенных рядом, они соединяются между собой открытой
траншеей (тупиковые) или тоннелем (проездные). Ширина траншей и тоннелей должна
быть не менее 1 м, если они служат только для прохода, и не менее 2 м, если в
них расположены рабочие места и технологическое оборудование. Высота тоннеля от
пола до низа перекрытия или несущих конструкций для автомобилей над приямками в
местах прохода людей принимается не менее 1,8 м. Из тоннелей и траншей
предусматриваются выходы по лестницам в производственные помещения: не менее
одного на 5 автомобилей. При большем числе автомобилей устраивается
дополнительный выход на каждые 10 автомобилей. Ширина выхода должна быть не
менее 0,7 м.
Лестницы из канав, траншей и тоннелей в целях безопасности
нельзя располагать под автомобилями и на путях их движения.
На уровне пола тупиковых канав постов ТО-2 и ТР иногда
располагают оборудование для слесарных и некоторых других работ. При этом
ширину открытой траншеи, соединяющей канавы, увеличивают до 4 - 6 м и размещают
в ней необходимое оборудование.
По взаимному расположению посты могут быть прямоточными и
тупиковыми. Прямоточное расположение нескольких постов используется для ЕО,
ТО-1 и ТО-2 при поточном методе обслуживания автомобилей, а прямоточные
одиночные (проездные и тупиковые) посты для ТО и ТР при выполнении работ на
отдельных постах.
При тупиковом расположении постов в зонах ТО и ТР расстановка
постов может быть прямоугольной однорядной и двухрядной, косоугольной, а также
комбинированной однорядной и двухрядной.
Разработка планировочных решений производственных участков
производится в соответствии с технологией работ, требованиями научной
организации труда и СНиП.
Однородный характер некоторых работ, выполняемых на
вспомогательных участках, например жестяницких и сварочных, предъявляет к ним
одинаковые строительные, противопожарные и санитарно-гигиенические Требования.
Поэтому для исключения раздробленности здания на мелкие помещения целесообразно
совмещение такого рода работ и, следовательно, участков в одном помещении.
Кроме того, при небольшой производственной программе, когда площади помещений
для выполнения отдельных видов работ составляют менее 10 м2, необходимо также
совмещать однородные работы.
Укрупнение помещений при изменении программы тех или иных
видов работ дает возможность некоторых изменений технологического процесса без
существенной реконструкции здания.
В соответствии со СНиП II-93-74 в одном помещении допускается
совмещение следующих групп участков:
а) моторного, агрегатного, механического, электротехнического
и карбюраторного (приборов питания);
б) кузнечно-рессорного, сварочно-жестяницкого и медницкого;
в) столярного и обойного.
Расстановка оборудования на участках должна выполняться с
учетом необходимых условий техники безопасности, удобства обслуживания и
монтажа оборудования при соблюдении нормативных расстояний между оборудованием,
и элементами зданий. Для относительно простого оборудования (разборочные и сборочные
стенды, верстаки и т.п.), не требующего фундаментов или устанавливаемого на
фундаменты, габариты в плане которого мало отличаются от габаритов самого
оборудования, а также для оборудования, не требующего сложных сантехнических и
энергетических устройств, нормативные расстояния приведены в таблицах. Нормы
размещения более сложного технологического оборудования для различных
производственных участков с учетом специфики их производственных процессов
следует принимать по соответствующим общесоюзным и отраслевым нормам
технологического проектирования.
2.3
Определение ширины проезда в зонах ТО и ТР
Существуют различные методы определения ширины проезда:
аналитический, экспериментальный и графический. Наибольшее распространение в
практике проектирования получил графический метод для одиночных автомобилей.
Ввиду сложности графического построения поворота автопоездов ширину проезда для
них определяют аналитическим и экспериментальным методами.
Графическое определение ширины проезда при тупиковом
расположении постов производится с учетом следующих условий: въезд на пост
осуществляется только передним ходом с применением дополнительного маневра
(однократного применения заднего хода); перед началом движения автомобиля на
поворотах его передние колеса повернуты на максимальный угол.
При установке автомобиля на тупиковый пост применение
дополнительного маневра не только сокращает ширину проезда, но и облегчает
установку автомобиля относительно соседних постов.
2.4
Планировочное решение участка по диагностированию и ремонту ходовой части
автомобиля
Участок по диагностированию и ремонту ходовой части
автомобилей может размещаться отдельно или в общем помещении. В ряде случаев в
составе участка по ремонту ходовой части выделяется помещение для мойки
агрегатов, узлов и деталей. На крупных СТО при организации отдельного участка
по ремонту ходовой части выделяется помещение для восстановления и проверки
деталей после ремонта. Данная группа участков может иметь стены или перегородки
не на всю высоту помещения и благодаря этому сообщаться между собой и постами
ТР с помощью тельферов или кран-балок, что сокращает потребность в
подъемно-транспортных средствах.
3. Годовая
производственная программа
Годовая производственная программа производственного участка
определяется в зависимости от его класса:
кл. - (разборочно-сборочные, слесарно-механические, участки
по восстановлению базовых и основных деталей, медницко-радиаторный,
шиномонтажный и шиноремонтный, участки ремонта электрооборудования и ремонта
системы питания) номенклатурой и количеством продукции.
кл. - (кузнечно-рессорный, термический, моечно-очистной)
номенклатурой, количеством продукции и массой.
кл. - (сварочно-наплавочный, гальванический, малярный)
номенклатурой, количеством продукции и площадью.
Так как проектируемый участок сборки ДВС относится к 1
классу, поэтому годовая производственная продукция будет определяться
номенклатурой и количеством продукции. В связи с тем, что на участке
производится ремонт различных объектов автомобиля, но одного типа то для упрощения
расчетов производственную программу приводят по трудоемкости к основной базовой
стадии. В качестве основной для всех грузовых автомобилей принят автомобиль с
объемом цилиндров 10,8 л.
В таблице 1 приведены характеристики автомобилей.
Таблица 1. Техническая характеристика
ремонтируемых автомобилей.
|
Марка и модель
|
Тип
|
Тип ДВС К,
Д, И
|
Число цилиндров
Рабочий V
|
Номинал-я
Мощность л. с
|
|
КамАЗ-65117
КамАЗ-65111 КамаЗ-65116
|
Бортовой
Самосвал Тягач
|
Д Д Д
|
8 цилиндров×10760см3 8 цилиндров×10850см3 8 цилиндров×10850см3
|
280 260 260
|
В таблице 1 приведены основные характеристики, которые
включают марку, модель, тип кузова, которые необходимы для корректировки
трудоемкости ремонтируемых объектов или АТС.
Приведенная годовая производственная программа Nпр - определяется с учетом
коэффициента приведения к основной модели.
Nпр=N
a (1).
Где N - заданная производственная годовая
программа, шт.
Ka - коэффициент приведения. Согласно СНиП
2.05.02-85 принимаем Ka
= 3.
N = 150шт; Nпр =
3.1 Режим
работы участка. Годовые фонды времени рабочих и оборудования
Режим работы участка характеризуется числом рабочих дней в
году, продолжительностью рабочей недели и рабочей смены в часах, числом смен.
Согласно календаря рабочего времени на 2013 год принимаем следующий режим
работы участка:
Ø Количество рабочих дней в
году - 249
Ø Количество смен - 2
Ø Продолжительность рабочей
недели - 40 ч.
Ø Длительность смены - 8 ч.
Ø Выходные дни - 107
Ø Праздничные дни - 10
Ø Длительность смены в
предпраздничные дни - 7 ч.
Ø Длительность отпуска - 24
дн. (рабочих).
Годовые фонды времени рабочих и оборудования, исходя из
режима работы участка, подразделяются на номинальные и действительные.
Номинальный годовой фонд рабочего времени - Фнр
определяется числом рабочих дней в году и продолжительностью смены.
Действительный годовой фонд рабочего времени - Фдр
определяется вычитанием из номинального годового фонда времени неизбежных
потерь рабочего времени, учитывающих продолжительность профессиональных и
учебных отпусков, отпусков по болезни, на выполнение государственных заданий и
обязанностей, а также пропусков рабочего времени по другим уважительным
причинам. Годовые фонды времени по профессиям приведены вСНиП 2.05.02-85, а так
же номинальный годовой фонд времени указан в календаре рабочего времени
соответствующего года, утвержденным госорганом. Действительный годовой фонд
времени рабочего Фдр определяется по формуле:
Фдр
= (Фнр-Д
t) 
(2).
где Фнр. - номинальный фонд рабочего времени, ч.
Фнр. =1985 ч.
Д - количество дней отпуска, 24дн.
t - продолжительность рабочей смены, ч.
β - коэффициент потери рабочего времени: β=0,92…0,98
Фдр= (1985-24
С учетом условий работы принимаем для проектируемого участка
действительный фонд времени = 1720 ч. для сборки ДВС.
Определяем действительный фонд времени оборудования Фдо
ч.
Фдо= [366- (107+d)]
Фдо=
[366- (107+10)]
ч.
где 366 - число календарных дней в году;
- число выходных дней в году;
d - число праздничных дней в году; d=10;
n - число смен
η - коэффициент использования оборудования,
учитывающий простой в профилактическом обслуживании и ремонте; η=0.93…0,98
Принимаем действительный годовой фонд времени оборудования по
рекомендации Приложения 2 Фд. о. = 3800ч.
3.2
Трудоемкость и годовой объем работ
Расчетная трудоемкость выполнения работ tpi для заданных условий на
единицу продукции i-го объекта определяется по формуле:
tpij= tэт
(4).
где tэт - эталонная трудоемкость; чел-ч. Tэт=9.33
По. о. р. -
процент трудоемкости в общем объеме работ; %
Пв. о. р. - процент
трудоемкости отдельно выполняемых jработ
в составе общего объема работ для i
объекта; %
Kn - коэффициент коррекции трудоемкости, учитывающий годовую
производственную программу; Kn=1,04
K1 - коэффициент, учитывающий модели и марки автомобилей; K1=0,9 приложение 4 таблица 5
Значение коэффициента Кр примерным по таблице 4
приложения 4
Результаты расчетов сводим в таблицу
Таблица 2 Расчетная трудоемкость
|
Наименование
работ
|
Эталонная
трудоемкость
|
Коэффициент
коррекции
|
Коэффициент К1
|
V труда
|
Расчет. тру-ть
|
|
|
|
|
Поор
|
Повр
|
|
|
Сборка узлов
|
32
|
1,04
|
0,9
|
51,6
|
22,6
|
4,15
|
|
Общая сборка
|
32
|
1,04
|
0,9
|
51,6
|
24,45
|
4,12
|
= 8,27 чел/ч
Годовой объем работ (годовая трудоемкость) - это трудовые затраты,
необходимые для выполнения годовой приведенной производственной программы.
Годовой объем Tгij чел-ч. определяется по формуле:
Тг =
tpij
Nпр
Кр (5)
где Кр - коэффициент ремонта для сборочных участков Кр=1
Tг1.1=
Tг1.2=
Результаты сводим в таблицу 3.
Таблица 3 Годовой объем работ.
|
Наименование
работ
|
Расчетная
трудоемкость
|
Приведение год.
программы
|
Коэффициент
ремонта
|
Годовой объем
работ
|
|
Сборка узлов
|
4,15
|
1
|
1
|
3722
|
|
Общая сборка
|
4,12
|
1
|
1
|
3722
|
4. Текущий
ремонт автомобилей КамАЗ
Объем текущего ремонта автомобиля зависит от характера работ,
которые определяются при возникновении неисправностей или при техническом
обслуживании машин. Объем работ при текущем ремонте машин обычно не превышает
30 чел. - ч. Содержание операций технологического процесса текущего ремонта
может быть различным, так как оно зависит от количества и характера выявленных
неисправностей, способов их устранения. Выполняется текущий ремонт машины в
соответствии с маршрутной схемой технологического процесса. Он начинается с
уточнения неисправностей и определения способов их устранения. При
необходимости автомобиль перед ремонтом очищается от загрязнений и подвергается
мойке. Неисправные приборы, механизмы, узлы и агрегаты могут ремонтироваться
непосредственно на машине или после снятия их с автомобиля.
4.1 Текущий
ремонт двигателей - КамАЗ
Текущий ремонт двигателя производится путем его разборки,
замены или восстановления деталей и устранения неисправностей.
При текущем ремонте двигателя допускается замена следующих
деталей: поршневых колец, поршневых пальцев, тонкостенных вкладышей коренных и
шатунных подшипников, прокладки головки блока. Неисправности устраняются
выполнением слесарно-механических работ. Шатуны в случае изгиба или скручивания
правятся после закрепления их в приспособлении с индикаторами путем деформации
с помощью ломика или захвата.
Прилегание клапанов к их седлам восстанавливается путем
притирки рабочих фасок клапанов к их седлам. При большом износе фасок клапанов
и их гнезд производится предварительная шлифовка седел и фасок клапанов
конусными абразивными кругами с использованием шлифовального приспособления.
После шлифования фасок клапанных гнезд клапаны притираются при помощи ручной
пневматической дрели абразивной пастой до образования фасок на рабочей
поверхности гнезда и клапана шириной не менее 1,5 мм. Фаски должны иметь
матовую поверхность по всей окружности и обеспечивать герметичность прилегания
клапана к седлу.
4.2 Двигатель
КамАЗ
На автомобили КАМАЗ устанавливаются двигатели моделей
КАМАЗ-740.10; КАМАЗ-7403.10 или КамАЗ-740.11-240.
Рисунок 2 - Продольный разрез двигателя КамАЗ-740.10:
- генератор;
- насос топливный низкого давления;
- насос топливоподкачивающий ручной;
- насос топливный высокого давления;
- муфта автоматическая опережения впрыскивания топлива;
-полумуфта ведущая привода топливного насоса высокого
давления;
-патрубок соединительный впускных воздухопроводов;
- фильтр тонкой очистки топлива;
- вал кулачковый;
- маховик;
- картер маховика;
-пробка сливная;
-картер двигателя;
-вал коленчатый;
- насос масляный;
- валик привода ведущей части гидромуфты;
- шкив привода генератора;
-крыльчатка вентилятора
Рисунок 3 - Поперечный разрез двигателя КамАЗ-740.10:
- фильтр полнопоточный очистки масла;
- горловина маслозаливная;
- указатель уровня масла;
- фильтр центробежный масляный;
- коробка термостатов;
- рым-болт передний;
- компрессор;
- насос гидроусилителя рулевого управления;
- рым-болт задний;
- труба водяная левая;
- свеча факельная;
- воздухопровод впускной левый;
- форсунка;
- скоба крепления форсунки;
- патрубок выпускного коллектора;
- коллектор выпускной
Рисунок 4. - Двигатель КамАЗ-7403.10 с турбонаддувом: 1 -
коллектор выпускной; 2 - стартер; 3 - крышка головки цилиндра; 4 - картер
масляный; 5 - кронштейн рычага переключения передач; 6 - насос водяной; 7 -
крыльчатка вентилятора; 5 - ремни привода; 9 - фильтр центробежный масляный; 10
- генератор; 11, 25 - кронштейны; 12-рычаг переключения передач; 13 - патрубок
объединительный; 14 - крышка регулятора топливного насоса высокого давления;
15, 22 - свечи факельные; 16 - клапан электромагнитный; 17, 23 - коллекторы
впускные; 18 - фильтр тонкой очистки топлива; 19 - компрессор; 20,26 -
турбокомпрессоры; 21 - бачок насоса гидроусилителя рулевого управления; 24 -
патрубок.
Двигатели КАМАЗ-740.10 и КАМАЗ-7403.10 имеют следующие конструктивные
особенности:
поршни, отлитые из высококремнистого алюминиевого сплава, с
чугунной упрочняющей вставкой под верхнее компрессионное кольцо и
коллоидно-графитным приработочным покрытием юбки;
гильзы цилиндров, объемно закаленные и обработанные плосковершинным
хонингованием;
поршневые кольца с хромовым и молибденовым покрытием боковых
поверхностей;
трехслойные тонкостенные сталебронзовые вкладыши коренных и
шатунных подшипников;
закрытую систему охлаждения, заполняемую низкозамерзающей
охлаждающей жидкостью, с автоматическим регулированием температурного режима,
гидромуфтой привода вентилятора и термостатами;
высокоэффективную фильтрацию масла, топлива и воздуха
бумажными фильтрующими элементами;
электрофакельное устройство подогрева воздуха, обеспечивающее
надежный пуск двигателя при отрицательных температурах окружающего воздуха до
минус 25 С.
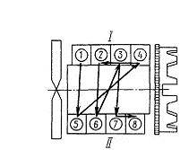
Рисунок 5 - Схема нумерации и порядок работы цилиндров:
.8 - цилиндры; I - правый ряд; II - левый ряд
4.3 Блок
цилиндров и привод агрегатов
Блок цилиндров отлит из легированного серого чугуна заодно с
верхней частью картера. Картерная часть блока связана с крышками коренных опор
поперечными болтами-стяжками, что придает прочность конструкции. Для увеличения
продольной жесткости наружные стенки блока выполнены криволинейными. Бобышки
болтов крепления головок цилиндров представляют собой приливы на поперечных
стенках, образующих водяную рубашку блока.
Левый ряд цилиндров смещен относительно правого вперед на
29,5 мм, что вызвано установкой на одной кривошипной шейке коленчатого вала
двух шатунов.
Спереди к блоку крепится крышка, закрывающая гидромуфту
привода вентилятора, сзади - картер маховика, который служит крышкой механизма
привода агрегатов, расположенного на заднем торце блока.
Гильзы цилиндров "мокрого" типа легкосъемные,
изготовлены из специального чугуна, объемно закалены для повышения
износостойкости.
Зеркало гильзы обработано плосковершинным хонингованием для
получения сетки впадин и площадок под углом к оси гильзы. Такая обработка
способствует удержанию масла во впадинах и лучшей прирабатываемости гильзы.
В соединении гильза - блок цилиндров водяная полость
уплотнена резиновыми кольцами круглого сечения. В верхней части установлено
кольцо под бурт в проточку гильзы, в нижней части два кольца установлены в
расточки блока.
Рисунок 6 - Шестерня привода генератора: 1 - болт М12х1,25x90
крепления роликового подшипника; 2, 21 - шестерни промежуточные; 3-болт; 4 -
шайба пружинная; 5-манжета; 6-корпус заднего подшипника; 7-прокладка; 8 -
сухарь; 9 - вал шестерни привода топливного насоса высокого давления; 10,20 -
шпонки; 11, 15 - подшипники шариковые; 12 - шестерня привода топливного насоса
высокого давления; 13-вал распределительный в сборе с шестерней; 14 - шайба
упорная; 16 - ось ведущей шестерни; 17 - шайба; 18 - болт MIOxl,25x25; 19 -
подшипник роликовый конический двухрядный; 22 - кольцо упорное; 23 - кольцо
стопорное; 24 - шестерня ведущая коленчатого вала
Привод агрегатов (рис.5) шестереночный с прямозубыми
шестернями, газораспределительный механизм приводится в действие от ведущей
шестерни 24, установленной с натягом на хвостовике коленчатого вала, через блок
промежуточных шестерен 2 и 21.
Блок промежуточных шестерен вращается на сдвоенном коническом
роликоподшипнике 19. Шестерня распределительного вала 13 установлена на
хвостовик вала с натягом.
При сборке надо следить, чтобы метки на торце шестерен,
находящихся в зацеплении, были совмещены.
Привод топливного насоса высокого давления осуществляется от
шестерни 12, находящейся в зацеплении с шестерней распределительного вала.
Вращение к топливному насосу высокого давления передается через ведущую и
ведомую полумуфты с упругими пластинами, которые компенсируют несоосность.
С шестерней 12 привода топливного насоса находятся в
зацеплении шестерня привода компрессора и шестерня привода насоса
гидроусилителя руля.
Моменты затяжки болтов 18 крепления оси промежуточных
шестерен 49,1.60,8 Н-м (5.6,2 кгс. м), болта 1 крепления роликоподшипника
88,3.98,1 Н-м (9.10 кгс. м).
4.4
Неисправности двигателей КамАЗ
Основными неисправностями двигателя могут быть следующие:
уменьшение мощности двигателя, увеличение расхода топлива и
масла;
повышение дымности отработавших газов; уменьшение давления масла
в системе двигателя при температуре выше О°С;
неустойчивая работа двигателя на холостом ходу; работа
двигателя с перебоями или перегревом; глухие стуки в подшипниках коленчатого
вала; заклинивание коленчатого вала;
звонкие стуки деталей газораспределительного механизма;
подтекание жидкости в соединениях системы охлаждения.
Возможные неисправности двигателей КамАЗ-740, причины их
возникновения и рекомендуемые способы их устранения представлены в табл.2.
Неисправности двигателя обусловливаются неисправностями
шатунно-кривошипного и газораспределительного механизмов. Признаками
неисправностей указанных механизмов являются глухие ритмичные стуки в нижней
части картера двигателя и звонкие стуки в головках цилиндров.
Для шатунно-кривошипного механизма наиболее характерными
являются износ шеек коленчатого вала и его подшипников.
Кроме того, могут иметь место проворот вкладышей и
заклинивание коленчатого вала из-за закоксовывания масляных каналов в шейках
коленчатого вала, обрыв шатунов и шатунных болтов, износ поршневых колец и
гильз цилиндров, кавитационный износ трех отверстий для прохода охлаждающей
жидкости "Тосол" в головках цилиндров под воздействием ударных
колебаний.
Износ поршневых колец и внутренних поверхностей гильз
цилиндров, а также пригорание колец в канавках поршней приводят к снижению
компрессии и уменьшению мощности двигателя. Признаками этих неисправностей
являются повышеннаядымность отработавших газов, а также увеличенный расход
топлива и масла.
Звонкие стуки, возникающие при изменении подачи топлива с
увеличением нагрузки на двигатель, являются следствием износа втулок верхней
головки шатунов, пальцев и бобышек поршня.
Глухие стуки, появляющиеся при резкой подаче топлива на
холостом ходу двигателя, свидетельствуют об увеличении зазора между коренными и
шатунными шейками коленчатого вала и вкладышами подшипников. Это происходит в
результате износа антифрикционного слоя вкладышей и шеек коленчатого вала.
Уменьшение мощности и перебои в работе двигателя
свидетельствуют об износе деталей газораспределительного механизма. Это
является следствием неплотного закрытия гнезд клапанов и увеличенных зазоров
между стержнями клапанов и носками коромысел, что приводит к характерному
металлическому стуку.
Глухой металлический стук на холостом ходу и усиление его при
увеличении подачи топлива являются признаком поломки клапанных пружин или
заедания клапанов.
Восстановление деталей шатунно-кривошипного и
газораспределительного механизмов производится при капитальном или углубленном
текущем ремонте двигателей.
Перегрев двигателя и нарушение теплового режима происходят
вследствие следующих неисправностей системы охлаждения: понижения уровня
охлаждающей жидкости в системе, ослабления натяжения приводных ремней,
засорения трубок радиатора, а также неисправности в работе гидромуфты.
Увеличение дымности отработавших газов со специфическим
синеватым оттенком при выходе их из глушителя и падение давления масла являются
следствием неисправности системы смазки.
Важное значение имеют применение масла рекомендуемого сорта и
поддержание нормального уровня его в картере. Уменьшение уровня масла приводит
к уменьшению подачи его к трущимся поверхностям деталей. При большом уровне
масло забрызгивается в камеру сгорания и сгорает в ней, выделяя дым
характерного синего цвета. Неисправности системы смазки, засорение масляных
фильтров и маслопроводов приводят к преждевременному износу всех деталей
шатунно-кривошипного и газораспределительного механизмов.
4.5
Конструктивные особенности и дефекты коленчатых валов
Коленчатый вал изготовлен горячей штамповкой из стали
42ХМФА-Ш. Он имеет 5 коренных опор и 4 шатунные шейки. В шатунных шейках
имеются закрытые заглушки и внутренние полости для центробежной очистки масла.
На носке коленчатого вала установлена шестерня привода масляного насоса, на
хвостовике - распределительная шестерня в сборе с маслоотражателем. От осевых
смещений вал фиксируется четырьмя сталеалюминиевыми полукольцами, которые
устанавливаются в выточке задней коренной опоры. Хвостовик коленчатого вала
уплотняется резиновым самоподвижным сальником. Для улучшения работы системы
смазки в шатунных шейках коленчатых валов последних выпусков устанавливаются
втулки для центробежной очистки масла, как показано на рис.6.
Рисунок 7 - Схема установки втулок для центробежной очистки
масла внутри коленчатого вала: 1 - шатунная шейка коленчатого вала; 2 -
бронзовая втулка; 3 - заглушка; 4, 6 - масляные каналы; 5 - отстой
Заглушки коленчатого вала при капитальном ремонте подлежат
100 % -й замене. Извлекаются они из своих гнезд перед мойкой коленчатого вала
специальным съемником. Коленчатые валы при поступлении в углубленный текущий
или капитальный ремонт могут иметь следующие дефекты:
обломы и трещины; изгиб вала (5-10 % от общего количества
коленчатых валов, поступающих в капитальный ремонт); износ коренных и шатунных
шеек.
4.6
Технические условия на контроль, сортировку и восстановление коленчатых валов и
противовесов
Дефектация, восстановление коленчатых валов и контроль их
после восстановления осуществляются на основании технических условий.
Технические условия на контроль, сортировку и восстановление коленчатого вала
представлены в табл.3, а противовесов - в табл. 4.
Рисунок 8. Деталь № 740.1005020
Материал: сталь 42ХМФА-Ш
Твердость шеек: HRC 60
Рисунок 9. Деталь № 740.1005026
Материал: Сталь 35
Твердость противовеса: НВ 167-212
4.7
Технологический процесс восстановления коленчатых валов
Технологический процесс восстановления коленчатых валов
включает следующие операции: мойку, разборку и дефектацию коленчатого вала;
проверку биения по средней шейке; правку коленчатого вала на прессе (при
необходимости); установку пробок в отверстия масляных каналов вместо заглушек;
шлифование коренных и шатунных шеек; контроль размеров коренных, шатунных шеек
и радиуса кривошипа; полирование коренных и шатунных шеек и сборку коленчатого
вала. Разборка коленчатого вала включает следующие операции: снятие шестерни
привода масляного насоса, переднего и заднего выносных противовесов; изъятие
заглушек и втулок центробежной очистки масла и внутренних полостей масляных
каналов коленчатого вала. Правка коленчатого вала производится на прессе при
наличии изгиба вала более 0,05 мм. Для правки вал устанавливается на призмы
крайними коренными шейками, средняя шейка устанавливается под штоком
гидравлического пресса таким образом, чтобы прогиб вала находился в верхней
части (под штоком пресса). Контроль осуществляется с помощью индикаторного
приспособления. На среднюю шейку устанавливается призма со сферическим
углублением для предохранения от повреждения шейки вала, и усилием пресса вал
прогибается на величину, превышающую изгиб вала в 10 раз.
Шейки коленчатого вала шлифуются на круглошлифовальных
станках ЗА432. Режимы шлифовки коренных и шатунных шеек коленчатого вала
приведены в табл.5.
Порядок шлифования следующий. В первую очередь шлифуются
коренные шейки после установки коленчатого вала в центрах станка. Во вторую
очередь шлифуются шатунные шейки.
Для шлифования шатунных шеек коленчатый вал на станке
устанавливается в центросместителях, обеспечивающих смещение оси вала на
величину радиуса кривошипа, который имеет размер (604+-0,5) мм, и совмещение
осей шатунных шеек с осью шпинделя станка. Шлифование начинается с первой
шатунной шейки, для шлифования следующей шейки вал поворачивается на угол 90°.
В процессе шлифования шеек производится контроль их размеров
и радиуса кривошипа.
Все коренные и шатунные шейки шлифуются под один ремонтный
размер.
После шлифования шейки подвергаются полировке в течение 1 мин
на полировальных станках полировальной лентой ЭБ220 или пастой ГОИ № 10.
Восстановленные коленчатые валы поступают на сборку.
Шестерни привода масляного насоса из-за ненадежного его
крепления могут иметь следующие дефекты: обрыв шестерни, накрен на зубьях,
выкрашивание зубьев. Шестерни, имеющие указанные выше дефекты, заменяются
новыми.
Противовесы подвергаются осмотру на магнитном дефектоскопе и
контролю жестким мерительным инструментом.
Противовесы, имеющие обломы или трещины, выбраковываются;
имеющие износ отверстий под шейки вала восстанавливаются осталиванием
(железнением). Изношенные пазы под шпонку завариваются электродуговой сваркой и
фрезеруются новые.
4.8 Замена
вкладышей после восстановления коленчатого вала
Вкладыши подшипников коленчатого вала и нижней головки шатуна
сменные, тонкостенные, трехслойные, с рабочим слоем из свинцовистой бронзы.
Верхний и нижний вкладыши коренного подшипника коленчатого вала
невзаимозаменяемые. В верхнем вкладыше имеются отверстие для подвода масла и
канавка для его распределения.
Камское объединение выпускает десять ремонтных размеров
вкладышей. Это позволяет восстанавливать шейки коленчатого вала шлифованием под
ремонтный размер. Обозначение вкладышей соответствующей шейки, диаметр вала и
диаметр постели в блоке цилиндров и шатуне нанесены на тыльной стороне
вкладыша. Размеры шатунных и коренных шеек коленчатого вала представлены в
табл.6 и 7.
Размеры шеек коленчатого вала и гнезда в блоке цилиндров
должны соответствовать ремонтным размерам вкладышей. Перед установкой
коленчатого вала в блок цилиндров рабочая поверхность вкладышей коренных
подшипников и коренные шейки коленчатого вала смазываются чистым дизельным
маслом, упорные полукольца коленчатого вала устанавливаются в выточках задней
коренной опоры так, чтобы стороны с канавками прилегали к упорным торцам вала.
При правильной сборке подшипников вал должен свободно проворачиваться от усилия
руки, а осевой зазор в упорном подшипнике должен быть 0,050-0,215 мм. Увеличение
длины задней коренной шейки компенсируется подбором полуколец ремонтного
размера.
4.9 Сборка
коленчатого вала и установка его в блок цилиндров
Коленчатый вал перед сборкой обдувается сжатым воздухом.
Сборка коленчатого вала производится в следующей последовательности.
В полости масляных каналов шеек устанавливаются втулки центробежной очистки
масла. Сверху каналы запрессовываются заглушками. После этого на коленчатый вал
напрессовываются шестерни и противовесы. На носок коленчатого вала устанавливаются
шестерня привода масляного насоса и передний выносной противовес, на хвостовике
- распределительная шестерня в сборе с маслоотражателем и задний выносной
противовес. Шестерни и противовесы на коленчатый вал напрессовываются при
сборке. Перед напрессовкой они нагреваются до температуры 105°С. Напрессовка
шестерни производится до упора ее в буртик вала. Собранный коленчатый вал
показан на рис.9.
Коленчатый вал перед установкой в блок цилиндров
балансируется динамически относительно оси крайних коренных шеек на
балансировочной машине. Перед балансировкой на каждую шейку устанавливается
груз массой (8525±1) г. Центры тяжести грузов должны совпадать с осями шатунных
шеек. Допустимая несбалансированность не должна превышать 80 г. Дисбаланс
устраняется удалением металла сверлением в противовесах, изготовленных за одно
целое с валом.
Непосредственно перед установкой коленчатого вала в блок
рабочая поверхность вкладышей коренных подшипников и коренные шейки вала
смазываются чистым дизельным маслом. Размеры вкладышей коренных подшипников
должны соответствовать размерам шеек коленчатого вала и гнездам в блоке
цилиндров.
Упорные полукольца вала устанавливаются в выточку последней
коренной опоры так, чтобы стороны с канавками прилегали к упорным торцам вала.
Болты крепления крышек коренных подшипников предварительно затягиваются со
стороны правого, а затем со стороны левого рядов цилиндров с моментом затяжки
90 - 120 Н*м, а затем окончательно - с моментом затяжки 210 - 235 Н*м.
Контроль затяжки шатунных болтов осуществляется по их
удлинению. Удлинение шатунных болтов после затяжки подшипников должно быть
0,25-0,27 мм.
Рисунок 10. Коленчатый вал в сборе: 1 - передний торец
коленчатого вала; 2 - шпонка; 3,6 - противовесы; 4 - шестерня привода масляного
насоса; 5 - заглушка; 7 - распределительная шестерня; 8 - маслоотражатель; 9 -
установочный штифт; 10 - шпонка
При правильной сборке подшипников коленчатый вал должен
свободно проворачиваться от усилия руки, приложенного к установочным штифтам
маховика. Осевой зазор в упорном подшипнике должен быть 0,05-0,20 мм.
4.10
Технология капитального ремонта двигателей КамАЗ
Капитальный ремонт двигателей КамАЗ-740 осуществляется в
соответствии с разработанным для них технологическим процессом на стационарных
ремонтных заводах.
Технологический процесс капитального ремонта двигателей
включает следующие технологические операции: снятие навесного оборудования,
мойку двигателей в сборе без навесного оборудования, разборку двигателей на
узлы и детали, мойку деталей, дефектацию и восстановление деталей, комплектовку
узлов, общую сборку двигателей, обкатку двигателей (приработку и испытание),
окраску и предъявление отремонтированного двигателя ОТК.
Схема маршрутного технологического процесса капитального ремонта
двигателей КамАЗ представлена на рис.10. Технологический процесс капитального
ремонта двигателей КамАЗ-740 отличается от углубленного текущего ремонта более
широкой номенклатурой восстанавливаемых, изготавливаемых и заменяемых деталей.
С двигателей, поступивших в капитальный ремонт, снимается
навесное оборудование, отворачивается пробка картера и сливается масло и
двигатель подвергается наружной мойке. Мойка производится в моечной машине
роторного типа модели 29.4948.
Двигатели загружаются в люльки вращающейся крестовины машины.
Люльки периодически погружаются в ванну с водным раствором. Водный раствор
синтетических моющих средств (CMC) через отверстия в стенках люлек заполняет
внутреннюю полость поддона картеров двигателей и при поднятии люлек выливается
из картера, и таким образом осуществляется мойка не только наружной части
двигателя, но и внутренней его части.
Мойка осуществляется горячим (90.95°С) CMC с непрерывной
очисткой раствора от маслянистых и твердых загрязнений. Периодическое
погружение двигателей в раствор и их вибрация с частотой 46 Гц позволяют
очищать от загрязнений не только с наружной стороны, но и вымывать загрязнения
внутри двигателя раствором, затекающим через сливное отверстие масла в нижней
части картера двигателя.
В качестве моющего раствора применяется моющее средство
"Лабомид-203" с концентрацией 30 г порошка на 1 л воды.
Схема роторной машины для мойки двигателей и деталей
представлена на рис. 11. После мойки двигатели разбираются на узлы и детали,
которые подвергаются мойке во второй моечной машине такой же модели. Вымытые
детали поступают на пост дефектации деталей.
Базовые детали, подлежащие восстановлению, поступают в цех
ремонта двигателей на отдельные посты.
К годным деталям (не требующим восстановления) при
капитальном и углубленном текущем ремонтах двигателя, как правило, относятся
крыльчатка вентилятора, картер маховика, пружины клапанов, топливопроводы,
трубки масляной системы, соединительные трубки системы охлаждения. Эти детали
после дефектации поступают на комплектовку и сборку двигателей.
Рисунок 11. Машина для мойки агрегатов и деталей: 1 - ванна;
2 - батареи для подогрева моющего раствора, 3 - лоток; 4 - люлька для мойки
деталей (4 шт.); 5 - вращатель люлек (мальтийский крест); 6 - кожух; 7 - дверцы
четырехстворчатые, 8 - направляющая верхняя; 9 - крышки в отверстии кожуха; 10
- вибратор, 11 - буфер, 12 - пружинная подвеска; 13 - направляющие, 14 - вал
держателей люлек, 15 - направляющая нижняя
Рисунок 12. Схема маршрутного технологического процесса
капитального ремонта двигателей КамАЗ-740
К деталям, подлежащим обязательной замене (негодным деталям),
относятся все резинотехнические изделия (78 наименований), поршневые кольца,
шестерня привода масляного насоса, распределительная шестерня коленчатого вала,
заглушки масляных карданов, вкладыши коренных и шатунных подшипников
коленчатого вала, все втулки, уплотнительный элемент водяного насоса. Вместо
негодных деталей на комплектовку поступают новые детали со склада или вновь
изготовленные детали из цеха восстановления и изготовления деталей (ЦВИД).
Существующий технологический процесс ремонта ДВС
Рисунок 13 - Схема процесса ремонта ДВС.
2.
Конструкторская часть
2.1 Обзор
существующих стендов для шлифования коленчатых валов
) Высокопроизводительный шлифовальный станок K-1200 HPR
|
ТЕХНИЧЕСКИЕ
ХАРАКТЕРИСТИКИ
|
K 1200 HPR
|
|
Максимальное
расстояние между патронами
|
мм
|
1270
|
мм
|
1250
|
|
Поперечный ход
стола
|
мм
|
460
|
|
Максимальное
двойное смещение вала от оси центров (двойной радиус кривошипа)
|
мм
|
160
|
|
Стандартный
люнет, мин. размер
|
мм
|
20
|
|
Стандартный
люнет, макс. размер
|
мм
|
100
|
|
Максимальный
диаметр изделия при установке нового круга
|
мм
|
155
|
|
Максимальный
диаметр, зажимаемый патроном передней бабки
|
мм
|
155
|
|
Максимальный
диаметр, зажимаемый патроном задней бабки
|
мм
|
155
|
|
Максимальный
вес изделия, зажатого в патроны
|
кг
|
400
|
|
Плавная
регулировка скорости вращения шпинделя
|
об/мин
|
20-100
|
|
Ручная подача
стола
|
мм/об
|
5
|
|
Скорость
быстрого перемещения стола
|
мм/мин
|
3000
|
|
Скорость
вращения круга
|
об/мин
|
940
|
|
Двигатели
|
|
Гидравлический
двигатель передней бабки
|
кВт
|
5.5
|
|
Двигатель
гидравлической станции
|
кВт
|
2.
|
|
Насос системы
охлаждения
|
кВт
|
0.16
|
|
Размеры
|
|
Диаметр
шлифовального круга
|
мм
|
660
|
|
Минимальная
ширина круга
|
мм
|
19
|
|
Максимальная
ширина круга
|
мм
|
50
|
|
Высота от пола
до центра шпинделя
|
мм
|
1120
|
|
Высота машины
|
мм
|
1475
|
|
Полная длина
машины
|
мм
|
3080
|
|
Полная ширина
машины
|
мм
|
1700
|
Рисунок 14 - станок K-1200 HPR
· Самый быстрый из известных шлифовальный станок
<#"702364.files/image025.gif">
Рисунок 15-станок 3Д4230
) Шлифовальный станок для обработки коленчатых валов RTM 225A
Шлифовальный станок легко перенастраивается под различные
типы валов. Предназначены как для шлифовки партий однотипных валов небольших и
средних размеров, так и для шлифовки единичных валов.
Станки доступны в версиях "A", "B",
"C", "D", "ES" и оснащены различными устройствами
и автоматическими системами. Пользователь может выбрать версию, которая
наилучшим образом отвечает его требованиям. Все версии имеют бесступенчатое
регулирование частоты вращения заготовки с помощью потенциометра.
ТЕХНИЧЕСКИЕ ХАРАКТЕРИСТИКИ:
|
|
RTM 225/1000
|
RTM
225A/1275
|
|
Максимальное
расстояние между центрами, мм
|
1000
|
1275
|
|
Максимальный
диаметр шлифования с новым шлифовальным кругом, мм
|
140
|
140
|
|
Максимальное
смещение изделия над столом, мм
|
450
|
450
|
|
Минимальный и
максимальный диаметры для люнета, мм
|
20/90
|
20/90
|
|
Максимальный
эксцентриситет патронов, мм
|
80
|
80
|
|
Максимальный
вес, допустимый между центрами, кг
|
180
|
180
|
|
|
|
|
|
Габаритные
размеры станка:
|
|
|
|
Длина, мм
|
3900
|
3900
|
|
Ширина, мм
|
1757
|
1757
|
|
Высота, мм
|
1792
|
1792
|
|
|
|
|
|
Примерный вес
без упаковки
|
3030
|
3070
|
|
Примерный вес в
упаковке
|
3600
|
3640
|
Рисунок 16 - Станок RTM 225A
) Станок для шлифования коленчатых валов PM 320
PM 310/320 - станок для шлифования коленчатых валов длиной до
1000/1500 мм и массой до 80/180 кг. Конструкция станка объединяет в себе самые
современные достижения шлифовальной технологии шлифования с точностью, высокой
производительностью и надежностью, а также простотой управления. Разработан для
обработки коленчатых валов двигателей легковых и грузовых автомобилей.
Двухголовочное исполнение станка предназначено для синхронного шлифования
коренных и шатунных шеек, а также для шлифования фланцев и хвостовиков в
различных комбинациях. Макс. диаметр вращения мм 300/300 Макс. длина детали мм
1000/1500 Диаметр шлифовального круга мм 650/700 Максимальный вес детали кг
80/180
Рисунок 17 - Станок РМ 320
2.2
Разработка оснастки для шлифования коленчатых валов двигателей
2.2.1
Назначение и устройство приспособления
Приспособление, разрабатываемое в курсовом проекте,
предназначено для контроля шейки вала при шлифовании.
Состоит из:
) Индикаторная головка
) Промежуточный рычаг
) Ось
) Пружина
) Измерительный рычаг
) Наконечник
) Опорный винт
) Зажимной винт
) Кожух
) Крепёж
Рисунок 18 - Эскиз приспособления
2.2.2 Принцип
действия
Измерительный рычаг (5) с твердосплавным наконечником (6)
прижимается пружиной (4) к шлифуемой детали. В процессе шлифования диаметр вала
уменьшается, измерительный рычаг (5) вместе с промежуточным рычагом (2)
поворачиваются и шток индикатора (1) поднимается вверх.
2.2.3 Анализ
существующих конструкций
Анализ существующих конструкций показал наличие двух
аналогичный конструкций:
. Приспособление для двухконтактного контроля и 2.
Приспособление для трёхконтактного контроля вала при шлифовании.
Недостатком данных конструкций является сложность
конструкции, что негативно скажется на трудоёмкости и затратах на материал для
изготовления приспособлений. Достоинством является более точный контроль
размера вала.
Заключение
Цель курсового проекта: Проект реконструкции зоны агрегатного
ремонта в РММ. Участок по ремонту двигателей КамАЗ с разработкой технологии и
оснастки для восстановления деталей двигателей. Разработка велась в
соответствии с исходными данными. Проводилась реконструкция зоны РММ.
Разработан участок по ремонту двигателей. Произведен расчет годовой
производственной программы предприятия, разработана оснастка для коленчатых
валов двигателя.
В результате проведенной работы было установлено, что производительность
и эффективность данного участка, лучше сравниваемого аналога.
Список
использованных источников
1. Верещак
В.П., Абелевич Л.А. Проектирование автотранспортных
2. предприятий:
Справочник инженера. - М.: Транспорт, 1973. - 328 с.
. Единый
тарифно-квалификационный справочник работ и профессий рабочих/Госкомуд СССР.
М.: Машиностроение, 1986. Вып.2. - 606 с.
. Клейнер
Б.С., Тарасов В.В. Техническое обслуживание и ремонт автомобилей: Организация и
управление. - М.: Транспорт, 1986. - 236 с.
. Клебанов
Б.В. Проектирование производственных участков авторемо-нтных предприятий. - М.:
Транспорт, 1975. - 178 с.
. Крамаренко
Г.В., Барашаков Н.В. Техническое обслуживание автомо-билей - М.: Транспорт,
1982. - 368 с.
7. <http://www.profiz.ru>
8. ttp: //
delta-grup.ru
. http://www.stroyplan.ru