Фильтровальная установка непрерывного действия с вращающимся барабанным вакуум–фильтром для разделения водной суспензии
Курсовой проект
Тема
Фильтровальная установка непрерывного
действия с вращающимся барабанным вакуум-фильтром для разделения водной
суспензии
Задание на проектирование
Рассчитать
и спроектировать фильтровальную установку непрерывного действия с вращающимся
барабанным вакуум-фильтром для разделения водной суспензии
.
Исходные
данные для расчета
1. Производительность
установки по суспензии
= 18 т/час;
. Перепад
давления при фильтровании и промывке
= 6,2×104 Па;
. Высота
слоя влажного осадка на фильтре
= 10 мм;
. Содержание
твердой фазы в суспензии
= 15 % масс;
. Содержание
твердой фазы в осадке
= 50 % масс;
. Количество
промывной жидкости (воды)
= 1×10-3 м3/кг;
. Начальная
температура суспензии
= 20 оС;
. Температура
суспензии, поступающей на фильтр
= 40 оС;
. Удельное
массовое сопротивление осадка
= 6,3×1010 м/кг;
. Сопротивление
фильтровальной перегородки
= 4,1×109 м-1;
. Давление
греющего пара
= 0,2 МПа (абс.);
. Продолжительность
окончательной сушки осадка
= 20 с;
. Число
оборотов мешалки
= 60 об/мин.
Введение
фильтровальный установка подогреватель
Барабанные вакуум-фильтры с наружной фильтрующей поверхностью нашли более
широкое применение среди фильтров непрерывного действия. Они характеризуются
высокой скоростью фильтрования, пригодностью для обработки разного рода
суспензий, простотой обслуживания.
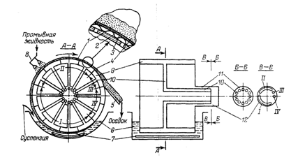
Основу фильтра составляет горизонтальный перфорированный барабан 1 (рис.
1) диаметром 1 ¸ 3 м и длиной 0,35 ¸ 4 м, имеющий поверхность фильтрования до 40 м2 и частотой вращения 0,1 ¸ 3 об/мин. Приводится в движение
барабан электромотором мощностью 0,1 ¸ 4,5 кВт.
Рисунок 1 - Схема барабанного вакуум-фильтра с наружной фильтрующей
поверхностью:
- вращающийся металлический перфорированный барабан; 2 - волнистая
проволочная сетка; 3 - фильтровальная ткань; 4 - осадок; 5 - нож для съема
осадка; 6 - корыто для суспензии; 7 - качающаяся мешалка; 8 - устройство для
подвода промывной жидкости; 9 - ячейка барабана; 10 - трубы; 11, 12 -
вращающаяся и неподвижная части распределительной головки
На боковой поверхности барабана крепится металлическая сетка 2 и
фильтровальная ткань 3. Часть поверхности барабана (30 ¸ 40 %) погружена в суспензию,
находящуюся в корыте 6. Изнутри с помощью радиальных перегородок барабан
разделен на ряд изолированных друг от друга ячеек (12 и более). Ячейки с
помощью труб 10, составляющих основу вращающей части распределительной головки
11, соединяются с различными полостями неподвижной части распределительной
головки 12, к которым подведены источники вакуума и сжатого воздуха. При
вращении барабана каждая ячейка последовательно проходит несколько зон.
Зона I - зона фильтрования и подсушки осадка, где ячейки соединяются с
линией вакуума. Благодаря возникающему перепаду давления (с наружной стороны
барабана давление атмосферное) фильтрат проходит через фильтровальную ткань 3,
сетку 2 и перфорацию барабана 1 внутрь ячейки и по трубе 10 выводится из
аппарата. На наружной поверхности фильтровальной ткани формируется осадок 4.
При выходе ячеек из суспензии осадок частично подсушивается.
Зона II - зона промывки осадка и его сушки, где ячейки также соединены с
линией вакуума. С помощью устройства 8 подается промывная жидкость, которая
проходит через осадок и по трубам 10 выводится из аппарата. На участке этой
зоны, где промывная жидкость не поступает, осадок высушивается.
Зона III - зона съема осадка; здесь ячейки соединены с линией сжатого
воздуха для разрыхления осадка, что облегчает его удаление. Затем с помощью
ножа 5 осадок отделяется от поверхности ткани.
Зона IV - зона регенерации фильтровальной перегородки, которая
продувается сжатым воздухом и освобождается от оставшихся в ней твердых частиц.
После этого весь цикл операций повторяется. Таким образом, на каждом
участке поверхности фильтра все операции происходят последовательно одна за
другой, но участки работают независимо, поэтому в целом все операции происходят
одновременно, и процесс протекает непрерывно.
В корыте 6 для суспензии происходит осаждение твердых частиц под
действием силы тяжести, причем в направлении, противоположном движению
фильтрата. В связи с этим возникает необходимость перемешивания суспензии, для
чего используют мешалку 7.
Следует отметить, что ячейки при вращении барабана проходят так
называемые «мертвые» зоны, в которых они оказываются отсоединенными от
источников как вакуума, так и сжатого газа. Распределение зон по поверхности
для стандартных фильтров общего назначения приведено в прил. Д.
1. ТЕХНОЛОГИЧЕСКИЙ РАСЧЕТ БАРАБАННОГО ВАКУУМ-ФИЛЬТРА
.1 Плотность влажного осадка, кг/м3:
,(11)
где
- плотность твердой фазы (сухого осадка), кг/м3
(прил. А),
= 2200
кг/м3;
-
плотность жидкой фазы (воды) при
= 40 оС,
кг/м3 (прил. Б),
= 992
кг/м3;
-
влажность осадка, масс. д.;
= 1 -
= 1 - 0,5.
, кг/м3.
1.2 Отношение объема осадка на фильтре к объему полученного фильтрата,
м3/м3:
;(12)
, м3/м3
1.3 Масса твердой фазы, откладывающейся на фильтре при прохождении
единицы объема фильтрата
,
кг/м3(13)
, кг/м3.
.4
Продолжительность фильтрования
, с(14)
где
- вязкость фильтрата (воды) при
= 40 оС, Па×с;
= 0,656 ×10-3 Па×с (прил. В);
- масса
твердой фазы, отлагающейся на фильтре при прохождении единицы объема фильтрата,
кг/м3;
= 212, 6
кг/м3;
-
удельное массовое сопротивление осадка, м/кг;
= 6,3 ×1010 м/кг;
-
перепад давления при фильтровании, Па;
= 6,2 ×104 Па;
- высота
слоя осадка на фильтре, м;
= 10 ×10-3 м;
-
отношение объема осадка к объему фильтрата;
= 0,311
м3/м3;
-
сопротивление фильтровальной перегородки, м-1;
= 4,1 ×109 м-1.
.5
Продолжительность промывки
с (15)
где
- коэффициент запаса, учитывающий необходимость
увеличения поверхности сектора промывки по сравнению с теоретическим значением
(
= 1,05 ¸ 1,2).
Принимаем
= 1,1.
-
удельный расход промывной жидкости, м3/кг вл. осадка;
= 1 ×10-3 м3/кг;
= 212,6
кг/м3;
= 6,3 ×1010 м/кг;
= 6,2 ×104 Па;
= 1367,4
кг/м3;
= 10 ×10-3 м;
= 0,311
м3/м3;
= 4,1 ×109 м-1
-
вязкость промывной жидкости (воды) при
= 40 оС,
Па×с,
= 0,656 ×10-3 Па×с (прил. В);
1.6 Определение частоты вращения барабана, с-1
,(16)
где
- угол сектора подсушки осадка, углов. град.;
- угол
зоны съема осадка, углов. град.;
- угол
зоны регенерации, углов. град.;
- углы
мертвых зон соответственно между I и II, II и III, III и IV, IV и V
технологическими зонами, углов. град.
С
помощью прил. Д задаемся значениями углов, ориентируясь на наиболее типичные
значения:
- время
фильтрования, с;
с;
- время
промывки, с;
с;
- время
окончательной сушки осадка, с;
с (по
заданию).
с-1.
.7
Определение продолжительности полного цикла работы фильтра, с
,(17)
где
- частота вращения барабана, с-1.
с.
1.8 Удельный объем фильтрата, м3/м2
,(18)
где
- высота слоя осадка на фильтре, м;
;
-
отношение объема осадка на фильтре к объему полученного фильтрата;
= 0,311
м3/м3;
м3/м2.
1.9
Производительность фильтра по осадку из уравнения материального баланса
,(19)
кг/с.
1.10 Производительность фильтра по фильтрату, кг/с
;(20)
кг/с,
кг/с
Тогда
объемная производительность фильтра по фильтрату:
м3/с.
1.11 Определим общую поверхность фильтрования, м2
,(21)
где
- объемная производительность фильтра по фильтрату,
м3/с,
м3/с,
-
продолжительность полного цикла работы фильтра, с;
= 270,3
с,
-
удельный объем фильтрата, м3/м2,
м3/м2,
-
поправочный коэффициент, учитывающий необходимость увеличения поверхности из-за
увеличения сопротивления фильтровальной перегородки при многократном ее
использовании;
.
м2.
Выбираем
нормализованный барабанный вакуум-фильтр, который имеет поверхность
фильтрования
м2 (прил. Д).
1.12 Уточненный расчет фильтра
Выбранный фильтр имеет следующие значения углов:
Частоту
вращения барабана принимают наименьшей из рассчитанных по следующим
зависимостям, с-1:
;(23)
с.
, с-1
, с-1(24)
с;
с.
с-1.
Так
как
<
окончательно принимаем частоту вращения барабана
с-1.
Определяем
угол, необходимый для фильтрования:
, углов. град.(25)
.
Фактически
угол сектора фильтрования в стандартном фильтре составляет
. Таким образом, часть поверхности зоны фильтрования
оказывается избыточной, поэтому при заказе фильтра целесообразно уменьшить угол
фильтрования в распределительной головке на величину:
.
Этого
можно добиться, например, увеличив на тоже значение угол
или
или
.
Продолжительность
полного цикла, с:
.
.13
Производительность фильтра по фильтрату, м3/с
,
что
соответствует заданной производительности (0,00352 м3/с).
Проверим
толщину слоя осадка, м:
,(26)
где
- производительность фильтра по осадку, кг/с,
кг/с;
-
продолжительность полного цикла, с,
с;
-
плотность осадка, кг/м3;
кг/м3;
-
поверхность фильтрования, выбранная по каталогу, м2 (прил. Д),
м2;
м
мм, что находится в пределах заданной величины
мм.
Определение диаметра и длины барабана.
Поверхность фильтрования, м2:
,
где
- диаметр барабана, м;
- длина
барабана, м.
Принимаем
стандартное отношение
.
Тогда
.
м.
Стандартный
диаметр барабана
м (прил.Д).
м.
Проверим
поверхность фильтрования:
, м2.
Окончательно
выбираем барабанный вакуум-фильтр марки БО40-ЗУ общего назначения из углеродистой
стали с поверхностью фильтрования
м2 и
диаметром барабана
м.
2. Расчет и выбор вспомогательного оборудования
2.1
Размеры вспомогательного оборудования для фильтра с
м2 (прил. Ж)
объем
ресивера 3,7 м
;
объем
ловушки 0,8 - 1,2 м
;
производительность
вакуум-насоса 16 - 50 м
/мин;
производительность
воздуходувки 4 - 8 м
/мин.
.2
Расчет и выбор центробежного насоса
.2.1
Выбор диаметра трубопровода
Внутренний
диаметр трубопровода круглого сечения определяем по уравнению, м:
,(27)
где
- объемная производительность фильтра по суспензии, м
/с
(28)
- производительность
по суспензии, кг/с;
-
плотность суспензии, кг/м
;
;(29)
= 1081,2
кг/м
;
-
скорость подачи суспензии, м/с
Для
всасывающего и нагнетательного трубопровода при перекачивании насосами примем
= 1,5 м/с (прил. И)
м
/с
м
Выбираем стальной трубопровод из углеродистой стали d = 70 х 3,5 мм
(прил. К)
.2.2 Определение потерь на трение и местные сопротивления
Коэффициент трения л определяем в зависимости от режима движения
суспензии и шероховатости стенки трубы е.
Режим движения суспензии определяем по величине критерия Re
, (30)
где
- коэффициент динамической вязкости суспензии, Па·с
При
концентрации твердой фазы в суспензии менее 10 % объемных
=
;(31)
при
концентрации твердой фазы более 10 % объемных
=
,(32)
где
- динамический коэффициент вязкости чистой жидкости,
Па·с
ц
- объемная доля твердой фазы в суспензии, об. д.
Объемная
доля твердой фазы в суспензии
,(33)
где
- объемная производительность фильтра по осадку, м
/с.
=
м
/с
-
объемная производительность фильтра по суспензии, м
/с.
=
0,00462 м
/с.
об. д. =
23,8 %
Так
как ц > 10 %, то для расчета ц используем уравнение (32)
=1,372·10
Па·с
(воды)
при 40 оС=0,656·10
Па·с=
.
Средние
значения шероховатости стенок труб, выполненных из различных материалов, можно
найти в прил. Л. При незначительной коррозии для стальных цельнотянутых и
сварных труб примем абсолютную шероховатость Д = 0,2 мм = 2·10
м
Тогда
е =
(34)
(35)
>
Re > 3225,8.
В
турбулентном потоке различают три зоны, для которых коэффициент l рассчитывают по разным формулам [3].
В
трубопроводе имеет место смешенное трение, и расчет л следует проводить по
формуле [3]:
л
= 0,11
,(36)
л
= 0,0276
Сумма
коэффициентов местных сопротивлений.
Для
всасывающей линии:
(37)
где
- значение коэффициента местного сопротивления при
входе в трубу;
-
значение коэффициента местного сопротивления при выходе из трубы;
-
значение коэффициента местного сопротивления для вентиля нормального;
Значения
коэффициентов выбираем по табл. XII [2]:
= 0,5;
= 1,0;
Интерполяцией
находим, что для d = 0,063 м
= 4,38.
Сумма
коэффициентов местных сопротивлений во всасывающей линии:

=0,5 + 1
+ 4,38 = 5,88.
Потерянный напор во всасывающей линии:
.(38)
Длину
линии всасывания
примем 2,5 м.
= (0,0276·
)·
= 0,8 м.
Для
нагнетательной линии

=0,5 + 1
+ 4,38 = 5,88.
Потерянный
напор нагнетательной линии:
=(0,0276
)·
м.
Длину
линии нагнетания примем
= 4 м.
Общие
потери напора:
=
м.
.2.3
Определение полного напора насоса и его выбор
Полный
напор насоса, м:
Н
,(39)
где
- перепад давления при фильтровании, Па;
= 6,2·10
Па;
-
плотность исходной суспензии, кг/м
;
= 1081,2
кг/ м
-
геометрическая высота подачи суспензии, м
= 1/2D +
2,5 = 1/2·3 + 2,5 = 4,0 м
-
диаметр барабана, м = 3 м
-
потерянный напор в линии всасывания и нагнетания, м
= 1,68
м=
м.
Полезная
мощность насоса
= Q·
·g·H, Вт,(40)
где
Q - производительность (подача) насоса, м
/с= V
= 0,00462 м
/с;
-
плотность исходной суспензии при t=40 оC, кг/ м
;
= 1081,2
кг/ м
;- полный напор насоса, м;= 11,53 м;
= 0,00462·1081,2·9,8·11,53 = 564,4 Вт =
0,564 кВт.
Мощность
на выходном валу насоса при установившемся режиме работы, Вт
=
,
где
- полезная мощность, Вт;
= 0,564
кВт;
,
- кпд насоса и кпд передачи от электродвигателя к
насосу.
Для
насосов средней производительности
примем
равным 0,6, а
≈ 1,0 (так как в центробежных насосах вал
электродвигателя непосредственно соединяется с валом насоса)=
кВт.
Устанавливаем
(прил. М), что заданной подаче и напору более всего соответствует центробежный
насос марки Х20/18, для которого Q = 5,5
м3/с;
Н=13,8 м;
= 0,6.
Насос
обеспечен электродвигателем Ао2-31-2 с номинальной мощностью
= 3 кВт, частота вращения вала n = 48,3с
.
3. Расчет и
выбор емкостей
.1 Емкость для суспензии
Расчет емкости для суспензии производим по производительности фильтра по
суспензии
=
,(41)
где
G
- производительность фильтра, кг/ч;
= 18000 кг/ч;
ф
- время работы фильтра, ч.
Примем
ф = 1 ч;
-
плотность исходной суспензии, кг/м
;
= 1081,2
кг/м
;
-
коэффициент заполнения емкости,
= 0,8 ÷ 0,9.
Примем
= 0,8;
=
м
.
Емкость для суспензии цилиндрической формы диаметром D и высотой H.
Определим диаметр емкости, задавшись стандартным отношением H/D = 1,5. Отсюда Н
= 1,5 D.
=
;=
м.
По
стандарту диаметр емкости D = 2,6 м.
Тогда
высота емкости для суспензии Н = 1,5 · 2,6 = 3,9 м.
.2
Емкость для фильтрата
Объем
емкости для фильтрата
м
;
= 3,5
кг/с =12600 кг/ч;
Н/D
= 1,5; Н= 1,5 D;
=
м.
По
стандарту диаметр емкости 2,4 м.
Высота
емкости Н = 1,5·2,4 = 3,6 м.
.3
Емкость для промывной жидкости
Расчет
емкости производим по количеству промывной жидкости, необходимой для промывания
осадка.
Определим
количество промывной жидкости, м3/ч:
н
,(42)
где
н
- удельное количество промывной жидкости, м3/кг;
н
= 1·10-3 м3/кг (по заданию);
- производительность фильтра по осадку, кг/час;
= 1,5 кг/с = 5400 кг/час;
= 1·10-3·5400
= 5,4 м3/час.
Объем
емкости для промывной жидкости
=
м3;
= 1час;
ц = 0,8;
Н/D
= 1,5; Н = 1,5 D;
=
м.
По
стандарту диаметр емкости D = 1,8 м.
Высота
емкости Н = 1,5×D = 1,5 · 1,8 = 2,7 м.
4. Расчет
подогревателя исходной суспензии
Расчет подогревателя включает определение необходимой поверхности
теплопередачи паровой рубашки и расхода греющего пара.
.1 Тепловая нагрузка подогревателя, Вт
Q
= G
·С
(t
- t
),(43)
где
G
- количество исходной суспензии, кг/с
= 5 кг/с.
С
- средняя удельная теплоемкость суспензии, Дж/кг·К
С
= С
(1 -
), Дж/кг·К
где
С
- удельная теплоемкость воды при средней температуре
;
С
= 4190 Дж/кг·К;
С
= 4190(1 -
) = 3562
Дж/кг·К;= 5 · 3562(40 - 20) = 356150 Вт.
4.2
Расход сухого греющего пара с учетом 5% потерь тепла, кг/с
=
,(44)
где
r - удельная теплота конденсации водяного пара, Дж/кг
При
Р
= 2 ат, r = 2208·10
Дж/кг
[2]
=
кг/с
.3
Расчет поверхности теплопередачи
Поверхность
теплопередачи F определяется по уравнению, м
:
,(45)
где
Q - тепловая нагрузка подогревателя, Вт= 356150 Вт;
К
- коэффициент теплопередачи, Вт/ (м
К);
- средняя
разность температур, оС.
.3.1
Определение средней разности температур
Температура
конденсации водяного пара
при давлении 2 ат равна 119,6 оС [2].
Температурная
схема:
,6
оС --------119,6 оС
20
оС---------------------40 оС
= 119,6 -
20 = 99,6 оС
= 119,6 -
40 = 79,6 оС
< 2;
средняя
разность температур
=
оС
Средняя
температура нагреваемой жидкости (суспензии)
=
-
=119,6 -
89,6 = 30 оС.
.3.2
Определение коэффициента теплопередачи
Коэффициент
теплопередачи К определяется по уравнению, Вт/(м
К):
,(46)
где
- коэффициент теплоотдачи от конденсирующегося пара к
стенке, Вт/(м
К);
- сумма
термических сопротивлений стенки и загрязнений по обе стороны стенки, (м
К)/Вт;
-
коэффициент теплоотдачи от стенки к нагреваемой суспензии, Вт/(м
К)
Дальнейший
расчет проводим исходя из того, что при установившемся процессе теплообмена
количество тепла, передаваемое стенке от конденсирующегося пара, должно
равняться количеству тепла передаваемого путем теплопроводности через стенку и
загрязнений по обе стороны стенки, а также количеству тепла, передаваемого от
стенки к нагреваемой суспензии:
где
=
-
- разность температур греющего пара и наружной
поверхности стенки, оС;
=
-
-
разность температур между поверхностями стенки, оС;
=
-
-
разность температур внутренней поверхности стенки и средней температурой
нагреваемой суспензии, оС.
Определим
коэффициент теплоотдачи
по уравнению:
=1,15
, Вт/(м
К)(48)
где
,
,
- соответственно теплопроводность Вт/(м·К),
плотность (кг/м
), вязкость (Па·с) конденсата при средней
температуре пленки конденсата 0,5(
+
). Когда разность температур (
-
) не
превышает 30 оС - 40 оС физические характеристики конденсата могут быть
определены при температуре конденсации греющего пара
=
.-
теплота конденсации греющего пара при температуре
=119,6 оС (при
) [2]=
2208·10
Дж/кг;
Н
- высота теплопередающей рубашки, м
Н
= 0,8Н = 0,8·3,9 = 3,12 м
где
Н - общая высота емкости для суспензии, м
Н
= 3,9 м.
Зададимся
=
-
=1 оС.
Тогда
физические свойства конденсата при
= 119,6
оС [2]:
= 0,686
Вт/(м·К);
= 943
кг/м
;
= 231·10
Па·с.
Вт/(м
·К).
Вычислим
количество тепла, передаваемое стенке от конденсирующегося пара
=
·
=11081·1=11081
Вт/м
.
Определим
суммарное термическое сопротивление стенки, (м
·К)/Вт
.(49)
Принимаем
тепловую проводимость загрязнений со стороны греющего пара 1/
= 5800 Вт/(м
·К),
со стороны суспензии 1/
= = 5800 Вт/(м
·К),
коэффициент теплопроводности стенки
= = 46,5
Вт/(м
·К) [2].
Толщину
стенки
принимаем 5мм = 0,005 м (табл.1)
(м
К/Вт)
Пользуясь
уравнением (49), определим температуру стенки со стороны нагреваемой суспензии:
=
-
·
;
=
-
= 119,6
- 1 = 118,6 оС;
= 118,6 -
11081·4,523×10-4 = 113,59 оС.
Тогда
разность температур между поверхностью стенки со стороны нагреваемой суспензии
и средней температурой суспензии
=
-
= 113,59
- 30 = 83,59 оС.
Определим
коэффициент теплоотдачи
.
В
аппаратах с рубашкой и мешалкой коэффициент теплоотдачи можно рассчитать по
уравнению [2]:
, (50)
Где
-
диаметр окружности, описываемой мешалкой, м; - внутренний диметр емкости для
суспензии, м;= 2,6 м.
Примем
[1]. Тогда
м.
-
коэффициент теплопроводности воды, Вт/(м×К);
-
удельная теплоемкость суспензии, Дж/кг·К;
-
плотность суспензии, кг/м
.
Значения
,
,
берут при средней температуре суспензии
=30 оС
= 0,61
Вт/(м · К).
=
(
) = 4190(
) = 3562
Дж/(кг·К)
где
- теплоемкость воды при
= 30 оС
где
- плотность воды при
=30 оС;
= 1084,2
кг/м
;
-
коэффициент динамической вязкости суспензии при средней температуре t = 0,5(
+
).= 0,5(30 + 113,59) = 71,8 оС
=
·
Па·с
(воды) =
0,3952·10
Па·с
-
коэффициент динамической вязкости суспензии при температуре
= 113,59 оС
=
·
Па·с,
(воды) =
0,249·10
Па·с
- число
оборотов мешалки, c
; n
=
=1 c
Г
- симплекс геометрического подобия;
Г=
Вт/(м2
К)
Количество
тепла, передаваемого от стенки к нагреваемой суспензии
Вт/м2
≠
11081 ≠ 126004
Так
как
>>
, то для
второго приближения
зададимся
= 10 оС и повторим расчет.
= 6231,8
Вт/(м
· К)
= 6231,8·
10 = 62318 Вт/м
= 119,6
- 10 = 109,6 оС
= 109,6 о
- 62318·4,523·10
= 81,4 оС
= 81,4 -
30 = 51,4 оС
Находим
при t = 0,5(
+
) = 0,5(30 + 81,4) = 55,7 оС
Па·с
Находим
при
= 81,4 оС
Па·с
Вт/(м2
К)
Вт/м2
≠
62318 ≠ 73384,6
Истинное значение q находим графически (Рис. 3).
Строим
график q = f (
).
Из
графика q = 62000 Вт/м
.
Тогда
коэффициент теплопередачи
К
=
Вт/(м
·К)
Поверхность
теплопередачи
=
м
Рисунок 3 - График зависимости q = f (D t1)
5. Расчет
диаметра и высоты барометрической труб
Диаметр барометрической трубы определяем из уравнения, м:
,(51)
где
- производительность фильтра по фильтрату, м
/с;
= 0,0035
м
/с;
-
количество промывной жидкости, м3/с;
= 5,4 м
/час = 0,0015, м3/с;
-
скорость жидкости в барометрической трубе, м/с (принимается равной 0,5 - 1
м/с).
Примем
= 1 м/с.
м.
Высоты
барометрической трубы Н
определяем по уравнению, м:
Н
= h
+ h
+ 0,5,(52)
где
h
- высота столба жидкости в барометрической трубе,
уравновешивающего разность давлений атмосферного и в сепараторе, м;
=10,33
, (53)
где
В - разрежение в сепараторе.
В
=
мм рт.ст
= 10,33
, м
- высота
столба жидкости в барометрической трубе, отвечающая напору, затрачиваемому на
создание скоростного напора и на преодоление гидравлических сопротивлений в
трубе, м;
=
(54)
где
- скорость жидкости в трубе, м/с;
= 1 м/с;
л
- коэффициент трения при движении жидкости по барометрической трубе.
При
движении жидкости в шероховатых трубах:
,(55)
где
- относительная шероховатость;
=
-
средняя высота выступов на стенках трубы, м. Примем
= 0,2 мм = 2·10
м (прил.
Л).
Re
=
-
плотность воды при 30 оС кг/м
;
= 995
кг/м
;
-
вязкость воды при 30 оС, Па·с;
= 0,8
Па·с.
,
л
= 0,0265;
=
+
- сумма коэффициентов местных сопротивлений на входе
и выходе из барометрической трубы;
Принимаем
= 0,5;
= 1,0
[2].
=
=1,551+0,0169
, м
=
6,33+1,551+0,0169
+ 0,5;
,5
м - запас высоты на возможное изменение барометрического давления.
= 8,525
м.
6.
Расчет мощности, потребляемой вакуум-насосом
Двигатели
для вакуум-насосов подбирают с учетом производительности насоса по величине
работы сжатия, соответствующей остаточному давлению Р
(при условии, что давление нагнетания Р
равно 1ат).
При помощи вакуум-насоса в аппарате должен быть создан вакуум
(разрежение) В, ат.
Определим
теоретический расход работы, затрачиваемой на отсасывание 1м
воздуха, считая сжатие воздуха в вакуум-насосе
политропическим, по уравнению, Дж/ м
:
,(56)
где
m - показатель политропы; m = 1,25;
-
начальное давление воздуха, Па
=
-
Па
-
конечное давление воздуха, равное атмосферному, Па
Па
=
Па (по заданию)- производительность вакуум-насоса, м
/с
Для
фильтра F = 40 м
(прил. Ж) производительность вакуум-насоса находится в
пределах 16 - 50 м
/мин.
Примем
V = 30 м
/мин
, Дж/ м
Мощность
двигателя вакуум-насоса определим по уравнению, кВт
,
- к.п.д.
вакуум-насоса;
= 0,75
кВт
Выбираем
вакуум-насос типа ВВН-50 с мощностью на валу
= 94 кВт
(прил. П).
Список литературы
1. Касаткин А.Г. Основные процессы и аппараты химической
технологии. Изд. 9-е пер. и доп.- М.: Химия, 1973. - 754 с.
. Павлов К.Ф., Романков П.Г., Носков А.А. Примеры и задачи по
курсу процессов и аппаратов химической технологии.- Л.: Химия, 1987. - 576 с.
. Основные процессы и аппараты химической технологии. Пособие
по проектированию / Под ред. Ю.И. Дытнерского.- М.: Химия, 1991. - 493 с.
. Кувшинский М.Н., Соболева А.П. Курсовое проектирование по
предмету «Процессы и аппараты химической промышленности». Изд. 2-е пер. и доп.-
М.: Высшая школа, 1980. - 221 с.
. Черкасский В.М. Насосы, вентиляторы, компрессоры. - М.:
Энергия, 1977. - 424 с.
. Доманский И.В. и др. Машины и аппараты химических
производств / Под ред. В.Н. Соколова. - Л.: Машиностроение, 1982. - 384 с.
. Фильтры для жидкостей. Каталог - справочник, ч. I, II. -
М.: Уинтихимнефтемаш, 1965.
. ГОСТ Вакуум-насосы низкого давления.