Установка для лазерной сварки и лазерной резки МЛК4-1
Министерство
образования и науки Российской Федерации
Федеральное
агентство по образованию
ГОУ
ВПО
Саратовский
государственный технический университет им. Гагарина Ю.А.
Кафедра:
«Сварки и металлургии»
Реферат
по
дисциплине: «Оборудование производства ЭТ»
«Установка
для лазерной сварки и лазерной резки МЛК4-1»
Выполнил:
студент группы
ЭМС-41
Аймишев А.С.
Проверил: Балакин
А.Н.
Саратов 2013
Оглавление
Введение
. Лазерная сварка и резка,
используемое оборудование
.1 Лазерная сварка и резка
.2 Анализ технологического
оборудования
. Анализ установки для лазерной
сварки и резки МЛК4-1
.1 Общие сведения
.2 Состав установки
.3 Технические характеристики
.4 Примеры обработки
Заключение
Список используемой литературы
Введение
Лазерная сварка может быть использовано при
сварке титана, никеля, олова, цинка, меди, алюминия, хрома, ниобия, золота,
серебра и многих других металлов и их сплавов. Она также может быть
использована при сварке двух различных типов металлов, например медь-никель,
никель-титан, медь-титан, латунь-медь и низкоуглеродистая сталь-медь и др.
Широко используется в мобильной связи,
электронных компонентов, оправ для очков, ювелирных изделиях и аксессуаров,
точном машиностроении, медицинском оборудовании, автомобильных аксессуарах,
сувенирной и многих других промышленных областях.
1. Лазерная сварка и резка,
используемое оборудование
.1 Лазерная сварка и резка
Свет, как и любые другие виды электромагнитных
колебаний, обладает большим запасом энергии, применение которой для сварки
возможно только при высокой ее концентрации на небольшой площади. Практически
впервые установка для сварки и пайки сфокусированной лучистой энергией была
разработана в Московском авиационном институте под руководством профессора Г.Д.
Никифорова. В качестве источника света была использована дуговая ксеноновая
лампа. Свет концентрировали с помощью специальной оптической системы, состоящей
из зеркал и увеличительных стекол. Однако мощность установки была небольшой и
пригодной только для сварки тонкого металла.
Значительно увеличить концентрацию светового
излучения удалось путем создания оптических квантовых генераторов (ОКГ) -
лазеров. Лазер создает мощный импульс монохроматического излучения за счет
возбуждения атомов примеси в кристалле или в газах. Среди известных в настоящее
время источников энергии, используемых для сварки, лазерное излучение
обеспечивает наиболее высокую ее концентрацию до 1011 Вт/см2.
Такие высокие значения концентрации энергии определяются уникальными
характеристиками лазерного излучения, в первую очередь его монохроматичностью и
когерентностью. В таких условиях все известные материалы не только плавятся, но
и испаряются.
Лазерное излучение легко передается с помощью
оптических систем в труднодоступные места, может одновременно или последовательно
использоваться на нескольких рабочих постах. Оптические системы транспортировки
и фокусировки лазерного излучения создают возможность легкого и оперативного
управления процессом сварки. На лазерный луч не влияют магнитные поля
свариваемых деталей и технологической оснастки.
Первые сообщения о лазерной сварке металлов
относятся к 1962 г. В нашей стране публикации об этом способе соединения
металлов появились на год позже. Первоначально использовались твердотельные
рубиновые лазеры. На их базе были разработаны первые лазерные установки СУ-1,
К-3М, УЛ-2 и УЛ-20, предназначенные для сварки и обработки материалов. Первые
три из них имели максимальную энергию излучения не выше 2 Дж. Длительность
импульса изменялась дискретно от 0,5 до 8 мс. Эти установки предназначались для
сварки металлов толщиной 0,1-0,2 мм.
Установка УЛ-20 имела энергию излучения до 20 Дж
и применялась для сварки металлов толщиной 0,5-1,0 мм. К сожалению, качество
сварных соединений, получаемых с помощью указанных установок, было низким и
нестабильным. Одной из причин этого была неудовлетворительная воспроизводимость
режимов сварки на разных установках одного типа. Как показали исследования, это
было связано с неоднородностью распределения показателя преломления в стержнях
активной среды. К тому же оно индивидуально для каждого стержня.
Степень неоднородности активного стержня
обуславливала низкую воспроизводимость режимов сварки за счет
пространственно-временной неравномерности теплового потока.
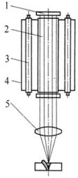
Рис. 1. Принципиальная схема лазера:
- зеркало резонатора; 2 - рабочее тело; 3 -
лампы накачки;
Экспериментальные исследования, выполненные в
1966 - 1969 гг., показали, что для обеспечения равномерности теплового потока в
ОКГ сварочных установок необходимо применять устойчивый сферический резонатор.
Использование сферического резонатора ослабляет влияние на генерацию излучения
неоднородности показателя преломления активной среды и устраняет временную
неравномерность освещения в пятне нагрева.
В дальнейшем именно такие схемы были
использованы для создания установок лазерной обработки материалов. В настоящее
время в технологических лазерах применяются твердотельные и газовые излучатели.
В твердотельных лазерах в качестве рабочего тела используются активные элементы
из рубина, стекла с присадками ионов неодима, алюмоиттриевого граната с
неодимом.
В настоящее время лазерная сварка применяется
для создания конструкций из сталей, алюминиевых, магниевых и титановых сплавов.
Ей отдается предпочтение при необходимости получения прецизионных конструкций,
форма и размеры которых практически не должны изменяться в результате сварки, а
также при производстве крупногабаритных конструкций малой жесткости с
труднодоступными швами.
Высокая плотность энергии лазерного излучения,
передаваемая аномально малой площади воздействия, позволила создать в 70-е гг.
ХХ в. и новый способ резки материалов.
1.2 Анализ технологического
оборудования
МЛ4-1, МЛ4-2 -
широко функциональная автоматизированная система
Общие сведения
Рис. 2. Общий вид установки.
Назначение:
- Ручная и автоматическая
сварка изделий из черной и нержавеющей стали, ковара, титана, тугоплавких,
цветных и многих других металлов и сплавов.
Возможно выполнение следующих
сварочных швов: прямолинейных, фигурных (по произвольному плоскому чертежу),
кольцевых (на опциональных вращательных оснастках). - Типовая толщина
свариваемых материалов 0.1-2 мм.
Гравировка глубиной до 0.2-0.3
мм
Размерная обработка различных
материалов, в том числе - резка, гравировка, маркировка металлов, прошивка
отверстий и резка поликора, керамики, ситалла и др. неметаллических материалов.
Примерные параметры резки при
продувке воздухом
|
Толщина
листов для следующих материалов:
|
МЛ4-1
|
МЛ4-2
|
|
сталь
(в том числе нержавеющая), мм
|
до
2-3
|
до
4
|
|
латунь,
медь, мм
|
до
1
|
до
2
|
|
алюминий,
мм
|
до
2
|
до
3.0
|
|
поликор
(керамика), мм
|
до
1.5-2
|
до
2-3
|
|
Скорость
резки стали толщиной 1.5 мм, мм/сек
|
не
менее 6
|
Принцип работы
Обрабатываемое изделие
размещается на рабочем основании X-Y координатного стола и перемещается
относительно неподвижного лазерного пятна в X-Y плоскости. Силовой объектив
перемещается в вертикальном Z-направлении с помощью аналогичного координатного
привода. Для контроля за зоной обработки в оптическую систему встроена
TV-камера и установлен TV-монитор визуального наблюдения. Предусмотрена
автоматизированная подача инертного газа или воздуха в зону обработки. Энергия,
частота повторения длительность и форма импульса излучения варьируется в
широких пределах, что обеспечивает выбор необходимых режимов и высокое качество
обработки. Управление машиной от пульта ручного управления и компьютера.
Состав
|
Наименование
составных частей
|
Основные
параметры
|
|
Опорный
каркас с рабочей камерой
|
Виброустойчивый
каркас в виде прямоугольного параллелепипеда на основе жестко связанных
стальных труб сечением 80-100мм. Портальная компоновка излучателя, оптической
системы и координатного стола путем их размещения на ребрах противоположенных
горизонтальных граней параллелепипеда. Наличие защитной технологической
камеры с раздвижной дверью с защитным окном, освещением и системой
блокировок, обеспечивающими 1 класс лазерной безопасности.
|
|
Лазер
|
Nd:YAG
импульсный лазер с ламповой накачкой с разъемными металлокерамическими
квантронами, встроенным полупроводниковым лазер-пилотом. Опция: Модуль
перемещения зеркал резонатора с электроприводом позволяющей изменять длину
резонатора, радиус кривизны глухого зеркала, модовый состав излучения.
|
|
Оптическая
система транспортировки и формирования пятна
|
Наличие
не менее двух модулей, обеспечивающих поворот лазерного пучка в
горизонтальной плоскости и транспортировку пучка в вертикальном направлении с
юстируемыми поворотными зеркалами. Телескоп, набор фокусирующих объективов.
|
|
Контрольно
оптическая система
|
Телевизионная
система наблюдения с монитором. Наличие в ней устройства, формирующего
электрические сигналы, синхронизованные с сигналами кадровой и строчной
развертки и обеспечивающие формирование метки - перекрестия и управление
координатами положения этой метки на экране монитора.
|
|
Оптический
резак
|
Режущая
головка с наличием в ней узла перемещения фокусирующего объектива параллельно
оптической оси, соплами для продувки газов, модуля юстировки сопел в
плоскости, перпендикулярной оптической оси, защитных окон, емкостного датчика
и микропроцессорной системой слежения, автоматически обеспечивающими
требуемый зазор между защитным соплом резака и материалом заготовки в
процессе резки.
|
|
Кинематическая
система
|
Прецизионный
ХУ координатный стол для перемещения детали по горизонтали, Z-привод для
перемещения фокусирующего объектива (резака)по вертикальной оси.
|
|
Пневматическая
система
|
Электроклапана,
фильтры-регуляторы, сопла, быстроразъемные соединители и шланги для подачи
газов в зону обработки.
|
|
Блоки
питания, охлаждения и управления
|
Питание
и управление функциональными модулями. Термостабилизованная система
охлаждения «вода-вода» типа СО - 12000.
|
|
Блоки
контроля, управления, компьютер
|
Пульт
ручного управления. Педаль. Индикатор энергии. Компьютер.
|
|
Комплект
программного обеспечения
|
Загрузка,
обработка и выполнение файлов-заданий, настройка и сохранение технологических
параметров, контроль и самодиагностика системы.
|
|
Упаковка
|
Транспортировка
любым видом транспорта.
|
Технические характеристики
|
Технические
параметры координатной системы
|
|
Рабочий
ход стола (Наибольшее перемещение), мм по оси Х по оси Y по оси Z
|
400
300 250
|
|
Точность
позиционирования, мкм
|
20-30
|
|
Максимальная
скорость движения стола, мм/сек - При обработке по контуру - При перемещении
|
до
15 до 70
|
|
Параметры
оптической системы
|
|
Фокусное
расстояние объективов, мм
|
100,
64
|
|
Размер
пятна в зоне обработки, мкм
|
50
|
|
Параметры
лазера
|
|
Тип
лазера
|
Nd:YAG
импульсный лазер
|
|
Длина
волны излучения, мкм
|
1,064
|
|
Средняя
мощность излучения, Вт МЛ4-1 МЛ4-2
|
до
150 до 300
|
|
Частота
следования импульсов излучения, Гц
|
1-160
|
|
Длительность
импульсов амплитудно-регулируемая в пределах, мс
|
0,2-20,0
|
|
Форма
импульса амплитудно-регулируемая в пределах, мс
|
150-2000
|
|
Программное
обеспечение реализует:
|
|
Машина
может управляться вручную от пульта управления БКУ, от компьютера, а также
работать в автоматическом режиме.
|
|
Возможности
программного обеспечения (ПО) позволяют осуществлять загрузку, обработку и
выполнение файлов-заданий (чертеж обработки + технологические параметры для
лазера и координатных столов). ПО позволяет настроить и сохранить
технологические параметры задания, осуществляет контроль и самодиагностику
системы в процессе работы, визуальное отслеживание процесса сварки на экране
ТВ-монитора.
|
|
Управляющие
чертежи-задания могут быть импортированы в виде HPGL-совместимых файлов
(.plt) или файлов .dxf или.bmp форматов из любых графических редакторов
(CAD-системы, Corel-Draw, Компас и многие др.) программного обеспечения.
|
Габаритные размеры и масса
машины
|
Масса
машины, кг, не более
|
500
|
|
Габариты
(длина / ширина / высота), мм, не более
|
2200/800/1400
|
|
Электропитание
и потребление
|
|
Электрическая
сеть
|
Трехфазная
сеть 3х380 В±10%, 50 Гц, с качеством по ГОСТ 13109-67
|
|
Потребляемая
мощность машины, кВА
|
не
более 15 (МЛ4-2)
|
|
Внешние
коммуникации
|
|
Техническая
вода (водопровод, оборотная вода и т.д.): - расход, л/мин, до - давление,
атм., не менее - слив безнапорный (сливная воронка)
|
|
Воздушная
вытяжка с остаточным давлением 66,6 кПа (500 мм рт. ст.) и с производительностью,
м3/час
|
не
менее 160
|
|
-
Сеть осушенного сжатого воздуха с давлением 0.2…0.6 МПа (без масла, не хуже 4
класса загрязненности по ГОСТ 17433-80).
|
2. Анализ установки для лазерной
сварки и резки МЛК4-1
2.1 Общие сведения
лазерный сварка резка
металл
Рис.3. МЛК4-1 -
широкоуниверсальная компактная система
Назначение:
Широкоуниверсальные компактные
лазерные машины серии МЛК4 предназначены для следующих видов лазерной обработки
металлических и неметаллических материалов и изделий:
Точечной и шовной ручной и
автоматизированной лазерной сварки металлических деталей (черная и нержавеющая
сталь, ковар, титан, алюминий и др. свариваемые металлы и сплавы) различной
формы сфокусированным пятном импульсно - периодического Nd:YAG лазера Машина
позволяет сваривать следующие типовые конструкции: корпусные, решетчатые,
сетчатые, стержневые, трубчатые, а также мембранного и сильфонного типов.
Возможно выполнение следующих сварочных швов: прямолинейных, фигурных (по
произвольному плоскому чертежу), кольцевых на деталях вращения (на вращательных
приводах). Контурная лазерная резка, маркировка и гравировка может
осуществляться по цилиндрической и плоской поверхности.
Прецизионной резки, сложно
контурного раскроя, прошивки отверстий, гравировки изделий из стали алюминия,
латуни, поликора, керамики, ситалла и др. неметаллических материалов по
заданному чертежу.
Относительные перемещения
лазерного пятна и изделия осуществляются с помощью автоматизированного 4-х
координатного привода Для оптического контроля используется
контрольно-фокусирующая система со сменными объективами Интегрированная система
видео наблюдения имеет два канала микроскоп с двухступенчатой защитой глаз
оператора и TВ-камерой с TВ-монитором визуального наблюдения, что позволяет в
осуществлять контроль в реальном времени.
Предусмотрена
автоматизированная подача инертного газа или воздуха в зону обработки, что
обеспечивает защиту фокусирующей оптики и улучшает качество обработки. При
работах по сварке, резке или гравировке возможен автоматический поддув
защитного газа, кислорода или воздуха через отверстие сопла, а также снизу или
сбоку через специальные насадки.
Энергия, частота повторения и
длительность импульса излучения варьируется в широких пределах, что обеспечивает
выбор необходимых режимов и высокое качество обработки. Машина МЛК4 управляется
от IBM PC совместимого
компьютера.
2.2 Состав
установки
|
Наименование
составных частей
|
Основные
параметры
|
|
Базовый
комплект
|
|
Рабочий
модуль Силовой модуль
|
Рабочее
место оператора содержащее кинематические блоки, лазерный излучатель
оптические блоки, блоки управления, рабочие органы. Стойка питания и
охлаждения лазера связанная с рабочим модулем кабелями и трубопроводами В
сумме габариты модулей позволяют разместить машину на площади не более
примерно 1.5кв.м.
|
|
Лазер
|
Nd:YAG
импульсный лазер с ламповой накачкой. Управление энергией частотой,
длительностью и формой импульса лазерного излучения.
|
|
Оптическая
система
|
Контрольно-фокусирующая
оптическая система содержит: фокусирующий модуль с различными объективами;
телескоп с системой регулировки размера пятна, систему визуального контроля с
двумя каналами наблюдения - микроскоп с двухступенчатой системой защиты глаз
оператора и модуль ТВ системы.
|
|
Пневматическая
система
|
Электроклапана,
фильтры-регуляторы, сопла, быстроразъемные соединители и шланги для подачи
газов в зону обработки, устройство контроля подачи защитного газа, ротаметр.
|
|
Блоки
питания, охлаждения и управления
|
Система
охлаждения лазера. Источник питания лазера. Блок управления приводами.
Питание и управление функциональными модулями.
|
|
Блоки
контроля, управления, компьютер
|
Пульт
ручного управления. Педаль. Индикатор энергии. Компьютер.
|
|
Комплект
ЗИП
|
Лампы,
Защитные стекла, зеркала резонатора и другое
|
|
Комплект
программного обеспечения
|
Загрузка,
обработка и выполнение файлов-заданий, настройка и сохранение технологических
параметров, контроль и самодиагностика системы.
|
|
Документация
|
Текстовая
документация (паспорт, техническое описание и инструкция по эксплуатации) с -
комплектом принципиальных схем
|
|
Упаковка
|
Транспортировка
любым видом транспорта.
|
|
Опции:
|
|
-
Вращательный привод для сварки кольцевых швов на деталях вращения (трубах). -
Режущая головка - Дополнительная автоматизированная Z координата с емкостным
датчиком - Поддон для резки - Автономная система охлаждения.
|
2.3 Технические
характеристики
Технические параметры
координатных столов
|
Рабочий
ход стола (Наибольшее перемещение), мм по оси Х по оси Y по оси Z
|
350
250 250 (опция 500)
|
|
Точность
позиционирования, мкм, не хуже
|
20
|
|
Дискретность
перемещения, мкм, не хуже
|
2,5
|
|
Параметры
оптической системы
|
|
Фокусное
расстояние объективов, мм
|
64,
100
|
|
Увеличение
телевизионной системы, крат
|
60
|
|
Размер
пятна излучения в зоне обработки, мм
|
0,3-2
|
|
Параметры
лазера
|
|
Длина
волны излучения, мкм
|
1,064
|
|
Частота
следования импульсов излучения, Гц
|
до
150
|
|
Длительность
импульса, регулируемая в пределах, мсек
|
0,2-20,0
|
|
Минимальная
средняя мощность излучения, Вт МЛК4-1 МЛК4-2
|
150
300-400
|
|
Энергия
в импульсе, Дж, не менее МЛК4-1 МЛК4-2
|
30
50
|
|
Программное
обеспечение реализует:
|
|
-
Загрузку и обработку файлов-заданий в формате HPGL - Синхронное управление
приводами столов и источником питания лазера - Интерактивную установку
технологических параметров
|
|
Система
охлаждения:
|
Габаритные размеры и масса
машины
|
Масса
машины, кг, не более
|
200
|
|
Габариты
(длина / ширина / высота), мм, не более
|
1200/1200/1400
|
|
Электропитание
и потребление
|
|
Электрическая
сеть
|
Трехфазная
сеть 3х380В±10%, 50 Гц, с качеством по ГОСТ 13109-67
|
|
Потребляемая
мощность, кВА, не более: МЛК4-1 МЛК4-2
|
6
12
|
|
Внешние
коммуникации
|
|
Техническая
вода (водопровод, оборотная вода и т.д.): - расход, л/мин, не менее -
давление, атм., не менее - температура, оС, не более
|
8
3,5 20
|
|
Воздушная
вытяжка с остаточным давлением 66,6 кПа (500 мм рт. ст.) и с
производительностью, м3/час
|
160-600
|
|
-
Сеть осушенного сжатого воздуха с давлением 0.2-0.8 МПа (без масла, не хуже 2
класса загрязненности по ГОСТ 17433-80). - Баллон с защитным или
вспомогательным газом (аргон, азот) с редуктором - при необходимости.
|
2.4 Примеры обработки

Рис. 4. Сварка меди и латуни
Заключение
Лазерная сварка осуществляется в широком
диапазоне режимов, обеспечивающих высокопроизводительный процесс соединения
различных материалов толщиной от нескольких микрометров до десятков
миллиметров. Разнообразие методов и приемов лазерной сварки затрудняет
разработку конкретного технологического процесса.
Процесс сварки лазерным излучением весьма сложен
и в настоящее время нет теоретической расчетной модели, описывающей его во всей
полноте. Как правило, расчеты касаются какой-либо одной из физических
характеристик процесса воздействия лазерного излучения на обрабатываемый
материал.
Список используемой литературы
1. Баранов
М.С., Вощинский М.Л., Геннрихс И.Н. Лазерная сварка металлов.
2.
Лазерная сварка металлов. / Малащенко А.А., Мезенов А.В. Машиностроение,
1984 г. 45 с.
.
Григорьянц А.Г. Лазерная сварка металлов (книга 4).
.
Григорьянц А.Г. Лазерная сварка металлов (книга 5).
.
Бруннер В. Справочник по лазерной технике