Технология получения полиэтиленовой пленки методом раздува

  • Вид работы:
    Реферат
  • Предмет:
    Другое
  • Язык:
    Русский
    ,
    Формат файла:
    MS Word
    605,38 Кб
  • Опубликовано:
    2013-11-22
Вы можете узнать стоимость помощи в написании студенческой работы.
Помощь в написании работы, которую точно примут!

Технология получения полиэтиленовой пленки методом раздува















Реферат

на тему: Технология получения полиэтиленовой пленки методом раздува











Казань, 2012

Введение

Полиэтиле́н - органическое соединение получаемое путем полимеризации этилена и имеет длинные молекулы …-CH-CH -CH -CH…, где «-» обозначает ковалентные связи между атомами углерода.

Этиле́н - органическое химическое соединение, описываемое формулой С2H4. При нормальных условиях - бесцветный горючий газ со слабым запахом.

 

Рис.1. Химическая формула полиэтилена. Вид молекулы полиэтилена

Самый распространённый в мире пластик - белый твёрдый продукт, устойчивый к действию масел, ацетона, бензина и других растворителей, а также сильных кислот, кроме концентрированной азотной.

Изобретателем полиэтилена считается немецкий инженер Ганс фон Пехманн, который впервые случайно получил этот продукт в 1899 году. Однако это открытие не получило распространения. Вторая жизнь полиэтилена началась в 1933 году благодаря инженерам Эрику Фосету и Реджинальду Гибсону. Сначала полиэтилен использовался в производстве телефонного кабеля и лишь в 1950-е годы стал использоваться в пищевой промышленности как упаковка.

Производство полиэтиленовой пленки в настоящее время представляет большой практический интерес и имеет хорошие экономические перспективы роста объемов производства. Полиэтиленовая ленка является прекрасным упаковочным материалом, допущена к контакту с пищевыми продуктами Минздравсоцразвития РФ, широко используется для групповой упаковки алкогольных и прохладительных напитков, молочных продуктов, замороженной птицы, колбас и сыров, а также целого ряда других промышленных товаров народного потребления и производства пленочных изделий, пакетов: строительные материалы и инструменты, групповая упаковка лекарственных препаратов и др.

Достоинство такого рода упаковки заключается в относительной простоте самого процесса упаковки, ее прочности, эстетичности при относительно небольшой стоимости. Кроме того, можно отметить доступную сырьевую базу, простоту и экологичность утилизации использованной пленки и отходов ее производства.

В настоящее время в нашей стране потребность в пленке и пленочных изделиях удовлетворяется, в основном, за счет местных производителей, а также, частично, за счет импорта из стран дальнего и ближнего зарубежья.

Существует два основных способа производства пленки методом экструзии: получение рукава с раздувом и плоскощелевая экструзия. В общих чертах любой экструзионный агрегат включает в себя сам экструдер, формующий инструмент - головку, устройство охлаждения, приемное и тянущее устройства.

В своем реферате я расскажу о технологии получения полиэтиленовой пленки методом раздува.

Этим методом получают до 80% всех произведенных пленок. Широкому распространению рукавной технологии в немалой мере способствует ее универсальность по виду перерабатываемых термопластов, высокая производительность технологических линий, возможность получения многослойных изделий с варьируемыми свойствами, быстрая окупаемость капиталовложений. В настоящее время возможно производство рукавной пленки толщиной от 2-3 до 1000 мкм с периметром рукава до 52 м и числом слоев до 7.

1. Характеристика материала и изделия по назначению

Существует три основных типа полиэтилена:

I Полиэтилен высокого давления (ПЭВД), или Полиэтилен низкойплотности (ПЭНП), образуется при следующих условиях:

• температура 200-260 °C;

•давление 150-300 МПа;

•присутствие инициатора (кислород или органический пероксид);

ПЭВД - пленки обладают комплексом таких свойств, как прочность при растяжении и сжатии, стойкость к удару и раздиру, сохраняют прочность при низких температурах (-60°C). Пленки водо- и паронепроницаемы, газопроницаемы, поэтому непригодны для упаковки продуктов, чувствительных к окислению. Изделия из ПЭВД имеют высокую химическую стойкость к кислотам, щелочам и неорганическим растворителям, низкую стойкость к углеводородам, галогенированным углеводородам, маслам и жирам, обладают хорошей свариваемостью нагретым инструментом. Относительно низкая температура размягчения ПЭВД ограничивает область применения материалов для стерилизации паром. В силу химической природы полиэтилена поверхность пленок гидрофобная, поэтому для печати любым из методов необходимо осуществляться предварительную обработки поверхности коронным разрядом электрического тока. Наиболее распространенными для пленок являются методы флексографической печати, тампонной, глубокой и трафаретной печати.

II Полиэтилен среднего давления (ПЭСД) образуется при следующих условиях:

•температура 100-120 °C;

•давление 3-4 МПа;

•присутствие катализатора (катализаторы Циглера - Натта, например, смесь TiCl4 и AlR3);

ПЭСД - это жесткий продукт, состоящий из смеси ПЭВД и ПЭНД (в определенных пропорциях). Плотность ПЭСД составляет от 0.926 г/см до 0.940. Этот материал обладает хорошей устойчивостью к изломам и ударам. Помимо этого, полиэтилен среднего давления более чем ПЭНД устойчив к царапинам и растрескиванию. Применяется этот полиэтилен для производства обычных и термоусадочных пленок, мешков, хозяйственных сумок и винтовых колпачков.

С сущности, характеристики ПЭСД практически ни чем не отличаются от характеристик ПЭНД, в общем, это идентичные виды полиэтилена, не хуже и не лучше друг друга.

III Полиэтилен низкого давления (ПЭНД), или Полиэтилен высокой плотности (ПЭВП), образуется при следующих условиях:

•температура 120-150 °C;

•давление ниже 0.1 - 2 МПа;

•присутствие катализатора (катализаторы Циглера-Натта, например, смесь TiCl4 и AlR3);

ПЭНД - пленки более жесткие, прочные по сравнению с пленками из полиэтилена высокого давления, более мутные и полупрозрачные. Температура размягчения ПЭНД выше, чем у ПЭВД (121°C), поэтому он выдерживает стерилизацию паром. Морозостойкость примерно такая же, как и у ПЭВД (-60°C). Прочность при растяжении и сжатии выше, чем у ПЭВД, сопротивление удару и раздиру - ниже. Из-за линейной структуры макромолекулы ПЭНД ориентируются в направлении течения, поэтому сопротивление раздиру в продольном направлении пленок значительно ниже, чем в поперечном направлении. Проницаемость ПЭНД ниже, чем у ПЭВД, примерно в 5-6 раз. По химической стойкости пленки из ПЭНД превосходят пленки из ПЭВД, особенно по стойкости к маслам и жирам. Качество готовых изделий (пленки и пленочные изделия) определяется, прежде всего, качеством исходного сырья, его постоянными реологическими характеристиками и качеством пластикации в материальном цилиндре экструдера. При этом особое внимание уделяется улучшению качества смешения, получению гомогенного расплава, постоянной объемной производительности.

Основные ГОСТы

•ГОСТ 10354-82

Настоящий стандарт распространен на полиэтиленовую пленку, изготавливаемую методом экструзии из полиэтилена высокого давления (низкой плотности) и композиций на основе, содержащих пигменты (красители), стабилизаторы, скользящие, антистатические и модифицирующие добавки. Пленка применяется в сельском хозяйстве, в мелиоративном и водохозяйственном строительстве; в качестве упаковочного материала в различных отраслях народного хозяйства; для изготовления товаров народного потребления.

Технические условия: Пленка выпускается смотанной в рулоны в виде рукава, полурукава (рукав, разрезанный по всей длине с одной стороны), полотна (рукав, разрезанный по всей длине с двух сторон с обрезкой или без обрезки кромок), рукава с фальцовкой (со складками), рукава, сложенного вдвое и других видов.

 

Толщина пленки различных марок приведена в таблице1:         

Номинальная толщина пленки (мм) для марки МКМ

Предельное отклонение (%) от номинальной толщины пленки


Высшего сорта

Первого сорта

0.040 0.060 0.080 0.100 0.120 0.150 0.200

±20

±30


Пленка должна быть изготовлена в соответствии с требованиями настоящего стандарта по технологическому регламенту, утвержденному в установленном порядке. Пленка не должна иметь трещин, запрессованных складов, разрывов и отверстий.

•ГОСТ 25951-83  полиэтилен пленка производство установка

Настоящий стандарт распространен на термоусадочную пленку, из полиэтилена высокого давления, изготавливаемую методом экструзии с последующим пневмотическим растяжением и предназначенную для штучной и групповой упаковки. Технические требования: Полиэтиленовая термоусадочная пленка должна изготовляться в соответствии с требованиями настоящего стандарта по технологическому регламенту. Пленка должна изготовляться из базовых марок полиэтилена высокого давления по ГОСТ 15337-77 с дальнейшей усадкой в камерах любого типа. Плёнка производится по ГОСТ 25951-83 из первичного полиэтилена высокого давления (ПЭВД) марок 15803-020, 15813-020, 15303-003, 15313-003, сорт высший.

Усадка и предельные отклонения согласно ГОСТ 25951-83:

Толщина (мм)

Усадка, не менее

Предельные отклонения по толщине (%)

40 -150

от 60 до 40% продольное/поперечное

±20


Пленка не является токсичным материалом. Использование ее в нормальных комнатных или атмосферных условиях не требует мер предосторожности. При переработке пленки при температурах, превышающих температуру плавления полиэтилена, возможно выделение оксид углерода, непредельных углеводородов, органических кислот, альдегидов. Предельно допустимые концентрации (ПДК) вредных паров и газов термоокислительной деструкции в воздухе рабочей зоны производственных помещений должны соответствовать требованиям ГОСТ 12.1.005-88 и не должны превышать нормы, утвержденные органами здравоохранения.

Так же всю дополнительную информации можно помотреть в:

ГОСТ 16338-85 (Взамен ГОСТ 16338-77) Полиэтилен низкого давления

ГОСТ 16337-77 Полиэтилен высокого давления

ТУ 2211-145-05766801-2008. Полиэтилен. Технические условия.

 

Рис.3. Полиэтиленовая пленка

. Технологическая схема

Рис. 4. Технологическая схема установки для производства пленки рукавным методом с приемкой рукава вверх:

- пневмозагрузчик;

- бункер;

- экструдер;

- охлаждающее устройство;

- кольцевой бандаж;

- рукав пленки;

- складывающие щеки;

- тянущее устройство;

- полотно пленки;

- ширительно-центрующие валки;

- режущее устройство;

- намоточник.

. Описание технологических операций

Для производства пленок в основном используются термопласты ПЭНП, ПЭВП, ПП, ПА, ПВХ, а также ЛПЭНП, СЭВА и Темплен. Принцип рукавной технологии состоит в следующем. Полимер поступает в экструдер, расплавляется и выдавливается из формующей головки в виде рукава, незамедлительно раздуваемого воздухом до требуемых размеров, и затем складывается в двухслойное полотно.

Существуют три основные схемы производства рукавной пленки: приемкой раздуваемого рукава вверх (наиболее распространена), вниз и в горизонтальном направлении.

Рис. 5. Схемы производства рукавных пленок:

а - приемка раздуваемого рукава вверх;

б - приемка раздуваемого рукава вниз;

в - приемка раздуваемого рукава в горизонтальном направлении.

Достоинства первой схемы производства: рукав висит на тянущих валках, вследствие чего нагрузка на участок его раздувания (вблизи головки) минимальна; нагрузка на рукав от силы его веса распределена равномерно по периметру, что способствует равнотолщинности изделия; обеспечивается получение как толстых, так и предельно тонких пленок; минимальная производственная площадь. Недостатки: медленное остывание рукава по его высоте, и, следовательно, необходимость дополнительных систем охлаждения.

При работе по второй схеме возможен самопроизвольный отрыв рукава и его вытягивание. Вместе с тем рукав быстро охлаждается, что позволяет получать тонкую пленку с большей прозрачностью и дает возможность уменьшить строительную высоту установки. Горизонтальный вариант имеет больше недостатков, чем достоинств. Раздуваемый рукав провисает, охлаждение и напряжения по его периметру становятся неравномерными. Отсюда - разнотолщинность рукава и его разнопрочность в поперечном сечении. Поэтому эту схему применяют для производства пленок с невысокими требованиями, толщиной от 0,2 мм при минимальных степенях раздува, а также из вспенивающихся и термочувствительных (ПВХ) полимеров.

Процесс.

Гранулированный полимерный материал из технологической емкости пневмозагрузчиком доставляется в бункер, где происходит его окончательная подготовка (подсушка, предварительный нагрев) к переработке. Поступив в экструдер, полимер пластицируется, гомогенизируется и под давлением нагнетается в формующую головку, откуда выдавливается в виде рукавной заготовки, сечение которой определяется геометрией кольцевой щели головки. Внутрь заготовки через дорн головки при давлении 20-50 мм вод. ст. (2-4 кПа) подается воздух, под действием которого происходит раздув экструдата в поперечном направлении с образованием пленочного пузыря. Для придания раздуваемому пузырю формоустоичивости его интенсивно охлаждают обдуванием холодным воздухом через дюзы наружного охлаждающего устройства. Для стабилизации формы рукава и ускорения его охлаждения также служит кольцевой бандаж.

Складывающие щеки преобразуют цилиндрический рукав диаметром D в двухслойное полотно. В ряде случаев для уменьшения ширины полотна на нем формируют продольные боковые складки (фальцы) с помощью складывающего фальцовочного устройства треугольной или фасонной формы. Применение фальцовки позволяет уменьшить ширину полотна в 1,5-2 раза. Движение полотна и, соответственно, отвод рукава от головки осуществляется тянущим устройством с плавной регулировкой частоты вращения валков, один из которых или оба гуммируют. Скорость отвода рукава определяет степень продольной вытяжки пленки, а степень раздува - поперечную вытяжку. Ширительно-центрируюшие валки расправляют складки на полотне перед его разрезанием и намоткой в рулоны.

•В современных линиях для производства рукавной пленки обеспечиваются:

•контроль и автоматическое регулирование температуры по зонам материальных цилиндров экструдеров и формующей головки;

•регулирование и контроль давления на входе в головку (до фильтра) и по мере движения в головке;

•автоматический контроль толщины пленки, толщины рукава экструдата, толщины кольцевой щели головки;

•автоматическое поддержание давления воздуха внутри раздуваемого рукава (пузыря); плавная автоматическая регулировка скорости вращения как шнеков, так и отводящих валков.

Во всех рукавных установках обязательно наличие устройств эффективного снятия с рукава и полотна статического электричества. Как правило, современные пленочные линии оснащены комплексом периферийных устройств, обеспечивающих производство различных штучных изделий из полученной пленки, например, пакетов. Основными стадиями технологического процесса являются подготовка сырья, пластикация полимера, формование рукавной заготовки, раздув заготовки и образование рукава (пузыря), его охлаждение и складывание в полотно, контроль качества пленки. Подготовительные операции включают сушку полимера, окрашивание и смешение гранул.

Пластикация полимера.

Для пластикации используются преимущественно одночервячные экструдеры с диаметром шнека D 36,45,63,90,160 и реже 250 мм; с длиной червяка (25-32)D для достижения лучшей гомогенизации расплава и уменьшения пульсации расплава. Чем тоньше пленка или составляющие ее слои - тем длиннее должен быть червяк. Конструкция червяка, как правило, трехзонная (для ПВХ - двухзонная) с длиной зоны плавления (1-2)D, степень сжатия - до 4,2, загрузочная зона червяков - охлаждаемая. Материальный цилиндр обычно имеет 4-6 зон обогрева, причем температура должна регулироваться с точностью ±(1-1,5)°С.

Температура по зонам цилиндра определяется свойствами перерабатываемого полимера и вязкостью его расплава. При выборе режима пластикации учитывают, что температура материального цилиндра должна плавно возрастать от загрузочного отверстия к головке, перед входом в которую она максимальна.

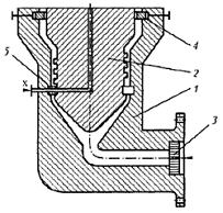
Формование рукавной заготовки происходит в рукавной головке, в которую поток расплава полимера поступает из экструдера и затем выдавливается из кольцевого оформляющего зазора. С этой целью используют угловые или прямоточные головки, обычно с диаметром кольцевого зазора 250-750 мм. Воздух для пневморастягивания рукава подводится через дорн.

Обязательные требования к головкам - отсутствие застойных зон, равномерное и одинаковое по длине каналов движение расплава, равномерный, без пульсаций, выход рукава с равной по периметру толщиной стенки. Конструкция головки должна обеспечивать необходимое гидравлическое сопротивление (давление до 20-30 МПа), а ее устройство - легкую установку и разборку. Материал рабочих поверхностей головки должен быть коррозионностойким. Наибольшее распространение получили головки с центральным входом и винтовым распределительным каналом.

Рис. 6. Схема угловой рукавной головки с центральной подачей расплава.

- корпус головки;

- дорн;

- фильтр;

- мундштук;

- доронодержатель.

Расплав из материального цилиндра экструдера через фильтр поступает в головку снизу по угловому цилиндрическому каналу, обтекает дорн, приобретая кольцевое сечение, и затем выдавливается через формующий зазор между дорном и мундштуком. Протекая через отверстия в дорнодержателе, расплав рассекается на отдельные потоки, которые затем сливаются. Для предотвращения образования стыковых полос в местах соединения потоков расплава на дорне предусматривают спиральные распределительные каналы, турбулизующие и гомогенизирующие его.

Повышению качества пленки (равнотолщинность, отсутствие сварочных полос) способствует применение головок с вращающимися элементами. Вращающиеся головки, как правило, применяются при производстве пленок шириной 5 и более метров. Температура головки оказывает существенное влияние на такие эксплуатационные свойства пленки, как мутность, выражаемую в процентах, и глянцевитость, оцениваемую в условных единицах. Чем больше перепад между температурой головки, равной температуре экструдируемой рукавной заготовки, и температурой окружающего пространства, тем больше в полимере раздуваемого рукава содержание аморфной фазы и, соответственно, тем прозрачнее пленка.

Раздув заготовки и образование пузыря является важнейшей технологической операцией, формирующей физико-механические и эксплуатационные свойства изделия. Параметры этой операции - степень раздува заготовки, продольная вытяжка рукава и его конфигурация в зоне раздувания. Степень раздува ер, при прочих равных условиях оказывает существенное влияние на равномерность пленки по толщине в поперечном направлении. Она определяется из соотношения:

ер= (D/dk)•100%,

где D - диаметр рукава; dk - диаметр рукавной заготовки, равный диаметру кольцевой формующей щели.

Обычно ер не превышает 300%, составляя 200-250%. С увеличением степени раздува повышается прочность рукава в поперечном направлении и снижается - в продольном. Прочность в продольном направлении зависит от долевой вытяжки еп, которая определяется соотношением скоростей отвода рукава Vотв и выдавливания Vв:

еп=( Vотв/ Vв)•100%.

Для получения рукава, равнопрочного в продольном и поперечном направлении, должно соблюдаться соотношение ер ≈ еп.

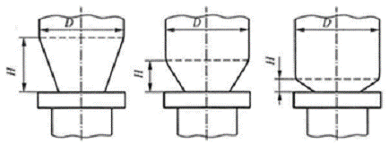
Конфигурация рукава в зоне раздувания зависит от давления воздуха в рукаве, скорости его отвода от головки и от интенсивности охлаждения воздухом, поступающим из наружной охлаждающей системы. Выдавливаемый из головки прозрачный рукав на некотором расстоянии от нее мутнеет. Этот эффект наблюдается у кристаллизующихся термопластов. Условную линию, разделяющую прозрачную и непрозрачную часть рукава, принято называть «линией кристаллизации», выше которой дальнейший раздув рукава не происходит и рукав сохраняет свою цилиндрическую форму с достигнутым диаметром D. (рис. 5) На «линии кристаллизации» температура полимера равна или близка к температуре размягчения.

Рис. 7. Конфигурация рукава в зоне раздувания:

а - вытянутая;

б - нормальная;

в - сильно раздутая;

Н - высота (линия) кристаллизации.

При согласованных параметрах раздува, скорости отвода и темпа охлаждения рукав принимает «нормальную» конфигурацию, при которой высота «линии кристаллизации» H ≈ (0,3-0,4)D.

Охлаждение принимаемого вверх пузыря и его складывание в двухслойное полотно. Поднимающееся вверх тепло от остывающего рукава затрудняет его охлаждение и переход полимера в твердое состояние. Для предотвращения слипания пленки в двухслойном полотне в зазоре между тянущими валками отводящего устройства она должна быть охлаждена до температуры на 25-30°С ниже температуры размягчения перерабатываемого полимера.

Для отвода тепла от рукава используют воздушные, водяные и смешанные системы охлаждения. Воздушное охлаждение применяется для производства пленки с шириной полотна до 6000 мм. Воздух из охлаждающего кольца через дюзы направляется навстречу движению рукава. Заслонки в дюзах позволяют регулировать темп охлаждения рукава воздухом по его периметру и предотвращать как образование боковых пузырей на рукаве, так и отклонение его сечения от кругового. В отдельных конструкциях охлаждающих колец имеются устройства, направляющие воздушный поток вдоль по поверхности раздуваемого рукава.

Весьма эффективны системы с внешним и внутренним охлаждением рукава. При внутреннем охлаждении рукава воздух от вентилятора подается в раздуваемый рукав традиционно - через отверстие в дорне, а отводится через выступающую также из дорна трубку, высота которой может достигать половины высоты раздутого пузыря. Для предотвращения самопроизвольных колебательных движений пузыря в касательном направлении применяют стабилизаторы различной конструкции, в том числе и охлаждающие в виде бандажей, концентричных геометрической оси формующего зазора головки.

Конструкция складывающих щек должна обеспечивать теплоотвод с поверхности рукава и минимальную силу трения при скольжении складываемой в полотно пленки. Тянущее (отводящее) устройство состоит из пары валков - приводного и прижимного. Для прижима используют пружинные или пневматические устройства. Движение тянущих валков определяет скорость отвода пленочного рукава от головки экструдера, от чего зависят продольные вытяжка и ориентация пленки.

В зависимости от вида выпускаемой продукции сложенное двухслойное полотно после тянущих валков поступает либо на обрезку кромок и перемотку в виде двух рулонов, либо на обрезку одного края, либо просто сматывается в бобины. В специальных агрегатах для выпуска пакетов, мешков и пр. пленка сматывается с бобины и попадает на узел сварки и обрезки, откуда выходят уже готовые изделия.

Контроль качества. При изготовлении пленки проводится периодический или непрерывный контроль её толщины по ширине или длине полотна, а также внешний осмотр с целью обнаружения геликов, посторонних включений, непрозрачности и шероховатости. Прочностные и оптические показатели пленки измеряют на специальных приборах в соответствии с ГОСТами.

. Методы испытания

Качество пленки и пленочных изделияй определяется, прежде всего, качеством исходного сырья, его постоянными реологическими характеристиками и качеством пластикации в материальном цилиндре экструдера. При этом особое внимание уделяется улучшению качества смешения, получению гомогенного расплава, постоянной объемной производительности. В качестве одного из вариантов улучшения качества расплава разрабатываются и постоянно совершенствуются форма и конструкция пластицирующих систем применительно к конкретному материалу.

Для проведения испытаний от каждого рулона по всей ширине пленки в рулоне отрезают две полосы длиной не менее 0,2 м площадью 0,5-2 м каждая на расстоянии не менее 1 м друг от друга.

• Смещение пленки по торцу рулона (±В) измеряют при помощи угольника по ГОСТ 3749-77 или ГОСТ 5094-74 или другой нормативно-технической документации и металлической линейки по ГОСТ 427-75 с ценой деления 1 мм


• Толщину пленки измеряют по ГОСТ 17035-86 по методу А в комнатных условиях. Измерения проводят по всей ширине полос без предварительного кондиционирования.

Первое измерение толщины проводят на расстоянии (10±2) мм от края полосы, последующие-через каждые (50±5) мм для пленки шириной до 1500 мм и через (300±5) мм для пленки шириной свыше 1500 мм.

Для измерений применяют приборы и устройства по ГОСТ 10593-74, ГОСТ 6933-81, ГОСТ 11007-66, ГОСТ 11098-75 или другие приборы с погрешностью измерения прибора в зависимости от толщины пленки по ГОСТ 17035-86 с измерительными поверхностями «плоская/плоская».

По результатам измерений определяют максимальное и минимальное значения толщины пленки в рулоне и отклонения от номинальной толщины. За результат испытания принимают максимальное и минимальное отклонения от номинальной толщины.

• Ширину пленки в рулоне определяют по двум линиям на расстоянии (5±2) см от концов каждой из полос. Измерения проводят металлической линейкой с ценой деления 1 мм по ГОСТ 427-75 или другим измерительным инструментом с той же ценой деления.

По результатам четырех измерений определяют максимальное и минимальное значения ширины пленки в рулоне и отклонения от номинального значения. За результат испытания принимают максимальное и минимальное отклонения от номинальной ширины.

• Длину пленки измеряют в процессе изготовления счетчиком метража с погрешность не болей 1 %.

Количество пленки (S) в квадратных метрах вычисляют по формулам:

=L·B          -для полотна;=L·2B      -для рукава и полурукава;=L·(2B+4F)      -для рукава с фальцовкой;=L·4B   -для рукава, сложенного вдвое,

где L-длина пленки, измеряемая в процессе изготовления, м;

В- номинальная ширина пленки в рулоне, м;глубина фальцовки, м.

При возникновении разногласий изменение длины пленкинедолжно быть более ±3 % по сравнению с длиной пленки, измеренной в процессе изготовления.

• Внешний вид пленки определяют визуально без применения увеличительных приборов.

• Прочность при растяжении и относительное удлинение при разрыве определяют по ГОСТ 14236-81 без предварительного кондиционирования пленки на разрывной машине любого типа, шкала нагрузок которой выбирается так, чтобы измеряемое усилие составляло от 5 до 90 % от номинального значения шкалы, а расстояние между зажимами-не менее 500 мм.

Испытания проводят в комнатных условиях на образцах шириной (15,0±0,2) мм, вырезанных в продольном и поперечном направлениях из пленки, отобранной в соответствии с п. 5.1.

Образцы вырезают любым режущим инструментом, позволяющим получить образец с прямыми параллельными сторонами и ровными, гладкими краями без зазубрин и других видимых дефектов.

Скорость раздвижения зажимов испытательной машины-(500,0±50,0) мм/мин, расчетная и зажимная длина-(50,0±1,0) мм.

Допускается измерение относительного удлинения на образце с расчетной и зажимной длиной (25,0±1,0) мм. Относительное удлинение при разрыве определяют по изменению расчетной длины или расстояния между зажимами.

При разногласиях в оценке относительного удлинения испытания проводят на образцах с расчетной и зажимной длиной (50,0±1,0) мм.

За результат испытаний пленки в рулоне принимают среднее арифметическое результатов пяти определений отдельно в продольном и поперечном направлениях. При этом минимальное значение измерений в одном направлении не должно быть ниже норм, установленных в таблицах ГОСТа 10354-82 , более чем на 10 %. В случае отклонения хотя бы одного значения от допускаемого испытания повторяют на удвоенном количестве образцов от того же рулона. За результат повторных испытаний принимают среднее арифметическое результатов 10 определений. За результат испытания партии принимают минимальное из средних арифметических значений прочности при растяжении и относительного удлинения при разрыве.

•За статический коэффициент трения принимают значение тангенса угла наклона плоскости, при котором начинается скольжение двух поверхностей испытуемой пленки.

Аппаратура


Прибор рис.9. состоит из установочной плиты 1, снабженной уровнем и регулировочными винтами, электромеханическим приводом, поворотной плиты 2, способной изменять угол наклона, измерительной шкалы 3, фиксирующей угол наклона плиты, и нагрузочного бруска 4. Остановка привода и фиксирование угла наклона происходят автоматически.

Подготовка к испытанию

Образцы для испытаний изготовляют не ранее чем через сутки после изготовления пленки.

Из двойного слоя пленки (рукава, полурукава, полотна, сложенного вдвое) вырезают не менее трех пар образцов размером (10ґ32)±0,5 и (6ґ12)±0,5 см так, чтобы длинный край образца соответствовал продольному направлению пленки.

Проведение испытания

Прибор устанавливают на рабочем столе в горизонтальном положении по уровню. Образец размером (10ґ32)±0,5 см, состоящий из двух слоев, помещают вдоль наклонной плиты. Край нижней пленки вставляют в зажимы, верхний слой пленки снимают.

На нагрузочном бруске двумя зажимами закрепляют образец пленки размером (6ґ12)±0,5 см, также сняв при этомверхнийслой. Пленка на плите и на бруске должна быть натянута ровно, без складок и морщин.

Включают тумблер прибора «Сеть», при этом на пульте управления зажигается лампа «220 В».

Поворотную плиту приводят в горизонтальное положение нажатием кнопки «Вниз». При остановке плиты в горизонтальном положении стрелка шкалы должна устанавливаться в нулевое положение.

Нагрузочный брусок устанавливают на поворотной плите, при этом рамка бруска должна находиться на линии упоров в рабочей щели бесконтактного выключателя. О правильном расположении бруска на плите сигнализирует лампа «Готов» на пульте управления.

Нажимают кнопку «Вверх», при этом включается привод и начинается подъем плиты. При достижении момента начала скольжения бруска происходит отключение привода и гаснет лампа «Готов».

Снимают показание значения угла трения.

Нажатием кнопки «Вниз» стол возвращают в исходное положение.

Значение статического коэффициента трения определяют как значение тангенса угла наклона плоскости.

За результат измерений пленки в рулоне принимают среднее арифметическое трех определений.

За результат испытания принимают среднее арифметическое результатов.

• Удельное поверхностное электрическое сопротивление определяют на пленке толщиной от 0,03 мм и более по ГОСТ 6433.2-71 на образцах в форме диска диаметром 100 мм, при комнатных условиях по ГОСТ 6433.1-71 и напряжении 100 В.

Измерение производят с помощью электродов, изготовленных из нержавеющей стали, латуни или благородного металла. Электроды должны иметь следующие размеры:

измерительный электрод диаметром (50,0±0,2) мм;

высоковольтный электрод диаметром не менее 75 мм;

охранный кольцевой электрод шириной не менее 10 мм.

Контакт электрода с образцом создается давлением.

Допускается использовать измерительные электроды диаметром (25,0±0,2) мм, высоковольтный электрод диаметром не менее 40 мм и охранный электрод шириной не менее 5 мм.

Испытания проводят на трех образцах, изготовленных после выдержки пленки в течение суток при комнатных условиях.

Не допускается протирать и промывать поверхность образцов перед испытанием.

За результат измерения пленки в рулоне принимают среднее арифметическое результатов трех измерений.

За результат испытания принимают максимальное из средних арифметических значений удельного поверхностного сопротивления

• Гигиенические показатели пленки определяют по ГОСТ 22648-77.

Соотношение площади поверхности образцов (см2) к объему жидкости (см3) должно быть 2 : 1.

• Водную вытяжку для определения запаха и привкуса готовят следующим образом: образец пленки размером 15ґ10 см. разрезанный на несколько полос произвольного размера, заливают водой, нагретой до 80 °С, и выдерживают в течение 24 ч при комнатной температуре

• Определение изменения цвета и прозрачности дистиллированной воды после выдержки в ней пленки

Таблица 2

Наименование компонента

Номер шкалы


1

2

3

4

5

Раствор формальдегида, см

0

0,03

0,05

0,07

0,10

Дистиллированная вода, см

3

2,97

2,95

2,93

Содержание формальдегида, мг

0

0,0003

0,0005

0,0007

0,001


Образец размером 20ґ20 см, разрезанный на несколько полос произвольного размера, помещают в стеклянный стакан и три раза промывают горячей дистиллированной водой по ГОСТ 6709-72 при энергичном перемешивании стеклянной палочкой. Затем образец (полосы) чистым пинцетом переносят в чистую стеклянную колбу с пришлифованной стеклянной пробкой вместимостью 1 л и заливают 800 см дистиллированной воды, нагретой до 80 °С Одновременно в такую же колбу без образца заливают такое же количество дистиллированной воды. Обе колбы помещают на 4 ч в термостат при 80 °С. По истечении того времени вытяжку сливают с образца, отбирают по 50 см вытяжки и контрольной пробы воды, помещают в два цилиндра из бесцветного стекла и сравнивают визуально цвет и прозрачность вытяжки с контрольной пробой воды.

. Применение полиэтиленовой пленки

Упаковочная отрасль - вот где более всего востребована полиэтиленовая пленка. Упаковочные пленки присутствуют в нашей жизни повсеместно: в них упакованы многие продукты питания, канцелярские товары, одежда и многое другое. Любой из нас, приходя в современный супермаркет и проходя мимо проездов в складские помещения, сталкивается с продукцией упакованной в полиэтилен.

Существуют различные виды упаковки из полиэтилена: стретч-пленка, пищевая пленка, термоусадочная плёнка и другие виды пленок.

Основные свойства полиэтиленовой пленки:

• прозрачность;

• защита товаров от: влаги, пыли, бактерий, микроорганизмов и других внешних факторов;

• влаго- и пыленепроницаемость;

• гибкость и хорошая эластичность;

• морозостойкость;

• абсолютная гигиеничность.

В соответствии с Российским гигиеническим сертификатом, полиэтиленовые пленки безопасны для здоровья. Поэтому могут контактировать с пищевыми продуктами, кожей человека, парфюмерно-косметическими средствами и товарами для детей.

Полиэтиленовая пленка широко применяется для упаковки продукции мебельной отрасли, ковролинов, вычислительной техники, пищевых товаров, товаров широкого пользования. Пленка из полиэтилена бывает 1 и 2 сорта. Изготавливается она методом экструзии из ПВД. Такая пленка находит свое применение для строения теплиц и парников в сельскохозяйственной отрасли. Ей укрывают силосные ямы, рассаду. Температурный режим, при котором возможна эксплуатация полиэтиленовой пленки находится в диапазоне -50 С…+60 С.

Пленка, которая изготавливается из ПЭВД или ПЭНД обладает следующими свойствами:

• высокая плотность;

• эластичность;

• теплоизоляция;

• гидроизоляция;

• пароизоляция;

• устойчивость к ударным воздействиям.

Пленка очень широко применяется в строительстве. Она используется не только как дополнительный материал при кровельных, фасадных или других работах, а и как средство защиты строительных объектов от влияния внешней среды (дожди, снег и т.п.).

Она имеет несколько видов: строительная, армированная, техническая, стрейч. Все эти виды отличаются по своим техническим свойствам и области применения.

Строительная и техническая пленка. Сырьем для такой пленки является полиэтилен вторичной переработки. Но, не смотря на это, ее характеристики практически сравнимы с характеристиками, которыми обладает пленка 1 сорта. Единственное отличие в том, изделие 1 сорта имеет больший процент светопропускания. Именно из-за малого светопропускания строительная техническая пленка не пригодна для применения в сельском хозяйстве. Но у строительной пленки есть большое преимущество в цене.

Армированная пленка. Это материал состоит из трех слоев: внешние слои - светостабилизированная пленка, а внутренний - армирующая сетка. За счет армированной сетки такая пленка обладает большой механической прочностью, она устойчива к растяжениям. Последнее свойство ставит ее на ступень выше каких-либо других укрывных рулонных материалов. Еще одним достоинством армированной пленки является ее способность выдерживать абсолютно любые погодные условия. Повреждения армированной пленки легко устраняются, так как они не «расползаются» дальше по полотну. Широко применяется в строительстве: укрывает строителей и леса от любой непогоды и несчастных случаев.

Стрейч пленка. Применяется в качестве упаковочного материала. Изделия такого вида обладают уникальными в своем роде качествами:

• способность растягиваться в 2-3 раза;

• высокая стойкость;

• большая прочность к повреждениям типа разрыв и прокол;

• «слипание» слоев пленки между собой, не прилипая к продукции;

• не оказывает вредного воздействия на упакованную продукцию;

• герметичность;

• широкий диапазон температур использования;

• безопасна;

Список используемой литературы

• ГОСТ 16338-85 (Взамен ГОСТ 16338-77) Полиэтилен низкого давления

• ГОСТ 16337-77 Полиэтилен высокого давления

• ГОСТ 10354-82 Полиэтиленовая пленка

• ГОСТ 25951-83 Термоусадочную пленка

• ТУ 2211-145-05766801-2008. Полиэтилен. Технические условия.

• Материалам журнала "Полимерные материалы"

• «Технология полимеров» В. А. Воробьев, Р. А. Адрианов, 1971г.

Похожие работы на - Технология получения полиэтиленовой пленки методом раздува

 

Не нашли материал для своей работы?
Поможем написать уникальную работу
Без плагиата!
Без нейросетей!