Технология выращивания монокристаллов германия на ФГУП 'Германий'
СОДЕРЖАНИЕ
ВВЕДЕНИЕ
. Технологическая часть
1.1 Общие сведения о германии
.2 Области применения германия
.3 Технология получения германия
.4 Выращивание монокристаллов из расплава
.4.1 Метод Чохральского
.4.2 Метод вертикальной направленной кристаллизации (ВНК)
.4.3 Метод горизонтальной направленной кристаллизации (ГНК)
.4.4 Оборудование для роста кристаллов германия по методу
Чохральского
2. Автоматизация
.1 Описание технологического процесса выращивания
монокристаллов германия как объекта управления
.2 Выбор контролируемых и регулируемых параметров процесса
выращивания монокристаллов германия
.3 Выбор приборов и средств автоматизации для АСУ ТП
выращивания монокристаллов германия
.3.1 Автоматическое регулирование температуры тигля
.3.2 Автоматическое регулирование скорости перемещения тигля
.3.3 Автоматическое регулирование скорости вращения тигля
.3.4 Автоматическое контроль давления аргона в печи
.4 Выбор микропроцессорного контроллера для АСУ ТП
выращивания монокристаллов германия
2.5 Программирование контроллера Simatic S7-300
2.6 Выбор ЭВМ для АСУ ТП выращивания монокристаллов германия
.7 Структура АСУ ТП выращивания монокристаллов германия
.8 Описание функциональной схемы автоматизации процесса
выращивания монокристаллов германия
. Специальная часть. Расчет АСР температуры тигля
.1 Нахождение математического описания объекта управления
.2 Выбор закона регулирования
.3 Определение настроек регулятора
.4 Проверка системы на устойчивость
.5 Построение переходного процесса АСР
.6 Проверка АСР на грубость
. Электроснабжение и электрооборудование
.1 Описание общей системы электроснабжения предприятия в
целом и проектируемого участка
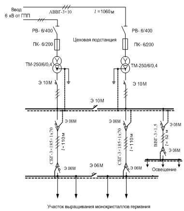
.2 Принципиальная однолинейная схема электроснабжения
проектируемого участка
.3 Расчет электрического освещения участка и общей осветительной
нагрузки
.4 Расчет электрической нагрузки
4.5 Выбор устройств компенсации реактивной мощности
4.6 Расчет мощности и выбор трансформаторов цеховой
трансформаторной подстанции
.7 Выбор кабелей напряжением 0,4 кВ и 6 кВ
.8 Определение годовой стоимости электроэнергии
4.9 Основные меры безопасности при эксплуатации
электроустановок
. Безопасность жизнедеятельности
.1 Анализ опасных и вредных производственных факторов
.2 Технические и организационные мероприятия по охране труда
.3 Электробезопасность
.4 Мероприятия по производственной санитарии
.4.1 Расчет производственного освещения
.4.2 Искусственное освещение
.4.3 Расчет воздухообмена
.5 Мероприятия по пожарной и взрывной безопасности
.6 Охрана окружающей среды
.7 Безопасность жизнедеятельности в чрезвычайных ситуациях
6. Экономическая часть
6.1 Краткая характеристика объекта автоматизации
.2 Технико-экономическое обоснование проекта автоматизации
.2.1 Определение условно-годовой экономии по изменяющимся
статьям затрат
.2.2 Определение статических показателей эффективности
.2.3 Оценка динамических показателей эффективности проекта
.3 Расчет капитальных вложений и амортизационных отчислений
.4 Организация труда и расчет численности рабочих
.4.1 Организация труда
.4.2 Расчет численности рабочих
.5 Расчет годового фонда заработной платы
.6 Расчет себестоимости продукции
.7 Расчет технико-экономических показателей
ЗАКЛЮЧЕНИЕ
ВВЕДЕНИЕ
В наши дни производство редких металлов является важнейшей составляющей в
хозяйстве высокоразвитых стран как основа удовлетворения запросов многих
современных отраслей - энергетики, космонавтики, радиотехники, электроники и
многих других. С каждым годом растёт роль редких рассеянных металлов в
различных отраслях промышленности, что обусловлено специфичностью и уникальностью
их свойств. Одним из наиболее востребованных элементов является германий.
В 1948 году был создан первый полупроводниковый транзистор на кристалле
германия. Это открытие ознаменовало начало быстрого развития новой отрасли
техники - полупроводниковой электроники. Потребовалось значительное количество
монокристаллов, в связи с чем, металлургия германия за короткий срок стала
высокоразвитым производством. Германий применяется в самых разнообразных
областях новой техники: военной и атомной промышленности, радиоэлектронике и
радиотехнике, химии и гальванотехнике, машино- и приборостроении. Наряду с этим
находят широкое применение сплавы на его основе с алюминием, медью и другими
металлами. Высокие темпы развития таких отраслей как ядерная техника,
радиотехника, а также ряд отраслей новой техники определяют непрерывно
возрастающий спрос на этот металл. В связи с этим рассматривается дальнейшее
расширение выпуска германия для удовлетворения нужд народного хозяйства.
Основное внимание уделяется увеличению качества получаемой продукции.
Перед металлургией ставится задача повышения качества металла и снижения
себестоимости, для чего требуется проведение новых исследований. Развитие
цветной металлурги как отрасли возможно за счёт разработки новых эффективных
методов извлечения этих металлов из различных видов сырья, либо за счет
совершенствования уже существующих технологий производства.
Данный дипломный проект посвящён усовершенствованию существующей
стандартной технологии выращивания монокристаллов германия на ФГУП “Германий” ,
путем внедрения автоматической системы регулирования (АСР) температуры тигля.
1. Технологическая часть
.1 Общие сведения о германии
автоматизированный
выращивание монокристалл германий
Существование и свойства германия были предсказаны в 1871 г. Д. И.
Менделеевым, который назвал его экасилицием. Новый элемент был открыт А.
Винклером в 1886 г. во Фрайберге (Германия) в минерале аргиродите 4Ag2S • GeS2 и
назван германием в честь родины ученого. Практический интерес к этому элементу
возник в период второй мировой войны в связи с развитием полупроводниковой
электроники. Начало промышленного производства германия относится к 1945¸1950 гг. [1].
Германий - химический элемент IV группы периодической системы. В свободном состоянии германий - вещество
серебристого цвета с металлическим блеском; в мелкодисперсном состоянии имеет
серый цвет. Германий характеризуется сравнительно высокой твердостью, большой
хрупкостью, не может быть подвергнут холодной обработке давлением.
Деформирование возможно при температурах, близких к температуре плавления, и в
условиях всестороннего неравномерного сжатия [1].
1.2 Области применения германия
Открытия, сделанные в области физики твердого тела и, в частности,
относящиеся к полупроводникам, в последнем десятилетии нашли широкое
практическое применение. Первым большим шагом в использовании полупроводниковых
свойств материалов было главным образом выявление пригодности для этой цели
высокочистого германия. Несмотря на то, что был открыт целый ряд других
полупроводниковых материалов, германий остается самым важным из них и находит в
этой области наибольшее применение [1].
Благодаря полупроводниковым свойствам германий впервые стали применять в
кристаллических диодах еще во время второй мировой войны. В 1948 г. была
установлена возможность применения германия в триодах, или транзисторах. С тех
пор продолжающиеся исследования и усовершенствования открыли для германиевых
полупроводниковых приборов совершенно новые области применения. Применение
полупроводниковых приборов позволило усовершенствовать радиоаппаратуру,
усилители для глухих, оборудование для проволочной связи и уменьшить их
габариты. Замена электронных ламп транзисторами привела к увеличению дальности
действия телефонной связи.
Германиевые силовые выпрямители, применяемые в промышленности, по
сравнению с более старыми типами обладают рядом преимуществ. Некоторые типы
оказались пригодными для промышленности, и их применение быстро растет.
Германий прозрачен для инфракрасного излучения. Это свойство позволяет
применять его для инфракрасной спектроскопии и в различных оптических приборах.
Специальные германиевые приборы применяются также в очень чувствительных
инфракрасных детекторах, используемых в радарных устройствах. Благодаря
высокому коэффициенту преломления и высокой дисперсии германиевые стекла (в
которых двуокись германия замещает двуокись кремния) можно применять в
специальных оптических устройствах. Германат магния применяется в качестве
фосфора в люминесцентных лампах.
Разработана конструкция германиевого термометра сопротивления,
позволяющего измерять температуры, близкие к абсолютному нулю. Исследовалась
возможность применения германия в качестве катализатора, оказавшегося
перспективным в некоторых областях применения.
Поскольку сплавы золота с германием способны расширяться при
затвердевании, рассматривалась возможность их применения для зубного
протезирования и прецизионного литья. Легкоплавкую эвтектику золота с германием
можно применять в качестве золотого припоя, а также для понижения температуры
плавления золотосодержащих сплавов. Благодаря значительному изменению
проводимости под действием излучения германий используется в различных
фотодиодах и фотосопротивлениях. Доступность германия способствовала
дальнейшему изучению возможности его применения, как в области электроники, так
и для других целей [2,3].
.3 Технология получения германия
На рисунке 1 видно, что технология переработки германиевого сырья
включает шесть основных стадий [1]:
1) получение технического тетрахлорида германия из германиевых концентратов
в реакторе разложения;
2) очистку технического тетрахлорида германия по средствам экстарции,
дистилляции, ректификации;
) получение диоксида германия из очищенного тетрахлорида германия с
помощью гидролиза;
4) восстановительный обжиг диоксида германия с получением неочищенного
металла;
5) получение поликристаллического германия с помощью зонной плавки;
6) выращивание монокристаллов германия.
Особенность разложения определяется составом сырья и количеством
содержащегося в нем диоксида германия.
Общее правило: чем больше германия в сырье, тем больше соотношение
соляной кислоты и концентрата, требующихся для переработки. Это положение
обусловлено тем, что чем больше концентрация германия в сырье, тем больше
соляной кислоты расходуется на образование тетрахлорида германия и выводится в
виде хлорида [4].
Рисунок 1.1 - Общая технологическая схема переработки германиевого сырья
Технология хлорирования различного вида сырья неодинакова, в результате
чего представляется возможным разделить их на три группы:
- продукты, содержащие германий в окисленном виде (концентраты
и кеки);
- отходы, содержащие германий в виде мелкодисперсного
металлического порошка (шлифпорошки);
- кусковые отходы металлического германия.
Извлечение германия из концентратов и кеков основано на обработке их
соляной кислотой, при этом пульпу медленно нагревают до 105¸110 °С, германий переходит в тетрахлорид по реакции:
GeO2 +
4HCl ® GeCl4 + 2H2O (1.1)
Простое механическое извлечение германия из отработанных шлифпорошков
методами обогащения чрезвычайно затруднено, особенно для мелких его фракций.
Поэтому для переработки шлифпорошков наиболее целесообразно применять
гидрометаллургические способы.
Технологический процесс переработки кусковых отходов основан на реакции,
протекающей с металлом до образования парообразного хлорида германия:
Ge + 2Cl2 = GeCl4 + 543,9 кДж. (1.2)
Все примеси, встречающиеся в техническом тетрахлориде германия можно
разделить на несколько групп:
- хлориды различных элементов, образующихся наряду с
тетрахлоридом германия при вскрытии сырья;
- растворенные газы, хлористый водород;
- механические взвеси;
- органические соединения, применяемые или образующиеся на
отдельных стадиях переработки и очистке германиевого сырья.
Наиболее нежелательными являются примеси первой группы, особенно хлорид
мышьяка. Основным критерием чистоты германия принято считать его удельное
сопротивление, которое определяется концентрацией примесных компонентов (Cu, Fe, Pb, P, As и др.). Следовательно, главное при очистке хлорида германия
- удаление хлоридов этих примесей [4,5].
Наиболее широкое значение в практике получения германия имеют такие
методы очистки как дистилляция, экстракция, ректификация [1,5]. Дистилляция
используется как предварительная очистка тетрахлорида германия от примесей, в
том числе механических и органических. Экстракция тетрахлорида германия соляной
кислотой - очистка тетрахлорида германия от примесей, главным образом, от
мышьяка, после его предварительного окисления до пятивалентного состояния.
Ректификация тетрахлорида германия - окончательная его очистка от мышьяка и
других примесей.
Процесс получения диоксида германия осуществляется в установке
непрерывного действия, состоящей из двух последовательно расположенных бачков -
гидролизеров с мешалками и двух вакуумных фильтров. Гидролизеры охлаждаются
пожарохозяйственной водой. Получение двуокиси германия осуществляется по
реакции:
GeCl4
+ 2H2O = GeO +
4HCl (1.3)
Известны способы прямого восстановления тетрахлорида германия до металла,
минуя промежуточную операцию получения двуокиси германия, например,
восстановление тетрахлорида германия особо чистым цинком. Однако глубокая
последующая очистка германия от следов цинка - задача очень трудная.
Существует также способ восстановления тетрахлорида германия водородом,
совмещенный с кристаллизацией металла на разогретой подложке.
GeCl4
+ 2H2 = Ge + 4HCl
(1.4)
Реакция обратима и протекает вправо лишь при очень большом избытке
водорода и низкой концентрации HCl в
газовой фазе. Достигнуть высокого извлечения в компактный металл не удается.
Поэтому способ водородного восстановления тетрахлорида германия имеет
ограниченное применение лишь для получения эпитаксиальных пленок. Процесс
интересен тем, что из тетрахлорида германия можно сразу получить металл высокой
чистоты. Производство же германия полупроводниковой чистоты ведут
восстановлением диоксида германия. Выбор в качестве восстановителя водорода
объясняется его высокой восстановительной способностью, сравнительно не сложной
технологией глубокой очистки и простотой удаления побочного продукта реакции -
паров воды и избытка водорода.
Процесс получения металлического германия подразделяется на три основные
операции:
- восстановление диоксида германия с получением металлического
порошка;
- расплавление полученного порошка германия до жидкого металла;
- направленная кристаллизация металла с получением компактного
поликристаллического королька германия.
Процесс получения королькового металла осуществляется в графитовых
лодочках в токе водорода, в трубчатых печах полунепрерывного действия с двумя
последовательными температурными зонами:
- зона восстановления 680¸710 °C;
- зона плавления 1050¸1100 °C.
Давление водорода в линии должно быть не менее 0,3 атм. Водород подается
навстречу движения лодочек - избыток водорода сжигается на выходе из печи в
атмосфере воздуха. Единовременная загрузка диоксида германия в лодочку
составляет 1500¸2000 грамм. Скорость движения лодочек с диоксидом поддерживается около 2¸2,5 мм/мин. Время нахождения лодочек
в печи 25¸26 часов.
Загрузка и разгрузка печей производится периодически с интервалом в 4 часа.
В результате взаимодействия в зоне восстановления диоксида германия с
газообразным водородом получение металлического германия идет в две стадии по
реакциям:
GeO2(тв)
+ H2(газ) = GeO(тв) + Н2O(газ) (1.5)
GeO(тв)
+ H2(газ) = Ge(тв) + Н2O(газ)
(1.6)
GeO2(тв)
+ 2H2(газ) = Ge(тв) + 2Н2O(газ)
(1.7)
Операция восстановления протекает ступенчато в две стадии с образованием
промежуточного продукта - оксида германия GeO, который при температуре более 710 °C подвергается сублимации
(превращается в газ, минуя жидкое состояние). При направленной кристаллизации
происходит перераспределение имеющихся в металле примесей между жидкой и
твердой фазами. Большинство примесей оттесняется фронтом кристаллизации в
жидкую фазу и скапливается в хвостовой части королька; в этой части наблюдается
резкое падение сопротивления.
Металл после восстановления с плавкой и направленной кристаллизацией
имеет удельное сопротивление 35¸40 Ом×см. Скорость процесса восстановления диоксида германия водородом зависит
от температурного режима, количества подаваемого водорода, толщины слоя
диоксида и других параметров [5].
Методы направленной кристаллизации зонной плавка основаны на том, что
концентрация примесей в кристалле отличается от концентрации их в расплаве, из
которого этот кристалл образуется. Распределение примеси между кристаллом и
расплавом характеризуются коэффициентом распределения:
К = Ств / Сж, (1.8)
где Ств - концентрация примеси в твердой фазе, Сж - концентрация её в
жидкой фазе.
Коэффициент распределения большинства примесей сильно отличается от
единицы, что обуславливает эффективность очистки германия перекристаллизацией
из расплава. Для очистки германия на практике применяют 2 метода: направленную
кристаллизацию и зонную плавку.
При направленной кристаллизации расплав постепенно кристаллизуется от
одного конца контейнера к другому. Во время направленной кристаллизации
происходит сегрегация примесей. Примеси с К > 1 концентрируются в части
слитка, кристаллизующейся вначале. Примеси с К < 1 - в части слитка,
кристаллизующейся последней. Многократное повторение этого процесса при
удалении после каждой операции загрязненных концов кристалла позволяет
осуществить эффективную очистку германия. Однако необходимость многократной
перегрузки очищенного металла снижает эффективность очистки за счет попадания
случайных загрязнений. Поэтому данный способ применяют только для
предварительной очистки германия после восстановления. Более глубокую очистку
производят методом зонной плавки.
Процесс очистки зонной плавкой заключается в многократном прохождении
расплавленных зон через длинный слиток очищаемого материала; при этом примеси с
К > 1 и с К < 1 концентрируются на противоположных концах слитка. То
обстоятельство, что процесс зонной плавки можно повторять несколько раз без
извлечения материала из аппарата, способствует достижению более высокой
чистоты, чем при направленной кристаллизации. Германий, очищенный зонной
плавкой, при правильном ведении процесса и соблюдении особых мер
предосторожности от случайных загрязнений имеет удельное сопротивление при
комнатной температуре выше 50 Ом . см [4,5].
1.4 Выращивание монокристаллов из расплава
.4.1 Метод Чохральского
В настоящее время более половины технически важных кристаллов выращивают
из расплава. Этими методами выращивают элементарные полупроводники и металлы,
оксиды, галогениды, халькогениды, вольфраматы, ванадаты, ниобаты и другие
вещества.
Один из наиболее широко используемых промышленных методов получения
полупроводниковых и других монокристаллов это метод Чохральского. Разработан в
1918 году. Исходный материал загружают в тугоплавкий тигель и нагревают до
расплавленного состояния. Затем затравочный кристалл в виде тонкого стержня
диаметром в несколько мм устанавливают в охлаждаемый кристаллодержатель и
погружают в расплав. Столбик расплава, осуществляющий связь растущего кристалла
с расплавом, поддерживается силой поверхностного натяжения и формирует мениск
между поверхностью расплава и растущим кристаллом. При этом граница
расплав-кристалл, т. е. фронт кристаллизации, оказывается расположенной над
поверхностью расплава. Высота расположения границы раздела зависит от степени
перегрева расплава и условий теплоотвода от затравки. После частичного
оплавления торца затравки ее вместе с растущим на ней кристаллом вытягивают из
расплава. В результате теплоотвода через затравку на ней начинается
ориентировочная кристаллизация. Диаметр растущего кристалла регулируется путем
подбора скорости вытягивания и температуры расплава. В процессе вытягивания
кристалл вращают с целью перемешивания расплава и выравнивания температуры на
фронте кристаллизации.
Преимущество метода вытягивания из расплава по сравнению с другими
методами заключается в том, что кристалл растет в свободном пространстве без
контакта со стенками тигля, при этом достаточно легко можно менять диаметр
растущего кристалла и визуально контролировать рост. Методами вытягивания из
расплава в настоящее время выращивают большинство полупроводниковых (в их числе
и германий) и диэлектрических материалов, синтетических кристаллов драгоценных
камней. Технологические особенности проведения процесса определяются свойствами
выращиваемого материала и требованиями, как по геометрическим параметрам, так и
по физико-химическим свойствам, предъявляемыми к монокристаллу.
Рисунок 1.2 - Схема метода Чохральского
В общем случае выращивание монокристаллов полупроводников методом
Чохральского можно проводить как в вакууме, так и в атмосфере инертного газа,
находящегося под различным давлением. Выращивание монокристаллов разлагающихся
полупроводниковых соединений методом жидкостной герметизации проводят под
высоким давлением инертного газа (10Мпа). Метод Чохральского может
осуществляться как в контейнерном, так и бесконтейнерном вариантах.
Наиболее существенным недостатком метода Чохральского является
значительная химическая неоднородность выращиваемых кристаллов, выражающаяся в
монотонном изменении состава последовательных слоев кристалла вдоль направления
роста [6].
.4.2 Метод вертикальной направленной кристаллизации (ВНК)
ВНК создан в 1924 И. В. Обреимовым и Л. В. Шубниковым. Выращивание
монокристаллов осуществляется в вертикальном неподвижном трубчатом контейнере
цилиндрической формы, охлаждаемом снизу струей сжатого воздуха. Для обеспечения
монокристаллического роста дно контейнера выполняется в виде конуса с острой
вершиной, что создает условия для конкурентного роста, когда из множества
зарождающихся в самом начале процесса кристалликов «выживает лишь один,
наиболее быстро растущий кристалл. Именно его кристаллографическая ориентировка
определяет ориентировку выращиваемого монокристалла. Скорость перемещения вверх
границы раздела фаз регулируется интенсивностью охлаждения нижней части
контейнера, цилиндрическая форма которого обеспечивает постоянство поперечного
сечения растущего кристалла.
В 1925 году американский исследователь П. Бриджмен внес существенные
конструктивные изменения в описанный выше метод ВНК. Вместо струи сжатого
воздуха используется иная система охлаждения цилиндрического контейнера с
расплавом. В вертикальном варианте метода Бриджмена контейнер подвижен: по мере
роста кристалла контейнер опускается вниз и постепенно выходит наружу из
нагрето печи, охлаждаясь окружающим воздухом (без принудительного обдува).
Помимо устранения операции обдува контейнера новый метод выгодно отличается от
своего предшественника также возможностью управлять скоростью кристаллизации,
которая приблизительно соответствует скорости опускания контейнера с расплавом,
тогда как в предыдущем методе управление скоростью кристаллизации весьма
затруднено.
Д. Стогбаргер в 1937 внес новые конструктивные изменения в процесс ВНК: В
методе Стокбаргера единый спиралеобразный нагреватель электросопротивления
разделен на две отдельные секции, питаемые автономно и позволяющие обеспечивать
заданный температурный профиль в печи. Между этими секциями помещается
специальная кольцеобразная диафрагма, предназначенная для обеспечения резкого
перепада температур в зоне кристаллизации. В начальный период процесса ВНК
контейнер располагается в верхней (горячей) камере и после расплавления шихты
он постепенно опускается с заданной скоростью через диафрагму в нижнюю (теплую)
камеру. В некоторых более поздних модификациях метода ВНК в подвижном трубчатом
контейнере в процессе выращивания кристалла используется знакопеременное
вращение контейнера вокруг вертикальной оси, что способствует перемешиванию
расплава и улучшению гидродинамических условий процесса.
Существенные недостатки метода: невозможность непосредственного
наблюдения за формой и положением фронта кристаллизации, наличие произвольной
кристаллографической ориентировки выращиваемых монокристаллов. Серьезным
недостатком этой группы методов выращивания является непосредственный контакт кристалла
со стенками контейнера: при практически неизбежном различии коэффициентов
термического расширения материалов кристалла и контейнера в кристалле могут
возникать значительные внутренние напряжения. Широкое распространение метод ВНК
получил благодаря простоте проведения процесса, возможности поддержания
постоянного градиента температуры на фронте кристаллизации, высокой
производительности. Методом ВНК в трубчатом контейнере сложно выращивать
кристаллы большого диаметра (более 150-200 мм) [7].
.4.3 Метод горизонтальной направленной кристаллизации (ГНК)
Благодаря своим достоинствам метод ГНК получил широкое распространение
при получении тугоплавких монокристаллических материалов, применяемых не только
в радиоэлектронике и электронной технике, но и в акустоэлектронике и в
ювелирной промышленности. К достоинствам этого метода можно отнести его
относительную техническую и технологическую простоту. Этот метод обеспечивает
возможность выращивать монокристаллы большого сечения. Для данного метода
выращивания характерно эффективное удаление примесей, чему способствует не
только весьма высокая температура расплава, но и хорошо развитая поверхность
расплава при небольшой величине отношения глубины лодочки к ее ширине - в
отличие от методов Чохральского и Киропулоса. Особенностью метода ГНК является
также возможность проведения многократной предростовой перекристаллизации
материала, что способствует глубокой очистке кристаллизуемого вещества и
позволяет значительно снизить требования к чистоте исходных шихтовых материалов.
Наличие открытой поверхности расплава позволяет вводить в него активирующую
примесь на любом этапе выращивания кристалла [7].
.4.4 Оборудование для роста кристаллов германия по методу Чохральского
Установка для выращивания кристаллов включает в себя 4 основных узла
(рисунок 1.3) :
- Печь в которую входят тигель, контейнер, механизм вращения,
нагреватель, источник питания и камера;
- Механизм вытягивания кристалла содержащий стержень или цепь с
затравкой, механизм вращения затравки и устройство для зажима затравки;
- Устройство для управления составом атмосферы, состоящее из
газовых источников, системы продувки и вакуумной системы;
- Блок управления, в который входят микропроцессор, датчики и
устройства вывода.
Тигель является наиболее важным элементом ростовой системы. Так как
тигель содержит расплав, его материал должен быть химически инертен по
отношению к расплавленному германию. Это основное требование при выборе
материала тигля, так как электрические свойства германия чувствительны даже к
таким уровням примеси, как 10 (-7) ат. %. Кроме того, материал тигля должен
иметь высокую температуру плавления, обладать термической стабильностью и
прочностью. Также он должен быть недорогим или обладать способностью к
многократному использованию.
Камера высокотемпературного узла установки должна соответствовать
определенным требованиям. Прежде всего она должна обеспечивать легкий доступ к
деталям узла для облегчения загрузки и очистки. Высокотемпературный узел должен
быть тщательно герметизирован, дабы предотвратить загрязнение системы из
атмосферы. Кроме того, должны быть предусмотрены специальные устройства,
предотвращающие нагрев любого узла камеры до температуры, при которой давление
паров ее материала может привести к загрязнению кристалла. Как правило, наиболее
сильно нагреваемые детали камеры имеют водяное охлаждение, а между нагревателем
и стенками камеры устанавливают тепловые экраны.
1 - Камера печи; 2 - механизм вытягивания кристаллов; 3 - устройство для
управления составом атмосферы; 4 - блок управления
Рисунок 1.3 - установка для выращивания монокристаллов германия на базе
печи Редмет
Для расплавления материала загрузки используют главным образом
высокочастотный индукционный или резистивный нагрев. Индукционный нагрев
применяют при малом объеме загрузки, а резистивный- исключительно в больших
ростовых установках. Резистивные нагреватели при уровне мощности порядка
нескольких десятков киловатт обычно меньше по размеру, дешевле, легче в
изготовлении и более эффективны. Они представляют собой графитовый нагреватель,
соединенный с источником постоянного напряжения.
Механизм вытягивания кристалла должен с минимальной вибрацией и высокой
точностью обеспечить реализацию двух параметров процесса роста:
- скорости вытягивания;
- скорости вращения кристалла.
Затравочный кристалл изготавливается с точной (в пределах установленного
допуска) ориентацией, поэтому держатель затравки и механизм вытягивания должны
постоянно удерживать его перпендикулярно поверхности расплава. Направляющие
винты часто используются для подъема и вращения слитка. Этот метод позволяет
безошибочно центрировать кристалл относительно тигля , однако при выращивании
слитков большой длины может оказаться необходимой слишком большая высота
установки. Поэтому, когда поддержание необходимой точности при выращивании
длинных слитков не обеспечивается винтовым устройством, приходиться применять
многожильные тросы. В этом случае центровка положения монокристалла и тигля
затруднена. Более того, в процессе наматывания троса возможно возникновение
маятникого эффекта. Тем не менее применение тросов обеспечивает плавное
вытягивание слитка из расплава , а при условии их наматывания на барабан высота
установок значительно уменьшается. Кристалл выходит из высокотемпературной зоны
через систему продувки, где газовый поток - в случае если выращивание
производиться в газовой атмосфере - движется вдоль поверхности слитка, приводя
к его охлаждению. Из системы продувки слиток попадает в верхнюю камеру, которая
обычно отделена от высокотемпературной зоны изолирующим клапаном.
Рост монокристалла по методу Чохральского должен проводиться в инертной
среде или вакууме, что вызвано следующими причинами:
- Нагретые графитовые узлы должны быть защищены от воздействия
кислорода для предотвращения эррозии;
- Газовая атмосфера не должна вступать в химическую реакцию с
расплавом германия.
Выращивание кристаллов в вакууме удовлетворяет указанным требованиям и,
кроме того, имеет ряд преимуществ, в частности, способствует удалению из
системы моноокиси германия, тем самым предотвращает ее осаждение на стенках
камеры. При выращивании в газовой атмосфере чаще всего используют инертные газы
: аргон и гелий.
Инертные газы могут находиться при атмосферном или пониженном давлении. В
промышленных производстве для этих целей используются аргон что объясняется его
низкой стоимостью. Оптимальный расход газа составляет 1500л на 1кг выращенного
германия. Аргон поступает в камеру при испарении из жидкого источника и должен
соответствовать требованиям высокой чистоты в отношении содержания влаги,
углеводородов, и других примесей.
Блок управления может включать в себя разные приборы. Он предназначен для
контроля и управления такими параметрами процесса, как температура, диаметр
кристалла, скорость вытягивания и скорость вращения. Контроль может проводиться
по замкнутому или разомкнутому контуру. Параметры, включающие на скорость
вытягивания и вращения, имеют большую скорость отклика и чаще всего
контролируются по принципу замкнутого контура с обратной связью. Большая тепловая
масса обычно не требует кратковременного контроля температуры. Например для
контроля диаметра растущего кристалла датчик температуры может быть
сфокусирован на границе раздела фаз расплав монокристалл и использован для
определения температуры мениска.
Выход датчика связан с механизмом вытягивающего устройства и контролирует
диаметр слитка путем изменения скорости вытягивания. Наиболее перспективными
управляющими являются цифровые микропроцессорные системы. Они позволяют
уменьшить непосредственное участие оператора в процессе выращивания и дают
возможность организовать программное управление многими этапами
технологического процесса [8].
2. Автоматизация
.1 Описание технологического процесса выращивания монокристаллов германия
как объекта управления
Любой производственный процесс рассматривается как последовательная смена
состояний технологических операций во времени, определяемая входными и
выходными переменными. Для технологических процессов входными переменными
(координатами) являются физические параметры входных потоков сырья или исходных
продуктов, а также параметры различных физико-химических воздействий окружающей
среды (температура, давление, влажность и т.п.). Выходными переменными
(параметрами объекта автоматизации) служат физические параметры материальных и
энергетических потоков получаемых продуктов.
Возмущающими воздействиями для производственного процесса служат:
неуправляемые нарушения технологического режима (изменение расхода, состава или
энергетического состояния исходного материала, отказы оборудования, изменение
его характеристик и т.д.); оперативные воздействия на изменение условий работы
(например, изменения нагрузки) ), которое характеризуется контролируемыми
возмущениями.
Управляющими воздействиями для производственного процесса являются
управляемые изменения расходов материальных и энергетических потоков (тепловых
процессов, а точнее температуры тигля, частоты вращения затравки и тигля, а так
же их перемещения и т.д.).
Основной целью автоматизации процесса выращивания монокристаллов германия
является повышения качества состава слитка, а так же равномерность поверхности
при заданном диаметре.
Рассматривая печь для выращивания как объект управления можно выделить
возмущающие, управляющие воздействия и выходные показатели.
Рисунок 2.1 - Процесс выращивания монокристаллов как объект управления
К основным управляющим воздействиям относятся: температура тигля,
скорость вытягивания монокристалла, скорость его вращения, расход аргона.
Температура тигля важнейший параметр данного процесса, влияющий на
структуру поверхности слитка. Отклонения от заданной температуры могут привести
к нарушениям формирования кристаллической решетки слитка. Скорость вытягивания
и вращения влияют, соответственно, на длину и диаметр монокристалла. Давление в
печи должно быть оптимальным и постоянным, во избежание нарушения структуры и
состава слитка.
Основными возмущающими воздействиями, ведущими к нарушению хода
технологического процесса являются: изменение состава атмосферы, вибрации
установки. Изменение состава атмосферы и вибрации установки может привести к
нарушению равномерной кристаллизации и состава слитка.
Основными выходными параметрами являются: диаметр, длинна, состав и
структура слитка.
Таким образом, рассматриваемый технологический процесс является
многомерным объектом управления, характеризующимся шестью входными, 4 из
которых являются управляющими воздействиями (температура тигля, скорость
вытягивания, скорость вращения, давление атмосферы в печи), 2 из них - возмущающие
воздействия (вибрации установки, состав атмосферы) и четырьмя выходными
параметрами (длина слитка, его диаметр, состав и структура).
.2 Выбор контролируемых и регулируемых параметров процесса выращивания
монокристаллов германия
При выборе контролируемых величин необходимо руководствоваться тем, чтобы
при минимальном их числе обеспечивалось наиболее полное представление о
процессе. Контролю подлежат, прежде всего, те параметры, текущие значения
которых облегчают пуск, наладку и ведение технологического процесса. К таким
параметрам относятся все регулируемые величины, нерегулируемые внутренние
параметры, входные и выходные параметры, при изменении которых в объект могут
поступать возмущающие воздействия.
К регулируемым параметрам относятся такие параметры как:
– температура тигля;
– скорость вращения затравки;
– скорость вращения тигля;
– скорость перемещения затравки;
– скорость перемещения тигля;
Основным показателями качества процесса выращивания является
равномерность поверхности слитка, его состав и высота участка слитка до
достижения необходимого диаметра. Данная величина зависит от ряда параметров, а
именно от температуры тигля, скорости вытягивания и вращения монокристалла.
Температура тигля должна быть постоянной, около 936 оС. Отклонение температуры
приведет к нарушению структуры слитка. На диаметр слитка влияет скорость
перемещения затравки. Чем больше скорость перемещения, тем меньше диаметр
слитка. Вращение затравки и тигля так же влияет на диаметр и структуру
монокристалла. Перемещение тигля необходимо для поддержания постоянной
температуры на границе раздела расплав-слиток. Так как при вытягивании
монокристалла расплавленный металл переходит в твердую фазу, его уровень в
тигле уменьшается, и граница раздела расплав-слиток перемещается относительно
центральной точки печи. Для компенсации этого перемещения и необходимо
вертикальное движение тигля.
.3 Выбор приборов и средств автоматизации для АСУ ТП выращивания
монокристаллов германия
Выбор датчиков и нормирующих преобразователей для систем автоматического
контроля и регулирования определяется:
- пределами и необходимой точностью измерений;
- условиями работы (запыленностью, наличие агрессивных сред и
т.д.);
- возможностью интеграции с уже выбранными приборами;
- номенклатурой предлагаемых приборов.
2.3.1 Автоматическое регулирование температуры тигля
Для реализации АСР температуры тигля использованы следующие технические
средства: Пирометр ПД6, контроллер для возможности независимого регулирования
«Овен» ТРМ151, блок ручного управления БРУ22, миллиамперметр М-42301,
тиристорный усилитель мощности У13Н, электронагреватели карбидокремниевые.
Пирометр ПД6 подходит по температурному диапазону, к тому же
бесконтактный метод измерения температуры более приемлем в нашем случае, т.к.
установка снабжена застекленным отверстием. Стоимость - 29040 руб.
Пирометр состоит из двух частей: приемника ИК-излучения (оптической
головки) и блока обработки сигнала, соединенных между собой при помощи
оптоволоконного кабеля, по которому от оптической головки к блоку обработки
сигнала передается излучение от объекта контроля. Для монтажа оптической
головки используется специальный кронштейн, поставляемый в составе пирометров.
Приемник ИК-излучения и оптоволоконный кабель выдерживают температуру до
150 ºС (кратковременно - до 200 ºС). Приемник ИК-излучения и
оптоволоконный кабель не чувствительны к воздействию электромагнитных полей.
За счет того, что приемник ИК-излучения и блок обработки сигнала
разделены между собой оптоволоконным кабелем, возможно располагать блок
обработки сигнала в безопасной для него зоне, а оптическую головку в
непосредственной близости от объекта контроля, что для нашего процесса
необходимо. Гибкий оптоволоконный кабель и маленькие габариты приемника
ИК-излучения позволяют измерять температуру в труднодоступных местах.
Для наведения пирометра на объект контроля температуры пирометр снабжен
шеститочечным лазерным целеуказателем.
Оптические элементы прибора выполнены из кварцевого стекла.
Оптоволоконный кабель не отсоединяется от пирометра.
Таблица 2.1 - Характеристики преобразователя пирометрического ПД-6
|
Характеристики
|
Значения
|
|
Диапазон измерения
температуры, ºС
|
300…1000
|
|
Спектральный диапазон, мкм
|
0,9...1,7
|
|
Основная погрешность, %
|
± 0,5
|
|
Показатель визирования
|
1:100
|
|
Разрешающая способность, ºС
|
0,01
|
|
Вид индикации
|
ЖКИ, 10 разрядов, подсветка
|
|
Номинальное рабочее
расстояние, мм
|
1000 ± 100
|
|
Диапазон рабочих
расстояний, м
|
0,...10
|
|
Выходы:
|
|
|
- перестраиваемый
унифицированный токовый выход, мА
|
0 - 5, 0 - 20, 4 - 20
|
|
- REG 1(логический ключ)
|
5В, 20мА
|
|
Установка тревожной
сигнализации
|
световая
|
|
Температура окружающей
среды, ºС
|
5…50
|
|
Температура эксплуатации
приемника ºС
|
-20…200
|
|
Окончание таблицы 2.1
|
|
Характеристики
|
Значения
|
|
Связь с ПК
|
RS-232
|
|
Коррекция излучательной
способности
|
0,1…1,5 (шаг 0,001)
|
|
Степень защиты от пыли и
воды
|
IP52
|
|
Питания, В
|
24 ± 0.5
|
|
Габаритные размеры, мм, не
более:
|
|
|
- блока обработки сигналов
|
125х95хх54
|
|
- оптическая головка
|
ø24х70
|
|
- кабеля оптоволоконного,
мм (стандартное исполнение)
|
ø6х2000
|
|
Масса, кг
|
1
|
Наличие в нашей схеме контроллера «Овен» ТРМ151 не необходимо, но
желательно. Температура тигля - важнейший параметр процесса выращивания и
дополнительный контроллер, расположенный на панели оператора способен принять
на себя регулирования в случае отказа основного контроллера, или необходимости
его временного отключения. А так же он служит в качестве вторичного
показывающего прибора. Стоимость - 4609 руб.
Характеристики контроллера «Овен» ТРМ151:
- один или два канала программного пошагового регулирования;
- два встроенных универсальных входа и два выхода;
- программное управление различными исполнительными
механизмами: 2-х позиционными (ТЭНы, двигатели), 3-х позиционными (задвижки,
краны), дополнительными устройствами (заслонки, жалюзи, дымо- или
парогенераторы и т.п.);
- автонастройка ПИД-регуляторов по современному эффективному
алгоритму;
- режим ручного управления выходной мощностью регулятора;
- линейка стандартных модификаций для наиболее распространенных
технологических процессов;
- широкие возможности конфигурирования с ЭВМ или с передней
панели прибора: различные уровни доступа для оператора, технолога и наладчика
системы; для каждой стандартной модификации прибора - свой удобно
организованный набор параметров;
- программы быстрого старта, разработанные специально для
каждой модификации;
- возможность быстрого доступа к уставкам при программировании
прибора с передней панели.
БРУ22 обладает следующими функциональными возможностями:
- ручное или дистанционное переключение цепей управления на два
положения;
- световая индикация положения цепей;
- управление исполнительными механизмами
Стоимость - 2860 руб.
Миллиамперметр М - 42301 установлен перед тиристорным усилителем для
измерения постоянного тока управляющего сигнала. Подходит нам по диапазону
шкалы (0 ÷ 0,5мА).
Тиристорный усилитель мощности У13Н обеспечивает необходимую выходную
мощность для нагрева электронагревателей карбидокремниевых, которые, в свою
очередь, подбирались по мощности к тиристорному усилителю мощности У13Н.
Усилитель обеспечивает линейную зависимость величины выходной мощности,
выделяемой на нагрузке, от величины входного сигнала. Стоимость - 6450 руб.
Технические характеристики:
- входные сигналы: 0 ÷ 5 мА, 0 ÷ 10 В постоянного тока;
- допускаемая мощность нагревателя, подключаемого к усилителю:
3,3 кВА при напряжении питания 220 В; 5,7 кВА при напряжении питания 380 В;
- питание: (220 + 22 /-33)/(380 + 22 / -33) В. частотой (50 ±
1), (60 ±2 ) Гц;
- потребляемая мощность: не более 9 ВА.
Последний элемент в цепи АСР температуры тигля - электронагреватели
карбидокремниевые, а точнее КЭНБ. Это электронагреватель карбидокремниевый
износостойкого типа. Нагреватели КЭНБ имеют форму цилиндра и состоят из
центральной нагревательной части, так называемой горячей зоны, и двух выводов.
В нашем случае электронагреватель имеет марка 16/400/350 -
означает, что диаметр нагревателя составляет 16 мм, 400 мм - длина
нагревательной части, 350 мм - длина вывода.
Номинальная нагрузка 1050 оС, что соответствует необходимой для процесса
выращивания температуре.
Применяется в воздушных и нейтральных газовых средах, как спокойных, так
и движущихся ( в нашем случае среда - аргон, состояние спокойное).
.3.2 Автоматическое регулирование скорости перемещения тигля
Для реализации АСР скорости перемещения тигля использованы следующие
технические средства: Оптический датчик углового перемещения (энкодер
многооборотный) F3683 с полым валом, счетчик импульсов «Овен», серия СИ8, блок
ручного управления БРУ22, Векторный преобразователь частоты со встроенным
РLC-Контроллером «Веспер», серия E2-8300-001Н, асинхронный двигатель
переменного тока АИР 56 А4.
Оптический датчик углового перемещения (энкодер многооборотный) F3683 с
полым валом выбираем по показателю максимальной частоте вращения и по типу
вала. В нашем случае частота вращения асинхронного двигателя 1500 об/мин, а
максимальная частота вращения энкодера - 12000 об/мин. Следовательно ее хватает
с большим запасом. Полость вала энкодера необходима для установки его на вал
электродвигателя.
Оптический энкодер состоит из тонкого оптического диска и стационарного
блока - измерительной головки, включающей в себя источник света и фотодетектор.
Оптический диск включает поверхность из прозрачных и непрозрачных участков.
Маркерами являются отверстия в металлическом листе. При вращении диска, маркеры
пропускают или перекрывают луч света, направленный от светового источника к
фотоприемнику.
Микропроцессорный счетчик импульсов СИ 8 используется, в нашем случае,
для определения скорости вращения вала. Способен определять направления и
скорости вращательного движения узлов и механизмов. Стоимость - 2301 руб.
Функциональные возможности:
- прямой, обратный или реверсивный счет импульсов, поступающих
от подключенных к прибору датчиков;
- определения направления и скорости вращательного движения узлов
и механизмов;
- подсчет текущего и суммарного расхода;
- реальные единицы измерения продукции;
- подсчет времени наработки оборудования;
- измерение длительности процессов;
- три внешних входных устройства для организации счета;
- управление нагрузкой с помощью двух выходных устройств;
- сохранение результатов счета при отключении питания.
Векторный преобразователь частоты со встроенным «Веспер», серии
E2-8300-001Н имеет встроенный контроллер, что немаловажно для процесса
выращивания. Т.к. в случае выхода их строя основного контроллера он может
принять регулирование на себя. Стоимость - 7600 руб.
Характеристики:
- диапазон мощностей 0,4 кВт - 55 кВт;
- выходная частота 0,1 - 650 Гц;
- полная защита двигателя;
- векторное управление без обратной связи;
- встроенный ПИД-регулятор;
- встроенный PLC контроллер;
- врограммирование группы преобразователей с помощью модуля
копирования;
- аналоговые и цифровые входы/выходы для регулирования и
дистанционного управления;
- возможность дистанционного управления и мониторинга по
RS-232/RS-485 (протокол MODBUS);
- встроенный ЭМИ фильтр класса А;
- питание 220/380 В, 50 Гц.
Асинхронный двигатель переменного тока АИР 56 А4 выбрали из ряда
двигателей по показателю стоимости, в первую очередь, которая значительно ниже
стоимости многих других моделей электродвигателей и составляет всего 1000 руб.
Характеристики:
- мощность 0,12кВт;
- частота вращения 1500 об/мин.
.3.3 Автоматическое регулирование скорости вращения тигля
Т.к. данная АСР идентична предыдущей, ее не рассматриваем. АСР скорости
перемещения и вращения затравки так же идентичны АСР скорости перемещения
тигля.
.3.4 Автоматическое контроль давления аргона в печи
Для автоматического контроля давления аргона выбираем преобразователь
избыточного давления «Овен» ПД100-ДИ с возможностью измерять давление до 1,6
МПа. Диапазон давления в печи: (0,13 ÷ 101,3) кПа.
Т.к. температура измеряемой среды достигает 940 оС, преобразователь
необходимо подключать через рукав соединительный (трубка импульсная).
.4 Выбор микропроцессорного контроллера для АСУ ТП выращивания
монокристаллов германия
Для реализации алгоритмов управления и выдачи регулирующего воздействия
на исполнительные механизмы контроллер, характеристики которого должны
соответствовать требованиям схемы и процесса. Схема, представленная проектом, а
так же технологический процесс в целом выдвигает контроллеру следующие
требования:
- количество входов контроллера: аналоговых - 2 шт., дискретных
- 5шт;
- количество выходов контроллера: аналоговых - 5 шт;
- время наработки на отказ не менее 75000 часов;
- бесперебойная работа;
- возможность расширять систему регулирования за счёт
добавления новых модулей или замены старых, из чего следует, что контроллер
должен быть модульного типа;
- поддержка различных языков программирования;
- поддержка различных сетевых интерфейсов;
После анализа системы был выбран контроллер Simatic S7-300 фирмы Siemens.
Simatic S7-300 является свободно программируемым контроллером для
выполнения задач управления средней и большой сложности. Он позволяет
обрабатывать сотни сигналов поступающих от технологического процесса. МК
построен по блочно - модульному принципу, что позволяет определять набор
модулей в зависимости от характера выполняемой задачи управления и
технологической схемы процесса, подлежащего автоматизации. Благодаря этому
набор модулей может свободно пополняться в результате модернизации схемы
автоматизации. Так же повышается ремонтопригодность системы, связанная с
простотой замены вышедшего из строя модуля.
Контроллер Simatic
S7-300 состоит из профильной шины, на
которую крепятся блок питания контроллера, модуль процессора, модули
ввода-вывода, функциональные модули, а так же модули сетевых интерфейсов.
Наличие блока питания и модуля процессора является минимальным модульным
набором для работы МПК. На рисунке 2.2 представлен внешний вид контроллера Simatic S7-300 с модулем процессора и восьмью дополнительными
модулями.
Рисунок 2.2 - Внешний вид контроллера Simatic S7-300
Все модули, блок питания и шасси, входящие в состав микропроцессорного
контроллера выбираются в зависимости от поставленных задач.
Для реализации управления АСУ ТП выращивания монокристаллов германия
проектом предусмотрен следующий набор составных частей контроллера, который
соответствует предъявленным требованиям: профильная шина длинной 160мм. (6ES7 390-1AB60-0AA0) , Блок питания PS 307/2A (6ES7 307-1BA00-0AA0), Центральный процессор (CPU312C), Коммуникационный процессор СР 342-5 (6GK7 342-5EX20-0XE0),
Модуль аналогового ввода-вывода (6ES7 334-0KE00-0AB0), Модуль автоматического регулирования FM355C (6ES7
355-0VH10-0AE0).
Для бесперебойной работы контроллера и системы в целом выбрали источник
бесперебойного питания PW9125
2000i, его характеристики приведены ниже.
Стоимость - 26700 руб.
Характеристики источника бесперебойного питания PW9125 2000i:
- ИБП Powerware 9125 (PW9125, PW 9125) 1000 ВА - 6000 ВА;
- небольшая высота (2U до 3000 ВА, 5U для 5000-6000 ВА);
- сегменитрование нагрузки: ИБП до 700 ВА - 3000 ВА имеют 2
сегмента по 2 розетки;
- каждой парой розеток можно управлять индивидуально;
- ИБП могут комплектоваться Производственым By-pass для
проведения обслуживания;
- возможность «горячей замены батарей».
Схематически контроллер с выбранными модулями представлен на рисунке 2.3.
Рисунок 2.3 - Схематическое представление контроллера
Профильная шина длинной 160мм. (6ES7 390-1AB60-0AA0)
обеспечивает необходимое пространство для установки всех требующихся моделей, а
также резервное место.
Блок питания PS 307/2A (6ES7 307-1BA00-0AA0) преобразует сетевое напряжение 110V/220V переменного тока в напряжение питания контроллера. Стоимость
- 3150 руб.
Технические характеристики блока питания:
- номинальное входное напряжение 120В/230В;
- диапазон рабочего напряжения 85 ÷ 132/170 ÷ 264В;
- максимальная входная мощность 100ВА/100Вт;
- диапазон входной частоты 47 ÷ 63Гц;
- максимальный ток : 1,5А при 1,2В;
- 4,0 А при 3,3В;
- 10 A при
5В;
- 28 A при 24В;
- выходная мощность источника 75Вт.
Характеристики центрального процессора (CPU312C):
- 200-400 нс на выполнение бинарной инструкции.
- рабочая память объемом 32 Кбайт, RAM (приблизительно 10 K
инструкций);
- для выполнения загруженной секции программы и хранения
оперативных данных. Микро карта памяти (до 4 Мбайт), используемая в качестве
загружаемой памяти, а также сохранения архива проекта (с комментариями и
таблицей символов), архивирования данных и управления рецептами.
- гибкие возможности расширения;
- подключение до 8 модулей S7-300 (1-рядная конфигурация).
- интерфейс MPI;
- позволяет устанавливать одновременно до 6 соединений с
программируемыми контроллерами S7-300/400, программаторами, компьютерами и
панелями операторов. Одно из этих соединений зарезервировано для PG-, одно -
для OP функций связи. MPI позволяет создавать простейшие сетевые структуры с
объединением до 16 центральных процессоров и поддержкой механизма передачи
глобальных данных.
- Набор встроенных входов и выходов;
- 10 дискретных входов =24В, 6 дискретных выходов =24В/0.5А.
Стоимость - 12300 руб.
Коммуникационный процессор СР 342-5 (6GK7 342-5EX20-0XE0) предназначен
для подключения SIMATIC
S7-300 к Industrial Ethernet Характеристики коммуникационного
процессора:
- Пропускная способность 10/100 Мбит/с;
- дуплексный/ полудуплексный режим работы;
- автоматическое определение скорости передачи данных в сети
автоматическая настройка на эту скорость;
- гнездо RJ45
для подключения к сети;
- комбинированный режим с одновременной поддержкой транспортных
протоколов TCP и UDP;
- настраиваемый набор поддерживаемых функций.
Стоимость - 10250 руб.
Модуль аналогового ввода-вывода SM 334 (6ES7 334-0KE00-0AB0) характеризуется следующими
показателями:
- 4 аналоговых входа, 2 аналоговых выхода;
- разрешающая способность входных каналов: 12 бит;
- разрешающая способность для выходных каналов: 8 бит;
- пределы измерения и формирования выходных сигналов: (0
÷ 10) В или
(0
÷ 20) мА.
Выбираются соответствующей схемой подключения модуля.
Стоимость - 4300 руб.
Характеристики модуля автоматического регулирования FM355C (6ES7
355-0VH10-0AE0):
- 4-х канальный модуль автоматического регулирования
универсального назначения;
- регулирование температуры, давления, потока, уровня и т.д.;
- удобная интерактивная система адаптации систем регулирования
температуры;
- наличие готовых структур регуляторов;
- возможность продолжения работы после остановки центрального
процессора контроллера.
Стоимость - 11500 руб.
Таблица 2.2 - данные модулей для МПК Simatic S7-300
|
Модуль
|
Номер заказа
|
Кол-во ан. входов
|
Кол-во ан. выходов
|
Кол-во дискр. входов
|
Кол-во дискр. выходов
|
Стоимость, руб.
|
|
Процессора
|
CPU312C
|
-
|
-
|
10
|
6
|
12300
|
|
Блока питания
|
6ES7 307-1BA00-0AA0
|
-
|
-
|
-
|
-
|
3150
|
|
Коммуникационного процессор
|
6GK7 342-5EX20-0XE0
|
-
|
-
|
-
|
-
|
10250
|
|
Аналогового ввода/вывода
|
6ES7 334-0KE00-0AB0
|
2
|
4
|
-
|
-
|
4300
|
|
Автоматического
регулирования
|
6ES7
355-0VH10-0AE0
|
4
|
4
|
8
|
-
|
11500
|
2.5 Программирование контроллера Simatic S7-300
SIMATIC STEP 7 - программное обеспечение фирмы Siemens AG для разработки
систем автоматизации на основе программируемых логических контроллеров SIMATIC
S7-300/S7-400/M7/C7 и WinAC. Программное обеспечение выпускается с интерфейсом
на английском, немецком, французском, итальянском и испанском языках.
Специальные версии обеспечивают работу на японском и китайском языках.
Предшественником данного ПО является более ранняя версия SIMATIC STEP 5,
работающая в ОС DOS или в DOS окне ОС Windows . Различают следующие версии:
- SIMATIC STEP 7
- SIMATIC STEP 7
Professional
- SIMATIC STEP 7 Lite
Для контроллеров SIMATIC S7-200 существует собственный программный
продукт STEP 7 MicroWin.
С помощью этой программы выполняется комплекс работ по созданию и
обслуживанию систем автоматизации на основе программируемых логических
контроллеров SIMATIC S7-300 и SIMATIC S7-400 фирмы Siemens. В первую очередь
это работы по программированию контроллеров. Программируемый логический
контроллер, ПЛК - это микропроцессорное устройство, предназначенное для
управления технологическими процессами в промышленности. Принцип работы ПЛК
заключается в обработке по прикладной программе пользователя данных с модулей
входов (например, сигналов от подключенных датчиков) и последующей выдачей
управляющих сигналов, посредством модулей выходов и модулей связи,
обеспечивающих подключение исполнительных устройств. В основе работы лежит
концепция проекта, под которым понимается комплексное решение задачи
автоматизации, включая несколько взаимосвязанных контроллеров на базе
физических микроконтроллеров, соединяющие их сети и системы человеко-машинного
интерфейса. Работу с проектом в целом обеспечивает главная утилита STEP 7 -
SIMATIC Manager.7 позволяет производить конфигурирование программируемых
логических контроллеров и сетей (утилиты HWConfig и NetPro). В процессе
конфигурирования определяется состав оборудования в целом, разбиение на модули,
способы подключения, используемые сети, выбираются настройки для используемых
модулей. Система проверяет правильность использования и подключения отдельных
компонент. Завершается конфигурирование загрузкой выбранной конфигурации в
оборудование, что по сущности является настройкой оборудования. Утилиты
конфигурирования позволяют осуществлять диагностику оборудования, обнаруживать
аппаратные ошибки или неправильный монтаж оборудования. Программирование
контроллеров производится редактором программ, обеспечивающим написание
программ на трех языках: LAD - язык релейно-контактной логики; FBD - язык
функциональных блочных диаграмм; STL - язык списка инструкций.
В дополнение к трем основным языкам могут быть добавлены четыре
дополнительные языка, поставляемые отдельно: SCL - структурированный язык
управления, по синтаксису близкий к Pascal; GRAPH 7 - язык управления
последовательными технологическими процессами; HiGraph 7 - язык управления на
основе графа состояний системы; CFC - постоянные функциональные схемы.
Возможность наблюдения за текущим состоянием программы, доступное при
использовании любого языка программирования, обеспечивает не только отладку
программного обеспечения, но и поиск неисправностей в подключаемом
оборудовании, даже если оно не имеет средств диагностики.
.6 Выбор ЭВМ для АСУ ТП выращивания монокристаллов германия
При разработке данной АСУ выбору ЭВМ необходимо уделить особое внимание.
Вся цифровая и графическая информация отображается на ЭВМ, поэтому к ней
предъявляются повышенные требования по надежности. Так как в производстве
возможны неблагоприятные условия, такие как запыленность, повышенная
температура и т.д., выбор ЭВМ был сделан в пользу промышленных ПК. Выбираем
высокопроизводительную станцию оператора АСУ настольного исполнения IPC-ATX-7220
фирмы FASTWEL.ATX-7220 выполнена в промышленном
исполнении и предназначена для установки в помещениях, где не исключены
воздействия вибрации и присутствие пыли.
Система проста в обслуживании. При необходимости воздушный фильтр и
вентилятор охлаждения в системном блоке легко меняются без использования
инструментов. Кроме этого, для придания системе дополнительной
виброустойчивости внутри корпуса имеется прижимная планка для плат расширения.
Продукт построен на основе полноразмерной ATX материнской платы с набором
системной логики Intel G33. В системе имеется 7 слотов расширения: 3 PCI, 3 PCI
Express x1, 1 PCIExpress x16. Интегрированный видеоадаптер набора системной
логики G33 Intel GraphicsMedia Accelerator 3100 отличается высокой скоростью
обработки, что дает преимущества при использовании Fastwel AdvantiX
IPC-ATX-7220 со SCADA системами. В базовом варианте устанавливается процессор
PentiumE 2180 тактовой частоты 2ГГц, 2ГБ оперативной памяти, 320ГБ жесткий диск
и DVD±RW. На передней панели присутствуют 2 USB порта.
Особое место в работе ЭВМ уделено функции - поиск оптимальных решений с
выдачей рекомендаций (советов) оператору. Данная функция осуществляется
следующим образом. Через заданные промежутки времени (один раз в 2÷5 минут) полученные с МК данные о состоянии
объекта анализируются с помощью математической модели (ММ). Также по ММ
определяются воздействия, необходимые для приближения процесса к оптимуму;
результаты предоставляются оператору. Окончательный выбор и осуществление
управляющих воздействий остается за оператором. Внесение управляющих
воздействий осуществляется путем изменения установок в МК через ЭВМ.
.7 Структуры АСУ ТП выращивания монокристаллов германия
Целью функционирования любой АСУ ТП является оптимизация работы объекта
управления, что подразумевает под собой поддержание технологического процесса
или отдельных его переделов в режимах максимально приближенных к оптимальным
путем соответствующего выбора управляющих воздействий.
Применение АСУ ТП выращивания монокристаллов германия приведёт к
следующим результатам:
- улучшение качества поверхности слитка германия;
- улучшение его состава;
- улучшение экономических показателей, связанных с повышением
производительности;
- улучшение организации процесса выращивания в целом.
Проектом предусматривается создание трёхуровневой системы управления и
контроля технологического процесса:
- первый (нижний) уровень включает первичные приборы, датчики,
исполнительное электрическое оборудование;
- второй (средний) уровень включает контроллеры, силовые шкафы
и шкафы с вторичными преобразователями;
- третий (верхний) уровень включает автоматизированное рабочее
место оператора, блоки сетевой связи.
На рисунке 2.4 приведена структура АСУ ТП выращивания.
Рисунок 2.4 - Структура АСУ ТП выращивания
Система осуществляет управление в ручном или автоматическом режиме
оборудованием технологического процесса, производит сбор информации о состоянии
технологического оборудования и значениях технологических параметров, а также
осуществляет диагностику контроллера и представляет всю необходимую информацию
в удобной для восприятия форме, её архивирование и вывод на печать.
Задачами первого (нижнего) уровня являются: измерение значений
технологических параметров (температуры, количества импульсов), преобразование
измеренных сигналов; индикация мгновенных значений технологических параметров в
цифровом виде; выдача управляющих сигналов на исполнительные механизмы, а
конкретно, напряжения переменного тока, как в случае с регулированием температуры
тигля, так и в случае регулирования скорости и перемещения затравки и тигля.
В основу работы контроллера среднего уровня АСУ ТП участка выращивания
положен принцип выработки управляющих воздействий (напряжения переменного тока)
на исполнительные механизмы (асинхронные двигатели переменного тока, и
электронагреватели) путем математической обработки информации о ходе процесса
выращивания, полученной с датчика температуры и с датчиков углового
перемещения). Так же МПК диагностирует датчики и исполнительные механизмы,
отправляя необходимую информацию на верхний уровень.
Вся информация о состоянии соответствующего оборудования участка
выращивания от контроллера среднего уровня передается на верхний уровень
управления. Здесь производится ее обработка, визуализация на терминалах,
формирование графиков и отчетной технологической документации для контроля и
управления процессом выращивания. Необходимые параметры передаются с верхнего
уровня в контроллер среднего уровня управления, а так же на более высокий уровень
управления всего предприятия в целом.
Базовое программное обеспечение включает SCADA пакет Genesis 32, лицензию
на доступ к технологической базе данных, сервер ввода-вывода для доступа к
контроллеру Control Logix 1756. Для доступа к технологической базе данных на
данный АРМ устанавливается лицензия на доступ к Industrial SQL и компонент
просмотра исторических данных.- это программный комплекс, предназначенный для
разработки, настройки и запуска в реальном времени систем управления
технологическими процессами. Он включает в себя режим разработки АСУ и режим
исполнения. При помощи инструментальной системы осуществляется разработка всех
проектов.
GENESIS-32
является набором 32-разрядных приложений для Windows 95/98/NT/2000/XP, построенных в соответствии со
спецификацией ОРС (OLETM for Process Control) В состав GENESIS-32 также входит среда редактирования сценарных процедур Advanced VBA Scripting, обеспечивающая возможность
разработки части программного обеспечения средствами Microsoft Visual Basic for Applications 5.0 (Visual Basic для приложений), входящего в популярный пакет MS Office 97. Все программные компоненты реализованы на базе
многопоточной модели и поддерживают технологию ActiveX.включает в себя
следующие приложения, являющиеся клиентами ОРС:
- GraphWorX32;
- TrendWorX32;
- AlarmWorX32.
При помощи приложения GraphWorX32 разработана мнемосхема печи для
выращивания монокристаллов германия (рисунок 2.5), предназначенная для
визуализации процесса и оперативного диспетчерского управления на верхнем уровне.
С помощью приложения TrendWorX32 выполнено графическое представление
контролируемых параметров и внутренних переменных разработанной АСУ
ТП.отображает информацию об аварийных и других событиях, связанных с процессом,
в окнах журнала событий и архива событий. Имеется возможность просмотра сводок
аварийных событий и действий персонала, как в текущий момент времени, так и за
прошедшее время.
Рисунок 2.5 - Мнемосхема печи для выращивания монокристаллов германия
На экран выведены текущие значения технологических параметров:
температура тигля, давление в печи, скорости вращения и перемещения тигля и
затравки, сила тока,
Прикладное программное обеспечение включает в себя экраны SCADA,
прикладную логику операторского интерфейса, а также настроечную и
конфигурационную информацию.
Функции АРМ оператора печи включают:
отображение состояния печи;
обеспечение возможности оператору на выдачу команд на удаленный запуск и
остановку оборудования;
обеспечение возможности задания режимов ручного и автоматического
управления алгоритмами ПИД-регулирования температуры тигля;
2.8 Описание функциональной схемы процесса выращивания монокристаллов
германия
Функциональная схема автоматизации является основным техническим
документом, определяющим функциональную структуру и объем автоматизации
технологического процесса выращивания.
На функциональной схеме (СФУ ИЦММ ДП - 220301.65 - 06856 - А2) изображен
процесс выращивания монокристаллов германия с соответствующими приборами и
средствами автоматизации.
Для реализации АСР температуры тигля использованы следующие технические
средства: Пирометр ПД6 (поз. 1-1), контроллер для возможности независимого
регулирования «Овен» ТРМ151 (поз. 1-2), блок ручного управления БРУ32 (поз.
1-3, 1-4), миллиамперметр М-42301 (поз. 1-5), тиристорный усилитель мощности
У13Н (поз. 1-6) , электронагреватели карбидокремниевые (поз. 1-7, 1-9).
Принцип работы АСР температуры тигля заключается в следующем: Сигнал
поступает с пирометра ПД6, оптический блок которого направлен в печь через
стеклянною перегородку, на контроллер «Овен» ТРМ151, который через интерфейс
RS-485 соединен с ЭВМ и микропроцессорным контроллером Simatic S7-300.
Далее по заданной программе, МПК сравнивает температуру тигля с заданной.
После сравнение температур (в случае их рассогласования) МПК через модуль
аналогового вывода подаёт сигнал на тиристорный усилитель мощности У13Н через
блок ручного управления БРУ-22. В схеме установлен миллиамперметр М-42301,
показывающий ток выхода с аналогового выхода МПК. Тиристорный усилитель
мощности У13Н, подключенный к трехфазной цепи переменного тока, вырабатывает
выходной сигнал пропорциональный выходному сигналу с аналогового выхода МПК,
воздействуя на электронагреватели карбидокремниевые, установленные в печи.
Для реализации АСР скорости перемещения тигля использованы следующие
технические средства: Оптический датчик углового перемещения (энкодер
многооборотный) F3683 с полым валом (поз. 2-1), счетчик импульсов «Овен», серия
СИ8 (поз. 2-2), блок ручного управления БРУ22 (поз. 2-3, 2-4), Векторный
преобразователь частоты со встроенным РLC-Контроллером «Веспер», серия
E2-8300-001Н (поз. 2-5), асинхронный двигатель переменного тока АИР 56 А4 (поз.
М1).
Перемещения тигля происходит благодаря асинхронному двигателю переменного
тока АИР 56 А4, на вале которого установлен оптический датчик углового
перемещения (энкодер многооборотный) F3683. С него и начинается процесс
регулирование скорости перемещения тигля. При вращении двигателя, маркеры
энкодера пропускают или перекрывают луч света, направленный от светового
источника к фотоприемнику, на котором вырабатывается сигнал в случае
прохождения света до приемника. В зависимости от скорости вращения вала
двигателя изменяется частота выходного сигнала энкодера. Выход энкодера подключен
к векторному преобразователю частоты со встроенным РLC-Контроллером «Веспер»,
через БРУ-22. «Веспер» питается от трехфазного тока напряжением 380В. Он
преобразует частоту выходного сигнала энкодера в напряжения переменного тока,
пропорциональное этой частоте, вследствие чего изменяется скорость вращения
двигателя, который через передаточный механизм соединен с осью тигля.
АСР скорости перемещения и вращения затравки, а так же АСР скорости
вращения тигля, идентичны АСР скорости перемещения тигля, поэтому не нуждаются
в пояснении.
Автоматический контроль давления в печи начинается с соединительного
рукава, к которому подключается преобразователь избыточного давления «Овен»
ПД100-ДИ (поз.7). Он, в свою очередь, передает унифицированный сигнал
постоянного тока (4÷ 20) мА, в зависимости от величины
подаваемого на него давления, на аналоговый вход контроллера.
3. Специальная часть. Расчет АСР температуры тигля
Исходными данными для расчета АСР температуры тигля являются показатели
качества регулирования, определяемые технологическим процессом:
максимальное допустимое динамическое отклонение регулируемой величины DT1 = 2,2 °C;
- требуемый характер переходного процесса - апериодический;
допустимая статическая ошибка ΔTcт. = 0;
допустимое время регулирования tр = 150 c;
максимально возможное значение возмущения DХвх.мах = 6 % (0,3 мА) хода регулирующего органа
(ХРО).
.1 Нахождение математического описания объекта управления
Построим график кривой разгона по экспериментальным данным.
Расчет ведется при внешнем ступенчатом возмущающем воздействии амплитудой
A, которая составляет 2 % хода
регулирующего органа.
Экспериментальные данные приведены в таблице 3.1.
Таблица 3.1 - Ординаты экспериментальной кривой разгона при А = 2 % ХРО
|
t, с
|
0
|
18
|
24
|
36
|
48
|
72
|
96
|
120
|
|
ΔT,°C
|
0,0
|
0,0
|
0,5
|
2,0
|
4,5
|
9,0
|
11,8
|
13,3
|
|
t, с
|
144
|
168
|
192
|
216
|
|
ΔT,°C
|
14,0
|
14,5
|
14,8
|
14,9
|
График возмущающего воздействия X(t) представлен на рисунке 3.1. Кривая
разгона объекта - изменение температуры тигля ΔT,°C представлена на рисунке 3.2.
Рисунок 3.1 - График возмущающего воздействия
Рисунок 3.2 - Кривая разгона объекта
Находим единичную ∆T0(t) и нормированную ∆Tн(t) переходные функции:
∆T0(t) = ∆T(t) / А ; (3.1)
∆Tн(t) = ∆T0(t) / ∆T0(tу), (3.2)
где А - скачкообразное возмущающее воздействие, при котором снята
переходная характеристика (А = 2 %ХРО);
∆T0(tу) - установившееся значение переходной характеристики (∆T0(tу)=7,45).
Результаты расчетов единичной и нормированной переходных функций, а также
значения кривой разгона сведены в таблицу 3.2.
Таблица 3.2 - Ординаты переходных функций
|
t, с
|
0
|
18
|
24
|
36
|
48
|
72
|
96
|
|
ΔT(t),°C
|
0,0
|
0,0
|
0,5
|
2,0
|
4,5
|
9,0
|
11,8
|
|
ΔT0(t),°C
|
0,00
|
0,00
|
0,25
|
1,00
|
2,25
|
4,50
|
5,90
|
|
ΔTн(t)
|
0,000
|
0,000
|
0,034
|
0,134
|
0,302
|
0,604
|
0,792
|
|
t, с
|
120
|
144
|
168
|
192
|
216
|
|
ΔT(t),°C
|
13,3
|
14,0
|
14,5
|
14,8
|
14,9
|
|
ΔT0(t),°C
|
6,65
|
7,00
|
7,25
|
7,40
|
7,45
|
|
ΔTн(t)
|
0,893
|
0,940
|
0,973
|
0,993
|
1,000
|
Рисунок 3.3 - Единичная переходная характеристика
Рисунок 3.4 - Нормированная переходная характеристика
Из зависимости ΔT0(t) находим
величину коэффициента усиления объекта Коб и запаздывание τd:
Коб = 7,45 °C / %ХРО;
τ = 18 с.
При аппроксимации объекта последовательным соединением апериодического
звена и звена запаздывания передаточная функция будет иметь вид
(3.3)
Общее запаздывание складывается из транспортного запаздывания и
дополнительного запаздывания.
Дополнительное запаздывание определяется по формуле
, (3.4)
где
(tб;
) и (tа;
) - точки пересечения аппроксимированной и
экспериментальной кривых разгона,
= (0,1 ÷ 0,15),
= (0,7 ÷
0,85). Из tа и tб
исключено время транспортного запаздывания.
Таким
образом
Общее
запаздывание будет
tоб = 18 + 10 = 28 с.
Постоянная
времени объекта находится по формуле
. (3.5)
Откуда
Таким образом, передаточная функция объекта имеет вид
Для
определения точности аппроксимации экспериментальной переходной функции
решением дифференциального уравнения первого порядка с запаздывающим аргументом
рассчитываем ординаты аппроксимирующей кривой
(3.6)
Для нахождения среднеквадратичной ошибки аппроксимации вычислим отношение
(3.7)
Результаты расчетов приведены в таблице 3.3.
Таблица 3.3 - Ординаты переходных функций
|
t, с
|
0
|
18
|
24
|
36
|
48
|
72
|
96
|
|
ΔTн(t)
|
0,000
|
0,000
|
0,034
|
0,134
|
0,302
|
0,604
|
0,792
|
|
ΔTa1(t)
|
0,0000
|
0,0000
|
-0,0980
|
0,1708
|
0,3739
|
0,6431
|
0,7965
|
|
dа1 10-30,00000,00000,01750,00140,00520,00150,0000
|
|
|
|
|
|
|
|
|
t, с
|
120
|
144
|
168
|
192
|
216
|
|
ΔTн(t)
|
0,893
|
0,940
|
0,973
|
0,993
|
1,000
|
|
ΔTa1(t)
|
0,8840
|
0,9339
|
0,9623
|
0,9785
|
0,9877
|
|
dа1 10-30,00010,00000,00010,00020,0002
|
|
|
|
|
|
Используя данные таблицы 3.3, рассчитываем среднеквадратичную ошибку
аппроксимации d:
Откуда (3.8)
%.
Ошибка
аппроксимации велика, т.е.
превышает
3 %. Для повышения точности необходимо осуществить аппроксимацию объекта
последовательным соединением двух апериодических звеньев и звена запаздывания
(решением дифференциального уравнения второго порядка с запаздывающим
аргументом). Передаточная функция будет иметь вид
, (3.9)
где T1 и T2 - постоянные времени.
По кривой разгона находятся времена t1 и t7,
при которых ординаты переходной функции составляют 0,1 и 0,7 установившегося
значения соответственно:
t1 = 14,5 c;
t7 = 64,5 c.
Относительное время:
t17 = t1 / t7 (3.10)
t17 =
14,5 / 64,5 = 0,22.
Положив n = 1, по графику на рисунке 3.5 определяются относительные
значения постоянных времени
Рисунок 3.5 - Зависимости относительных значений постоянных времени
с;
с.
Действительные значения постоянных времени:
(3.11)
(3.12)

Для
определения точности аппроксимации рассчитываются ординаты аппроксимирующей
кривой:
(3.13)
Для определения среднеквадратической ошибки аппроксимации вычисляется
отношение dа2 по формуле (3.7).
Результаты вычислений приведены в таблице 3.4.
Таблица 3.4 - Ординаты переходных функций
|
t, с
|
0
|
18
|
24
|
36
|
48
|
72
|
|
ΔTн(t)
|
0,000
|
0,000
|
0,034
|
0,134
|
0,302
|
0,604
|
|
DTа2(t)
|
0,00000
|
0,00000
|
0,02325
|
0,15530
|
0,32441
|
0,61926
|
|
dа2 10-30,0000000,0000000,0001200,0004500,0005000,000230
|
|
|
|
|
|
|
|
t, с
|
96
|
120
|
144
|
168
|
192
|
216
|
|
ΔTн(t)
|
0,792
|
0,893
|
0,940
|
0,973
|
0,993
|
1,000
|
|
DTа2(t)
|
0,80485
|
0,90533
|
0,95569
|
0,97978
|
0,99095
|
0,99600
|
|
dа2
10-30,0001700,0001500,0002500,0000460,0000040,000016
|
|
|
|
|
|
|
На рисунке 3.6 изображены графики нормированной переходной характеристики
и переходной характеристики при аппроксимации решением дифференциального
уравнения второго порядка.
По
данным таблицы 3.4 рассчитывается среднеквадратичная ошибка аппроксимации
по формуле (3.8)
Погрешность
аппроксимации удовлетворительная, так как
не
превышает 3 %. Поэтому окончательно принимаем аппроксимацию объекта
дифференциальным уравнением второго порядка.
1 - нормированная переходная характеристика, 2 - переходная
характеристика при аппроксимации решением дифференциального уравнения второго
порядка
Рисунок 3.6 - Переходные характеристики
.2 Выбор закона регулирования
Передаточная функция объекта имеет вид
Тип
регулятора ориентировочно выбирается по отношению τоб / Tоб по таблице 2.1 [5]. Так как τоб / Tоб = 28 / 25,8 = 1,08 что больше 1, то
выбирается регулятор непрерывного действия, либо импульсный регулятор.
Для
получения допустимых значений DT1, tр и DTcт необходимо выбрать закон управления, для этого
рассчитаем динамический коэффициент регулирования:
(3.14)
По
таблице 33 [6] выбирается простейший закон управления, обеспечивающий значение
Rд ниже расчетного. Для Rд = 0,52 при апериодическом переходном процессе ПИД, ПИ, П
- законы регулирования обеспечивает значение Rд ниже расчётного.
Для
ПИД-закона регулирования
(3.15)
откуда время регулирования
что
меньше допустимого времени регулирования.
Для
ПИ-закона регулирования
, (3.17)
откуда
Так
как ПИ-закон регулирования не может обеспечить необходимое качество процесса
регулирования, то выбираем ПИД-закона регулирования. Выбранный закон управления
гарантирует отсутствие статической ошибки т.е. ΔHcт = 0.
3.3 Определение настроек регулятора
Расчет настроек регулятора выполняется следующими способами:
- графо-аналитическим на основе амплитудно-фазовой характеристики объекта и
М-критерия (показателя колебательности);
- по расширенным амплитудно-фазовым характеристикам;
- по приближенным формулам;
- с помощью математического моделирования.
На практике настройки регуляторов определяют обычно по приближенным
формулам (таблица 2.2 [5]), а затем производят их уточнение.
Настройки ПИД-регулятора рассчитаем по приближенным формулам
(3.18)
(3.19)
(3.20)
откуда
Переходной
процесс системы в среде VisSim 6.0 с рассчитанными настройками ПИД - регулятора
представлен на рисунке 3.7. В качестве настроек используются коэффициенты
составляющих ПИД-закона регулирования:
- коэффициент пропорциональной составляющей Kп = Kр = 0,27;
- коэффициент интегральной составляющей Kи = Kр / Tи = 0,0075;
- коэффициент
дифференциальной составляющей Kд = Kр
Tд =1,944.
Рисунок 3.7 - Переходной процесс системы с рассчитанными настройками
ПИД-регулятора
Уточнение настроек производится с помощью математического моделирования.
Для этого создадим модель системы автоматического регулирования в среде VisSim 6.0. Для оптимизации применяем
типовой ПИД-регулятор. Для оптимизации необходимы начальные значения параметров
ПИД-регулятора.
Рассчитанные значения коэффициентов задаются в соответствующие блоки
диаграммы и производится оптимизация по минимуму интеграла квадратичной ошибки.
Переходной процесс с оптимальными настройками регулятора представлен на рисунке
3.8.
Рисунок 3.8 - Переходной процесс системы с оптимальными настройками
ПИД-регулятора
В результате оптимизации были получены следующие настройки ПИ-регулятора:
коэффициент усиления регулятора Kр = Kп = 0,217;
время изодрома Kи = Kп/ Tи = 0,0045 с (Tи =48,2);
коэффициент дифференциальной составляющей Kд =Kр*Tд=2,23
(Tд=10,276).
.4 Проверка системы на устойчивость
После определения настроек регулятора, исследуем данную АСР на
устойчивость, а также определим запас устойчивости системы по модулю и по фазе,
используя частотный критерий Найквиста-Михайлова. Для этого сначала рассчитаем
АФХ регулятора
(3.21)
Разделив W(jw) на вещественную и мнимую части,
получим:
; (3.22)
. (3.23)
При оптимальных настройках регулятора формулы (3.21), (3.22) и 3.23)
примут вид:
Рассчитанные
величины Pp(w) и Qр(w) имеют значения, приведенные в таблице 3.5.
Формулу АФХ
разомкнутой системы получим как произведение АФХ объекта и регулятора
. (3.24)
Разделим Wраз(jw) на вещественную и мнимую части:
Pраз(w) = P(w)Pр(w) - Q(w)Qp(w), (3.25)
Qраз(w) = Q(w)Pp(w) + P(w)Qp(w). (3.26)
Подставив в формулы (3.22) и (3.23) параметры объекта и регулятора,
получим:
;
Для
построения АФХ разомкнутой системы воспользуемся программой MathCad
14. Построенный годограф Найквиста изображен на рисунке 3.10. Рассчитанные
значения занесены в таблицу 3.5.
Таблица
3.5 - Амплитудно-фазовые характеристики объекта, регулятора и разомкнутой АСР
|
w,рад/с
|
0,00
|
0,10
|
0,15
|
0,20
|
0,25
|
0,30
|
0,40
|
0,50
|
0,60
|
0,70
|
|
|
P(w)
|
7,450
|
0,348
|
-2,576
|
-2,792
|
-1,894
|
-1,022
|
0,458
|
0,398
|
0,032
|
-0,131
|
|
|
Q(w)
|
0
|
-5,8763
|
-3,8869
|
0,2236
|
1,1142
|
1,4222
|
0,861
|
-0,2451
|
-0,3294
|
-0,2367
|
|
|
Pp(w)
|
0,217
|
0,217
|
0,217
|
0,217
|
0,217
|
0,217
|
0,217
|
0,217
|
0,217
|
0,217
|
|
|
Qp(w)
|
-4,95e6
|
-0,143
|
-0,008
|
0,162
|
0,231
|
0,295
|
0,473
|
0,750
|
0,912
|
1,019
|
|
|
Ppаз(w)
|
-1,242
|
-0,762
|
-0,617
|
-0,670
|
-0,687
|
-0,651
|
-0,303
|
0,274
|
0,308
|
0,212
|
|
|
Qpаз(w)
|
-3,688e7
|
-1,384
|
-0,861
|
-0,402
|
-0,184
|
0,022
|
0,412
|
0,243
|
-0,046
|
-0,187
|
|
|
w,рад/с
|
0,80
|
0,90
|
1,00
|
1,20
|
1,50
|
2,00
|
3,00
|
5,00
|
10,00
|
∞
|
|
P(w)
|
-0,161
|
0,035
|
-0,001
|
-0,013
|
-0,018
|
0,011
|
0,002
|
-0,002
|
0,001
|
0
|
|
Q(w)
|
0,0697
|
0,1175
|
-0,0695
|
0,0427
|
0,0136
|
0,0039
|
-0,0045
|
-0,0016
|
0,0009
|
0
|
|
Pp(w)
|
0,217
|
0,217
|
0,217
|
0,217
|
0,217
|
0,217
|
0,217
|
0,217
|
0,217
|
0,217
|
|
Qp(w)
|
1,285
|
1,550
|
2,076
|
2,601
|
3,648
|
5,216
|
7,828
|
10,440
|
15,661
|
5,221e8
|
|
Ppаз(w)
|
-0,126
|
-0,174
|
0,144
|
-0,114
|
-0,054
|
-0,018
|
0,035
|
0,016
|
-0,014
|
0
|
|
Qpаз(w)
|
-0,191
|
0,081
|
-0,017
|
-0,024
|
-0,064
|
0,056
|
0,016
|
-0,025
|
0,013
|
0
|
|
|
|
|
|
|
|
|
|
|
|
|
|
|
|
|
|
|
|
|
|
Рисунок 3.10 - Годограф Найквиста в ПП MathCad 14
Годограф Найквиста не охватывает точку на комплексной плоскости (-1; j0),
поэтому система в замкнутом состоянии устойчива и имеет значительный запас
устойчивости по амплитуде C = 0,63 и по фазе γ =
50º.
3.5 Построение переходного процесса АСР
В последнее время для расчета и анализа систем автоматического управления
все шире используются программные продукты (ПП) визуального моделирования на
ЭВМ. К их числу относятся ПП Simulink системы MATLAB и VisSim.
При построении переходного процесса АСР температуры тигля был использован
прикладной пакет VisSim.
Переходные процессы, полученные в результате моделирования с начальными
настройками регулятора, с оптимальными настройками регулятора, а также с
настройками регулятора, увеличенными и уменьшенными на 15%, представлены на
рисунке 3.11.
Определяем параметры переходного процесса:
максимальное динамическое отклонение:
, (3.27)
;
перерегулирование:
, (3.28)
.
статическая
ошибка DТст = 0;
время
регулирования tр = 140 с (до момента, когда выходная величина становится
отличной от нулевого значения на 3-5%
).
По
полученным графикам видно, что при оптимальных настройках регулятора качество
процесса регулирования удовлетворяет заданным показателям качества (t, η,
), то
есть выбор и расчет настроек регулятора проведены правильно.
Произведём
анализ качества переходного процесса при скачкообразном возмущении по заданию
(рисунок 3.12).
Результаты
анализа показали:
максимальное
динамическое отклонение
;
перерегулирование
;
статическая
ошибка DTст =
0;
время
регулирования tр = 125 с (до момента, когда выходная величина становится
отличной от нулевого значения на 3-5%
).
3.6 Проверка АСР на грубость
На стадии расчёта также необходимо оценить реакцию АСР на возможные
вариации её параметров. Для этого искусственно изменяют параметры объекта
регулирования (Коб и τоб). То есть проверка на робастность заключается в
увеличение Коб и τоб примерно на величину от 10 до 15 % (уменьшать Коб и
τоб нет смысла, так как это приведёт к
улучшению условий устойчивости и улучшению качества регулирования) и построения
переходного процесса в АСР. Если переходной процесс устойчивый (не
расходящийся), то это значит, что система является работоспособной (грубой) к
изменению параметров объекта.
Проведем проверку на грубость, увеличив Коб и τоб на 10 %. Переходные процессы при
увеличенных на 10 % Коб и τоб и при исходных параметрах объекта
приведены на рисунке 3.13. На основании рисунка 3.13 можно сделать вывод, что
система является грубой к изменению параметров объекта, так как при изменении
Коб, τоб построенные переходные процессы
получились не расходящиеся (система устойчивая).
4. Электроснабжение и электрооборудование
.1 Описание общей системы электроснабжения предприятия в целом и
проектируемого участка
ФГУП “Германий”, к которому относится реконструируемый передел
выращивания монокристаллов германия, снабжается электроэнергией от Красноярской
ТЭЦ-1 по воздушной линии электропередачи напряжением 110 кВ. Для приема и
распределения электроэнергии на территории предприятия сооружена главная
понизительная подстанция (ГПП) 110/6 кВ, от которой получают питание все
цеховые трансформаторные подстанции и распределительные пункты.
Площадь участка составляет 540 м2. Характеристику потребителей
электроэнергии участка берем из технологической схемы. Годовой фонд рабочего
времени основного оборудования составляет 7920 часов.
.2 Принципиальная однолинейная схема электроснабжения проектируемого
участка
Электроэнергия от ГПП подается на цеховую трансформаторную подстанцию по
двум кабелям при напряжении 6 кВ. Для повышенной надежности предусматриваем
установку на цеховой подстанции двух силовых трансформаторов. Цеховая
подстанция располагается в пристройке к зданию завода.
Для распределения электроэнергии между потребителями цеха принята
радиальная схема электроснабжения с оборудованием распределительных пунктов
(РП) и щитов ЩСУ. Освещение питается от общей четырехпроводной сети.
Для силовых потребителей участка принимаем напряжение 0,4 кВ, для
освещения 0,22 кВ. Однолинейная принципиальная схема электроснабжения участка
выращивания монокристаллов германия приведена на рисунке 4.1.
Рисунок 4.1 - Схема электроснабжения участка выращивания монокристаллов
германия
.3 Расчет электрического освещения участка и общей осветительной нагрузки
Расчет производим по методу удельной мощности. Для общего освещения в
системе комбинированного освещения выбираем люминесцентные светильники типа ЛД,
две трубки по 80 Вт. Зрительная работа относится к 6-й категории (грубая очень
малой точности, с наименьшим размером объекта различения более 5 мм) согласно
СНиП 2-4 - 79 [?]. В соответствии с этим принимаем освещенность цеха 50 лк.
Площадь цеха составляет 540 м2. Для выбранного типа светильников и площади
участка определяем удельную нагрузку на освещение: Ро = 11,6 Вт/м2 [?].
Определяем расчетную активную мощность на освещение участка:
Росв = Ро ∙ S, (4.1)
Росв = 11,6 · 540 = 6264,0 Вт = 6,26 кВт.
Определяем число светильников:
n =
Росв / Рсв (4.2)
n =
6264 / (2 · 80) = 39,2 = 40 шт
Располагаем светильники в два ряда по 20 светильников. Расстояние между
светильниками в ряду - 2 м.
.4 Расчет электрической нагрузки
Для расчета электрических нагрузок в дипломном проекте применяем метод
коэффициента спроса.
Значение коэффициента спроса Кс и коэффициента мощности соs j взяты из нормативных документов
обогатительной фабрики в ходе преддипломной практики.
Расчетные значения активной Рр, кВт и реактивной Qp, квар мощности n
одинаковых электроприемников находятся по номинальной мощности Рн из формул
, (4.3)
(4.4)
Значения tgj
находится по известному значению соsj.
Расход активной Wa, кВт×ч и реактивной Wp, квар×ч электроэнергии по числу часов работы в сутки t находится из
формул
(4.5)
(4.6)
Результаты расчета электрических нагрузок сводим в таблицу 4.1.
Таблица 4.1 - Расчет электрических нагрузок
|
Наименование
|
n, шт.
|
Pн., кВт
|
∑Pн., кВт
|
Кс
|
cos
|
tg
|
Qр, квар
|
|
Печь для выращивания
|
12
|
22,60
|
271,20
|
0,80
|
0,95
|
0,33
|
216,96
|
71,60
|
|
Отрезной станок
|
2
|
2,20
|
4,40
|
0,75
|
0,8
|
0,75
|
3,30
|
2,48
|
|
Вальцовая мельница
|
2
|
6,40
|
12,80
|
0,70
|
0,8
|
0,75
|
8,96
|
6,72
|
|
Освещение
|
40
|
6,26
|
6,89
|
0,80
|
1,00
|
0,00
|
5,51
|
0,00
|
|
Итого
|
|
|
|
|
|
|
234,73
|
80,79
|
|
Наименование
|
t, ч
|
tгод, ч
|
Wа, кВт∙ч
|
Wр, квар∙ч
|
|
Печь для выращивания
|
19
|
7920
|
4 122,24
|
1 360,34
|
|
Отрезной станок
|
3
|
7920
|
9,90
|
7,43
|
|
Вальцовая мельница
|
3
|
7920
|
26,88
|
20,16
|
|
Освещение
|
24
|
8760
|
132,21
|
0,00
|
|
Итого
|
|
|
4 291,23
|
1 387,92
|
.5 Выбор устройств компенсации реактивной мощности
Основными электроприемниками в данном виде производства являются
электрнагреватели. Эти электроприемники, имеют низкий коэффициент мощности, что
ведет к ряду отрицательных последствий:
потере напряжения в электрической сети;
потере мощности в электрической сети;
необходимости увеличения сечения жил кабелей.
Для устранения этих отрицательных последствий используют естественные и
искусственные способы повышения коэффициента мощности. К числу последних
относится использование конденсаторных установок - батарей статических
конденсаторов (БСК). Обычно БСК подключают к шинам 0,4 кВ цеховой
трансформаторной подстанции.
Далее осуществляем расчет мощности компенсирующих устройств (БСК) и выбор
их типа.
По данным таблицы 4.1 электрических нагрузок вычисляется значение
средневзвешенного коэффициента мощности по формуле
(4.7)
В результате получаем
.
Это значение сosjср.вз.
сравниваем с нормативным значением соsjн.. Нормативное значение коэффициента мощности принимаем
равным 0,93 поскольку питание осуществляется от районных сетей напряжением 110
кВ. Так как наше значение средневзвешенного коэффициента мощности выше нормативного
(0,95 > 0,93), конденсаторные установки для цеха по выращиванию
монокристаллов германия не требуются.
.6 Расчет мощности и выбор трансформаторов цеховой трансформаторной
подстанции
По суммарной активной нагрузке SPp (таблица 4.1) и фактическому коэффициенту мощности сos jср.вз.ф определяем расчетную мощность
для выбора трансформаторов на цеховой подстанции по формуле
(4.11)
В результате получаем:
При использовании двухтрансформаторной подстанции мощность
трансформаторов выбирается так, чтобы при аварии с одним трансформатором,
второй обеспечивал питание всех электроприемников первой и второй категории.
При этом в нормальном режиме трансформаторы должны быть загружены на (60 - 80)
% номинальной мощности, в аварийном режиме при выходе из строя одного
трансформатора допускается загрузка второго трансформатора до 140 %. Для
проверки выполнения этого условия вычисляются коэффициенты загрузки
трансформатора в нормальном Кз.н и аварийном Кз.ав режимах по формулам
(4.12)
(4.13)
Данные коэффициенты, в соответствии с правилами технической эксплуатации
(ПТЭ) электроустановок потребителей, должны находится в следующих пределах:
Выбираем трехфазный масляный трансформатор типа ТМ-250/6, мощностью 250
кВА.
В результате получаем
,
.
Полученные значения коэффициентов загрузки в нормальном состоянии
несколько меньше заданного предела, однако аварийной ситуации это не вызовет.
Поэтому окончательно принимаем к установке двух трансформаторную КТП с
трансформаторами типа ТМ-250/6.
.7 Выбор кабелей напряжением 0,4 кВ и 6 кВ
Предусматриваем прокладку силовых кабелей в глухих каналах, устроенных в
полу цеха. В зависимости от принятого способа прокладки принимаем четырехжильные
кабели напряжением до 1 кВ с медными жилами, с изоляцией из пропитанной бумаги,
в свинцовой оболочке, марки СБГ.
Выбор сечений силовых кабелей производится по длительно допустимой
токовой нагрузке, а проверка по потере напряжения.
Для выбора сечения определяется расчетный ток нагрузки на кабель, А, по
формуле
(4.14)
где Рр.к. - расчетная нагрузка на кабель, определяемая по данным таблицы
нагрузок, кВт (Рр.к. = 229, 22 кВт);н - номинальное линейное напряжение сети, В
(Uн = 380 В);jcр.вз.к. -
средневзвешенный коэффициент мощности, определяемый с учетом нагрузок только
выбираемого кабеля (cos jcр.вз.к.
= 0,93);
hс - КПД электрической сети (hс = 0,92 - 0,95).
Производим вычисление
По данным справочника [6] выбираем четырехжильный кабель с сечением жилы
s = 185 мм2 и допустимым током Iдоп = 450 А.
Выбранный кабель проверяется по потере напряжения, В, по формуле
(4.15)
где l - длина кабеля (l = 110 м);- площадь сечения жилы кабеля (s = 185
мм2);
g - удельная проводимость меди (g = 58,1 м/(Ом×мм2)).
Производим расчет:
Потеря напряжения в процентах определяется по формуле:
(4.16)
и не должна превышать 5 % от значения номинального напряжения Uн.
Производим вычисление:
,
то есть выбранный кабель удовлетворяет нормам (потери составляют менее 5
%).
Предусматриваем прокладку силовых кабелей на освещение в глухих каналах,
устроенных в полу и стенах цеха. Для выбора кабеля на освещение рассчитаем ток
нагрузки на кабель по формуле (4.14)
По
данным справочника [6] выбираем трёхжильный кабель с сечением жилы s = 1,5 мм2
и допустимым током Iдоп = 16 А.
Выбранный
кабель проверяется по потере напряжения, В, по формуле (4.15)
Потеря напряжения в процентах определяется по формуле (4.16):
,
то есть выбранный кабель удовлетворяет нормам (потери составляют 5 %).
Результаты расчетов сводим в таблицу 4.2.
Таблица 4.2 - Характеристики кабелей напряжением 0,4 кВ
|
Назначение кабеля
|
Длина кабеля, м
|
Принятая марка и сечение
кабеля
|
Расчетный ток, А
|
Iдоп, А
|
Потеря напряжения, DU %
|
|
Участок выращивания
монокристаллов германия
|
110
|
СБГ-3х185+1х70
|
403,662
|
450
|
1,76
|
|
Освещение участка
|
52
|
ВВГ-3х1,5
|
14,47
|
16
|
4,6
|
Выбор кабелей напряжением 6 кВ производят по расчетному току, по формуле
(4.14)
Для тока 25,56 А принимаем трехжильные кабели напряжением до 6 кВ с
медными жилами, с изоляцией из пропитанной бумаги, в свинцовой оболочке, марки
АВВГ-3×10
с Iдоп = 60 А.
Выбранный кабель проверяется по потере напряжения, В, при значениях s= 10
мм2, g = 32 м/(Ом×мм2), l = 1060 м, по формуле (4.15)
Что в процентах составляет
,
то
есть выбранный кабель удовлетворяет нормам (потери составляют менее 5 %).
Результаты
расчетов сводим в таблицу 4.3.
Таблица 4.3 - Характеристики кабелей напряжением 6 кВ
|
Назначение кабеля
|
Длина кабеля, м
|
Принятая марка и сечение
кабеля
|
Расчетный ток, А
|
Iдоп, А
|
Потеря напряжения, DU %
|
|
Участок до ТМ
|
1060
|
АВВГ-3×10
|
60
|
1,85
|
|
4.8 Определение годовой стоимости электроэнергии
Суммарная присоединенная мощность нагрузки превышает 1000 кВА, поэтому
расчет годовой стоимости электроэнергии для них производится по двухставочному
тарифу по формуле:
(4.17)
где а - годовая стоимость 1 кВт максимальной активной нагрузки, руб.;
Рмакс - заявленная предприятием максимальная активная мощность, кВт;-
стоимость 1 кВт×ч активной энергии, коп.;
SWа - годовой расход активной энергии, кВт×ч;
с - годовая стоимость 1 квар
максимальной реактивной нагрузки, руб.;макс - максимальная реактивная мощность,
квар;- стоимость 1 квар×ч реактивной энергии, коп.;
SWр - годовой расход реактивной энергии, квар×ч.
Значения a, b, c, d берутся
по данным преддипломной практики на предприятии. Значения a, b, c, d
составляют: a = 93,30 руб., b = 22,32 коп., c =
7,1 руб., d = 0,83 коп.
Величины Рмакс и Qмакс при
расчете принимаются равными суммарным расчетным значениям активной åРр и реактивной åQр мощности из
таблицы электрических нагрузок. Годовой расход активной åWа и реактивной åWр энергии
определяется произведением соответственно åРр и åQр на годовой фонд времени работы основного
оборудования и его значения берутся из таблицы нагрузок (таблица 4.1).
Находим годовой расход
активной электроэнергии по формуле:
(4.18)
где tгод - годовой фонд рабочего времени
основного оборудования (tгод =
7668 ч).
В результате получаем:
Находим годовой расход реактивной электроэнергии по формуле:
(4.19)
В результате получаем:
В результате находим годовую стоимость электроэнергии:
Годовая стоимость электроэнергии составит 442727,1 рублей.
.9 Основные меры безопасности при эксплуатации электроустановок
Для защиты от поражения электрическим током при эксплуатации
электроустановок предприятий используются различные технические и
организационные мероприятия, предусмотренные «Правилами техники безопасности
при эксплуатации электроустановок потребителей».
К числу организационных защитных мер относятся:
оформление работы нарядом или распоряжением;
допуск к работе;
надзор во время работы;
оформление перерыва в работе, переводов на другое рабочее место,
окончания работы.
Правильная организация безопасного ведения ремонтных работ в действующих
электроустановках предусматривает:
производство необходимых отключений и принятие мер, препятствующих подаче
напряжения к месту работы вследствие ошибочного или самопроизвольного включения
коммутационной аппаратуры;
вывешивание плакатов: «Не включать - работают люди»,
«Не включать - работа на линии» и при необходимости установка ограждений;
присоединение к «земле» переносных заземлений; проверка отсутствия
напряжения на токоведущих частях, на которое должно быть наложено заземление;
наложение заземлений (непосредственно после проверки отсутствия
напряжения);
ограждение рабочего места и вывешивание плаката: «Стой - высокое
напряжение», «Не влезай - убьет», «Работать здесь».
К числу технических защитных мер электробезопасности относятся:
применение малых напряжений (12 и 36 В);
контроль за состоянием изоляции электроустановок;
компенсация емкостной составляющей тока замыкания на землю;
обеспечение недоступности токоведущих частей;
защитное заземление корпусов электроустановок;
зануление корпусов электроустановок;
двойная изоляция;
защитное отключение.
На большинстве предприятий используются четырехпроводные электрические
сети напряжением 0,4 кВ с TN-C-S (c глухозаземленной нейтралью). Это позволяет
от одной сети питать трехфазные силовые электроприемники (электродвигатели)
напряжением 380 В и осветительную нагрузку напряжением 220 В.
В сетях TN-C-S (c глухозаземленной нейтралью) основной защитной мерой от
поражений электрическим током при случайных прикосновениях персонала к
металлическим нетоковедущим частям цеха является зануление корпусов
электрооборудования, которое осуществляется их присоединением четвертой жилой
кабеля к нулевому заземленному выводу трансформатора.
Назначение зануления состоит в том, чтобы преобразовать замыкание на
корпус электроустановки при повреждении ее изоляции в однофазное короткое
замыкание, которое приводит к срабатыванию максимально-токовой защиты
(автоматического выключателя, предохранителя) и быстрому (не более 30 с)
селективному отключению поврежденной электроустановки. Однако в течение времени
существования однофазного замыкания на корпусе электроустановки присутствует
опасное для человека напряжение (от 110 B и выше в сети напряжением 380/220 В).
Для обеспечения надежности связи нулевого провода с землей в конце линии
у электроприемников устраиваются повторные заземлители (обычно не более трех) с
сопротивлением не более 30 Ом каждый (общее сопротивление повторных
заземлителей не более 10 Ом). Выполнение зануления осуществляется в
соответствии с «Правилами устройства электроустановок». Повторные заземлители
берут на себя функции центрального заземляющего устройства при обрыве
проводников, соединяющих его с нулевой точкой трансформатора. Использовать
заземление корпусов электроприемников без присоединения этих корпусов нулевому
проводнику запрещается. Поэтому в сети с глухозаземленной нейтралью
использовать защитное заземление нельзя.
5. Безопасность жизнедеятельности
Одним из важнейших социально-экономических факторов развития современного
общества является создание безопасных условий труда работающих, снижение уровня
производственного травматизма и профессиональных заболеваний. Для обеспечения
здоровых и безопасных условий труда большое значение имеет соблюдение правил по
технике безопасности и норм производственной санитарии. Для того чтобы человек
мог плодотворно работать, ему необходимо создать оптимальные условия для
выполнения его производственных обязанностей. Существует целый ряд норм,
выполнение которых позволяет во многом обеспечить такие условия, а также
уменьшить влияние вредных производственных факторов на здоровье человека.
.1 Анализ опасных и вредных производственных факторов
На промышленных предприятиях существуют опасные и вредные
производственные факторы, которые губительно сказываются на здоровье человека:
опасные факторы воздействием на рабочих приводят к внезапному, резкому
ухудшению здоровья человека, к травме или летальному исходу;
вредные производственные факторы воздействием на рабочих приводят к
профессиональным заболеваниям или к обострению существующих.
Также эти
факторы могут вызывать снижение работоспособности, быструю утомляемость,
нервозность, а также приводить к более серьезным последствиям.
Процесс выращивания монокристаллов германия связан с воздействием на
персонал ряда опасных и вредных факторов, к которым относят:
- поражение
электрическим током от прикосновения к токоведущим частям, вследствие нарушения
изоляции, отсутствия или неисправности заземления;
термические ожоги вследствие возможного теплового воздействия нагретых до
1000 °С печей;
механические повреждения от подвижных частей печей при отсутствии
защитных кожухов;
- механические повреждения в результате неосторожного обращения с
баллонами аргона;
воздействие теплового излучения;
- опасность травматизма при проведении технологических процессов и
обслуживании оборудования;
- производственные аварии.
Химическая опасность в цехе по выращиванию монокристаллов германия
отсутствует, так как процесс выращивания можно отнести к формовочному (германий
переходит из поликристаллического в монокристаллическое состояние), при этом
газов и паров не выделяется. Процесс выращивания проходит в нейтральной
атмосфере, а точнее в аргоне, под воздействием высоких температур. В случае
утечки аргона и лишь при содержании его в воздухе свыше 70% на человека будет
действовать эффект наркоза. Он тяжелее воздуха и может накапливаться в плохо
проветриваемых местах снижая при этом концентрацию кислорода, что может вызвать
кислородную недостаточность. Но в нашем цехе такой концентрации достичь
невозможно. К тому же аргон не включен в список вредных веществ в
ГОСТ12.1.005-01. Значит опасным (вредным) факторам можно отнести лишь поражение
электрическим током и тепловое излучение от печей.
Опасные и вредные производственные факторы сведены в таблицу 5.1.
Таблица 5.1 - Анализ опасных и вредных производственных факторов
|
Рабочее место или операция
технологического процесса
|
Оборудование
|
Опасный (вредный) фактор,
единица измерения
|
Величина фактора
|
Норматив (безопасная
величина)
|
|
Цех по выращиванию монокристаллов
германия
|
Установка для выращивания
|
Поражение электрическим
током, мА
|
>50
|
< 10 (ГОСТ12.1.038-01)
|
|
|
|
Тепловое излучение, Вт/м2
|
430
|
≤350 СН 245-81
|
В таблице 5.2 приведена характеристика метеоусловий на рабочем месте, в
сопоставлении их с нормативными данными.
Таблица 5.2 - Параметры микроклимата
|
Период года
|
Фактические
|
Оптимальные
|
Допустимые
|
|
t, °C
|
j, %
|
u, м/с
|
t, °C
|
j, %
|
u, м/с
|
t, °C
|
j, %
|
u, м/с
|
|
Холодный
|
16-18
|
20-30
|
0,2
|
16-18
|
40-60
|
<0,3
|
13-17
|
15-75
|
<0,5
|
|
Теплый
|
23-25
|
40-60
|
0,68
|
18-21
|
40-60
|
0,3-0,7
|
<26
|
<70
|
0,5- -1,0
|
По таблице 5.2 можно сделать вывод, что температура воздуха в цехе
немного больше оптимального, но не превышает допустимого значения, влажность
воздуха и скорость движения воздуха не превышает оптимального значения.
.2 Технические и организационные мероприятия по охране труда
Для обеспечения безопасной работы и предотвращения травматизма большое
значение имеет инструктаж по безопасным методам работ при эксплуатации и
ремонте оборудования.
В соответствии с требованиями к технике безопасности на предприятиях
проводятся следующие виды инструктажей:
- вводный инструктаж для всех принимаемых на работу, проводят
инженер по охране труда и работник пожарной охраны, газоспасательной службы,
если такая имеется на предприятии;
- первичный инструктаж на рабочем месте проходят все работники,
вновь поступившие на работу и прошедшие вводный инструктаж, переведенные из
одного цеха в другой, а также переведенные с одной работы на другую в одном и
том же цехе; проводится непосредственно руководителем работ (мастером);
- повторный (плановый), проводится мастером раз в полгода в
обязательном порядке;
- внеочередной инструктаж, проводится при изменении
технологического процесса или правил по охране труда, замене или модернизации
оборудования, нарушении работникам требований безопасности труда (если
произошел несчастный случай), перерывах в работе свыше 60 дней;
- целевой инструктаж, проводится для работников, выполняющих
особо опасные работы.
Для нормальной работы действующего оборудования и предотвращения
каких-либо вредных воздействий на работающих предусмотрены мероприятия:
- ограждения от движущихся частей, электрического тока,
тепловых излучений;
- устройства, срабатывающие при нарушении технологических
параметров: системы сигнализации, системы автоматического отключения при
отклонении параметра от нормы;
- изоляция баллонов с аргоном от рабочей зоны оператора;
- заземление электрооборудования;
- наличие приточно-вытяжной вентиляции;
- рабочие места имеют нормальный уровень освещенности;
- на переделе имеются знаки безопасности: предупреждающие
(«осторожно высокое напряжение»), предписывающие («работать в защитных
средствах») и другие;
- применяются индивидуальные средства защиты согласно типовым
нормам (спец. одежда, спец. обувь, защитные очки, перчатки, фартуки, резиновые
сапоги, респираторы, противогазы).
Для безопасного ведения технологического процесса рабочие места снабжены
инструкциями различного рода, технической схемой цепи аппаратов, подписями,
плакатами.
.3 Электробезопасность
Помещение передела выращивания монокристаллов германия по
электроопасности относится к особо опасным. Оборудование предела работает на
переменном токе. На установки выращивания приходит 3 фазы 380 В.
Используемый в технологическом процессе электрический ток является
источником опасности для обслуживающего персонала, поэтому для работников цеха
важно знать и соблюдать правила электробезопасности. Работающие должны знать
причины возможных поражений электрическим током, его возможное действие на
организм человека и меры защиты.
Основными причинами поражений электрическим током являются:
- появление напряжения там, где его в нормальных условиях не
должно быть, под напряжением могут оказаться металлические конструкции,
строительные элементы здания и так далее;
- соединение изолированных от земли токоведущих частей
оборудования с заземлёнными участками здания, оборудования или предметами;
- прикосновение к неизолированным токоведущим частям
оборудования;
- прочие причины, к числу которых относятся несогласованные
действия персонала.
Влияние электрического тока на организм человека проявляется в
разнообразных формах: тепловое действие вызывает ожоги тела; световое -
заболевание глаз; механическое - разрыв тканей, повреждение костей;
биологическое - паралич нервной и сердечно - сосудистой системы. При поражении
электрическим токам различают электрические травмы и электрический удар,
который сопровождается потерей сознания, появлением судорог, частичным или
полным прекращением дыхания и сердечной деятельности.
Выделяют следующие пороговые величины тока: опасным для жизни является
ток силой (10 - 15) мА, ток выше 100 мА является смертельным.
Основные защитные мероприятия от электрического тока:
- недоступность токоведущих частей (изоляция);
- применение малого напряжения;
- применение двойной изоляции - рабочей и дополнительной;
- защитное заземление - преднамеренное соединение с
"землёй" или её эквивалентом, металлических не токоведущих частей
оборудования;
- защитное зануление - это преднамеренное соединение
металлических не токоведущих частей с нулевым защитным проводником.
- применение установок защитного отключения;
- применение средств защиты (инструмент с изолированными
ручками, диэлектрические перчатки, ботинки кожаные закрытого типа и т.д.).
Для предупреждения поражений электрическим током персонала при случайных
прикосновениях к токоведущим частям необходимо выполнять технические и
организационные мероприятия, предусмотренные «Правилами техники безопасности
при эксплуатации электроустановок потребителей».
К числу технических мероприятий относятся:
- производство необходимых отключений и принятие мер,
препятствующих подаче напряжений к месту работы вследствие ошибочного или
самопроизвольного включения коммутационной аппаратуры;
- вывешивание плакатов: «Не включать - работают люди», «Не
включать - работа на линии» и при необходимости установка ограждений;
- присоединение к «земле» переносных заземлений; проверка
отсутствия напряжения на токоведущих частях, на которое должно быть наложено
заземление;
- наложение заземлений (непосредственно после проверки
отсутствия напряжения);
- ограждение рабочего места и вывешивание плаката «Стой -
высокое напряжение», «Не влезай - убьет», «Работать здесь».
.4 Мероприятия по производственной санитарии
В зависимости от санитарной характеристики производственные предприятия
делятся на 4 группы. Производство на ФГУП «Германий» относится ко 2-ой группе,
характеризуется неблагоприятными условиями с выделением вредных газов, пыли,
лучистой энергии с напряженной физической работой.
Такие производства оборудуются гардеробами, душевыми, умывальниками.
На переделе германиевого концентрата стены бетонные, серого цвета,
оборудование, щит КИП окрашен в зеленый цвет. Пол бетонный. Уборка производится
рабочим персоналом - влажная.
Так как передел выращивания является лишь частью предприятия, то все
питьевое водоснабжение и санитарно бытовые помещения расположены в центральном
коридоре (газированные аппараты, умывальные, санузлы). Отопление подводится от
центральной сети завода «КрасЦветМет», где расположено само предприятие
«Германий». На предприятии установлены радиаторы отопления и калориферы для
поддержания температуры окружающего воздуха в пределах нормативов.
Имеются самостоятельные системы кондиционирования воздуха с
металлическими кондиционерами малой производительности и отдельными системами
автоматизации и контроля. Кондиционеры размещены в подвале. Подача воздуха в
помещении осуществляется анемостатами, обеспечивающими его равномерное
распределение. Удаление воздуха осуществляется вытяжными установками местной и
общеобменной вентиляции. В зимнее время система кондиционирования воздуха также
выполняет функции воздушного отопления.
.4.1 Расчет производственного освещения
Естественное освещение в помещениях регламентируется нормами СНиП
23-05-95.
Для оценки качества естественного освещения необходимо расчетное значение
коэффициента естественной освещенности ер сравнить с нормированным ен,
определяемое с учетом характера зрительной работы, системы освещения, района
расположения здания на территории страны.
Нормированные значения коэффициента естественного освещения (КЕО)
определяется по формуле:
en = eн · mn, (5.1)
где ен - значение КЕО равное 0,6 %, так как характеристика зрительной
работы грубая (очень малой точности); n - номер группы обеспеченности естественным светом, равный 2; mn - коэффициент светового климата,
равный 0,9.
В результате получаем:
ен = 0,6 · 0,9 = 0,54. (5.2)
Значения КЕО при боковом и верхнем освещении определяется по формуле:
, (5.3)
где
S0 - площадь окон, м2 (Sо = 30 м2); Sn -
площадь пола, м2 (200м2); tо -общий коэффициент
светопропускания tо = 0,5; hо - световая
характеристика окна (hо = 15); r1 - коэффициент, учитывающий,
влияние отраженного света при боковом освещении (r1=2); Кзд -
коэффициент, учитывающий затенение окон противостоящими зданиями (Кзд= 1,4); Кз
- коэффициент запаса (Кз=1,3).
Таким образом, коэффициент естественной освещённости равен:
,
ep = 0,55.
Для обеспечения нормального освещения значения расчетного коэффициента
естественной освещенности eр
должно быть больше или равно нормируемому КЕО, т.е. должно выполняться условие:
eр ≥
eн ,
,55 ≥ 0,54.
Данное условие выполняется, однако для работы в цехе непрерывного
процесса одного естественного освещения недостаточно, поэтому используют
искусственное освещение, так как плохое освещение может привести к
профессиональному заболеванию органов зрения.
.4.2 Искусственное освещение
.4.3 Расчет воздухообмена
Задачей промышленной вентиляции является создание на производстве
нормальных метеорологических и гигиенических условий за счёт качественного и
своевременного удаления вредных газов, пыли, паров, влаги и тепловыделений. По
способу перемещения воздуха вентиляция бывает естественной и искусственной. Для
организации естественной вентиляции в цехе предусмотрен аэрационный фонарь.
При расчёте общего воздухообмена на тёплый период года (как самого
неблагоприятного для аэрации) преимущественной вредностью в горячих цехах
являются избытки явной теплоты. Расчёт ведётся согласно методике, изложенной в
СНиП П-33-75.
Для передела выращивания принимаем кратность воздухообмена К = 4,2 l/ч.
Необходимое количество приточного воздуха Lпр, м3/ч, определяем по следующей формуле:
Lпр=К
· V (5.4)
где: V- объем помещения, м3.
Lпр =
4,2 · 800 = 3360 м3/ч.
.5 Мероприятия по пожарной и взрывной безопасности
Пожары и взрывы на производстве представляют опасность для рабочих,
причиняют значительные повреждения и материальный ущерб, могут вызвать
остановку работу.
Причины возникновения пожара разнообразны: недостатки в строительных
конструкциях, сооружениях, планировке помещений; дефекты оборудования;
нарушения режимов технологических процессов; неправильное проведение работ;
неосторожность и небрежность персонала.
Взрывы происходят из-за нарушения нормальной эксплуатации оборудования,
работающего под давлением; воспламенение газо-, паро- и пылевоздушных смесей,
образующихся при проведении технологических процессов.
В металлургическом цехе источниками пожаров могут быть:
- электроустановки - трансформаторы, двигатели, провода и
кабели, распределительные щиты и шкафы;
- режимные причины (например, курение в неположенном месте).
Профилактика пожаробезопасности цеха:
- рациональная планировка цехов, служб, складов на
промплощадке. Для этого производят зонирование территории, кольцевание дорог на
промплощадке, озеленение лиственными породами, устройство гидрантов и т.д.;
- применение материала определённой степени огнестойкости. При
этом степень огнестойкости можно усилить оштукатуриванием или применением
огнезащитной краски, пропиточных материалов;
- устройство противопожарных преград (перегородки, стены и
т.д.);
- соблюдение противопожарных разрывов от 9 до 19 м;
- устройство специальных противопожарных люков, устройство
вышибных панелей в здании;
- устройства эваковыходов и эвакодверей;
- применение подручных средств пожаротушения: пожарные щиты,
автоматы, устройства пожаротушения и т.д.;
- надзор и контроль не только со стороны предприятия, но и со
стороны ГОСПОЖ надзора.
Ответственность за пожарную безопасность на предприятии несет директор
предприятия, а в цехах, отделах и других участках работ - их непосредственные
начальники. Руководитель (директор) предприятия имеет право налагать
административные взыскания на нарушителей правил инструкций пожарной
безопасности и, при необходимости, возбуждать дело о привлечении виновных к
уголовной ответственности.
По пожарной опасности производство относится к категории Д, степень
огнестойкости − II. Пределы для данной степени огнестойкости сведены в
таблицу 5.3.
На предприятии устанавливается порядок пропаганды пожарной безопасности в
виде противопожарного инструктажа и занятий по пожарно-техническому минимуму.
Для каждого предприятия, а также цеха (участка) разрабатываются
обще-объектные и участковые противопожарные инструкции.
Инженерно-технические работники, ответственные за пожарную безопасность
на отдельных участках, обязаны знать пожарную опасность технологического
процесса и строго выполнять требования противопожарных правил, норм и
инструкций, применяемых на предприятии; следить за их соблюдением.
Система противопожарного водоснабжения на предприятии состоит из наружной
водопроводной сети, предназначенной для питания пожарных автомашин. Ее
сооружают вдоль дорог на расстоянии 5 м от зданий, через каждые 100 м на ней
устанавливают краны - гидранты. Расход воды на наружное пожаротушение
составляет 15 л/с.
Переносные огнетушители, типа ОВП-10 (химически-воздушно-пенные)
размещены на пожарных щитах по всему предприятию на расстоянии не менее 1,2 м
от проема двери и на высоте не более 1,5 м от уровня пола. Запорная арматура
химических огнетушителей опломбирована. Использованные огнетушители, а также
огнетушители с сорванными пломбами немедленно изымаются для проверки или
перезарядки.
Начальник смены цеха в начале и конце рабочего дня обязан производить
проверку состояния средств пожаротушения с записью в специальном журнале.
При пожаре немедленно принимаются меры к его ликвидации, вызывается
пожарная команда по телефонной связи.
На предприятии имеется охранно-пожарная сигнализация. Для сигнализации о
пожаре в помещении используются тепловые извещатели. Расстояние между
извещателями 4,5 м, извещателем и стеной 2,6 м. Площадь контролируемая одним
извещателем 20 м3.
Таблица 5.3 - Пределы огнестойкости строительных конструкций и
распространения огня по ним
|
Степень огнестойкости
|
Параметр
|
Стены
|
Колонны
|
|
|
несущие и лестничных клеток
|
самонесущие
|
наружные ненесущие
|
внутренние ненесущие
|
|
|
II
|
Мин. предел огнестойкости
строительных конструкций
|
2
|
1
|
0,25
|
0,25
|
2
|
|
Макс. предел
распространения огня
|
0
|
0
|
0
|
0
|
0
|
|
Степень огнестойкости
|
Параметр
|
Лестничные площадки,
ступени, балки и марши лестничных клеток
|
Плиты, настилы (в т.ч. с утеплителем)
и др. несущие конструкции перекрытий
|
Элементы покрытий
|
|
|
|
|
плиты, настилы (в т.ч. с
утеплителем) и прогоны
|
балки, фермы, арки, рамы
|
|
II
|
Мин. предел огнестойкости
строительных конструкций
|
1
|
0,75
|
0,25
|
0,25
|
|
Макс. предел
распространения огня
|
0
|
0
|
0
|
0
|
Начальник смены цеха в начале и конце рабочего дня обязан производить
проверку состояния средств пожаротушения с записью в специальном журнале.
Организационно-технические мероприятия должны включать:
- паспортизацию веществ, материалов, изделий, технологических
процессов, сооружений в части обеспечения пожарной безопасности;
- организацию обучения правилам пожарной безопасности на
производстве;
- изготовление и применение средств наглядной агитации по
обеспечению пожарной безопасности;
- разработку мероприятий по действиям администрации, рабочих,
служащих на случай возникновения пожара и организации эвакуации людей;
- применение пожарной техники обеспечивающей эффективное
тушение пожара (загорания) и безопасной для людей.
.6 Охрана окружающей среды
Выращивание монокристаллов германия практически безопасно для окружающей
среды, однако процессы разложения, экстракции, дистилляции и ректификации, а
точнее газы, образовавшиеся в результате их, могут стать одним из возможных
источников серьёзного загрязнения окружающей среды.
В процессе эксплуатации установки дистилляции возможны выделения паров
тетрахлорида германия и хлора через абгазную линию.
Абгазная линия направлена на скруббера газоочистки для полного
улавливания хлора, тетрахлорида германия перед выбросом в атмосферу в протоке
5%-ного раствора каустической соды (NaOH).
Количество вредных газов, выбрасываемых в атмосферу, планируется
предприятию на основании разрешения Енисейского межрегионального управления по
технологическому и экологическому надзору.
Периодически, не менее двух раз в месяц, на ЛКП ФГУП «Германий»
производятся замеры количества выбрасываемых в атмосферу газов через местную
вентиляцию ВС-9.
В таблице 5.4 представлены технологические выбросы в атмосферу через
местную вентиляционную систему ВС-9.
Таблица 5.4 - Выбросы в атмосферу
|
№ ВС
|
Выбросы по ингредиентам
|
Количество отходящих газов,
производительность, м3/ч
|
Содержание лимитированных
выбросов (ПДВ), мг/м3
|
Место отбора проб
|
|
ВС-9
|
HCl
|
10200
|
21,18
|
Отм.+15,0 м
|
|
Cl2
|
|
32,47
|
|
|
NH3
|
|
6,53
|
|
Образующаяся отработанная серная кислота передается для повторного
использования на передел разложения. Сбросовые растворы и твердые отходы не
образуются.
.7 Безопасность жизнедеятельности в чрезвычайных ситуациях
Предприятие ФГУП «Германий» является крупным промышленным объектом.
Возможность возникновения чрезвычайных ситуаций различного характера на данном
производстве не исключается. Так, например, предприятие в силу определенных
факторов может стать очагом химического заражения. Химическое заражение создает
особо опасную обстановку на объекте. Объект вынужден прекратить работу и
принять меры к защите людей и ликвидации последствий заражения.
К таким мерам относится целый ряд мероприятий. Необходимо обеспечить
рабочих и служащих средствами индивидуальной защиты, обучить людей пользоваться
ими.
Помещение цеха необходимо подготовить к герметизации на случай заражения.
Для этого окна, двери, другие проемы оборудуют специальными уплотнениями. Для
быстрой ликвидации заражения и дегазации, то есть по ликвидации очага
химического заражения проводятся специальные формирования.
В помещениях предприятия предусмотрено наличие индивидуальных средств
защиты на непрерывных участках производства.
Здание предприятия снабжается несколькими эвакуационными выходами.
Большое значение для своевременного применения средств защиты и мер к
ликвидации чрезвычайной ситуации имеет система оповещения. Поэтому на
предприятии предусмотрены средства подачи сигналов гражданской обороны. Кроме
того, на предприятии осуществляются периодические, плановые учения по
гражданской обороне, с целью обучения людей поведению в условиях чрезвычайной
ситуации.
6. Экономическая часть
6.1 Краткая характеристика объекта автоматизации
В данном разделе рассматривается проект автоматизации процесса выращивания
монокристаллов германия на ФГУП «Германий». Целью данной части является
экономическое обоснование проекта. Принципиальная технологическая схема
выращивания приведена на рисунке 6.1.
Рисунок 6.1 - Принципиальная схема выращивания монокристаллов германия
Производство германия с целом - сложнейший и длительный процесс,
включающий в себя ряд операций, от переработки первоначального сырья
(концентратов, кеков, и шлифпорошков) до получения монокристаллического германия
и его обработки. В качестве объекта автоматизации рассматривается печь для
выращивания монокристаллов германия.
Температура является важнейшим параметром, влияющим на качество
продукции. При нестабильной температуре изменяется структура слитка, его поверхность,
что приводит к большому выходу отходов при обработке монокристалла в
дальнейшем. Следовательно, для получения обработанного слитка нужного диаметра
нам необходимо больше основного сырья (поликристаллического германия).
Внедрение АСР температуры тигля позволит избежать подобного рода
неприятностей, т.е. с ростом качества структуры слитка нам потребуется меньше
поликристаллического германия для выращивания монокристаллов того же диаметра.
.2 Технико-экономическое обоснование проекта автоматизации
Цех по выращиванию монокристаллов германия имеет 12 печей. Расход
поликристаллического германия составляет 2,04 кг/ч. Расход электроэнергии одной
печью для выращивания составляет 130 кВт×час, расход аргона одной печью составляет 1900 л/ч. В
результате внедрения АСР температуры тигля планируется уменьшить расход
поликристаллического германия на 1%, притом расход электроэнергии каждой печью
возрастет до 145 кВт×ч, а расход аргона до 1916 л/ч. Дополнительные капитальные вложения в АСР
для всех печей составят 1 200 000 руб. Расход воды для охлаждения одной печи
составляет 7 м3/ч.
Исходные данные приведены в таблице 6.1.
Таблица 6.1 - Исходные данные
|
Показатели
|
Аналог
|
Проект
|
Цена, руб.
|
|
Производительность одной
печи, кг/сут
|
40,8
|
40,8
|
-
|
|
Поликристаллический германий,
кг/ч
|
2,04
|
2,0196
|
11 600
|
|
Аргон, л/ч
|
1900
|
1916
|
12,6
|
|
Электроэнергия, кВт×ч
|
130
|
145
|
0,92
|
|
Вода, м3/ч
|
7
|
7
|
6
|
Режим работы предприятия непрерывный. Норма амортизации АСР составляет 20
%, затраты на содержание и текущий ремонт АСР - 8 %. Длительность простоя
оборудования в планово-предупредительном ремонте составляет 35 дней,
коэффициент использования оборудования по мощности равен 0,8.
Рассчитываем производственную программу по расходу материалов до и после
внедрения АСР. Данные представлены в таблице 6.2.
Таблица 6.2 - Производственная программа цеха по выращиванию
монокристаллов германия
|
Показатели
|
Ед. изм.
|
Условное обозначение или
формула расчета
|
Аналог
|
Проект
|
|
Количество единиц ведущего
оборудования
|
шт.
|
К вед.об.
|
12
|
12
|
|
Календарное время
|
сут.
|
Тк
|
365
|
365
|
|
Количество выходных и
праздничных дней
|
сут.
|
Тв
|
-
|
-
|
|
Номинальное время
|
сут.
|
Тн= Тк - Тв
|
365
|
365
|
|
Длительность простоя в
планово-предупредительном ремонте
|
сут.
|
ТППР
|
35
|
35
|
|
Действительный фонд времени
|
сут.
|
Тд= Тн - ТППР Тд=365-35
|
330
|
330
|
|
Действительный фонд времени
|
час
|
Тд
|
7 920
|
7 920
|
|
Показатели
|
Ед. изм.
|
Условное обозначение или
формула расчета
|
Аналог
|
Проект
|
|
Производительность единицы
оборудования
|
кг/сут
|
П
|
40,8
|
40,8
|
|
Коэффициент использования
оборудования по мощности
|
ед.
|
Км
|
0,8
|
0,8
|
|
Годовой выпуск
|
кг /год
|
Вгод= Квед.об. · Тд · П ·
Км
|
129 254,4
|
129 254,4
|
.2.1 Определение условно-годовой экономии по изменяющимся статьям затрат
Экономия на расходе определяется по формуле
DC = (q1 - q2) · Тд · Ц, (6.1)
где ΔC - изменение себестоимости по расходу сырья, материалов и
топлива, руб.;и q2 - расход ресурса в час до и после внедрения АСР всеми
агрегатами;
Тд - действительный фонд рабочего времени, ч;
Ц - стоимость ресурса.
Найдем экономию на расходе поликристаллического германия и затраты на
электроэнергии и на аргон по формуле (6.1)
ΔСпол.герм. = (2,04 - 2,0196) · 7 920
· 11 100 · 12 = 21 520 857,6 руб;
ΔСэл.эн. = (130 - 145) · 7 920 · 0,92
· 12 = - 1 311 552 руб;
ΔСаргона = (1900 - 1916) · 7 920 ·
12,60 · 12 = - 19 160 064 руб;
Вычисляем затраты на амортизацию и текущий ремонт АСР DЗа. р. по формуле
DЗа. р. = КАСР · (На + Р) / 100, (6.2)
где КАСР - капитальные вложения в АСР, руб;
На - норма амортизации АСР, %;
Р - текущий ремонт и содержание АСР,%.
DЗа. р. = 1 200 000 · (20 + 8) / 100 = 336 000 руб.
Результаты расчетов сводят в таблицу 6.3.
Таблица 6.3 - Расчет условно-годовой экономии (УГЭ)
|
Показатель
|
Отклонение (+, -)
|
|
Расход поликристаллического
германия
|
21 520 857,6
|
|
Затраты на амортизацию и
ремонт АСР
|
- 336 000
|
|
Затраты на электроэнергию
|
- 1 311 552
|
|
Затраты на аргон
|
- 19 160 064
|
|
УГЭ
|
713 242
|
Таким образом, условно-годовая экономия после внедрения АСР составит 713
242 руб.
.2.2 Определение статических показателей эффективности
Абсолютную экономическую эффективность вычисляют по формуле
, (6.5)
где DП - изменение
валовой прибыли за счет снижения затрат и получения дополнительной прибыли,
руб;
DК - дополнительные капитальные вложения, руб.
Получаем:
Еа = 713 242 / 1 200 000 = 0,594.
Срок окупаемости вычисляют по формуле
. (6.6)
В результате получаем:
Т = 1 / 0,729 = 1,68 года.
Годовой экономический эффект вычисляют по формуле
Эгод = DП ± ЕН · DК , (6.7)
где Ен - нормативный коэффициент (для объектов автоматизации Ен = 0,32);
DК - дополнительные капитальные вложения при модернизации или
реконструкции цеха, руб.
В результате получаем:
Эгод = 713 242 - 0,32 · 1 200 000 = 329 242 руб.
Абсолютная экономическая эффективность равна 0,594, что больше
нормативной величины 0,32. Срок окупаемости равен 1,68 года. Годовой
экономический эффект положителен и составляет 329 242 руб. Следовательно,
статические показатели подтверждают эффективность проекта.
.2.3 Оценка динамических показателей эффективности проекта
Исходными данными для расчета чистого дисконтированного дохода (ЧДД)
являются:
дополнительный инвестиционный поток (равен стоимости АСР, 1 200 000
руб.);
дополнительный поток от операционной деятельности (равен сумме
условно-годовой экономии (713 242 руб.) и годовой амортизации АСР (336 000
руб.), т.е. всего 1 049 242 руб.;
количество расчетных периодов (равно времени внедрения (1,68 года) и
эксплуатации АСУ (5 лет)), принимают 5 лет, так как начинают получать
дополнительную прибыль в первом расчетном периоде;
норма дисконта 15 %.
Проект считают эффективным, если ЧДД положителен за расчетный период.
Для простоты и наглядности расчет ведется по форме таблицы 6.4.
Таблица 6.4 - Расчет ЧДД
Кол-во
расчетных периодов tI, лет Коэфф. дисконтирования,
Дисконтированный дополнительный операционный поток,
|
DОПI = 1 049 242 · КI, руб.ЧДДI = - 1 200 000 + åDОПI, руб.
|
|
|
|
|
1
|
0,87
|
912 840,54
|
-287 159,46
|
|
2
|
0,75
|
786 931,50
|
499 772,04
|
|
3
|
0,65
|
682 007,30
|
1 181 779,34
|
|
4
|
0,57
|
598 067,94
|
1 779 847,28
|
|
5
|
0,5
|
524 621,00
|
2 304 468,28
|
|
Итого:
|
-
|
3 504 468,28
|
5 478 707,48
|
Индекс доходности дисконтированных инвестиций (ИДД) рассчитывается по
формуле
. (6.8)
Проект считают экономически эффективным, если ИДД выше единицы:
ИДД = 3 504 468,28 / 1 200 000 = 2,92.
Таким образом, статические и динамические показатели эффективности
подтверждают целесообразность внедрения данной АСР, так как чистый
дисконтированный доход положителен и равен 5 478 707,48 руб., а индекс
доходности дисконтированных инвестиций больше единицы.
.3 Расчет капитальных вложений и амортизационных отчислений
В данном разделе приведем обоснование стоимости капитальных вложений в
основные средства по проекту.
Общие капитальные вложения включают в себя стоимость зданий, сооружений,
передаточных устройств, машин и оборудования, транспортных средств и инвентаря.
Затраты на приобретение и монтаж оборудования и сумму амортизационных
отчислений рассчитываем по каждому виду в соответствии с таблицей 6.5. Затраты
на транспортировку и монтаж оборудования составляют 15 % от его стоимости.
Таблица 6.5 - Капитальные вложения и амортизационные отчисления по
оборудованию
|
Наименование оборудования
|
Количество, шт.
|
Цена за единицу, тыс. руб.
|
Сумма, тыс. руб.
|
Затраты на монтаж и транспортировку,
Тыс. руб.
|
Первоначальная стоимость,
тыс. руб.
|
Норма амортизации, %
|
Сумма амортизационных
отчислений, тыс. руб.
|
|
Печь для выращивания
|
12
|
930
|
11 160,00
|
1 674,00
|
12 834,00
|
12,30
|
1 578,58
|
|
Отрезной станок
|
2
|
456
|
912,00
|
136,80
|
1 048,80
|
10,00
|
104,88
|
|
Вальцовая мельница
|
2
|
524
|
1 048,00
|
157,20
|
1 205,20
|
11,50
|
138,60
|
|
Автопогрузчик 1,5 т
|
1
|
50,72
|
50,72
|
7,61
|
58,33
|
18,90
|
11,02
|
|
Итого:
|
-
|
-
|
13 170,72
|
1 975,61
|
15 146,33
|
1 833,08
|
Составим сводную ведомость капитальных затрат и амортизационных отчислений
(таблица 6.6).
Структура основных средств: здания - 45 %, сооружения - 8 %, передаточные
устройства - 5 %, энергетическое оборудование - 6 %, технологическое и
подъемно-транспортное оборудование - 27 %, информационное оборудование - 8 %,
инвентарь - 1 %.
Таблица 6.6 - Сводная ведомость капитальных вложений и амортизационных
отчислений
|
Группы основных фондов
|
Стоимость, тыс. руб.
|
Структура, %
|
Амортизационные отчисления
|
|
|
|
Норма, %
|
Сумма, тыс. руб.
|
|
Здания (п)
|
25 243,88
|
45,00
|
1,20
|
302,93
|
|
Сооружения (п)
|
4 487,80
|
8,00
|
3,20
|
143,61
|
|
Передаточные устройства (п)
|
2 804,88
|
5,00
|
8,30
|
232,80
|
|
Энергетическое оборудование
(а)
|
3 365,85
|
6,00
|
6,00
|
201,95
|
|
Технологическое и
подъемно-транспортное оборудование (а)
|
15 146,33
|
27,00
|
-
|
1 833,08
|
|
Информационное оборудование
(а)
|
4 487,80
|
8,00
|
12,50
|
560,98
|
|
Инвентарь (п)
|
560,98
|
1,00
|
9,00
|
50,49
|
|
Всего
|
56 097,52
|
100,00
|
-
|
3 325,83
|
|
В том числе
|
|
|
|
|
|
Активная часть (а)
|
22 999,98
|
41,00
|
-
|
2 596,01
|
|
Пассивная часть (п)
|
33 097,54
|
59,00
|
-
|
729,83
|
Таким образом, сумма общих капитальных вложений по цеху составит 56
097,52 тыс. руб., в том числе стоимость активной части - 22 999,98 тыс. руб.,
стоимость пассивной части - 33 097,54 тыс. руб. Годовая сумма амортизационных
отчислений составит 3 325,83 тыс. руб.
.4 Организация труда и расчет численности рабочих
Целью данного раздела является определение потребности производства в
промышленно-производственном персонале.
.4.1 Организация труда
При выборе графика сменности учитывается режим технологического процесса
и законодательство по труду. Трудовым законодательством установлена
продолжительность рабочей недели 40 часов при нормальных условиях труда. Режим
работы цеха по выращиванию монокристаллов германия ФГУП «Германий» непрерывный
в 3 смены, продолжительность смены 8 часов.
На основе этих данных составляют график сменности для основных и
вспомогательных рабочих (таблица 6.7).
Таблица 6.7 - График сменности при непрерывном режиме работы (8
часов/смена)
|
Бригады
|
Число месяца
|
|
1
|
2
|
3
|
4
|
5
|
6
|
7
|
8
|
9
|
10
|
11
|
12
|
13
|
14
|
15
|
16
|
|
А
|
1
|
1
|
1
|
1
|
Х
|
2
|
2
|
2
|
2
|
Х
|
3
|
3
|
3
|
3
|
Х
|
Х
|
|
Б
|
3
|
3
|
Х
|
Х
|
1
|
1
|
1
|
1
|
Х
|
2
|
2
|
2
|
2
|
Х
|
3
|
3
|
|
В
|
2
|
Х
|
3
|
3
|
3
|
3
|
Х
|
Х
|
1
|
1
|
1
|
1
|
Х
|
2
|
2
|
2
|
|
Г
|
Х
|
2
|
2
|
2
|
2
|
Х
|
3
|
3
|
3
|
3
|
Х
|
Х
|
1
|
1
|
1
|
1
|
Очередной отпуск составляет 30 дней, по болезни 5 дня, государственные
обязанности -1 день.
Рассчитаем соответствие графика сменности трудовому законодательству.
Отработанное за неделю время Чнедфакт, ч определяют по формуле
(6.9)
где tсм -длительность смены, ч;
Кднраб/ц - количество рабочих дней за цикл, дней (12 дней);
Ц - цикл сменооборота, дней (16 дней);
Кнед - количество недель в году (365 / 7).
В результате получаем:
Чнедфакт = 365 · 8 · 12 / (16 · 365 / 7) = 42 ч.
Цикл сменооборота - это количество дней, в течение которых одна бригада
отработает все смены.
Недоработку или переработку Н/П, дней, рассчитывают по формуле
(6.10)
где Чнеднорм - нормативное время работы в неделю, ч.
Получаем:
= ((40 -
42) / 8) · 52 = -13 дн.
Так
как переработка в год составляет 13 дней, её добавляем к отпуску.
На
основании графика сменности количество выходных дней Квых, дн., определяют по
формуле
, (6.11)
где Кднвых/ц -количество выходных за цикл.
Для четырехбригадного графика получаем:
Квых = (365 / 16) · 4 = 92 дн.
На основании выше приведенных расчетов определяем плановый баланс
рабочего времени (таблица 6.8) и коэффициент перехода от штатной численности к
списочной.
Таблица 6.8 - Плановый баланс рабочего времени
|
Показатели
|
Непрерывная рабочая неделя,
8 ч/смена
|
|
Календарный фонд, дни
|
365
|
|
Выходные и нерабочие дни по
графику сменности, дни
|
103
|
|
Номинальный фонд рабочего
времени Тн, дни
|
262
|
|
Невыходы по причинам:
-отпуск очередной и дополнительный -болезни -выполнение государственных и
общественных обязанностей
|
43 5 1
|
|
Эффективный фонд рабочего
времени Тэф, -дни -часы
|
213 1 704
|
|
Коэффициент перехода от
штатной численности к списочной Кс = Тн / Тэф
|
250 / 207 = 1,23
|
.4.2 Расчет численности рабочих
Расчет численности работающих выполняют раздельно по категориям: рабочие
(основные и вспомогательные), руководители, специалисты и служащие. Различают
явочное, списочное и штатное количество рабочих.
Явочное количество - это число работников, которое ежесуточно должно быть
на производстве. Явочное количество рабочих Чяв, чел, определяют по нормам
численности на обслуживание с помощью формулы
Чяв=А·Ноб·с, (6.12)
где А - число единиц оборудования, ед.;
Ноб - норма численности на обслуживание единицы оборудования, чел.;
с - число смен в сутки, ед.
При непрерывном режиме работы рассчитывают штатную численность Чшт, чел.,
учитывающую подменных рабочих, число которых равно количеству рабочих одной
смены:
Чшт=А·Ноб·(с+1). (6.13)
Списочная численность Чсп, чел., учитывает тех рабочих, кто отсутствует
на производстве по разным уважительным причинам (отпуск, командировки, болезни,
учеба). Для прерывного производства списочную численность вычисляют по формуле
(6.14), а для непрерывного - по формуле (6.15):
Чсп=Чяв·Кс, (6.14)
Чсп=Чшт·Кс, (6.15)
где Кс - коэффициент перехода от явочной (штатной) численности к
списочной, который определяют по данным баланса рабочего времени одного
рабочего, таблица 6.8.
Для основных рабочих расчет численности в смену ведут с помощью норм
обслуживания оборудования, которые устанавливают по данным предприятия. Для
некоторых категорий вспомогательных рабочих численность регламентируют
количеством рабочих мест, согласно штатному расписанию предприятия.
Расчет численности основных и вспомогательных рабочих проводим по форме
таблицы 6.9.
Таблица 6.9 - Расчет численности основных и вспомогательных рабочих
|
Профессия
|
Количество агрегатов, ед.
|
Норма численности, чел/ед.
|
Число рабочих смен
|
Явочная численность
|
Штатная численность, чел
|
Кс
|
Списочная численность
|
|
|
|
|
в смену
|
в сутки
|
|
|
|
|
Основные рабочие
|
|
Оператор установки для
выращивания
|
12
|
0,25
|
3
|
3
|
9
|
12
|
1,23
|
15
|
|
Итого:
|
-
|
-
|
-
|
-
|
-
|
-
|
-
|
15
|
|
Вспомогательные рабочие
|
|
Электрослесарь
|
-
|
-
|
3
|
1
|
3
|
4
|
1,23
|
5
|
|
Слесарь КИПиА
|
-
|
-
|
3
|
2
|
6
|
8
|
1,23
|
10
|
|
Водитель погрузчика
|
1
|
1
|
3
|
1
|
3
|
4
|
1,23
|
5
|
|
Уборщица
|
-
|
-
|
3
|
1
|
3
|
4
|
1,23
|
5
|
|
Итого:
|
-
|
-
|
-
|
-
|
-
|
-
|
-
|
25
|
|
Всего:
|
-
|
-
|
-
|
-
|
-
|
-
|
-
|
40
|
В результате планирования численности рабочих установлено, что в цехе
требуется 40 человек, из них основных - 15 человек, вспомогательных - 25
человек.
.5 Расчет годового фонда заработной платы
В данном разделе рассчитываем годовой фонд заработной платы и среднюю
заработную плату для отдельных категорий работников.
Исходными данными для расчетов являются: численность работающих по
профессиям и специальностям, тарифные разряды и ставки рабочих, эффективный
фонд рабочего времени на одного рабочего, должностные оклады руководителей,
специалистов.
Различают основную и дополнительную заработную плату.
Основная зарплата представляет собой оплату за фактически отработанное
время и включает в себя тарифный фонд, премиальные, доплаты за работу в ночное
и вечернее время, в праздничные дни и за бригадирство. Тарифный фонд Фт, ч.
определяют по формуле
Фт = Чсп · Сч · Тэф, (6.16)
где Чсп - списочная численность рабочих по данным таблицы 6.9, чел.;
Сч - часовая тарифная ставка соответствующего разряда, руб.;
Тэф - эффективный фонд рабочего времени по данным таблицы 6.8, ч.
Районный коэффициент в г. Красноярске - 1,3. Премии основным рабочим
выплачиваются в размере 25 % от тарифного заработка, вспомогательным рабочим -
20 % от тарифного заработка, руководителям - 35% от оклада, специалистам - 25 %
от оклада.
Доплата за вечернее время работы (с 20.00 до 22.00) составит 20 % от
тарифной ставки за отработанное время, доплата за ночное время (с 22.00 до
6.00) - 40 % от тарифной ставки за отработанное время. Отработанное время
определяем путем деления количества часов, приходящихся на вечернее или ночное
время, соответственно, к общему количеству отработанного времени за день или
сутки, при непрерывном режиме работы коэффициент доплаты за вечернее время
рассчитывают как
Квпр = 4/24 · 0,2 = 0,033,
а за ночное
Кнпр = 8/24 · 0,4 = 0,133.
Оплата работы в праздничные дни установлена в размере двойной тарифной
ставки, поэтому коэффициент доплаты за эти дни, при непрерывном режиме работы,
составит 11 / 365 = 0,03.
Доплату за бригадирство принимаем в размере 15 % от оплаты по тарифу
бригадиров, количество которых равно числу бригад в цехе.
Дополнительная заработная плата включает оплату труда за фактически
неотработанное работником время (отпуск, государственные обязанности, 5 дней по
болезни).
Дополнительную заработную плату планируют с помощью коэффициентов,
которые рассчитываются, как отношение фактически неотработанного рабочим
времени к эффективному фонду рабочего времени:
Котп = 43 / 213 = 0,2,
Кгос.об. = 1 / 213 = 0,0047,
Кб = 5 / 213 = 0,023,
где 43, 1, 5 дней - соответственно очередной и дополнительный отпуск,
время на выполнение государственных обязанностей, дни оплачиваемые предприятием
по болезни.
Фонд оплаты труда руководителей, специалистов и служащих определяется по
формуле
ФОТрук = Ч ∙ Ок ∙ 12 ∙
Ркоэфф./надб ∙ Кпр, (6.17)
где Ч - численность руководителей, специалистов или служащих, чел.;
Ок - оклад, руб/мес;
Ркоэфф./надб - районный коэффициент и северная надбавка;
Кпр - коэффициент, учитывающий премию.
Годовой фонд оплаты труда вспомогательных рабочих рассчитывается так же
как и для основных рабочих, с учётом премий и надбавок, согласно тарифам
установленным предприятием.
Результаты расчетов годового фонда заработанной платы основных и вспомогательных
рабочих представлены в таблице 6.10, руководителей и специалистов - в таблице
6.11.
Таблица 6.11 - Годовой фонд заработной платы руководителей и специалистов
|
Должность
|
Численность, чел.
|
Оклад в месяц, руб.
|
Годовой фонд заработ.
платы, руб.
|
ГФЗП с учетом районного
коэффициента, руб.
|
ГФЗП с учетом премии, тыс.
руб.
|
|
Руководители
|
|
Начальник завода
|
1
|
25 300
|
303 600
|
394 680
|
500 940
|
|
Зам. начальника завода
|
1
|
20 400
|
244 800
|
318 240
|
403 920
|
|
Начальник отдела АСУ ТП
|
1
|
22 000
|
264 000
|
343 200
|
435 600
|
5
|
17 100
|
1 026 000
|
1 333 800
|
1 692 900
|
|
Итого:
|
8
|
|
|
|
3 033 360
|
|
Специалисты
|
|
Инженер-технолог
|
1
|
17 500
|
210 000
|
273 000
|
346 500
|
|
Энергетик
|
1
|
16 300
|
195 600
|
254 280
|
322 740
|
|
Механик
|
1
|
15 000
|
180 000
|
234 000
|
297 000
|
|
Электроник
|
1
|
16 100
|
193 200
|
251 160
|
318 780
|
|
Оператор ЭВМ
|
5
|
15 800
|
948 000
|
1 232 400
|
1 564 200
|
|
Итого:
|
9
|
-
|
-
|
-
|
2 849 220
|
|
Всего:
|
17
|
-
|
-
|
-
|
5 882 580
|
Результаты расчетов по труду и заработной плате работающих в цехе
представлены в таблице 6.13.
Таблица 6.13 - Сводная ведомость по труду и заработной плате
|
Категория
|
Количество, чел.
|
Годовой фонд заработной
платы, руб.
|
Среднемесячная заработная
плата, руб.
|
|
|
|
|
|
|
|
|
|
Рабочие:
|
|
|
|
|
Основные
|
15
|
2 595 478,45
|
14 419,32
|
|
Вспомогательные
|
25
|
3 511 820,82
|
11 706,07
|
|
Руководители
|
8
|
3 033 360
|
31 597,50
|
|
Специалисты
|
9
|
2 849 220
|
26 381,67
|
|
Всего:
|
57
|
11 989 879,27
|
17 529,06
|
Таким образом, численность промышленно производственного персонала по
проекту составит 57 человек, годовой фонд заработной платы - 11 989 879,27
руб., среднемесячная заработная плата по цеху составит 17 529,06 руб.
.6 Расчет себестоимости продукции
В данном разделе спланируем издержки производства при внедрении новых
технологий.
Перед составлением калькуляции произведем расчет расходов на содержание и
эксплуатацию оборудование (РСЭО) и цеховых расходов представленные в таблицах
6.14 и 6.15.
Таблица 6.14 - Смета РСЭО
|
Статьи расходов
|
Сумма по аналогу, тыс. руб.
|
Сумма по проекту, тыс. руб.
|
Примечание
|
|
Амортизация активной части
основных средств
|
2 596,01
|
2 720,81
|
По данным таблицы 6.6
|
|
Содержание и ремонт
активной части основных средств
|
2 353,87
|
Заработная плата
вспомогательных рабочих, связанных с обслуживанием оборудования, по данным
таблицы 6.10
|
|
612,01
|
Единый социальный налог
(26% от заработной платы)
|
|
1 380,00
|
1 417,44
|
Стоимость материалов и
запчастей для ухода и ремонта (6% от стоимости активной части ОС), по данным
таблицы 6.6
|
|
Внутризаводское перемещение
грузов
|
151,46
|
1% от стоимости
подъемно-транспортного оборудования
|
|
Итого:
|
7 093,35
|
7 255,59
|
-
|
Таблица 6.15 - Смета цеховых расходов
|
Статьи расходов
|
Сумма по проекту и аналогу,
тыс. руб.
|
Примечание
|
|
Заработная плата
вспомогательных рабочих, не занятых обслуживанием оборудования
|
1 157,95
|
По данным таблицы 6.10
(заработная плата оставшихся вспомогательных рабочих, не занятых ремонтом и
обслуживанием оборудования)
|
|
Заработная плата
руководителей, специалистов, служащих
|
5 882,58
|
По данным таблицы 6.11
|
|
Единый социальный налог
|
1 830,54
|
26 % от заработной платы
|
|
Амортизация пассивной части
ОС
|
729,83
|
По данным таблицы 6.6
|
|
Содержание пассивной части
ОС
|
661,95
|
2% от стоимости, по данным
таблицы 6.6
|
|
Ремонт пассивной части ОС
|
992,93
|
3% от стоимости
|
|
Расходы на испытания,
опыты, исследования, содержание заводских лабораторий
|
239,8
|
2% от фонда оплаты труда
работающих, по данным таблицы 6.12
|
|
Охрана труда и техника
безопасности
|
244,29
|
4% от фонда оплаты труда
основных и вспомогательных рабочих, по данным таблицы 6.12
|
|
Прочие расходы
|
704,39
|
6% от суммы выше учтенных
расходов
|
|
Итого:
|
12 444,26
|
-
|
Калькулирование затрат на продукцию проводим по форме таблицы 6.16 и
6.17.
Таблица 6.16 - Калькуляция себестоимости продукции по аналогу
|
Статьи затрат
|
На 1 кг продукции
|
На выпуск
|
|
количество, ед.изм.
|
цена, руб.
|
сумма, руб.
|
количество ед.изм.
|
сумма, тыс.руб.
|
|
1.Сырьё и основные матриалы
|
|
Германий
поликристалличес-кий
|
1,20
|
11 600,00
|
13 920,00
|
155 105,28
|
1 799 221,25
|
|
Аргон
|
1 117,65
|
7,00
|
7 823,55
|
144 461 180,16
|
1 011 228,26
|
|
Вода
|
4,12
|
6,00
|
24,72
|
532 528,13
|
3 195,17
|
|
2. Энергетические затраты
|
|
Электроэнергия
|
76,47
|
0,92
|
70,35
|
9 884 083,97
|
9 093,36
|
|
3.Заработная плата основных
рабочих
|
-
|
-
|
20,08
|
-
|
2 595,48
|
|
4.ЕСН
|
-
|
-
|
5,22
|
-
|
674,82
|
|
5.Расходы по содержанию и
эксплуатации машин и оборудования (РСЭО)
|
-
|
-
|
54,88
|
-
|
7 093,35
|
|
6.Цеховые расходы
|
-
|
-
|
96,28
|
-
|
12 444,26
|
|
Итого цеховая себестоимость
|
-
|
-
|
22 015,08
|
-
|
2 845 545,95
|
|
7.Общезаводские расходы
|
-
|
-
|
1 100,75
|
-
|
142 277,30
|
|
Итого производственная
себестоимость
|
-
|
-
|
23 115,83
|
-
|
2 987 823,25
|
|
8.Внепроизводственные
расходы
|
-
|
-
|
231,16
|
-
|
29 878,23
|
|
Итого полная себестоимость:
|
-
|
-
|
23 346,99
|
-
|
3 017 701 ,45
|
|
|
|
|
|
|
|
Таблица 6.17 - Калькуляция себестоимости продукции по проекту
|
Статьи затрат
|
На 1 кг продукции
|
На выпуск
|
|
количество, ед.изм.
|
цена, руб.
|
сумма, руб.
|
количество ед.изм.
|
сумма, тыс.руб.
|
|
1.Сырьё и основные матриалы
|
|
Германий
поликристалличес-кий
|
1,188
|
11 600,00
|
13 780,80
|
153 554,23
|
1 781 229,03
|
|
Аргон
|
1127,06
|
7,00
|
7 889,42
|
145 677 464,06
|
1 027 589,25
|
|
Вода
|
4,12
|
6,00
|
24,72
|
532 528,13
|
3 195 168,77
|
|
2. Энергетические затраты
|
|
Электроэнергия
|
85,29
|
0,92
|
70,35
|
9 884 083,97
|
10 142,18
|
|
3.Заработная плата основных
рабочих
|
-
|
-
|
20,08
|
-
|
2 595,48
|
|
4.ЕСН
|
-
|
-
|
5,22
|
-
|
674 ,82
|
|
5.Расходы по содержанию и
эксплуатации машин и оборудования (РСЭО)
|
-
|
-
|
56,13
|
-
|
7 255,59
|
|
6.Цеховые расходы
|
-
|
-
|
96,28
|
-
|
12 444,26
|
|
Итого цеховая себестоимость
|
-
|
-
|
22 011,83
|
-
|
2 845 125,78
|
|
7.Общезаводские расходы
|
-
|
-
|
1 100,59
|
-
|
142 256,29
|
|
Итого производственная
себестоимость
|
-
|
-
|
23 112,42
|
-
|
2 987 382,07
|
|
8.Внепроизводственные
расходы
|
-
|
-
|
231,12
|
-
|
29 873,82
|
|
Итого полная себестоимость:
|
-
|
-
|
23 343,54
|
-
|
3 017 255,89
|
|
|
|
|
|
|
|
Себестоимость килограмма монокристаллического полупроводникового германия
по аналогу составляла 23 346,99 руб., по проекту стала составлять 23 343,54
руб. Полная себестоимость продукции по аналогу составляла 3 017 701,48 руб., по
проекту стала составлять 3 017 255,89 руб. Изменение себестоимости произошло за
счет уменьшения расхода поликристаллического германия.
.7 Расчет технико-экономических показателей
В этом разделе рассчитаем основные технико-экономические показатели
работы цеха-аналога и цеха-проекта и сделаем вывод о целесообразности внедрения
проекта.
Определим фондоемкость, руб./ кг по формуле (6.18):
Фемк = (Кан + НОСан) / Ван, (6.18)
где Кан - капиталовложения в основные средства по цеху-аналогу, руб;
НОСан - нормируемые оборотные средства по цеху-аналогу (приняты в размере
10% от полной себестоимости годового выпуска по цеху-аналогу), руб.;
Ван - выпуск продукции по аналогу, кг.
В результате получаем:
Фемк = (56 097 520 + 301 770, 15) / 129 254,4 = 436,34 руб.
Рассчитаем цену на продукцию цеха, руб./кг по формуле (6.19):
Цр = Сан + Ен · Фемк, (6.19)
где Сан - себестоимость продукции в цехе-аналоге, руб./кг;
Ен - нормативный коэффициент эффективности, Ен = 0,15;
Фемк - фондоёмкость единицы продукции, руб./кг.
В результате получаем:
Цр = 23 346,99 + 0,15 · 436,34 = 23 412,441 руб./кг.
Валовую прибыль по аналогу и проекту, руб., определяют по формуле:
Пв = (Ц - С) · В, (6.20)
где С - себестоимость единицы продукции по аналогу или проекту, руб./кг;
В - выпуск продукции по аналогу или проекту, кг.
Валовая прибыль равна:
Пван = (23 412,441 - 23 346,99) · 129 254,4 = 8 459 829,734 руб.;
Пвпр = (23 412,441 - 23 343,54) · 129 254,4 = 8 905 757,41 руб.
Произведём расчёт местных налогов. Результаты занесём в таблицу 6.18.
Таблица 6.18 - Расчёт местных налогов
|
Местные налоги
|
Объекты обложения
|
Расчёт
|
Сумма, руб.
|
|
1 На образование
|
11 989 879,27 · 0,01
|
119 898,7927
|
|
2 На содержание милиции
|
3% МФОТ
|
3188124 · 0,03
|
95 643,72
|
|
3 На уборку территории
|
1% от (Цр · Впр)
|
436,34 · 129 254,4 · 0,01
|
563 988,65
|
|
4 На содержание жилья
|
1,5% от (Цр · Впр)
|
436,34 · 129 254,4· 0,015
|
845 982,97
|
Вычислим чистую прибыль по аналогу и проекту по формуле (6.21):
Пч = (Пв - Местные налоги) · (1-0,2).
(6.21)
В результате чистая прибыль равна:
Пчан = (8 459 829,734 - 1 625 514,13) · 0,8 = 5 467 452,48 руб.;
Пчпр = (8 905 757,41 - 1 625 514,13) · 0,8 = 5 824 194,62 руб.
Определим рентабельность производства по аналогу и проекту, % по формуле
(6.22):
Рп = 100 · Пв / (К + НОС), (6.22)
где К - капиталовложения в основные
средства по аналогу или проекту, руб;
НОС - нормируемые оборотные средства по аналогу или проекту (приняты в
размере 10% от полной себестоимости годового выпуска по цеху-аналогу или
цеху-проекту), руб.
Рпан =100 · 8 459 829,734 / (56 097 520 +301 770, 15) = 15%;
Рппр = 100 · 8 905 757,41 / (57 297 520 + 300 893,42) = 15,46%.
Рассчитаем затраты, приходящиеся на один рубль товарной продукции по
аналогу и проекту по формуле (6.23):
ЗТП = Cед/Ц, (6.23)
где Сед - себестоимость единицы продукции, руб.
ЗТПан = 23 346,99 / 23 412,441 = 0,9972 руб./руб.;
ЗТПпр = 23 343,54 / 23 412,441 = 0,9971 руб./руб.
Определим фондоотдачу, руб./руб. по формуле (6.24):
Фо = В · Ц / К. (6.24)
Фондоотдача равна:
Фоан = 129 254,4 · 23 412,441 / 56 097 520 = 53,94 руб./руб.;
Фопр = 129 254,4 · 23 412,441 / 57 297 520 = 52,81 руб./руб.
Вычислим производительность труда на одного работающего в цехе, кг/чел.
по формуле (6.25):
Пппп = В / Чппп, (6.25)
где Чппп - численность промышленно-производственного персонала цеха, чел.
В результате получаем:
Пппп = 129 254,4 / 57 = 2267,62 кг/чел.;
Результаты расчетов представим в таблице 6.19.
Таблица 6.19 - Основные технико-экономические показатели при внедрении
АСР
|
Показатели
|
Ед.изм.
|
Аналог
|
Проект
|
Отклонение
|
|
Годовой выпуск продукции в
натуральном выражении
|
кг
|
129 254,4
|
129 254,4
|
0,00
|
|
Капиталовложения в основные
средства
|
руб.
|
56 097 520
|
57 297 520
|
1 200 000,00
|
|
Фондоотдача
|
руб./руб.
|
53,94
|
52,81
|
-1,13
|
|
Численность ППП
|
чел.
|
57
|
57
|
0,00
|
|
Производительность труда
ППП
|
кг/чел.
|
2267,62
|
2267,62
|
0,00
|
|
Себестоимость годового
выпуска
|
руб.
|
3 017 701 477,84
|
3 017 255 894,72
|
-445 583,12
|
|
Себестоимость единицы
продукции
|
руб.
|
23 346,99
|
23 343,54
|
-3,45
|
|
Затраты на один рубль
товарной продукции
|
руб./руб.
|
0,9972
|
0,9971
|
-0,0001
|
|
Прибыль валовая
|
руб.
|
8 459 829,734
|
8 905 757,41
|
445 927,68
|
|
Прибыль чистая
|
руб.
|
5 467 452,48
|
5 824 194,62
|
356 742,14
|
|
Рентабельность производства
|
%
|
15
|
15,46
|
0,46
|
|
Срок окупаемости
|
год
|
-
|
1,68
|
|
|
ЧДД
|
руб.
|
-
|
+ 5 478 707,48
|
|
|
ИДД
|
-
|
-
|
2,92
|
|
Анализируя изменение основных технико-экономических показателей работы
цеха после внедрения проекта, можно сделать следующие выводы. Годовой выпуск не
изменился. По проекту потребуются дополнительные капитальные вложения в размере
1 200 000,00 руб. Численность промышленно-производственного персонала не
изменится и составит 57 человек. Производительность труда не изменится и
останется 2267,62 кг/чел. Себестоимость годового выпуска уменьшится на 445
583,12 руб. и себестоимость 1 кг ценного компонента по проекту меньше на 3,45
руб. за счёт уменьшения расхода поликристаллического германия. Затраты на 1
руб. товарной продукции уменьшится на 0,0001 руб./руб. Валовая прибыль по
проекту увеличится на 445 927,68 руб. Чистая прибыль по проекту увеличится на
356 742,14 руб. Рентабельность увеличится на 0,46 %. ЧДД за расчетный период
положительный и составит 5 478 707,48 руб. ИДД больше единицы. Срок окупаемости
менее нормативного и составит 1,68 года. Следовательно, можно сделать вывод,
что внедрение АСР температуры тигля в печах для выращивания монокристаллов
германия на заводе ФГУП «Германий» экономически целесообразно.
ЗАКЛЮЧЕНИЕ
В данном дипломном проекте рассмотрена автоматизация процесса выращивания
монокристаллов германия на предприятии ФГУП «Грманий» г. Красноярска.
В настоящий дипломный проект «Проект реконструкции участка вскрытия
германиевого концентрата» входят пояснительная записка и графический материал.
В пояснительную записку входят следующие части: технологическая часть,
автоматизация, специальная часть, электроснабжение и электрооборудование,
безопасность жизнедеятельности, экономическая часть.
В технологической части сделан обзор свойств и применения германия,
рассмотрены сырьевые источники, описана технологическая схема переработки
стандартных германиевых концентратов с получением металлического германия.
В разделе «Автоматизация» проведен анализ процесса формирования
выращивания монокристаллов германия как объекта автоматизации, разработана
трехуровневая структура АСУТП. Выявлены основные контролируемые и регулируемые
параметры. Сделан выбор и обоснование средств автоматизации данного процесса. В
качестве микропроцессорного контроллера выбран Simatic S7-300. Для реализации верхнего уровня АСУТП производства
германия выбрана ЭВМ промышленного образца. В SCADA системе GENESIS-32 разработана мнемосхема
формирования асбестоцементных труб. Рассмотрена работа функциональной схемы
автоматизации.
В специальной части проекта разработана АСР температуры тигля. Объект
аппроксимирован передаточной функцией последовательного соединения двух
апериодических звеньев и звена запаздывания. Найдены параметры объекта: К =
7,45, T1 = 25,7355, T2 = 25,8 и τ = 18 с. В результате расчетов выбран
ПИД-регулятор непрерывного действия. Выполнена оптимизация ПИД-регулятора в ПП VisSim 6.0. Также исследована система на
устойчивость и грубость. Анализ полученных результатов показал, что АСР
температуры тигля обладает значительным запасом устойчивости (С=0,63; γ=500)
и является грубой.
В разделе «Электроснабжение» выполнено описание общей системы
электроснабжения предприятия в целом и проектируемого участка, выбрана
принципиальная однолинейная схема электроснабжения проектируемого участка,
произведен расчет электрического освещения участка и общей осветительной
нагрузки. А также расчет электрической нагрузки и расчет мощности, расчет
сечений и выбор кабелей напряжением 0,4 кВ и 6 кВ, трансформаторов цеховой ТП и
расчет годовой стоимости электроэнергии. Рассмотрены основные меры безопасности
при эксплуатации электроустановок.
В разделе «Безопасность жизнедеятельности» выполнен анализ опасных и
вредных производственных факторов формовочного отделения. Рассмотрены
технические и организационные мероприятия по охране труда, а также мероприятия
по производственной санитарии, по пожарной и взрывной безопасности, организация
воздухообмена и устройства вентиляции. Выполнен расчет естественного освещения,
рассмотрено искусственное освещение. Произведен анализ промышленных загрязнений
окружающей среды.
В «Экономической части» дипломного проекта выполнено технико-экономическое
обоснование внедрения АСР температуры тигля. Выполнен расчет капитальных
вложений и амортизационных отчислений, численности основных и вспомогательных
рабочих формовочного отделения, годового фонда заработной платы, себестоимости
продукции, основных технико-экономических показателей.
Графическая часть дипломного проекта состоит из четырех чертежей,
выполненных с помощью ПП Visio
2003, а именно: функциональная схема автоматизации, принципиальная
электрическая схема АСР температуры тигля, схема внешних электрических и
трубных проводок, конструктивный чертеж печи для выращивания монокристаллов
германия.
СПИСОК ЛИТЕРАТУРЫ
1 Коровин, С.С., редкие и рассеянные элементы. Химия и
технология. Книга 1 [Текст]: учебник / С.С. Коровин, Г.В. Зимина, А.М. Резник.
М.: Мисис, 1996 г. - 376 с.
Зеликман, А.Н., Металлургия редких металлов [Текст]: учебник
/ А.Н. Заликман. М.: Металлургия, 1980 г. - 328 с.
Беляев, А.И., Металлургия чистых металлов и элементарных
полупроводников [Текст]: учебник / А.И. Беляев, Е.А. Жемчужина, Л.А. Фирсанова.
М.: Металлургия, 1969 г. - 504 с.
Андреев, В.М., Производство германия [Текст]: учебник / В.М.
Андреев, А.С. Кузнецов, Г.И. Петров, Л.Н. Шигина. М.: Металлургия, 1969 г. - 96
с.
Общая технологическая инструкция по переработке германиевого
сырья [Текст]: ФГУП «Германий». Красноярск, 2001 г.
6 Методы выращивания
кристаллов элементов и химических соединений [Электронный ресурс]. - Режим
доступа: <http://ru.wikipedia.org/wiki/Метод_Чохральского>
Методы выращивания кристаллов
[Электронный ресурс]. - Режим доступа:
<http://www.megabook.ru/Article.asp?AID=651485>
Монокристаллы металлов
[Электронный ресурс]. - Режим доступа:
<http://www.abcreferats.ru/chemistry/table6352.html>