Особенности разработки информационной системы для регистратуры ветеринарной клиники

  • Вид работы:
    Курсовая работа (т)
  • Предмет:
    Информационное обеспечение, программирование
  • Язык:
    Русский
    ,
    Формат файла:
    MS Word
    1,14 Мб
  • Опубликовано:
    2014-01-19
Вы можете узнать стоимость помощи в написании студенческой работы.
Помощь в написании работы, которую точно примут!

Особенности разработки информационной системы для регистратуры ветеринарной клиники















Курсовая работа

Технология разработки программного обеспечения

Тема

Разработка информационной системы для регистратуры ветеринарной клиники

Выполнил

Сасаева Валерия Николаевна

Введение

Тема курсового проекта - разработка информационной системы для регистратуры ветеринарной клиники. Для данного предприятия актуальным вопросом является вопрос организации работы с базами данных.

Информационные базы данных являются основой организации обращения пациентов в клинику и назначения соответствующих мероприятий по их приему и обслуживанию.

Накопление данных, хранение, навигация и обработка - базовый список задач, поставленный перед курсовым проектом. Основной причиной для создания удобного приложения для работы с БД ветеринарной клиники является организация удобного и эргономичного интерфейса для работников регистратуры, позволяющая уверенным пользователем ПК с легкостью использовать все возможности работы с базами данных Access, с возможностью разграничения прав доступа.

Также создание подобного приложения способно поднять престижность предприятия за счет использования корпоративных цветов и эмблем. Со стороны клиента подобное приложение позволяет осуществить быстрый поиск информации при повторном обращение и выписку талона на посещение специалиста с указанием необходимой информации.

1. Глоссарий проекта


В таблице 1 приведены термины и определения, специфичные для рассматриваемой области.

Таблица 1 - Глоссарий проекта

Термин

Определение

Регистратор

Человек, которому вверена какая-либо административная функция. В частном случае под администратором подразумевается тот, кто осуществляет поиск в базе данных врачей и поиск и пополнение базы данных клиентов.

Поиск существующего клиента

Запрос в базу данных клиентов, включающий поиск данных о клиенте по значение его фамилии.

Занесение нового клиента в базу данных

Создание новой записи в базе данных с информацией по клиентам

Поиск специалиста

Просмотр справочной информации о специалистах и времени их работы

Назначение приема

Добавление записи о приеме в базу данных клиентов, часы приема изымаются из базы данных врачей

Создание списка пациентов

Создание списка пациентов для врача на текущий день

ФИО Клиента

Фамилия имя отчество клиента, обратившегося в клинику за обслуживанием

Адрес

Адрес проживания клиента

Телефон

Номер телефона клиента

ID животного

Индивидуальный номер животного, назначаемый системой

Вид

Разновидность поступающего животного

Порода

Порода животного

Кличка

Кличка животного

ФИО врача

Фамилия имя отчество врача

Кабинет

Кабинет приема, закрепленный за врачом

Время работы

Время работы врача

Время приема

Дата и время приема клиента у врача

2. Техническое задание на разработку


В процессе проектирования было создано и утверждено техническое задание на разработку ИС «Ветеринарная клиника», которое приведено в приложении А.

.1 Функциональная модель информационной системы

 

Функциональные диаграммы в нотации IDEF0

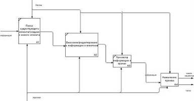
Контекстная диаграмма ИС «Ветеринарная клиника» показана на рисунке 1. На рисунке 2 и на рисунке 3 приведены диаграммы второго и третьего уровня соответственно.

Рисунок 1 - Контекстная диаграмма информационной системы

Рисунок 2 - Функциональная диаграмма информационной системы первого уровня

Рисунок 3 - Функциональная диаграмма второго уровня прецедента «Назначение приема»

2.2 Диаграммы потоков данных DFD


На рисунках 4-6 показаны функциональные диаграммы в нотации DFD, поясняющие движение информационных потоков в ИС. На рисунке 6 показана диаграмма для процесса «Назначение лечащего врача».

Рисунок 4 - Контекстная диаграмма ИС в нотации DFD

Рисунок 5 - Функциональная диаграмма первого уровня

Рисунок 6 - Функциональная диаграмма второго уровня для процесса «Назначение лечащего врача»

Позднее процесс «Создание отчетности для регистратуры» был упразднен.

 

2.3 Объектно-ориентированное проектирование системы

 

Модели вариантов использования системы

В ходе анализа для проектируемой информационной системы было выделено 2 действующих лица: регистратор и врач. Для них были выделены прецеденты. Полученная диаграмма вариантов использования ИС «Ветеринарная клиника» показана на рисунке 7.

Рисунок 7 - Диаграмма вариантов использования информационной системы

2.4 Диаграммы деятельности


На рисунке 8 показана диаграмма деятельности для прецедента «Ввод клиента».

Рисунок 8 - Диаграмма вариантов использования информационной системы

2.5 Диаграммы последовательности


На рисунках 9 и 10 представлены диаграммы последовательности для прецедентов «Ввод нового клиента» и «Поиск существующего клиента».

Рисунок 9 - Диаграмма деятельности прецедента «Ввод нового клиента»

Рисунок 10 - Диаграмма деятельности прецедента «Поиск существующего клиента»

2.6 Диаграммы классов


На рисунке 11 представлена диаграмма классов для проекта «Ветеринарная клиника».

Рисунок 11 - Диаграмма классов информационной системы

3. Проектирование базы данных проекта


БД, разработанная для проекта, имеет 4 таблицы:

1.       Клиенты

2.       Животные

.        Врачи

.        Прием

Соответствующими полями таблицы являются:

1.       Для таблицы «Животные»:

Id животного(автоматически назначаемый счетчик),Id Клиента(длинное целое, обязательный для заполнения, необходим для организации связи с таблицей «Клиенты»), ссылка на таблицу «Вид» (ссылка, обязательно для заполнения), порода (строка до 50 символов, не обязательно для заполнения), кличка (строка до 50 символов, не обязательно для заполнения), возраст (число, длинное целое, не обязательно для назначения).

Для корректной работы проекта необходимо начинать вносить информацию о клиенте прежде, чем информацию о животном и назначение ему приема.

2.       Для таблицы «Клиенты»:

Id Клиента (автоматически назначаемый счетчик),ФИО (строка до 50 символов, обязательно для заполнения), телефон (длинное целое с маской ввода +7(ХХХ)ХХХ-ХХ-ХХ, обязательно для заполнения), адрес (строка до 50 символов обязательно для заполнения).

3.       Для таблицы «Врачи»:

Таблица содержит в себе справочную информацию, не доступную для изменения пользователем с правами доступа группы «Регистратор». Включает в себя: Id Врача(автоматически назначаемый счетчик),ФИО (строка до 50 символов, обязательно для заполнения), начало работы (длинное целое, обязательно),окончание работы(длинное целое, обязательно), кабинет (целое число, обязательно для заполнения)

4.       Для таблицы «Прием»

Id Клиента (длинное целое, обязательный для заполнения), ID животного (длинное целое, обязательный для заполнения), Id Врача(длинное целое, обязательный для заполнения), кабинет (целое число, обязательно для заполнения),время приема (длинное целое, обязательно для заполнения).

ER-диаграмма базы данных ИС показана на рисунке 12.

Рисунок 12 - ER-диаграмма базы данных ИС

Разработка базы данных для работы приложения производилось с помощью программного продукта MS Access, так как данный продукт позволяет наглядно создавать схемы данных, назначать параметры и маски полей данных таблиц и организовывать связи.

Рисунок 13 - Физическая структура БД

4. Создание информационной системы


4.1 Разработка интерфейса программного продукта


Во время разработки интерфейса программного продукта была создана структура пользовательского интерфейса, показанная на схеме на рисунке 14.

Рисунок 14 - Структурна пользовательского интерфейса информационной системы

На рисунках 15 - 20 показаны скрин-шоты макетов форм проекта.

Рисунок 15 - Форма авторизации

Рисунок 16 - Главная форма проекта

Рисунок 17 - Форма поиска клиента

Рисунок 17 - Форма нового клиента

Рисунок 18 - Форма справочной информации о врачах

Рисунок 19 - Форма нового приема

Рисунок 20 - Форма просмотра приема

 


4.2 Разработка программного кода системы


Языком для разработки приложения был выбран язык С# в среде Visual Studio 2010. С# является Си-подобным языком программирования, позволяющим использовать возможности объектно-ориентированного программирования. Работы с формами в среде Visual Studio 2010 просты и интуитивно понятны, большой набор инструментов и автоматизаций позволяет упростить выполнение поставленной задачи.

Так же немаловажную роль в выборе языка программирования для написания программного продукта «Ветеринарная клиника» сыграл выбор программного обеспечения для проектирования, способного на построенных схемах классов генерировать код с использованием языка с#.

4.3 Справочная система


Настоящее руководство пользователя включает в себя указание по работе с программой. Программа «Ветеринарная клиника» служит для управления базой данных клиентов и создания талона на прием к специалисту. Перед запуском программы необходимо выполнить вход в систему и последовательно заполнить регистрацию нового животного, нового клиента и назначить прием. Полные справочные сведения прилагаются к программному продукту в универсальном формате текста, открывающегося в любых текстовых редакторах.

1        Тестирование программного продукта

Тестирование программного продукта производилось методом «белого ящика».

Проводились тесты на ввод некорректных значений, непоследовательное занесение информации в базу, с нарушением функции связей, неправильную авторизацию.

Защита от неправомерных действий пользователя функционирует только в момент авторизации, иные защитные средства не предусмотрены, так как программный продукт рассчитан на пользователей, выполняющих четкий алгоритм, описанный в руководстве пользователя.

Согласно требованиям корректной работы программного продукта было сформировано «руководство пользователя», прилагаемое к программе.

Перед запуском программы персоналу необходимо ознакомится с «руководством пользователя».

2        Техническая документация

В процессе разработки была разработана программная документация на систему, включающая в себя техническое задание на разработку (Приложение А), Руководство пользователя (приложение Б).

Заключение

информационный программный информация ветеринарный

В результате выполнения курсовой работы была разработана информационная система для ветеринарной клиники, позволяющая осуществлять хранение, накопление и управление информацией. Данная информационная система предназначена для регистратуры ветеринарной клиники и включает в себя базу данных, приложение для работы с ней и руководство пользователя. В результате применения данной информационной системы будет сокращено время обслуживания клиентов и автоматизирован процесс выписки талона на прием.

Созданная информационная система имеет в себе ряд недостатков, решение которых может быть найдено в процессе дальнейшей разработки. В частности подобная система может иметь многопользовательский доступ, так как регистратура клиники может подразумевать действие двух и более регистраторов одновременно. Для осуществления подобной системы необходимо вынести базу данных на сервер и наладить удаленный доступ обращения к ней.

Также не последнюю роль сыграло бы тестирование программного продукта на реальном предприятие и формирования мнение работников для настройки эргономичности пользовательского интерфейса и формирования обработчика системных ошибок и способов их исправление непосредственно пользователями информационной системы.

Возможно, реализовать сокрытие от пользователей сложности в организации связей базы данных и оградить их от возможности спровоцировать крах системы из-за их нарушения.

Библиографический список

информационный программный информация ветеринарный

1.       Боэм, Б. Инженерное проектирование программного обеспечения [Текст] / Б. Боэм. - М.: Радио и связь, 1985. - 234 с.

2.       Боэм, Б и др. Характеристики качества программного обеспечения [Текст] / Б. Боэм, Дж. Брун, Х. Гаспар и др. - М.: Мир, 1981. - 420 с.

.        Вендеров, А.М. Проектирование программного обеспечения экономических и информационных систем [Текст]: Учебник / А.М. Вендеров - М.: Финансы и статистика, 2006. - 544 с.

.        Вендеров, А.М. CASE-технологии. Современные методы и средства проектирования информационных систем [Текст] / А.М. Вендеров - М.: Финансы и статистика, 1998. - 344 с.

.        Гримм, С.Дж. Как писать руководства для пользователей [Текст] / С.Дж. Гримм. - М.: Радио и связь, 2005. - 438 с.

7.       Хабрейкен Дж. Microsoft Access 2002 , Изд.д. «Вильямс» 2002. - 224 с.

8.       Леффингуэл, Дин, Уидриг, Дон Принципы работы с требованиями к программному обеспечению. Унифицированный подход.: Пер. с англ. - М.: Издательский дом «Вильямс», 2002. - 448 с.: ил. - Парал. тит. англ.

.        Кашталинская И.А. Методическое пособие к курсовому (дипломному) проектированию для специальности 230105.

.        Олифер В.Г., Олифер Н.А. MS Word: Справочник. - СПб.: Питер, 2001. - 672 с.

.        Орлов С. Технология разработки программного обеспечения: Учебник - СПб.:Питер, 2002. - 464 с.

.        Фокс Д.Ж. Программное обеспечение и его разработка. - М.: Мир, 1985 - 415 с.

Приложения

Приложение А

Техническое задание на разработку ИС «Ветеринарная клиника»

1.1 Введение

Информационная система «Ветеринарная клиника» служит для реализации функций системы управления данных и служит для выполнения задач накопления, хранения, навигации и обработки информации, занесенной в базу. Таковой информацией является ФИО клиента, телефон и адрес (клиента), животное клиента, назначенные ему врачи и время приема.

.2 Основания для разработки

Разработка программы велась на основе задания выданного преподавателем Ериной М.А. на курсовое проектирование по дисциплине «Технология разработки программного обеспечения» в ноябре 2013 г.

.3 Назначение разработки

.3.1 Функциональное назначение программы

Программа должна реализовывать следующие возможности:

-       Работать под управлением операционной системы Windows.

-       Корректно отображать информацию о клиентах в соответствии с определенными в программе правилами.

-       Заносить в базу информацию (ФИО клиента, телефон и адрес (клиента), животное клиента, назначенные ему врачи и время приема ).

-       Позволять редактировать любое поле данных (за исключением таблицы врачей, т.к это справочная информация).

-       Производить поиск данных по содержимому любого из полей.

-       Осуществлять удаление любого поля (за исключением таблицы врачей).

-       Иметь интуитивный интерфейс.

.3.2 Эксплуатационное назначение программы

Программа предназначена для внесения в базу данных нового клиента назначения ему врача и времени приема. Кроме того, программа имеет базу данных, в которой хранится информация о клиентах (см. выше). Разрешается добавлять, редактировать, удалять информацию о событиях и осуществлять поиск/

.4 Требования к программе или программному изделию

.4.1 Требования к функциональным характеристикам

Входная информация в программе представлена в анкеты, заполняемой клиентом, состоит из следующих полей:

-       ФИО;

-       Адрес;

-       Телефон;

-       Вид животного;

-       Порода;

-       Кличка;

-       Возраст;

Поля записей представлены следующими типами данных и должны удовлетворять нижеописанным условиям:

. Ф.И.О. клиента: строковая переменная длиной от 1 до 50 символов. Нулевая длина этой строки считается ошибочной.

. Адрес - строковая переменная длиной от 0 до 50 символов. Нулевая длина соответствует отсутствию адреса и заменяется соответствующим значением.

. Телефон - строковый параметр длиной от 0 до 50 символов. Нулевая длина параметра соответствует отсутствию телефона и заменяется соответствующим значением.

. Вид животного - строковый параметр длиной от 0 до 50 символов. Нулевая длина параметра соответствует отсутствию телефона и заменяется соответствующим значением.

. Порода - строковый параметр длиной от 0 до 50 символов. Нулевая длина параметра соответствует отсутствию телефона и заменяется соответствующим значением

. Возраст - числовой параметр типа длинное целое. Нулевая длина параметра соответствует отсутствию телефона и заменяется соответствующим значением

Программа выполняет следующие функции:

-       Открытие файла базы данных.

-       Просмотр записей, содержащихся в базе.

-       Добавление новой записи в базу

-       Удаление выбранной записи/записей из базы данных(за исключением таблицы врачи)

Выходная информация в программе представлена в виде набора строк на экране монитора отображающего содержимое базы данных клиентов. Кроме того, к входной информации относятся предупреждения и сообщения об ошибках, выдаваемые программой (например, сообщение о неправильном значении одного из полей при заполнении формы добавления записи в базу).

.4.2 Требования к надежности

Программа реализует анализ входных данных для предотвращения ввода заведомо ложных значений, что может привести к сбоям в работе. Имеется анализатор ошибок, который выдает описание ошибки при проблемах с записью в файл базы данных или чтением из него. Новые записи сохраняются при выходе из программы.

.4.3 Условия эксплуатации

Условия эксплуатации должны соответствовать типовым условиям эксплуатации персональных компьютеров. Пользователь должен иметь навык работы с компьютером. Никаких специальных навыков от пользователя не требуется.

.4.4 Требования к составу и параметрам технических средств

Для корректной работы программы достаточно компьютера следующей конфигурации:

-       Процессор Intel (R) или эквивалентный ему.

-       Не менее 100 Кб свободного места на жестком диске для самой программы, а также место для файла базы данных (количество записей в файле * длину записи, где длина одной записи ~ 600 б).

-       Устройства ввода (клавиатура, мышь).

.4.5 Требования к информационной и программной совместимости

Программа работает под управлением операционной системы Windows 2000/XP/7/8.

Язык написания программы - С#. Компилятор - Visual studio 2010.

Защита информации, хранящейся в базе данных осуществляется с помощью установки пароля пользователем.

.4.6 Требования к программной документации

Программа сопровождается кратким руководством пользователя, поясняющим принципы работы с программой. Руководство доступно для просмотра с помощью любого текстового редактора.

.4.7 Стадии и этапы разработки

Разработка описываемой программы состояла из следующих этапов:

-       Определение общих методов решения задачи.

-       Построение предметной области.

-       Реализация предметной области программными средствами.

-       Работы по устранению ошибок и отладке программы.

Выполнение этих этапов было произведено в октябре - декабре 2013 г.

2.1 Описание программного изделия

.1.1 Наименования и шифры изделия

.1.1.1 Полное наименование изделия.

Программа «Ветеринарная клиника».

.1.1.2 Сокращенное наименование изделия

Ветеринарная клиника.

.1.1.3 Шифры изделия

Отсутствуют.

.1.1.4 Шифры проекта.

Отсутствуют.

.1.2 Краткое описание изделия

Программа предназначена для внесения информации о клиентах, просмотра списка врачей и назначения приема. Разрешается добавлять, редактировать, удалять информацию о клиентах и приеме, а так же осуществлять поиск

2.1.3 Сведения об авторском праве

Отсутствуют.

.1.4 Результирующие компоненты изделия

Результирующие компоненты изделия приведены в таблице 2.1.

Таблица 2.1 - Результирующие компоненты изделия

Обозначения: Основное изделие - не используется для создания других изделий Вспомогательное изделие - используется для создания других изделий Уровень поддержки 1: удовлетворяются заявки на исправление дефектов; возможно сообщение об изменениях; принимаются заявки на расширение функциональных возможностей изделия Уровень поддержки 2: удовлетворяются заявки на исправление дефектов; возможно сообщение об изменениях; заявки на расширение не принимаются Уровень поддержки 3: удовлетворяются заявки на исправление дефектов Р - группа разработки


Формируется целиком

Модифицируется

Распространяется

Не распространяется

Ответственная группа


Спецификации







Внешняя спецификация

X



X

Р


Внутренняя спецификация

X



X

Р


Спецификация испытаний (не надо)







Спецификация сопровождения (не надо)







Другие спецификации







Документация







Техническое описание системы







Справочное руководство







Справочный буклет







Руководство оператора

X


X


Б

Тип изделия

Основное

X

Начальный уровень поддержки

Указатель системных сообщений







Вспомогательное



Информационный листок выпуска







1

X

Другие печатные издания







2


Рекламные материалы







3











Программное обеспечение

X


X


Р




Листинги

X



X

Р




Исходные модули

X



X

Р




Объектные модули









Контрольные примеры



X

Р И




Средства разработки









Прочие средства







.2 Цели

Данная программа была выполнена в рамках курсового проектирования по дисциплине «Технология разработки программного обеспечения» в октябре-декабре 2013 г. Требовалось написать программу, реализующую функции системы управления базой данных.

.2.1 Согласование заявок на проверку

.2.1.1 Отклоненные заявки

Отсутствуют.

.2.1.2 Принятые заявки

Отсутствуют.

.2.2 Согласование заявок на расширение функциональных возможностей изделия

.2.2.1 Отклоненные заявки

Отсутствуют.

.2.2.2 Принятые заявки

Отсутствуют.

.2.3 Согласование заявок на внесение исправлений

.2.3.1 Отклоненные заявки

Отсутствуют.

2.2.4 Согласование планов

.2.4.1 Исключенные пункты плана

Отсутствуют.

.2.4.2 Включенные пункты плана

Отсутствуют.

.2.5 Требования заказчика

Заказчиком является учайщаяся 510гр Сасаева Валерия. . Заказчику требуется обеспечение следующих функций:

-       Представление данных внутри программы должно реализовываться динамическими структурами (списками).

-       Программа должна быть написана на языке программирования C#.

-       Программа должна работать под управлением операционной системы семейства Widows.

-       Программа должна обрабатывать стандартные ошибки и обеспечить проверку входных данных.

На изготовление программы отводится 1 месяц.

.2.6 Рассмотренные альтернативы

Отсутствуют.

.2.7 Окупаемость капиталовложений

Программа создавалась в учебных целях, поэтому капиталовложения в нее отсутствуют.

.3 Стратегия

.3.1 Стратегия относительно предоставляемого материала

.3.1.1 Обозначения

В данном документе не используется никаких специальных обозначений.

.3.1.2 Терминология

В данном документе используется общепринятая терминология. Никаких специальных терминов не используется.

.3.2 Генерируемое программное обеспечение

Не используется.

.3.3 Системное программное обеспечение

Программа состоит из двух частей - БД и программа с пользовательским интерфейсом.

Рис. 2.1 - Функциональные модули программы

Не существует программных изделий или баз данных, совместимых с программой «ТЗ». Файлы баз данных, генерируемые программой «ТЗ», не могут использоваться другими программами.

.3.3.1 Программные ограничения

Программа «ТЗ» способна работать под управлением операционных систем Windows 2000/XP/7/8.

.3.3.2 Аппаратные ограничения

-       Процессор Intel (R) или эквивалентный ему

-       Не менее 100 Кб свободного места на жестком диске для самой программы, а также место для файла базы данных.

-       Устройства ввода (клавиатура, мышь).

.3.3.3 Безопасность и секретность системы

Работа с записями, хранящимися в файле базы данных, возможна только из программы «ТЗ». Записи, введенные с клавиатуры, сохраняются на диск по завершению работы с программой «ТЗ».

При первом запуске устанавливается пароль для пользователя.

.3.3.4 Надежность

При вводе значений с клавиатуры реализуется проверка их корректности. В случае ввода некорректного значения поля на экран выводится предупреждение, а введенная информация не передается в БД, что исключает возможность внутренней ошибки в БД при работе с блоком «Интерфейс».

В случае возникновения сбоя, не связанного с программой, будут потеряны все не сохраненные записи.

.3.3.5 Рестарт

При сбое все несохраненные на жесткий диск данные будут потеряны. Поэтому, если работа с программой не была завершена или была завершена неверно, ввод последних данных придется повторить снова.

.3.3.6 Соответствие требованиям заказчика

Программа «Ветеринарная клиника» должна удовлетворять требованиям, описанным в техническом задании.

.3.3.7 Рабочие характеристики

Программа «Ветеринарная клиника» не накладывает никаких ограничений на конфигурацию, помимо ограничений, определяемых аппаратной и программной частью.

.3.3.8 Удобство эксплуатации

Работать с программой может любой пользователь, имеющий представление о работе MS Access.

Взаимодействие программы и пользователя происходит в диалоговом режиме. Для начала работы с программой достаточно запустить исполняемый модуль.

.3.3.9 Мобильность

.3.3.10 Удобство сопровождения

Требуется установка Framework.NET.

.3.3.11Алгоритмы.

Подлежат описанию во внутренней спецификации.

.3.3.3.11.1 Внешние характеристики

.3.3.3.11.2 Результаты работы

-       запись, прочитанная из файла базы данных;

-       файл базы данных, представляющий собой набор записей, несущих в себе информацию, необходимую ветклинике.

.3.3.11.3 Процессы

-       чтение записей из файла базы данных;

-       сохранений записей в файл базы данных с перезаписью.

.3.3.11.4 Входы

-       файл, состоящий из набора записей, необходимых ветеринарной клинике;

2.3.3.11.5Внутренние ограничения

Записи должны соответствовать указанным типам.

.3.3.11.6Эргономические характеристики

.4 Используемые материалы

.4.1 Справочные документы

Отсутствуют.

.5 Передача заказчику и ввод в действие

.5.1 Средства защиты прав собственности на изделие

Соблюдение прав собственности не требуется.

.5.2 Ресурсы, обеспечивающие ввод в действие

Допустимая квалификация для ввода программы «Ветеринарная клиника» в действие - низкая. Работать с программой может любой пользователь, имеющий представление о работе MS Access.

.5.3 Носители информации

В качестве носителя информации используется жесткий диск емкостью 200гб.

.6 Тактика

.6.1 Взаимосвязи

.6.1.1. Требуемые взаимосвязи

Не предъявляется никаких требований к другим программным изделиям.

.6.1.2 Обеспечиваемые взаимосвязи

Никакое другое программное обеспечение не накладывает требований на программу «Ветеринарная клиника».

.6.2 Техническая ревизионная комиссия

Создание ревизионной комиссии не требуется.

.6.3 Проверка изделия

.6.3.1 Уровни испытаний

См. таблицу 2.3.

Таблица 2.3 - Уровни испытаний

Категория испытаний

Класс испытаний


A

B

C

Демонстрация в действии


Р


Аттестация




Полная функциональная проверка




Проверка новых свойств




Эксплуатационные испытания


Р


Испытания надежности


Р


Проверка устойчивости


Р


Возвратная проверка




Пусковые испытания




Испытания конфигураций




Режимы испытаний: I - проводятся группой испытаний () II - контролируются группой испытаний ( X) III - группа испытаний не участвует ()

Подразделения, проводящие испытания: Р - группа разработки И - группа испытаний О - группа обслуживания / - испытания исключены


.6.4 Обеспечение поддержки

.6.4.1 Мероприятия, обеспечивающие продвижение программного обеспечения на рынок

Не производятся.

.6.4.2 Мероприятия, связанные с обучением

Ознакомление с руководством пользователя.

Приложение Б

Руководство пользователя

Программа «Ветеринарная клиника» предназначена для использования регистратурой ветеринарной клиники, позволяет осуществлять поиск существующего клиента, занесение нового клиента, просмотр времени работы врачей, назначение приема, печати талона и расписания приема для врачей. Ресурсами является удаленная база данных, поставляемая вместе с программным обеспечением.

Программа обеспечивает пользователя следующими возможностями:

-   Поиск существующего клиента

-       Ввод нового клиента в базу

-       Удаление записи о клиента

-       Просмотр времени работы врачей

-       Назначение приема

-       Удаление записи о приеме

-       Изменение записи о приеме

-       Печать талона

-       Вывод и печать расписания приема для врача

Для работы с программой пользователю не требуется никакого специализированного оборудования.

Программа разрабатывается для работы под системой WINDOWS XP, 7, 8.

Структура программы

Программа «Ветеринарная клиника» состоит из следующих компонентов:

) Exe-файл для запуска программы

) БД для функционирования программы

)Руководство пользователя

Настройка программы

Перед запуском программы необходимо выполнить вход в систему. Логин «Регистратор», пароль «1». Для того что бы изменить логин и пароль необходимо обратится к программисту, обслуживающему программу.

Использование программы необходимо производить в соответствие четким указаниям занесения информации. Сначала необходимо заполнить поля с указанием информации о животном клиента, затем о клиенте и только затем назначить прием и отправить талон на печать.

Примечание. Пользователь, устанавливающий программу, должен иметь небольшие знания работы с БД в среде MS Access.

Проверка программы

Проверка программы осуществляется методом ее выполнения

. При проверке программы следует использовать все возможные элементы. Результаты тестового ввода можно удалить.

. При получении диагностических и иных сообщений в ходе проверки программы следует обращаться к разделу «Сообщения системному программисту» данного руководства.

Сообщения пользователю

В таблице 1 представлены сообщения, которые может получить системный программист в ходе выполнения настройки, проверки программы, а также пользователь в ходе выполнения программы. Описано содержание этих сообщений и действия системного программиста, которые необходимо предпринять по этим сообщениям.

Таблица 1 - Сообщения системному программисту и пользователю

Сообщение

Описание

Действия системного программиста

Должно имеется связанное поле «ID животного»

Необходимое связанное поле ввода «ID животного» не было заполнено.

Заполнить поле ввода

Неверный логин или пароль

В поле авторизации были введены неверные данные

Обратится к руководству или обслуживающему программисту, к случае когда повторный ввод не привел к загрузке главной формы.


Похожие работы на - Особенности разработки информационной системы для регистратуры ветеринарной клиники

 

Не нашли материал для своей работы?
Поможем написать уникальную работу
Без плагиата!
Без нейросетей!