Техническая реализация средств автоматического управления плотностью целлюлозы на выходе пресс фильтра с применением программируемого логического контроллера

  • Вид работы:
    Курсовая работа (т)
  • Предмет:
    Другое
  • Язык:
    Русский
    ,
    Формат файла:
    MS Word
    1,18 Мб
  • Опубликовано:
    2014-02-09
Вы можете узнать стоимость помощи в написании студенческой работы.
Помощь в написании работы, которую точно примут!

Техническая реализация средств автоматического управления плотностью целлюлозы на выходе пресс фильтра с применением программируемого логического контроллера

1.Устройство барабанных фильтров

.1 Объектом управления является вакуумный фильтр, который является частью промывной установки

барабанный фильтр контроллер фланцевой

Непрерывная промывка целлюлозы после варки обычно производится на барабанных вакуум фильтрах. Она предназначена для разделения целлюлозы и черного щелока. Из отдельных конструкций можно назвать секционные (ячейковые) вакуум-фильтры, фильтры с вакуумными трубками, фильтры давления, фильтры с сифонными трубками, бесклапанные фильтры. По способу создания необходимой для фильтрации разности давлений различают фильтры высоковакуумные, низковакуумные и фильтры давления. По числу осуществляемых на одном барабане ступеней промывки различаются фильтры однозонные и многозонные (чаще всего двухзонные).

В качестве примера секционного двухзонного вакуум-фильтра на рис. 1 [1] схематически изображено устройство барабанного фильтра типа Свенсона - Ньюмена. Полый барабан фильтра разделен радиальными перегородками на 28 секций, каждая из которых сообщается с соответствующим ей отверстием распределительном головки на торце барабана. Головка разделена на три отделения: первое, занимающее несколько более половины окружности, сообщается с вакуум-отсосом крепкого щелока; второе, занимающее примерно одну четверть окружности, имеет сообщение с отсосом слабого щелока и находится под более высоким вакуумом, чем первое; и третье, сообщающееся с атмосферой или с подводом сжатого воздуха, служит для съема отфильтрованного слоя массы и продувки сетки. Как показано на схеме, в первом отделении, или первой зоне, происходит формование массного слоя на поверхности барабана, пока он погружен в жидкость (6 секций), предварительное обезвоживание слоя (4 секции) и промывка массы слабым щелоком (7 секций). Во втором отделении, или второй зоне (5 секций) происходит окончательное обезвоживание массы и отсос слабого щелока перед съемом ее с поверхности барабана.

Рис.1 Схема секционного вакуум фильтра

Рассмотрим процесс в одном отсеке. Вначале в нем создается вакуум и жидкость засасывается внутрь отсека. После того как отсек выходит из фильтруемой жидкости, в него засасывается воздух для просушивания осадка. Если требуется промывка, то после этого подводится промывная вода. Затем внутри отсека создают избыточное давление, и воздух проходит сквозь слой осадка - на фильтрующей ткани . После этого осадок срезается ножом с фильтрующей ткани, а оставшаяся после срезания пленка осадка удаляется при продувке фильтра сжатым воздухом. Затем цикл повторяется. Нож для съема осадка не соприкасается с поверхностью барабана - он является лишь направляющей плоскостью. Отсос воздуха из барабана, подача сжатого воздуха в барабан, откачка отфильтрованной жидкости производятся через трубы, соединенные с золотниковым механизмом. Таким образом, за один оборот барабана непрерывно автоматически чередуются циклы работы фильтра - фильтрование, промывка, сушка и разгрузка.

Максимальная производительность достигается при наибольшем погружении барабана (-40% поверхности); размеры поверхности фильтрации таких аппаратов меняются от 0,25 до 85 м2. Барабаны диаметром более 3,7 м обычно не применяют. Толщина слоя осадка в барабанных вакуумных фильтрах непрерывного действия поддерживается 20-40 мм, а при трудно фильтруемых осадках достигает всего 5-10 мм. Толщина слоя осадка зависит от частоты вращения барабана, которая может изменяться от 0,1 до 1,5 об/мин.

Рис.2 Барабанный фильтр с вакуумными трубками: а - вид сбоку; б - продольный срез; 1 - барабан, 2 - ванна, 3 - отсасывающая камера, 4 - фильтрующая сетка, 5 - вакуумные трубки, 6 - распределительная головка, 7 - труба для отвода крепкого фильтрата, 8 - труба для отвода слабого фильтрата, 9 - приводная шестерня, 10 - спрыски

Как двухзонный, работает также фильтр с вакуумными трубками (рис. 2) [1] . Барабан этого фильтра, как у секционного ячейкового, полый, но отсасывающие камеры располагаются не внутри, а на наружной поверхности барабана и имеют небольшой объем. Перегородки между соседними камерами в виде продольных планок идут вдоль всей длины барабана. Камеры перекрываются перфорированным ситом с крупными отверстиями, поверх которого натягивается фильтрующая сетка. От каждой камеры отходит вакуумная трубка, соединяющая ее с распределительной головкой, имеющей то же устройство, что и у секционных ячейковых фильтров. Распределение зон примерно такое же, как у секционного фильтра, показанного на рис. 1.

Секционные фильтры и фильтры с вакуумными трубками, снабженные барометрическими трубами для создания вакуума, относятся к группе высоковакуумных фильтров. Они строятся многими зарубежными фирмами - «Сунд», «Импко», «Вяртсиля» и др. и выпускаются отечественным машиностроением в составе комплектных промывных установок

2.Описание и анализ существующей САУ

Целлюлозная масса после варочного котла и выдувного резервуара поступает на сортирование, откуда поступает в приемную ванну первого вакуум-фильтра

Для формирования однородной папки на сетке барабана необходимо обеспечить постоянство уровня массы в приемной ванне вакуум-фильтра. Это осуществляется путем изменения скорости вращения барабана с помощью двухконтурной системы регулирования.

Величина вакуума в барабане вакуум-фильтра обычно составляет 20-40 кПа (150-300 мм рт.столба). Оптимальная концентрация поступающей на вакуум-фильтр массы - 0.35 - 0.55%;

Первоначальное формирование папки на сетке барабана происходит за счет гидростатического давления массы в ванне.

Величина рабочей зоны образования слоя массы зависит от степени погружения барана в суспензию. Уменьшение ее приводит к уменьшению толщины папки. Увеличение сверх определенной величины не дает эффекта, т.к. фильтрация будет происходить без дополнительного осаждения волокна;

Скорость вращения барабанов вакуум-фильтров регулируется бесступенчато в диапазоне от 0.9 до 3.4 об/мин.

Система предназначена для автоматического регулирования плотностью папки целлюлозы на выходе вакуум фильтра. Регулирующим воздействием в данной САУ является изменение уровня целлюлозы в ванне фильтра. Объект управления ванна барабанного вакуум фильтра.

Плотность целлюлозы на выходе вакуум фильтра косвенно оценивается уровнем целлюлозы в ванне фильтра.

Принцип действия существующей САУ заключается в следующем:

На объекте управления установлен датчик уровня с аналоговым сигналом 4-20 мА на выходе. Информация с датчика поступает в модуль аналогового входа, который преобразует токовый сигнал в цифровой код (машинный код). Далее информация поступает в контроллер, который производит обработку данного сигнала. В контроллере происходит масштабирование сигнала и сравнение его с заданием системы. В случае если действительное значение измеряемого параметра отличается от заданного, то происходит формирование сигнала рассогласования или ошибки регулирования в соответствии с законом регулирования и настройками регулятора. Далее контроллер вырабатывает управляющее воздействие, которое поступает в модуль аналогового вывода (ЦАП). После этого с выхода ЦАП аналоговый сигнал 4-20 мА поступает в электропневматический преобразователь, который производит изменение положения регулирующего органа (клапана с пневмо приводом) на заданное значение.

2.1 Описание ТСА существующей САУ

Контроллер распределительных систем типа «КРОСС»

Регулирование системы обеспечивается контроллером для распределённых открытых систем типа КРОСС.

Контролер предназначен для общепромышленного применения в составе автоматизированных систем управления технологическими процессами.

Программное обеспечение позволяет пользователю:

Выполнять широкий круг алгоритмических задач: алгебраических и тригонометрических функций, статических и динамических преобразований, регулирования, программно-логического управления, защиты, учёта, регистрации и архивации данных.

Обеспечить возможность контроля, управления и тестирования каналов ввода-вывода в автономном режиме и с помощью компьютера.

Программно-аппаратные средства контроллера направлены на выполнение требований, возникающих при построении АСУ ТП. В первую очередь это возможность обмена данными в реальном времени через интерфейс Ethernet.

Контроллер состоит из следующих устройств:

Блок центральный в составе: модуль процессора SM2-CPU-1.5

Субмодуль Ethernet SM2-ETH

Базовый монтажный блок SMART2-BASE

Блок питания LOK 4601-2R/P-ONE

Модуль питания DC-24/5

Модули BOU8, BIC12, AIU8LC

Блок T1-AI соединение гибкое

Блок T1-AI0 соединение гибкое

В общем виде контроллер может выполнять следующие функции:

измерение сигналов датчиков, фильтрацию, линеаризацию и преобразование принятых сигналов в цифровое нормализованное представление;

приём дискретных сигналов;

управление, регулирование, вычисление в соответствии с введённой программой пользователя;

формирование и вывод управляющих сигналов на объект управления в виде аналоговых и дискретных сигналов;

хранение программ и констант пользователя, а также служебных программ во Flash- памяти, переменных процесса в статическом энергонезависимом ОЗУ;

информационный обмен:

а) с другими контроллерами и компьютерами через локальную сеть Ethernet;

б) с компьютером через последовательный интерфейс RS 232;

в) сопряжение контроллера с различными SCADA системами;

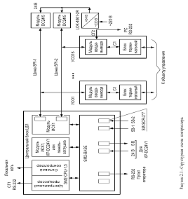
2.2 Описание аппаратуры контроллера

Структурная схема контролера приведена на рисунке 3, где показаны модули и связи между ними. Модуль процессора SM2-CPU-1,5 состоит из центрального процессора и сетевого контроллера. Модули УСО также содержат процессор. Обмен между процессорами выполняется по шинам SPI через модуль ИСК1. К каждой шине SPI можно подсоединять до 8 модулей УСО. В зависимости от их количества модулей ИСК1 может быть от 1 до 2 шт. Внешние связи могут подключаются к модулям УСО или через терминальные блоки, которые содержат клеммные колодки, или через разъемы «INOUT».

2.3 Описание конструкции контроллера

Конструктивно контроллер в общем случае состоит из центрального блока ЦБ1, блока питания LOK 4601-2R/ P-ONE/ и модулей питания, модулей УСО, соединителей SPI, соединителей гибких и терминальных блоков. Центральный блок ЦБ1 состоит из базового монтажного блока SMАRТ2-BASE (рисунок 2.7) и установленных на него модулей. Для установки модулей монтажный блок имеет три посадочных места - слоты «Slot А», «Slot B» и «Slot С», каждое из которых связаны с блоками винтовых зажимов SM-SCR-2*7 по одной паре на место. Через блоки винтовых зажимов выполняются соединения модулей с внешними цепями.

В «Slot A» всегда устанавливается модуль процессора SM2-CPU-1.5 (центрального процессора), в «Slot С» - модуль ИСК1. В «Slot B» в зависимости от заказа может быть установлен или второй модуль ИСК1, или модуль питания КР-DС24V1, или панель-заглушка SM DUMMY-FP (при отсутствии модулей). Модуль ИСК1 соединяет и согласовывает модули УСО с центральным процессором. Подключение модулей УСО к модулю ИСК1 выполняется через две шины SPI, которые подключаются к разъемам «SPI-1», «SPI-2» модуля ИСК1. На каждой шине может быть до восьми модулей УСО. Общее количество модулей УСО - до 31 по четырем шинам. ИСК1 позволяет реализовать различные варианты питания контроллера.

Для связи с внешними приборами по локальной сети Ethernet на модуль процессора может устанавливаться субмодуль ____________ETHERNET SM2-ETH (далее- субмодуль SM2-ETH). Подключение субмодуля с платой центрального процессора осуществляется через два разъема.

Субмодуль и плата центрального процессора имеют общую лицевую панель и занимают в ЦБ1 одно посадочное место.

Рис. 3 Структурная схема контроллера

2.4 Блок управления аналогового регулятора БУ12

Предназначен для применения в схемах автоматического регулирования различных технологических параметров в качестве блоков управления, а также вспомогательных устройств к регулирующим приборам. БУ 12 изображен на рис. 4 [5]

Рис. 4 Блок управления аналогового регулятора

Функциональные возможности БУ12:

·              Безударное переключение цепей нагрузки аналогового регулирующего прибора с автоматического управления на ручное и обратно.

·              Ручное управление током нагрузки.

·              Контроль тока нагрузки (с помощью внешнего миллиамперметра 0-5мА, Rвн не более 50 Ом).

Технические характеристики БУ12

Питание:

·              Частота - от 48 до 62Гц;

·              Потребляемая мощность - не более 5ВА.

Конструктивное исполнение:

·              Габаритные размеры - 80х60х172мм;

·              Масса - не более 0.7кг;

·              Монтаж - щитовой;

·              Подключение - штепсельный разъем.

Аналоговый вход:

·              Вид - 0-5мА постоянного тока от аналогового регулирующего блока.

Аналоговые выходы:

·              Для управления нагрузкой в режиме "Ручное":

·              Вид - 0-5мА постоянного тока;

·              Сопротивление нагрузки - не более 3кОм.

·              Для управления аналоговым регулятором в режиме "Ручное":

·              Вид - 0-5мА постоянного тока, синхронизированный с сигналом ручного управления или гальванически изолированный от него (по выбору);

·              Сопротивление нагрузки - не более 1кОм.

Ручное управление:

·              Для коммутации цепей автоматического и ручного управления - двухпозиционное кнопочное переключение с фиксацией;

·              Для уставки выходного тока ручного управления в пределах 0-5мА - регулятор со шкалой 0-100%.

Электропневматический позиционер NE700

Рис.5. Электропневматический позиционер NE700

Обеспечивает пропорциональную зависимость выходного давления воздуха по отношению к входному сигналу в миллиамперах (постоянный ток). См. рис 5. [6]

Может использоваться с поршневыми или мембранными приводами, обеспечивающими отличную стабильность и точность, с поворотными или линейными регулирующими клапанами в широком диапазоне применений.

Технические характеристики NЕ 700.

Стандартный командный сигнал 4-20 мА, 0-20 мА

Внутреннее сопротивление макс. 190 Ом

Угол поворота оси обратной связи макс. 950

Отношение угла поворота к командному сигналу линейное

Давление питания 0,14 - 0,8 МПа

Влияние давления питания < 0,2 % / 10 КПа

Температура окружающей среды - 25 ...+ 85 °С

Влияние температуры < 0,05 % /°С

Материалы конструкции

Кожух из анодированного алюминиевого сплава с эпоксидным покрытием.

Крышка из поликарбоната или алюминиевого сплава, внутренние части из нержавеющей стали и алюминиевого сплава. Мембрана и уплотнения из нитриловой резины (стандартная модель). Вес прибл. 2,2 кг

Исполнительным механизмом является звено исполнительного устройства, преобразующее получаемую энергию в перестановочное усилие для управления регулирующим органом. По виду используемой энергии, создающей перестановочное усилие, ИМ делятся на пневматические, гидравлические и электрические.

В ЦБП получили распространение пневматические исполнительные механизмы, у которых перестановочное усилие воздействует на мембрану или поршень. Соответственно различают мембранные и поршневые ИМ. Мембранные ИМ обычно образуют единую конструкцию с регулирующими органами, а поршневые чаще выпускаются в виде самостоятельной конструкции, сочленяемой с регулирующими органами на месте монтажа. Нас рис. 6 [6] представлен поршневой привод.

Пневматический поршневой привод

Привод типа BJ 8 фирмы "Neles-Jamesbury" (Финляндия) сконструирован для регулирующих и отсечных клапанов с поворотом на четверть оборота. Поршневой привод с возвратной пружиной управляется пневматически, пружина закрывает.

Конструкция поршневого привода ВJ 8.

Рис. 6. Пневматический поршневой привод типа BJ 8: 1-кожух,2-крышка,3-рычаг,4-шарнир,5-подшипник,6-дно цилиндра, 7-центр, 8-цилиндр,9-поршень,10-шток поршня,11пружина,12-стакан пружины,16-19 - О-образное кольцо,20-21-вкладыш,22-23-вкладыш,24-уплотнение поршня, 25-втулка,26-27- винт,30,32-винт, 33-34-гайка,35-контргайка,44-крышка цилиндра,61-указатель положения.

Принцип действия пневматического поршневого привода ВJ

Рычажный механизм преобразовывает линейное движение поршня во вращательное приводного вала на 90° (мах. 98°) таблица 1. Рычажной механизм сконструирован таким образом, что отношение выходного крутящего момента к усилию, действующему на поршень зависит от угла поворота приводного вала.

Технические характеристики пневматического поршневого привода BJ

Таблица 1.

Привод

Внут. диаметр, мм

Раб. объем, дм3

Диаметр оси, мм

Ном. момент пружины, Нм

Мом. пружины L=90°, Нм

Пружина

BJ 8

125

0,9

35

70

130

Закрывает



2.5 Регулирующий фланцевый клапан

Сегментный регулирующий фланцевый клапан серии R 21 фирмы "Neles-Jamesbury" (Финляндия) (рис 7).с V- образной прорезью обеспечивает равнопроцентную пропускную характеристику. Широкий диапазон регулирования и исключительно стабильные характеристики таблица 2.

Рис. 7 Сегментный клапан R 21.

Таблица 2.

Размер клапана

Внутренний диаметр, мм

Максимальная пропускная способность Сv 100%

Рабочее давление, бар

Рабочая зона, мА

Вес, кг

Тип привода

100

113

620

25

5

4 - 20 закр. - откр.

11

ВJ 8


2.6 Датчик ровня

В качестве датчика уровня используем гидростатический датчик давления Метран 100ДГ-1541 (см. рис.8) [7] с унифицированным выходным сигналом 4-20 мА, имеющим климатическое исполнение У2 (-40…+70оС), предел допускаемой основной погрешности 0,25%.

Принцип действия

Принцип действия датчиков основан на использовании пьезорезистивного эффекта в плёнке кремния, выращенной на поверхности монокристаллической пластины из искусственного сапфира. Чувствительный элемент с монокристаллической структурой кремния на сапфире является основой для всех сенсорных блоков датчиков семейства «Метран». При деформации чувствительного элемента под воздействием входной измеряемой величины, изменяется электрическое сопротивление кремниевых пьезорезисторов мостовой схемы на поверхности этого чувствительного элемента.

Электронное устройства датчика преобразует изменение электрических сопротивлений в стандартный аналоговый сигнал постоянного тока и/или в цифровой сигнал.

Давление столба жидкости определяется такими факторами, как уровень жидкости и ее удельный вес. Это давление не зависит от объема резервуара и его формы и определяется по формуле:

P = ( hmax I hmin ) ρ,

где hmax, hmin _ максимальный и минимальный уровень жидкости; ρ _ удельный вес.

Обычно датчики гидростатического давления устанавливаются на боковой стенке резервуара вблизи дна.

В закрытых резервуарах давление над жидкостью Ризб оказывает влияние на результат измерения. Поэтому давление Ризб необходимо подать на датчик давления, соединив статическую полость датчика с объемом резервуара над жидкостью.

Рис.8. Схема установки датчиков Метран_100_ДГ мод.1533, (датчик настроен на воздействие со стороны открытой мембраны)

1.       Поддержание заданного уровня массы в ванне фильтра.

2.       Ввод задания с пульта управления оператора .

3.       Возможность работы системы в ручном режиме.

.  Обеспечение отображения и регистрации параметров на пульте управления оператора.

5.       Возможность обеспечения безударного перехода.

.        Надёжность системы наработка на отказ 50 000 часов.

3.Разработка структурной схемы САУ

На рисунке 9 представлена структурная схема разрабатываемой САУ.

Рис. 9. Структурная схема разрабатываемой САУ

.        ОУ - уровень в ванне вакуум - фильтра

.        Д - датчик уровня.

.        РУ - регулирующие устройство

.        БУ - блок ручного управления

.        Преобразователь (ЭПП) - Электропневматический позиционер

.        ПИМ - пневматический исполнительный механизм

.        РО - Регулирующий орган

.        ЗУ - операторская станция

4.Разработка технической структуры САУ

Рис. 10. Техническая структура САУ

Принцип действия разрабатываемой САУ заключается в следующем показанной на рис. 10:

Принцип действия существующей САУ заключается в следующем:

На объекте управления установлен датчик уровня с аналоговым сигналом 4-20 мА на выходе. Информация с датчика поступает в модуль аналогового входа, который преобразует токовый сигнал в цифровой код (машинный код). Далее информация поступает в контроллер, который производит обработку данного сигнала. В контроллере происходит масштабирование сигнала и сравнение его с заданием системы. В случае если действительное значение измеряемого параметра отличается от заданного, то происходит формирование сигнала рассогласования или ошибки регулирования в соответствии с законом регулирования и настройками регулятора. Далее контроллер вырабатывает управляющее воздействие, которое поступает в модуль аналогового вывода (ЦАП). После этого с выхода ЦАП аналоговый сигнал 4-20 мА поступает в электропневматический преобразователь, который преобразует токовый сигнал в рабочей давление которое производит изменение положения регулирующего органа (клапана с пневмо приводом) на заданное значение.

4.1 Технические характеристики выбранных ТСА

Ремиконт Р-130 - это компактный малоканальный многофункциональный микропроцессорный контроллер, предназначенный для автоматического регулирования и логического управления технологическими процессами.

Ремиконт Р-130 имеет две модели: регулирующую и логическую. Регулирующая модель предназначена для решения задач автоматического регулирования, логическая модель - реализации логических программ шагового управления.

Регулирующая модель Ремиконта Р -130 позволяет вести локальное, каскадное, программное, супервизорное, многосвязное регулирование.

Архитектура этой модели дает возможность вручную или автоматически включать, отключать, переключать и реконфигурировать контуры регулирования, причем все эти операции выполняются безударно независимо от сложности структуры управления. В сочетании с обработкой дискретных сигналов эта модель позволяет выполнять также логические преобразования сигналов и вырабатывать не только аналоговые или импульсные, но и дискретные команды управления.

Логическая модель Ремиконта Р-130 формирует логическую программу шагового управления анализом условий выполнения каждого шага, заданием контрольного времени на каждом шаге условным или безусловным переходом программы к заданному шагу. В сочетании с обработкой аналоговых сигналов эта модель позволяет выполнять также разнообразные функциональные преобразования аналоговых сигналов и вырабатывать не только дискретные, но и аналоговые управляющие сигналы.

Контроллер рассчитан на прием аналоговых сигналов, изменяющихся в диапазоне 0-2В. В связи с этим сигналы, имеющие другой диапазон изменения, должны быть преобразованы в сигнал с диапазоном 0-2 В с помощью специальных нормирующих резисторов РН -1, которые входят в состав Ремиконта Р -130.

Перечень изделий, входящих в Ремиконт Р-130 приведен в таблице 3.

Микропроцессорный блок контроллера БК-1 является обязательной составной частью поставки Ремиконтов Р-130. Конкретный состав остальных изделий оговаривается в заказе.

Таблица 3

Обозначение

Наименование

БК-1

Блок контроллера

ПН-1

Пульт настройки

РН-1

Резисторы нормирующие

МБС

Межблочный соединитель для пробных цепей

КБС-0

Клеммно-блочный соединитель для размножения общих точек

Клеммно-блочный соединитель для БП-1, БУТ-10, БУС-10, БУМ-10

КБС-3

Клеммно-блочный соединитель для дис. цепей ввода-вывода БК-1 и БПР-10

БП-1, БП-4

Блоки питания

БУТ-10

Блок усилителей сигналов низкого уровня

БУС-10

Блок усилителей сигналов резистивных датчиков

БУМ-10

Блок усилителя мощности

БПР-10

Блок переключения

БШ-1

Блок шлюза

БСТ-1

Блок стирания


4.2 Блок ручного управления (БРУ)

БРУ позволяет осуществить переход от автоматического режима управления к ручному режиму и управлять в этом режиме. См. рис. 11 [8]

БРУ состоит из переключателя «автоматическое - ручное управление» и кнопок управления исполнительным механизмом.

Тип БРУ-32

Завод изготовитель: ПО «Промприбор», г. Чебоксары.

Блоки предназначены для переключения цепей управления исполнительными механизмами. Переключатель режимов предназначен для ручного переключения цепей управления. Нажатое, с поворотом против часовой стрелки, положение соответствует режиму управления «Автомат», не нажатое - «Ручной».

Мощность, потребляемая из блоков, не превышает 2,5 Вт.

Масса блока 0,7 кг.

Средний срок службы - 10 лет.

Рис. 11 БРУ 32

4.3 Датчик уровня rosemaunt 5400

В серии 5400 собраны все передовые технологии, позволяющие производитьнаилучшие измерения даже в самых сложных условияхпроцесса, таких как загрязненная атмосфера резервуара, пена,турбулентность и наличие веществ с низкой диэлектрической постоянной. Все эти параметры в значительной степени ухудшают условия работы уровнемеров, при этом стандартные приборы, обладающие недостаточной чувствительностью, могут потерять след измеряемой поверхности. В таких случаях важно, чтобы датчик обладал высокой чувствительностью и мог обнаруживать очень слабые отраженные сигналы. (см.рис.12)[7]

Рис. 12 Датчик уровня rosemaunt 5400

Измеряемые среды: нефтепродукты, щелочи, кислоты, растворители, водные растворы, пульпы, суспензии и прочие жидкости

Температура процесса от J40 до 150°С

Давление процесса от J0,1 до 1 МПа

Температура окружающего воздухаот J40 до 80°С (безопасные зоны);от J20 до 70°С J с ЖКИ

Выходные сигналы: 4J20 мА с цифровым на базе протокола HART или FoundationTM Fieldbus

Рис. 13 Типовые варианты применения

Уровень жидкости измеряется короткими радарными импульсами, которые передаются от антенны, находящейся в верхней части резервуара, по направлению к этой жидкости. Когда импульс радара достигает поверхности среды, часть энергии отражается обратно к датчику. Разница во времени между переданным и отраженным импульсом пропорциональна расстоянию, от которого рассчитывается уровень. Используемая технология обработки сигнала обеспечивает высокоэффективное подавление ложных отражений, а также помех, связанных с волнением поверхности измеряемого продукта и загрязнениями антенны. Таким образом, можно с высокой точностью вычислить расстояние до продукта и уровень продукта в резервуаре.

5.Выбор структуры регулятора

Для решения задач регулирования используется регулирующая модель контроллера. В каждом контроллере можно реализовать до четырех независимых или взаимосвязанных контуров регулирования. В каждом контуре регуляторы могут быть одного или разных типов, никаких ограничений на сочетание видов регулятора не накладывается.

Регулятор в каждом контуре может иметь аналоговый или импульсный выход, быть локальным или каскадным, иметь ручной, программный или внешний задатчик, иметь или не иметь встроенные средства оперативного управления, выполнять стабилизацию параметра или регулировать соотношение параметров, иметь звенья статической динамической коррекции, иметь статическую или динамическую балансировку. Согласно задания выбираем структуру аналогового регулятора. См. рис.14[4]

Рис.14. Стандартный аналоговый регулятор. [4]

6.Разработка функциональной схемы регулятора

При построении регуляторов чаще всего используются следующие алгоритмы:

РАН - регулирование аналоговое;

РИМ - регулирование импульсное;

ЗДН - задание;

ЗДЛ - задание локальное;

РУЧ - ручное управление;

ОКО - оперативный контроль контура регулирования;

ВАА, ВАБ - ввод аналоговый группы А и (или) Б;

АВА, АВБ - аналоговый вывод группы А и (или) Б;

ИВА, ИВБ - импульсный вывод группы А и (или) Б;

РАН - это «ядро» аналогового регулятора, формирующее ПИД-закон регулирования.

РИМ - это «ядро» импульсного регулятора, также формирующее (но совместно с исполнительным механизмом постоянной скорости) ПИД-закон регулирования.

Для построения каскадного регулятора используются два алгоритма регулирования:

один из них (РАН или РИМ) выполняет функцию ведомого (подчиненного), а второй (РАН)

ведущего регулятора.

Для оперативного вмешательства в работу регулятора в сочетании с алгоритмами

РАН и РИМ используется группа алгоритмов оперативного управления - ЗДН, ЗДЛ, РУЧ и

ОКО.

ЗДН - алгоритм, формирующий сигнал задания. Этот алгоритм снабжен также переключателем вида задания, с помощью которого можно выбирать один из трех видов задания:

ручное, программное или внешнее. При ручном задании сигнал задания устанавливается оператором вручную; при программном задании изменяется во времени по заданной программе (при этом дополнительно используются алгоритмы программного задания ПРЗ);

при внешнем задании сигнал задания либо формируется внутри контроллера с помощью других алгоритмов, либо поступает извне через цепи аналогового входа, либо поступает, извне по сети Транзит.

ЗДЛ - алгоритм, который применяется только в каскадном регуляторе. Этот алгоритм позволяет при необходимости переводить регулятор в локальный режим и устанавливать задание подчиненному регулятору вручную.

РУЧ - алгоритм, с помощью которого регулятор из автоматического режима можно перевести на режим ручного или дистанционного управления. В ручном режиме алгоритм РУЧ позволяет управлять исполнительным механизмом вручную, при дистанционном управлении сигнал, управляющий исполнительным механизмом, может либо формироваться какими-либо алгоритмами (помимо основного ПИД) внутри контроллера, либо поступать извне через аналоговые входы контроллера, либо поступать извне по сети Транзит.

Для того, чтобы алгоритмы оперативного управления - ЗДН, ЗДЛ, РУЧ - выполняли свои функции, в комплекте с ними необходимо задействовать еще один алгоритм - ОКО.

С помощью специальной группы алгоритмов ввода-вывода организуется связь регулятора с внешними цепями контроллера - датчиками и исполнительными механизмами.

Аналоговые сигналы вводятся в контроллер с помощью АЦП, однако, для того, чтобы «подключиться» к этим сигналам, необходимо задействовать алгоритмы ввода аналогового:

ВАА для группы А и (или) ВАБ для группы Б. В этих алгоритмах аналоговый сигнал калибруется. При калибровке путем смещения корректируется «нуль», а путем масштабирования -

диапазон изменения входного сигнала. Выходные сигналы алгоритма ВАА (ВАВ) «представляют» аналоговые сигналы, поступающие на вход контроллера.

Аналогично формируются сигналы на аналоговом выходе контроллера. Для этого используются алгоритмы аналогового вывода АВА (группа А) и (или) АВБ (группа Б). В этих алгоритмах также корректируется «нуль» и диапазон изменения выходного сигнала.

Рис.15 Функциональная схема регулятора

Сигнал задания поступает на вход алгоритма РАН, на второй вход этого алгоритма поступает сигнал от датчика (через алгоритм ВАА). Выходной сигнал алгоритма РАН через алгоритм РУЧ и алгоритм АВА поступает на аналоговый выход контроллера.

С помощью алгоритма ОКО организуется оперативное управление. Функции, выполняемые при оперативном управлении, задаются путем конфигурирования входов алгоритма ОКО. Вход «вх» подключается к сигналу, представляющему регулируемый параметр. В остальном алгоритм РАН не отличается от алгоритма РИМ.

7.Организация безударных переходов в САУ

На рисунке 16 показана структурная схема безударного перехода

Отказ УВМ в системах автоматизации с супервизорным и непосредственным цифровым управлением может привести к потере работоспособности САТП, если не предусмотреть специальные меры, обеспечивающие требуемую надежность и эффективность. При проектировании современных САТП применяют различные варианты резервирования УВМ.

Для САУ плотностью целлюлозы разрабатывается система цифрового управления. Для повышения надежности и безотказности системы предусматривается резервный контроллер, который при отказе основного возьмет на себя управление системой.

Контроллеры Ремиконт Р-130 могут работать по такой схеме.

Для организации резервирования оба контроллера должны быть включены в одну и ту же сеть «Транзит», имея одинаковый системный номер и одинаковую системную программу.

С точки зрения статуса контроллер может быть активный - тот который управляет системой в данный момент, и пассивный который в данный момент не управляет.

При отказе активного, пассивный становится активным.

В нормальной ситуации активный контроллер постоянно передает информацию по сети «Транзит» пассивному контроллеру. Получив информацию пассивный контроллер передает активному подтверждение. Такая процедура позволяет, с одной стороны, обеспечить безударное переключение контроллеров и, с другой стороны получить информацию об отказе парного контроллера.

Если в течении тайм-аута резервный контроллер не получил сообщение от основного, он становится активным, и в нем формируется ошибка «Отказ или отсутствие основного контроллера»

Контроллеры в сети «Транзит» связываются друг с другом с помощью витой пары проводов. Если контроллеры размещены не далеко друг от друга экранирование не требуется.

Рис. 16 Структурная схема организации безударного перехода

8.Организация внешних соединений САУ

Рис. 17 Схема внешних соединений [4]

Выводы

В курсовом проекте рассмотрены основные этапы проектирования: состав и характеристика объекта управления; характеристика ТС объекта управления и обоснование требований к разрабатываемой САУ. Кроме того выбран контроллер и ТС обеспечивающие достаточную точность, быстродействие и надежность. Описана организация безударного перехода и разработана техническая структура САУ.

Литература

. Ю.Н.Непенин «Производство Сульфатной целлюлозы» Том II. - М.: Лесная промышленность, 1990. - 598 с.

.Г.П.Буйлов, В.А, Доронин, Н.П. Серебряков «Автоматика и автоматизация производственных процессов целлюлозно-бумажных производств» - М.: Экология , 1995. - 320с.

.»Контроллер малоканальный многофункциональный регулирующий микропроцессорный Ремиконт - 130», комплект документации.

. Г.П. Буйлов, «Автоматизация оборудования целлюлозно - бумажного производства»

. Сайт «Метсо автоматизация» www.metsoautomation.com

. Сайт «Метран» www.metran.ru

. Сайт «АБС Зеим автоматизация»

Похожие работы на - Техническая реализация средств автоматического управления плотностью целлюлозы на выходе пресс фильтра с применением программируемого логического контроллера

 

Не нашли материал для своей работы?
Поможем написать уникальную работу
Без плагиата!
Без нейросетей!