|
Циліндри
|
Мкр.ц.
|
|
1
|
2
|
3
|
4
|
5
|
6
|
Нм
|
|
|
Мкр.ц., Нм
|
|
Мкр.ц., Нм
|
|
Мкр.ц., Нм
|
|
Мкр.ц., Нм
|
|
Мкр.ц., Нм
|
|
Мкр.ц., Нм
|
|
|
0
|
0
|
0
|
120
|
219,520387
|
240
|
-221,19341
|
360
|
0
|
480
|
249,7319869
|
600
|
-222,72759
|
25,33137114
|
|
30
|
30
|
-279,930364
|
150
|
132,074211
|
270
|
-129,630411
|
390
|
-106,392792
|
510
|
144,3635217
|
630
|
-127,08563
|
-366,601467
|
|
60
|
60
|
-164,056815
|
180
|
0
|
300
|
144,4949598
|
420
|
-48,3436256
|
540
|
0
|
660
|
159,777659
|
91,8721784
|
|
90
|
90
|
122,7632536
|
210
|
-132,254572
|
330
|
242,535493
|
450
|
184,2215038
|
570
|
-133,70807
|
690
|
277,241844
|
560,799452
|
|
120
|
120
|
219,5203872
|
240
|
-221,19341
|
360
|
0
|
480
|
249,7319869
|
600
|
-222,727593
|
720
|
0
|
25,33137114
|
Середній крутний момент двигуна, за даними теплового
розрахунку:
Мкр. ср. = Мі = Ме
де Ме =
Середній крутний момент двигуна по площі, яка знаходиться під кривою Мкр.:
Мкр. ср. =
Помилка:
.6 Сили, які діють на шатунні шийки колінвала
Сумарна сила, яка діє на шатунну шийку по радіусу кривошипа:
Рк = К + КRШ, Н.
Розраховані значення сили Рк заносимо в відповідну графу
таблиці 5.
Результуюча сила, яка діє на шатунну шийку Rшш підраховуємо
графічним додаванням векторів сил Т і Рк при побудові полярної
діаграми (мал. 5, лист 1).
.7 По полярній діаграмі будуємо діаграму спрацювання шатунної шийки
Проводимо коло, яке зображає шатунну шийку. Це коло ділимо на 12 частин
променями мал. 6, лист 1.
Подальшу побудову проводимо слідуючим чином:
переносимо промінь з діаграми спрацювання паралельно самому собі на
полярну діаграму;
по полярній діаграмі визначаємо сектор на шатунній шийці (по 600
в кожну сторону від променя), в якому діючі сили викликають зусилля
(спрацювання) по напрямку променя;
визначаємо величину кожної сили Rшші, яка діє в секторі
променя і підраховуємо результуючу величину Rшшіå в вибраному масштабі від кола до центра.
Далі проводимо всі ці дії для кожного променя, а потім кінці відрізків
з'єднуємо плавною лінією.
З діаграми спрацювання шатунної шийки визначаємо місце, де де
спрацювання буде найменшим, саме там буде масляний отвір.
5. Аналіз врівноваженості двигуна
Чотирьохциліндрові рядні двигуни набули широкого вжитку на
легкових автомобілях. Всі вони мають плоский колінвал з дзеркально-симетричним
розташуванням привальників відносно його середини. Така схема колінвала
забезпечує достатню зрівноваженість і рівномірне чергування спалахів у циліндрах.
Порядок роботи циліндрів можна організувати за двома рівнозначними схемами:
(1-2-4-3) та (1-3-4-2). Кутові інтервали між спалахами однакові і дорівнюють
180°. Колінчастий вал двигуна має кривошипи розміщені під кутом 180.
Сили інерції першого порядку і їх моменти при вказаному роз
положенні кривошипів взаємно зрівноважуються:
і
Сили інерції другого порядку для всіх циліндрів рівні і направлені в
одну сторону. Їх рівнодійна:
Деякі двигуни мають колінчасті вали з противагами для зменшення
відцентрових сил, діючих на корінні підшипники.
Схема сил інерції, діючих в чотирьохциліндровому рядному двигуні
6. Розрахунок деталей кривошипно-шатунного механізму на
міцність
.1 Розміри основних деталей кривошипно-шатунного механізму і
циліндро-поршневої групи
Товщина днища поршня:
d = (0,05 ... 0,1) × D = 0,1 × 77= 7,7 мм.
Товщина стінки головки поршня:n = (0,05 ... 0,1) =
0,07 ×
77 = 5,39 мм.
Радіальна товщина кільця:
компресійного t = (0,04 ... 0,045) × D = 0,042 × 77= 3,234 мм.
масло знімного t = (0,038 ... 0,043) × D = 0,04 × 77= 3,08 мм.
Радіальний зазор кільця в канавці поршня:
компресійного
t = (0,7 ... 0,95) = 0,8 мм.
масло знімного
t = (0,9 ... 1,1) = 1мм.
Внутрішній радіус днища поршня:
i
=
Число масляних отворів у поршні:M = 6 ... 12 = 8.
Діаметр масляного
каналу:M = (1 ... 2) = 1 мм
Висота юбки поршня:ю
= (0,6 ... 0,8) × D = 0,65 × 77 = 50,05 мм.
Зовнішній діаметр
поршневого пальця:n =(0,22 ... 0,28) × D = 0,26 × 77 =
20,02 мм.
Внутрішній діаметр
пальця:в = (0,65 ... 0,75) ×
dn = 0,6 × 20,02 =12,012 мм.
Довжина пальця:
П
= (0,78 ... 0,88) × D = 0,85 × 77 = 65,45мм.
- Відстань між торцями бобишок:
В = (0,3 ... 0,5) × D = 0,4 × 77 = 30,8мм.
Різниця між зазорами кільця у вільному і робочому стані:0
= (2,5 ... 4) × t = 3,2 × 3,234 = 10,3488 мм.
Товщина стінки циліндра:
dц = (4 ... 10) мм = 6 мм.
Довжина втулка шатуна:
ш = (0,28 ... 0,32)
× D = 0,3 × 77 = 23,1мм.
Зовнішній діаметр
верхньої головки шатуна:р.н. = (1,25 ... 1,65) × dn = 1,6 × 20,02 = 32,032 мм
Внутрішній діаметр
верхньої головки шатуна:р.в. = (1,1 ... 1,25) × dn = 1,12 × 20,02 = 22,4224 мм
Довжина головки
шатуна:
n
= (0,33 ... 0,45) × D = 0,33 × 77 = 25,41мм.
Розміри перерізу
шатуна:ш min = (0,5 ... 0,55) ×
dр.н. = 0,53 ×
32,032 = 16,98 мм.ш = (1,2 ... 1,4) × hш min = 1,3 × 16,98 = 22,07 мм.
ВШ = (0,5
... 0,6) ×
ш = 0,55 × 23,1 = 12,7 мм
аш = (2,5
... 4) мм = 3 мм.
Ширина кришки:
Товщина кришки:к
» 0,5
к = 0,5 × 26,026 = 13,013 мм
Діаметр шатунної
шийки:шш = (0,56 ... 0,75) ×
D = 0,65 ×77 = 50,05мм.
Ширина шатунної
шийки:
шш
=
к
= 26,026 мм.
Товщина вкладиша:в
= (0,03 ... 0,05) × dшш =
0,04 × 50,05 = 2,002 мм.
Ширина вкладиша:
в
=
к
- (3 ... 4) = 26,026-3 = 23,026 мм.
Відстань між
шатунними болтами:
б
= (1,3 ... 1,75) × dшш = 1,4 × 50,05 = 70,07 мм.
Діаметр корінної
шийки:
зовнішній dз.
кш. = (0,6 ... 0,8) × D =
0,622 × 77 = 47,894 мм
внутрішній dвн.
кш. = (0,2 ... 0,3) × dкш.
= 0,25 × 47,894 = 11,97 мм.
.2 Розрахунок
циліндра
Напруження розтягу в
стінці циліндра:
де Рz max
- максимальний розрахунковий тиск газів в циліндрі;
D - діаметр циліндра, м;
-
товщина стінки циліндра, м.
=40
... 60 МН/м2.
Шпильки кріплення головки блока розраховують на розрив в небезпечному
перерізі під дією сили, виникаючої при затяжці гайок.
Сила попередньої затяжки шпильки:
Рз = (1,25 ... 1,5)Рz max Fr = 1,35 × 5,27 ×
0,0036216 = 0,025766 МН,
де Рz max - максимальний тиск згоряння, МН/м2r
- площа, обмежена краєм прокладки навколо камери згоряння:
r
= (1,1 ... 1,3) Fn = 1,2 ×
0,003018 = 0,0036216 м2.
Сумарна розрахункова сила, яка діє на шпильки:
РР = РЗ + Рz max × Fr = 0,025766 + 5,27 × 0,0036216 = 0,045 МН.
Сумарна сила, яка діє на одну шпильку:
Рр' =
де Z - число шпильок, що приходяться на один циліндр.
Напруження розтягу в шпильці:
де F0 -
площа мінімального поперечного перерізу стержня шпильки, взята по внутрішньому
діаметру різьби.= 12 мм dB = 12,012 мм
0 =
- для легованих сталей.
6.3 Розрахунок поршня
Напруження згину в днищі поршня:
де ri - внутрішній радіус днища поршня, м;
-
мінімальна товщина днища поршня, м;
для
поршнів, в яких днище підсилене ребрами жорсткості.
Напруження стиску в кільцевому січенні, ослабленому отворами для
відведення масла:
де
=
× Fn
= 5,27 × 0,003018 = 0,0159 МН; - максимальна сила
тиску газів на днище поршня.
-
площа розрахункового січення по канавці поршня з врахуванням отворів для
відведення масла.
=
де dk =
D-2 (t +
t) = 77 - 2 (3,234 + 0,8) = 68,932 мм - діаметр
канавки;i - внутрішній діаметр поршня;'M = 8 - кількість
масляних отворів.' =
- площа масляного отвору.

Максимальний тиск на поверхні тертя юбки:
=
де hю - висота юбки поршня, м;= 0,72 МН/м2
[q] = 0,33 ... 0,96 МН/м2.
Рис.3 Поршень
6.4 Розрахунок поршневого пальця
Тиск на втулку верхньої головки шатуна:
1
=
де
=
× Fn
+ K × Pj max = 5,27× 0,003018 - 0,8 ×
0,004723 = 0,0122МН;
Рjmax=-mn
-
максимальний тиск від сил інерції зворотно-поступально рухаючихся мас;
К = 0,8 - коефіцієнт,
який враховує масу поршневого пальця і верхньої головки шатуна;n -
зовнішній діаметр пальця;
- довжина верхньої головки шатуна, м.1 =
24,02 МН/м2
[q1] = 20 ... 60 МН/м2.
Тиск на бобишки
поршня:
е =
де
- загальна довжина пальця, м;
В - відстань між
торцями бобишок, м.2 = 17,7МН/м2
[q2] = 15 ... 50 МН/м2.
Напруження згину в
пальці:
де a =
-
відношення внутрішнього діаметра пальця до зовнішнього діаметра.
Напруження в пальці
на зріз:
Максимальна
овалізація пальця:
де Е = 2× 105 МН/м2 - модуль
пружності матеріалу пальця.
0,0074 мм
[
] = 0,02 ... 0,05 мм.
6.5 Розрахунок поршневих кілець і компресійного кільця
Середній тиск кільця на стінки циліндра:
Рср =
де Е - модуль пружності матеріалу кільця: для легованого чавуну - Е =
1,2×105 МН/м2;0 -
різниця між зазорами кільця у вільному і робочому стані;- радіальна товщина
кільця, м;
m = 0
- для кільця рівномірного тиску;- діаметр циліндра, м.
Напруження згину в кільці в робочому стані:
Напруження згину в кільці при надіванні його на поршень:
де m = 1,57 - коефіцієнт, який залежить від способу надівання кільця.
.6 Розрахунок шатуна
Напруження на розрив в верхній головці шатуна:
де Рnmax - сила інерції поршневого комплекту, діюча на
верхню головку шатуна;
Рnmax = mn' × Rw2 (1 + lш)× Fn
× 10-6 = 100 × 0,031 × 628
(1 + 0,28) × 0,003018 × 10-6 = -0,0047 МН.n' -
приведена маса поршневого комплекту, кг/м2;- радіус кривошипа, м;
w - кутова швидкість колін вала двигуна хв.-1;n
- площа поршня, м2;rз - зовнішній діаметр верхньої
головки шатуна, м;rв - внутрішній діаметр верхньої головки шатуна,
м;
- довжина верхньої головки шатуна, м.
Розрахунок стержня
шатуна.
Запас міцності
стержня шатуна визначаємо по січенню в середині шатуна (мал.3) на розтяг від
сили Рр = -Рjmax і на стиск від сили Рст = Рzmax.
Значення Рjmax
і Рzmax беремо з графіків динамічного розрахунку двигуна:
Рст = Рzmax
= 0,0122 МН; Рр = -0,008 МН.
Напруження стиску без
врахування поздовжнього згину звужуючогося стержня шатуна:
де f - площа
поперечного січення стержня шатуна (мал. 3):
= hш × вш - (вш - аш)
(hш - 2tш) = 22,07 ×
12,7 - (12,7 - 3) (22,07 - 2 × 3) =
124,41 × 10-6 м2.
Напруження розтягу:
Середнє напруження за
цикл:
Амплітуда циклу:
Запас міцності
стержня:
с.ш. =
де
- границя втомлюваності матеріалу при симетричному
циклі на розтяг;
= 240 МН/м2 .
e = 0,9 - коефіцієнт, враховуючий вплив частоти
обробки;
a = 0,2 - коефіцієнт, що залежить від
характеристики матеріалу.
Розрахункова сила
інерції поступально рухаючихся і обертаючихся мас, що лежать вище площини
розйому кришки нижньої головки шатуна:
Рjmax = -
[(0,3018 + 0,4258) × 0,031 ´6282
(1 + 0,28) + (0,7507 - 0,0905) × 0,031
× 6282] × 10-6 = 0,01946 МН.
де mn -
маса поршневого комплекту, кг;n ш - маса шатунної групи, яка
здійснює зворотно-поступальний рух, кг;- радіус кривошипа, м;к. ш. -
маса шатунної групи, яка здійснює обертовий рух, кг;к. р. - маса
кришки кривошипної головки, кг:
mк. р. = (0,20 ... 0,28) mш = 0,2 × 0,4527 = 0,0905 кг.
Напруження згину:
де
б
- відстань між шатунними болтами, м;
-
момент опору розрахункового січення кришки без ребер жорсткості;1 =
0,5 (dшш + 2tb) = 0,5(0,05005 + 2 × 2) = 27 мм = 0,02 м - внутрішній діаметр кривошипної
головки;
-
відповідно ширина і товщина кришки, м;
І =
- момент інерції січення кришки;
Ів =
- момент інерції січення вкладиша;
-
відповідно ширина і товщина вкладиша, м;k, FB - площі
поперечного перерізу відповідно кришки і вкладиша, м2.
Fk + FB =
к × 0,5 (
б - dшш)
= 0,026026 × 0,5 (0,07007 - 0,05005) = 0,00026 м2

Сила, яка розтягує шатунні болти:
Рб = Рп.з. +
де Рп.з. = (2 ... 3) Рjmax = 2 × 0,01946 = 0,0389 МН - сила попередньої
затяжки болтів;
a =
0,23 - коефіцієнт основного навантаження різьбового з'єднання;
іб - кількість болтів в одному шатуні.
Напруження в болті:
де fmin =
Пdб2/n = 3,14 ×
0,00962/n = 4,67 × 10-5
м2 - мінімальна площа січення болта;б - мінімальний
діаметр болта в розрахунковому січенні, м.
Середнє напруження за
цикл:
Амплітуда напружень:
Запас міцності:
=
де Кб =
3,8 - коефіцієнт концентрації напружень в різьбі.
Рис.4 Шатун
7. Розрахунок маховика
При розрахунку маховика приймаємо, що маса зосереджена в
ободі, а поперечне січення обода має прямокутну форму.
Необхідний момент інерції двигуна з маховиком розраховуємо по
формулі:
де wn - кутова швидкість колін вала двигуна на номінальному режимі, с-1;Т
- масштаб тиску сили, МН/м2 в мм;j - масштаб кутового переміщення:j =
-
із діаграми сумарного крутного момента;надл - площа, виражаюча
найбільшу надлишкову додатню роботу дотичної сили, діючої на кривошип, мм2;-
радіус кривошипа, м.
Момент інерції маховика:
Ім = (0,8 ... 0,9) ×
Іd = 0,193 × 0,9 = 0,1733 Нм × с2.
Маса маховика:
M
=
де Dср = (3 ... 4) ×
S = 3,5 × 0,062 = 0,217 м - середній діаметр обода
маховика;- хід поршня, м.
Товщину обода приймаємо h = 0,11 м, а ширину визначаємо з формули:
В =
де
= 7800 кг/м3 - густина матеріалу маховика
(сталь).
Колова швидкість на зовнішньому діаметрі обода маховика:
M
=
M
= 51 м/с
8. Розрахунок механізму газорозподілення
.1 Діаметри горловин впускного та випускного клапанів
де
середня швидкість поршня м/с;n - площа поршня,
м2;
і - кількість впускних або випускних клапанів в циліндрі;
-
середня швидкість газу в горловині впускного або випускного клапана:
впускного
= 40 ... 80 = 80 м/с
випускного
= 70 ... 100 = 100 м/с.
.2 Максимальна висота підйому клапана
кл
max =
впускного hкл max =
випускного hкл max =
де dr - діаметр горловини, м;
a -
кут фаски клапана: a =450.
8.3 Кути дії кулачків
де jв. вп., jзап.
вп., jв. вип., jзап. вип. - кути випередження відкриття і запізнення закриття
впускного та випускного клапанів в градусах повороту колінвала.
.4 Параметри профілю кулачка
Радіуси початкового кола кулачка:
0 вп
= (1,5 ... 2,0) hшт max = 1,75 × 0,00792 = 0,01386 м;0 вип = (1,5 ... 2,0)
hшт max = 1,75 ×
0,0071 = 0,01243 м.
де hшт max - максимальний підйом штовхача; hшт max
= hкл max.
Радіуси двох дуг профілю кулачка:
з технологічних міркувань rГ = 4 мм:
де авп = (r0 + hшт max - r2)
= 13,86 + 7,92 - 4 = 17,78 мм;
авип = (r0 + hшт max - r2)
= 12,43 + 7,1 - 4 = 15,55 мм.
Для забезпечення зазору в клапанному механізмі тилову частину кулачка
виконують радіусом rк:
rк = r0 -
S
к вн
= 13,86 - 0,3 = 13,56 мм; к вип. = 12,43 - 0,4 = 12,03 мм.
де
S - температурний зазор. Для впускного клапана
S = 0,3 мм, а для випускного клапана
S = 0,4 мм.
Рис.5 Кулачок
.5 Визначення розмірів та запасу міцності клапанної пружини
Для розрахунку беремо пружину впускного клапана, як більш навантажену,
оскільки діаметр впускного клапана, і внаслідок цього його маса, більші.
Максимальна та мінімальна сили, що діють на пружину на ділянці з
негативним прискоренням.
де mклmax = приведена маса клапанного механізму
клmеx
= m'клмех × Fr вн
= 200 × 0,000615 = 0,123 кг
r вн
- площа прохідного перерізу впускної горловини:
r вн
=
'клмех = (180 ... 230) кг/м2 = 200 кг/м2
wк - кутова швидкість кулачка:
wк = 0,5w =
0,5 × 576,6 = 288,3 с-1
К - коефіцієнт запасу
К = 1,45 ... 1,7 = 1,6.
Для перевірки надійності закриття клапана визначаємо силу Р'пр мін,
яка діє на закритий випускний клапан при найбільшому розрідженні:
Р'пр мін =
де
р = (ртр - ра) - різниця тисків
у випускному трубопроводі і в циліндрі відповідно:
р = (0,05 ... 0,07) = 0,06 МН/м2
dr вип. - діаметр горловини випускного клапана, м.
Середній діаметр пружини:
= (0,8 ... 0,9)dr вн = 0,9 × 0,026 = 0,0234 м.
Діаметр дроту пружини:
d =
0,00021 м,
де К' = 1,17 ... 1,24 = 1,2;
Рпр max - максимальна сила, що діє на пружину, МН;
[
] - межа втомлення на скручування; [
] = 350 ... 600 МН/м2 = 500 МН\м2.
Одержане значення d округлюємо до стандартного d = 0,00021 м.
Визначення запасу міцності пружини.
Максимальне та мінімальне напруження в пружині:
Середнє напруження та амплітуда напружень:
Запас міцності пружини:
t =
де t1 = 340 ... 400 МН/м2 = 380 МН/м2;t /et
= 1,0; dt = 0,1
Жорсткість пружини:
С =
Число робочих витків пружини:
ір =
витків,
де G = (8,0 ... 8,3) × 104
МН/м2 = 8 × 104
МН/м2 - модуль пружності другого роду для пружинних сталей.
Повне число витків:
ін= ір + 2 = 6 + 2 = 8 витків.
Деформація пружини:
при закритому клапані:
про
=
де С - жорсткість пружини, МН/м2.
при повністю відкритому клапані:
пр max = hпр 0 + hкл max = 10 + 7,35 = 17,35 мм.
Довжина пружини у вільному стані:
пр
= hпр max + d in +
min
ip = 17,35 + 3,6 × 8 +
0,6 × 6 = 71,35 мм,
де
min - мінімальний зазор між витками пружини при
повністю відкритому клапані:
min
= 0,5 ... 0,9 мм = 0,6 мм.
Схема ОНС з верхнім розміщенням вала ГРМ в головці циліндрів. Виходячи
з аналізу світових тенденцій двигунобудування приймаємо, що привід вала ГРМ
здійснюватиметься зубчастим пасом. Це дає наступні переваги перед ланцюговою передачею:
зниження шумності; збільшення потужності двигуна, за рахунок зменшення тертя у
приводі розподільчого вала.
9. Розрахунок системи мащення
.1 Кількість мастила, що циркулює в двигуні
Кількість відведеної мастилом теплоти:
M
= (0,015 ... 0,03) Q0 = 0,03 ×
134,55 = 4,037 кДж/с,
де Q0 - кількість теплоти, що виділяється при згорянні
палива.
0
=
Кількість циркулюючого мастила:
M
=
де
- густина мастила,
=
900 кг/м3;
СМ - середня теплоємність мастила, СМ = 2,094
кДж/кг×к;
tM
= 10 ... 15 = 100С - різниця температури мастила на вході та виході
з двигуна.
.2 Розрахунок масляного насосу
При розрахунку масляного насосу циркуляційні витрати мастила
збільшуються удвоє:
p'
= 2VM = 2 × 0,00021 = 0,00042
м3/с.
З урахуванням втрат через зазори в насосі розрахункові витрати:
p
= Vp' /hn = 0,00042/0,6 = 0,0007 м3/с,
де hn = 0,6 … 0,8 = 0,6 - об'ємний ККД насоса.
Розміри шестерен знаходимо, скориставшись виразом для знаходження
розрахункових витрат:
p
=
де dw - діаметр початкового кола шестерні, м, dw =
Z × m., B - відповідно висота та довжина зуба, м;
Nn - частота обертання шестерні, хв.-1.
Для визначення висоти і довжини зубця задаємося числом зубців
z і модулем m та частотою обертання Nn:= 6 ... 12 = 7;= (0,003 ... 0,006) =
0,0045;= 0,5 N = 0,5 × 6000 = 3000 хв-1,
тоді висота зуба:= 2m = 2 × 0,0045 = 0,009 м.
а довжина:
В =
Потужність, яка витрачається на привід масляного насосу:
NM.n. =
де РМ - робочий тиск мастила в системі:
РМ = 0,3 ... 0,5 МН/м2 = 0,4 МН/м2.
-
0,85 ... 0,9 =0,88 - механічний ККД насоса.
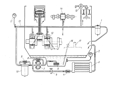
Рис.7 Схема системи мащення
-фільтр, 2-електричний термометр, 3-масляний радіатор,
4-запобіжний клапан, 5-кран, 6-маслоприймач, 7-масляний насос, 8-редукційний
клапан, 9-перепускний клапан, 10-фільтр, 11-електричний манометр, 12-головна
масляна магістраль, 13-коренні підшипники, 14-підшипники, 15-вісь коромисл,
16-масломірна лінійка, 17-горловина патрубка.
10. Розрахунок системи охолодження
.1 Кількість охолоджуючої рідини, яка циркулює в системі
Кількість відведеної в охолоджуючу рідину теплоти:
p = (0,2 ... 0,3) Q0 = 0,25 × 134,55 = 33,64 кДж/с.
Кількість циркулюючої рідини в системі:
Vр =
де
- густина охолоджуючої рідини,
= 1000 кг/м3;
Ср - теплоємність охолоджуючої рідини, Ср = 4,187
кДж/кг×к;
tр
= 5 ... 15 = 100С - різниця температур на вході та виході з двигуна.
.2 Розрахункова подача водяного насоса
де hn = 0,8 … 0,9 = 0,85 - коефіцієнт подачі насоса.
Потужність, яка витрачається на привід водяного насосу:
NВ.n. =
де Рр - тиск, створюваний насосом:
Рр = 0,035 ... 0,15 МН/м2 = 0,1 МН/м2.
-
0,7 ... 0,9 = 0,7 - механічний ККД насоса.
.3 Розрахунок вентилятора
Кількість повітря, що проходить через радіатор:
П
=
де Qp - кількість теплоти, відведеної від
охолоджуючої рідини, кДж/с;
-
густина повітря при його середній температурі.
=
-
тиск оточуючого середовища,
=
1,013 ×105 Н/м;
Rn = 287 Дж/(кг × град.) - газова постійна
повітря;
Т0 = 273 +
-
середня температура повітря в радіаторі;
Сn = 1 кДж/(кг × К) -
теплоємність повітря;
=
6 ... 12 = 100С - перепад температур повітря на вході і виході з
радіатора.
Діаметр лопастей вентилятора:
B
= 1,3
=0,477 м,
де sn - швидкість повітря в вентиляторі; sn
= 13 ... 30 = 20 м/с.
Частота обертання вала вентилятора:
n =
де И = 80 ... 125 м/с = 90 м/с - лінійна швидкість кінця лопаті
робочого колеса вентилятора.
Потужність, що витрачається на привід вентилятора:
вент.
=
де РТР = 600 ... 1000 Н/м2 = 900 Н/м2
- опір повітряного тракту;
вент. = 0,6 - ККД
вентилятора.
Вентилятор встановлено на вал електродвигуна.
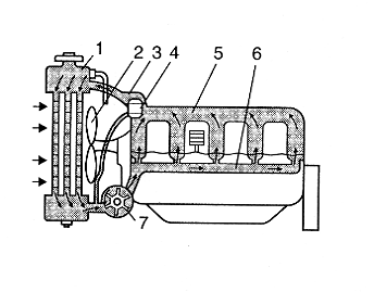
Рис.7 Схема рідинної системи охолодження
-радіатор, 2-вентилятор, 3-верхній патрубок, 4-термостат, 5-водяна
сорочка, 6-розподільна труба, 7-насос, 8-головка циліндрів, 9-рефлектор,
10-охолодні ребра.
Перелік посилань
1. Захарчук В.І. Розрахунок механізмів двигунів
внутрішнього згоряння. Методичні вказівки до курсового та дипломного
проектування з курсу "Автомобільні двигуни". - Луцьк: ЛІІ. - 1997. -
29 с.
2. Захарчук В.І. "Автомобільні
двигуни". Програма курсу та методичні вказівки до виконання контрольної
роботи. - Луцьк: ЛДТУ. - 2001. - 30 с.
. Кончин А.И., Демидов В.П. Расчет
автомобильных и тракторных двигателей. - М: - Высшая школа. - 1971. - 336 с.
. Методические указания к выполнению расчета
деталей двигателя на прочность по дисциплине "Автомобильные
двигатели" для студентов заочной формы обучения специальности 1609 (сост.
К.Е. Долганов, А.Г. Говорун, В.И. Дмитренко. - К.: КАДИ, 1989. - 24 с.).