Способы получения отливки, поковки, основы сварки

  • Вид работы:
    Контрольная работа
  • Предмет:
    Другое
  • Язык:
    Русский
    ,
    Формат файла:
    MS Word
    664,55 Кб
  • Опубликовано:
    2013-10-29
Вы можете узнать стоимость помощи в написании студенческой работы.
Помощь в написании работы, которую точно примут!

Способы получения отливки, поковки, основы сварки

ЗАДАНИЕ №1


По чертежу детали разработайте эскизы: элементов литейной формы, собранной литейной формы (в разрезе), модели. Начертите чертёж отливки. Внутренний контур обрабатываемых поверхностей, а также отверстий, впадин и выточек, невыполняемых в литье, вычерчиваются сплошной тонкой линией. Определите точность отливки по ГОСТ 26645-85. Опишите последовательность изготовления литейной формы методом ручной формовки.

Разработка чертежа отливки детали «Корпус»

Чертеж детали представлен на рисунке 1.1

Рис. 1.1 - Чертеж детали «Корпус»

Материал детали - сталь 35Л ГОСТ 977-88, химический состав приведен в таблице 1.1.

Таблица 1.1 - Химический состав

1. Химический элемент

2. %

3. Никель Ni

4. 0.30

5. Кремний Si

6. 0.20-0.52

7. Марганец Mn

8. 0.4-0.9

9. Сера S

10. 0.045

11. Фосфор P

12. 0.04

13. Хром Cr

14. 0.3

15. Медь

16. 0.3

17. Углерод С

18. 0.35


Расшифровка материала:

С - Сталь, Л в конце означает, что это литейная сталь, а цифра 35 свидетельствует о содержании 0,35% углерода.

Разработка элементов литейной формы начинается выбора положения отливки в форме при заливке жидким металлом и определения плоскости разъёма. При этом необходимо учесть следующее:

·        обеспечить равномерное затвердевание отливки в форме;

·        наиболее ответственные, обычно обрабатываемые поверхности, надо делать нижними или боковыми;

·        обеспечить наиболее короткий путь заливки, чтобы металл не мог сильно охладиться;

·        обеспечить спокойное заполнение формы

Учитывая вышеперечисленные требования, отливку в форме лучше расположить горизонтально.

Способ подвода металла- свободное падение.

Далее представлен эскиз с модельно-литейными указателями (Рисунок 1.3).

Припуском на механическую обработку является слой металла, предназначенный для снятия в процессе механической обработки с целью получения требуемой чистоты поверхности и размеров, заданных чертежом детали. Величина припуска зависит от материала литой детали, характера производства, положения обрабатываемой поверхности в форме и регламентируется ГОСТом.

Рис. 1.3 - Эскиз детали

Припуски на механическую обработку

Величина припусков на механическую обработку для отливок из стали приведена в таблице 1.2

Таблица 1.2 - Припуски

Припуски на механическую обработку отливок

Габаритный размер, мм

Положение при заливке

Величина припуска с, мм для отливок из



чугуна

стали

цветных сплавов

до 120

верх

2,5

3,5

3


низ, бок

2

3

2

121-260

верх

3

5

4


низ, бок

2,5

3,5

3

261-500

верх

4

5


низ, бок

3,5

4

4

501-800

верх

5,5

7

6


низ, бок

4,5

5

5


Припуски на усадку.

Величина припуска на усадку выбирается в зависимости от материала.

Величина припуска на усадку для серого чугуна приведена в таблице 1.3.

Таблица 1.3 - Литейная усадка


В зависимости от массы чугунные отливки подразделяют на мелкие- до 100 кг, средние- 500-1000 кг, крупные- свыше 1000 кг. Таким образом, данная деталь относится к мелкому литью, так как её масса не превышает 100 кг, а литейная усадка составляет 0,8-1,2%.

Формовочные (литейные) уклоны

Формовочные уклоны служат для удобства извлечения модели из формы без её разрушения. Размеры отливки увеличиваются в направлении извлечения модели из формы, т.е в сторону плоскости разъёма формы. На обрабатываемые поверхности отливки формовочные уклоны задаются поверх припусков на механическую обработку, на необрабатываемые- за счёт увеличения или уменьшения отливки.

Величина литейного уклона для данной детали- 10

Галтели - это скругления внутренних углов при переходе от одной поверхности отливки к другой. Галтели обеспечивают плавный переход и предотвращают возникновение трещин.

Так как на отливках не должно быть острых углов (они являются концентраторами напряжений и затрудняют получение четкого контура отливки) все острые кромки скругляют радиусами, размер которых не превышает 3-5мм.

Радиус скругления определяется по формуле:


Разработка стержня

В литейной форме стержень должен сохранять устойчивое положение. Для его закрепления в форме предусмотрены углубления, в которые устанавливается стержень. Стержень в литейной форме находится в горизонтальном положении. Высота знаков стержня- 35мм, уклон-70

Разработка эскиза модели

После определения припусков на усадку, назначения формовочных уклонов, определения формы и размеров знаковых частей вычерчиваем эскиз модели.

Модель- прообраз будущей детали, от которой она отличается прежде всего размерами на величину припусков на механическую обработку, усадку, литейными уклонами и наличием возможного напуска.

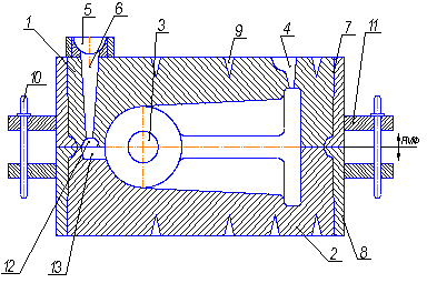
Для образования полостей отверстий или иных сложных контуров в формы устанавливают литейные стержни 3, которые фиксируют посредством выступов, входящих в соответствующие впадины формы (знаки).

Литейную форму заливают расплавленным металлом через литниковую систему.

Литниковая система - совокупность каналов и резервуаров, по которым расплав поступает из разливочного ковша в полость формы.

Основными элементами являются: литниковая чаша 5, которая служит для приема расплавленного металла и подачи его в форму; стояк 6 - вертикальный или наклонный канал для подачи металла из литниковой чаши в рабочую полость или к другим элементам; шлакоуловитель 12, с помощью которого удерживается шлак и другие неметаллические примеси; питатель 13 - один или несколько, через которые расплавленный металл подводится в полость литейной формы.

Для вывода газов, контроля заполнения формы расплавленным металлом и питания отливки при ее затвердевании служат прибыли и выпор 4. Для вывода газов предназначены и вентиляционные каналы 9.

Рис. 1.6 - Литейная форма

Последовательность изготовления литейной формы

1)     Изготовление нижней полуформы:

а)     установить половину модели и модель питателя на стол;

б)    накрыть модели нижней опокой так, чтобы расстояние от края модели до опоки было более 20мм.;

в)     засыпать модели слоем формовочной смеси и утрамбовать ее;

г)     удалить излишки литейной смеси;

д)    наколоть вентиляционные каналы.

2)     Изготовление верхней полуформы:

а)     повернуть нижнюю опоку на 1800;

б)    посыпать плоскость разъема разделительным слоем песка;

в)     установить модели шлакоуловителя, выпора и стояка;

г)       засыпать модель слоем формовочной смеси;

д)    заформировать верхнюю опоку подобно нижней.

3)     Извлечь элементы модельного комплекта из формы:

а)     извлечь модели стояка и выпора;

б)    раскрыть опоки;

в)     извлечь из обеих опок модели отливки, питатели и шлакоуловители;

г)     исправить гладилкой поврежденные места и продуть литейную форму струей воздуха.

)      Собрать литейную форму:

а)     установить в нижнюю опоку стержень на отпечатки знаков;

б)    закрыть форму;

в)     подать опоки под заливку.

5)     Залить жидкий сплав в литейную форму.

6)      Выбить и очистить отливку.

В данном случае используется смесь, в состав которой входят: песок кварцевый 90-92%, глина 8-10%, влажность 4,5-5,5%.

Свойства смеси: газопроницаемость 30-50кгс/мин., предел прочности при сжатии сырых образцов 0,3-0,5кгс/см.2. Также, данная смесь обеспечивает получение отливок без пригара.

Для стержня данной детали состав стержневой смеси содержит: кварцевый песок 90-92%, глина 4-6%. Сульфитно-спиртовая барда (плотностью 1,27г/см3) 2-3%, вода 3-4%. Свойства такой смеси следующие: газопроницаемость не менее 70см/мм, предел прочности при сжатии в сыром состоянии 0,3-0,5кгс/см2, предел прочности при растяжении в сухом состоянии 4-55кгс/см2

Расчёт коэффициента использования материала.


где,-масса детали

объём детали

- плотность сплава



где,масса отливки

-объём отливки

- плотность сплава

Дефекты отливок и их исправление

Дефекты отливок по внешним признакам подразделяют: на наружные (песчаные раковины, перекос недолив); внутренние (усадочные и газовые раковины, горячие и холодные трещины),

Песчаные раковины - открытые или закрытые пустоты в теле отливки, которые возникают из-за низкой прочности формы и стержней, слабого уплотнения формы и других причин.

Перекос - смещение одной части отливки относительно другой, возникающее в результате небрежной сборки формы, износа центрирующих штырей, несоответствия знаковых частей стержня на модели и в стержневом ящике, неправильной установке стержня.

Недолив - некоторые части отливки остаются незаполненными в связи с низкой температурой заливки, недостаточной жидкотекучести, недостаточным сечением элементов литниковой системы.

Усадочные раковины - открытые или закрытые пустоты в теле отливки с шероховатой поверхностью и грубокристаллическим строением.

Возникают при недостаточном питании массивных узлов, нетехнологичной конструкции отливки, заливки перегретым металлом, неправильная установка прибылей.

Газовые раковины - открытые или закрытые пустоты с чистой и гладкой поверхностью, которая возникает из-за недостаточной газопроницаемости формы и стержней, повышенной влажности формовочных смесей и стержней, насыщенности расплавленного металла газами.

Трещины горячие и холодные - разрывы в теле отливки, возникающие при заливке чрезмерно перегретым металлом, из-за неправильной конструкции литниковой системы, неправильной конструкции отливок, повышенной неравномерной усадки, низкой податливости форм и стержней.

Методы обнаружения дефектов

Наружные дефекты отливок обнаруживаются внешним осмотром после извлечения отливки из формы или после очистки.

Внутренние дефекты определяют радиографическими или ультразвуковыми методами дефектоскопии.

При использовании радиографических методов (рентгенография, гаммаграфия) на отливки воздействуют рентгеновским или гамма-излучением. С помощью этих методов выявляют наличие дефекта, размеры и глубину его залегания.

При ультразвуковом контроле ультразвуковая волна, проходящая через стенку отливки при встрече с границей дефекта (трещиной, раковиной) частично отражается. По интенсивности отражения волны судят о наличие, размерах и глубине залегания дефекта.

Трещины выявляют люминесцентным контролем, магнитной или цветной дефектоскопией.

Методы исправления дефектов

Незначительные дефекты исправляют заделкой замазками или мастиками, пропиткой различными составами, газовой или электрической сваркой.

Заделка замазками или мастиками - декоративное исправление мелких поверхностных раковин.

Перед заполнением мастикой дефектные места очищают от грязи, обезжиривают. После заполнения исправленное место заглаживают, подсушивают и затирают пемзой или графитом.

Пропитывание применяют для устранения пористости. Отливки на 8…12 часов погружают в водный раствор хлористого аммония. Проникая в промежутки между кристаллами металла, раствор образует оксиды, заполняющий поры отливок.

Для устранения течи отливки из цветных металлов пропитывают бакелитовым лаком.

Газовую и электрическую сварку применяют для исправления дефектов на необрабатываемых поверхностях (раковины, сквозные отверстия, трещины). Дефекты в чугунных отливках заваривают с использованием чугунных электродов и присадочных прутков, в стальных отливках - электродами соответствующего состава.

ЗАДАНИЕ №2


Разработайте процесс изготовления поковки детали методом горячей объемной штамповки на штамповочном молоте. При выполнении работы следует: описать сущность горячей объемной штамповки и указать области ее применения; привести схему молота и описать его работу; установить температурный интервал штамповки и способ нагрева заготовки; составить чертеж поковки и определить ее массу; с учетом технологических отходов определить объем, массу и длину исходной заготовки; выбрать переходы штамповки и привести эскиз инструмента; перечислить все операции технологического процесса получения поковки, выполняемые в кузнечном цехе; описать механизацию технологического процесса штамповки. Материал детали - сталь 45.

Сущность процесса горячей объемной штамповки заключается в том, что нагретая до оптимальной температуры заготовка (Тнагр. > Трекр.) помещается в полость одной из половин штампа, где она при воздействии второй половины приобретает заданную форму.

Полость внутри штампа называют ручьем. В качестве заготовок для горячей штамповки используют прокат круглого, квадратного, прямоугольного профилей, реже - периодический прокат. Горячей объемной штамповкой получают заготовки сложной конфигурации (шестерни, коленчатые валы, кронштейны, рычаги и др.) для деталей автомобилей, тракторов, самолетов, железнодорожных вагонов, станков и т. д. (рис. 3.28).

Рис. 1.6.. Штампованные поковки

Штамповка в открытых и закрытых штампах

В зависимости от типа штампа различают штамповку в открытых штампах и в закрытых. Открытыми штампами называют такие, у которых вокруг всего контура ручья имеется специальная облойная канавка 1, соединенная тонкой щелью hз с полостью штампа (рис. 1.7., а). Избыток металла при штамповке вытесняется в облой (заусенец), что позволяет не предъявлять особо высоких требований к точности заготовок по объему. Заусенец затем обрезается в специальных штампах.

Рис. 3.29. Схемы штамповки в открытых и закрытых штампах:

- облойная канавка

Штамповка в закрытых штампах (рис. 1.7, б) осуществляется без облоя. В этом случае необходимо строго соблюдать равенство объемов заготовки и поковки, т. е. отрезка заготовок должна проводиться с высокой точностью. Преимуществом штамповки в закрытых штампах является уменьшение расхода металла, т. к. нет отхода в заусенец.

Особенности конструирования деталей, изготовляемых объемной штамповкой

Чертеж поковки разрабатывают по чертежу детали. При получении поковок в открытых штампах вначале выбирается поверхность разъема штампа, т. е. поверхность, по которой соприкасаются нижняя и верхняя половины штампа. Ее выбирают так, чтобы поковка легко извлекалась из полости штампа. Глубина полостей в половинах штампа должна быть минимальной и примерно одинаковой (рис. 1.8). Затем назначают напуски, припуски на механическую обработку и допуски на размеры.

Рис. 1.8. Выбор плоскости разъема штампа: а - неправильно; б - правильно

Для свободного извлечения поковки из штампа назначают штамповочные уклоны (3 - 10° ). Все пересекающиеся поверхности поковки сопрягаются по радиусам (наружные радиусы 1-6 мм, внутренние - в 3-4 раза больше). Затем назначают припуск на усадку (при охлаждении объем металла уменьшается). После всего этого по чертежу поковки выполняют чертеж штампа, на котором предусматривают облойную канавку.

Чертеж поковки при штамповке в закрытых штампах с одной плоскостью разъема составляют так же, но плоскость разъема выбирают по наибольшей торцевой поверхности детали.

 

Рис. 1.9 Пример составления чертежа поковки: а - деталь; б - поковка

Получение штампованных поковок

Поковки простой конфигурации штампуют в штампах с одной полостью, т. е. одноручьевых. Поковки сложной формы с резкими изменениями сечений по длине, с изогнутой осью получить в одноручьевом штампе невозможно, поэтому применяют многоручьевые штампы с заготовительными и штамповочными ручьями (рис. 1.10) или одноручьевые заготовительные ичистовые штампы, установленные на отдельных штамповочных машинах. К заготовительным ручьям, служащим для получения фасонной заготовки, относятся: протяжной, подкатной, пережимной, формовочный, гибочный, площадка для осадки, отрубной нож. К штамповочным ручьям относятся черновой и окончательный чистовой ручей, в котором получают готовую поковку.

Рис. 1.10. Многоручьевой молотовой штамп

Технологический процесс горячей объемной штамповки:

. Раскрой проката на мерные заготовки.

. Нагрев заготовок.

. Штамповка.

. Отделочные операции:

а) обрезка облоя, пробивка пленок;

б) термообработка - при необходимости;

в) правка - устранение короблений, искривлений и т. п.;

г) очистка от окалины (в галтовочных барабанах, дробеструйных

камерах, травление в кислотах);

д) контроль размеров и чистоты поверхности.

Оборудование для объемной штамповки

Для горячей объемной штамповки применяют молоты, кривошипные горячештамповочные прессы, горизонтально-ковочные машины, гидравлические прессы, винтовые прессы и машины для специализированных процессов штамповки.

Основным видом штамповочных молотов являются паровоздушные штамповочные молоты. Принцип действия их аналогичен ковочным паровоздушным молотам, но конструкция другая. У них стойки станины крепятся непосредственно к шаботу; имеют усиленные регулируемые направляющие для движения бабы. Масса шабота в 20-30 раз больше массы падающих частей. Эти особенности обеспечивают необходимую точность соударения штампов.

Кривошипные горячештамповочные прессы (рис. 1.11). Электродвигатель 4 передает движение клиновыми ремнями на шкив 3, сидящий на валу 5, на другом конце которого закреплено малое зубчатое колесо 6. Это колесо находится в зацеплении с большим зубчатым колесом 7, свободно вращающимся на кривошипном вале 9.

Рис. 1.11. Кинематическая схема кривошипного горячештамповочного пресса

При помощи пневматической фрикционной дисковой муфты 8 зубчатое колесо 7 может быть сцеплено с кривошипным валом 9, чтобы привести его во вращение. Посредством шатуна 10 вращение кривошипного вала преобразуется в возвратно-поступательное движение ползуна 1. Для остановки вращения кривошипного вала служит тормоз 2. Стол пресса 11 может перемещаться клином 12 и таким образом регулировать высоту штамповочного пространства. Для облегчения удаления поковки из штампа прессы имеют выталкиватели в столе и ползуне. Они срабатывают при ходе ползуна вверх. Длина хода ползуна постоянна (равна удвоенному радиусу кривошипа), поэтому в каждом ручье штампуют за один ход пресса (на молотах до 3-5 ударов).

Преимущества:

большая точность поковок по высоте;

штамповочные уклоны меньше, т. к. есть выталкиватели;

большие возможности для механизации и автоматизации процесса.

Недостатки: стоимость пресса в 3-4 раза выше стоимости молота.

Выполнение задания

Материал: Сталь 45

Вид поставки - сортовой прокат: ГОСТ 1050-74.

Таблица 2.1-Химический состав:

Si

Mn

Cr

S

P

Cu

Ni

As

0,17-0,37

0,5-0,8

0,25

0,04

0,035

0,25

0,25

0,08


Механические свойства по ГОСТ 1050-74

Сталь горячекатаная, кованная, калиброванная и серебрянка второй категории после нормализации

1операция - Разрубка листа на ленты.

Размеры листа по ГОСТ 16523-97 -

Рис. 2.1.1 - Разметка листа

Рис. 2.1.2 - Расчёт раскроя листа:

Норма материала на лист:

Норма материала на деталь:

операция Вырубка, пробивка заготовки.

Допуски на ширину ленты >100мм

∆ш=0,6 ГОСТ2284-43

Рис. 2.1.3 -

Минимальное усилие пресса для вырубки, пробивки ()

где  - периметр детали (размеры матрицы)

- предел прочности на срез -

- толщина материала - S

,25 - коэффициент запаса

Рис. 2.2.1 - Развертка заготовки

Минимальное усилие на съем детали (Pmin)

Использовать буфер на прессе.

Штамповочный зазор 0.3мм на сторону за счет пуансон - матрицы (для размеров матрицы).

Штамповочный зазор 0.15мм на сторону за счет пуансон - матрицы (для размеров пуансона).

 - длина листа

 - ширина листа

Отклонения наружных размеров плоских деталей:

[10-50] → 0.35

[50-150] → 0.5

Отклонения размеров отверстий:

[до 10] → 0.1

[10-50] → 0.15

Отклонения размеров между центрами отверстий:

[до 50] → 0.2

Для данной операции выбираем пресс с усилием 70тонн

операция.- Гибка

Отклонения по высоте отгибаемых полок и по расстоянию от базы до оси отверстий (гибка после пробивки отверстий) с пружинным прижимом - (0.05-0.1)

Рис. 2.3.1 - Чертеж скобы

На штампах указанного типа достижима точность: ±0.05S

Изгибающие моменты для двухугловой гибки:



где  - усилие прижима

 - ширина полосы (вдоль линии изгиба),

 - расстояние между опорами при свободной гибки

 - коэффициент для свободной гибки

 - коэффициент для двухугловой гибки

;

Изгибающий момент для полукруглой гибки




Момент внутренних сил в

;


где,  - коэффициент, характеризующий влияние упрочнения

 - момент сопротивления

 - пластический момент сопротивления для прямоугольного сечения


операция-контроль.

Контроль детали производится мерительным инструментом и шаблонами.

 

ЗАДАНИЕ №3


Изобразите схему и опишите сущность процесса полуавтоматической сварки в среде углекислого газа. Укажите особенности и достоинства свирки в углекислом газе. Разработайте процесс сварки двутавровой балки (приложение В, рис.3), из стали марки Ст3. Шов прерывистый: 1Л= 100/200. Укажите тип соединение и форму разделки кромок под сварку по ГОСТ. Приведите эскиз сечения шва с указанием размеров. Выберите марку и диаметр электродной проволоки. Подберите режим сварки. Укажите вылет электрода, род тока и полярность. По размерам шва подсчитайте массу наплавленного металла. Определите расход электродной проволоки с учетом потерь и защитного газа, расход электроэнергии и время сварки изделия. Укажите методы контроля качества сварного шва.

Чертеж бензобака представлен на рисунке 3.1

Рис. 3.1 - Бензобак, Ст3

Сварка - технологический процесс получения неразъемных соединений в результате возникновения атомно-молекулярных связей между соединяемыми деталями при их нагреве и пластическом деформировании.

Углекислый газ <#"700689.files/image077.gif">2СО + O2.

В результате в зоне дуги образуется смесь из трех раз личных газов: углекислого газа, окиси углерода и кислорода.

Вследствие того, что температура дуги не везде одинако ва, неодинаков и состав газовой смеси в зоне дуги. В централь ной части, где температура дуги высокая, углекислый газ диссоциирует почти полностью. В области, прилегающей к сварочной ванне, количество углекислого газа преобладает над суммарным количеством кислорода и окиси углерода. Все три компонента газовой смеси защищают металл от воздействия воздуха, в то же время окисляют его как при переходе капель электродной проволоки в сварочную ванну, так и на поверхности


Порядок и интенсивность окисления элементов зависят от их химического сродства к кислороду. Вначале окисляется кремний, имеющий большее сродство к кислороду, чем другие элементы. Окисление марганца также происходит значительно интенсивнее, чем окисление железа и углерода. Следователь но, нейтрализовать окислительный потенциал углекислого газа можно введением в присадочную проволоку избыточного кремния и марганца, В этом случае погашаются реакции окисления железа и образования окиси углерода, но сохра няются защитные функции углекислого газа в отношении атмосферы воздуха.

Качество наплавленного металла зависит от процентного содержания кремния и марганца в сварочной проволоке (при условии наличия необходимого количества углекислого газа). Хорошее качество наплавленного металла при сварке углеро дистых сталей гарантируется тогда, когда в составе про волоки соотношение Мn к Si составит

Образовавшиеся окислы кремния и марганца не раство ряются в жидком металле, а вступают во взаимодействие друг с другом, образуя легкоплавкое соединение, которое в виде шлака всплывает на поверхность сварочной ванны.

Техника и режимы сварки. Прихватку деталей из углеро дистых сталей под сварку в углекислом газе осуществляют либо электродами типа Э42 или Э42А, либо полуавтоматической сваркой в углекислом газе. Прихватку деталей из легированных сталей выполняют электродами соответствующе го назначения. Поверхность свариваемых кромок перед прихваткой и сваркой тщательно зачищают от грязи, ржавчины, масла, окалины и шлака. При сборке выдерживают одинаковые зазоры, которые в стыковых соединениях не должны пре вышать 1,5 мм. Смещение свариваемых кромок относитель но друг друга не должно превышать 1 мм для толщин 4-10 мм и 10 % толщины для толщин более 10 мм. Сварку в среде углекислого газа применяют при ремонте тонколистовых конструкций. Наибольшее применение этот сварочный процесс получил для заварки трещин и приварки заплат при ремонте облицовки, кабин тракторов, автомобилей и сельскохозяйственных машин.

Сварка и наплавка в углекислом газе осуществляются автоматическим и полуавтоматическим способами. При полуавтоматической сварке и наплавке <#"700689.files/image080.gif">

Рис. Наплавка в среде углекислого газа:

Оборудование

Для сварки и наплавки в среде углекислого газа выпускаются комплекты специального оборудования различных конструкций. В комплект входят автоматическая головка, подающий механизм, пульт управления, подогреватель, осушитель. Для сварки и наплавки в углекислом газе используют аппараты А-547-Р, А-547-У, А-929, ПДПГ-300, А-577-У.

Полуавтомат А-547-Р предназначен для сварки и наплавки электродной проволокой диаметром 0,5... 1,2 мм. Скорость подачи проволоки можно регулировать в пределах 120 ... 140 м/ч. В качестве источника питания полуавтомат комплектуется селеновым сварочным выпрямителем ВС-200, рассчитанным на номинальный ток 200 А и напряжение 17 ... 25 В.

Полуавтомат А-547-У. Диаметр применяемой электродной проволоки 0,6... 1,2 мм. Скорость подачи ее 140... 600 м/ч. Номинальный сварочный ток 300 А. Источник питания - выпрямитель ВС-300. Полуавтомат обеспечивает качественную сварку металла толщиной 0,8 ... 4 мм.

Полуавтомат А-929. Диаметр электродной проволоки 1...2 мм. Скорость подачи проволоки 120... 620 м/ч. Толщина свариваемого металла 1 ... 8 . мм. Номинальный сварочный ток питания дуги 350 А, напряжение 17... 30 В. А-929 работает от сварочного преобразователя ПСГ-500.

Аппарат ПДПГ-300 работает с электродной проволокой диаметром 0,8 ... 2 мм. Скорость ее подачи 90... 960 м/ч. Номинальный ток 300 А. Толщина свариваемого металла 0,8 ... 6 мм.

Аппарат А-577-У работает с электродной проволокой диаметром 1,6 ... 2 мм. Скорость ее подачи 80 ... 600 м/ч. Ток питания дуги 500 А. Толщина свариваемого металла свыше 3 мм.

Специально для сварки в среде углекислого газа выпускаются сварочные преобразователи ПСГ-300, ПСГ-500, сварочные выпрямители ВС-200, ВС-300, ВС-500, ВС-600 и др.

Для поворота узлов и деталей в удобное для сварки или наплавки положение используют наплавочные станки или манипуляторы. Установки для автоматической наплавки в среде углекислого газа монтируют также на токарных станках. Наплавляемую деталь закрепляют в патроне станка, на суппорте станка устанавливают наплавочный аппарат, к которому подводят мундштук для подачи углекислого газа в зону наплавки. Для наплавки деталей используют любую автоматическую головку со специальным мундштуком.

При выходе из баллона температура углекислого газа резко падает, так как жидкая углекислота испаряется и поглощает тепло. Снижение температуры углекислого газа может привести к замерзанию влаги и закупорке каналов вентиля и редуктора и перекрытию доступа газа к соплу горелки. В связи с этим углекислый газ подогревают с помощью электрических подогревателей. Для удаления влаги из углекислого газа применяют осушители. Реагенты (силикагель или медный купорос), заполняющие осушитель, нужно периодически (не менее одного раза в неделю) прокаливать при температуре 200... 250 °С в течение двух часов.

Режимы сварки и наплавки. Качество сварного шва и наплавленного слоя, их химический состав и структура зависят не только от материала наплавочной проволоки, но и от режимов сварки и наплавки. Основные параметры режимов: сила сварочного тока, напряжение дуги, диаметр, величина вылета и скорость подачи электродной проволоки, скорость сварки, расход углекислого газа.

Сварка и наплавка в среде углекислого газа производятся на постоянном токе обратной полярности. Сварочный ток и диаметр электродной проволоки определяют в зависимости от химического состава и толщины свариваемого металла, числа слоев шва и применяемого сварочного оборудования. В зависимости от величины, сварочного тока, напряжения дуги, диаметра и химического состава электродной проволоки выбирают скорость подачи электродной проволоки с таким расчетом, чтобы обеспечить устойчивое горение дуги.

Вылет электрода должен быть в пределах 8... 14 мм. Он зависит от удельного электрического сопротивления проволоки, ее диаметра, силы тока и существенно влияет на качество сварного шва. Расход углекислого газа, достаточный для защиты зоны сварки от воздуха, составляет 7... 10 л/мин, с возрастанием плотности тока расход газа увеличивается.

Масса наплавленного металла.

Gнапл. мет.= F·l·с

где G напл. мет.-масса наплавленного металла, г.;

F-площадь поперечного сечения наплавленого металла, см2


F= р·a·b= (р·(S+a)·B)/4=3,14·4,5·7/4=24,75 мм2=0,2475 см2;

 - общая длина сварного шва в см, l=6000мм =600см; с-плотность наплавленного металла в г/см3, с =7,8 г/cм3;

G напл. мет.=0,2475·600·7,8=1160 г.

Расход электродной проволоки

При расчете расхода электродной проволки примем, что потери меттала на выгар и разбрызгивание, при сварке в среде защитного газа, составляют 10%.

Gполное= Gнапл. мет. ·1,1 =1160 г ·1,1=1280 г.

L= Gполное/(Sэлектрода· с)

Где L- длина электродной проволки в см; Gполное- полный расход расплевленного металла с учетом потерь, г; Sэлектрода площадь электродной проволки в см2.

Sэлектрода = (р d2)/4 =(3,14·0,22)4=0,314 см2;

с-плотность металла электродной проволки в г/см3 , с =7,8 г/cм3;

L=1280 /(0,314·7,8)=523 см

Время сварки изделия.

t = Gнапл. мет./( Iсварки · бн)

где    t-время сваривания, ч;

Iсварки - сварочный ток, А.

Iсварки= 10·Uсварки· ;

где

d - диаметр электрода.

Uсварки - напряжение дуги,

Uсварки= 8·(d +1.6)=28.8 В.;

Iсварки= 10·28,8·= 408 А

бн-коэфициент наплавления г/ (А·ч). При сварке в среде защитного газа бн=18-20 г/ (А·ч).

t =1160 / (408·18)=0.16 ч=9,6 мин.

Методы контроля качества сварного шва

Внешний осмотр на наличие трещин, непроваров, подрезов, неровностей, шлаковых включений, пор, шлаковые и оксидные включения.

Ультразвуковая дефектоскопия основана на способности ультразвуковых волн отражаться от границы раздела двух сред, обладающих разными акустическими свойствами (трещины, поры и т.д.). Согласно ГОСТ 14782-71 она позволяет выявить расслоения, поры и трещины.

Библиографический список

отливка поковка сварка

1.       Рубцов «Справочник литейщика» государственное научно-техническое издательство машиностроительной литературы, Москва, 1962г.

2.       Абрамов Г.Г., Панченко Б.С. «Справочник молодого литейщика», Москва, «Высшая школа»,1991г.

.        Романовский В.П. «Справочник по холодной штамповке». Издательство «Машиностроение», Ленинград,1971г.

.        Сорокин В.Г. «Марочник сталей и сплавов». Издательство «Машиностроение» 1989г.

.        Орлов Б.Д. «Технология и оборудование контактной сварки». Издательство «Машиностроение» Москва, 1975г.

.        Зубченко А.С. «Марочник сталей и сплавов». Издательство «Машиностроение» 2001г.

.        Рахштадт А.Г., Брострем В.А. «Справочник металлиста». Издательство «Машиностроение», Москва,1976г.

.        Брюханов А.Н., Лахтин Ю.М. «Технология металлов» государственное научно-техническое издательство машиностроительной литературы, Москва 1959г.

.        Кочеткова Л.П. «Разработка чертежа отливки». Редакционно-издательский отдел Кировский политехнический институт, 1990г.


Не нашли материал для своей работы?
Поможем написать уникальную работу
Без плагиата!
Без нейросетей!