Сооружения водоподготовки для нужд нефтеперерабатывающего завода

  • Вид работы:
    Курсовая работа (т)
  • Предмет:
    Другое
  • Язык:
    Русский
    ,
    Формат файла:
    MS Word
    105,62 Кб
  • Опубликовано:
    2013-11-12
Вы можете узнать стоимость помощи в написании студенческой работы.
Помощь в написании работы, которую точно примут!

Сооружения водоподготовки для нужд нефтеперерабатывающего завода

Министерство образования

Учреждение образования

Белорусский государственный университет транспорта

Строительный факультет

Кафедра "Экология и рациональное использование водных ресурсов"







Курсовой проект

по дисциплине "Водоснабжение промышленного предприятия"

водоснабжение водоотведение трубопровод фильтр


Выполнил: студент группы СВ-51

Николаенко С. А.

Принял: ассистент

Меженная О. Б.





Содержание

Введение

. Краткая характеристика предприятия

. Технологические процессы. Требования к качеству воды

. Балансовая схема водоснабжения и водоотведения

. Анализ качества исходной воды

. Технологическая схема очистных сооружений

. Расчёт суженного участка подводящего трубопровода для ввода раствора реагента

. Расчёт сооружений известкового хозяйства для устранения карбонатной жёсткости

.1 Определение дозы извести

.2 Расчёт растворных и расходных баков

.3 Хранение извести

.4 Дозирование реагентов

. Расчет сооружений реагентного хозяйства и подбор оборудования

.1 Определение дозы коагулянта

.2 Расчёт растворных и расходных баков

.3 Расчет воздуходувок и воздухопроводов

.4 Хранение коагулянта

.5 Дозирование реагентов

. Расчёт вертикальных напорных крупнозернистых фильтров

.1 Определение размеров фильтра

.2 Расчёт распределительной системы фильтра

. Расчёт вертикальных напорных фильтров с угольной загрузкой

.1 Определение размеров фильтра

.2 Подбор состава загрузки фильтра

.3 Расчёт распределительной системы фильтра

. Расчёт резервуаров технической воды

.1 Определение объёма резервуаров технической воды

.2 Расчёт геометрических параметров резервуаров технической воды

. Стабилизационная обработка воды

. Подбор градирен

. Стабилизация воды в оборотных системах водоснабжения

. Хлорирование охлаждающей воды

Заключение

Список литературы

Введение

Очистные сооружения являются одним из составных элементов системы водоснабжения и тесно связаны с ее остальными элементами.

Все разнообразные функции, возлагаемые на очистные сооружения, могут быть сведены к следующим:

1.  Удаление из воды содержащихся в ней взвешенных веществ (нерастворимых примесей), что обуславливает снижение ее мутности, данный процесс носит название осветление воды;

2.       Устранение веществ, обуславливающих цветность воды, - обесцвечивание воды;

.         Уничтожение содержащихся в воде бактерий, в том числе болезнетворных - обеззараживание воды;

.         Удаление из воды катионов кальция и магния - умягчение воды; снижение общего солесодержания в воде - обессоливание воды; частичное обессоливание воды до остаточной концентрации солей не более 1000 мг/л - опреснение воды.

На очистные сооружения могут быть возложены также отдельные специальные функции - удаление растворенных в воде газов (дегазация), устранение запахов и привкусов природной воды и др.

Для отдельных видов потребителей очистные сооружения, как правило, должны выполнять комплексно несколько из указанных функций. Решение всех поставленных перед очистными сооружениями задач может проводиться путем использования различных технологических приемов.

В данном курсовом проекте необходимо запроектировать очистные сооружения для промышленного предприятия (нефтеперерабатывающего завода III профиля). Источником водоснабжения является река, поэтому на очистные сооружения возложены задачи осветления, умягчения воды, а также её очистка от загрязняющих веществ содержание, которых в исходной воде превышает нормативы. Для этого необходимо: составить балансовую схему водоснабжения и водоотведения предприятия, провести анализ качества исходной воды, подобрать технологическую схему очистных сооружений, рассчитать подобранные сооружения.

Рассчитать резервуары технической воды.

Кроме того необходимо рассчитать оборотную систему водоснабжения,что включает в себя:

а) подбор градирен;

б) стабилизацию воды в оборотных системах водоснабжения;

в) хлорирование оборотной воды.

1. Краткая характеристика предприятия


Нефтеперерабатывающий завод (НПЗ) - предприятие для крупнотоннажного производства, основанного на превращениях нефти, ее фракций и нефтяных газов в товарный нефтепродукт и сырье для нефтехимии, основного органического синтеза и микробиологического синтеза. Это производство представляет собой совокупность физических и химико-технологических процессов и операций, включающих подготовку сырья, его первичную и вторичную переработку. По своему назначению НПЗ делятся на предприятия:- топливного профиля с глубокой схемой переработки (с максимальным выпуском мазута);- топливного профиля с глубокой схемой переработки (с выпуском котельного топлива и высокооктановых бензинов);- топливного профиля с неглубокой схемой переработки, с масляным производством (аналогичен заводу I профиля с добавлением процессов получения масел различных марок);- топливного профиля с глубокой схемой переработки с масляным производством (аналогичен заводу II профиля с добавлением процессов получения масел различных марок и высокооктановых бензинов);- топливного профиля с глубокой схемой переработки с нефтехимическим производством (с добавлением процессов получения нефтехимической продукции: полиэтилена, полипропилена, этилена, бензола, стирола и др.).

Основные действующие технологические процессы: атмосферно-вакуумная перегонка, фракционирование нафты, каталитический риформинг, гидроочистка керосина, термокрекинг, замедленное коксование, производство битумов, смазочных масел и парафинов, присадок.

В данном курсовом проекте требуется запроектировать очистные сооружения для нефтеперерабатывающего завода III профиля производительностью 10000 т/сут.

Предприятием вырабатывается широкий ассортимент нефтепродуктов: неэтилированные бензины автомобильные марок А-76, АИ-92 и АИ-95, дизельные, котельные топлива, смазочные масла и прочие.

2. Технологические процессы. Требования к качеству воды


На нефтеперерабатывающих производствах вода используется для охлаждения и конденсации продуктов, охлаждения оборудования, приготовления реагентов и др.

Производственное водоснабжение заводов осуществляется оборотной водой с разделением по системам в зависимости от её качества:

-я система - для аппаратов, охлаждающих или конденсирующих продукты, содержащие углеводы, С5 выше;

-я система - для аппаратов, охлаждающих или конденсирующих продукты, содержащие углеводы, не выше С4;

-я система - для аппаратов, воды которых загрязнены сероводородом и нефтепродуктами (для установок АВТ с барометрическими конденсаторами);

-я система - для аппаратов, в которых возможно загрязнение охлаждающей воды парафином и жирными кислотами.

При повышенных требованиях потребителей к качеству охлаждающей воды (конденсаторы паровых турбин), а также для отдельных специфических производств предусматриваются самостоятельные циклы оборотного водоснабжения.

Свежая техническая вода расходуется на пополнение оборотных систем и в исключительных случаях на производственные нужды отдельных потребителей.

Свежая оборотная вода подвергается обработке (фильтрации, ингибированию, биоциду).

Требования к качеству воды приведены в таблице 1.

Таблица 1 - Требования к качеству свежей и оборотной воды, используемой на нефтеперерабатывающих заводах

Показатели

Единица измерения

Свежая вода

Оборотная вода при возврате стоков 1-й системы канализации

1

2

3

4

Нефтепродукты

мг/л

--

25

Взвешенные вещества

мг/л

25

25

То же, в паводок

мг/л

100

--

Жесткость: общая

 мг-экв/л

 5,8

 20

карбонатная

мг-экв/л

2,5

15

Сульфаты

мг/л

130

500

Хлориды

мг/л

50

300

Сухой остаток

мг/л

500

2000

pH


7-8,5

7-8,5

БПКполн

мгО2

10

25

 

3. Балансовая схема водоснабжения и водоотведения

Балансовая схема водоснабжения и водоотведения составляется в соответствии с [2].

При составлении баланса в состав общей убыли воды из системы необходимо включать:

а) безвозвратное потребление (отбор воды из системы на технологические нужды);

б) потери воды на испарение при охлаждении, определяемые по формуле:

, м3/ч,

где Dt = t1 - t2 - перепад температуры воды в градусах, определяемый как разность температур воды, поступающей на охладитель (градирню), t1=35єС и охлажденной воды t2=30єС;

qохл - расход оборотной воды, м3/ч;

Кисп - коэффициент, учитывающий долю теплоотдачи испарением в общей теплоотдаче, Кисп=0,0012.

Таким образом, для I, II, III и IV систем водоснабжения потери воды на испарение составят соответственно:

 м3/ч;

 м3/ч;

 м3/ч;

 м3/ч.

Потери на унос ветром определяются в соответствии с табл. 38 [2] и составляют для вентиляторных градирен 0,2% оборотной воды.

Для I, II, III и IV систем водоснабжения потери воды на унос ветром составят соответственно:

 м3/ч;

 м3/ч;

 м3/ч;

 м3/ч.

Потери воды на сброс составляют 0,5% оборотной воды и равны для I, II, III и IV систем водоснабжения соответственно:

 м3/ч;

 м3/ч;

 м3/ч;

 м3/ч.

Таблица 2 - Укрупнённые нормы расхода воды и количества сточных вод на единицу продукции или сырья в нефтеперерабатывающей и нефтехимической промышленности

Наименование и способ производства

Единица измерения

Система водоснабжения

Среднегодовой расход воды на единицу измерения, м3

Среднегодовое количество выпускаемых в водоёмы сточных вод на единицу измерения, м3

Безвозвратное потребление, потери воды, м3




оборотной последовательно используемой

свежей из источника

Всего

в том числе






технической

питьевой

Всего


подлежащих очистке

не требующих очистки

фильтрационных из шламонакопителя







для производ-ственных целей

для хозяйственно-бытовых целей



бытовых

производственных




Нефтеперерабатывающий завод топливного профиля с неглубокой схемой переработки с масляным производством

1 т пере-рабатываемой нефти

Оборотная

10,5

0,45

0,013

0,022

0,485

0,182

0,16

0,022

--

--

0,47


За сутки работы завода


105000

4500

130

220

4850

1820

1600

220

--

--

4700



 

4. Анализ качества исходной воды


В данном курсовом проекте для большинства производственных нужд используется техническая вода, забор которой осуществляется из поверхностного источника. Основные показатели данной воды приведены в таблице 3.

Таблица 3 - Основные показатели качества источника водоснабжения

Показатели

Единица измерения

Данные

Мутность

мг/л

32-68

Жёсткость: общая, карбонатная

мг-экв/л

4,34


мг-экв/л

3,15

Окисляемость KMnO4

мг/л

11,3

pH

--

7,9

Привкус

балл

3

Запах

балл

4

Фтор

мг/л

0,06

Железо, мг/л

мг/л

0,05

Содержание углекислоты

мг/л

1,67

Фенолы

мг/л

0,001

Нефтепродукты

мг/л

0,09

ПАВ

мг/л

0,45

Хлориды

мг/л

64

Сульфаты

мг/л

89


Показатели данной воды превосходят нормативные по ряду характеристик: мутности, карбонатной жёсткости, а также содержанию хлоридов и нефтепродуктов.

5. Технологическая схема очистных сооружений


Технологическая схема очистки подбирается в соответствии с данными полученными в результате анализа качества исходной воды.

В данном случае для устранения карбонатной жёсткости воды используется известковый метод умягчения воды. Реагент позволяет скоагулировать мельчайшие взвешенные вещества, которые затем осаждаются на крупнозернистых напорных фильтрах. Для введения извести и раствора коагулянта используется суженные участки трубопровода. Очистка от нефтепродуктов осуществляется на сорбционных фильтрах с угольной загрузкой.

 

6. Расчёт суженного участка подводящего трубопровода для ввода раствора реагента


Заданный расчётный расход воды составляет qсек=0,05208 м3/с.

Принимаем диаметр водовода D=250 мм при скорости движения воды V1=0,98 м/с (что отвечает требуемой, т. е. 1-1,2 м/с). Диаметр суженного участка трубы принимаем d=150 мм при скорости движения воды V2=2,66 м/с (рекомендуется принимать V2≤ 3 м/с). Площади поперечных сечений трубопроводов f1=0,0491м2 и f2=0,0177м2. Тогда отношение площадей сечений m1= f1/f2=0,0491/0,0177=2,78 и коэффициент расхода μ=0,98.

По формуле:

.

Отсюда: h=0,4 м.

Потери напора в суженном участке трубопровода вычисляют по формуле:

, м,

где V1 - скорость движения воды в водоводе; V2 - скорость движения воды в суженном участке.

 м.

Потери напора в суженном участке соответствуют допустимым (hс=0,3-0,4 м).

7. Расчёт сооружений известкового хозяйства для устранения карбонатной жёсткости


7.1 Определение дозы извести


Общая жёсткость воды определяется по формуле:

, мг-экв/л,

где Са2+ и Mg2+ - содержание в исходной воде ионов кальция и магния соответственно, мг/л.

Так как Жо=4,34 мг-экв/л и Са2+=75 мг/л, то:

 мг-экв/л.

Доза извести для устранения карбонатной жёсткости воды вычисляется по формуле:

, мг/л,

где СО2 - содержание углекислоты в исходной воде, СО2=1,67 мг/л;

 - карбонатная жесткость воды, Жко=3,15 мг-экв/л;

Дк и е - доза коагулянта (FeCl3=35 мг/л, см. п. 8) и его эквивалентный вес (e=54 мг-экв/л).

,5 - избыток извести, вводимый для полноты пеакции, мг/л.

Член Дк/е принимается со знаком минус, если коагулянт вводится в воду раньше извести, и со знаком плюс, если коагулянт вводится вместе с известью или после неё. В данном случае коагулянт вводится после извести.

Таким образом доза извести составит:

 мг/л.

При известковании воды без подогрева остаточная щёлочность составляет не менее 0,7 мг-экв/л (в данном случае 1 мг-экв/л).

Весовое количество извести вычислим по формуле:

, кг/сут,

где Ди - доза извести, мг/л;и - содержание СаО в товарной извести II сорта, равное 70%.

 кг/сут.

7.2 Расчёт растворных баков


В большинстве случаев, когда расход извести превышает 0,25 т/сут, практикуется приготовления известкового молока. Известь доставляется в негашёном виде и направляется в известегасилки.

После известегасилки концентрированное известковое молоко поступает в бак, где концентрация его снижается до величины не более 5 %. Этот процесс должен сопровождаться непрерывным перемешиванием для поддержания частиц извести во взвешенном состоянии. С этой целью используется барботирование путём непрерывной подачи сжатого врздуха от воздуходувок.

Объем баков для приготовления известкового молока определяем по формуле:

, м3,

где Qч - расход воды, м3/ч;

n - время на которое заготавливают известь, n=6-12 ч;и - концентрация известкового молока, принимаем bр=5 %;

 - объемный вес раствора, принимаем =1 т/м3.

 м3

Принимаем два растворных бака по 2,16 м3 размером 1,2х1,2х1,5 м.

7.3 Хранение извести


Сухое хранение рассчитывается на 15-30 дней.

Площадь склада определяется по формуле

, м2,

где Т - продолжительность хранения извести на складе, Т=15-30 сут;

 - коэффициент для учета дополнительной площади на складе, принимаем =1,15;

рс - содержание безводного продукта, принимаем рс=15 %

Gо - объемный вес коагулянта при загрузке склада навалом, =1,1 т/м3;к - допустимая высота слоя слоя коагулянта, hк=2 м.

 м2.

Принимаем размеры склада в плане 6х12=72 м2.

7.4 Дозирование известкового раствора


В практике очистки воды весьма распространено использование для дозирования растворов и суспензий реагентов насосов-дозаторов. Достоинство их состоит в том, что они компактны, обеспечивают возможность дозирования в напорный трубопровод и могут быть легко автоматизированы.

Расход реагента определяем по формуле:

, л/ч,

где  - плотность раствора реагента при заданной концентрации, =1000 кг/м3.

 л/ч.

Принимаем соленоидный дозирующий насос мембранного типа марки DLS-MA 30-4 со следующими техническими характеристиками:

подача - до 30 л/ч;

напор - 40 м;

масса нетто - 5,7 кг;

размеры 203х244х168 мм.

Насос имеет алюминиевый корпус, панель управления защищена прозрачной крышкой из поликарбоната, ручной клапан стравливания воздуха, настенное исполнение, класс защиты: IP65, аналоговое управление, ручная регулировка производительности 0-100%, 0-20%, постоянный ON/OFF режим дозирования, два LED индикатора для отображения статуса.

Для обеспечения бесперебойной работы устанавливаем один резервный насос-дозатор (общий как для известкового, так и для реагентного хозяйства).

8. Расчет сооружений реагентного хозяйства и подбор оборудования


8.1 Определение дозы коагулянта


Процессы обработки воды с применением реагентов протекают быстрее и значительно эффективнее. Водоочистные сооружения для обработки воды с применением реагентов значительно меньше по объему, компактнее и дешевле, но сложнее в эксплуатации, чем сооружения безреагентных схем.

Расчетные дозы реагентов позволяют установить размеры сооружений для их растворения и дозирования.

В отечественной практике в качестве коагулянта наиболее широко применяют сернокислый алюминий Al2 (SO4)3, железный купорос FeSO4.7H2O и хлорное железо FeCl3.

Сернокислый алюминий выпускается двух сортов: очищенный Al2(SO3)4.18H2O и неочищенный Al2(SO3)4.n.H2O+mSiO2. Этот коагулянт требует применения устройств, интенсифицирующих процесс его растворения. Для осветления воды доза коагулянтов, считая на безводное вещество, может быть принята в зависимости от мутности очищаемой воды по таблице 4 [1, табл.16].

Таблица 4 - Доза коагулянта в зависимости от мутности очищаемой воды

Мутность воды, мг/л

Доза коагулянта, мг/л

До 100 Св 100 до 200 200 400 400 600 600 800 800 1000 1000 1500

25 - 35 30 - 40 35- 45 45 - 50 50 -60 60 -70 70 -80


Наибольшая мутность источника водоснабжения в соответствии с заданием составляет 68 мг/л, поэтому в соответствии с таблицей 4 принимаем дозу коагулянта для осветления воды Дк =35 мг/л.

Для улучшения процесса коагуляции делают подщелачивание воды.

Определим необходимую дозу извести Дщ для подщелачивания воды по формуле

, мг/л,

где Щ - минимальная щелочность воды, мг.экв/л (принимается равной карбонатной жесткости - 3,15 мг-экв/л);

К - коэффициент для извести К=28;

е - эквивалентный вес коогулянта для FeCl3 e=54 мг.экв/л

 мг/л

Так как Дщ< 0, то подщелачивания воды не требуется.

8.2 Расчёт растворных и расходных баков


В растворных баках концентрация раствора коагулянта должна составлять 10-17%, а в расходных баках - 2-8%

Объем растворных баков определяем по формуле

, м3,

где Qч - расход воды, м3/ч;

n - время на которое заготавливают коагулянт;р - концентрация раствора коагулянта растворном баке, принимаем bр=13,5 %;

 - объемный вес раствора, принимаем =1 т/м3.

 м3

Принимаем три растворных бака по 1,0 м3.

Объем расходных баков определяем по формуле

, м3,

где b - концентрация рабочего раствора в расходном баке, принимаем b=5%.

 м3

Принимаем два расходных бака по 1,2 м3.

Исходя из вышеприведенных расчетов устанавливаем размеры растворного и расходных баков, таблица 5:

Таблица 5 - Принятые размеры расходного и растворного баков


Длина, м

Ширина, м

Высота, м

Объем, м3

Растворный бак Расходный бак

1,0 1,0

1,0 1,0

1,0 1,2


8.3 Расчет воздуходувок и воздухопроводов


Для интенсификации процессов растворения коагулянта и перемешивания раствора в растворных и расходных баках предусматривается подача сжатого воздуха.

Расчетный расход воздуха Qвозд определяется как произведение площадей баков (в плане) на величину интенсивности подачи воздуха. Это позволяет подобрать воздуходувку необходимой производительности (W<Qвозд).

Расход воздуха, необходимый для перемешивания раствора на растворные и расходные баки определяются по формуле:

, м3/мин,

где n - число баков, шт;

S - площадь бака, м2;- интенсивность подачи воздуха, для данного бака, л/с на 1 м2.

Интенсивность подачи воздуха принимается: для растворения коагулянта и извести 8-10 л/с на 1 м2, для его перемешивания при разбавлении до нужной концентрации в расходных баках 3-5 л/с на 1 м2.

 л/с = 3,66 м3/мин;

Устанавливаем две воздуходувки (одну рабочую и одну резервную) марки ВК-1,5 производительностью W=4,2 м3/мин и с избыточным давлением р=1,5 кгс/см2, мощность электродвигателя 0,13 кВт.

Скорость движения воздуха, в трубопроводе определяем по формуле:

, м/с,

где р - давление в воздухопроводе, р=1,5 кгс/см2;

d - диаметр воздухопровода, м, принимаем d=0,050 м.

 м/с

Полученная скорость не превышает предельно допустимого значения 15 м/с.

Определим вес воздуха проходящий через трубопровод:

, кг/ч,

где  - удельный вес сухого воздуха, кг/м3. При температуре t=0 oC и при давлении p=1,5 кгс/см2, =1,917 (табл. 19 [4]).

 кг/ч.

Потеря давления воздуха определяем по формуле:

, кгс/см2,

где  - коэффициент сопротивления, при G=483,1 кг/ч =1,18 (табл. 18 [4]);

l - длина воздуховода, м, l =20 м;- диаметр труб воздухопровода, мм.

кгс/см2 = 0,045 ат

Потери напора в фасонных частях воздухопровода:

, мм вод. ст.,

где  - сумма коэффициентов местного сопротивления;

 - скорость движения воздуха в трубопроводе, м/с;

,

где n - число фасонных частей, n=7 шт.

.

 мм вод. ст.=0,014 ат.

Суммарные потери давления в воздухопроводе составят

 ат.

Кроме магистрального воздухопровода диаметром d=50 мм устраиваются ответвления диаметрами по 50 мм, система стояков и горизонтальных распределительных дырчатых шлангов диаметрами по 38 мм, располагаемых на взаимных расстояниях 500 мм под решетками растворных баков и по дну расходных баков.

Применение прорезиненных армированных шлангов вызывается тем, что растворы коагулянтов коррозионны по отношению к обычным стальным трубам. Аналогичные шланги диаметром 100 мм применяются для перепуска раствора из растворных баков в расходные и диаметром 50 мм - для отведения раствора реагента из баков. Вместо прорезиненных шлангов весьма целесообразно применять винипластовые трубы тех же диаметров.

Для загрузки растворных баков реагентами применяют вагонетку грузоподъемностью до 1 т (при ее емкости 0,5 м3) с опрокидывающимся кузовом, а для удаления шлама из растворных баков - вагонетку без кузова, оборудованную бадьей грузоподъемностью 0,5 т. В здании реагентного хозяйства предусматривается установка тельфера грузоподъемностью 1 т.

Стенки и дно железобетонных баков для растворов реагента покрывают кислотостойкими плитками на кислотостойкой замазке или оклеивают по периметру рубероидом с защитой его изнутри дощатыми щитами.

8.4 Хранение коагулянта


Сухое хранение рассчитывается на 15-30 дней.

Площадь склада определяется по формуле

, м2,

где Т - продолжительность хранения коагулянта на складе, Т=15-30 сут;

 - коэффициент для учета дополнительной площади на складе, принимаем =1,15;

рс - содержание безводного продукта в коагулянте, принимаем рс=33,5%

Gо - объемный вес коагулянта при загрузке склада навалом, =1,1 т/м3;к - допустимая высота слоя слоя коагулянта, hк=2 м.

 м2.

Принимаем размеры склада в плане 3х3=9 м2.

8.5 Дозирование реагентов

Расход реагента определяем по формуле:

, л/ч,

где  - плотность раствора реагента при заданной концетрации, =1000 кг/м3.

 л/ч.

Принимаем мембранный насос дозатор марки DLX-VFT/M 8-10 со следующими характеристиками:

подача - до 8 л/ч;

напор - 100 м;

масса нетто - 2,9 кг;

размеры 190х120х150 мм.

Насос имеет антикислотный пластиковый корпус; панель управления защищена пленкой от УФ излучения; возможность подключения датчика уровня, подпружиненный инжектор; шаровые клапана, настенное крепление; класс защиты IP65; клапан стравливания воздуха для заливки насоса; аналоговое управление с микропроцессором; режимы дозирования: постоянный ON/OFF и пропорциональный; режимы: ручной, умножения 1xN, умножения с памятью 1xN(M), деления 1:N; считывающий контакт.

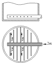
9. Расчёт вертикальных напорных крупнозернистых фильтров


Напорный фильтр (рис. 2) представляет собой закрытый стальной резервуар (вертикальный или горизонтальный), рассчитанный на внутреннее давление 6 атм. В ряде случаев это позволяет подавать профильтрованную воду в разводящую сеть труб с достаточным напором.

Продолжительность фильтроцикла в напорном фильтре обусловливается предельной потерей напора в фильтрующей загрузке и дренаже до 15 м вод. ст.

Рисунок 2 - Вертикальный напорный фильтр:

- подача воды на осветление;

- спуск промывной воды;

- выход осветлённой воды;

- спуск первого фильтрата;

- подвод сжатого воздуха;

- подвод промывной воды;

- лаз круглый;

- верхнее распределительное устройство;

- фильтрующий слой (песок);

- штуцер для гидравлической выгрузки и загрузки фильтра.

9.1 Определение размеров фильтра

Площадь напорного фильтра определяется по формуле:


где Qсут - производительность фильтра (полезная), м3/сут;

Т - продолжительность работы станции в течение суток, ч;р.н. - расчётная скорость фильтрования, Vр.н.=10 м/ч;- число промывок фильтров за сутки;

ω1 и t1 - интенсивность (15-25 л/сек·м2) и продолжительность в (0,017 ч) перво-начального взрыхления фильтрующей загрузки;

ω2 и t2 - интенсивность подачи воды (3,5-5 л/сек·м2) и продолжительность (0,083 ч) водовоздушной промывки;

ω3 и t3 - интенсивность (7-9 л/сек·м2) и продолжительность отмывки (0,05 ч);4 - продолжительность простоя фильтра из-за промывки в ч.

По заданной полезной производительности установки с напорными фильтрами Qсут=4500 м3/сут:

Количество напорных фильтров при площади одного фильтра f=3,14 м2 должно быть N=F:f=19,9:3,14=6,32≈7.

Скорость фильтрования воды при форсированном режиме составит:

, м/ч,

где N1 - количество фильтров, находящихся в ремонте, (N1=1).

 м/ч м/ч < 12 м/ч.

Скорость фильтрования при форсированном режиме работы соответствует нормативам.

9.2 Расчёт распределительной системы фильтра


Распределительная система фильтра изображена на рисунке 3. Напорный вертикальный фильтр имеет диаметр D = 3 м. площадь песчаной загрузки фильтра f=3,14 м2 (в плане). Интенсивность промывки ω = 8 л/сек·м2.

Общий расход воды на промывку на один фильтр:

пр = 3,14·8 = 25,12 л/сек = 0,0251 м3/сек.

Диаметр стального коллектора распределительной системы напорного фильтра при скорости входа в него промывной воды vкол = 1,10 м/с будет dкол = 175 мм (рекомендуемая скорость 1 - 1,2 м/сек).

С каждой стороны коллектора размещается по 6-7 ответвлений в виде горизонтальных стальных труб наружным диаметром 60 мм, привариваемых к коллектору под прямым углом на взаимных расстояниях 3 : 12 = 0,25 м (между осями труб).


На штуцерах ответвлений укрепляются фарфоровые щелевые колпачки ВТИ-5. Необходимая суммарная площадь щелей в дренажных колпачках должна быть 0,8-1% рабочей площади фильтра, т. е.:


Площадь щелей на каждом колпачке ВТИ-5 составляет fщ =192 мм2 =0,000192 м2.

Общее число колпачков на ответвлениях распределительной системы:


Так как фильтр имеет в плане круглое сечение, то ответвления будут разной длинны, а именно: 0,52; 0,62; 0,70; 0,76; 0,80 и 0,84 м.

Суммарная длинна всех ответвлений распределительной системы фильтра D = 2 м составит L=4(0,52+0,62+0,70+0,76+0,80+0,83)=16,92 м.

Среднее расстояние между дренажными колпачками e = L : n= 16,92:130 = 0,130 м = 130 мм.

На наиболее длинных ответвлениях (в центре фильтра) l = 0,83 м устанавливается 6 колпачков, а на наиболее коротких l = 0,52 м - по 4 колпачка.

Количество колпачков на 1 м2 фильтра составляет 130 : 3,14 = 41 (рекомендуется не менее 35 - 40).

Количество промывной воды, приходящейся на один колпачок

колп=0,0251:130= =0,00019 м3/сек.

Скорость прохода промывной воды через щели колпачка

щ=qколп:fщ= =0,00019:0,000192 = 0,99 м2/сек.

Расход промывной воды, приходящийся на наиболее длинное ответвление с числом колпачков n = 6:

д.отв. = n·qколп =6·0,00019 =0,00114 м3/сек.

При допустимой скорости v = 1,8-2 м/сек диаметр ответвления будет 25 мм, что отвечает скорости vд.отв. = 2,13 м/сек.

Сопротивление в щелях дренажных колпачков распределительной системы круглого в плане фильтра, состоящего из центрального коллектора и боковых распределительных труб неравной длины, определяется по формуле:


где vщ - скорость движения воды в щелях колпачка;

μ - коэффициент расхода, равный 0,5.


На наиболее длинном боковом ответвлении размещено 6 щелевых колпачков, тогда Σh=6·0,200 = 1,2 м.

Режим промывки напорных фильтров следующий: взрыхление загрузки (с интенсивностью 15-25 л/сек·м2) 1 мин; водовоздушная промывка (3,5-5 л/сек·м2 воды и 15-25 л/сек·м2 воздуха) 5 мин, отмывка водой (7-9 л/сек·м2) 3 мин.

Отвод промывной воды с напорного фильтра производиться при помощи водосборной воронки; диаметр воронки должен быть dв = (0,2 ч 0,25) D (где D - диаметр фильтра). Принимаем dв = 500 мм.

10. Расчёт вертикальных напорных фильтров с угольной загрузкой


10.1 Определение размеров фильтра


Общая высота сорбционной загрузки определяется по формуле:

Нобщу.знадф, м,

где Ну.з - высота слоя угольной загрузки, вычисляемая по формуле:

Ну.з=Vр.ф∙τу/60, м,

где Vр.ф - расчётная скорость фильтрования при нормальном режиме эксплуатации, (принимаем 10 м/ч);

τу - время контакта с угольной загрузкой, для угля АГ-3 составляет 15-16 мин;

Ннадф - высота надфильтрового слоя, вычисляемая по формуле:

, м,

где Сотн - отношение надфильтрового слоя к высоте угольной загрузки, принимается в пределах 30-40%.

Таким образом, имеем:

Ну.з=10∙15,5/60=2,6 м,

 м,

Нобщ=2,6+0,9=3,5 м.

Продолжительность фильтроцикла вычислим по формуле:

Тфобщ/u, ч,

где u - скорость перемещения фронта воды, u=0,02-0,06 м/ч.

Тф=3,5/0,04=87,5 ч.

Отсюда, количество промывок в сутки составит:

=24/Tф=24/87,5=0,274.

Площадь напорного фильтра определяется по формуле:


где Qсут - производительность фильтра (полезная), м3/сут;

Т - продолжительность работы станции в течение суток, ч;р.н. - расчётная скорость фильтрования, Vр.н.=10 м/ч;- число промывок фильтров за сутки;

ω и t1 - интенсивность (16 л/сек·м2) и продолжительность в (0,1 ч) перво-начального взрыхления фильтрующей загрузки;2 - продолжительность простоя фильтра из-за промывки в ч.

По заданной полезной производительности установки с напорными фильтрами Qсут=4500 м3/сут:

Количество напорных фильтров при площади одного фильтра f=3,14 м2 должно быть N=F:f=18,95:3,14=6,03≈6.

Скорость фильтрования воды при форсированном режиме составит:

, м/ч,

где N1 - количество фильтров, находящихся в ремонте, (N1=1).

 м/ч м/ч ≤ 12 м/ч.

Скорость фильтрования при форсированном режиме работы соответствует нормативам.

10.2 Подбор состава загрузки фильтра


В качестве загрузки фильтра используем активированный уголь марки АГ-3. Крупность гранул 0,5-1,5 мм, рекомендуемое время контакта 15-16 мин, высота угольной загрузки 2,6 м, общая высота сорбционной загрузки 3,5 м, типы улавливаемых загрязнений: фенолы, нефть, азот аммонийный, СПАВ.

10.3 Расчёт распределительной системы фильтра


Напорный вертикальный фильтр имеет диаметр D = 3 м. площадь загрузки фильтра f=3,14 м2 (в плане). Интенсивность промывки ω = 16 л/сек·м2.

Общий расход воды на промывку на один фильтр:

qпр = 3,14·16 = 50,24 л/сек = 0,0502 м3/сек

Диаметр стального коллектора распределительной системы напорного фильтра при скорости входа в него промывной воды vкол = 0,95 м/с будет dкол = 250 мм (рекомендуемая скорость 1 - 1,2 м/сек).

С каждой стороны коллектора размещается по 6-7 ответвлений в виде горизонтальных стальных труб наружным диаметром 60 мм, привариваемых к коллектору под прямым углом на взаимных расстояниях 3 : 12 = 0,25 м (между осями труб).

На штуцерах ответвлений укрепляются фарфоровые щелевые колпачки ВТИ-5. Необходимая суммарная площадь щелей в дренажных колпачках должна быть 0,8-1% рабочей площади фильтра, т. е.:


Площадь щелей на каждом колпачке ВТИ-5 составляет fщ =192 мм2 =0,000192 м2.

Общее число колпачков на ответвлениях распределительной системы:


Так как фильтр имеет в плане круглое сечение, то ответвления будут разной длинны, а именно: 0,52; 0,62; 0,70; 0,76; 0,80 и 0,84 м.

Суммарная длинна всех ответвлений распределительной системы фильтра D = 2 м составит

=4(0,52+0,62+0,70+0,76+0,80+0,83)=16,92 м.

Среднее расстояние между дренажными колпачками e = L : n= 16,92:130 = 0,130 м = 130 мм.

На наиболее длинных ответвлениях (в центре фильтра) l = 0,83 м устанавливается 6 колпачков, а на наиболее коротких l = 0,52 м - по 4 колпачка.

Количество колпачков на 1 м2 фильтра составляет 130 : 3,14 = 41 (рекомендуется не менее 35 - 40).

Количество промывной воды, приходящейся на один колпачок

колп=0,0502:130= =0,00039 м3/сек.

Скорость прохода промывной воды через щели колпачка

щ=qколп:fщ= =0,00039:0,000192 = 2,01 м2/сек.

Расход промывной воды, приходящийся на наиболее длинное ответвление с числом колпачков n = 6:

д.отв. = n·qколп =6·0,00039 =0,00234 м3/сек.

При допустимой скорости v = 1,8ч2 м/сек диаметр ответвления будет 40 мм, что отвечает скорости vд.отв. = 1,87 м/сек.

Сопротивление в щелях дренажных колпачков распределительной системы круглого в плане фильтра, состоящего из центрального коллектора и боковых распределительных труб неравной длины, определяется по формуле:

, м,

где vщ - скорость движения воды в щелях колпачка;

μ - коэффициент расхода, равный 0,5.


На наиболее длинном боковом ответвлении размещено 6 щелевых колпачков, тогда Σh=6·0,824 = 4,9 м.

Отвод промывной воды с напорного фильтра производиться при помощи водосборной воронки; диаметр воронки должен быть dв = (0,2 ч 0,25) D (где D - диаметр фильтра). Принимаем dв = 500 мм.

11. Расчёт резервуаров технической воды


11.1 Определение объёма резервуаров технической воды


В резервуарах следует предусматривать:

аварийный объем воды, обеспечивающий в течение времени ликвидации аварии на водоводе (8 ч) расход воды в размере 70 % расчетного среднечасового водопотребления;

объем воды в емкостях перед насосными станциями подкачки или оборотного водоснабжения, работающими равномерно, следует принимать из расчета 5-10-минутной производительности насоса большей производительности (для насосов Д800-28 - 800 м3/ч).

Полная вместимость резервуара технической воды определяется по формуле:

, м3,

где Wав - аварийный объем воды, определяемый по формуле:ав=0,7ТQср.ч, м3,

где Т - расчётное время ликвидации аварии;н - объем воды перед насосными станциями оборотного водоснабжения, м3.

н =0,17∙800=136 м3.ав=0,7∙8∙187,5=1050 м3

 мі.

Определив полную вместимость резервуара чистой воды, принимаем число резервуаров равное двум.

Так как вместимость резервуара технической воды до 2000 м3, то используем круглые в плане резервуары высотой H равной 3,5 м. принимаем два резервуара с вместимостью 600 м3 каждый.

11.2 Расчёт геометрических параметров резервуаров технической воды


Определяем площадь горизонтального сечения резервуара чистой воды по формуле:

, м2,

где Wрчв - полная вместимость резервуара чистой воды, м3;- высота резервуара чистой воды, м.

 м2

Определяем диаметр резервуара чистой воды:

 м

Принимаем окончательно диаметр Dр равный 15 м.

12. Стабилизационная обработка воды


Индекс насыщения карбонатом кальция определяется по формуле:

=pH0-pHs,

где pH0 - водородный показатель, измеренный с помощью рН-метра (pH0=7,9);s - водородный показатель в условиях насыщения воды карбонатом кальция, при содержании кальция Са = 75 мг/л, общем солесодержании Р =0,583 г/л, щелочности Щ = 1,0 мг-экв/л и температуре воды t = 10 єC pHs=8,1.

=7,9-8,1=-0,2.

Так как -0,3<J=-0,2<0,3, то стабилизационная обработка воды не требуется.

13. Подбор градирен


Площадь орошения вентиляторной градирни с капельным оросителем определим по формуле:

, м2

где Q - расход оборотной воды, м3/ч;

t1 - температура горячей воды, подаваемой на градирню, t1=35 єС;2 - температура охлаждённой воды, t2=30 єС;В - скорость движения воздуха через ороситель, ориентировочно VВ=2 м/с;

τ - температура воздуха по влажному термометру, τ=18 єС;

γ - удельный вес наружного воздуха, при τ=18 єС и φ=70 % - γ=1,197 кг/м3;

Н - величина свободного напора перед брызгальными соплами, Н=4,5м.

Таким образом площадь орошения градирен I, II, III и IV систем водоснабжения составит соответственно:

 м2;

 м2;

 м2;

 м2

В результате расчета площади подбираем:

а, б) для первой и второй систем водоснабжения 4-ёх секционные градирни по типовому проекту №901-6-88.86 IV типа:

• вид оросителя - брызгальный;

• число секций - 5;

• размеры одной секции - 4 х 6 х 6,7 м;

• размеры градирни в плане - 6 х 20 м;

• марка вентилятора - 3 ВГ 25;

• материал несущего каркаса - сборный железобетон;

• материал обшивки, оросителя и воодуловителя - модифицированная древесина.

в) для четвёртой системы водоснабжения аналогичную 2-ух секционную градирню по типовому проекту № 901-6-85.86 I типа (размеры в плане 6 х 8 м).

г) для третей системы водоснабжения - ГПА, фирма "Аксанд" (на базе исследований НИИ ВОДГЕО) модель 2,5:

• вид оросителя - гофрированные листы;

• размеры - 1,8 х 1,8 х 3,4 м;

•марка вентилятора - 06-300 № 8;

• расход воды - 60 м3/ч.

Одним из необходимых условий эффективной работы вентиляторных градирен является правильный выбор экономичных вентиляторов.

В градирнях для создания искусственной тяги применены осевые вентиляторы общепромышленного назначения марки 3 ВГ 25 (в градирни третей системы водоснабжения 06-300 № 8). Их технические характеристики приведены в таблице 6.

Таблица 6 - Краткие технические характеристики вентиляторов 3 ВГ 25 и 06-300 №8.

Марка

Номинальная подача воздуха Gв, тыс. м3

Номинальное давление, Па

Частота вращения, мин-1

Мощность электродвигателя, кВт

Масса вентилятора, кг

3 ВГ 25

156

137

365

11

830

06-300 № 8

23

98

930

0,8

67,5


Произведем перерасчет скорости движения воздуха через ороситель:

, м/с,

где Gв - номинальная подача воздуха, м3/ч;

Fор. - типовая площадь орошения (одной секции), м2.

Таким образом скорость движения воздуха через оросители градирен I, II, III и IV систем водоснабжения составит соответственно:

 м/с;

 м/с.

Тогда:

 м2;

 м2;

 м2;

 м2.

Так как

а) 114,2 м2< 120 м2;

б) 101,4 м2< 120 м2;

в) 2,4 м2< 3,24 м2;

а) 40,6 м2< 48 м2,

то условие выполняется. Следовательно, градирни и вентиляторы подобраны верно.

14. Стабилизация воды в оборотных системах водоснабжения


Определение вероятности отложения карбоната кальция по индексу стабильности достоверно только для прямоточных систем водоснабжения. В оборотных системах промышленного водоснабжения такой метод определения стабильности неприменим, поскольку в таких системах имеют место дополнительные условия: упаривание воды в системе, потеря водой углекислоты на охлаждающих устройствах, химический состав воды, добавляемой в циркуляционную систему, и т. д.

Отложение карбоната кальция в циркуляционной системе водоснабжения по И. Э. Апельцину не должно происходить если сохраняется условие:


где Щдоб и Щц - щелочность добавочной и циркуляционный воды, мг·экв/л;

Q - количество добавочной воды, % (от расхода циркуляционной воды);1 - потеря воды на испарение, % (от расхода циркуляционной воды).

Значение Щц можно определить по формуле И.Э. Апельцина:


где (СО2)0 - концентрация углекислоты в воде после градирни, принимаем 4,5 м/л;

(СО2)доб - то же в добавочной воде, 1,67 мг/л;

Щдоб - щелочность добавочной воды, 1 мг·экв/л.

a и b - коэффициенты зависящие от температуры воды и её окисляемости, a=0,50 и b=8,5.

Щёлочность циркуляционной воды составит:

 мг·экв/л.

Проверяя условие получаем:


Так как условие выполняется, то выпадения карбоната кальция в оборотной системе происходить не будет.

15. Хлорирование охлаждающей воды


В большинстве случаев в системах охлаждения воды (трубах конденсаторах и др.) происходит интенсивный рост бактерий, что приводит к обрастанию стенок охлаждающих аппаратов слизистыми биологическими образованиями, к которым прилипают взвешенные взвешенные вещества, содержащиеся в охлаждающей воде, увеличивая слой отложений. Такие обрастания осложняют эксплуатацию охлаждающих систем.

Для борьбы с ними предусматривается хлорирование охлаждающей воды.

Требуемый режим хлорирования обычно устанавливают в период пуска и наладки хлорирования охлаждающей воды. Для эксплуатирующихся систем режим хлорирования ориентировочно может назначаться, руководствуясь следующими данными: при сильном обрастании аппаратуры, когда требуется ежедневная её чистка, нужно хлорировать воду каждые 2 часа в течение 15 - 20 мин; при необходимости чистки охлаждающих аппаратов через 3 - 5 дней необходимо хлорировать воду через 4 ч в течение 20 - 30 мин; если очистка аппаратов производится с интервалом 10 - 12 дней, то воду рекомендуется хлорировать через 12 ч по 30 - 45 мин; если охлаждающие аппараты очищаются от биологических обрастаний 1 раз в месяц хлорирование воды можно производить 1 раз в сутки в течение 1 ч.

В данном курсовом проекте предусматривается хлорирование 1 раз в сутки в течение 1 часа. Доза хлора при этом составит 2,0 мг/л. Остаточная концентрация хлора в воде составит 0,25 мг/л.

Схема хлораторной установки состоит из непрерывно работающего вакуумного хлоратора, хлор к которому подаётся из баллонов через промежуточный баллон. С помощью эжектора хлорная вода подаётся в бак, где происходит её накопление за период между двумя циклами хлорирования. По достижении определённого уровня хлорной воды в баке автоматически от импульса, даваемого поплавком, открывается задвижка и хлорная вода из бака выливается в охлаждающую воду (в аванкамеру). После опорожнения бака электрозадвижка автоматически закрывается и снова происходит накопление хлорной воды до следующего периода хлорирования.

Необходимый объём бака в м3 для хлорной воды определяется по формуле:

, м3,

где qв - расход охлаждающей воды, м3/ч;

t - продолжительность периода хлорирования, 60 мин;

Дхл - доза хлора, 2 г/м3;- концентрация хлора в хлорной воде, 1000 г/м3.

Таким образом для I, II, III и IV систем водоснабжения объём бака составит соответственно:

 м3;

 м3;

 м3;

 м3.

Принимаем баки размерами I) 1,4х1,4х2,0 м; II) 1,4х1,4х2,0 м; III) 1,0х1,0х1,0 м; IV) 1,0х1,0х1,4 м.

Суточный расход хлора в кг/сут для обработки охлаждающей воды находят по формуле:

, кг/сут,

где k - число периодов введения хлора в течение суток.

 кг/сут;

 кг/сут;

 кг/сут;

 кг/сут.

Для дозирования хлора I, II, III, IV систем водоснабжения используется соответственно:

Установка ЛОНИИ-100 производительностью Qхл=2-8 кг/ч;Установка ЛОНИИ-100 производительностью Qхл=2-8 кг/ч;Установка ХВ-11 производительностью Qхл=0,05-20 кг/ч;Установка ХВ-11 производительностью Qхл=0,05-20 кг/ч.

Рассчитаем необходимое количество хлорных баллонов при съёме хлора с одного баллона Sбал=0,5 кг/ч. Для I, II, III, IV систем водоснабжения оно составит соответственно:

 шт.. Принимаем 7 баллонов. шт.. Принимаем 6 баллонов. шт.. Принимаем 1 баллон, которого должно хватить на 7 суток. шт.. Принимаем 3 баллона.

Таким образом, суммарный расход баллонов по всем хлораторным составит 15 шт./сут

При суточном расходе хлора более трёх баллонов при хлораторной надо предусматривать хранение трёхсуточного запаса хлора. Это значит, что в I и II системах водоснабжения количество баллонов на этом складе должно быть соответственно 3·7=21 шт. и 3·6=18 шт.. Склад хлора не должен непосредственно сообщаться с хлораторной.

Основной запас хлора храниться вне очистной станции, на так называемом расходном складе, рассчитанном на месячную потребность в хлоре.

В данном случае это составит:

бал=15∙30=450 баллонов стандартного типа.

Доставка баллонов с расходного склада на очистную станцию производится по мере надобности автомашиной, электрокарами или другими видами транспорта.

Заключение


В данном курсовом проекте были рассмотрены сооружения водоподготовки для нужд нефтеперерабатывающего завода 3-го профиля производительностью 10000 т/сут.

Выбрана схема очистки забираемой воды, которая включает в себя:

а) известковое хозяйство - два растворных бака по 2,16 м3 размером 1,2х1,2х1,5 м; соленоидный дозирующий насос мембранного типа марки DLS-MA 30-4; склад хранения извести площадью 6х12=72 м2.

б) реагентное хозяйство - три растворных бака по 1,0 м3; два расходных бака по 1,2 м3; мембранный насос дозатор марки DLX-VFT/M 8-10; склад хранения коагулянта площадью 3х3=9 м2.

в) крупнозернистые напорные фильтры - 7 шт. диаметром 2 м каждый;

г) сорбционные напорные фильтры - 6 шт. диаметром 2 м каждый.

Был посчитан индекс стабильности воды, который показал, что стабилизационная обработка не требуется.

Был рассчитан резервуар технической воды 2 шт. диаметром 15 м и высотой 3,5 м.

Были подобраны вентиляторные градирни для каждой из 4-ёх систем оборотного водоснабжения:

I)     №901-6-88.86 IV типа размеры - 6 х 20 х 6,7 м;

II)      №901-6-88.86 IV типа размеры - 6 х 20 х 6,7 м;) ГПА, фирма "Аксанд" (на базе исследований НИИ ВОДГЕО) модель 2,5 размеры - 1,8 х 1,8 х 3,4 м;)    №901-6-85.86 I типа размеры - 6 х 8 х 6,7 м.

Была рассчитана стабилизация воды в оборотной системе водоснабжения и её хлорирование 1 раз в сутки продолжительностью 1 час.

Список литературы


1.       Н.Н. Абрамов Водоснабжение. - М.: Стройиздат, 1982.-476 с.

2.       Снип 2.04.02-84 Водоснабжение. Наружные сети и сооружения. - М.: Стройиздат, 1985.

.         Г.И. Николадзе Водоснабжение. - М.: Стройиздат, 1989.-496 с.

.         В.Ф. Кожинов Очистка питьевой и технической воды. - М.: Стройиздат, 1971.-302 с.

.         Ф.А. Шевелев, А.Ф. Шевелев Таблицы для гидравлического расчёта водопроводных труб. - Москва, Стройиздат, 1984.-116 с.

.         Г.И. Николадзе, Д.М. Минц, А.А. Кастальский Подготовка воды для питьевого и промышленного водоснабжения. - М.: "Высшая школа", 1984.-367 с.

.         В.С. Пономаренко, Ю.И. Арефьев Градирни промышленных и энергетических предприятий. - М.: Энергоатомиздат, 1998.-516 с.

.         Справочник проектирование системы водоснабжения населённых мест и промышленных предприятий, под редакцией И.А. Назарова. - М.: Издательство литература по строительству, 1967.-382 с.

Похожие работы на - Сооружения водоподготовки для нужд нефтеперерабатывающего завода

 

Не нашли материал для своей работы?
Поможем написать уникальную работу
Без плагиата!
Без нейросетей!