Розроблення метрологічного забезпечення системи витрати повітря за допомогою трубки ПІТО
Міністерство освіти і науки
України
Національний університет
“Львівська політехніка”
Кафедра АТХП
Курсовий проект
з курсу “Метрологія та основи
вимірювання ”
«РОЗРОБЛЕННЯ МЕТРОЛОГІЧНОГО
ЗАБЕЗПЕЧЕННЯ СИСТЕМИ ВИТРАТИ
ПОВІТРЯ ЗА ДОПОМОГОЮ ТРУБКИ ПІТО»
Виконала:
ст.
гр. АВ-32
Андрієвська
Наталія
Перевірила:
Химко
О.М.
Львів-2007
ЗМІСТ РОБОТИ
Завдання до курсової роботи
Вступ
Пункт1.Опис основних елементів та структурна схема САК
заданого технологічного параметра
Пункт2.Розрахунок вихідного сигналу ПВП та графік його
статичної характеристики в заданому діапазоні зміни технологічного параметра
Пункт3.Опрацювання згідно з ГОСТ 8.207-76 результатів
багаторазових спостережень значень вихідного сигналу ПВП
Пункт4.Розрахунок сумарних похибок вимірювання ПВП і
САК
Пункт5.Присвоєння ПВП і САК класів точності згідно зі
стандартним рядом
Пункт6.Структурна схема й опис установки для
градуювання та перевірки ПВП або САК
Висновки
Перелік використаної літератури.
ЗАВДАННЯ ДО КУРСОВОЇ РОБОТИ
Тема: Розроблення метрологічного забезпечення (МЗ) системи
автоматичного контролю (САК) витрати повітря за допомогою трубки Піто.
Початкові дані САК: діапазон вимірювання 
Математична залежність:
.
Неінформативні параметри:
Кількість вимірювань вихідного сигналу ПВП n=23.
ВСТУП
вимірювання технологічний параметр діапазон
Мета і види метрологічних перевірок засобів вимірювальної техніки
Всі ЗВТ, що виготовляються або підлягають ремонту, ввозяться з-за
кордону, знаходяться в експлуатації та на зберіганні, підлягають метрологічній
перевірці. Метрологічна перевірка ЗВТ - це встановлення придатності ЗВТ до
застосування на основі експериментального визначення його метрологічних
характеристик і контролю їх відповідностівстановленим нормам. Метрологічну
перевірку ЗВТ здійснюють згідно з „Законом України про метрологію та
метрологічну діяльність” [1] та ДСТУ 2708-99 [2].
Відповідно до Державної системи забезпечення єдності вимірювань [1]
перевірка може бути первинною, періодичною, позачерговою, інспекційною та
експертною.
Первинна перевірка ЗВТ здійснюється при випуску ЗВТ з виробництва або
після ремонту, а також при ввезенні ЗВТ з-за кордону партіями. Первинній
перевірці підлягає кожен екземпляр ЗВТ.
Періодичній перевірці підлягають ЗВТ, що знаходяться в експлуатації або
на зберіганні, через певні міжперевірочні інтервали, які встановлюються,
виходячи із забезпечення метрологічної справності ЗВТ на період між
перевірками.
Позачерговій перевірці підлягають ЗВТ, що знаходяться в експлуатації
або на зберіганні, і виконується вона в таких випадках:
─ якщо необхідно переконатися у придатності ЗВТ до застосування;
─ при пошкодженні клейма, пломби або втрат документів, що
засвідчують проходження ЗВТ первинної або періодичної перевірки;
─ при введенні в експлуатацію ЗВТ після зберігання, коли
закінчилась половина встановленого для них міжперевірочного інтервалу.
Терміни виконання позачергової перевірки призначаються незалежно від
термінів періодичних перевірок.
Інспекційна перевірка, зокрема, вибіркова, виконується для виявлення
придатності ЗВТ до застосування при здійсненні державного нагляду та відомчого
контролю за станом і використанням ЗВТ органами метрологічних служб.
Експертна перевірка здійснюється при виникненні спірних питань щодо
метрологічних характеристик, справності та придатності ЗВТ до застосування, а
також правильності їх експлуатації. Експертну перевірку виконують органи
державної метрологічної служби на основі письмових вимог (заяв) суду,
прокуратури, міліції, державного арбітражу, підприємств тощо.
Перевірка ЗВТ здійснюється органами державної та відомчих метрологічних
служб. Обов’язковій державній перевірці підлягають:
─ ЗВТ, що використовуються в органах державної метрологічної
служби;
─ЗВТ, що випускаються з виробництва або використовуються на
підприємствах як зразкові;
─ ЗВТ, що застосовуються як робочі для вимірювань, результати
яких використовуються для обліку матеріальних цінностей, палива, енергії, в
торгівлі, для захисту довкілля та охорони праці;
─ ЗВТ, що використовуються для вимірювань, результати яких
служать підставою для реєстрації національних та міжнародних спортивних
рекордів.
Відомчій перевірці підлягають ЗВТ, що не ввійшли у наведений вище
перелік ЗВТ, які підлягають обов’язковій державній перевірці. Відомчу перевірку
здійснюють підрозділи метрологічної служби підприємства. Конкретна номенклатура
ЗВТ, що підлягають відомчій перевірці, встановлюється відомчою метрологічною
службою підприємства і територіальним органом Держстандарту. Право на
здійснення метрологічною службою підприємства перевірки конкретних видів ЗВТ
надається територіальному органу Держстандарту.
Методи метрологічної перевірки засобів вимірювальної техніки
Класифікація методів метрологічної перевірки ЗВТ. Всів методи
розділяють на дві групи: з використанням зразкового ЗВТ і без використання
зразкового ЗВТ (автономна перевірка).
Існують п’ять основних різновидів методів перевірки, в яких
використовується зразковий ЗВТ:
─ безпосереднє порівняння перевірюваного ЗВТ із зразковим ЗВТ;
─ порівняння перевірюваного ЗВТ із зразковим ЗВТ за допомогою
компаратора;
─ прямі вимірювання перевірюваним ЗВТ величини, що відтворюється
зразковою мірою (однозначною або багатозначною);
─ прямі вимірювання зразковим ЗВТ величини, що відтворюється
перевірюваною мірою;
─ непрямі вимірювання величини, що відтворюється перевірюваним
ЗВТ.
Пункт1. Опис основних елементів та
структурна схема САК заданого технологічного параметра
Метод вимірювання витрати на основі
усереднювальних напірних трубок (надалі - УНТ) грунтується на використанні
рівняння Бернуллі. Перед тілом чутливого елемента (сенсора), введеного в потік,
відбувається гальмування цього потоку, і швидкість падає до нуля. В результаті
цього гальмування кінетична енергія потоку трансформується в динамічний тиск (Pdin). Чотири вимірювальні отвори на тілі сенсора ділять поперечний
переріз труби на сегменти. Оскільки епюра швидкостей потоку по діаметру
трубопроводу різна (найбільшу швидкість потік має в центрі трубопроводу, а
найменшу - практично нульову - біля стінки трубопроводу), розташування
вимірювальних отворів по довжині сенсора вибрано, виходячи з умов оптимального
усереднення швидкості потоку в більшому діапазоні швидкостей при похибці не
більше 1%. На плюсовій стороні сенсора вимірюється середнє значення загального
тиску
Статичний тиск (Pstat) вимірюється на тій стороні сенсора, яка повернута в бік від
потоку (мінусова сторона). В результаті диференційний тиск на сенсорі
Рис1. Схема вузла вимірювання витрати за допомогою УНТ
Рис2. Експериментальна залежність коефіцієнта витрати УНТ від
витрати (матеріали ІФДЦСМС для УНТ-150)
ДР = Ptot
- Pstat = Pstat + Pdin - Pstat = Pdin
Таким чином, отримуємо в результаті
вимірювання швидкість потоку. Вимірюючи диференційний тиск і враховуючи
калібрувальний коефіцієнт, проводиться обчислення реальної швидкості потоку.
Залежність обємної витрати газу в
трубопроводі від перепаду тиску в усереднювальних напірних трубках виражається
формулою
=aF,/AP/p ,
де: Q - обємна витрата газу;
a - коефіцієнт витрати перетворювача,
який визначається геометрією усереднювальної напірної трубки;
F - площа поперечного перерізу
вимірювального трубопроводу;
р - перепад тиску на перетворювачі
витрати;
р - густина газу в робочих умовах.
УНТ призначені для створення перепаду
тиску, пропорційного середній в поперечному перерізі трубопроводу швидкості
потоку, для подальшого перетворення його, а також абсолютного (надлишкового)
тиску і температури газу - в уніфіковані електричні сигнали.
УНТ призначені для використання в
складі витратомірів змінного перепаду тиску, які можуть використовуватися в
системах контролю і керування технологічними процесами, а також у вузлах обліку
об'єму газу.
УНТ останнім часом широко
впроваджуються замість стандартних звужуючих пристроїв. їх доцільно
використовувати на замірних дільницях з достатніми довжинами прямих ділянок до
і після них.
Перевагою УНТ є те, що при усталеному
турбулентному режимі потоку коефіцієнт витрати перетворювача зберігає постійне
значення (рис. 3.18) і визначається тільки геометрією конструкції УНТ, тобто
при точному виготовленні УНТ досягається достатньо висока точність вимірювання
витрати при усталеному турбулентному режимі потоку (похибка близько 1%).
Суттєвим обмеженням використання УНТ
є те, що вони створюють досить малий перепад тиску, тому їх неможливо
використовувати для вимірювання малих витрат (рис. 3).
Рис3. Експериментальна залежність перепаду тиску, що створюється УНТ від витрати
(матеріали ІФДЦСМС для
УНТ-150)
Сучасні конструкції УНТ, а саме фірм "Intra Automation" та "Exportronic" дають
можливість досягти меж допустимої основної відносної похибки 1%.
Відмінністю сучасних конструкцій УНТ
є те, що відбір статичного тиску проводиться за допомогою трубки з кількома
отворами, яка розташована проти потоку (рис. 4).
УНТ конструкції фірми "Intra Automation" та "Exportronic" складається
з шестикутної трубки 1, розділеної всередині на два канали. В трубці з двох
протилежних сторін є ряд отворів, як правило, чотири. Через шарові крани 2
перепад тиску, що створюється, передається до вторинного приладу.
Спеціалістами ІФДЦСМС та ВАТ
"Івано-Франківськгаз" розроблено УНТ, в якій замість однієї,
розділеної на дві трубки, використано дві з'єднані трубки: 1 - трубка відбору
повного тиску і 2 - трубка відбору статичного тиску (див. рис.5).
Розглянута конструкція дає змогу
одночасно вимірювати перепад тисків, абсолютний (надлишковий) тиск газу,
температуру газу за допомогою давача температури, який розташовують у трубці
відбору статичного тиску 2.
Похибки УНТ визначаються неточністю
виготовлення профілю УНТ, нерівномірністю профілю розподілу швидкостей по
діаметру трубопроводу, точністю установки їх в трубопроводі (відхилення більше
ніж на 5% викличе суттєве зростання похибки).
Перед використанням УНТ доцільно
проводити індивідуальне градуювання, що дасть змогу підвищити точність, а також
врахувати систематичну інструментальну похибку, викликану неточністю
виготовлення профілю УНТ.
Рис4. Конструкція УНТ типу Itabar-зонд
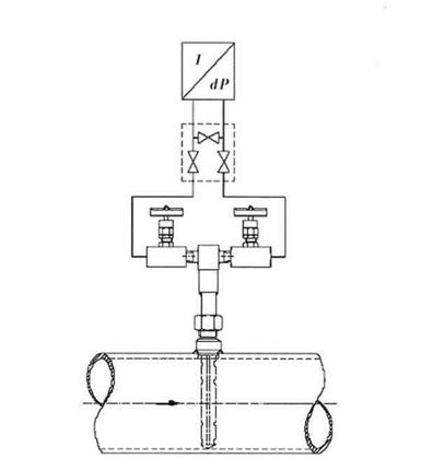
Для вимірювання
потоку повітря методом диференціального тиску використовуються трубки Піто , а також інші трубки, сітки і решітки. Чутливі елементи об’єднані з датчиком диференціального тиску і видають сигнал, пропорційний квадрату швидкості потоку
повітря. Трубка Піто складається з двох трубок, які вимірюють тиск в різних частинах трубопровода. Одна трубка, вимірюючи статичний тиск розміщується в стінці трубопровода. Друга трубка вимірює набігаючий тиск (статичний тиск, плюс тиск набігаючого потоку повітря). Чим більша швидкість потоку повітря тим більший набігаючий тиск.
Пункт2. Розрахунок вихідного сигналу
ПВП та графік його статичної характеристики в заданому діапазоні зміни
технологічного параметра
Розрахуємо для дев`яти точок діапазону вимірювання вихідний
сигнал ПВП і побудуємо графік його статичної характеристики. Для розрахунків
застосовується математична модель ПВП
і
значення параметрів, які подані в завданні до курсової роботи:
|
Па
|
|
|
400
|
90,394
|
|
420
|
92,627
|
|
440
|
94,806
|
|
460
|
96,937
|
|
480
|
99,022
|
|
500
|
101,064
|
|
400
|
90,394
|
|
420
|
92,627
|
Пункт3. Опрацювання згідно з ГОСТ 8.207-76
результатів багаторазових спостережень значень вихідного сигналу ПВП
На базі даних n=23 вимірювань вихідного сигналу ПВП, що
відповідають кінцевому значенню діапазону, згідно з Держстандартом ГОСТ8.207-76
виконаємо опрацювання результатів багаторазових спостережень.
Задамося значеннями вимірювань вихідного сигналу ПВП:
|
Витрата
|
Q
|
м3/год
|
92,098
|
99,987
|
99,987
|
100,021
|
100,125
|
100,368
|
|
100,520
|
100,561
|
100,785
|
100,852
|
100,997
|
101,064
|
101,064
|
101,064
|
101,125
|
101,139
|
|
101,153
|
101,168
|
101,231
|
101,248
|
101,268
|
101,364
|
101,456
|
|
|
|
Виявимо та виключимо з ряду результатів спостережень
результати вимірювань, які сильно відрізняються від інших, або грубі похибки
(промахи).
Для виявлення в результатах вимірювання фізичних величин
грубих похибок (промахів) їх необхідно розташувати в порядку зростання або
спадання, тобто утворити варіаційний ряд:
£ x2 £ x3 £…£ xn-1 £ xn.
|
92,098
|
99,987
|
99,987
|
100,021
|
100,125
|
100,368
|
100,520
|
100,561
|
|
100,785
|
100,852
|
100,997
|
101,064
|
101,064
|
101,064
|
101,125
|
101,139
|
|
101,153
|
101,168
|
101,231
|
101,248
|
101,268
|
101,364
|
101,456
|
|
Далі для крайніх членів цього ряду (x1 і x23) потрібно обчислити параметри
відповідно r1 і r23:
;
де
- середнє арифметичне, а S - незміщена оцінка
середньоквадратичного відхилення результатів вимірювання, визначені відповідно
за формулами:
Отримані значення r1 і r23 необхідно порівняти з допустимим значенням r¢,
знайденим з таблиці 1 для заданих числа f=n-1=22 ступеня вільності та
довірчої ймовірності Pд=95%.
Таблиця 1
Значення
при різних довірчих ймовірностях Рд для усунення з
результатів спостережень грубих похибок (промахів)
|
Рд
|
|
Число ступенів
вільності f=n-1
|
90
|
95
|
97.5
|
99.9
|
|
1
|
1,406
|
1,412
|
1,414
|
1,414
|
|
2
|
1,645
|
1,689
|
1,710
|
1,723
|
|
3
|
1,791
|
1,869
|
1,917
|
1,955
|
|
4
|
1,894
|
1,996
|
2,067
|
2,130
|
|
5
|
1,974
|
2,093
|
2,182
|
2,265
|
|
6
|
2,041
|
2,172
|
2,273
|
2,374
|
|
7
|
2,097
|
2,237
|
2,349
|
2,464
|
|
8
|
2,146
|
2,294
|
2,414
|
2,540
|
|
9
|
2,190
|
2,343
|
2,470
|
2,606
|
|
10
|
2,229
|
2,387
|
2,519
|
2,663
|
|
11
|
2,264
|
2,426
|
2,562
|
2,714
|
|
12
|
2,297
|
2,461
|
2,602
|
2,759
|
|
13
|
2,326
|
2,493
|
2,638
|
2,800
|
|
14
|
2,354
|
2,523
|
2,670
|
2,837
|
|
15
|
2,380
|
2,551
|
2,701
|
2,871
|
|
16
|
2,404
|
2,577
|
2,728
|
2,903
|
|
17
|
2,426
|
2,600
|
2,754
|
2,932
|
|
18
|
2,447
|
2,623
|
2,778
|
2,959
|
|
19
|
2,467
|
2,644
|
2,801
|
2,984
|
|
20
|
2,486
|
2,664
|
2,823
|
3,008
|
|
21
|
2,504
|
2,683
|
2,843
|
3,030
|
|
22
|
2,520
|
2,701
|
2,862
|
3,051
|
|
23
|
2,537
|
2,717
|
2,880
|
3,071
|
r¢=2,701
Параметр
r1=4,445 перевищує допустиме значення r¢= 2,701, то х1=92,098 необхідно вилучити з ряду результатів
вимірювань і повторити від початку аналогічний аналіз для решти членів ряду,
поки не виконається попередня умова.
|
99,987
|
99,987
|
100,021
|
100,125
|
100,368
|
100,520
|
100,561
|
100,785
|
|
100,852
|
100,997
|
101,064
|
101,064
|
101,064
|
101,125
|
101,139
|
101,153
|
|
101,168
|
101,231
|
101,248
|
101,268
|
101,364
|
101,456
|
|
|
Отримані значення r1 і r22 необхідно порівняти з допустимим значенням r¢,
знайденим з таблиці 1 для заданих числа f=n-1=21 ступеня вільності та довірчої
ймовірності Pд=95%.
r¢=2,683
Ці значення не перевищують допустимого, отже в
заданому ряді вимірювань грубих похибок нема.
Вирахуємо середнє арифметичне виправлених результатів
спостережень і приймемо його за результат вимірювання. Вирахуємо згідно з ГОСТ
11.004-74 оцінку середнього квадратичного відхилення результату спостереження
та оцінку середнього квадратичного відхилення результату вимірювання .
Числові характеристики розподілу ймовірностей результатів
вимірювання обчислюють для виправленого ряду результатів вимірювань, тобто
ряду, з якого усунені грубі похибки.
|
99,98799,987100,021100,125100,368100,520100,561100,785
|
|
|
|
|
|
|
|
|
100,852
|
100,997
|
101,064
|
101,064
|
101,064
|
101,125
|
101,139
|
101,153
|
|
101,168
|
101,231
|
101,248
|
101,268
|
101,364
|
101,456
|
|
|
Оцінкою математичного сподівання mx є середнє арифметичне цього ряду
, яке надалі вважають результатом вимірювання
.
Оцінкою медіани
при парному числі n=22 результатів
вимірювань - середнє арифметичне між членами цього ряду з порядковими номерами
та
:
Оцінкою моди
є результат вимірювання, який найчастіше
зустрічається в даному ряді :
.
є одночасно оцінкою центрального моменту розподілу другого порядку.
Відповідно оцінки центральних моментів розподілу третього m3 і
четвертого m4 порядків вираховуються за формулами:
;
Оцінка
середнього квадратичного відхилення результатів
вимірювань визначається за формулою:
Оцінка S1 середнього квадратичного відхилення результатів спостережень
визначається як
, де коефіцієнт
в
залежності від числа ступенів вільності f=n-1=21 вибирається з таблиці
2.
Таблиця 2
Значення коефіцієнтів
для
вирахування оцінки середнього квадратичного відхилення результату спостережень
|
f
|
f f
|
|
|
|
|
|
1
|
1,253
|
10
|
1,025
|
19
|
1,013
|
|
2
|
1,128
|
11
|
1,023
|
20
|
1,013
|
|
3
|
1,085
|
12
|
1,021
|
25
|
1,010
|
|
4
|
1,064
|
13
|
1,019
|
30
|
1,008
|
|
5
|
1,051
|
14
|
1,018
|
35
|
1,007
|
|
6
|
1,042
|
15
|
1,017
|
40
|
1,006
|
|
7
|
1,036
|
16
|
1,016
|
45
|
1,005
|
|
8
|
1,032
|
17
|
1,015
|
50
|
1,004
|
|
9
|
1,028
|
18
|
1,014
|
60
|
1,004
|
=1,013
Оцінки характеристик асиметрії
і
ексцесу
(гостро- чи плосковершинності) розподілу, які
позначаються відповідно
і
,
дорівнюють:
;
.
Перевіримо гіпотезу про те, що результати спостережень
належать до нормального розподілу за допомогою складового критерію та методики
Пірсона .
Складовий критерій згідно ГОСТ8.207-76 складається з двох
критеріїв.
Критерій 1. Знайдемо зміщену оцінку середнього квадратичного
відхилення
Рахуємо відношення :
Знайдемо квантілі розподілу, отримані з таблиці, залежно від n, q1/2, (1- q1/2),
де q1 - наперед вибраний рівень значущості критерію1.
Таблиця
3
Значення квантілів розподілу d складового критерію перевірки
гіпотези про належність результатів спостережень до нормального розподілу
|
n
|

|
|
|
1%
|
5%
|
95%
|
99%
|
|
16
|
0,9137
|
0,8884
|
0,7236
|
0,6829
|
|
|
21
|
0,9001
|
0,8768
|
0,7304
|
0,6950
|
|
|
26
|
0,8901
|
0,8686
|
0,7360
|
0,7040
|
|
|
31
|
0,8826
|
0,8625
|
0,7404
|
0,7110
|
|
|
36
|
0,8769
|
0,8578
|
0,7440
|
0,7167
|
|
|
41
|
0,8722
|
0,8540
|
0,7470
|
0,7216
|
|
|
46
|
0,8682
|
0,8508
|
0,7496
|
0,7256
|
|
|
51
|
0,8648
|
0,8481
|
0,7518
|
0,7291
|
|
|
|
|
|
|
|
|
|
|
Результати групи спостережень вважаються розподіленими нормально, якщо
, де
-
квантілі розподілу, отримані з таблиці 3, залежно від n.
Оскільки n=22, то
,тоді
Критерій 2. Можна вважати, що результати спостережень належать до
нормального розподілу, якщо не більше m різниць
перевищить значення
,
де S - незміщена оцінка середнього квадратичного
відхилення
,
-
верхня квантіль розподілу нормованої функції Лапласа, яка відповідає
імовірності P/2:
Значення
ймовірності Р визначаємо з таблиці 4 за вибраним рівнем значущості
і числом результатів спостережень
.
Таблиця 4
Значення ймовірності Р для визначення ZР/2 складового
критерію перевірки гіпотези про належність результатів спостережень до
нормального розподілу
|
n
|
m
|
|
|
|
1%
|
2%
|
5%
|
|
10
|
1
|
0,98
|
0,98
|
0,99
|
|
11-14
|
1
|
0,99
|
0,98
|
0,97
|
|
15-20
|
1
|
0,99
|
0,99
|
0,98
|
|
21-22
|
2
|
0,98
|
0,97
|
0,96
|
|
23
|
2
|
0,98
|
0,98
|
0,96
|
|
24-27
|
2
|
0,98
|
0,98
|
0,97
|
|
28-32
|
2
|
0,98
|
0,98
|
0,97
|
|
33-35
|
2
|
0,99
|
0,98
|
0,98
|
|
36-49
|
2
|
0,99
|
0,98
|
0,99
|
|
|
|
|
|
|
|
=0,96
%,
=0,4600;
=0,4600·0,476=0,219
= 0,856
≤
,856 ≤0,219
Результати групи спостережень належать до нормального закону розподілу,
оскільки виконалися обидва критерії.
Для того, щоб перевірити з допомогою методики Пірсона, чи результати
вимірювань належать до нормального розподілу, додатково необхідно вирахувати
дисперсії характеристик асиметрії
та
ексцесу D(b2), які залежать лише від числа спостережень n і відповідно
визначаються:
;
і перевірити виконання наступних умов:
і
і
Отже,
ці умови виконуються і можна зробити висновок про те, що результати вимірювань
належать до нормального розподілу і навпаки.
Вирахуємо довірчі межі випадкової похибки вимірювання ПВП на
підставі виправленого ряду результатів спостережень та коефіцієнту Ст’юдента.
Випадкова складова похибки результату вимірювання
визначається за формулою:
,
де
- оцінка середньоквадратичного відхилення результату
вимірювань;- коефіцієнт Ст’юдента, знаходимо за таблицею 3 для заданих
числа=n-1=21 ступеня вільності та довірчої ймовірності Pд=95% шляхом
інтерполяції.
Таблиця6
Значення коефіцієнта t Ст'юдента для визначення випадкової складової
похибки вимірювання
|
F=n-1
|
P=0.95
|
P=0.99
|
F=n-1
|
P=0.95
|
P=0.99
|
|
3
|
3,182
|
5,841
|
16
|
2,120
|
2,921
|
|
4
|
2,776
|
4,604
|
18
|
2,101
|
2,878
|
|
5
|
2,571
|
4,032
|
20
|
2,086
|
2,845
|
|
6
|
2,447
|
3,707
|
22
|
2,074
|
2,819
|
|
7
|
2,365
|
3,499
|
24
|
2,064
|
2,797
|
|
8
|
2,306
|
3,355
|
26
|
2,056
|
2,779
|
|
9
|
2,262
|
3,250
|
28
|
2,048
|
2,763
|
|
10
|
2,228
|
3,169
|
30
|
2,043
|
2,750
|
|
12
|
2,179
|
3,055
|
¥
|
1,960
|
2,576
|
|
14
|
2,145
|
2,977
|
|
|
|
=2,080
На базі математичної моделі проведемо аналіз впливу зміни
неінформативних параметрів на вихідний сигнал ПВП і вирахуємо систематичну
складову похибки вимірювання ПВП.
Для цього попередньо необхідно проаналізувати умови проведення
вимірювань і визначити, які величини крім вхідної згідно з даною математичною
моделлю ПВП впливають на вихідну, а також розміри можливих відхилень від
початкових значень цих, так званих неінформативних параметрів. На базі
математичної моделі (за відповідною формулою) вираховують зміни вихідного
сигналу ПВП, як правило, при одному з крайніх значень діапазону вимірювання (де
найбільший вихідний сигнал), викликані послідовними (почерговими) змінами
кожного з неінформативних параметрів від нормальних значень. Ці зміни вихідного
сигналу ПВП можна вважати складовими невиключених залишків систематичної
похибки, які застосовуються для вирахування систематичної похибки ПВП.
Математична залежність:.
Неінформативні параметри:
Оптимальні параметри САК: 
Задамося:
Розрахуємо математичну залежність при максимальних значеннях
неінформативних параметрів
:
Розрахуємо математичну залежність при мінімальних значеннях
неінформативних параметрів
:
Вирахуємо систематичну складову похибки вимірювання ПВП:
Вирахуємо довірчі межі похибки результату вимірювання.
Так як,
, то нехтуємо випадковою похибкою в порівнянні зі
систематичною і приймаємо межу похибки результату вимірювання
Пункт4. Розрахунок сумарних похибок
вимірювання ПВП і САК
На базі отриманої абсолютної похибки результату вимірювання
ПВП потрібно вирахувати його зведену похибку та на її основі зі стандартного
ряду значень вибрати і присвоїти ПВП відповідний клас точності.
Вирахуємо сумарну похибку вимірювання ПВП.
Після цього, враховуючи допустимі похибки або класи точності
всіх засобів вимірювання, які утворюють ланцюг вимірювання САК, вираховуємо
сумарну похибку вимірювання та присвоюємо аналогічно цілій САК відповідний клас
точності. Сумарна похибка САК отримується квадратичним підсумовуванням похибок
ПВП, проміжних перетворювачів і вторинного приладу.
Сумарна похибка дорівнює похибці первинного вимірювального
перетворювача, тобто трубки Піто, і дорівнює 4.
Пункт5. Присвоєння ПВП і САК класів
точності згідно зі стандартним рядом
Вибираємо трубку Піто діапазоном по тиску -
, класом точності 4.
Пункт6. Структурна схема й опис установки для
градуювання та перевірки ПВП або САК
Еталонні установки з робочими
еталонами використовується для градуювання та повірки витратомірів та
лічильників газу, для точного відтворення і вимірювання об'єму та об'ємної
витрати газу.
Область застосування -
витратовимірювальна техніка.
Основні технічні характеристики:
межі вимірювання витрати: від 0.02 до
2500 м3 /год.;
- робоче середовище: повітря;
- значення контрольних об'ємів: від
0.02 до 14 м3 ;
- надлишковий тиск середовища в
установці: від 0.1 до 5 кПа;
- межі основної похибки по об'єму:
від 0.25 до 0.5 %
- межі основної похибки по витраті:
від 0.15 до 0.5 %
Будова:
1, 2, 3 - пристрій, що повіряється; 4
- зразковий пристрій; 5 - регулювальний клапан; 6 - джерело витрати; 7 -
дросель.
Принцип дії:
Принцип дії еталонних установок з
обертовими взірцевими пристроями полягає у виділенні із потоку повітря, що
задається ротаційним генератором витрати 6, за допомогою зразкового пристрою 4,
контрольного об'єму газу. При передачі одиниці об'єму та об'ємної витрати
здійснюється збір інформації з приладів 1,2,3, що випробовуються, та зразкового
пристрою 4, а також значення температур та тисків робочого середовища на
кожному з досліджуваних пристроїв.
При цьому вимірюваний контрольний об’єм газу визначається як об'єм, що пройшов через взірцевий пристрій. За
різницею показів відлікових пристроїв 1-3 та 4 з врахуванням відповідних
поправок щодо температури та тиску визначають похибки пристроїв, які
повіряються.
Застосовуються два типи повірочних
установок з використанням зразкових лічильників газу:
- установки, в яких зразковий
пристрій знаходиться після пристроїв, що випробовуються чи повіряються;
- установки, в яких зразковий
пристрій знаходиться перед пристроями, що випробовуються чи повіряються.
До зразкових пристроїв належать
особливим способом відібрані роторні та барабанні лічильники газу, що
випускаються як робочі засоби вимірювань, але спеціально підготовані та
атестовані до використання як зразкові.
Для покращання умов та впровадження
автоматизації процесу повірки вони забезпечуються спеціальними відліковими
пристроями і (або) перетворювачами об'ємів, що протікають через них, в
електричні імпульсні сигнали. Діапазон вимірювань таких лічильників залежить
від характеру зміни кривої похибок від витрати. Похибка вимірювань зразкових
лічильників в більшості випадків не перевищують ±0,5%.
Похибка, як правило, зумовлена
перетоками в щілинах між роторами та між роторами і корпусом. Значною мірою на
похибку вимірювань роторних лічильників газу має вплив тертя в синхронізуючих
шестернях та в підшипниках. Це особливо позначається на мінімальних витратах.
Зі збільшенням витрат крива залежності похибки роторних лічильників від витрати
зростає до витрат (0,2-0,5)Qmax і стабілізується в діапазоні витрат від 0,5Qmax до Qmax- Зміна кривої похибок пояснюється
тим, що, з одного боку, перетоки повітря в щілинах непостійні і зростають
внаслідок збільшення різниці тиску в них при зростанні витрат, а з другого,
потік в щілинах при збільшенні швидкості обертання роторів все більше залежить
від відносної швидкості обертання їх відносно корпусу. За рахунок цього частина
вимірюваного повітря повертається на вхід лічильника і вимірюється повторно.
Величина витрат в щілинах та кількість повітря, що повертається на вхід
лічильника, значною мірою залежить від величини щілини, густини вимірюваного
середовища та характеру потоку в щілині (ламінарний чи турбулентний).
Недоліком таких установок є невисока
точність відтворення об'єму та об'ємних витрат.
ОСОБЛИВОСТІ:
1. Широкий діапазон відтворюваних
об'ємів та об'ємних витрат газу.
2. Можливість оптимізації
градуювально-повірочного циклу.
ВИСНОВКИ
Розроблена САК дозволяє вимірювати витрату повітря з класом
точності 4. На базі аналізу показників точності та якості вимірювання можна
виробити наступні пропозиції та рекомендації щодо покращення її метрологічних
характеристик:
§ зокрема,
зменшити вплив неінформативних параметрів:
,
що суттєво впливають на систематичну похибку;
§ змінити умови роботи ПВП і
САК, в тому числі динамічні: величина витрат в щілинах та кількість повітря, що
повертається на вхід лічильника, значною мірою залежить від величини щілини,
густини вимірюваного середовища та характеру потоку в щілині .
ПЕРЕЛІК ВИКОРИСТАНОЇ ЛІТЕРАТУРИ
1. Преображенский
В.П. Теплотехнические измерения и приборы. - М.: Энергия, 1978. - 704 с.
2. Дорожовець
М., Мотало В., Стадник Б., Василюк В., Борек Р., Ковальчик А. - Основи
метрології та вимірювальної техніки: Підручник у 2 т. - Львів: Видавництво
Національного університету „Львівська політехніка”, 2005.
3. Фарзане
Н.Г., Илясов Л.В., Азим-заде А.Ю. Технологические измерения и приборы. - М.:
Высшая школа, 1989. - 456 с.
. ГОСТ
2.105-79. Общие требования к текстовым документам. - М.: Издательство
стандартов, 1988. - 20 с.
. ГОСТ
2.001-70. Единая система конструкторской документации. - М.: Издательство
стандартов, 1970.
ГОСТ
8.207-76. Прямые измерения с многократными наблюдениями. Методы обработки
результатов наблюдений. Основные положения. - М.: Издательство стандартов,
1981. - 10 с