Расчеты тепловых процессов при стыковой сварке
Содержание
1.
Определение параметров режима при стыковой сварке
.
Несплошности зоны точечной сварки. Природа их образования и меры предупреждения
.
Подобрать параметры режима точечной сварки: выбрать геометрические параметры
электродов, время сварки, расчитать силу сварочного тока и усилие сжатия
электродов для точечноя сварки деталей из жаропрочного сплава ХН78Т толщиной
0,5+0,5 мм
Список
литературы
стыковый сварка электрод сжатие
1. Определение параметров режима при стыковой
сварке
Стыковая сварка - это контактная сварка, при
которой соединение свариваемых частей происходит по всей поверхности стыкуемых
торцов
Рисунок 1. Принципиальная схема контактной
стыковой сварки
Различают стыковую сварку сопротивлением и оплавлением.
При стыковой сварке сопротивлением вначале приводят в соприкосновение торцы
свариваемых деталей с приложением небольшого давления и после этого включают
электрический ток.
Давление в процессе нагрева остается практически
без изменения, к концу нагрева его повышают для создания необходимой
пластической деформации и сварки (рисунок 2, а). Нагрев стыка осуществляется
обычно до пластичного состояния металла.
Такой способ применяют при сварке деталей из
низкоуглеродистой стали и цветных металлов со сплошным сечением не более 500 мм2
для сталей и не более 200 мм2 для алюминия и меди. Стыковая сварка
сопротивлением для получения качественного соединения требует точной
подготовки, высокой чистоты свариваемых поверхностей и контроля температуры
нагрева. Применяется она ограниченно.
Рисунок 2 Циклограммы контактной стыковой
сварки:
а - сопротивлением; б - оплавлением
Режим стыковой сварки
сопротивлением определяют следующие основные параметры
1. установочная
длина
мм;
2. сварочный
ток
, А;
3. длительность
нагрева (сварки)
, с;
4. давление
осадки р или усилие осадки Р, МПа;
5. припуск
на осадку Loc, мм.
Стыковую сварку оплавлением выполняют
непрерывным или прерывистым оплавлением (с подогревом).
При стыковой сварке непрерывным оплавлением детали
приводят в соприкосновение при включенном токе и очень малом усилии (рисунок 2,
б). Детали соприкасаются вначале по отдельным небольшим площадкам, через
которые проходит ток высокой плотности, вызывающий оплавление деталей в
результате непрерывного образования и разрушения контактов-перемычек между их
торцами.
В результате оплавления на торце образуется слой
жидкого металла, который при осадке вместе с загрязнениями и окисными пленками
выдавливается из стыка, образуя грат. Способ не требует специальной подготовки
кромок, имеет высокую производительность. Применяется для сварки тонкостенных
труб, листов, рельсов, арматурных стержней железобетонных изделий. Этим
способом сваривают детали компактного (до 1000 мм2) сечения типа
прутков из низкоуглеродистой стали и детали из труб и листов несколько большего
(развитого) сечения.
При прерывистом оплавлении детали сближаются под
током с медленно нарастающей скоростью при коротких возвратно-поступательных
движениях. Импульсное оплавление локализует нагрев и расширяет
высокотемпературную зону, предупреждая быструю кристаллизацию расплава. После
оплавления всего сечения выключают ток и делают осадку. Импульсное оплавление
значительно уменьшает требуемые для оплавления мощность и припуск на
оплавление.
Сварка прерывистым оплавлением используется для
сечений 500... 10 000 мм2. Для больших деталей (сечение 5000...40
000 мм2) рекомендуется сварка оплавлением с программным управлением
током и скоростью перемещения зажимов.
2. Несплошности зоны точечной сварки. Природа их
образования и меры предупреждения
Наружные дефекты выявляются осмотром
или обмером, а внутренние при разрушении соединения или его испытании приборами
(последнее не всегда возможно).
Допустимость тех или иных дефектов
при каждом виде сварки определяется ТУ на изделие в соответствии с которыми
контролируют соединения. Дефекты появляются при нарушениях технологии
подготовки, сборки и сварки деталей, а также при последующей обработке. На
появление дефектов также влияет износ электродов, изменение характеристик
машины и ее узлов, колебания напряжения и др.
К дефектам точечных соединений
относят недопустимые отклонения в размерах деталей и расстояний между точками,
раковины, пористость (рисунок 3, б), трещины (рисунок 3, в) в ядре, непровары
(рисунок 3, в), малый размер ядра, выплеск, глубокие вмятины и налипание
металла электродов, подплавление, прожоги и вырывы точек. Отсутствие расплава
на одной из деталей может давать дефект типа "склейка" (с малым
количеством общих зерен в изломе).
Неравномерные чешуйки на шве связаны
с большой скоростью сварки и перекосом или неправильной заточкой роликов.
Глубокие вмятины возникают при
большой длительности импульса тока, малом давлении и большом токе. Хорошая
подгонка и прихватка деталей при равномерном распределении зазоров
предупреждают продавливание и раскрытие кромок при сварке.
Выход литого ядра обычно связан с
плохой зачисткой, большой длительностью импульса тока и его большой величиной.
Трещины у кромок и их раздавливание
вызываются близким расположением шва к кромкам и большим током.
Негерметичность шва связана с
большим шагом между точками, с нарушением режима (по току, давлению,
длительности импульса, скорости, а также по диаметру и ширине роликов), с
плохой сборкой деталей, большой разницей диаметров верхнего и нижнего роликов и
т.д.
Непровар, трещины и внутренний
выплеск выявляются на технологической пробе и при микроисследованиях.
Неравномерность чешуек, вмятины,
продавливание, выход литого ядра, прожог, наружные выплеск и трещины выявляются
осмотром через лупу.
В ряде случаев допустимы поры,
мелкие трещины, перегибы. Допускается ремонт до 10 ... 20% длины шва.
Дефекты предупреждаются при
устранении причин их появления. Иногда допускается подварка дефектных
соединений на точечной машине с применением железного порошка (прожог и
глубокие вмятины на стали), постановка дополнительных точек (при непроваре),
заклепок и аргонодуговая подварка. Допустимые виды исправлений указывают в ТУ
на изделие.
Рисунок 3: Дефекты точечной сварки.
Непровар чаше бывает местным, в
особенности когда соединение формируется одновременно в твердом состоянии и при
наличии расплава.
3. Подобрать параметры режима
точечной сварки: выбрать геометрические параметры электродов, время сварки,
расчитать силу сварочного тока и усилие сжатия электродов для точечноя сварки
деталей из жаропрочного сплава ХН78Т толщиной 0,5+0,5 мм
Точечная сварка начинается с предварительного
сжатия деталей электродами, что необходимо для получения электрического
контакта между деталями и электродами. Через некоторое время после сжатия
электродов включается сварочный ток. При прохождении тока выделяется тепло Q,
которое зависит от величины тока I, времени его протекания и
сопротивления R.
Параметрами режима точечной сварки являются: усилие
сжатия, сварочный ток, время сварки и диаметр рабочей части электрода.
Различают два режима контактной сварки: жесткий
и мягкий.
Жесткий режим характеризуется применением
больших плотностей тока и малым временем процесса. Такой режим применяют для сварки
сталей, склонных к образованию закалочных структур, цветных металлов и сплавов.
Мягкий режим характеризуется относительно
большой продолжительностью процесса и меньшими плотностями тока. Мягкий режим
применяется преимущественно для углеродистых сталей.
Режим точечной сварки подбирается таким, чтобы
диаметр сварной точки (литого ядра) dt достигал заданной
величины. Для назначения величины dt используют справочную
информацию в виде таблиц или эмпирические формулы. В частности, для этих целей
можно использовать формулу
(3.1)
где
- толщина металла, мм.
Время сварки - один из основных
параметров режима точечной сварки, существенно влияющий на размеры сварной
точки и ее прочность. Выбирается в зависимости от марки и толщины свариваемого
металла по приближенным формулам
- для жёстких режимов
Продолжительность импульса колеблется
от 0,1 до 0,5 секунд.
Усилие сжатия электродов необходимо при сварке
не только для создания металлического контакта между соединяемыми деталями, но
и для осуществления пластической деформации в процессе кристаллизации литого
ядра, что необходимо для компенсации усадки, а также для предотвращения
выплеска жидкого металла в зазор между деталями. Поэтому давление при точечной
сварке снимается после выключения тока.
Усилие сжатия зависит от толщины свариваемых
деталей и теплофизических свойств металла. Оно задается удельным давлением р
и может иметь значения от 50 до 180 МПа. Значение ковочного усилия обычно в
2...3 раза больше усилия сжатия.
Сварочное усилие определяют в основном по
эмпирическим зависимостям, предложенным для приближенного расчета или пересчета
сварочного усилия и основанным на подобии процессов КТС. Методики пересчета FСВ
исходят из подобия процессов формирования соединений при сварке деталей из
одних и тех же металлов разных толщин. Все они, к сожалению, также не
отличаются ни высокой точностью, ни универсальностью. В частности, для
пересчетов и расчетов FСВ предложена следующая зависимость:
(3.2)
Применяемая форма электродов
зависит от свойств материала свариваемых деталей. Так, например, для сварки
титановых, алюминиевых и магниевых сплавов, как правило, применяют электроды со
сферическими рабочими поверхностями.
Размеры рабочих поверхностей электродов в
большинстве случаев выбирают исходя из толщины свариваемых деталей.
Радиус сферы электрода RЭ
определяют, ориентируясь на конечный диаметр отпечатка и допустимую глубину
вмятины, которая не должна превышать 10% от толщины детали. Исходя из этого
условия предложены следующие зависимости для определения минимального RЭMIN
и максимального RЭMAX радиусов рабочих поверхностей
электродов в зависимости от толщины s свариваемых деталей:
.
Классификация электродных
материалов предусмотрена нормалями МН-741-60 и МН-116-60 для электродов
точечной и шовной сварки. В соответствии с принятой классификацией
предусмотрено деление электродных сплавов на три класса.
-й класс электродных материалов
включает материалы, твердость которых не менее НВ 180 и относительная
электропроводность не менее 45%. Такие материалы рекомендуются для точечной и
шовной сварки нержавеющих и жаропрочных сплавов.
При введении этой классификации под
относительной электропроводностью понималась электропроводность (в %) от
проводимости стандартной отожженной меди, удельное электрическое сопротивление
которой составляет
(по ГОСТ
1535-48). Твердость по Бринелю определяется в соответствии с ГОСТ 9012-59.
|
Свариваемые
металлы
|
Марка
сплава для электродов
|
|
Алюминиевые
и медные сплавы (латуни, бронзы)
|
МК,
Мц5Б, Бр.Х, МК, М1,MC1
|
|
Малоуглеродистые
стали
|
Бр.Х,
Бр.НБТ, Мц5Б
|
|
Низколегированные
стали
|
Бр.НБТ,
Мц5Б, Мц4
|
|
Нержавеющие
жаропрочные стали и сплавы и титановые сплавы
|
Бр.НБТ,
Мц4
|
|
Магниевые
сплавы
|
МК,
Ml, MC1
|
При использовании жестких
режимов сварки сталей и жаропрочных сплавов и особенно деталей малой и неравной
толщины (0,05…0,15 мм) применение электродов и роликов из бронзы Бр.НБТ создает
перегрев металла деталей в контактах ролик-деталь из-за относительно низкой
теплопроводности Бр.НБТ. В указанных случаях следует применять электроды и
ролики из Бр.Х и Мц5Б.
Размеры рабочей поверхности
и
и
центральной части D электродов выбирают в зависимости от необходимых
размеров литой зоны соединений
и
, которые определяются толщиной
свариваемых деталей (таблица 1).
При сварке плоских деталей равной
толщины применяются электроды и ролики с одинаковыми рабочими поверхностями; в
этом случае рекомендуется использовать ролики равных диаметров (рисунок 4).
Рисунок 4. Выбор диаметра роликов
при сварке деталей равной толщины
Таблица 1. Размеры рабочей
поверхности электродов и роликов в мм (рекомендуемые минимальные размеры)
|
|
|
Толщина
деталей, мм
|
Диаметр
ядра точек , ммШирина
литой зоны роликового шва , ммУглеродистые, нержавеющие,
жаропрочные стали и сплавыАлюминиевые, магниевые и медные сплавы
|
|
|
|
|
|
|
      
|
|
|
|
|
|
|
|
|
0,3
|
2,5
|
2,5
|
12
|
3
|
15…25
|
6
|
3
|
12
|
12
|
25
|
|
0,5
|
3,0
|
3,0
|
12
|
4
|
25…50
|
6
|
4
|
16
|
16
|
50
|
|
0,8
|
3,5
|
3,5
|
12
|
5
|
50…75
|
10
|
5
|
16
|
16
|
50…75
|
|
1,0
|
4,0
|
4,0
|
12
|
5
|
75…100
|
10
|
5
|
16
|
16
|
75
|
|
1,2
|
5,0
|
5,0
|
16
|
75…100
|
12
|
6
|
16
|
16
|
75
|
|
1,5
|
6,0
|
6,0
|
16
|
7
|
100…150
|
12
|
7
|
20
|
20
|
75…100
|
|
2,0
|
7,0
|
7,0
|
20
|
8
|
100…150
|
15
|
8
|
20
|
20
|
100
|
|
2,5
|
8,0
|
7,5
|
20
|
9
|
150…200
|
18
|
9
|
25
|
25
|
100
|
|
3,0
|
9,0
|
8,0
|
25
|
10
|
150…200
|
20
|
10
|
25
|
25
|
100…150
|
|
3,5
|
10,0
|
9,0
|
25
|
11
|
200…250
|
22
|
11
|
25
|
25
|
150
|
|
4,0
|
12,0
|
10,0
|
25
|
12
|
200…250
|
24
|
11
|
32
|
200
|
В практике традиционных способов КТС для
сварочного импульса, длительностью tСВ, усредненную силу
сварочного тока IСВ чаще всего приближенно рассчитывают по
следующей зависимости, которая получена из общеизвестного закона Джоуля -
Ленца:
, (3.3)
где QЭЭ -
количество теплоты, выделяющееся в зоне сварки, которое требуется для
образования сварного соединения заданных размеров (величина
QЭЭ
определяется по уравнению теплового баланса),
Теплоту QЭЭ, которая должна
выделиться в зоне формирования соединения для получения ядра заданных размеров,
можно рассчитать через теплосодержание металла в ней к концу процесса сварки и
количество теплоты, отведенное из зоны сварки в процессе формирования
соединения. Для этого используют условные схемы теплопередачи в зоне сварки и
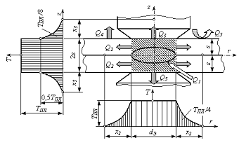
распределения в ней температуры (рисунок 5).
Рисунок 5 Схемы теплопередачи в зоне сварки и
распределения в ней температуры для расчета теплового баланса
В данной методике расчета допускают, что вся
теплота QЭЭ выделяется в цилиндре, диаметр которого равен
диаметру dЭ контакта электрод-деталь. Выделившуюся теплоту QЭЭ
условно разделяют на теплоту Q1, которая расходуется на
нагрев и плавление металла в выделенном цилиндре (Q1 ≈
20...30 % от QЭЭ), а также на теплоту Q2,
которая отводится в окружающий его металл деталей (Q2 ≈
20 % от QЭЭ), и теплоту Q3, которая
отводится в электроды (Q3 > 50 % от QЭЭ).
Относительно очень небольшая часть теплоты QЭЭ отводится с
поверхностей деталей радиационной Q4 и конвективной Q5
теплоотдачей. Такое распределение теплоты QЭЭ описывается так
называемым "уравнением теплового баланса", которое было предложено
еще в 30-х годах прошлого века и используется до настоящего времени в
инженерных методиках расчетного определения силы сварочного тока:
. (3.4)
При расчетах по уравнению теплового
баланса (3.4) общего количества теплоты QЭЭ, требуемой для
формирования соединения заданных размеров, радиационной Q4 и
конвективной Q5 теплоотдачей с поверхностей деталей обычно
пренебрегают из-за их относительно малых величин.
Для расчета теплоты в зоне сварки
делают ряд допущений. Так, принимают, что средняя температура в цилиндре,
диаметром dЭ, который приближенно равен диаметру ядра, и
высотой, равной суммарной толщине двух деталей 2s, принимается равной
температуре плавления ТПЛ. (ТПЛ =1300°С)
Считается, что заметное повышение
температуры металла в деталях из-за отвода в них теплоты Q2
наблюдается на расстоянии х2 от границы цилиндра, которое
определяется временем сварки tСВ и коэффициентом
температуропроводности металла аМ:
При этом принимается, что средняя
температура кольца шириной х2 вокруг цилиндра диаметром dЭ,
равна
.
Определение потерь тепла в электроды
производится аналогичным образом. При этом принимается, что за счет тепла Q3
нагревается до средней температуры, равной
. Для медных сплавов.
С учетом сказанного сокращенное
уравнение теплового баланса
в развернутом виде описывают обычно
следующим выражением:
,(3.5)
где γМ - плотность
металла свариваемых деталей;
γМ -
γЭ - плотность
металла электродов; (допускается принять для температуры 20 0С).
γЭ -
сМ -
теплоемкость металла свариваемых деталей;
сМ -
сЭ - теплоемкость
металла электродов;
сЭ -
k1 -
коэффициент, который учитывает неравномерность распределения температуры в
кольце;
k2 -
коэффициент, учитывающий влияние на теплоотвод формы рабочей части электродов.
для сферических электродов
mr -
коэффициент, который учитывает изменение сопротивления зоны сварки rЭЭ
в процессе формирования соединения для сплавов титана -
;
rдк
- среднее сопротивление нагретых пластин, Ом
где где: АГ
- коэффициент (рисунок 6), учитывающий уменьшение сопротивления детали rД
относительно сопротивления цилиндра rЦ, высотой s и
диаметром dК, которое происходит из-за растекания линий тока
до диаметра dj; при

Рисунок 6. Кривая
,
определяющая сопротивление пластины, сжатой медными электродами
Удельные электросопротивления
деталей ρ1 и ρ2 (рисунок 7) определяют соответственно по температурам Т1
и Т2 для полулистов, прилегающих к электродам и контакту
деталь-деталь соответственно (рисунок 8). В частности, при сварке деталей из
низкоуглеродистых сталей и сплавов Т1 и Т2
принимают соответственно равными 1200 и 1500 °С,
Рисунок 7.
Изменение удельных электрических сопротивлений ρ некоторых металлов в
зависимости от температуры
Рисунок 8 Схема к
расчету электрического сопротивления деталей к концу цикла сварки rЭЭ
= 2 rДК
Коэффициент kP,
учитывающий неравномерность нагрева деталей, для сплавов
Список литературы
1.
Рыкалин Н.Н. Расчеты тепловых процессов при сварке: Учеб. пособие для
машиностроительных вузов. М: МАШГИЗ, 1951. 296 с.
2.
Фролов В.В. Теория сварочных процессов.-Москва: Высшая школа, 1988.-559 с.
.
Основы теории и технологии контактной точечной сварки: Монография / С. Н.
Козловский; СибГАУ. - Красноярск:, 2003. - 273 с.
стыковый сварка электрод сжатие