|
Данные печи
|
Тип печи
|
|
ДСП-0,5
|
ДСП-1,5
|
ДСП-3,0
|
ДСП-6
|
ДЧМ-10
|
|
Номинальная ёмкость, т
Диаметр кожуха, мм Мощность трансформатора, кВ.А Вторичные напряжения, В
Максимальный ток, А Диаметр графитированного электрода, мм Диаметр распада
электродов, мм Диаметр ванны на уровне откосов, мм Глубина ванны от порога,
мм Масса металлоконструкций, т Удельный расчетный расход электроэнергии на
расплавление, кВт.ч/т
|
0,5 1700 630 216-106 1680
150 500 1000 215 5,2 700
|
1,5 2400 1250 225-110 3200
150 520 1500 360 11,3 550
|
3,0 2950 2000 243-124 4800
200 700 1800 400 28,8 525
|
6,0 3020 5000 291-130 8220
300 900 2270 330 45,0 500
|
10,0 3200 2250 125-105 10
400 350 900 2350 560 23,6 105
|
Таблица 1.2
- Технические данные отечественных дуговых электропечей для слитковой
стали
2.1.1 Классификация дуговых печей
Понятие «дуговые печи» включает в себя собственно дуговые и
рудотермические печи (рис. 2.2).
В дуговой печи основная часть энергии выделяется в одной или нескольких
электрических дугах, горящих внутри печного пространства.
Рис. 2.3 Принцип действия дуговых печей
а - прямого действия; б - косвенного действия
Основным назначением дуговых печей является плавка различных металлов и
сплавов.
Имеются две основные разновидности дуговых плавильных печей - печи
прямого нагрева, обычно трехфазные, в которых дуги горят между электродами и
расплавляемым металлом (рис. 2.3, а), и печи косвенного нагрева, в которых дуга
горит между двумя электродами над поверхностью металла (рис. 2.3, б).
Наибольшее распространение получили дуговые печи прямого нагрева,
применяемые для плавки стали.
Рис. 2.2 Классификация дуговых печей
Дуговые печи косвенного нагрева применяются для плавки цветных металлов,
иногда - чугуна.
Конструктивно дуговая печь косвенного действия (рнс. 2.4) представляет
собой цилиндрический или бочкообразный футерованный кожух, уложенный
горизонтально на роликовые опоры. Через отверстия в торцевых стенках в печь
входят два угольных или графитизированных электрода, между которыми горит
электрическая дуга. В боковой стенке печи имеется окно, через которое
производится загрузка шихты, а также слив расплавленного металла и шлака.
Рис. 2.4 Эскиз дуговой медеплавильной печи
После расплавления некоторой части загрузки кожух печи приводится в
непрерывное качание с автоматическим реверсированием, причем угол качания
постепенно увеличивается по мере дальнейшего расплавления металл.
Помимо ускорения расплавления вследствие омывания жидким металлом
нерасплавленной части шихты качание ванны. печи обеспечивает защиту огнеупорной
кладки жидким металлом от перегрева излучением электрической дуги. Механизм
качания служит также для слива расплавленного металла.
По мере сгорания закрепленные в электрододержателях электроды должны
постепенно подаваться внутрь печи, для чего в конструкции печи имеются два
механизма перемещения электродов с ручным или электромеханическим приводом.
В современных дуговых печах косвенного действия применяется
механизированная подача электродов.
В отечественной промышленности наибольшее распространение получили
дуговые печи косвенного действия емкостью 0,25 и 0,5 т с трансформаторами
мощностью 175 и 250 кВ-A с цилиндрической формой кожуха и ручной системой
перемещения электродов.
Модернизированные печи отличаются бочкообразной формой кожуха и рабочего
пространства, повышенной мощностью трансформаторов (250 н 400 кВ-А) и наличием
системы автоматического регулирования мощности.
По способу загрузки дуговые сталеплавильные печи разделяются па печи с
боковой загрузкой через рабочее окно и печи с верхней загрузкой (рис. 2.5).
Рис. 2.5 Способы загрузки дуговой сталеплавильной печи
Боковая загрузка может осуществляться либо вручную (рис. 2.5, а), либо
мульдами при помощи напольных или подвесных мульдозавалочных машин (рис. 2.5
,б), либо краном с помощью приспособлений в виде загрузочных лотков (рис. 2.5,
в).
Верхняя загрузка осуществляется краном при помощи специальных загрузочных
корзин с раскрывающимися днищами (рис. 2.5, г).
В руднотермических (рудовосстановительных) электрических печах (рис. 2.6)
тепловая энергия выделяется и в электрических дугах, и при протекании тока через
слой загрузки (шихты). В этих печах осуществляется получениеразличного вида
ферросплавов, карбида кальция, кремния и его сплавов с кальцием и хромом,
чугуна, медных и медно-никелевых штейнов, свинцовых шлаков, желтого фосфора и
других продуктов.
Рис. 2.6. Принцип действия рудотермической печи:
- электрод: 2 -область дугового разряда; 3 - область выделения мощности и
сопротивления шихты; 4 шихта; 5 - расплав; 6 - выпускное отверстие (летка).
Рудотермические печи выполняются различной формы и с различным числом
электродов, они могут быть стационарными и наклоняющимися.
Характерной особенностью, присущей дуговым печам, является система их
питания от специальных трансформаторов с высоким напряжением на первичной
стороне и широким диапазоном регулирования вторичного напряжения.
.1.2 Процесс плавки металла
В дуговых сталеплавильных печах (ДСП) осуществляется выплавка стали
двоякого назначения:
· электростали в слитках или в виде продукции установок
непрерывной и полунепрерывной разливки (так называемая металлургическая
электросталь, являющаяся заготовкой для получения проката, поковок и
специальных видов переплава);
· электростали для фасонного литья на машиностроительных
заводах (так называемая литейная электросталь).
Дуговые печи могут иметь основную или кислую футеровку.
Металлургическая электросталь обычно выплавляется в ДСП с основной
футеровкой. Наиболее характерным способом работы печи с основной футеровкой
является плавка с окислением, в процессе которой производятся обезуглероживание
и дефосфорация, затем раскисление и обессеривание, а при необходимости -
легирование стали. Повышенные затраты на выплавку стали в печах с основной
футеровкой компенсируются возможностью получения высококачественного металла
при использовании дешевого металлолома.
В электропечах с кислой футеровкой выплавляется сталь для литья. Эти печи
характеризуются повышенной производительностью и низкими издержками
производства в результате большей стойкости футеровки, выполняемой из более
дешевых материалов. Недостатком печей с кислой футеровкой является
невозможность существенного снижения содержания серы и фосфора в сравнении с
исходной шихтой, ввиду чего приходится ориентироваться на применение чистой по
сере фосфору шихты.
В печах с кислой футеровкой успешно выплавляется сталь методом переплава.
При этом плавка может производиться с кипением и без него.
При ведении плавки с интенсивным кипением материал кислой подины
принимает непосредственное участие в проходящих реакциях и образует около
половины общего количества шлака.
· Ход плавки в основной дуговой печи на углеродистой шихте с
окислением
Существует несколько разновидностей плавки в дуговых сталеплавильных
печах: с полным окислением примесей; переплав легированных отходов без
окисления; плавка на жидком полупродукте (дуплекс-процесс) и др.
Шихта при плавке с полным окислением состоит, главным образом, из
стального лома и чугуна, а также шлакообразующих (известь, известняк,
плавиковый щпат, шамотный бой).
Плавка включает следующие основные периоды (рис. 2.7): заправка печи,
загрузка шихты, плавление, окислительный период, восстановительный период,
выпуск.
Заправку производят заправочной машиной, выбрасывающей через. насадку при
помощи сжатого воздуха заправочные материалы, или, разбрасывающей материалы по окружности
с быстро вращающегося диска, который опускается в открытую печь сверху.
Для наиболее полного использования рабочего пространства печи в
центральную ее часть ближе к электродам загружают крупные куски (40 %), ближе к
откосам средний лом (45%), на подину и на верх загрузки мелкий лом (15%).
Мелкие куски должны заполнять промежутки между крупными кусками.
Завалка шихты начинается сразу после окончания заправки. Завалку шихты
осуществляют сверху с помощью загрузочной корзины (бадьи).
Плавление. После окончания завалки свод с электродами устанавливают на
печь, электроды опускают и включают ток. Под действием высокой температуры
электрической дуги шихта плавится сначала под электродами, жидкий металл
стекает вниз и накапливается в центральной части подины. Постепенно происходит
полное расплавление шихты. Для ускорения плавления куски переплавившейся шихты
с откосов печи сталкивают в зону электрических дуг. Характерной особенностью
первого периода плавления является проплавление «колодцев» в шихте, в которые
опускают электроды (или одного «колодца» в сверхмощных печах). В период
плавления происходит образование шлака как за счет присадок извести, так и за
счет окисления элементов, входящих в состав шихты. За время плавления полностью
окисляется кремний, 50 - 60 % марганца, частично окисляются углерод и железо,
окисляется фосфор.
Часто для ускорения плавления используют поворот корпуса печи на ±40°,
подогрев шихты вне печи (в загрузочной бадье), или в печи с помощью топливных
горелок, применяют продувку кислородом, вводимым в металл после расплавления
большей части шихты, с помощью фурм и трубок. Окисление железа, марганца,
кремния протекает с выделением значительного количества тепла, что ускоряет
расплавление остатков металлического лома.
Окислительный период плавки предназначен для уменьшения содержания в
металле фосфора до 0,01 - 0,015 %, уменьшения содержания в металле водорода и
азота, нагрева металла до требуемой температуры (на 120 - 130 выше температуры
плавления). Для окисления примесей используют твердые окислители (железная
руда, агломерат), а также газообразный кислород. После окончания периода
расплавления начинается окислительный период, задачи которого заключаются в
следующем: окисление избыточного углерода, окисление и удаление фосфора; дегазация
металла; удаление неметаллических включений, нагрев стали. Окислительный период
плавки начинают присадкой железной руды, которую дают в печь порциями.
В результате присадки руды происходит насыщение шлака FeO и окисление металла по реакции:
(FeO)=Fe+[O].
Растворенный кислород взаимодействует с растворенным в ванне углеродом по
реакции [C] +[O]=CO. Происходит
бурное выделение пузырей CO,
которые вспенивают поверхность ванны, покрытой шлаком. Поскольку в
окислительный период на металле наводят известковый шлак с хорошей
жидкоподвижностью, то шлак вспенивается выделяющимися пузырями газа. Уровень
шлака становится выше порога рабочего окна и шлак вытекает из печи. Выход шлака
усиливают, наклоняя печь в сторону рабочего окна на небольшой угол. Шлак стекает
в шлаковик, стоящий под рабочей площадкой цеха. За время окислительного периода
окисляют 0,3-0,6 % C со средней
скоростью 0,3-0,5 % С/ч. Для обновления состава шлака одновременно с рудой в
печь добавляют известь и небольшие количества плавикового шпата для обеспечения
жидкоподвижности шлака. Непрерывное окисление ванны и скачивание окислительного
известкового шлака являются непременными условиями удаления из стали фосфора.
Для протекания реакции окисления фосфора
[P]+5[O]=(P2O5); (Р2O5)+4(СаО)=(СаО)4*P2O5
необходимы высокое содержание кислорода в металле и шлаке, повышенное
содержание CaO в шлаке и пониженная температура.
В электропечи
первые два условия полностью выполняются. Выполнение последнего условия
обеспечивают наводкой свежего шлака и постоянным обновлением шлака, так как
шлак, насыщенный (СаО)4*P2O5 скачивается из печи. По ходу
окислительного периода происходит дегазация стали-удаление из нее водорода и
азота, которые выделяются в пузыри СО, проходящие через металл.
Выделение
пузырьков СО сопровождается также и удалением из металла неметаллических
включений, которые выносятся на поверхность потоками металла или поднимаются
наверх вместе с пузырьками газа. Хорошее кипение ванны обеспечивает
перемешивание металла, выравнивание температуры и состава.
Общая
продолжительность окислительного периода составляет от 1 до 1,5 ч. Для
интенсификации окислительного периода плавки, а также для получения стали с
низким содержанием углерода металл продувают кислородом. При продувке
кислородом окислительные процессы резко ускоряются, а температура металла
повышается со скоростью примерно 8- 10 С/мин. Чтобы металл не перегрелся,
вводят охлаждающие добавки в виде стальных отходов. Применение кислорода
является единственным способом получения низкоуглеродистой нержавеющей стали
без значительных потерь ценного легирующего хрома при переплаве.
Окислительный
период заканчивается, когда содержание углерода становится ниже заданного
предела, содержание фосфора 0,010%, температура металла несколько выше
температуры выпуска стали из печи. В конце окислительного периода шлак
стараются полностью убирать из печи, скачивая его с поверхности металла.
Восстановительный период плавки имеет целью раскисление металла, удаление
серы, доведение химического состава стали до заданного, регулирование
температуры. Все эти задачи решаются параллельно в течение всего
восстановительного периода. После полного удаления окислительного шлака в печь
присаживают шлакообразующие смеси вместе с раскислителями, т. е. наводится
новый шлак (карбидный или белый). Раскисление ванны, т. е. удаление
растворенного в ней кислорода, осуществляют присадкой раскислителей в металл и
на шлак. В начале восстановительного периода металл покрывается слоем шлака.
Для этого в печь присаживают шлакообразующие смеси на основе извести с
добавками плавикового шпата, шамотного боя, кварцита. В качестве раскислителей
обычно используют ферромарганец, ферросилиций, алюминий. При введении
раскислителей происходят следующие реакции:
[Mn]+[O]=(MnO); [Si]+2 [О] = (SiO2); 2[Al]+ 3[O]=(Al2O3).
В результате процессов раскисления большая часть растворенного кислорода
связывается в оксиды и удаляется из ванны в виде нерастворимых в металле
неметаллических включений. Процесс этот протекает достаточно быстро и
продолжительность восстановительного периода в основном определяется временем,
необходимым для образования подвижного шлака. В малых и средних печах при
выплавке ответственных марок сталей продолжают применять метод диффузионного
раскисления стали через шлак, когда раскислители в виде молотого электродного
боя, порошка ферросилиция присаживают на шлак. Содержание кислорода в шлаке
понижается и в соответствии с законом распределения кислород из металла
переходит в шлак. Метод этот, хотя и не оставляет в металле оксидных
неметаллических включений, требует значительно большей затраты времени. В
восстановительный период плавки, а также при выпуске стали под слоем шлака,
когда происходит хорошее перемешивание металла со шлаком, активно происходит
десульфурация металла по уравнению FeS + CaO=FeO+ CaS. Этому способствует
хорошее раскисление стали и шлака, высокое содержание извести в шлаке и высокая
температура.
В печь присаживают также легирующие добавки для введения в металл
необходимых легирующих элементов. После этого металл выпускают из печи в
установленный под желобом сталеразливочный ковш, для чего печь наклоняют в
сторону сталевыпускного отверстия. При необходимости в ковше можно проводить
дополнительное раскисление и легирование стали. Так осуществляется двушлаковый
процесс выплавки.
Плавка на шихте из легированных отходов основана на переплаве без
окисления. Шихта для такой плавки составляется с таким расчетом, чтобы по
расплавлении в металле содержание углерода было на 0,05 - 0,1 % ниже заданной
марки стали в связи с тем, что при легировании и раскислении содержания
углерода увеличивается. Шихта составляется только из отходов легированных
сталей, образующихся как непосредственно на данном металлургическом заводе, так
и поступающих с машиностроительных предприятий. При составлении шихты стремятся
использовать максимальное количество отходов данной марки стали или близких к
ней других марок. Такое рациональное использование отходов дает большую
экономию легирующих элементов, электроэнергии и повышает производительность
электропечей.
На плавках методом переплава отсутствует окислительный период. При
правильном расчете шихты после расплавления сразу начинается восстановительный
период, металл раскисляют, добавляют некоторые легирующие и выпускают. Плавка
методом переплава легированных отходов значительно короче по сравнению с
обычной плавкой.
Рис. 2.7. Технологическая схема производства сталеплавильной печи
Выплавка стали в кислых электродуговых печах
Электродуговые печи с кислой футеровкой обычно используются при выплавке
стали для фасонного литья. Емкость их составляет от 0,5 до 6,0 - 10 т. Кислая
футеровка более термостойкая и позволяет эксплуатировать печь с учетом условий
прерывной работы многих литейных цехов машиностроительных заводов. Основным недостатком
печей с кислой футеровкой является то, что во время плавки из металла не
удаляются сера и фосфор. Отсюда, очень высокие требования к качеству
применяемой шихты по содержанию этих примесей.
Плавление в кислой печи длится примерно так же, как в основной печи (50 -
70 мин). В окислительный период удаляется меньшее количество углерода (0,1 -
0,2 % ) и из-за повышенного содержания FeO в шлаке металл кипит без присадок
железной руды. Содержании (ЗЮг) в шлаке к концу окислительного периода
повышается до 55 -65 %.
Когда металл нагрет, начинается восстановление кремния по реа:кции:
(Si02)+2 [С] = [Si] + 2СОгаз.
К концу окислительного периода содержание Si в металле увеличивается до
0,2 - 0,4 %. Раскисление стали перед выпуском может проводиться как в печи, так
и в ковше.
.2 Конструкция электродуговой сталеплавильной печи
.2.1 Общее устройство дуговой печи
Дуговая сталеплавильная печь благодаря своим преимуществам предназначена,
в основном, для производства легированных высококачественных сталей - коррозионностойких,
инструментальных, конструкционных, электротехнических, жаропрочных и др., а
также различных сплавов.
Печь ДСП состоит из металлического корпуса в виде кожуха, как правило,
цилиндрической формы со сферическим днищем (рис. 2.8, 2.9, 2.10). Изнутри кожух
футерован высокоогнеупорными материалами. Плавильное пространство печи сверху
перекрывается съемным сводом, огнеупорная кладка которого выполнена в
специальном сводовом кольце. В стенах печи имеются одно или два рабочих окна и
одно выпускное отверстие с желобом для слива металла и шлака в ковш. Рабочие
окна служат для загрузки шлакообразующих, руды, ферросплавов и для ряда
технологических операций спуска шлака, взятия проб металла и шлака.
Дуговая печь опирается на два опорных сегмента - люльки, с помощью
которых печь может наклоняться в сторону рабочего окна или выпускного
отверстия. Наклон печи осуществляется при помощи механизма наклона с
электрическим или гидравлически приводом.
Для загрузки шихты в печь свод обычно поднимают к полупорталу и вместе с
электродами отворачивают в сторону сливного желоба. Шихта в плавильное
пространство опускается с помощью специальной корзины с открывающимся дном. В
эти корзины (бадьи) вся шихта укладывается в определенном порядке на шихтовом
участке цеха.
Рис. 2.8. Схема рабочего пространства дуговой электропечи:
- куполообразный свод; 2 - стенки; 3 - желоб;
- сталевыпускное отверстие; 5 - электрическая дуга; 6 - сферический под;
7 - рабочее окно; 8 - заслонка; 9 - электроды
К моменту завалки загруженная корзина подается к печи с помощью мостового
крана, и после отвода от печи свода корзина опускается в плавильное
пространство. Замок, закрывающий днище корзины, выдергивается, и корзина с
помощью крана вы-водится из печи. При этом, благодаря раскрытию дна корзины,
вся содержащаяся в ней шихта остается на подине печи.
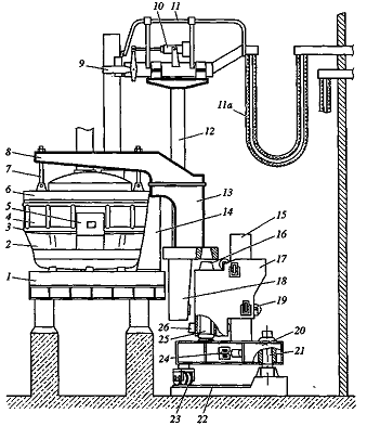
Рис. 2.9. Дуговая сталеплавильная печь (общий вид)
- электрод;
- головка электрододержателя;
- свод;
- подвеска свода;
- сводовое кольцо;
- цилиндрический кожух;
- рабочая площадка;
- механизм наклона печи;
- желоб для слива стали
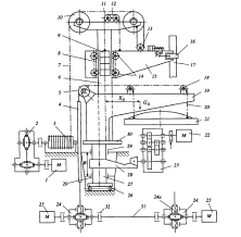
Рис. 2.10 Дуговая электрическая печь
- электрод; 2 - стойка; 3 - электрошины, 4 - каретка; 5 - электрододержатели;
6 - холодильник; 7 - стальной трос; 8 - механизм передвижения электрода; 9 -
стальной кожух печи; 10 - футеровка; 11 - выпускное отверстие; 12 - опора; 13 -
сектор наклона печи; 14 - механизм наклона печи; 15 - свод; 16 - рабочая
площадка;17 - загрузочное окно; 18 - шпиндель механизма наклона печи; 19 -
электродвигатель механизма наклона печи.
Источником тепла в дуговой печи является электрическая дуга, возникающая
между электродами и жидким металлом или шихтой при приложении к электродам
электрического тока необходимой силы. Дуга представляет собой поток электронов,
ионизированных газов и паров металла и шлака. Температура электрической дуги
превышает 3000 °С. Дуга, как известно, может возникать при постоянном и
переменном токе.
Дуговые печи работают на переменном токе. При горении дуги между
электродом и металлической шихтой в первый период плавки, когда катодом
является электрод, дуга горит, так как пространство между электродом и шихтой
ионизируется за счет испускания электронов с нагретого конца электрода. При
перемене полярности, когда катодом становится шихта - металл, дуга гаснет, так
как в начале плавки металл еще не нагрет и его температура недостаточна для
эмиссии электронов. При последующей перемене полярности дуга вновь возникает,
поэтому в начальный период плавки дуга горит прерывисто, неспокойно. После
расплавления шихты, когда ванна покрывается ровным слоем шлака, дуга
стабилизируется и горит ровно.
.2.2 Разновидности конструкций электродуговых печей
Шихту в современные электродуговые печи загружают сверху с помощью
корзины с открывающимся днищем. В зависимости от способа открывания для
загрузки сверху различают печи с поворотным сводом; выкатным корпусом;
откатывающимся сводом (рис. 2.11). Печи с поворотным (отворачиваемым) сводом бывают
двух типов: с опорой механизма отворота свода на люльку и с опорой на отдельный
фундамент. У современных печей первой разновидности (рис. 2.11, а) свод
подвешен к полупорталу 2, который вместе с электродами 5 и системой их
перемещения закреплен на поворотном валу 8, опирающемся на люльку 9. Для
загрузки шихты свод поднимают на 150-300 мм, подтягивая к полупорталу, а
электроды поднимают, выводя из рабочего пространства. Затем вращением вала 8
отворачивают свод с электродами на угол 85°, открывая тем самым рабочее
пространство. Наклон печи в сторону сливного желоба 11 и рабочего окна 4
обеспечивают качанием люльки.
Печь второго типа (одна из разновидностей, рис. 2.11, г) оборудована
подвижной колонной 14, которая опирается на фундамент и снабжена приводами ее
подъема и поворота. В нижнем положении полупортал 2 вместе с системой
перемещения электродов опирается через две стойки 13 на люльку, а свод на печь.
Для открывания рабочего пространства колонна 14 движется вверх и, входя в
зацепление с полупорталом, поднимает его со сводом и электродами, а затем,
поворачиваясь, отводит свод с электродами от печи; предварительно электроды
выводят из рабочего пространства. Люлька наклоняется вместе с печью, сводом и
полупорталом с электродами.
У печи с выкатным корпусом (рис. 2.11, б) портал 6 жестко закреплен на
люльке 9, к порталу подвешен свод 3 и на портале крепятся электроды 5 с
системой их перемещения. Кожух 1 печи установлен на тележке 12, которая с
помощью ходовых колес 7 может передвигаться по рельсам, уложенным на люльке.
Перед загрузкой свод поднимают, электроды выводят из рабочего пространства,
после чего кожух выкатывают из-под портала в сторону рабочего окна 4. Люлька
обеспечивает наклон печи вместе с порталом.
Рис. 2.11. Схемы устройства электропечей, загружаемых сверху
а - печь с поворотным сводом с опорой механизма отворота свода на люльку;
б - печь с выкатным корпусом; в - печь с откатывающимся сводом; г - печь с
поворотным сводом с опорой механизма отворота свода на отдельный фундамент; 1 -
кожух; 2 - полупортал; 3 - свод; 4 - рабочее окно; 5 - электроды; 6 - портал; 7
- ходовые колеса; 8 - поворотный вал; 9 - люлька; 10 - фундамент; 11 - сливной
желоб; 12 -тележка; 13 - стойки; 14 - подвижная колонна
Распространена и другая разновидность печей с выкатным корпусом. В них
люлька и портал со сводом и электродами опирается на два отдельных опорных
сегмента. Кожух печи закреплен на люльке и выкатывается из-под портала вместе с
люлькой. При наклоне печи люльку замковым устройством жестко соединяют с
опорными сегментами портала, сегменты люльки и портала имеют одинаковой радиус
кривизны, чем обеспечивается совместный синхронный наклон кожуха и портала.
В печи с откатывающимся сводом (рис. 2.11, в) портал 6 и кожух 1 опираются
на общую люльку 9, причем портал установлен на ходовых колесах 7, и может
перемещаться по рельсам, уложенным на люльке; к порталу крепиться свод 3 с
электродами. Перед загрузкой свод с электродами 5 поднимают, и портал
откатывается, съезжая с люльки в сторону желоба 11 или рабочего окна 4.
Качанием люльки обеспечивают наклон печи вместе с порталом; портал при наклоне
жестко скрепляют с люлькой специальными упорами. В настоящее время печи с
выкатным корпусом и откатывающимся сводом считаются устаревшими. В последние
годы строят более совершенные печи с поворотным сводом. Ниже рассмотрены
механизмы этих печей.
Конструкция опор и механизмов наклона печи с поворотным сводом с опорой
механизма отворота свода на люльку
Для опоры корпуса печи на фундамент и для наклона печи при сливе металла
служит люлька (рис. 2.12). Она выполнена в виде горизонтальной сварной
коробчатой плиты с двумя опорными сегментами 3а.
а) б)
Рис. 2.12. Люлька и механизмы наклона печи с гидравлическим (а) и
электромеханическим (б) приводом: 1 - гидроцилиндр; 2 - шток; 3 - люлька; 3а -
опорный сегмент; 4 - редуктор; 5 - зубчатая рейка; 6 - электродвигатель; 7 -
фундаментная балка
Механизм наклона печи может быть с гидравлическим (рис. 15, а) или
электромеханическим (рис. 15, б) приводами. В первом случае подаваемая в
гидроцилиндры 1 под давлением жидкость вызывает выдвижение или опускание штоков
2, во втором - электродвигатели 6 с редукторами 4 обеспечивают продольное
перемещение зубчатых реек 5.
На рис. 16 показана кинематическая схема гидравлического и
электромеханического с реечной передачей механизмов наклона печи.
Рис. 2.13. Схема механизмов наклона печей:
а - с гидравлическим приводом; 1 - фундаментная балка; 2, 3 - ветви
маслопровода; 4 - конечный выключатель; 5 -гидроцилиндр; 6 - гибкий рукав; 7 -
люлька; 8 - рабочее окно; 9 - сливной носок; 10 - электромагнит; 11 -
распределительный золотник; 12 - дроссель; 13 - насос; 14 - фильтр; 15 -
предохранительный клапан; 16 - манометр;
б - с электромеханическим приводом с реечной передачей: 1 - тормоз; 2 -
электродвигатель; 3 - редуктор; 4 - рейка; 5 - шестерня; 6 - прижимная обойма;
7 - шарнир; 8 - люлька
В первом из них (рис. 16, а) наклон люльки 7 с печью обеспечивают
шарнирно закрепленные на фундаменте гидроцилиндры 5 за счет подачи масла от
маслостанции в надпоршневое или подпоршневое пространство гидроцилиндров. Масло
к цилиндрам 5 подается от маслостанции, размещенной в отдельном помещении и
включающей насос 13, предохранительный клапан 15, манометр 16,
распределительный золотник 11, дроссель 12 и фильтры 14. Направление наклона
люльки 7 с печью в сторону сливного носка 9 или рабочего окна 8, т. е. подача
масла в ветвь 2 или 3 маслопровода, определяется положением золотника 11 путем
включения соответствующего электромагнита 10. Скорость наклона регулируется
дросселем 12, установленным в сливной магистрали. Угол наклона печи при
перекатывании люльки по фундаментным балкам 1 ограничивается конечными
выключателями 4. Так как гидроцилиндры при наклоне печи меняют свое положение,
в трубопроводы 2 и 3 включены гибкие участки 6 из рукавов высокого давления.
Во втором механизме (рис. 16, б) рейки имеют отдельный при вод,
устанавливаемый на фундаменте под печью со стороны рабочего окна. В каждом
приводе вращение от электродвигателя 2 через зубчатую муфту передается
трехступенчатому редуктору 3, соединенному зубчатой муфтой с валом реечной
шестерни 5, которая входит в зацепление с рейкой 4. Последняя соединена
шарниром 7 с сектором люльки 8. При наклоне печи рейки получают сложное
движение: поступательное - от приводных шестерен и качательное - вокруг оси
этих шестерен - в результате перемещения люльки. Необходимое прижатие рейки к
шестерне, осуществляется с помощью качающейся прижимной обоймы 6. Вал реечной
шестерни опирается на два подшипниковых узла 8. Привод снабжен тормозом 1, с
включением которого автоматически отключается электродвигатель.
Конструкции механизмов вращения ванны, подъема и поворота свода с их
опорой на люльку
Большая часть строившихся в последние десятилетия отечественных печей
этого типа схожи с устройством 100-т печи, схематически показанной на рис. 17.
Корпус печи (на рисунке не показан) опирается на люльку 8 через четыре опорных
тумбы 9. Свод 12 подвешен к полупорталу, состоящему из двух Г-образных стоек 14
с помощью цепей 11, перекинутых через ролики 13. Концы цепей соединены приводом
7 (электродвигатель и червячный редуктор с тяговым винтом), который перемещает
цепи, обеспечивая подъем и опускание свода. Два привода 7 соединены синхронизирующим
валом 15. Полупортал закреплен на литой стальной поворотной плите 1, которая
одним концом насажена на поворотный вал 4 диаметром 750 мм.
Вал закреплен в люльке, опираясь на подпятник 5 и верхний 6 и нижний
роликовые подшипники. Вращение вала осуществляет электродвигатель с редуктором
2 через коническую шестерню, входящую в зацепление с коническим зубчатым
сектором 3, закрепленным на валу 4. На поворотной плите 1 между Г-образными
стойками закреплены три стойки механизма перемещения электродов (на рис.не
показаны).
При открывании печи для загрузки включают привод 7, приподнимая свод на
150-300 мм, и поднимают электроды, выводя их из рабочего пространства. Далее
включают привод 2, поворачивая вал 4 на угол в 80°; вместе с валом вокруг его
оси поворачивается плита 1 и закрепленные на ней портал, свод и электроды,
открывая рабочее пространство сверху.
Рис. 2.14. Механическое оборудование печи с опорой механизмов
подъема-поворота свода на люльку 1 - поворотная плита; 2 - электродвигатель с
редуктором; 3 - зубчатый сектор; 4 - поворотный вал; 5 - подпятник; 6 -
роликовый подшипник; 7 - привод; 8 - люлька; 9 - опорная тумба; 10 - механизм
вращения; 11 - цепь; 12 - свод; 13, 16, 18 - ролики; 14 - стойка; 15 - синхронизирующий
вал; 17 - кольцевой рельс; 19 - корпус.
Механизм вращения ванны предназначен для поворота печи вокруг
вертикальной оси на 40° в одну и другую сторону относительно нормального
положения. Это позволяет во время плавления при трех положениях кожуха
проплавлять в шихте девять «колодцев» что сокращает время расплавления шихты.
Возможность вращения обеспечивается благодаря тому, что корпус 19 печи
посредством прикрепленного к нему кольцевого рельса 17 опирается на ролики 16
опорных тумб 9. Один или два механизма вращения 10 установлены на люльке;
каждый из них состоит из электродвигателя с редуктором, выходной вал которого
входит в зацепление с закрепленным на корпусе печи зубчатым сектором, благодаря
чему вращение вала вызывает поворот корпуса. При включении механизма 10 и
вращении корпуса кольцевой рельс 17 катится по роликам 16, а ролики 18
предотвращают боковое смещение корпуса. На высокомощных печах в таком механизме
нет необходимости, поскольку в процессе расплавления вокруг трех электродов
образуется общая плавильная зона или колодец, а не три отдельных проплавляемых
колодца, характерных для невысокомощных печей.
Конструкция печи с опорой механизмов подъема и поворота свода на
отдельный фундамент
Печи с опорой механизма поворота на отдельный фундамент эксплуатируются
уже много лет. Имеется несколько их разновидностей. Современный вариант
устройства рассмотрим на примере отечественной высокомощной печи (ДСП-100И6).
Корпус печи жестко закреплен на люльке 1 (рис. 2.15). Он включает нижнюю часть
2 (опору ванны) из стального листа, стеновой каркас 3 из труб со стеновыми
панелями 4 и рабочим окном 5. Водоохлаждаемый свод 6 с помощью четырех гибких
тяг 7 подвешен к двум консолям 8, которые объединены в общую жесткую
конструкцию с порталом 13 и шахтой 18. В нижнем положении портал опирается на
люльку через закрепленные на ней две тумбы 14, а свод 6 - на корпус печи. В
шахте 18 размещены три гидроцилиндра, которые перемещают телескопические стойки
12 электродержателей. Электроды в электродержателе зажимают с помощью хомута 9
и пружинно-гидравлического механизма 10; ток от гибких кабелей 11а к
электрододержателям подводят водоохлаждаемыми медными трубами 11.
Механизм отворота свода с электродами расположен на отдельном фундаменте
и включает поворотную платформу 20 с закрепленными в ней двумя направляющими
колоннами 15 и перемещаемую по ним вверх-вниз с помощью системы роликов 19
каретку 17. При открывании рабочего пространства печи вначале из него выводят
электроды путем подъема стоек 12. Одновременно с помощью двух гидроцилиндров 25
перемещают каретку 17 вверх; при этом конический хвостовик 16 каретки входит в
соответствующее отверстие портала, а выступ 26 входит в зацепление с шахтой.
Движущаяся вверх каретка поднимает портал, консоли и шахту и закрепленные на них
свод и электроды. После подъема свода на 200-300 мм каретку 17 останавливают и
с помощью гидроцилиндра 24 начинают поворот платформы 20 вокруг опорного вала
21; опорные ролики 23 платформы при этом движутся по дугообразным рельсам 22.
Рис. 2.15. Печь с опорой механизмов подъема-поворота свода на отдельный
фундамент: 1 - люлька; 2 - опора ванны; 3 - стеновой каркас; 4 - стеновая
панель; 5 - рабочее окно; 6 - водоохлаждаемый свод; 7 - гибкая тяга; 8 -
консоль; 9 - хомут; 10 - пружинно-гидравлический механизм; 11 - медная труба;
11а - гибкий кабель; 12 - телескопическая стойка; 13 - портал; 14 - тумба; 15 -
направляющая колонна; 16 - хвостовик; 17 - каретка; 18 - шахта; 19 - ролик; 20
- поворотная платформа; 21 - опорный вал; 22 - рельс; 23 - опорный ролик; 24,
25 - гидроцилиндр; 26 - выступ
Вместе с платформой вокруг оси 21 поворачивается все приподнятое кареткой
оборудование, включая свод и электроды; поворот ведут до полного открывания
рабочего пространства печи.
Эта печь, как и все новые высокомощные, имеет гидравлические приводы
основных печных механизмов, которые являются более быстродействующими, чем
электромеханические.
Конструкции механизмов для зажима и перемещения электродов
Каждый из трех электродов имеет свой независимый механизм зажима и
перемещения. Механизм состоит из электрододержателя и устройств, обеспечивающих
перемещение его с электродом в вертикальном направлении. Применяются механизмы
перемещения электродов с кареткой, передвигающейся по неподвижной стойке и с
подвижной телескопической стойкой электрододержателя.
В зависимости от типа привода различают механизмы с гидравлическим
приводом и электромеханическим, последний может быть реечным или канатным. На
рис. 19 показаны конструктивные схемы механизмов перемещения электродов.
В первой схеме (рис. 2.15, а) по неподвижной вертикальной стойке 3
перемещается каретка 5, к которой крепится рукав 7 электрододержателя с
электродом 8. Передача движения от привода 1 (барабанная лебедка) к каретке
осуществляется канатом 4, перекинутым через ролики 6; противовес 2 частично
уравновешивает каретку. Кинематическая схема такого механизма и ее описание
даны на рис. 21.
В механизме с электромеханическим реечным приводом (рис. 2.16, б) каретка
с электрододержателем и электродом перемещается по неподвижной стойке с помощью
рейки 9, приводимой в движение приводом 1 (электродвигатель и редуктор реечной
передачи). Здесь также предусмотрен противовес 2, частично уравновешивающий
каретку через блок 6.
В механизме с подвижной стойкой и гидравлическим приводом (рис. 2.16, в)
рукав 7 электрододержателя жестко закреплен на подвижной вертикальной стойке
10, перемещаемой внутри полой неподвижной стойки 3 гидроцилиндром 11 (в
результате движения поршня 12).
Электрододержателъ служит для зажима и удержания электрода в заданном
положении и для подвода к нему тока. Он состоит из рукава и закрепленных на нем
головки зажимного механизма и токоподвода. Наибольшее применение получили
электрододержатели с пружиннопневматическим механизмом зажима электрода.
Рис. 2.16. Схема механизмов перемещения электродов:
а - с электромеханическим канатным приводом; б - с электромеханическим
реечным приводом; в - с подвижной стойкой и гидравлическим приводом; 1 -
привод; 2 - противовес; 3 -неподвижная стойка; 4 - канат; 5 - каретка; 6 -
ролик; 7 - рукав; 8 - электрод; 9 - рейка; 10 - подвижная стойка; 11 -
гидроцилиндр; 12 - поршень
Конструктивное исполнение электрододержателей отличается многообразием,
но в зависимости от способа зажима электрода в головке их можно свести к двум
разно-видностям.
В одной (рис. 2.16, а) головка выполнена в виде кольца или полукольца 1 и
подвижной нажимной колодки 3. Электрод 2 в рабочем положении зажат в кольце
колодкой за счет усилия пружины 5, установленной на штоке 4. Если нужно
освободить электрод, то в пневмоцилиндр 6 подают воздух, поршень и рычажный
механизм 7 сжимают пружину, перемещают колодку вправо, освобождая электрод.
Во второй разновидности (рис. 2.16, б) головка состоит из неподвижной
колодки 5, закрепленной на рукаве 9, и хомута 8, охватывающего электрод 2.
Электрод прижат к токоведущей колодке с помощью хомута за счет усилия пружины
5, передаваемого рычажной системой 7. При подаче воздуха в пневмоцилиндр 6
хомут смещается влево, освобождая электрод.
Головка электрически изолирована от рукава 9, на средних и крупных печах
элементы головки охлаждают водой. Рукав делают из толстостенной трубы или
сварной коробчатой балки. Ток к головке подают с помощью шин или медных
водоохлаждаемых труб, закрепленных на изоляторах сверху рукава (рис. 2.15).
Рис. 2.17. Схема электрододержателей
а - с подвижной колодкой; б - с неподвижной клодкой; 1 - кольцо
(полукольцо); 2 - электрод; 3 - нажимная колодка; 4 - шток; 5 - пружина; 6 -
пневмоцилиндр; 7 - рычажный механизм; 8 - хомут; 9 - рукав; 10 - каретка
На новых высокомощных печах вместо пружинно-пневматических устанавливают
схожие с ними пружинно-гидравлические механизмы зажима электродов (общий вид
такого меха- низма представлен на рис. 2.15). За рубежом широко применяют так
называемые токоведущие электрододержатели. В них рукав выполнен в виде полой
прямоугольного сечения балки из алюминия, служащей также токоподводом от гибких
кабелей до головки электрододержателя, иногда применяют полые стальные балки,
покрытые слоем меди (плакированные медью). Медь и алюминий используют в связи с
их высокой электропроводностью. При этом не требуются токоподводы из медных
водоохлаждаемых труб. Преимуществом алюминиевых токоведущих электрододержателей
является их значительно меньшая масса.
.2.3 Расчет механических узлов дуговой печи
На рис. 2.18 показана кинематическая схема одной из конструкций
механизмов подъема и поворота свода, а также перемещения электродов для печи с
опорой этих механизмов на люльку.
Механизм подъема свода
Подъем и опускание свода осуществляют два синхронно работающих механизма,
приводом которых являются электродвигатели 25 и червячно-винтовые редукторы 24.
Свод 21 подвешен к полупорталу 19 на перекинутых через блоки 5 и 18 цепях 20 и
тягах 4, связанных с червячно-винтовыми редукторами. При работе
электродвигателя 25 и червячно-винтового редуктора 24 тяговый винт 24а
редуктора получает поступательное движение вверх или вниз, перемещая тяги 4
цепи 20 и, тем самым, свод 21 (на высоту до 500 мм). Для синхронизации работы
двух механизмов предусмотрен уравнительный вал 31, связанный с редукторами
через муфты 32.
Расчет мощности электродвигателя подъема свода:
Мощность одного двигателя подъема свода, кВт:
,
где
Qсв - сила тяжести свода, Н; Vсв - скорость подъема свода, м/с;
- КПД пр
вода,
;
- КПД
блоков;
- КПД. винтовой и червячной передачи,
,
- угол
подъема винта редуктора,
=arctgt(
); - шаг
винта со средним диаметром резьбы
;
- угол
трения в резьбе,
=arctgt(
); - коэффициент трения.
Механизм
поворота свода
Для
отворота свода от рабочего пространства печи вращают вал 27 с жестко
закрепленной на нем плитой 30, являющейся опорой полупортала 19 и подвешенного
к нему свода 21; поворотный вал 27 опирается на люльку печи через два
радиальных 29 и один упорный 26 подшипники. Приводом поворота являются
электродвигатель 22 и трехступенчатый цилиндрический редуктор 23, на выходном
валу которого посажена коническая зубчатая шестерня, входящая в зацепление с
зубчатым сектором 28, жестко насаженным на вал 27. Получая вращения от привода,
зубчатая шестерня вызывает поворот зубчатого сектора 28 и вала 27 вокруг его вертикальной
оси и, тем самым, поворот плиты 30 и свода печи.
Рис.
21. Кинематическая схема механизмов подъёма, и поворота свода и перемещения
электродов для печи с их опорой на люльку
,
22, 25 - электродвигатель; 2, 23, 24 - редуктор; 3 - барабан; 4 - тяга; 5, 10,
11, 13, 18 - блок; 6 - колонна; 7, 12 - канат; 8 - каретка; 9 - груз; 14 -
ходовой ролик; 15 - рукав; 16 - электродо-держатель; 17 - электрод; 19 -
полупортал; 20 - цепь; 21 - свод; 24а - тяговыйвинт; 26 - упорный подшипник; 27
- поворотный вал; 28 - зубчатый сектор; 29 -радиальный подшипник; 30 - плита;
31 - уравнительный вал; 32 - муфта
Расчет
мощности электродвигателя подъема свода
Для
выбора двигателя поворота свода последовательно определяются следующие параметры:
Центр
тяжести механизма поворота:
где
Gi - сила тяжести отдельных поворачивающихся деталей: свода, полупортала,
плиты, вала, приводов и т. п.;
- сила
тяжести всех поворачивающихся деталей; xi - центр тяжести всех поворачивающихся
деталей.
Статический
момент поворота:
,
где
r1, r2, r3 - радиусы опор в верхнем и нижним радиальных и в упорном подшипниках
с соответствующими коэффициентами трения ;
; h -
расстояние между радиальными подшипниками.
Момент,
приведенный к валу электродвигателя:
дв
= Mп/i,
где
i -передаточное отношение привода.
Мощность
электродвигателя поворота, кВт
где
- КПД привода;
- частота
вращения двигателя.
Механизм
перемещения электродов
Приводом
этого механизма служит барабанная лебедка, включающая электродвигатель 1,
червячный редуктор 2 и барабан 3. Вращение барабана вызывает перемещение вверх
или вниз каната 7, перекинутого через блоки 10 и через закрепленный на рукаве
15 блок 13, и тем самым вертикальное перемещение каретки 8 с рукавом 15,
несущим электрододержатель 16 с электродом 17. Каретка на ходовых роликах 14
передвигается по колонне 6; блоки 10 называют неподвижными, а перемещающийся в
вертикальном направлении блок 13 - подвижным. Груз 9 с помощью перекинутого
через блоки 11 каната 12 частично уравновешивает силу тяжести каретки 8.
Расчет
мощности электродвигателя механизма перемещения электродов
Для
выбора мощности электродвигателя механизма перемещения электродов
последовательно определяются следующие величины:
Усилие
Р на подвижном блоке 13 (рис. 2.18)
,
где
- бщая сила тяжести каретки, электрода, механизма
зажима и части токоподводящих шин;
- сила
тяжести противовеса; а - расстояние от центра тяжести поднимаемых масс
до оси ближних к центру тяжести ходовых роликов; l - расстояние
между осями роликов, расположенных на разных сторонах колонны; b - расстояние
между осями ро-
ликов,
расположенных на одной стороне колонны; m - расстояние между осью подвижного
блока и осями ближних к блоку ходовых роликов; W - коэффициент тяги,
-
коэффициент трения в цапфах роликов диаметром d; f - коэффициент трения на
ободе роликов диаметром Dp; Кр - коэффициент реборд;
- КПД противовесов.
Момент
на валу электродвигателя:
,
где
-радиус барабана;
,
- передаточное отношение и КПД привода лебедки.
Мощность
привода:
, кВт,
где
- частота вращения двигателя.
При
реечном приводе момент на валу электродвигателя:

где
Dш - диаметр шестерни;
- передаточное отношение и к. п. д. привода реечной
передачи.
Мощность
электродвигателя при реечном приводе, кВт :
Момент
сопротивления вращению ванны печи с металлом с суммарной силой тяжести Gпечи +
Gмет зависит от сопротивления в цапфах диаметром dц ходовых роликов и от трения
на ободе ходовых роликов диаметром Dx:
,
где
, f, Kp - коэффициенты трения в цапфах, на ободе
роликов и на ребордах;
- средний радиус опорного кольца.
Далее
выбирается электродвигатель по требуемой мощности:
Механизм наклона печи
Расчет привода механизма наклона печи предполагает последовательное
определение следующих характеристик.
Момент сопротивления опрокидыванию порожней печи имеющей массу Gп равен
где
r - величина радиуса вектора от центра кривизны люльки до центра тяжести печи;
- угол наклона радиуса вектора к вертикальной оси
печи;
- угол поворота, при вращении по часовой стрелке знак
«+», против «-».
Момент
от сил трения качения люльки радиусом
где
Gп, Gм - сила тяжести порожней печи и металла; Rл - радиус сегментов люльки; Е
- модуль упругости материала колеса; b - суммарная толщина двух сегментов
люльки.
Внутренний
профиль пода печи представляет собой шаровой сегмент с начальным объемом
металла:
где
h - высота сегмента металла;
-
внутренний радиус шарового сегмента.
Сила
тяжести металла
где
- удельная масса расплава.
Опрокидывающий
момент от жидкого металла при повороте на угол
равен:
,
где
n - расстояние между центрами кривизны люльки и шарового сегмента.
Отсюда
общий момент сопротивления наклону печи
Максимальный
общий момент будет при наклоне печи
= 40 -
45°, когда из печи будет слит весь металл,
Обозначим
угол между вертикалью печи и прямой отрезка, соединяющего центры кривизны
сегментов люльки печи и точки подвески рейки, через
. Находим усилие наклона печи Рр, приложенное к одной
рейке:
где
l - расстояние между центром кривизны сегмента люльки и точкой подвески рейки.
Максимальное
усилие на рейке:
По
максимальной силе определяется момент на валу каждого из двух
электродвигателей:,
где
- радиус начальной окружности приводной шестерни; i,
- передаточное отношение и к.п.д привода.
Статическая
мощность двигателя, кВт:
,
где
- частота вращения двигателя,
. При расчете механического оборудования и
исполнительных механизмов печей к проектным расчетам предъявляются повышенные
требования с точки зрения точности и качества, так как при работе с большими
массами жидкого металла недопустимы сбои и отказы в работе техники.
3.Расчет механизма подъема свода печи
Расчет механизма подъема свода печи заключается в расчете мощности
электродвигателя.
При передаточном числе редуктора i=25 шаге винта s=24
мм и скорости электродвигателя n=1000
об/мин скорость подъема свода
м/мин
Время подъема на высоту h=500мм
сек.
Вес свода равен 50т
Коэффициент полезного действия привода η=0,29
Мощность электродвигателя
квт
На основании приведенных данных произведем расчет червячного редуктора
об/мин
рад/с
об/мин
рад/с
Вращающие моменты
Н*м = 117,6 10³ Н*мм
Н*мм
Для венца
червячного колеса примем бронзу Бр010Ф1, отлитую в кокиль; для червяка -
углеродистую сталь с твердостью HRC>45.
В этом случае основное контактное напряжение [σH]’= 221 МПа. Расчетное допускаемое
напряжение [σН]= [σН]’KFL тогда [σН]= 221*0,67=148 МПа.
Число витков червяка Z1
принимаем в зависимости от передаточного числа: при u= 25 принимаем Z1=2
Число зубьев
червячного колеса
=Z1*u=2*25=50
Принимаем предварительно коэффициент диаметра червяка q=12,5 и коэффициент нагрузки К=1,2
Определяем межосевое расстояние из условия контактной прочности
=
мм
Модуль
мм
Принимаем по ГОСТ 2144-76 стандартные значения m=8мм и q=12,5,
а также Z2=50 и Z1=2
Тогда пересчитываем межосевое расстояние по стандартным значениям m, q и Z2:
мм
Основные размеры червяка:
Делительный
диаметр червяка
мм
Диаметр вершин витков червяка
мм
Диаметр впадин витков червяка
мм
длина нарезанной части шлифованного червяка
147 мм
делительный угол подъема γ при Z1=2 и q=12,5
угол γ=9°05’
Основные размеры венца червячного колеса
Делительный
диаметр червячного колеса
мм
Диаметр вершин витков червяка
мм
Диаметр впадин витков червяка
мм
наибольший диаметр червячного колеса
мм
ширина венца червячного колеса
87 мм
окружная скорость червяка
м/с
скорость скольжения
м/с
Уточняем КПД редуктора
При скорости Vs = 5,16 м/с при
шлифованном червяке приведенный угол трения ρ΄=1°.
КПД редуктора с учетом потерь в опорах, потерь на разбрызгивание и
перемещение масла
=
выбираем 7-ю степень точности передачи и находим значение коэффициента
динамичности Кv = 1,1
Коэффициент
неравномерности распределения нагрузки

коэффициент нагрузки
Проверяем контактное напряжение

МПа<
Проверяем прочность зубьев червячного колеса на изгиб.
Эквивалентное число зубьев
Коэффициент формы зуба YF=2,18
Напряжение изгиба
МПа
Основное допускаемое напряжение изгиба для реверсивной работы [σ-1F]’=51
Расчетное
допускаемое напряжение [σ-1F]= [σ-1F]’KFL
Коэффициент
долговечности примем по его минимальному значению KFL=0,543
Таким образом
[σ-1F]= [σ-1F]’0,543=51*0,543=27,6 МПа.
Прочность
обеспечена, так как [σF]< [σ-1F]
Расчет валов
редуктора
Диаметр выходного конца ведущего вала по расчету на кручение при [τk] = 25 МПа

28,6мм
Но для соединения его с валом электродвигателя примем dв1= dдв=32мм; диаметры подшипниковых шеек dп1=45мм.
Расстояние между опорами червяка примем l1=dаМ2=430мм
Ведомый вал
Диаметр выходного вала

Принимаем
мм
Диаметры подшипниковых шеек dп2=65мм, диаметр вала в месте посадки червячного колеса dк2=70.
Диаметр ступицы червячного колеса
мм
Принимаем
мм
Длина ступицы червячного колеса
мм
Принимаем
мм
Электросталеплавильному способу принадлежит ведущая роль в производстве
качественной и высоколегированной стали. Благодаря ряду принципиальных
особенностей этот способ приспособлен для получения разнообразного по составу
высококачественного металла с низким содержанием серы, фосфора, кислорода и
других вредных или нежелательных примесей и высоким содержанием легирующих
элементов, придающих стали особые свойства - хрома, никеля, марганца, кремния,
молибдена, вольфрама, ванадия, титана, циркония и других элементов.
Преимущества электроплавки по сравнению с другими способами
сталеплавильного производства связаны с использованием для нагрева металла
электрической энергии. Выделение тепла в электропечах происходит либо в
нагреваемом металле, либо в непосредственной близи от его поверхности. Это
позволяет в сравнительно небольшом объеме сконцентрировать значительную
мощность и нагревать металл с большой скоростью до высоких температур, вводить
в печь большие количества легирующих добавок; иметь в печи восстановительную
атмосферу и безокислительные шлаки, что предполагает малый угар легирующих
элементов; плавно и точно регулировать температуру металла; более полно, чем
других печах раскислять металл, получая его с низким содержанием
неметаллических включений; получать сталь с низким содержанием серы. Расход
тепла и изменение температуры металла при электроплавке относительно легко
поддаются контролю и регулированию, что очень важно при автоматизации
производства. Электропечь лучше других приспособлена для переработки
металлического лома. Металлизованные окатыши, заменяющие металлический лом,
можно загружать в электропечь непрерывно при помощи автоматических дозирующих устройств.
В электропечах можно выплавлять сталь обширного сортамента.
СПИСОК ЛИТЕРАТУРЫ
дуговой сталеплавильный печь
1. Бабич В.К. Основы металлургического
производства. - М.: Металлургия, 2000.- 240 с.
2. Гребеник В.М. Расчет металлугрических
машин и механизмов. - М.: Металлургия, 1988.- 448 с.
. Гутман М.Б. Электрические печи
сопротивления и дуговые печи. - М.: Энергоатомиздат ,1983.- 360 с.
. Доронин С.В. Проектные расчеты
конструкций металлургического оборудования. - Красноярск.: Металлургия ,2004.- 152
с.
. Дуговые сталеплавильные печи. Атлас
конструкций - М.: Металлургия,1976.-172с.