|
Bал
|
U
|
n мин-1
|
wс-1
|
P,кВт
|
T,Нм
|
|
Вал
электродвигателя, ведущий вал ременной передачи
|
1,45
|
2900
|
303,5
|
11,0
|
31,8
|
|
ведомый
вал ременной передачи
|
|
2000,0
|
209,3
|
|
43,5
|
|
Быстроходный
|
8
|
2000,0
|
209,3
|
|
43,5
|
|
Тихоходном
|
|
250,0
|
26,2
|
8115,5
|
309,4
|
2. Расчет ременной передачи
По заданию из кинематической схемы имеем
клиноременную передачу.
Данные для расчета клиноременной передачи взяты
из таблицы 1.1. Т1рем=31,8Нм, n1=2900,0
мин-1, Uрем = 1,45,щ1=303,5c-1,
щ2=209,3с-1
Диаметр меньшего шкива по формуле 6.2 [4,с.201]
(2.1)
мм
Из стандартного ряда, приведенного в
таблице 6.2 [4,c.202] , принимаем d1=112,0мм
Диаметр большего шкива по формуле
6.3[4,c.202]
=
d1 Uрем (1-е) (2.2)
где
е - коэффициент скольжения, е=0,01…0,02.
Для
передачи с регулируемым натяжением принимаем е=0,01=112,0·1,45(1-0,02)
= 159,1мм
По
стандартному ряду принимаем d2=160,0мм
Уточним
передаточное отношение
рем=
d2/ d1(1-е) (2.3)
рем=160,0/112,0(1-0,02)=1,45
Определим
скорость ремня по формуле 6.4[4,c.202]:
v=щ1∙d1/2∙1000
(2.4)
v=303,5∙112/2∙1000
= 17,0м/с
Ориентировочно назначаем межосевое расстояние по
формуле [4,c.212]:
amin=0,55(d1+d2)+h (2.5)
amax=2(d1+d2) (2.6)
где amin,
amax-минимальное и
максимальное межосевое расстояние,мм;
h-высота сечения
ремня, по таблице 6.7[4,c.212]
h=8,0мм.
По таблице 6.12[4,c.215]
принимаем клиновой ремень нормального сечения А.
amin
=0,55(112,0+160,0)+8,0=157,6мм
amax=
2(112,0+160,0)=544,0мм
принимаем а=500,0мм
Длина ремня по формуле 6.6 [4,c.202]:
(2.7)
Округлим до стандартного значения L=
1400,0мм
Уточним межосевое расстояние по
формуле 6.7 [4,c.202]:
а =0,25 [ (Lр-щ)+
] (2.8)
где Lр - расчетная длина ремня,м.
щ=0,5р(d1+d2) (2.9)
щ=0,5·3,14(112,0+160,0)= 427,0мм
у=0,25(d2-d1)2 (2.10)
у=0,25(160,0-112,0)2 =576,0мм
а=0,25[(1400,0-427,0)+
Угол обхвата меньшего шкива по
формуле 6.9 [4,c.203]:
б =1800-57(d2-d1)/а (2.11)
б=1800-57(160,0-112,0)/485,9=174021’
По таблице 6.9 [4,c.213]
находим мощность, передаваемую клиновым ремнем, Ро = 2,78
Число клиновых ремней по формуле
6.15 [4,c.210] :
=Р/Рдоп (2.12)
где Рдоп- допускаемая мощность на
один клиновой ремень определим по фор- муле 6.16 [4,c.210],кВт ;
Рдоп= Ро·Сб·Ср·СL·СZ (2.13)
где Сб- коэффициент угла обхвата по таблице 6.13
[4,c.215], Сб=0,99;
Ср-коэффициент режима работы по таблице6.5 [4,c.206],
Ср=1,0;
СL- коэффициент, учитывающий влияние длины ремня
по таблице 6.14
[4,c.215],
СL=0,92
СZ - коэффициент учитывает число ремней в
передаче, для клиновых ремней СZ=0,90
Р доп = 2,78·0,99·1,0·0,92·0,90
= 2,28 кВт
Р=Т1щ1 (2.14)
Р=31,8∙303,5 = 9651,3Вт = 9,7кВт
Z =
принимаем Z = 4.
Силу предварительного натяжения
клинового ремня определим по фор- муле 6.17 [4,c.215]:
=[780·PCL/(v СбCрz)]+ qv2 (2.15)
где q-масса 1 м длины ремня по таблице
6.7 [4,c.211], q=0,105 кг/м.
=(780·9,7·0,92/17,0·0,99·1,0·4,0)+0,105·17,02=134,6Н
Сила действующую на вал:
= 2Fo Zśіn(б/2)
(2.16)
=2·134,6·4·śіn(174о21’/2)
= 1054,6H
Наружный диаметр шкивов
клиноременной передачи определим по формуле [4,с.216]:
de=dp+2b
(2.17)
где dp-расчетный
диаметр шкива, мм;
b- глубина канавки
расчетного шкива, мм.
de1=112,0+2·3,3=
118,6мм
de2=160,0 + 2·3,3=166,6мм
Ширину обода при количестве ремней z=4
принимаемся по таблице 6.15 (4,с.218),В=65,0м.
Длина ступицы принимаем для ведущего шкива
lст1=40,0мм,ведомого шкива lст2=40,0мм
Материал шкива принимаем СЧ15-32.
3. Расчет червячной передачи
.1 Выбор материала и назначение термической
обработки зубчатого вен-ца червячного колеса и червяка
По кинематической схеме имеем червяк с
горизонтальной осью, сцепляю-щийся с колесом, имеющим вертикальную ось.
Ориентировочно определим скорость скольжения по
формуле 5.1[4,c.188]:
Vск=4,5∙10-3щ1
(3.1)
Vск=4,5∙10-3«209,3
Для изготовления зубчатого венца червячного
колеса при V>5м/с,
реко-мендуется использовать оловянно-фосфористую бронзу БР010Ф1, способ отливки
- в металлической форме таблица 5.1[4].
Для изготовления червяка принимаем сталь 45 с
закалкой до твердости не менее 50НRCэ,
и последующей шлифовкой.
Циклическая долговечность передачи определяется
по формуле 5.2[4]
Nн=NF=N∑=60n2Lh
(3.2)
где n2-
частота вращения колеса,мин-1;
Lh -срок
службы привода, ч.
Nн=NF=N∑=60∙241,7∙19000=
27,5∙107
Так как получили значение Nн=27,5∙107,
то в уравнение (3.4) подставляем Nн=25∙107,
согласно рекомендации[4,c.189].
3.2 Определение допускаемого напряжения
Допускаемое напряжение для зубьев колеса
определим по формуле 5.3[4]:
унр=уНlimZN
(3.3)
где уНlim-
предел контактной выносливости поверхности зубьев, по таблице 5.1[4], уНlim=230Мпа;
ZN-
коэффициент долговечности.
ZN =
(3.4)
ZN =
унр=230∙0,67=154,1МПа
Предварительно принимаем значением коэффициента
расчетной нагрузки для передачи с переменной нагрузкой Кн=1,3
.3 Проектный расчет передачи
Межосевое расстояние по формуле 5.5[4]
где аw - межосевое
расстояние,мм.
Принимаем стандартное межосевого
расстояния червячной передачи аw=160,0мм
Принимаем число витков червяка z1=4, тогда
число зубьев колеса формуле 5.6[3]:
Z2=u z1 (3.6)
Z2=8,0∙4=32,0
Фактическое передаточное число
червячной передачи по формуле 1.1[4,c.22]:
uред=z2/z1 (3.7)
uред=32/4 = 8
это значение соответствует
стандартным.
Осевой модуль зацепления m вычислим по
формуле 5.7[4,с.192]:
m=(1,5…1,7) аw/z2 (3.8)
m=(1,5…1,7)
160/32= (7,5÷8,5)
округлим его до стандартного
значения, по таблице 5.5 m=8
Коэффициент диаметра червяка q вычислим по
формуле 5.8 [4,с.192]
q=[2 аw/m]-z2 (3.9)
q=[2 ∙160/8]-32=8мм
что соответствует стандартному
значению, таблица5.6[4, с.192] q=8,0мм.
Уточним межосевое расстояние по
формуле 5.9[4, с.192]
аw=0,5m(z2+q) (3.10)
аw=0,5∙8(32+8)=160,0мм
полученное значение соответствует
стандартному.
Делительный диаметр червяка и
червячного колеса d вычислим по фор-муле 5.11;5.12;[4,
с.192]:
d1 = qm (3.11)
d1 =8∙8
= 64,0мм
d2 =z2m (3.12)
d2 =32∙8=
256мм
Диаметр вершин витков червяка da вычислим по
формуле 5.25[4,с.192]:
da1 = d1 + 2«m (3.13)
da1 =64,0+2∙8=
80,0мм
Диаметр впадин витков червяка df вычислим по
формуле 5.26[4,с.192]:
df1 = d1 - 2,4«m (3.14)
df1 =64- 2,4∙8
= 44,8мм
Диаметр вершин зубьев червячного
колеса da вычислим по
формуле 5.27[4, с.197]:
da2 = (z2+2.0+2x)m (3.15)
da2 =( 32
+2,0+2∙0)8 = 272,0мм
Диаметр впадин зубьев червячного
колеса d f вычислим по
формуле 5.28[4,с.197]:
d f2 = (z2-2,4+2x)m (3.16)
d f2 = (32 -
2,4+2∙0)8 = 236,8мм
Наибольший диаметр нарезаемого
колеса dOM вычислим по
формуле 5.29[4,c.197]:
dOM2≤dа2+6m/(z1+2) (3.17)
dOM2≤272,0+6∙8,0/(4+2)=
280,0мм
Ширина венца нарезаемого колеса b2 вычисляется
по формуле 5.30[4,с.197]:
b2≤0,75da1 (3.18)
b2≤0,75∙80,0
= 60,0мм
Длина нарезаемой части червяка b1
вычисляется по формуле 5.31[4]:
b1≥(11+0,06∙Z2)m (3.19)
b1≥(11+0,06∙32)8=103,4
увеличим b1 на 56,6мм
по технологическим условиям,b1=160,0мм.
г- делительный угол подьема линии
витка червяка,г=26034’
Определим действительную скорость
скольжения в зацеплении по формуле 5.13[4,193]:
Vск=v1/cosг=щ1d1/2000 cos г (3.20)
где г- делительный угол подьема
линии витка червяка,г=26034’.
Делительный угол подьема линии витка
червяка принимаем по табличе 5.7[4,с.193].
Vск=209,3∙64,0/2000
∙0,8962 = 7,4м/с
Принимаем степень точности передачи
7-ю
По полученному значению Vск=7,4м/с и
степени точности по таблице 5.8 [4,с.194] принимаем коэффициент Кнv динамической
нагрузки, Кнv=1,1.
Коэффициент концентрации нагрузки
определим по формуле 5.14[4,194]:
Кнв=1+(z2/Kf)3(1-Kp) (3.21)
где Кнв- коэффициент концентрации
нагрузки;
Kf-
коэффициент деформации червяка, по таблице 5.9[4],Kf=47;
Kр-
коэффициент режима, по таблице 5.10 Kр=1,0;
Кнв=1+(32/47)3(1-1,0)=1
Значение коэффициента расчетной
нагрузки определим по формуле 5.15[4,с.195]
Кн=Кнв∙Кнv (3.22)
где Кн- коэффициент расчетной
нагрузки.
Кн= 1,0∙1,1=1,1
Проверим передачу на контактную
прочность по формуле 5.16[4,195]:
sН
= 480 / d2«
где dW1-начальный
диаметр червяка по формуле [4,с.195],мм:
dW1=m(q+2x) (3.24)
х- коэффициент смещения чер
вяка, в
данном расчете х=0.
dW1=8,0(8,0+2«0)=64,0мм
sН
= 480 / 256«
Недогруз составляет
∆sН=[(154,1 - 136,8)/154,1]∙100%
= 11,2%<15% что допускается
Фактический КПД передачи определим
по формуле 5.17[4,с.195]:
з=0,96[tgг/tg(г+с)] (3.25)
где с-приведенный угол трения
определим по таблице5.11[4,с.195],с=1026’.
з=0,96[0,495/0,523]=0,91
Уточним значение вращающего момента
на червяке по формуле 5.18[4,с.195]
Т1=Т2/uз (3.26)
Т1=309,4/8,0∙0,91=42,5Нм
Силы, действующие в зацеплении
определим по формуле 5.19[4,195]:
окружная сила:
Ft2 = Fа1 = 2 « T2 / d2 (3.27)
Ft2 = Fа1=2∙309,4∙1000/256,0
= 2417,2Н
радиальная сила:
Fr1= Fr2 =
Ft2 «
tg a
(3.28)a
= 0,364 a
= 2001=
Fr2=2417,2∙0,364
= 880,0Н
осевая сила:
Fa2 = Ft1=2 T1 / dw1 (3.29)
Fa2 = Ft1=2 ∙42,5
∙1000/ 64,0 = 1328,1Н
Проверка зубьев колеса на
выносливость при изгибе по формуле 5.20[4,196]:
sFР=sFlimYN (3.30)
где sFlim- предел выносливости зубьев
колеса при изгибе по таблице5.1 [4,с.189],
sFlim=70Мпа.
YN-коэффициент
долговечности по формуле 5.22[4,с.196]:
Yn =
(3.31)
Yn =
Условие 0,54≤Yn≤1
для колес, изготовленных из бронзы выполнено
,54≤0,541≤1
sFР=70,0∙0,541
= 37,9МПа
Эквивалентное число зубьев колеса Zv2
определим по формуле 5.23[4,с.197]:
Zv2=Z2/cos3г
(3.32)
Zv2=32/0,7197=44,5
при Zv2=44,5
по таблице 5.13 YF2=1,48
Действительное напряжение при изгибе определим
по формуле 5.24[4]:
sF2=
sFP (3.33)
sF2 =
Условие прочности выдержано 0,75МПа ≤
37,9МПа
4. Подбор соединительной муфты
Тихоходный редуктора соединен с валом шнека
муфтой.
Определим вращающий момент [T]
муфты из формулы 9.1[5,с.342]:
T∙K
< [T] (4.1)
где T
- номинальный длительно, действующий вращающий момент,Н∙м;
K - коэффициент
динамической нагрузки привода,K
= 1,25-1,5.
[T]
=1, 5 ∙309,4 = 464,1Н∙м
Выбираем муфту упругую втулочно-пальцевую
Т=500,0Н∙м,
Принимаем диаметр посадочного отверстия муфты по
ГОСТ Р 50894-96 d=40,0мм.
Определим консольную силу Fk,Н,
действующую в середине посадочной поверхности конца вала по формуле 9.3 [5,с.
345]:
Fk=23
(4.2)
Fk=23
5. Предварительный расчет валов
Диаметр выступающего конца быстроходного вала из
формулы [2,с.45]
d = ( 7 ¸8 ) «
(5.1)
где d - диаметр
выходного конца вала,мм.
d = ( 7 ¸8 ) «
принимаем d =25,0 мм.
Диаметр вала под подшипник по
формуле [2,с.45];
dп = d + 2 « t (5.2)
где dп - диаметр
вала под подшипник,мм;
t - прибавка
к диаметру по таблице [2,c.45], t= 2,0мм.
dп =25,0+2∙2,0
= 29,0мм
В червячных редукторах наружный
диаметр подшипников должен быть равным или больше диаметра вершины витков
червяка, поэтому выбираем роликовые конические однорядные подшипники №7307 с d=35,0мм, D=80мм.
Буртик для упора подшипника, по
таблице [2,c.45]:
dБП = dп + 3 « r (5.3)
где dБП - буртик,
для упора подшипника, мм;
r - прибавка
к диаметру по таблице [2,c.45], r = 2,0мм.
dБП = 35,0+3∙2,0=
41,0мм
принимаем dБП = 42,0мм.
Рисунок 2- Схема быстроходного вала
Откорректируем диаметр выходного
конца вала по формуле (5.2):
d= dп-2
t (5.4)
d= 35,0-2∙2,5=30,0мм
принимаем d=30,0мм
Диаметр выступающего конца тихоходного вала из
формулы [2,с.45]:
d ³ ( 5 ¸ 6 ) «
(5.5)
d ³ ( 5 ¸ 6 )
=(33,8 ÷ 40,1мм)
принимаем d = 38,0 мм.
dп =38,0+2∙2,5=
45,5мм
принимаем dп = 45,0мм
dБП =45,0+3∙3,0
= 54,0мм
принимаем dБП = 55,0мм.
Рисунок 3 - Схема тихоходного вала
Таблица 2 Расчетные данные валов
|
Вал
|
d
|
dп
|
dбп
|
|
Быстроходный
|
30,0
|
35,0
|
42,0
|
|
Тихоходный
|
38,0
|
45,0
|
55,0
|
6. Конструктивные размеры зубчатой передачи
.1 Конструктивные размеры червяка
Червяк делаем за одно целое с валом, его размеры
в расчете, определены ранее.
.2 Конструктивные размеры зубчатого колеса
dст = ( 1,6¸
1,8 ) «
d (6.1)
где dст.
-диаметр ступицы,мм.
dст = ( 1,6 ¸ 1,8 )
55,0=(88,0 ¸ 99,0)
принимаем dст=90,0мм
lст = ( 1,2 ¸
1,8 ) «
d (6.2)
где lст.
-длина ступицы,мм.
lст = ( 0.8 ¸
1,6 ) «55,0=(44,0
¸
88,0) принимаем lст.=75,00мм
d = ( 2 ¸ 2,5 ) «
m (6.3)
где d -толщина обода,мм.
d = ( 2 ¸ 2,5 ) «
8 =(16,0¸20,0)
принимаем d=18,0мм
C = ( 0,2 ¸
0,3 ) «
b (6.4)
где C-ширина
обода,мм.
C = ( 0,2 ¸
0,35 ) «
60=(12,0¸21,0)
принимаем С=15,0мм
dв =(1,2 -1,5)m
(6.5)
где dв
-диаметр винта,мм.
dв =(1,2 -1,5)8,0 =
(9,6 ¸
12,0)мм
принимаем dв=10,0мм
lb=(0.3-0.4)b
(6.6)
где lb-длина
болта,мм.
lb=(0,.3-0,4)60,0=
(18¸24,0)мм
принимаем lb=20,0мм
7. Конструктивные размеры корпуса редуктора
(Расчет ведем по методике 3)
Материал корпуса редуктора серый чугун СЧ - 18.
Принимаем толщину корпуса редуктора:
d = 0,04 « аw
+ 2
d = 0,04« 160,0 + 2 =
8,4мм принимаем d =8,5 мм.
Расчёт основных элементов корпуса
d1 - толщина стенок корпуса и крышки,мм.
d1 = 0,032а+2
d1 = 0,032 «
160,0+2,0=7,1мм, принимаем d1 = 8,0 мм.
B - толщина верхнего
пояса ( фланца ) корпуса,мм.
b = 1,5 «
d
b = 1,5 «
8,5 = 12,75 мм.
P - толщина нижнего
пояса корпуса,при наличии бобышек,мм.
Р = ( 2,25 ¸ 2,75 ) «
d
Р= ( 2,25 ¸ 2,75 ) «
8,5 = (19,1 ÷ 23,4) мм,
принимаем Р=20,0мм.
m - толщина рёбер
основного корпуса,мм.
m = ( 0,85 ¸
1 ) «
d
m = ( 0,85 ¸
1 ) «8,5
= (7,2 ÷
8,5) мм, принимаем m= 8,0мм.
m1 - толщина рёбер
крышки,мм.
m1 = ( 0,85 ¸
1 ) «
d1
m1 = (6,8 ¸
8.0) мм, принимаем m1 = 7,5 мм.
d - диаметр
фундаментных болтов ( их число 4),мм.
d = ( 0,03 ¸
0,036 ) «
а + 12
d= (4,8 ¸5,76)
+ 12 = (16,8 ÷ 17,76) мм,
принимаем d = 18,0 мм.
d1 - диаметр болтов
у подшипника,мм.
d1 = ( 0,7 ¸
0,75 ) «
d
d1= ( 0,7 ¸
0,75 ) «
18 =(12,6÷13,5)мм, принимаем d1
= 14,0мм.
d2 - диаметр болтов,
соединяющих основания корпуса с крышкой,мм.
d2 =( 0,5 ¸
0,6 ) d
d2= ( 0,5 ¸
0,6 ) «
18,0 = 6,0 ¸ 10,8 мм, принимаем d2
= 10 мм.
Диаметр центровочных штифтов dш=
d1=14,0
8. Расстояние между деталями передачи
Зазор между вращающимися колёсами и стенкой
корпуса по формуле[2,c.47]:
а =
(8.1)
где L
- длина редуктора, мм.
L = da1
+ da2 (8.2)
L =80,0+272,0 =
352,0мм
a
=
принимаем а=10,0мм
Расстояние, от дна редуктора до
зубчатого колеса b,мм, по формуле[2,c.47]:
b = 3«a
(8.3)
b = 3 «
10,0=30,0мм
9. Проверочный расчет валов редуктора
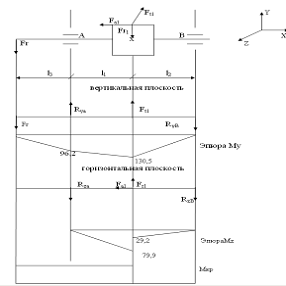
.1 Расчёт быстроходного вала
Построим эпюры напряжения вала, рассмотрим силы,
действующие в двух плоскостях.
Из предыдущего расчета имеет величину сил,
действующих на быстро-ходный вал. Определим опорные реакции с учетом Fr.
Ft1 = 1328,1H
Fr1 = 880,0H
Fa1 = 2417,2H
Fr=1054,6мм
(сила от клиноременной передачи)
Предварительно принимаем для опор вала роликовые
конические под-шипники 7307.
Смещение точки приложения радиальной реакции
относительно торца подшипника по формуле 7.23[4,c.483]
а1=Т/2+[(d+D)/6]e
(9.1)
где значения Т=22,75мм, d=35,0мм,
D=80,0мм, e=0,32-
взяты из таблица П.10[4,c.544];
а1=22,75/2+[(35,0+80,0)/6]0,32=17,5мм
Из эскизной компоновки определим расстояние
между точками при-ложения активных и реактивных сил.
l1=l2=124,0мм;
l3=73,0мм Lоб=
l1+l2;
Lоб=124,0+124,0=248,0мм
Опорные реакции в вертикальной плоскости:
∑Tz
= 0 -RyA
lобщ + Ft1∙l2
- Fr(l3+lобщ
) = 0 (9.2)
(9.3)
RyВ lобщ
+ Ft1∙l1
+ Fr∙l3=
0 (9.4)
(9.5)
Fr +RyА +Ft1-
RyВ = 0 (9.6)
,3+1042,3+1328,1-1052,1= 0
Наибольший изгибающий момент в вертикальной
плоскости в сечении А-А,1-1:
Mz A-A = -
(9.7)
Mz A-A =-
Mz 1-1 = -
(9.8)
Mz 1-1 =-
Опорные реакции в горизонтальной
плоскости:
∑Ty = 0 -RzA∙ lобщ +Fr1∙l2+F01
=0 (9.9)
(9.10)
RzB ∙ lобщ +Fr1∙l1-F01
=0 (9.11)
(9.12)
RzA + Fr1 -RzA = 0 -644,7
+880,0 - 235,3 = 0
Наибольший изгибающий момент в
горизонтальной плоскости в сечении А,1-1:
Mу 1-1лев. =
(9.13)
Mу 1-1лев. =
Му 1-1пр. =
(9.14)
Му 1-1пр =
Суммарные радиальные реакции
подшипников для опор:
=
(9.15)
=
=
(9.16)
=
Наиболее нагружен подшипник А
Эпюра нагружения быстроходного вала
Рисунок 4- Схема для расчета быстроходного вала
9.2 Расчет тихоходного вала
Построим эпюры напряжения вала, рассмотрим силы,
действующие в двух плоскостях.
Из предыдущего расчета имеет величину сил,
действующих на тихоход-ный вал. Определим опорные реакции с учетом Fk.
Ft2 = 2417,2Н
Fr2 = 880,0H
Fа2 = 1324,8H
Принимаем для опор вала роликовый конический
однорядные подшипник средней серии 7903
Смещение точки приложения радиальной реакции
относительно торца
при значениях: Т=27,25мм, d=45,0мм,
D=100,0мм, e=0,28-
взяты из таблица П.10
а1=27,25/2+[(45,0+100,0)/6]0,28 = 20,4мм
Расстояние между точками приложения активных и
реактивных сил
l1=l2=55,0мм.
L3=100мм. Lоб=110,0мм
Зубчатое колесо расположено на валу симметрично
относительно опор подшипника.
Находим опорные реакции вала от нагрузки в
зацеплении. В вертикальной плоскости в силу симметрии имеем :
å Тz
= 0 RуA
= Rув=Ft2
/2
RуA
= Rув=2417,2 /2 =
1208,6H
RуA-
Ft2+Rув=0
1208,6-2417,2+1208,6=0
Изгибающий момент в вертикальной плоскости:
Мz
1-1 = RyА «
l1 /1000= 1208,6 «55,0
/1000 =66,5Н«м
В горизонтальной плоскости:
å Ту = 0 RzA
« lобщ
-Fr2 «
l1- Fа2d2/2
= 0
RzA = (Fr2«
l1 + Fа2d2/2
)/ lобщ
RzA =(880,0«
55 +1324,8«55,0/2 )/ 110,0= 771,2 Н
RzВ «
lобщ - Fr1
« l1+
Fа2d2/2
= 0Rzв = (Fr2«
l1 - Fа2d2/2
)/ lобщ
Rzв = (880,0«55
- 1321,8«55,0/2 )/ 110,0 =108,2Н
Проверка ∑Y=
RzA- Fr1+
Rzв
771,2-880,0+108,8=0
Изгибающий момент в вертикальной плоскости:
Му.лев 1-1 = RzА
« l1
/1000= 771,2 «55,0 /1000 = 42,4Н«м
Му.пр 1-1 = RzВ
« l1
/1000=108,8 «55,0 /1000 = 5,98Н«м
Суммарная радиальная реакция подшипников для
опоры А :
RA =
RA =
опоры В:
RB=
=
Опорные реакции от опорной нагрузки,
вызываемые муфтой:
å ТмВ = 0 Rма∙lобщ -Fм ∙( l3+ lобщ) = 0
(9.17)
Rма= Fм
∙( l3+ lобщ
)/ lобщ (9.18)
Rма= 155,6 ∙(
100,0+110,0 )/ 110,0 = 297,1Н
å ТмВ = 0 RмВ∙lобщ
-Fм ∙l3
= 0 (9.19)
Rмв= Fм
∙l3/lобщ
(9.20)
RмВ =155,6∙100,0/110,0=141,5Н
Fм+ RмA
- Rмв = 0 -155,6+297,1
-141,5=0
Изгибающий момент от действия муфты:
М а-а = - FM
« l3
/1000= -155,6 «100,0 /1000 = -15,6Н«м
М 1-1 = - RzВ
« l2
/1000= -141,5 «55,0 /1000 = -7,8Н«м
Суммарные опорные реакции ведущего вала от
нагрузки в зацеплении и муфты.
Рассмотрим худший случай:
Fra=Ra+Rмa
(9.21)
Fra
=1433,7+297,1=1730,8Н
Frв =Rв
+Rмв (9.22)
Frв
=1213,4+141,5=1354,9Н
Наибольший эквивалентный момент возникающий в
сечении 1-1:
Мэ1-1=
(9.23)
Мэ2-2=
Наибольшее допустимое напряжение
вала [sиз ],Мпа,
при несимметричной нагрузке:
[st
] = 750 МПа, принимаем S = 3,0 [sиз ]1 = 750 / 3,0 =250 МПа
[уиз ]1 / [ уиз ] = 3,8/1 [sиз ] = 250/3,8 =65,8 МПа
Расчетный диаметр вала:
d=
(9.24)
d=
< 55,0мм
Выбранный диаметр вала больше
расчетного 36,7мм < 55,0мм.
Эпюра нагружения тихоходного вала
Рисунок 5- Схема для расчета тихоходного вала
10. Тепловой расчет редуктора
Тепловой расчет редуктора производим по формуле
5.32 [4,с.495]. Определим площадь поверхности охлаждения по таблице 5.15[4,c.198].
При аw=160мм
А=0,54м2
Определяем мощность на червяке по формуле (1.1)
Р1=Р3/(зп2∙зч.п) (10.1)
Р1=8,1152/(0,992∙0,91)=9,0989кВт
Коэффициент теплоотдачи для чугунного корпуса
при естественном охлаж-дении принимаем Кt=8……17Вт/(м2∙0С)
Рабочая температура масла
tм=tв+(1-зред)P1/(KtA)
(10.2)
где tм=
температура масло,0С;
tв= температура
воздуха,0С.
tм=20+(1-0,91)9098,9/(17,0∙0,54)=109,20С
Принимаем для охлаждения редуктора авиационное
масло, у которого допускаемое значение tм.доп.
=100..1200С
11. Расчет шпоночных соединений
Для закрепления на валах деталей, передающих
момент вращения, с детали на вал и наоборот используем соединения шпоночные.
Шпонка призматическая со скругленными торцами.
Материал шпонки- сталь 45 нормализованная.
В зависимости от диаметра вала выбирают
поперечное сечение шпонки.
Длина шпонки обычно на 5….10 мм короче ширины
ступицы.
[ s ]см для чугуна 50
…60 МПа
[ s ]см для стали 100
… 120 МПа
Выбранную шпонку проверяем на смятие по формуле
7.2[4,c.252]:
sсм
=
(11.1)
где b - ширина
сечения шпонки,мм;
d - диаметр
вала в месте установки шпонки,мм;
h - высота
сечения шпонки,мм;
t1 - высота
шпонки в вал,мм;
lр - рабочая
длина шпонки,мм.
lр = [ l - ( 5 ¸ 10 ) ] - b (11.2)
Рисунок 6- Эскиз шпоночного
соединения
Расчет шпонки на тихоходном валу :
d=55,0мм b =16,0мм h=10,0мм t1=5,5мм
lр={75,0
-(5-10)}-16,0=24,0мм
sсм
=
Условие прочности для тихоходного
вала выполнено.
sсм
≤[ sсм] 104,2МПа
≤ 120,0МПа
Расчет шпонки на быстроходном валу
для шкива ременной передачи:
d=30,0мм b =10,0мм h=8,0мм t1=5,0мм
lр={40,0
-(5-10)}-10,0=20,0мм
sсм
=
sсм
≤ [ sсм] 47,2МПа ≤
50,0МПа
Условие прочности для шкива
выполнено.
Расчет шпонки на тихоходном валу для
муфты:
Принимаем для крепления муфты шпонку
с прямыми торцами.
d=40,0мм b =12,0мм h=8,0мм t1=5,0мм
lр=56,0 -10,0
= 46,0мм
sсм
=
Условие прочности для вала
выполнено:
sсм
≤[ sсм] 112,1МПа
≤ 120,0МПа
Таблица3- Расчетные данные шпоночных
соединений
|
Соединение
|
dмм
|
bмм
|
hмм
|
t1мм
|
lp мм
|
усм,МПа
|
|
Червячное
колесо
|
55,0
|
16,0
|
10,0
|
5,5
|
24,0
|
104,2
|
|
Шкив
ременной передачи на быстроходном валу
|
30,0
|
10,0
|
8,0
|
5,0
|
20,0
|
47,2
|
|
Муфта
на тихоходном валу
|
40
|
12
|
8
|
55
|
46
|
112,1
|
12. Назначение смазочных материалов для
элементов привода
Для червячных редукторов с окружной скоростью v
≤10м/с,
используется картерный метод смазки.
Уровень масла в картер редуктора определим по
формуле [4,c.332]
h=(0,2 …0,5)dа1
(12.1)
h = (0,2 …0,5)64 =
(12,8…32,0)мм
Объём масляных ванн принимают таким, чтобы
обеспечить отвод выделяющихся в зацеплении теплоты к стенкам корпуса согласно
формуле [4,с.333]
u = (0,6 ¸ 1,0)∙Рэл.
дв. (12.2)
u = (0,6¸1,0)∙ 11,0 =
(6,6 -11,0)литра
принимаем u = 8,0 литров.
Определим вязкость масла и марку по таблице 8.2
[ 2,с. 173 ]
Выбираем масло вязкостью 20∙10-6 м2/с
Марка масла для смазки зубчатой передачи
Авиационное МС-20.
Для защиты подшипников от излишнего попадания
масло предус-матриваем установку маслоотбойных шайб.
Для удобства обслуживания, смазка подшипников
ведущего вала будет осу-ществляться масляным туманом.
Смазку подшипников ведомого вала будем
осуществлять пластичной смаз-кой.
13. Проверка долговечности подшипников
.1 Проверка ранее назначенных подшипников
быстроходного вала
Для быстроходного вала приняли подшипники 7307.
Исходные данные: Ra=979,8H;
Rв=859,5H;
Fа1=2417,2H;
Сr=54,0кН e=0,32
; Y=1,88
При установке подшипников враспор осевые
составляющие по формуле 7.21 [4]:
FaА =0,83e
Ra (13.1)
FaА =0,83·0,32·1225,6=325,5Н
FaВ =0.83·е·
Rв (13.2)
FaВ =0,83·0,32·
1078,1 =286,3Н
Поскольку сумма всех сил, действующих на опору
А, положительная[4]:
Fa1+ FaВ
- FaА>0 (13.3)
,2+286,3-325,5 = 2378,0Н > 0
Расчетная осевая сила для опоры А[4]:
FaА= Fa1+
FaВ (13.4)
FaА’
=2417,2+286,3 = 2703,5Н
Расчетная осевая сила для опоры В[4]:
FaА- Fa1-
FaВ= 325,5-2417,2
-286,3=- 2393,5Н (13.5)
Поэтому FaВ’=
FaВ =286,3Н.
Расчет ведем для наиболее нагруженного
подшипника,А:
Т.к. FaА’/
FrА=2703,5/1225,6=2,20>e=0,32
(13.6)
то Х=0,4, Y=1,88
Эквивалентная динамическая нагрузка по формуле
7.14[4]:
RE =(X·V·RВ+Y·F’aА)
)∙Ks∙Kt
(13.7)
где Х, У- коэффициенты приведения реакции в
опорах к эквивалентной нагрузке; u - коэффициент
кольца при вращении внутреннего кольца, u = 1;
Rt
- радиальная сила,Н;
R0 - осевая сила,Н; s
- коэффициент безопасности [4,c.
270],Ks
= 1,1-1,2;
Кt - коэффициент учитывающий
влияние температуры [5.C.
271],Kt
= 1.
RE =(0,4·1·1225,6+1,88·2703,5)
)∙1,1∙1= (490,2+ 5082,6)=6130,1Н
Базовый ресурс подшипника по формуле 7.17[4]:
Lh=
(13.8)
где m -
показатель степени для роликовых подшипников m = 10/3
Lh=
Базовый ресурс подшипника 7307
меньше требуемого, следовательно выбранный подшипник не подходит 11679,5ч <
19000ч.
Подберем подшипник по динамической
грузоподъемности .
Динамическую грузоподъёмность определяется
по формуле[2,с.85]:
Стр. = RE ∙
(13.9)
Стр. = 6130,1 ∙ 10/3
Принимаем подшипник 7407, определим
его ресурс.
Lh=
Базовый ресурс подшипника 7607
больше требуемого, следовательно, подшипник выбран правильно 36446,9ч >
19000ч
.2 Проверка ранее назначенных
подшипников тихоходного вала
Для тихоходного вала приняли
подшипник7309.
Исходные данные Fra=1730,8H; Frв=1354,9H, Fа1=1328,1H; Сr=83,0кН e=0,28 ; Y=2,16
Определим осевую составляющую при
установке подшипников враспор:
FaА =0,83·0,28·1730,8
= 402,2Н
Поскольку сумма всех сил,
действующих на опору А, положительная:
,9+314,9-402,2=1241,6Н > 0
Расчетная осевая сила для опоры А:
FaА’
=1328,9+314,9=1643,8Н
Расчетная осевая сила для опоры В:
FaА- Fa1- FaВ=
402,2-1328,9-314,9=-1241,6H<0
Поэтому FaВ’= FaВ=314,9Н
Расчет ведем для наиболее
нагруженного подшипника:
Т.к. FaА’/ FrА=1643,8/1730,8=
0,95>e=0,28
то Х=0,4, Y=2,16
Эквивалентная динамическая нагрузка:
RE =(0,4·1·1730,8
+ 2,16·1643,8) )∙1,1∙1=4667,2H
Базовый ресурс подшипника:
Lh=
Базовый ресурс подшипника 7309 намного
больше требуемого,
Подберем подшипник по динамической
грузоподъемности:
Стр. = 4667,2 ∙ 10/3
=25446,0Н=25,4кН
Lh=
Принимаем подшипник шариковый
радиальный однорядный 209, имеющий Сr=33,2кН
По требуемой грузоподъемности
принятый подшипник 209 проходит
Сф > Сфт 33,2кН > 25,5кН
Таблица 3 Расчетные данные
|
Вал
|
№
|
d,мм
|
D,мм
|
В,мм
|
R,мм
|
Cф,
кН
|
Lhч
|
|
быстроходный
|
7607
|
35,0
|
80
|
31,0
|
2,5
|
76,0
|
36446,9
|
|
тихоходный
|
209
|
45,0
|
85,0
|
19,0
|
2,0
|
33,2
|
23996,8
|
14. Проверочный расчет валов редуктора
14.1 Расчет на прочность ведущего вала
Ведущий вал- червяк редуктора нет необходимости
проверять на прочность, так как минимальный диаметр d,
определенный из условия прочности при кручении, был увеличен от 25,0мм до
30,0мм по соображениям конструирования. На этот вал действует сравнительно
небольшая консольная нагрузка.
Проверим червяк на жесткость.
Приведенный момент инерции сечения червяка по
формуле 8.8[3,c.313]:
Jпр=
(14.1)
где Jпр-
приведенный момент инерции ,мм4;
Jпр=
Прогиб в среднем сечении червяка по
формуле 8.7[3,c.313]
f=
(14.2)
где lобщ-
расстояние между опорами червяка,мм;
Ft1 - окружная
сила,Н∙м;
Fr1 -
радиальная сила,Н∙м;
Е - модуль упругости для стали, Е=2,1∙ 105
МПа;
f=(248)3
=0,0082мм
Допустимый прогиб [f]:
[f]=(0,005…0,001)m (14.3)
[f]=(0,005…0,01)8,0=(0,04-0,08)
Жесткость червяка обеспечена, так как f<[f],
0,0082мм<(0,040….0,08)мм.
.2 Расчет ведомого вала на сопротивление
усталости
Проверочный расчёт ведомого (тихоходного) вала,
в качестве опасного сечения рассмотрим сечение 1-1.
Миз =
(14.4)
Миз =
Т3 = 309,4Н «м
Принимаем материал тихоходного вала сталь 45 по
таблице 7.1[4,с.242]:
НВ = 180,0 , sb
=600 МПа, sт = 320 МПа, tt =280 МПа, s-1
= 250 МПа,
t-1 = 150 МПа, ys = 0,05, yt
= 0
Определим КsD,
КtD
- коэффициенты снижения предела выносливости из формулы 8.4[4,с.309]:
КsD
= (Кs
/ Кd + КF -1 ) «
Кu
(14.5)
КtD
= (Кt
/ Кd + КF - 1 ) « Кu
(14.6)
где Кt , Кs
-эффективные коэффициенты концентраций и напряжений из таблицы 8.15[4,c.310],
Кs = 1,9 Кt
= 1,7;
Кd
- коэффициент, учитывающий влияние абсолютного размера поперечного сечения из
таблицы 8.17[4,с.310],Кd
= 0,81;
КF - коэффициент, влияющий на шероховатости
поверхности из таблицы 8.18[4,с.310], КF = 1,07;
Кu - коэффициент, влияющий
на поверхностное упрочнение из таблицы 8.19[4,с.310], Кu
= 1;
КsD
= ( 1,9 /0,81 + 1,07 - 1) « 1 = 2,42
КtD
= (1,7 /0,81 + 1,07 - 1) « 1 = 2,10
Определим коэффициент запаса прочности по :
нормальному напряжению из формулы 8.2[4,с.309]
Ss
= s-1 / КsD
« sa
+ ya
« sm
(14.7)
где sa = МU
/ wос (14.8)
sm
= 0
wос - осевой момент,
по таблице 8.21[4,c.312];
wос = 0,1«
d3 - [b«t
«
( d - t
)2 / 2«d
] (14.9)
wос = 0,1«553
- [ 16«6,0«
( 55 - 6,0 )2 / 2«55 ] =14542,1мм
sa = 79,25«103
/ 14542,1 = 5,45 МПа
Ss
= 250 / 2,42 « 5,45= 18,9
и касательному напряжению из формулы
8.3[4,с.309];
St
= t -1 / КtD
«
ta
+ Yt
«
tm
(14.10)
где ta = tm
= tmax
/ 2 = Mk / 2 «
wp (14.11)
wр-ролярный момент,
по таблице 8.21[4,c.312];
wр = 0,2«
d3 - [b«t
«
( d - t
)2 / 2«d
] (14.12)
wp = 0,2 «
553 - [ 16 « 6,0«
(55 - 6,0)2 / 2 « 55 ] = 31179,6мм
ta =309,4 « 103 / 2 «31179,6
= 4,96 МПа
St
= 150 / (2,10 «4,96 + 0 «4,96)
= 14,4
Коэффициент запаса прочности из формулы 8.1[4,c.309];
S =
(14.13)
где [ S ] = 1,2
….2,5
S =
Вывод: Прочность вала в выбранном
сечении при постоянной нагрузке обеспечена. Расчетная прочность вала превышает
допустимое значение в четыре раза, но в расчете приняли вал из стали 45 с минимальным
пределом выносливости. Следовательно, выбранный тихоходный вал оставляем.
15. Выбор посадки основных деталей
редуктора
Посадку назначаем согласно данным
таблицы 8.1[3,c.169]
Червячное колёсо Н7/р6
Внутренние кольца подшипников
качения на валу LO/ k6
Наружные кольца подшипников качения
в корпус Н7/lO
Крышки торцовые узлов на подшипниках качения H7/h8
Стаканы под подшипники качения в корпусе,
распорные втулки H7/h6
Шкивы H7/h6
Муфта H7/m6
16. Сборка редуктора
Перед сборкой внутреннюю полость
корпуса тщательно очищают и покрывают маслостойкой краской. Сборку редуктора
производят в соответствии с чертежом общего вида. Начинают сборку с того, что
на червячный вал устанавливаем в обеих сторон отбойники, надевают роликовые
конические однорядные подшипники, предварительно нагрев их в масле до 80-100°
С. Собранный червячный вал вставляют в корпус.
Вначале сборки вала червячного
колеса закладывают шпонку и напрессовывают колесо до упора в бурт вала; затем
надевают распорную втулку и устанавливают маслоотбойники, подшипники шариковые
радиальные предварительно нагретые в масле. Собранный вал укладывают в
основание корпуса и надевают крышку корпуса, покрывая предварительно
поверхности стыка фланцев спиртовым лаком. Крышку затягивают болты.
Закладывают в подшипниковые
сквозные крышки резиновые манжеты, пластичную смазку и устанавливают крышки с
прокладками.
Ввертывают пробку
маслоспускного отверстия с прокладкой и маслоуказатель. Заливают в редуктор
масло и закрывают смотровое отверстие крышкой с отдушиной.
Собранный редуктор обкатывают и
испытывают на стенде в соответствии с техническими условиями.
17. Смазка зацепления и подшипников редуктора
Для червячных редукторов с окружной скоростью v
≤10м/с,
используется картерный метод смазки.
Уровень масла в картер редуктора определим по
формуле [3,c.32]
h=(0.2 …0.5)dа1
h=(0.2
…0.5)138.6=(27.7….69.25)мм
Объём масляных ванн принимают таким, чтобы
обеспечить отвод выделяющихся в зацеплении теплоты к стенкам корпуса согласно
формуле
[3,с. 333]
u = (0,6 ¸ 1,0)∙Рэл.
дв. (14.2)
u = (0,6¸1,0)∙ 5,5,0
=(3,3 - 5,5)кВт
принимаем u = 4,0 литра
Определим вязкость масла и марку по таблице 8.2
[ 2,с. 173 ]
Выбираем масло вязкостью 20∙10-6 м2/с
Марка масла для смазки зубчатой передачи
Авиационное МС-20.
Смазку подшипников шариковых радиально-упорные
однорядные будет осуществляться масляным туманом. Для защиты подшипников от
излишнего попадания масло предусматриваем установку маслоотбойных шайб.
Список литературы
привод шнековый холодильник передача
1. Дунаев П.Ф, Леликов О.П.
Конструирование узлов и деталей машин.- М.: Высшая школа. 2001.
2. Миловидов С.С. Детали машин
и приборов. Учебное пособие для втузов. - М.: Высшая школа.1971.
. Чернавский С.А.Курсовое
проектирование деталей машин.- М.:Машиностроение,1979.
. Чернилевский Д.В. Детали
машин. Проектирование приводов технологического оборудования. - М:
Машиностроение 2002.