Проектирование экскаватора ЭО-2621 А

  • Вид работы:
    Курсовая работа (т)
  • Предмет:
    Другое
  • Язык:
    Русский
    ,
    Формат файла:
    MS Word
    380,63 Кб
  • Опубликовано:
    2014-01-23
Вы можете узнать стоимость помощи в написании студенческой работы.
Помощь в написании работы, которую точно примут!

Проектирование экскаватора ЭО-2621 А

Содержание

Введение

. Общая часть

.1 Назначение и область применения

.2 Патентный анализ

. Общий расчёт

.1 Выбор и обоснование главных параметров

.2 Расчёт гидросистемы

.3 Тяговый расчёт

.4 Баланс мощности

.5 Расчёт устойчивости

. Метрология и стандартизация

. Экономический раздел

.1 Расчет сметной стоимости машино-часа

.1.1 Принципы расчета стоимости машино-часа эксплуатации машин, механизмов и оборудования

.1.2 Годовой эксплуатационный фонд рабочего времени

.1.3 Расчет амортизационных отчислений

.1.4 Затраты на оплату труда рабочих, управляющих машиной

.1.5 Расчет затрат на энергоносители и сопутствующие материалы

.1.6 Затраты на техническое обслуживание техники

.1.7 Затраты на перебазировку техники

.1.8 Накладные расходы на плановые накопления

.1.9 Налоги, отчисления и определение планово-расчетной стоимости

.2 Расчёт стоимости одного метра кубического разработки грунта

.3 Расчет экономической эффективности и срока окупаемости разрабатываемой системы

Список использованных источников

Введение

Важнейшим направлением развития строительно-дорожного машиностроения является повышение производительности машин, в том числе за счет роста их типоразмеров и мощности. Масса металлоконструкции строительно-дорожных и подъемно-транспортных машин (СД и ПТМ) значительна и в некоторых случаях достигает 40% массы машины. Во всех случаях проектирования металлоконструкций конструктора сталкиваются с задачей экономии металла при обеспечении достаточной прочности, надежности и долговечности всей конструкции в целом. В мобильных машинах экономия металла приводит к экономии энергоресурсов, так как снижается сопротивление перемещению машин, что в настоящее время весьма актуально из-за высоких цен на топливо, удельная стоимость которого в стоимости продукции иногда достигает 60%. Важной задачей перед эксплуатационниками, из-за низкого обновления техники, стала задача продления срока службы старых металлоконструкций. Решение этих проблем требует нового подхода к проектированию и поиску новых эффективных, оригинальных технических решений.

Машины для землеройных работ работают в сложных условиях связанных с высокой степенью нагруженности, они постоянно находятся под воздействием как статических (собственный вес, вес материала) нагрузок, так и динамических возникающих при передвижении машины по неровной опорной поверхности и при взаимодействии рабочего оборудования с обрабатываемой средой. Поэтому одним из подходов для повышения надёжности машины и продления её срока службы является применение систем разгрузки. Эти системы позволяют обеспечить снижение динамической нагруженности, как при статическом, так и при динамическом нагружении машины. Это в свою очередь ведёт к увеличению усталостной прочности, а значит и к повышению срока эксплуатации машины.

Именно целью разработки такой системы для экскаватора второй размерной и является тема данного курсового проекта. Систему разгрузки предстоит разработать для наиболее нагруженного элемента рабочего оборудования экскаватора, коим является стрела.

1. Общая часть

.1 Назначение и область применения

Одноковшовый экскаватор является основной землеройной машиной в строительстве. Этими машинами выполняется около половины объёмов земляных работ. Их используют при строительстве промышленных и гражданских зданий и сооружений, автомобильных и железных дорог, аэродромов, гидротехнических систем и нефтепроводов, в карьерах при добыче строительных материалов и других полезных ископаемых. С их помощью отрывают котлованы, траншеи, каналы, а так же разрабатывают выемки и насыпи и отделывают откосы и стенки.

Рисунок 1.1 - Экскаватор ЭО-2621

Для механизации земляных и погрузочных работ небольших объемов выпускают гидравлические экскаваторы 2-й размерной группы, которые монтируют на пневмоколесных тракторах ЮМЗ-6КМ. Экскаватор ЭО-2621А предназначен для разработки грунтов I-III категорий и погрузки сыпу­чих и мелкодробленых материалов. Машина имеет два вида рабочего оборудования: экскаваторное и бульдозерное.

Основным рабочим органом экскаваторного оборудования является унифицированный ковш прямой и обратной лопат вместимостью 0,25 м3. Кроме того, экскаватор может быть оснащен по специальному за­казу погрузочным ковшом емкостью 0,5 м3, крановой подвеской, вилами, обо­рудованием грейфера и обратной лопаты со смещенной осью копания.

Ковшом обратной лопаты отрывают не большие котлованы, ямы с отвесными стенками, траншеи для подземных коммуникаций, неглубокие каналы оросительных систем.

В передней части трактора устанавливают бульдозерное оборудование, которое используют для засыпки траншей, очистки дорог от снега, сгребания строительного мусора. Его можно применять для работы с грунтами до II категории включительно.

С помощью гидроцилиндра 2 отвал 7 может быть установлен на разной высоте. Кроме основного назна­чения отвал выполняет также и роль противовеса. Для повышения устойчивости экскаватора в работе используют выносные опоры 20, которые крепят к раме 8. С помощью двух гидроцилиндров 22 опоры могут быть опущены на грунт или во время движения машины подняты вверх. На раме 8 смонтированы также поворотная колонна 27 и механизм 12 поворота экскавационного рабочего оборудования, состоящего из стрелы 18, рукояти 14 и ковша 16. Каждым из этих узлов управ­ляют с помощью одного (стрела и ковш) или двух гидроцилиндров (рукоять).

Жидкость к гидроцилиндрам 13, 15 и 17 подают под давлением от насосной установки 7. Запас рабочей жидкости для гидросистемы находится в баке 6. Машиной управляют путем перемещения золотников гидрораспределителей 11. Сиденье 10 машиниста может быть повернуто на 180°. При одном его положении машинист управляет трактором во время передвиже­ния, а при другом - работой экскаватора. Для удобства обслуживания топливный бак 4 вынесен в переднюю часть трактора. Замену рабочего оборудования машинист может выполнить в течение часа с помощью крана грузоподъемностью не менее 0,25 т. При отсутствии подъемных средств для перемонтажа необходимо участие второго рабочего.

Гидросистема навесных экскаваторов значительно отличается от гидросистемы полноповоротных одноковшовых экскаваторов. Для навесных экскаваторов обычно применяют более простые двухпоточные схемы с нерегулируемыми насосами.

Принципиальная гидравлическая схема навесного экскаватора 30-2126А (рис.1.2) включает гидробак 1, нерегулируемые насосы 2 и 3, секционные распределители 4 и 5, моноблочный распределитель 6, гидроцилиндр 7 подъема и опускания: стрелы, гидроцилиндр 9 рукояти, гидроцилиндры 10 рабочего оборудования, гидроцилиндры 11 и 12 выносных опор, гидроцилиндр 13 подъема и опускания бульдозерного отвала. Кроме того, в гидросистему входят контрольно-регулирующие агрегаты: коробка 14 предохранительных (вторичных) и подпиточных клапанов, вентиль 15, обратный клапан 16, гидрозамки 17, дроссель с обратным клапаном 18, манометры 19, датчик температуры 20. На сливной линии установлен фильтр 21 с переливным золотником.

Рисунок 1.2 - Гидравлическая схема экскаватора ЭО-2621

От насоса 2 рабочая жидкость поступает к распределителю 4, который управляет гидроцилиндрами рабочего оборудования экскаватора. В напорной секции распределителей вмонтированы предохранительные (первичные) и обратные клапаны. Предохранительные клапаны служат для предотвращения перегрузок в напорных линиях, обратные - для исключения включения золотника. В поршневой и штоковой линиях гидроцилиндра стрелы 7 установлена коробка предохранительных и подпиточных клапанов во избежание динамических перегрузок и кавитационного режима работы главного гидроцилиндра.

С целью сокращения длительности цикла в гидросистеме предусмотрено объединение потоков жидкости при подаче её в гидроцилиндр стрелы 7. Объединение потока осуществляется одновременным включением золотников А и Г распределителей 4 и 5. В штоковой линии гидроцилиндра подъема и опускания отвала 13 установлен дроссель с, обратным клапаном 18, который предназначен для уменьшения скорости опускания отвала и избежания падения его при разрушении трубопровода. Гидрозамки 17 исключают утечку жидкости из поршневых полостей гидроцилиндров выносных опор 11 и 12, чем обеспечивают сохранение устойчивого положения экскаватора в период копания. Последовательно с распределителем 5 в напорную линию насоса 3 присоединен распределитель 6, который управляет вспомогательными гидроцилиндрами привода выносных опор и отвала бульдозера. Эти гидроцилиндры могут быть соединены с напорной линией насоса 3 только в том случае, когда золотники Г распределителя 5 находятся в нейтральном положении.

В поршневых полостях гидроцилиндров 10 предусмотрены демпферные устройства, которые обеспечивают торможение в конце хода при повороте колонки с рабочим оборудованием. Для исключения динамических нагрузок в начале поворота и при торможении колонки в линии золотника Д распределителя 5 вмонтированы перепускные клапаны. Согласованность движения гидроцилиндров 10 достигается за счет периодической подпитки штоковых полостей при включении гидроцилиндров поворота рукояти через вентиль 15 и обратный клапан 16.

Для контроля за режимом работы гидропривода экскаватора в напорных линиях насосов и объединенной сливной линии установлены манометры 19, а в баке - датчик дистанционного термометра 20.

2. Общий расчёт

.1 Выбор и обоснование главных параметров

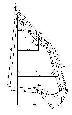
Основными параметрами являются: размеры базовой части экскаватора, параметры рабочих зон, линейные размеры и массы рабочего оборудования.

Основные размеры экскаваторных движителей назначают из условий обеспечения их передвижения в заданных режимах, а так же устойчивости при экскавации грунта. Для пневмоколёсных движителей основными размерами являются его база L и K, ширина колёс В (Рис. 2.1).

LK

                                                                     В

Рисунок 2.1 - Схема базовой машины

Проектируемой машиной является экскаватор второй размерной группы, а их конструктивной особенностью является то, что они монтируются на пневмоколёсных тракторах ЮМЗ-6К, поэтому основные размеры движителя принимаем по технической характеристике базовой машины: =2,45 м;

К=1,6 м;

В=0,4 м.

Расчёт остальных параметров производим на основании рекомендаций [6] по равенству:

, (2.1)

где А - искомый размер, м;

 - коэффициент (табл. 2.17, [6]);

 - коэффициент вариации (табл. 2.17, [6]);- база машины, м.

Результаты расчётов заносим в таблицу 2.1. Размеры показаны на рисунке 2.2.

Таблица 2.1 - Размеры элементов рабочего оборудования

Параметр

Обозначение по рис. 3.2

Коэффициент Коэффициент Размер, м



Длина рукояти

rp

1,39

0,34

1,8

Длина стрелы

rc

2,62

0,55

2,6

Радиус ковша

0,89

0,4

1,1

Высота пяты стрелы

y1

1,22

0,5

0,7

Высота шарнира цилиндра поворота стрелы

y2

0,93

0,3

1,3

Расстояние от пяты стрелы до шарнира штока цилиндра стрелы

l1

1,5

0,35

2,1

Расстояние от шарнира штока цилиндра стрелы до шарнира поворота рукояти

l2

0,32

0,48

0,55

Длина консоли рукояти

l3

0,39

0,58

0,6

Расстояние между шарнирами

l4

0,2

0,47

0,25

Расстояние между шарнирами

l5

0,35

0,54

0,5

Расстояние между шарнирами

l6

0,35

0,26

0,5

Расстояние между шарнирами

l7

0,27

0,26

0,35

Расстояние от пяты стрелы до шарнира цилиндра рукояти

l8

0,7

0,38

0,95


Рисунок 2.2 - Конструктивная схема экскаваторного оборудования

Массу ковша находим в зависимости от его вместимости (Табл. 2.12, [6]):

(2.2)

где V - вместимость ковша, ориентировочно принимаем 0,25 м3 (Рис. 11.11, [3]).

 т

Принимаем mk=200 кг.

Массы рукояти и стрелы выбирают в зависимости от массы ковша (Табл. 2.13, [6]).

Масса стрелы:

 т

Принимаем mс=120 кг.

Масса рукояти:

 т

Принимаем mр=110 кг.

Кинематическую длину ковша определяют через радиус, описываемый при повороте ковша режущими кромками зубьев, который согласна действующему отраслевому стандарту вычисляется в зависимости от вместимости q (м3):

 м(2.3)

Принимаем Rк=1,1 м.

С учётом износа зубьев, в среднем равного  от предельного износа,  м.(2.4)

.2 Расчёт гидросистемы

.2.1 Расчёт усилий на штоках гидроцилиндров

Усилия, действующие на гидроцилиндры рабочего оборудования можно определить графическим методом. При этом методе составляют уравнения моментов внешних сил и сил веса звеньев, приложенных в центрах тяжести, относительно осей вращения звеньев рабочего оборудования.

Определим усилие на штоке гидроцилиндра стрелы. Гидроцилиндр испытывает наибольшее нагружение, когда стрела максимально опущена, рукоять вытянута, а ковш наполнен грунтом (Рис. 2.3). В данном случае гидроцилиндр работает на втягивание.

Составим уравнение моментов относительно точки О:

,

 (2.5)

Выражая Рцс (усилие на штоке гидроцилиндра стрелы), получаем:

,

где Gс, Gцс, Gцр, Gр, Gцк, Gк+г - веса элементов рабочего оборудования, причём Gк+г - вес ковша с грунтом, кН;

а1, … , а9 - плечи действия соответствующих сил, м;

Р01 - касательная составляющая сопротивления грунта копанию, кН;

Р02 - нормальная составляющая сопротивления грунта копанию, кН.

Касательная составляющая определяется по формуле (1.122, [1]):

, кн,(2.6)

где b - ширина режущей части ковша, м;- толщина стружки, м;уд - удельная сила копания, Н/м2.

Ширину режущей чисти ковша определим по формуле (1.123, [1]):

, м (2.7)

где q - вместимость ковша, м3.

 м

Согласно рекомендациям [1] максимальная толщина стружки равна (0,25…0,3)b.

=(0,25…0,3)0.65=0,16…0,19 м

Принимаем h=0,17 м.

Удельная сила копания для III-ей категории грунтов 160…280 кН/м2 (Табл. 3.1, [3]). Для расчётов примем kуд=200 кН/м2.

Рисунок 2.3 - Расчётная схема для расчёта усилия в гидроцилиндре стрелы

Определяем Р01:

 кН

По рекомендациям Холодова нормальную составляющую сопротивления грунта копанию можно принимать равной:

Р02=0,1.Р01=0,1.22,1=2,21 кН  (2.8)

 кН

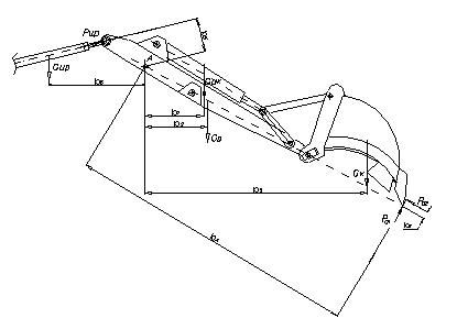
Рассчитаем усилие на штоке гидроцилиндров рукояти. Наибольшая нагрузка действующая на шток гидроцилиндра возникает при копании рукоятью (зубья ковша лежат на продолжении рукояти), когда шток гидроцилиндра полностью втянут (Рис. 2.4).

Рисунок 2.4 - Расчётная схема для расчёта усилия в гидроцилиндре рукояти

Составим уравнение моментов относительно точки А:

,

(2.9)

Выражая Рцс (усилие на штоке гидроцилиндра стрелы), получаем:

,

где b1, … , b6 - плечи действия соответствующих сил, м;- количество гидроцилиндров рукояти (z=2).

Подставляя значения, получаем :

 кН

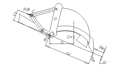
Определим усилие на штоке гидроцилиндра ковша. Данный расчёт производится в два этапа: находим усилие (Рзв) в тяге CD (Рис. 2.5), составляя уравнение относительно точки В; составляя уравнение моментов относительно точки А (Рис. 2.6), находим усилие на штоке гидроцилиндра (Рцк).

,

(2.10)

Выражая Рзв, получаем:

,

где с1,с2,с3 - плечи действия сил

 кН

Рисунок 2.5 - Расчетная схема для определения усилия в тяге CD

Найдём усилие на штоке гидроцилиндра:

,

(2.11)

Выражая Рцк, получаем:

,

где с4,с25 - плечи действия сил

 кН

Рисунок 2.6 - Расчетная схема для расчёта усилия в гидроцилиндре ковша

Расчёт усилия на штоках гидроцилиндров поворота произведём исходя из потерь возникающих в подшипниках поворотной колоны.

Момент трения в подшипниках можно определить по формуле (50, [4]):

,(2.12)

где μ - коэффициент трения, определяемый в зависимости от типа подшипника, для роликового радиально-упорного конического μ=0,0018 (Табл. 20, [4]);

Р - эквивалентная нагрузка на подшипник, Н;- диаметр отверстия подшипника, мм.

Эквивалентная нагрузка на подшипник равна осевой нагрузке, которая в свою очередь, равна весу рабочего оборудования и грунта:

,(2.13)

где Gро=7 кН - вес рабочего оборудования;гр=5 кН - вес грунта III-ей категории при полном ковше.

 кН

Тогда момент трения равен:

 кН.м

Усилие на штоке гидроцилиндра определим по формуле:

,(2.14)

где r - радиус поворотной звездочки, r=0.2 м.

 кН

Расчёт усилия на штоках гидроцилиндров аутригеров производим из условия вывешивания машины относительно передней оси (Рис. 2.7). На аутригер действует вертикальное усилие Рцв. Найдём Рцв, составив уравнение моментов относительно точки Е. Затем, записав уравнение моментов относительно точки О крепления аутригера (Рис. 2.8), найдем усилие (Рца), действующее на штоке гидроцилиндра. Силу тяжести экскаватора прикладываем в центре масс.

Рисунок 2.7 - Схема расчёта вертикальной силы действующей на гидроцилиндры аутригеров

Уравнение моментов относительно точки Е (Рис. 2.7):

,

(2.15)

Выражая Рцв, получаем:

,

где L1,L2 - плечи действия сил;- вес экскаватора;- число аутригеров (z=2).

 кН

Рисунок 2.8 -Схема расчёта усилия в гидроцилиндре аутригеров

Запишем уравнение моментов относительно точки О (Рис.2.8):

,

,(3.16)

Откуда получаем:

 кН

Произведём расчёт усилия на штоке гидроцилиндра отвала бульдозера. Расчёт производится для двух случаев: из условия вывешивания машины относительно задней оси и из условия поднятия заглублённого отвала при движении (при упоре в непреодолимое препятствие).

Рассмотрим первый случай (Рис. 2.9):

Уравнение моментов относительно точки О:

,

,(3.17)

Откуда

 кН

Составим уравнение моментов относительно точки О1:

,

экскаватор тяговый мощность

Рисунок 2.9 - Схема расчёта усилия на штоке гидроцилиндра отвала (первый расчётный случай)

,(3.18)

Откуда

 кН

Рассмотрим второй случай (Рис. 2.10).

Рисунок 2.10 - Схема расчёта усилия на штоке гидроцилиндра отвала (второй расчётный случай)

Запишем уравнение моментов относительно точки О:

,

,(3.19)

Выражая Рцо, получим:

,

где Р01 - горизонтальная составляющая сопротивления грунта резанию, кН;от - вес бульдозерного оборудования, кН,г - вес поднимаемого грунта, кН;- нормальная составляющая реакции сопротивления грунта, кН;- сила сопротивления сдвигу грунта, поднимаемого с отвалом, относительно грунта остающегося в призме, кН.

Горизонтальная составляющая сопротивления грунта резанию определяется по формуле (1.5, [1]):

,(2.20)

где Gсц - сцепной вес тягача, Н;

φmax -максимальный коэффициент сцепления движителя базовой машины с грунтом: для колёсных движителей φmax=0,8…0,9;

δ -угол резания отвала, град.: δ=50…600;

φ1 - угол трения грунта по стали (угол внешнего трения), град: φ1=350.

Сцепной вес - это вес машины приходящийся на ведущие колеса. Так как у базового трактора ЮМЗ-6К число ведущих колёс равно 2, а вес у неполноприводных машин распределяется в соотношении 60% - на ведущий мост и 40% - на ведомый, то сцепной вес будет равен:сц=0,6G,(2.21)

где G - вес экскаватора, кН (G=61 кН).сц=0,6.61=36,6 кН

Определяем Р01:

 кН

Вес отвала составляет 20…25% от веса трактора. Тогда вес определим по формуле:

,(2.22)

где Gбм - вес базовой машины, кН (согласно технической характеристики Gбм=30 кН).

 кН

Вес поднимаемого грунта определяется по формуле:

,(2.23)

где Fп - площадь поперечного сечения грунта, поднимаемого с отвалом, м2;- длина отвала, м (L=2 м);

γ - плотность грунта, кг/м3, для грунта III-ей категории 1600…2000 кг/м3.

Площадь поперечного сечения грунта определим по формуле:п=0,5Н2,(2.24)

где Н - высота отвала, м (Н=0,6 м).п=0,5.0,62=0,18 м2

Тогда

 кН

Нормальная составляющая сопротивления грунта определяется по формуле:

,(2.25)

Подставляя значения, получим:

 кН

Силу сопротивления грунта сдвигу найдём по формуле:

,(2.26)

где с0 - сцепление грунта при сдвиге, с0=20 кН.м2;- площадь поверхности, по которой происходит сдвиг, м2

Площадь сдвига :

,(2.27)

 м2

Сила сопротивления грунта сдвигу:

 кН

Определяем усилие на штоке гидроцилиндра:

 кН

При расчёте гидроцилиндра будем использовать усилие на штоке, рассчитанное при втором случае нагружения.

.2.2 Определение мощности гидропривода и насоса

Полезная мощность гидродвигателя возвратно-поступательного действия (цилиндра) определяется по формуле:

,(2.28)

где Р - усилие на штоке, кН- скорость движения штока, м/с.

Скорость движения штока принимаем равную 0,1 м/с.

Расчёты сводим в таблицу 2.1.

Таблица 2.1 - Расчёт мощности гидродвигателя

Элемент экскаватора

Усилие на штоке, кН

Скорость штока, м/с

Потребная мощность, кВт

Стрела

136,45

0,1

13,65

Рукоять

87,6

0,1

8,76

Ковш

49,8

0,1

4,98

Механизм поворота

7

0,1

0,7

Аутригеры

42,7

0,1

4,27

Отвал

55,25

0,1

5,53

Полезная мощность насоса определяется исходя из мощности гидродвигателя с учётом потерь энергии при её передаче от насоса к гидродвигателю по формуле:

,(2.29)

где kзу - коэффициент запаса по усилию, kзу=1,1…1,2;зс - коэффициент запаса по скорости, kзс=1,1…1,3.

Расчёт мощности насоса ведём по максимальной мощности гидроцилиндров, при чём гидроцилиндры стрелы, рукояти и ковша питаются от одного насоса (первый контур), а поворота, аутригеров и отвала - от другого (второй контур).

Для первого контура, по мощности потребляемой гидроцилиндром стрелы:

 кВт

Для второго контура, по мощности потребляемой гидроцилиндром отвала:


.2.3 Подбор насосов

Определяем подачу и рабочий объём по формулам:

,(2.30)

,(2.31)

где - подача насоса, дм3/с;

- рабочий объём насоса, см3;

 - мощность насоса, кВт;

 - номинальное давление в гидросистеме, Мпа;

 - частота вращения вала насоса, с-1.

Номинальное давление в гидросистеме принимаем стандартное для тракторов ЮМЗ-6К, равное 14 Мпа.

Частоту вращения вала насоса принимаем равной номинальной частоте коленчатого вала двигателя, т.е. =1700 мин-1 (=28 с-1).

Для первого насоса первого контура:

 дм3/с

 см3

По номинальному давлению и рабочему объёму [1] выбираем насос НШ 50А-3, имеющий следующую характеристику:

рабочий объём, см3: 48,8;

давление на выходе, МПа:

номинальное: 16;

максимальное: 20;

частота вращения вала, с-1:

минимальная: 16;

номинальная: 32;

максимальная: 40;

номинальная подача, дм3/с: 1,44;

номинальная потребляемая мощность, кВт: 26,2;

КПД:

полный: 0,82…0,90;

объёмный: 0,92…0,97.

Так как по заданию два насоса первого контура имеют механическую связь между собой, по средствам зубчатой передачи в редукторе отбора мощности, и подача их отличается на коэффициент мультипликации, то подача и рабочий объем второго насоса первого контура будут иметь следующие значения:

 дм3/с

см3

Для насоса второго контура:

 дм3/с

 см3

По номинальному давлению и рабочему объёму [1] выбираем насос НШ 50А-3, (все характеристики описаны выше).

Для второго контура принимаем насос устанавливаемый на базовой машине, т.е. НШ 32-2, имеющий следующую характеристику:

рабочий объём, см3: 31,7;

давление на выходе, МПа:

номинальное: 14;

максимальное: 17,5;

частота вращения вала, с-1:

минимальная: 16;

номинальная: 32;

максимальная: 40;

номинальная подача, дм3/с: 0,93;

номинальная потребляемая мощность, кВт: 17,3;

КПД:

полный: 0,83…0,87;

объёмный: 0,92…0,97;

Данный насос вполне удовлетворяет потребностям гидросистемы (в частности второго контура).

Действительную подачу насоса уточняем по формуле:

,(2.32)

где - действительная подача насоса, дм3/с;

- действительный рабочий объём насоса, дм3;

 - действительная частота вращения вала насоса,  с-1;

 - объёмный КПД насоса, =0,94.

 дм3/с

 дм3/с

.2.4 Определение внутренних диаметров гидролиний, скоростей движения жидкости

Расчёт трубопроводов гидросистемы произведём для гидролинии гидроцилиндра стрелы, так как именно на этом участке имеет место объединение потоков от двух гидронасосов, что требует большей пропускной способности.

Определение скоростей движения жидкости по трубопроводам произведем в соответствии со значениями предельных скоростей, указанными в таблице 2.2

Минимальный внутренний диаметр определяется по формуле:

 ,(2.33)

где QНД1,2 - действительный расход жидкости (суммарная подача насосов), дм3/с;

[V] - допускаемая средняя скорость движения жидкости на участке, м/с.

Допускаемую скорость рабочей жидкости принимаем равной 5 м/с.

Так как насосы при совмещении потоков работают параллельно, то их подачи суммируются:

НД1,2= QНД1+ QНД2,(2.34)НД1,2=1,28+0,83=2,11 дм3/с

 м

Диаметр трубопровода, полученный при расчете, округляем до ближайшего стандартного (d=25 мм) по ГОСТ 16516-80. В целях унификации диаметры остальных трубопроводов принимаем такого же диаметра. Длина трубопроводов определяется исходя из расположения на машине.

Определим действительные скорости движения жидкости во всасывающей, напорной и сливной гидролиниях по формуле:

,(2.35)

где d - действительное значение внутреннего диаметра гидролинии, м.

 м/с

Скорость меньше допускаемой, поэтому выбранный диаметр трубопроводов удовлетворяет необходимому условию.

.2.5 Расчёт гидроцилиндров

В целях унификации и снижения затрат на обслуживание и ремонт на экскаватор будем устанавливать гидроцилиндры с одинаковыми диаметрами штоков и поршней, но разным ходом штоков. Поэтому расчёт будем вести по наиболее нагруженному гидроцилиндру: цилиндру стрелы, так как рабочей полостью у него является штоковая, и нагрузка на штоке максимальна.

Диаметр поршня у гидроцилиндра со штоковой рабочей плоскостью вычисляется по формуле:

,(2.36)

где F - усилие на штоке, Н;

ψ - коэффициент мультипликации, ψ=1,25;

 - перепад давления между напорной и сливной полостями, Па;

 - механический КПД гидроцилиндра, =0,95.

Перепад давления принимают равным:

,(2.37)

где РН - поминальное давление в гидросистеме, МПа.

 МПа

Принимаем равным 12 МПа.

 мм

Определим диаметр поршня из условия неразрывности потока. Так как у большинства гидроцилиндров рабочей полостью является поршневая, то диаметр определим по формуле:

,(2.36)

где  - действительная подача насоса, м3/с;- скорость штока гидроцилиндра, м/с.

Скорость штока рекомендуется принимать равной 0,1 м/с.

 мм

Найдём средний диаметр:

 мм

По ОСТ 22-1417 выбираем гидроцилиндры с диаметром поршня 125 мм. Ход штока для каждого гидроцилиндра принимаем из условия выполнения необходимых технологических операций. Гидроцилиндры всех механизмов приведены в таблице 2.2.

Таблица 2.2 - Обозначение гидроцилиндров

Элемент экскаватора

Обозначение гидроцилиндров по ОСТ 22-1417-79

Стрела

1.16.0.У-125-56-1000

Рукоять

1.16.0.У-125-56-1000

Ковш

1.16.0.У-125-56-1000

Механизм поворота

1.16.1.У-125-56-400

Аутригеры

1.16.0.У-125-56-400

Отвал

1.16.0.У-125-56-400


Определим действительную скорость штока:

,(2.37)

где  - действительная подача насоса, м3/с;эф - эффективная площадь поршня, м2.

Для поршневой рабочей полости эффективная площадь определяется по формуле:

 м2

Тогда действительная скорость равна:

 м/с

Определяем отклонение действительной скорости штока:

Данное расхождение в скорости является приемлемым, так как допустимая разбежка равна 10%.

.2.6 Выбор гидроаппаратов

Гидроаппаратуру (распределители, обратные клапаны, гидрозамки, предохранительные клапаны и др.) выбирают по условному проходи и номинальному давлению. Дополнительным параметром для гидроаппаратуры является номинальный расход жидкости.

Выбор будем производить согласно рекомендациям [5].

Выбор рабочей жидкости.

В качестве рабочей жидкости принимаем масло ВМГЗ (ТУ 38-101479-74) предназначено для внесезонной эксплуатации в строительных, дорожных, коммунальных, лесозаготовительных и других мобильных машинах с гидроприводом и в промышленном гидрооборудовании. Температурный интервал использования масла от минус 43 до плюс 35 0С. Кинематическая вязкость при температуре 50 0С 10-5 м2/с. Применение гидравлического масла ВМГЗ позволяет значительно расширить географическую зону надёжной эксплуатации машины, отказаться от использования более 110 сортов масел, созданных для других целей. Срок эксплуатации масла без замены составляет 3500-4000 ч. работы, т.е. в 2 - 3 раза превышает срок эксплуатации других неспециальных масел.

Выбор направляющих гидроаппаратов.

В качестве направляющих гидроаппаратов выбираем гидрораспределители рассчитанные на номинальное давление 16 МПа (ОСТ 22-829-74). Для управления гидроцилиндрами стрелы, рукояти и ковша принимаем распределитель Р25.16-20-013-30.

Для гидроцилиндров поворота: Р25.16-20-01-05-30.1.

Для гидроцилиндров аутригеров и отвала стандартный гидрораспределитель устанавливаемый на базовой машине Р75-33-Р.

В поршневой и штоковой линиях гидроцилиндра стрелы установлена коробка предохранительных и подпиточных клапанов 63700 во избежание динамических перегрузок и кавитационного режима работы главного цилиндра.

Для исключения утечек жидкости из поршневых полостей гидроцилиндров выносных опор, с целью обеспечения устойчивого положения экскаватора в период копания, устанавливаются гидрозамки 61800.

Для уменьшения скорости опускания отвала и избежания его падения при разрушении трубопровода устанавливают дроссель с обратным клапаном 62800.

Выбор фильтрующих элементов осуществляем из необходимости обеспечения тонкости фильтрации не более 40 мкм, так как в гидросистеме используются шестерёнчатые насосы, и пропускной способности не менее 130 л/мин. Выбираем фильтр 1.1.40-40/0,6 (ОСТ 22-883-75).

.3 Тяговый расчёт

Тяговый расчёт проводится для оценки тяговых качеств машины с заданными конструктивными параметрами для определённых условий эксплуатации. Для экскаватора тяговый расчёт проведём для транспортного режима. Тяговые качества машины в прямолинейном движении оценивается на основании определения сопротивления передвижению. Максимальные нагрузки на машину действуют при её разгоне (Рис. 2.11).

На машину действуют следующие силы:- сила сопротивления передвижению, кН;- вес машины, кН;- сила инерции, кН;

Р - потребная сила тяги, кН.

Рисунок 2.11 - Силы, действующие на экскаватор при движении

Сила сопротивления передвижению - сопротивление передвижению машины как тележки, определяется по формуле:

,(2.37)

где G - вес экскаватора, кН;- коэффициент сопротивления качению колёс машины, принимаем 0,03 (табл.9.7, [6]);

i - уклон, принимаем равным 0,07.

 кН

Максимальное комфортное ускорение машины по рекомендациям [6] не превышает 0,1g. Принимаем 0,7 м/с.

Тогда сила инерции равна:

 кН

Потребная сила тяги определяется составлением уравнения суммы сил на ось Ох:

,(2.38)

 кН

Сила тяги по двигателю определяется по формуле:

,(2.39)

где Nдв - мощность двигателя Д-240, Nдв=75 кВт;

 - КПД трансмиссии, =0,76;

 - максимальная транспортная скорость, согласно технической характеристике 20 км/ч.

 кН

Сила тяги по сцеплению:

,(2.40)

где φсц - коэффициент сцепления, равен 0,8…0,9;сц - сцепной вес.

кН

Необходимое и достаточное условие движения:

,(2.41)

 кН

Так как условие выполняется, то машина обладает достаточными тяговыми характеристикам.

.4 Баланс мощности

Расчет мощности произведём для рабочего режима. Мощность двигателя расходуется на привод насосов гидросистемы, поэтому мощность расходуемую в рабочем режиме найдём как сумму мощностей насосов:

,(2.42)

где Nтр - требуемая мощность, кВт;Н1, NН2 - мощности, потребляемые первым и вторым насосами соответственно, кВт.

 кВт

Так как  кВт, то мощности двигателя достаточно для работы машины.

.5 Расчёт устойчивости

При расчёте на устойчивость принимаем следующие положения:

устойчивость во время копания грунта;

устойчивость во время транспортного режима, при движении машины поперёк уклона.

Устойчивость при копании грунта проверим для нескольких положений.

Первый случай: рабочее оборудование устанавливаем таким образом, чтобы плечи от действия весовых нагрузок были максимальны, ковш наполнен грунтом (Рис. 2.12).

Коэффициент устойчивости:

,(2.43)

где  - сумма удерживающих моментов, кН.м;

 - сумма опрокидывающих моментов, кН.м.

Рисунок 2.12 - Расчётная схема для определения устойчивости экскаватора

Сумма удерживающих моментов относительно точки О:

,(2.44)

где G - вес машины без экскаваторного оборудования, G=53 кН;- плечо действия силы G, м.

 кН.м

Сумма опрокидывающих моментов относительно точки О:

,(2.45)

где Gс, Gцс, Gцр, Gр, Gцк, Gк+г, - силы тяжести элементов рабочего оборудования, кН;, l3, l4, l5, l6, l7, - плечи действия сил тяжести, м.

 кН.м

Тогда коэффициент устойчивости равен:


Следовательно, условие устойчивости обеспечивается.

Второй случай: ковш выходит из забоя плечи максимальные, ковш заполнен грунтом (Рис. 2.13).

Рисунок 2.13 - Расчётная схема для определения устойчивости экскаватора (второй случай)

Сумма опрокидывающих моментов относительно точки О:

,(2.46)

где Gс, Gцс, Gцр, Gр, Gцк, Gк+г, - силы тяжести элементов рабочего оборудования, кН;

Р01 - касательная составляющая сопротивления грунта копанию, кН;, l3, l4, l5, l6, l7, - плечи действия сил тяжести, м.

 кН.м

Тогда коэффициент устойчивости равен:


Следовательно, условие устойчивости в рабочем положении обеспечивается.

Проверим устойчивость при движении машины поперёк уклона (Рис. 2.14).

На машину действует сила тяжести. Раскладываем её на две составляющие:

 - нормальная (к поверхности) составляющая;

 - параллельная (к поверхности) составляющая;

где α - угол уклона.

Рисунок 2.14 - Расчётная схема для расчёта устойчивости при движении поперёк уклона

Найдем удерживающий и опрокидывающий моменты относительно точки О:

Опрокидывающий:

,(2.47)

Удерживающий:

(2.48)

Учитывая, что , можем записать:

(2.49)

где l1, l2 - плечи действия проекций силы тяжести, м.

Из неравенства 2.48 находим допускаемый угол уклона:


Следовательно, устойчивость экскаватора при всех режимах обеспечена.

3. Метрология и стандартизация

Стандартизация - установление и применение правил с целью упорядочивания деятельности в определенной области на пользу и при участии всех заинтересованных сторон, в частности при соблюдении условий эксплуатации и требований безопасности.

В развитом машиностроении большое значение имеет организация производства машин и других изделий на основе взаимозаменяемости. Стандарты основываются на объединении достижений науки, техники, практического опыта и определяют основы не только настоящего, но и будущего развития производства.

При выполнении данного курсового проекта были использованы следующие ГОСТы :

ГОСТ 2.105-95 ЕСКД. Общие требования к текстовой документации;

ГОСТ 2.004-88 ЕСКД. Общие требования к выполнению конструкторских и технологических документов на печатающих и графических устройствах вывода ЭВМ;

ГОСТ 2.104-68 ст. СЭВ 104-74;

ст. СЭВ 3657-76 ЕСКД. Основные надписи;

ГОСТ 2.106-68 ЕСКД. Текстовые документации;

ГОСТ 2.106-68 ст. СЭВ 2516-80 ЕСКД. Спецификации;

ГОСТ 2.109-73 ст. СЭВ 858-78;

ст. СЭВ 1182-78 ЕСКД. Основные требования к чертежам ;

ГОСТ 2.103-68 ст. СЭВ 1181-78 ЕСКД. Форматы;

ГОСТ 2.302-68 ст. СЭВ 1187-78 ЕСКД. Масштабы;

ст. СЭВ 1178-78 ЕСКД. Линии;

ГОСТ 2.305-68 ЕСКД. Изображения, виды, сечения и разрезы;

ГОСТ 2.307-68 ЕСКД. Нанесение размеров и предельных отклонений ;

ГОСТ 2.308-68 ЕСКД. Указание на чертежах допусков, формы и расположения поверхностей;

ГОСТ 2.311-68 ст. СЭВ 284-76 ЕСКД. Изображение резьбы;

ГОСТ 2.136-68 ст. СЭВ 856-78 ЕСКД. Правила нанесения на чертежах надписей, технических требований и таблиц;

ГОСТ 25346-88 ст. СЭВ 145-75. Единая система допусков и посадок. Общие положения, ряды допусков и основных отклонений;

ГОСТ 7796-70. Болты с шестигранной головкой;

ГОСТ 6401-70. Шайбы.


4. Экономический раздел

.1 Расчёт сметной стоимости машино-часа

.1.1 Принципы расчета стоимости машино-часа эксплуатации машин, механизмов и оборудования

Стоимость машино-часа должна обеспечить возмещение нормативных производственных затрат на эксплуатацию, обслуживание и ремонт дорожно-строительной техники, затрат по управлению производственным процессом при эксплуатации и ремонте, а также финансовых обязательств по налогообложению в соответствии с законодательством, действующим в Республике Беларусь.

Расчеты сметной стоимости машино-часа эксплуатации машин производятся в базисных ценах 1991г. Этот подход используется и в проектных организациях для составления сметных цен при определении стоимости работ, выполняемых с использованием этой машины и расчетов с заказчиками.

Проектные организации часто для расчетов используют “Сборник сметных цен эксплуатации строительных машин для условий строительства в Республике Беларусь” (Минский научно-технический центр АП “Белпроект”. Мн. 1992 г.)

Однако следует знать, что в соответствии с П.16 СНиП 4.03-91 “Сборник норм для определения сметной стоимости эксплуатации строительных машин для условий строительства в Республике Беларусь” сметные цены на эксплуатацию машин и составляющие их статьи затрат допускается корректировать исходя из особых местных условий производства, если их реальные значения отличаются от значений “Сборника” более чем на 5%.

Калькуляция стоимости машино-часа эксплуатации машин, механизма или оборудования включает следующие статьи прямых затрат:

постоянные эксплуатационные ( амортизационные ) отчисления на полное восстановление основных фондов;

замена быстроизнашивающихся частей и сменная оснастка;

энергоносители;

смазочные материалы;

гидравлическая жидкость;

капитальный (К) и текущий ремонты (ТР) , техническое (ТО) и сезонное обслуживание (СО).

Затраты подразделяются на постоянные (амортизация), переменные (заработная плата, замена быстроизнашивающихся частей, энергоносители, смазочные материалы, гидравлическая жидкость, К, ТР, ТО, СО) и единовременные (затраты на перебазировку).

В общем виде планово-расчётная стоимость определяет по формуле:

ПРС = З + НР + ПН + Н,

где З - прямые затраты;

НР - накладные расходы;

ПН - плановые накопления;

Н - налоги.

Затраты, учитываемые планово-расчётными ценами, определяются в расчёте на один машино-час работы техники. Один машино-час представляет собой среднесменное время работы машин продолжительностью один час и включает в себя:

время выполнения технологических операций;

время на перемещение строительной техники по фронту работ в пределах работ строительной площадки;

время технологических перерывов в работе в начале смены на выполнение подготовительных операций и сменного обслуживания, в течение смены на отдых и личные надобности и в конце смены на выполнение заключительной работы.

Прямые затраты определяются по формуле:

З = ЗЕ + ЗГ + ЗЭ,

где ЗЕ - единовременные затраты;

ЗГ - годовые затраты;

ЗЭ - эксплуатационные затраты.

.1.2 Годовой эксплуатационный фонд рабочего времени

Под эксплуатационным годовым фондом рабочего времени понимают число часов эксплуатации машины за год.

Количество часов работы техники в год  зависит : от коэффициента сменности; от времени простоев машины, связанного с техническим обслуживанием и ремонтами, метеорологическими условиями; от продолжительности работы на одном объекте, числа и длительности перебазировок с объекта на объект.

Годовой фонд рабочего времени в часах расчетным путем осуществляется следующим образом:

 

где  = 247 дней - годовой фонд рабочего времени строительных машин;

- продолжительность технического обслуживания (ТО) и ремонтов (ТР) в течение года, дни (таблица 4.1);

- коэффициент сменности Кс=1 ;

- продолжительность смены, маш-ч/день Тсм=8 ч.;

 = 1 - коэффициент, учитывающий метеорологические условия;

- коэффициент, учитывающий общие организационные вопросы использования техники. = 0,95-0,98.

Продолжительность технических обслуживаний и ремонтов в течение года:

 

где  - продолжительность одного технического обслуживания ТО-1, дни;

 - продолжительность одного технического обслуживания ТО-2, дни;

 - продолжительность текущего ремонта, дни;

 - периодичность выполнения ТО-1, часы;

 - периодичность выполнения ТО-2, часы;

 - периодичность выполнения текущего ремонта, часы;

- продолжительность сезонного обслуживания, дни;

- количество сезонных обслуживаний

.1.3 Расчет амортизационных отчислений

Амортизационные отчисления, приходящиеся на один час эксплуатации , определяются по формуле:

,

где  = 44909090руб - балансовая стоимость машины принимается по

информационному бюллетеню цен на 2001;

= 9,1% - норма амортизационных отчислений;

 -количество часов работы техники в году, маш-час.


.1.4 Затраты на оплату труда рабочих, управляющих машиной

Заработная плата рабочих , управляющих машинами, исчисляется в ценах 2001 г. - на основе часовых тарифных ставок для рабочих занятых в строительстве и на ремонтно-строительных работах, установленных постановлением №115 с учетом коэффициента 1,98 , а при управлении мощными и особо сложными строительными машинами - в соответствии с перечнем - повышенные тарифные ставки. Рекомендуемые разряды при работе операторов на различных механизмах; в зависимости от типа и основного параметра машины разряд рабочего, занятого управлением, можно принять следующим:

Затраты на оплату труда операторов для первой смены определяется по следующей формуле:

,

где  - коэффициент к тарифной ставке Ктс=1,98;

 - коэффициент премиальных доплат,50 %;

=1 - коэффициент, учитывающий специфические местные условия;

- тарифная ставка рабочего машиниста, занятого управлением

машиной, руб/час,

=,

где Кт = 2,89 - тарифный коэффициент;

Зт - часовая тарифная ставка, Зт=11500 руб;

Ф - фонд рабочего времени, Ф=168,1 часов.


.1.5 Расчет затрат на энергоносители и сопутствующие материалы

Затраты на энергоносители и сопутствующие материалы определяются на основе утвержденных норм расхода с учетом коэффициентов внутрисменного использования машин и изменения норм расхода в зимний период.

Нормой расхода топливно-смазочных материалов (ТСМ) называют плановый показатель их расхода на единицу объема выполненных работ. Нормы расхода ТСМ разделяют на индивидуальные и групповые. Индивидуальная норма устанавливается применительно к конкретным условиям работы отдельной машины. Групповая учитывает разнообразные условия группы машин. Она является средней величиной индивидуальных норм.

В строительной отрасли каждое министерство (ведомство) утверждает свои нормы расхода ТСМ. При работе машин в зимнее время ( средняя температура воздуха ниже 0°С) в южных районах нормы повышают до 5%, в районах с умеренным климатом - до 10%, в северных районах - до 15%, а в районах Крайнего Севера и приравненных к ним - до 20%.

Нормы расхода масел, смазок для машин и бензина для пусковых двигателей установлены в процентах от расхода дизельного топлива в следующих размерах: моторного масла - 5%,трансмиссионного масла - 1%, пластичной смазки - 1.5%, бензина - 3% летом и 4,5% зимой.

Затраты на энергоносители для машин с дизельным двигателем определяются по следующей формуле:

,

где  = 16,4 л - норма расхода дизельного топлива в летнее время;

 = 1010 руб - цена дизельного топлива в день разработки ПРС;

 = 1400 руб - цена бензина в день разработки ПРС;

 = 0,033 - коэффициент, учитывающий расход бензина при запуске

двигателя, работающего на дизельном топливе;

 = 1,035 - коэффициент, учитывающий повышение расхода топлива

в зимнее время;

= 1,1 - коэффициент, учитывающий транспортно-заготовительные

расходы;

= 0,75- коэффициент использования двигателя по времени.


Затраты на смазочные материалы и жидкости для гидросистем принимаются в зависимости от стоимости затрат на топливо.

,

где - затраты на смазочные и обтирочные материалы и жидкости для гидросистем, руб;

 - затраты на энергоресурсы для машин с дизельным двигателем

(рассчитаны выше);

 = 0,22- коэффициент перехода от стоимости топлива к стоимости

на смазочные и обтирочные материалы .


.1.6 Затраты на техническое обслуживание техники

Расчет затрат на техническое обслуживание производится аналитическим методом с использованием установленных нормативными документами пропорций между статьями и структурой затрат планово-расчетной стоимости. Показатели периодичности, трудоемкости и продолжительности технических обслуживаний и ремонтов принимаются в соответствии с "Рекомендациями по организации технического обслуживания и ремонта строительных машин".

Затраты на техническое обслуживание определяются по формуле:


где - затраты на техническое обслуживание, руб;

- заработная плата рабочих занятых техническим ремонтом и обслуживанием, руб;

- затраты на запасные части, ремонтные материалы и энерго-носители, руб;

Затраты на заработную плату определяются трудоемкостью работ и средним тарифным разрядом ремонтных рабочих, который обычно принимается на один разряд ниже разряда механизаторов, работающих на данной машине.

,

где - трудоемкость технического обслуживания, час;

- тарифная ставка ремонтных рабочих, руб ;

 =,

где Кт = 1,89 - тарифный коэффициент для рабочего шестого разряда;

Зт-часовая тарифная ставка Зт=11500 руб;

Ф-фонд рабочего времени Ф=168,1 часов;

- премиальные доплаты ремонтных рабочих, Кпрт=50 %;

- коэффициент учитывающий местные условия, Кмт=1,98.

Трудоемкость работ на ремонт и обслуживание:

 (час),

где , , , - количество соответственно ТО-1, ТО-2, Т, К в

межремонтном цикле;

- количество сезонных обслуживаний (СО) в течении года, ед.;

, , ,  и  - продолжительность ТО-1, ТО-2, Т,

К и СО, час;

- годовой фонд времени эксплуатации машины, маш-ч;

- межремонтный цикл, час.

Затраты на заработную плату ремонтных рабочих:

ЗЗАР = 225 руб/час

Затраты на запасные части, ремонтные материалы и энергоносители

,

где = 3 - коэффициент перехода к стоимости запасных частей,

ремонтных материалов и энергоносителей;

 = 1 - индекс перехода к текущим ценам.

.1.7 Затраты на перебазировку техники

Затраты на перебазировку строительной машины на трайлере (без разборки) буксируемом сидельным тягачом

,

где =5529,8 руб./маш-ч - прямые затраты трайлера;

=1435,82 руб./маш-ч -прямые затраты перебазируемой техники;

=2879,8 руб./маш-ч - прямые затраты машины сопровождения;

зм = 197,71 руб./час - тарифная ставка машинистов перебазируемой

машины;

= 40% - процент премиальных доплат машинистов перебазируемой

машины;

 = 0,5 час - время погрузки и разгрузки машины;= 50 км - расстояние до объекта; = 30км/ч - скорость трайлера.


Определение затрат на перебазировку, приходящихся на маш-ч производится по формуле:

,

где=48-среднестатическое количество перебазировок техники в год определяется по среднестатистическим данным для каждой конкретной организации;

- годовой фонд рабочего времени в часах, Тг=1661,16 часов.


.1.8 Накладные расходы и плановые накопления

Размер накладных расходов и плановых накоплений принимается в соответствии с действующими положениями или устанавливаются вышестоящей организацией, причем расчет можно производить двумя: способами: исходя из ПРС или заработной платы, входящей в ПРС.

Вариант 1. Расчет накладных расходов и плановых накоплений от величины ПРС (накладные - 16.3%, плановые - 8%).

Вариант 2. Расчет накладных расходов и плановых накоплении от заработной платы (накладные - 136.4%, плановые -260.3%)

Расчет будем производить по второму варианту:

Нр=З×1,364=587,198×1,364=801руб/час

Пн= З×2,603=587,198×2,603=1527руб/час

.1.9 Налоги, отчисления и определение ПРС

В планово-расчетную стоимость 1 машино-часа эксплуатации строительных машин включаются все виды налогов, действующих в РБ, согласно нормативным документам:

Налоги начисляемые на заработную плату:

- Соц.страх. - 35%;

чрезвычайный налог - 5%;

Нзп=З ×(0,35+0,05)=587,198×0,4=235 руб/м-час

Налоги на топливо (руб /час):

Экологический налог -1%;

Налоги начисляемые на плановые накопления:

- НДС -20%;

- местный налог -2,4%;

единый налог -2,5%;

Найдем НДС по формуле:

НДС=ПН×0,2=305 руб/м-час ,

где ПН - плановые накопления.

Найдем местный налог по формуле:

МН=(ПН+НДС)×0,024=(1527+305)×0,024=44 руб/м-час

Найдем единый налог по формуле:

ЕН=(ПН+НДС+МН)×0,025=(1527+305+44)×0,025=478 руб/м-час

В случае изменения ставок налогов они корректируются в соответствии с действующими нормативными актами.

Результаты расчётов сводим в таблицу 4.2

Таблица 4.2 Себестоимость одного часа работы экскаватора ЭО-2621А

Амортизационные отчисления


5411

Затраты на оплату труда оператору

587

Затраты на энергоносители


6235

Затраты на смазочные материалы

1372

Затраты на оплату труда рем. раб.

225

Затраты на запчасти



675

Затраты на перебазировку


634

Накладные расходы



801

Плановые накопления


1527

 Налоги




693

Затраты




15939

ПРС




18159


.2 Расчёт стоимости одного метра кубического разработки грунта

Стоимость одного метра кубического разработки грунта находится по формуле:

С = ПРС/Пэ,

где ПРС - стоимость одного часа работы экскаватора;

Пэ = 60,21 м3/ч - эксплуатационная производительность.

С = 8254,1 / 60,21=137,09 руб/м3

.3 Расчёт экономической эффективности и срока окупаемости разрабатываемой системы.

Разработанная гидросистема позволяет сэкономить топливо за счет подкрутки двигателя (насоса) гидравлической жидкостью под давлением создаваемым поднятым грузом.

Определим мощность насоса работающего на подъем и опускание

 кВт,

=16,4 л/ч - удельный расхода дизельного топлива в летнее время;

Определим расход топлива за 1 рабочий день

 л

Себестоимость работы экскаватора за 1 день

 руб

При подкрутке насоса двигатель работает на номинальных оборотах, т.е. затрачивает мощность до . Необходимая мощность для опускания груза сообщается насосу от гидроцилиндров стрелы, т.е. энергия гидравлической жидкости находящейся под давлением в поршневых полостях гидроцилиндров поступает во всасывающий трубопровод насоса. Таким образом при опускании стрелы экскаватора с грузом двигатель экономит до  мощности (11,84кВт).

Расход топлива при подкрутке насоса

 л,

- мощность затрачиваемая двигателем при подкрутке насоса.

Так как работа экскаватора имеет цикличный характер, т.е. за подъемом следует опускание стрелы и этот цикл повторяется многократно в течении дня, то можно принять, что  рабочего дня экскаватор совершает подъем стрелы и столько же процентов рабочего дня затрачивает на опускание. Это нам необходимо для определения расхода топлива за день на подъем стрелы  л и соответственно на опускание  л.

Определим расход топлива с учетом подкрутки двигателя

 л,

Себестоимость работы экскаватора с учетом подкрутки двигателя

 руб,

Экономический эффект

 руб,

Список литературы

Щемлёв А.М. Проектирование гидропривода машин для земляных работ: Учеб. пособие. - Могилёв: ММИ, 1995. - 322 с.: ил.

Беркман И.Л., Раннев А.В., Рейш А.К. Универсальные одноковшовые строительные экскаваторы. Учебник для проф.-техн. Училищ. - 2-е изд., перераб. - М.: Высшая школа, 1981. - 304 с.: ил.

Волков

Перель Л.Я. Подшипники качения: Расчёт , проектирование и обслуживание опор: Справочник. - М.: Машиностроение, 1983. - 543 с., ил.

Васильченко В.А. Гидравлическое оборудование мобильных машин: Справочник - М.: Машиностроение, 1983. - 301 с., ил.

Проектирование машин для земляных работ/ Под ред. А.М. Холодова. - Харьков: Выш. шк. Изд-во при Харьк. ун-те, 1986.- 272с.

Авторское свидетельство СССР № 1040053 кл. E 02 F 3/78, 1983.

Авторское свидетельство СССР № 876890, кл. E 02 F 3/64, 1979.

Авторское свидетельство СССР №1273452, кл. E 02 F 3/48, 1985.

Похожие работы на - Проектирование экскаватора ЭО-2621 А

 

Не нашли материал для своей работы?
Поможем написать уникальную работу
Без плагиата!
Без нейросетей!