Абсорбція та адсорбція
Вступ
Актуальність моєї курсової роботи
полягає в тому що сьогодні проблема забруднення навколишнього середовища стала
однією з найбільш значущих, бо стосується всіх країн світу. В даній роботі
описані установки та апарати за допомогою яких можна значно зменшити викиди
забруднюючих газів в навколишнє середовище й цим самих зменшити згубний вплив
на нього.
В курсовій роботі наведені приклади
абсорбентів та адсорбентів, які найчастіше використовують в промисловості й ряд
вимог, які вони повинні задовольняти. Також, приведені вимоги до абсорбційної
та адсорбційної апаратури.
Метою курсової роботи є ознайомлення
з процесами абсорбції та абсорбції. Ознайомлення з головними вимогами, що
пред’являються абсорбційним та адсорбційним апаратам та установкам. Ознайомлення
з принципом роботи абсорбційних та адсорбційних апаратів та установок.
Об’єктом курсової роботи є - процес
абсорбції та адсорбції в цілому, так як за допомогою даних процесів можна
суттєво покращити стан навколишнього середовища.
Завданням курсової роботи є
ознайомлення з процесами абсорбції та адсорбції, дослідження шляхів вирішення
проблеми забруднення навколишнього природного середовища за допомогою
абсорбційної та адсорбційної апаратури.
Розділ 1. Абсорбція. Загальні
відомості
Абсорбцією називають процес
поглинання газу рідким поглиначем (абсорбентом), я якому газ розчинюється в тій
чи іншій мірі. Зворотний процес - виділення розчиненого газу з розчину
називається десорбцією.
В абсорбційний процесах (абсорбція,
десорбція) приймають участь дві фази - рідка и газоподібна й відбувається
перехід речовини з газоподібної фази в рідку ( при абсорбції) або навпаки, з
рідкої фази в газоподібну ( при десорбції). Таким чином, абсорбційні процеси є
одним з видів процесів масо передачі.
На практиці абсорбції піддають в
більшій частині не окремі гази, а газові суміші, складові частини яких ( одна
або декілька) можуть поглинатися даним поглиначем в помітних кількостях. Ці
складові частини називають абсорбційними компонентами або просто компонентами,
а складові частини, що не поглинаються - інертним газом. [1]
Розрізняють фізичну і хімічну
абсорбцію (хемосорбцію).
При фізичній абсорбції молекули
абсорбтива (компонент, що поглинається) не вступають з молекулами абсорбенту в
хімічну взаємодію, тобто процес поглинання цільового компонента рідким
поглиначем не супроводжується хімічною реакцією. При цьому над розчином існує
певний рівноважний тиск компонента, і до тих пір, поки парціальний тиск
компонента в газовій фазі перевищує рівноважний тиск над розчином, процес поглинання
триває; досить повний витяг компонента з газового потоку можливий тільки при
протитечії і подачі в багатоступінчастий абсорбер чистого абсорбенту.
При хімічній абсорбції молекули
абсорбтива вступають у хімічну взаємодію з молекулами активного компонента
абсорбенту, утворюючи нове хімічне з'єднання. В порівнянні з фізичною
абсорбцією в цьому випадку рівноважний тиск компонента над розчином мізерно
малий і можливе повне його вилучення з газової фази.
Однак поділ процесу поглинання на
фізичну і хімічну абсорбцію слід вважати умовним: процес поглинання, що
супроводжується відносно сильною фізичною взаємодією молекул абсорбтива з
молекулами абсорбенту, близький до процесу поглинання, що супроводжується
слабкою хімічною реакцією.
Поєднання абсорбції з десорбцією
дозволяє багатократно використовувати практично без втрат рідкий поглинач в
замкнутому контурі абсорбер-десорбер-абсорбер (круговий процес) і виділяти
поглинутий компонент в чистому вигляді.[2]
В промисловості абсорбція с
послідуючою десорбцією шороко застосовується для виділення з газових сумішей
цінних компонентів (наприклад, для витягу з коксового газу аміака, бензолу та
ін..), для очистки технологічних і горючих газів від шкідливих домішок (
наприклад, при очистці їх від сірководню), для санітарної очистки газів (
наприклад, відхідних газів від сірчаного ангідриду).
В деяких випадках десорбцію не
проводять, якщо компонент, що вилучається і поглинач є дешевими або залишковими
продуктами або якщо в результаті абсорбції виходить готовий продукт ( наприклад,
соляна кислота при абсорбції хлористого водню водою). [3]
1.1 Швидкість абсорбції
При застосуванні процесів абсорбції
мають справу як з добре, так і з погано розчинними газами. В залежності від
цього механізм переносу маси видозмінюється, що безпосередньо впливає на
значення коефіцієнта масопередачі, а отже, і на інтенсивність процесу. При
абсорбції добре розчинних газів опір масопередачі при проходженні газу через
кордон контакту невеликий і ним можна знехтувати. Навпаки, при абсорбції погано
розчинних газів основний опір масопередачі зосереджено на межі переходу
газоподібної речовини в рідку фазу. Таке розділення газів на добре і погано
розчинні умовно, але воно має велике значення для підбору апаратури при
реалізації процесу.
Процеси фізичної абсорбції в ряді
випадків супроводжуються тепловими ефектами розчинення, і цю обставину також
слід враховувати при організації процесу. Розчинність газів у рідинах при
збільшенні температури зменшується, і тому в тих випадках, коли теплота
розчинення газу в рідині значна, необхідно при виборі абсорбційної апаратури
передбачати можливість відведення теплоти, що утворюється для повноти
проведення процесу.
При проведенні процесів десорбції
необхідно нагрівати суміш, тим самим змушуючи виділятися абсорбований газ.[4]
Розділ 2. Абсорбенти
Абсорбенти - це речовини, що
володіють здатністю абсорбції, тобто поглинання, всмоктування якої-небудь іншої
речовини з розчину або з газу всією своєю масою, на відміну від адсорбентів,
які поглинають, всмоктують тільки своєю поверхнею. Абсорбція - це окремий
випадок сорбції. При фізичній абсорбції процес поглинання речовини не
супроводжується хімічною реакцією, а при хемосорбції речовина, що абсорбує
вступає в хімічну реакцію з речовиною абсорбенту.[5]
2.1 Види абсорбентів
В якості абсорбентів в принципі може
бути використана будь-яка рідина, в якій може розчинятися компонент, що
вилучається з газового потоку.
При фізичній абсорбції в процесах
рекуперації зазвичай використовують органічні розчинники - неелектоліти, що не
реагують з цільовим компонентом, і їх водні розчини.[2]
Неелектоліти - це речовини, розчини
або розплави яких не проводять електричний струм. До них відносяться: кисень,
водень, багато органічних речовин (ефіри, бензол та ін.) У молекулах цих
речовин існують ковалентні не полярні або малополярні зв'язки.[6]
При хімічній абсорбції в якості
абсорбентів використовують водні розчини моноетаноламіну, діетилноламіна,
аміаку, розчини карбонату натрію і калію, трікалійфосфата та інші. Молекули
цільового компонента, розчиненого в рідині, вступають в реакцію з молекулами
активного компонента абсорбенту. Більшість реакцій є екзотермічними та
оборотними, в наслідок чого при підвищенні температури рідини хімічна сполука ,
що виникла розкладається з виділенням вихідних компонентів.[2]
2.2 Вимоги до абсорбентів
Промислові абсорбенти, що
застосовуються в безперервних процесах очистки газових потоків, повинні
задовольняти ряд вимог:
володіти достатньо високою
поглинальною здатністю;
володіти високою селективністю по
відношенню до видобутих компонентів;
мати якомога меншу летючість;
володіти гарними кінетичними
властивостями;
володіти гарною здатністю до
регенерації;
володіти термохімічною стійкістю;
не завдавати значного корозійного
впливу впливу на апаратуру;
мати низьку вартість і бути
доступними в промислових масштабах.
Крім того, в разі фізичної абсорбції
абсорбент повинен бути хімічно інертним по відношенню до компонентів суміші, що
розділяється.
Перша вимога призводить до зменшення
витрати абсорбенту і, таким чином, до зниження витрат енергії на
транспортування рідкої фази і на регенерацію абсорбенту.
Друга вимога забезпечує можливість
більш повного поділу суміші газів.
При здійсненні процесу абсорбції
парціальний тиск парів абсорбенту повинен бути невеликий, щоб уникнути втрат
поглинача, у зв'язку з чим необхідне виконання третьої вимоги.
Виконання четвертого вимоги дозволяє
знизити висоту абсорбера.
П'ята вимога, за умови легкої
регенерації абсорбенту, призводить до скорочення часу регенерації і витрат
теплоносія. Абсорбент при цьому повинен мати досить високу температуру кипіння,
щоб запобігти втрати його за рахунок випаровування при проведенні стадії
регенерації. Температура кипіння абсорбенту повинна бути вище 150 ° С. У
промисловій практиці добре зарекомендували себе абсорбенти, температура кипіння
яких дорівнює 170-200 ° С.
Від виконання шостої вимоги залежить
тривалість використання абсорбенту в кругових процесах. Тому при виборі
абсорбенту необхідно враховувати навіть ті побічні реакції, що повільно
протікають (взаємодія з компонентами газового потоку, гідроліз та інші) в
умовах безперервного чергування стадій абсорбції і регенерації абсорбенту.
За інших близьких фізико-хімічних
властивостях перевага віддається абсорбенту з більш низькою в'язкістю, яка
впливає на швидкість переносу маси і теплоти, а отже, і на габарити абсорберу і
десорбера (регенератора). Крім того, зменшення в'язкості призводить до зниження
витрати енергії при переміщенні рідкого поглинача.
Необхідно відзначити, що немає
універсального абсорбенту, який задовольняв би всім перерахованим вище вимогам.
Тому в кожному конкретному випадку обирають абсорбент, що найбільш повно
задовольняє ряд основних вимог. Перевага надається абсорбентам, з допомогою
яких процес поглинання компонента з газової фази здійснюється шляхом фізичної
абсорбції або шляхом хемосорбції з оборотною реакцією в рідкій фазі.
Одним із критеріїв вибору абсорбенту
служить розчинність компонента що поглинається, яка визначається умовою
рівноваги компонента в рідкій і газовій фазах. Зміст цільового компонента в
рідині залежить не тільки від фізико-хімічних властивостей компонента і рідини,
але також від температури, тиску і змісту цільового компонента в газовій фазі.
Рівновагу при фізичній абсорбції
можна виразити за допомогою закону Генрі в області малих концентрацій
компонента або подати на підставі екперементальних даних в області великих
концентрацій компонента.
При хімічній абсорбції рівновага в
системі газ - рідина відображається сукупністю фізичної рівноваги газ - рідина
і хімічної рівноваги компоненту, що розчиняється - хемосорбенту.
Регенерація абсорбенту - відновлення
сорбційних властивостей - здійснюється з метою повторного його використання в
циркуляційних (кругових) процесах. При регенерації абсорбенту виділяється
цільовий компонент, тобто відбувається зворотний процес - десорбція.
Десорбцію можна проводити шляхом
пропускання десорбуючого агента (інертного газу або водяної пари) через шар
відпрацьованого абсорбенту. Цільовий компонент, що десорбує переходить з рідкої
фази в газову або парову фазу внаслідок того, що рівноважний тис його над
рідиною вище, ніж в агента, що десорбується. [2]
Розділ 3. Абсорбційні апарати
При абсорбції визначальною
характеристикою є між фазна поверхня, від стану якої багато в чому залежить
швидкість перенесення цільового компоненту з газової фази в рідку Тому
інтенсифікація абсорбційних процесів проводиться на шляху творення апаратів з
найбільш розвиненою поверхнею контакту фаз, здатних працювати при високих
швидкостях газового потоку (розрахованих на повний поперечний переріз), тобто
по шляху створення апаратів великої одиничної потужності. [2]
При абсорбції процес масопередачі
протікає на поверхні дотику фаз. Саме тому в апаратах для поглинення газів
рідиною(абсорберах) повинна бути створена розвинута поверхня дотику між газом і
рідиною. [3]
Як було розглянуто раніше, вимоги,
які пред'являються до абсорбційної апаратури, полягають у розвитку максимальної
поверхні контакту між фазами, мінімальному гідравлічному опорі, забезпеченні
відведення теплоти. При процесі десорбції проводиться підведення теплоти. Крім
того, оскільки практично майже всі хімічні реагенти надають сильного
кородуючого впливу, матеріал, з якого зроблена апаратура, повинен добре
протистояти цьому впливу.
За способом утворення поверхні
зіткнення абсорбери умовно поділяються на поверхневі, плівкові, насадочні,
барботажні (тарілчасті), розпилюючі та інші.
Так як контакт між газом і рідиною
здійснюється не тільки в процесі абсорбції, але і в інших аналогічних процесах,
наприклад при ректифікації (контакт між парою і рідиною), то й застосовувана
абсорбційна апаратура частково використовується для інших подібних процесів.
[7]
З різних типів апаратів в даний час
найбільш поширеними є насадкові і барботажні тарілчасті абсорбери. При виборі
типу абсорбера потрібно в кожному конкретному випадку виходити з
фізико-хімічних умов проведення процесу з урахуванням техніко-економічних
факторів.
Основні розміри абсорбера
(наприклад, діаметр і висота) визначають шляхом розрахунку, виходячи із заданих
умов роботи. Для розрахунку необхідні відомості по статиці і кінетиці процесу.
Дані по статиці знаходять з довідкових таблиць, розраховують за допомогою
термодинамічних параметрів або визначають дослідним шляхом. Дані по кінетиці в
значній мірі залежать від типу апарату і режиму його роботи. Найбільш надійні
результати експериментів, проведених при тих же умовах. У ряді випадків подібні
дані відсутні і доводиться вдаватися до розрахунку чи дослідів.
В даний час ще немає цілком
надійного методу, що дозволяє визначати коефіцієнт масопередачі шляхом
розрахунку або на основі лабораторних або модельних дослідів. Однак для деяких
типів апаратів можна знайти коефіцієнти масопередачі з достатньо великою
точністю за допомогою розрахунку або порівняно простих дослідів. [1]
3.1 Поверхневі абсорбери
Ці абсорбери використовують для
поглинання добре розчинних газів (наприклад, для поглинення хлористого водню
водою). В даних апаратах газ проходить над поверхнею нерухомої або повільно
рухомої рідини (рис 1.). Так як поверхня дотику в таких абсорберах мала, то
встановлюють декілька послідовно з’єднаних апаратів, в яких газ і рідина
рухаються протитечією один до одного. Для того щоб рідина рухалася по
абсорберам самоплином, кожен наступний по руху рідини апарат розташовують трохи
нижче попереднього. Для відводу тепла, що виділяється при абсорбції, в апаратах
встановлюють змійовики, що охолоджуються водою або іншим охолоджуючим агентом,
або ж поміщають абсорбери в сосуди з проточною водою.[8]
Рис. 1 - Поверхневий абсорбер
На рис. 2. показані два поверхневих
абсорбери. Кожен апарат являє собою посудину, нижня частина якої має форму
усіченого конуса, а верхня - сферичну. Підведення та відведення рідини
здійснюються двома штуцерами в бічній частині апарату, а підведення і
відведення газу - штуцерами більшого діаметру у верхній частині.. При
протитечійній подачі найбільш концентрована газова фаза стикається з найбільш
концентрованою рідиною. У міру проходження газу його концентрація падає і з
останнього апарату, в який потрапляє чистий розчинник, газ відводиться з
найменшою концентрацією.
Рис. 2 - Поверхневі абсорбери: 1 -
штуцера для введення газу, 2- штуцера для відведення газу, 3- штуцера для
введення рідини, 4- штуцера для відведення рідини
У всіх апаратах каскаду
підтримується різниця концентрацій (рушійна сила), і всі апарати працюють
більш-менш рівномірно. Такі каскади апаратів, виготовлені з кераміки,
застосовуються, зокрема, для поглинання хлористоводневого газу ( хвостових
газів) водою і отримання соляної кислоти. Недоліком поверхневих абсорберів є
низьке знімання тепла й відносно мала продуктивність. [7]
Поверхневі абсорбери мають обмежене
застосування внаслідок їх малої ефективності і громіздкості.
3.2 Зрошувальні абсорбери
Зрошувальний абсорбер (рис.3.)
складається з ряду труб 2, в середині яких перетікає рідина , що надходить в
верхню частину, і переміщується газ , що рухається протитечією знизу. Зовні
труби інтенсивно охолоджуються водою, що стікає по їх стінкам. В кожному
трубчастому елементі в місці зливу є поріг 1, що підтримує постійний рівень
рідини. Хоча відвід теплоти в цих апаратах відбувається інтенсивніше чим в
поверхневих абсорберах, їх продуктивність в поверхні теплообміну все ж відносно
невелика. [7]
Рис. 3 - Зрошувальний абсорбер: 1 -
зливні пороги, 2- трубчасті елементи
3.3 Плівкові абсорбери
Ці апарати більш ефективні і
компактні, ніж поверхневі абсорбери. У плівкових абсорберів поверхнею контакту
фаз є поверхня поточної плівки рідини.
Розрізняють такі різновиди апаратів
даного типу:
трубчасті абсорбери;
абсорбери з плоско-паралельною або
листовою насадкою;
абсорбери з висхідним рухом плівки
рідини. [8]
3.3.1 Трубчастий абсорбер
Трубчастий абсорбер (рис.4.) являє
собою кожухо-трубчастий теплообмінник, розташований вертикально. Апарат
складається з пучка паралельних труб 2, кінці яких укріплені в трубних гратах
1. Рідина через верхній бічний патрубок надходить в трубки 2, стікає по стінках,
утворюючи плівку, а потім видаляється через нижній патрубок. Газ надходить у
нижню частину абсорбера, піднімається по трубах, контактуючи з плівкою рідини,
що стікає і видаляється через верхній патрубок. Охолоджуючий агент, зазвичай
вода, надходить в нижній патрубок по міжтрубному простору і видаляється з його
верхньої частини.
Рис.4. Трубчастий абсорбер: 1-
трубчасті решітки, 2- труби, 3 - сифон
Контакт між газом і рідиною
відбувається в тонкому шарі при інтенсивному перемішуванні рідини на
охолоджуваній теплообмінній поверхні. Це дозволяє з успіхом застосовувати такі
апарати для проведення абсорбції з великим тепловим ефектом. Нижній патрубок
для видалення рідини приєднується до сифона 3, що перешкоджає потраплянню газу
в трубопровід для відведення рідини. [7]
3.3.2 Абсорбер з плоскопаралельною
насадкою
Абсорбер з плоскопаралельною
насадкою( рис.5.) являє собою колону з листовою насадкою 1 в вигляді
вертикальних листів з різного матеріалу (метал, пластичні маси та інші) або
туго натягнутих полотнищ з тканини. В верхній частині абсорбера знаходяться
розподільні пристрої 2 для рівномірного змочування листової насадки з обох
сторін. [8]
Рис. 5. - Абсорбер з плоско
паралельною насадкою: листова насадка, 2- розподільний пристрій
3.3.3 Абсорбер з висхідним рухом
рідини
Абсорбер з висхідним рухом плівки
(рис.6) складається з труб 1, закріплених в трубних гратах 2. Газ з камери 3
проходить через патрубки 4, розташовані співвісно з трубами 1. Абсорбент
надходить в труби через щілини 5. Рухомий з достатньо великою швидкістю газ
захоплює рідку плівку в напрямку свого руху (знизу вгору), тобто апарат працює
в режимі висхідної протитечії. По виході з труб 1 рідина зливається на верхню трубну
решітку і виводиться з абсорбера. Для відводу тепла абсорбції по міжтрубному
просторі пропускають охолоджуючий агент. Для збільшення ступеня вилучення
застосовують абсорбери такого типу, що складаються з двох або більше ступенів,
кожна з яких працює за принципом прямотоку, в той час як в апараті в цілому газ
і рідина рухаються протитечією один до одного. В апаратах з висхідним рухом
плівки внаслідок великих швидкостей газового потоку (до 30 - 40 м / с)
досягаються високі значення коефіцієнтів масопередачі, але, разом з тим,
гідравлічний опір цих апаратів відносно великий. [8]
Рис. 6 - Абсорбер з висхідним рухом
рідкої плівки: труби, 2- трубна решітка, 3 - камера, 4- патрубок для подачі
газу, 5 - щілина для подачі абсорбенту
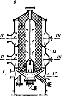
3.4 Насадкові абсорбери
Широке поширення в промисловості в
якості абсорберів отримали колони, заповнені насадкою - твердими тілами
різноманітної форми. У насадковій колоні (рис. 7.) насадка 1 укладається на
опорні решітки 2, що мають отвори або щілини для проходження газу і стоку
рідини. Остання за допомогою розподільника 3 рівномірно зрошує насадкові тіла і
стікає вниз. По всій висоті шару насадки рівномірного розподілу рідини по
перетину колони зазвичай не досягається, що пояснюється пристінковим ефектом -
більшою щільністю укладки насадки в центральній частині колони, ніж у її
стінок. Внаслідок цього рідина має тенденцію розтікатися від центральної
частини колони до її стінок. Тому для поліпшення змочування насадки в колонах
великого діаметру насадку іноді укладують шарами (секціями) висотою 2-3 м. і
під кожною секцією, крім нижньої, встановлюють перерозподільники рідини 4.
Рис. 7 - Насадковий абсорбер: 1-
насадка, 2- опорна решітка, 3- розподілювач рідини, 4- перерозподільник рідини
У насадковій колоні рідина тече по
елементу насадки головним чином у вигляді тонкої плівки, тому поверхнею
контакту фаз є в основному змочена поверхня насадки, і насадкові апарати можна
розглядати як різновид плівкових. Однак в останніх плівковий протяг рідини
відбувається по всій висоті апарату, а в насадкових абсорберах - тільки по
висоті елемента насадки. При перетіканні рідини з одного елемента насадки на
інший плівка рідини руйнується й на нижче лежачому елементі утворюється нова
плівка. При цьому частина рідини проходить через розташовані нижче шари насадки
у вигляді цівок, крапель та бризок. Частина поверхні насадки буває змочена
нерухомою (застійною) рідиною.
Основними характеристиками насадки є
її питома поверхня α (м2/м3)
і вільний об’єм ε (м3/м3).
Величину вільного об'єму для непористої насадки зазвичай визначають шляхом
заповнення об'єму насадки водою. [8]
3.4.1 Гідродинамічні режими.
Насадкові абсорбери можуть працювати
в різних гідродинамічних режимах.
Перший режим - плівковий -
спостерігається при невеликій щільності зрошення і малих швидкостях газу.
Кількість рідини, що затримується в насадці при цьому режимі практично не
залежить від швидкості газу.
Другий режим - режим підвисання. При
протитоку фаз внаслідок збільшення сил тертя газу об рідину на поверхні дотику
фаз відбувається гальмування рідини газовим потоком. В результаті цього
швидкість течії рідини зменшується, а товщина її плівки і кількість утримуваної
в насадці рідини збільшуються. У режимі підвисання із зростанням швидкості газу
збільшується змочена поверхня насадки і відповідно - інтенсивність процесу
масопередачі.
Третій режим - режим емульгування -
виникає в результаті накопичення рідини в вільному об'ємі насадки. Накопичення
рідини відбувається до тих пір, поки сила тертя між рідиною, що стікає і
піднімається по колоні газом не врівноважить силу тяжіння рідини, що
знаходиться в насадці. При цьому настає звернення, або інверсія фаз (рідина
стає суцільною фазою, а газ - дисперсною). Утворюється газорідинна дисперсна
система, що зовнішнім виглядом нагадує барботажний шар (піну) або газорідинну
емульсію. Режим емульгування починається у самому вузькому перерізі насадки,
щільність засипки якої, як зазначалося, нерівномірна по перетину колони. Шляхом
ретельного регулювання подачі газу режим емульгування може бути встановлений по
всій висоті насадки.
Режим емульгування відповідає
максимальної ефективності насадкових колон, перш за все за рахунок збільшення
поверхні контакту фаз, яка в цьому випадку визначається не тільки (і не
стільки) геометричною поверхнею насадки, а поверхнею пухирців і струменів газу
в рідині, що заповнює весь вільний об'єм насадки. Однак при роботі колони в
такому режимі її гідравлічний опір відносно великий.
У режимах підвисання і емульгування
доцільно працювати, якщо підвищення гідравлічного опору не має істотного
значення (наприклад в процесах абсорбції, що проводяться при підвищених
тисках). Для абсорберів, що працюють при атмосферному тиску, величина
гідравлічного опору може виявитися неприпустимо великою, що викличе
необхідність працювати в плівковому режимі. Тому найбільш ефективний
гідродинамічний режим в кожному конкретному випадку можна встановити тільки
шляхом техніко-економічного розрахунку.
У звичайних насадкових колонах підтримання
режиму емульгування являє великі труднощі. Є спеціальна конструкція насадкових
колон з затопленою насадкою, що називаються емульгаційними (рис.8). У колоні 1
режим емульгування встановлюють і підтримують за допомогою зливної труби,
виконаної у вигляді гідравлічного затвора 2. Висоту емульсії в апараті
регулюють за допомогою вентилів 3. Для більш рівномірного розподілу газу по
перерізу колони в ній є тарілка 4. Емульгаційні колони можна розглядати як
насадкові лише умовно. У цих колонах механізм взаємодії фаз наближається до
барботажних.
Рис. 8 - Емульгаційна насадкова
колона: колона, 2 - гідравлічний затвор, 3- вентиль, 4 - розподільча тарілка
Четвертий режим - режим унесення або
зверненого руху рідини, що виносяться з апарата газовим потоком. Цей режим на
практиці не використовується. [10]
3.4.2 Вибір насадок
Для того щоб насадка працювала
ефективно, вона повинна відповідати таким основним вимогам:
володіти великою поверхнею в одиниці
об'єму;
добре змочуватися зрошувальною
рідиною;
надавати малий гідравлічний опір
газовому потоку;
рівномірно розподіляти зрошувальну;
бути стійкою до хімічного впливу
рідини і газу, що рухаються в колоні;
мати малу питому вагу;
володіти високою механічною
міцністю;
мати невисоку вартість.
Насадок, що повністю задовольняють
всім зазначеним вимогам, не існує, так як, наприклад, збільшення питомої
поверхні насадки тягне за собою збільшення гідравлічного опору апарату і
зниження граничних навантажень. У промисловості застосовують різноманітні за
формою і розмірами насадки (рис.9.), які в тій чи іншій мірі задовольняють
вимогам, що є основними при проведенні конкретного процесу абсорбції. Насадки
виготовляють з різноманітних матеріалів (кераміка, фарфор, сталь, пластмаси та
ін.), вибір яких диктується величиною питомої поверхні насадки, змочуваністю і
корозійною стійкістю. [11]
Рис. 9 - Типи насадок: а- кільця
Рашига, хаотично складені , б - кільця з перегородками, правильно складені , в
- насадка Гудлоє, г - кільця Паля, д- насадка «Спрейпак», е - сідла Берля, ж-
хордова насадка, з - сідла «Инталлокс»
3.5 Барботажні (тарілчасті)
абсорбери
Тарілчасті абсорбери являють собою,
як правило, вертикальні колони, всередині яких на певній відстані один від одного
розміщені горизонтальні перегородки - тарілки. За допомогою тарілок
здійснюється спрямований рух фаз і багаторазова взаємодія рідини і газу.
В даний час в промисловості
застосовуються різноманітні конструкції тарілчастих апаратів. За способом зливу
рідини з тарілок барботажні абсорбери можна підрозділити на колони:
з тарілками зі зливними пристроями
з тарілками без зливних пристроїв.
Тарілчасті колони із зливними
пристроями.
У цих колонах перелив рідини з
тарілки на тарілку здійснюється за допомогою спеціальних пристроїв - зливних
трубок, кишень і т.п. Нижні кінці трубок занурені в стакан на нижче
розташованих тарілках і утворюють гідравлічні затвори, що виключають можливість
проходження газу через зливний пристрій.
Принцип роботи колон такого типу
видно з рис.10, де в якості прикладу показаний абсорбер з сітчастими тарілки.
Рідина надходить на верхню тарілку 1, зливається з тарілки на тарілку через
переливні пристрої 2 і видаляються з нижньої частини колони. Газ надходить у
нижню частину апарата проходить послідовно крізь отвори або ковпачки кожної
тарілки. При цьому газ розподіляється у вигляді бульбашок і струменів в шарі
рідини на тарілці, утворюючи на ній шар піни, що є основною областю масообміну
і теплообміну на тарілці. Відпрацьований газ видаляється зверху колони.
Рис. 10 - Тарілчаста колона зі
зливними пристроями: тарілка, 2- зливні пристрої
Переливні трубки розташовують на
тарілках таким чином, щоб рідина на сусідніх тарілках протікала під взаємно
проти направлених напрямках. За останній час все ширше застосовують зливні
пристрої у вигляді сегментів, вирізаних в тарілці і обмежених порогом -
переливом.
До тарілок із зливними пристроями
відносяться: сітчасті, ковпакові, клапанні і баластні, пластинчасті. [8]
Одним з різновидів колон з
сітчастими тарілками є колона з сітчастими тарілками і пакетом звивистих
пластин, що розташовані між тарілками (рис.11.). Пакет звивистих пластин сприяє
утворенню допоміжної зони масообміну і уловлюванню бризків рідини, що утворюється
в процесі барботажу на сітчастій тарілці, і поверненню їх в шар рідини на ту ж
тарілку.
Рис. 11 - Абсорбер з сітчастими
тарілками: 1 - тарілка, 2 - переливний пристрій, 3 - сепараційна зона
На рис. 12 представлена тарілка з
круглими (капсульними) ковпачками. Підстава 1 такої тарілки перекриває більшу
частину перерізу колони. У тарілці є отвори з встановленими в них патрубками 2,
над якими розташовані ковпачки 3 із прорізами в нижній частині. Тарілка має
переливні пристрої 4 і затворні перегородки 5. Рівень рідини на тарілці
регулюється за допомогою планки 6. Вузол ковпачка зображений на малюнку.
Рекомендується використовувати ковпачки таких розмірів, при яких втрачається
5-10% ефективної площі тарілки:
Зливна планка встановлюється на
висоту, при якій прорізи в ковпачку занурюються на глибину не менше 12 мм.
Висота рідини над ковпачками більше висоти планки. В залежності від умов
процесу товщина стікаючого струменя рідини через планку складає 15-20 мм і
більше.
Рис. 12 - Тарілка з капсульними
ковпачками: А - тарілка, Б - ковпачок, 1 - основа тарілки, 2 - патрубок, 3 -
ковпачок, 4 - переливний пристрій, 5 - затворні перегородки, 6 - планка ,7 -
спеціальний болт
3.6 Розпилювальні абсорбери
На рисунку 13 показані деякі типи
розпилювальних абсорберів, виконаних у вигляді порожнистих колон . Газ в них
рухається зазвичай знизу вгору, а рідина подається через розташовані у верхній
частині колони розпилювачі з напрямком факела розпилу зверху вниз (рис 13, а)
або під деяким кутом до горизонтальної площини (рис.13, б).
У багатьох випадках, особливо при
великій висоті колони, розпилювачі розташовують у кілька ярусів. При цьому
факели розпилу направляють зверху вниз або під кутом до горизонтальної площини
(рис.13, б) або знизу вгору . Застосовують також комбіновану установку
розпилювачів частина факелом вгору, а частина - факелом вниз.
Рис. 13 - Порожнисті розпилювальні
абсорбери: а - факел розпилу спрямований вниз, б - факел розпилу спрямований
під кутом (дворядне розкладання форсунок); в - з пережимом в нижній частині
На рисунку 14 показані приклади
комбінованої установки розпилювачів. Як показали дослідження, найбільш низький коефіцієнт
масопередачі досягається при розташуванні по рис. 14, а, а найбільш високий при
розташуванні по рис. 14,в. Втім, відмінність у значеннях коефіцієнтів
масопередачі не дуже велика: при розташуванні по рис. 14, в на 20% вище ніж по
рис. 14, а, і на 7% вище ніж по рис. 14, б. [12]
Рис. 14 - Схема комбінованої
установки форсунок
Значно більш ефективними апаратами є
прямоточні розпилювальні абсорбери, в яких розпорошена рідина захоплюється і
несеться газовим потоком, що рухається з великою швидкістю (20 - 30 м / с і
більше), а потім відділяється від газу в сепараційній камері. До апаратів
такого типу відноситься абсорбер Вентурі (Рис.15.), основною частиною якого є
труба Вентурі. Рідина надходить у конфузор 1 труби, тече у вигляді плівки і в
горловині 2 розпилюється газовим потоком. Далі рідина виноситься газом в
дифузор 3, в якому поступово знижується швидкість газу, і кінетична енергія
газового потоку переходить в енергію тиску з мінімальними втратами. Сепарація крапель
відбувається в камері 4. [13]
Рис. 15 - Розпилювальний абсорбер
Вентурі: 1 - конфузом, 2 - горловина, 3 - дифузор, 4 - сепараційна камера
3.7 Абсорбер з механічним
перемішуванням
Абсорбер з механічним перемішуванням,
іноді званий скрубером (рис. 16), складається з вала 1, на якому насаджений ряд
дисків 2 з металевої сітки. У нижній частині абсорбера є піддон 4, зверху вал з
дисками закривається кожухом 3. У піддон 4 через штуцер надходить і відводиться
рідина , в кожусі 3 є штуцери для підведення і відведення газу. При обертанні
вала рідина і газ протитечією рухаються один відносноіншого. Рідина
захоплюється з нижньої частини і розбризкується сітками, внаслідок чого
досягається значний розвиток поверхні, хороший контакт, між фазами і, отже,
ефективна робота скрубера. [7]
Рис. 16 - Абсорбер (скрубер) з
механічним переміщуванням: 1 - вал, 2 - диски з сітками, 3 - кожух, 4 - піддон
3.8 Абсорбер з рухомою насадкою
(псевдо зрідженим шаром насадки)
Перспективні абсорбери з рухомою
насадкою (псевдозрідженим шаром насадки), які успішно використовуються в
промисловості для очищення газових потоків (рис. 17).
Рис. 17 - Абсорбер з рухомою
насадкою: 1- газорозподільна камера, 2-4 - робочі секції, 5 - насадка, 6 -
розподільна решітка, 7 - форсунка для подачі рідини, 8 - сепараційна камера, 9
- регулятор частки вільного перерізу решітки, 10 - патрубок для вигризки
насадки, 11 - патрубок для завантаження насадки, 12 - переточні пристрої
Інтенсивні гідродинамічні режими,
створювані в цих апаратах, сприяють не тільки підвищенню питомої
продуктивності, але і швидкості масообміну. Абсорбери з псевдозрідженим шаром
доцільно використовувати при обробці забруднених газових потоків і рідин.
Швидкість газового потоку, розрахована на повний переріз апарату, може
змінюватися в інтервалі 2,0-5,0 м / с. У деяких випадках вона доходить до 8 м /
с. Щільність зрошення може змінюватися в інтервалі 25 - 180м3 / (м2 *год). [2]
Розділ 4. Абсорбційні установки
Промислові абсорбційні установки
працюють по принципу протитоку, рідше прямотоку, як одно-і багатоступінчасті, з
рециркуляцією і регенерацією розчинника. На рис. 18 представлена схема
противоточной установки з послідовним з'єднанням трьох абсорберів. Крім
абсорберів 2 в установку входять збірники розчину 1, відцентрові насоси 4 для
перекачування розчину і проміжні теплообмінники (холодильники) 3 для
охолодження розчину. Свіжий поглинач подається в останній па ходу газу
абсорбер, стікає в прийомну посудину і подається насосом через холодильник в
наступний абсорбер. Таким чином здійснюється противоточна взаємодія газу і
рідини.[7]
Рис. 18 - Противоточна абсорбційна
установка: 1 - збірники розчину, 2 - абсорбери 3 - холодильники, 4 - насоси
На рис. 19 представлена схема
абсорбційної установки з рециркуляцією рідини і десорбцією. Насичений
поглинутим компонентом абсорбент з останнього (по ходу рідини) абсорбера 1
зливається в збірник 2, звідки насосом 5 через теплообмінник 8 подається в
десорбційну колону 9, де звільняється від розчиненого газу. Регенерований
поглинач з колони 9 надходить у теплообмінник 8, де віддає тепло рідини, що
спрямовується на десорбцію, і далі через холодильник 10 повертається в цикл
зрошення першого (по ходу рідини) абсорбера.[8]
Рис. 19 - Схема абсорбційної
установки з рекуперацією рідини і десорбцією: 1 - абсорбер, 2-4 - збірники, 5-7
- насосі, 8 - теплообмінник, 9 - десорбцій на колона, 10 - холодильники
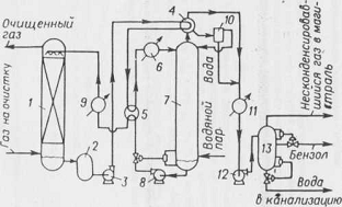
Для рекуперації бензолу з
кам'яновугільного газу застосовують абсорбційні установку, схема якої
представлена на рис. 20.
Газовий потік на очищення поступає в
нижню частину абсорбера 1, де контактує в протитоку з рідким поглиначем, у
якості якого можуть використовуватися вуглеводневі рідини, наприклад нафтові
фракції (газойль) і фракції кам'яновугільної смоли . Очищений газовий потік з
верхньої частини абсорбера викидається в атмосферу, а відпрацьований рідкий
поглинач збирається в проміжній ємкості 2, звідки насосом 3 перекачується через
теплообмінник 4, 5, 6, в яких нагрівається спочатку парами, що виходять з
десорбційної колони 7, потім регенерованим поглиначем, що виходять з нижньої
частини колони 7 і рухається з допомогою насоса 8 через теплообмінник 5, і,
нарешті, водяною парою в теплообміннику 6. Нагрітий відпрацьований поглинач
надходить у верхню частину десорбера 7, виконаного у вигляді відпарної колони,
яка працює під вакуумом (найчастіше в відпарній колоні підтримують атмосферний
тиск). У нижню частину відпарної колони подається водяна пара для віддувки
парів бензолу. Регенерований поглинач, як уже зазначалося, за допомогою насоса
8 через теплообмінник 5 і холодильник 9 повертається у верхню частину абсорбера
1. Пари, які виділяються в відпарнній колоні, надходять в конденсатор 4, де
відбувається часткова конденсація парів. Конденсат направляється в сепаратор
10, з якого видаляється вода, а рідкі вуглеводні повертаються в відпарну колону
для зрошення. Частково охолоджені пари бензолу з конденсатора 4 надходять
додатково в конденсатор бензолу 11, в якому досягається порівняно повна
конденсація парів. Конденсат і несконденсовані пари направляються далі через
вакуум-насос 12 в відстійник 13, де відбувається поділ: водяний конденсат
скидається в каналізацію, вуглеводневий шар перекачується в резервуар бензолу,
а несконденсовані гази повертаються в магістраль паливного газу. [2]
Рис. 20 - Схема абсорбційної
установки рекуперації бензолу: 1 - абсорбер, 2 - проміжна ємкість, 3,8,12, -
насоси, 4-6 - теплообмінники, 7 - десорбер, 9 - холодильник, 10 - сепаратор, 11
- конденсатор бензола, 13 - відстійник
Розділ 5. Адсорбційні апарати
При рекуперації летючих розчинників
з використанням методу адсорбції основним апаратом є адсорбер.[16]
Для проведення процесу адсорбції
застосовуються адсорбери наступних типів:
з нерухомим зернистим адсорбентом;
з рухомим зернистим адсорбентом;
з киплячим (псевдозрідженим) шаром
дрібнозернистого адсорбенту.[3]
5.1 Адсорбери з нерухомим зернистим
адсорбентом
Адсорбери з нерухомим шаром
адсорбенту являють собою вертикальні апарати, заповнені гранульованим
адсорбентом. У промисловій практиці загальна висота шару адсорбенту
зумовлюється необхідним його обсягом і величиною гідравлічного опору шару
адсорбенту; звичайно вона становить від 2 до 12 м.
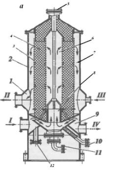
В додатку 1 представлений адсорбер,
призначений для очищення природного газу від сірководню і меркаптанів. У
корпусі апарату 1 діаметром 3,6 м розташовані по висоті два шари цеоліту NаХ
висотою 3,6 м. Кожен шар цеоліту 6 підтримується опорними гратами 2, на яких
встановлено перфорований лист 3 і два шари металевої сітки. Над верхнім шаром
цеоліту розміщений додатково шар алюмогелю 7 для осушки газу. Для зменшення
динамічного впливу потоку газу і більш рівномірного його розподілу над
адсорбентом розташований шар порцелянових куль 4 висотою 300 - 600 мм. При
завантаженні адсорбенту використовують штуцер 10 і кран-укосину 9. Перетікання
адсорбенту з однієї зони в іншу при його завантаженні і вивантаженні
здійснюється по трубах 5. Вивантаження адсорбенту з апарату здійснюють по
трубопроводу 12.
Для зменшення гідравлічного опору
шару адсорбенту розроблені конструкції адсорберів з радіальним рухом потоку
газу. На рис.21 показані варіанти адсорберів, призначених для очищення газових
викидів від органічних речовин, які за умовами десорбції можуть бути
несекційованими (рис.21, а) і секційованими (рис. 21, б). Адсорбер складається
з корпусу 2, в якому розміщені кільцеві решітки 3, утримують шар адсорбенту 4
товщиною 300 - 650 мм. Грати утворені з двох шарів металевої сітки - каркасної
18 х 2,5 мм і фільтрувальної 2x1 мм. Для зручності монтажу і демонтажу кільцеві
решітки по висоті розділені на однакові ділянки, з'єднані між собою за допомогою
безболтового самоуплотнюючого роз'ємного з'єднання. Завантаження адсорбенту
проводиться через верхній штуцер 5. відпрацьований адсорбент видаляється з шару
при підйомі затвора 8 розвантажувального пристрою.

Рис. 21 - Адсорбер радіального типу
з нерухомим шаром адсорбенту: а - несекційований; б - секційований; 1 - збірний
колектор, 2 - корпус, 3 - кільцева решітка, 4 - шар адсорбента, 5 - штуцер для
завантаження адсорбунту, 6 - центральний роздающий канал; 7 - кільцевий
збираючий канал; 8 - розвантажувальний пристрій; 9 - роздающий колектор; 10 -
штуцер для вивантаження адсорбенту; 11 - штуцер для зливу конденсату; 12 -
запобіжна розривна мембрана; 13 - секціююча перегородка. Потоки: І - вихідний
газ; II - відпрацьований газ; ІІІ - водяна пара на десорбцію; IV - суміш парів
води і адсорбату
Простір, обмежений кільцевою
решіткою меншого діаметру, є центральним роздающим каналом 6. Простір між
стінкою корпусу і кільцевою решіткою більшого діаметру є збираючим кільцевим
каналом 7.
Вихідний газ через роздающий
колектор 9 надходить в центральний роздає канал 6, проходить через шар
адсорбенту 4 і збирається в кільцевому каналі 7, звідки через збираючий
колектор и викидається в атмосферу.
Десорбція органічних речовин з
адсорбенту здійснюється гострою водяною парою при температурі 105-140 ° С.
Суміш десорбованих органічних речовин і води виводиться з нижньої частини
адсорбера через штуцер 10. Після закінчення стадії десорбції здійснюється
спочатку сушка адсорбенту підігрітим атмосферним повітрям при температурі
60-100 ° С і потім охолодження атмосферним повітрям. За умовами технології
процесу очищення газів стадії сушіння й охолодження можуть бути виключені.
З метою захисту від раптового
підвищення тиску при можливих загоряннях або вибуху пароповітряної суміші
адсорбер з боку роздающого колектора 9 забезпечений запобіжною розривною
мембраною 12, що спрацьовує при тиску понад 0,075 МПа.
З метою скорочення пікових
навантажень по пару при десорбції шар адсорбенту в адсорбері може бути
розділений по висоті на дві частини секційованою перегородкою 13.[17]
5.1.1 Вертикальний адсорбер
В адсорбційних установках
періодичної дії найбільшого поширення знайшли адсорбери, в яких відношення
висоти шару до діаметру апарату більше одиниці. Вони отримали назву
вертикальних адсорберів. Конструкції апаратів цього типу досить різноманітні.
Нижче ,як приклад, описані адсорбери, застосовувані в процесі відбензинування.
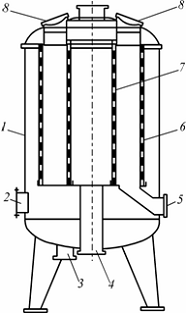
Вертикальний адсорбер цього процесу
(рис.22) являє собою залізний циліндричний апарат діаметром 2,1 і висотою 2,9
м. Висота шару вугілля в адсорберах - 2,5 м, завантаження вугілля в кожен
адсорбер - 4 т. Зверху адсорбери закриті кришками, прикріпленими до циліндричної
частини болтами. Шар вугілля спочиває на керамічній плиті; остання має велике
число дрібних отворів, за допомогою яких газ, що входить рівномірно
розподіляється по перерізу адсорбера. Керамічна плита спирається на литу
чавунну решітку. На керамічну плиту насипають шар гравію заввишки 100-200 мм.
Грануляція гравію по висоті підкладки є нерівномірною (рис. 23): внизу
розташовують великі шматки розміром 25-30 мм, потім послідовно фракції 15-25,
10-15 і 5-10 мм. Гравій оберігає адсорбент від забруднення конденсатом, що
містяться в «жирному» газі, а також перешкоджає просипанню дрібниць і забивання
отворів в плиті. Зверху шар вугілля, щоб уникнути виносу покривають сіткою,
виконаною із дроту товщиною 0,8 мм з отворами розміром 2,5 мм.

Рис.
22 - Вертикальний абсорбер Рис. 23 - Укладка підкладки в абсорбері
У нижній частині адсорбера
знаходяться нижня і верхня головки з вісьмома штуцерами для введення і
виведення газів і парів на різних стадіях процесу. Усередині адсорбера
розташована труба, що відводить газ під час охолодження, сушіння і насичення.
При десорбції водяну пару подають по трубі в верхню частину адсорбера. Така
конструкція дозволяє все управління адсорбера зосередити внизу.[14]
5.1.2 Горизонтальний адсорбер
Загальний вигляд горизонтального
адсорбера представлений на рис.24. Довжина горизонтальних адсорберів досягає 6
м, діаметр 2 м, висота шару адсорбенту при цьому дорівнює 0,8-1,0 м. Великий
перетин горизонтальних адсорберів при малій висоті шару і наявність
сфероїдальних ділянок поставили під сумнів рівномірність розподілу парогазових
потоків по перетину такого апарату.
Рис. 24 - Горизонтальний адсорбер: 1
- люки для завантаження адсорбенту; 2 - штуцер для подачі газу на стадіях
адсорбції, сушки і охолодження; 3 - кожух; 4 - розподільник водяної пари на
стадних десорбції; 5 - люк для вивантаження адсорбенту; 6 - штуцер для відводу
конденсату; 7 - штуцер для відводу парів при десорбції; 8 - штуцер для відводу
газу
Адсорбери горизонтальної конструкції
слід рекомендувати ¬ вати тільки при очищенні великих кількостей газу в умовах,
коли до ступеня очищення не пред'являються дуже жорсткі вимоги.[18]
5.1.3 Кільцевий адсорбер
У разі очищення газу від домішок,
присутніх у невеликих концентраціях, іноді застосовують кільцеві адсорбери.
Розріз такого адсорбера представлений на рис. 25.
Вся конструкція змонтована в
металевому корпусі 1. Газ, що підлягає очистці, через штуцер 2 надходить у
зовнішню частина адсорбера, проходить в горизонтальному напрямку через
кільцевий шар вугілля, що знаходиться між внутрішньою 7 і зовнішньої 6
циліндричними решітками, і виводиться через штуцер 4. У стадіях сушіння й
охолодження зазначене направлення потоків зберігається. У стадії десорбції
водяний пар (десорбент) подають через штуцер 4, а парогазову суміш відводять
через штуцер 3. Завантажують адсорбент через люки 8, а вивантажують через люк
5.[14]
Рис. 25 - Кільцевий адсорбер: 1 -
корпус; 2 - штуцер для подачі газу; 3 - штуцер для відводу парів при десорбції;
4 - штуцер для відводу газу і подачі пару; 5 - люк для вивантаження
адсорбенту;6, 7 - решітки; 8 - люки для завантаження адсорбенту
5.2 Адсорбер з рухомим зернистим адсорбентом
Ці адсорбери являють собою колони, в
яких зернистий адсорбент рухається самопливом зверху вниз, або переміщується за
допомогою спеціальних транспортних пристроїв (шнеки, елеватори). Адсорбер
такого типу показаний в додакту 2.
Газова суміш, що подається в колону
через розподільну тарілку 3, надходить в адсорбційну зону І і піднімається
вгору. Адсорбент (гранульоване активоване вугілля) рухається по колоні під дією
сили тяжіння зверху вниз, протитоком газовій суміші. В зоні І адсорбент
поглинає більш важкі компоненти газової суміші, найбільш легкі, непоглинені
гази (верхня, або легка фракція) видаляються з верхньої частини зони І. Далі
адсорбент проходить проміжну зону ІІ і надходить у зону десорбції III, де
рухається по трубках теплоообмінника-десорбера 4, в міжтрубному просторі якого
конденсується гріючий пар. Одночасно в трубки теплообменніка-десорбера подають
перегрітий гострий пар для віддувки з адсорбенту поглинених важких компонентів.
Найбільш важкі компоненти (нижня, або важка фракція) видаляються з верхньої
частини зони III. Частина десорбованих більш легких компонентів у вигляді
парогазової суміші проходить в проміжну (ректифікаційну) зону II. Тут
парогазова суміш витісняє з адсорбенту частину поглинених компонентів, більш
легких, ніж компоненти, десорбовані у зоні ІІІ.
Ці витіснені компоненти відводяться
із зони II в якості проміжної фракції.
В трубках теплообмінника-реактіватора
при високій температурі адсорбент продувається гострою водяною парою і поступає
в збірку 8.
Розподільні тарілки 3 представляють
собою трубні решітки, до яких знизу приєднані короткі відрізки труб. Тарілки
служать для більш рівномірного розподілу газу по перерізу колони і зменшення
віднесення частинок адсорбенту газовим потоком.[17]
5.3 Адсорбери з киплячим
(псевдозрідженим) шаром дрібнозернистого адсорбенту
При проведенні адсорбції в киплячому
(псевдозрідженому) шарі адсорбенту гідравлычний опір шару є дуже малим, тому
можна створювати швидкості газового потоку, в кілька разів більші, ніж у
нерухомому шарі адсорбенту. Завдяки поєднанню високих швидкостей газу з дуже
розвиненою поверхнею фазового контакту можна значно інтенсифікувати процес
адсорбції. При інтенсивному перемішуванні часток в киплячому шарі в ньому
відбувається швидке вирівнювання температури і запобігається небезпека
перегріву адсорбенту.
Слід, однак, відзначити, що при
зіткненні газового потоку на виході з киплячого шару з відпрацьованими
насиченими частками адсорбенту може відбуватися часткова десорбція поглиненої
речовини з адсорбенту. При інтенсивному перемішуванні в киплячому шарі
відбувається сильне стирання твердих частинок адсорбенту, у зв'язку з чим для
проведення описаного процесу необхідно застосовувати адсорбенти, що володіють
достатньою механічною міцністю.
Адсорбери з киплячим шаром
дрібнозернистого адсорбенту діляться на одноступінчаті і багатоступінчасті.
У корпусі 1 одноступінчатого
адсорбера (рис. 26) є розподільча решітка 2, через яку знизу подається газ, що
приводить дрібнозернистий адсорбент в стан киплячого шару.
Рис. 26 - Одностіпінчастий адсорбер
з киплячим (псевдозрідженим) шаром адсорбенту: 1 - корпус, 2 - розподільча
решітка, 3 - киплячий шар адсорбенту, 4 - труба для виходу адсорбенту
Газ відводиться через верхній
штуцер. Адсорбент надходить зверху і видаляється через трубу 4.
В апараті підтримується певний
рівень «стаціонарногої» киплячого шару адсорбенту.[3]
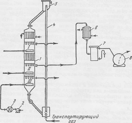
Багатоступінчастий адсорбер (Рис.27)
являє собою колону з тарілками у вигляді дірчастих або колосникових решіток. Адсорбент
подається газодувкоми на верх колони і стікає по тарілках через переточні
трубки протитечією до газової суміші. Газова суміш, проходячи через отвори в
тарілках, рухається протитечією до адсорбентів. Адсорбент вивантажується знизу
колони через спеціальний затвор. Шляхом такої багатоступінчастої адсорбції
досягається гарне вилучення цінних компонентів з «бідних» газів.[19]
Рис. 27 - Багатоступынчастий
адсорбер: 1 - псевдозріджений шар; 2 - решітка; 3 - перетікання; 4 - затвор
Розділ 6. Адсорбційні установки
Схема адсорбційної установки
представлена на рис. 28. Газ, що очищається проходить через фільтр 1, де
звільняється від пилу, що засмічує адсорбент і знижує його поглинальну
здатність. Так як пари розподіленої речовини (бензолу, бензину, розчинників)
можуть утворити з повітрям вибухо-та пожежонебезпечні суміші, на трубопроводі
очищуваного газу встановлюють вогнеперепинювач 2, що перешкоджає поширенню
вогню у випадку загорання газу. Вогнеперепинювач заповнений, твердим
роздробленим матеріалом великої теплоємності, що різко знижує температуру газу
і зупиняючи його горіння. Далі на шляху газу є вибухова мембрана 3 і вентилятор
9, який подає газ в адсорбер 5. При проведенні процесу регенерації адсорбенту
пароповітряна суміш надходить у конденсатор 6 і далі в відстійник (на рисунку
не показаний), де видобуваємий продукт виділяється в чистому вигляді. Гаряче
повітря для сушіння адсорбенту подається вентилятором 8 через калорифер 4.
Повітря для охолодження подає також вентилятор, але минаючи калорифер по
обвідній лінії 7.[20]
Рис. 28 - Схема адсорбційної
установки: 1 - фільтр, 2 - вогнеперепинювач, 3 - вибухова мембрана, 4 -
калорифер, 5 - адсорбер, 6 - конденсатор, 7 - обвідна лінія, 8 - вентилятор для
повітря, 9 - вентилятор для газу
Адсорбція виробляється на установках
періодичної і безперервної дії.
На установці періодичної дії
(рис.29) процес, що проводится в адсорбері, складається з чотирьох послідовних
операцій, або циклів: 1) поглинання (власне адсорбція), 2) відгонка поглиненого
газу з адсорбенту (десорбція), 3) сушка адсорбенту, 4) охолодження адсорбенту.
При адсорбції газова суміш газодувки
1 подається по газоходу 2 в адсорбер 3, з якого видаляється через вихлопної
газохід 4. Після насичення адсорбенту, визначеного за початком проскакування
поглинаючогося компонента газу, проводиться десорбція, при цьому суміш парів,що
відганяються направляється в конденсатор 5, а потім в ректифікаційну колону (на
рисунку не показана).
Рис. 29. Адсорбційна установка
періодичної дії: газодувка, 2 - газохід, 3 - адсорбер, 4 - вихлопний газохід, 5
- конденсатор, 6 - теплообмінник
В установках такого типу,
застосовуваних для вловлювання (рекуперації) парів летких розчинників, сушку
адсорбенту іноді проводять продувкою вихідної пароповітряної суміші, попередньо
нагрітій в теплообміннику 6 (на рисунку показаний пунктиром), а охолодження -
холодною пароповітряною сумішшю.[3]
Рис. 30 - Двоадсоберна установка
безперервної дії: 1,2 - адсорбери, 3 - конденсатор, 4- сепаратор, 5- сховище, 6
- газодувка, 7 - калорифер
Рис. 31 - Адсорбційна установка
безперервної дії: 1-колонний адсорбер (І - зона адсорбції, II - зона
ректифікації, ІІІ- зона десорбції), 2 - вентилятор; 3 - калорифер, 4 -
пневмотранспортна труба 5 - бункеровіддільник; 6 - холодильник конденсатор,
7-сепаратор , 8 - сховище
Розділ 7. Десорбція
абсорбція десорбція
емульгаційний колона
Десорбція - контактування
відпрацьованого адсорбенту чи абсорбенту з десорбуючим агентом з метою
отримання поглинених компонентів і досягнення необхідного ступеня регенерації
адсорбенту. Для полегшення десорбції і скорочення витрати десорбуючого агента,
а також для більш повної регенерації адсорбенту процес десорбції, як правило,
проводять при підвищеній температурі.
Видалення десорбуючого агенту з шару
адсорбенту і підготовка адсорбенту для проведення адсорбції або окисної
регенерації. Видалення десорбуючого агента з шару адсорбенту часто
супроводжується охолодженням шару до температури процесу адсорбції.
У разі застосування окисної
регенерації адсорбенту відбувається значне підвищення температури адсорбенту і
тому перед стадією адсорбції потрібне спеціальне охолодження адсорбенту.[17]
Десорбцію, або відгін, тобто
виділення розчиненого газу з розчину, проводять одним з наступних способів:
у струмі інертного газу;
випарюванням розчину;
у вакуумі.
Застосовується також комбінування
цих способів.
Відгін в струмі інертного газу
(власне десорбція) є процесом, зворотним абсорбції. При зіткненні розчину з
інертним газом розчинений газ переходить в газову фазу, так як парціальний тиск
газу над розчином вище, ніж у газової суміші. Процес ведуть в насадкових або
барботажних колонах, розчин подається в колону зверху, інертний газ-знизу; із
нижньої частини колони відводиться регенерований розчин, з верхньої - виділений
з розчину газ в суміші з інертним газом.
В якості інертного газу застосовують
здебільшого повітря. При цьому виділений з розчину газоподібний компонент
виходить не в чистому вигляді, а у вигляді суміші з повітрям. Тому даний спосіб
відгонки застосовується в тих випадках, коли витягнутий з газів компонент
(наприклад, шкідлива домішка) не використовується або може бути використаний
при невисокій концентрації.
Відгонка з інертним газом
застосовується також при збагаченні газів, тобто для отримання більш
концентрованої газової суміші, ніж вихідна суміш, з якої даний компонент
витягують шляхом абсорбції.
При десорбції нерозчинних у воді
газів в якості інертного газу застосовують водяну пару. Суміш виділеного
компоненту з водяною парою по виході з колони направляється в конденсатор, в
якому водяна пара конденсується, а виділюваний компонент виходить в чистому
вигляді. Якщо компонент має досить високу температуру кипіння (наприклад,
бензол), він конденсується разом з водяною парою і відділення його від води
проводиться шляхом відстоювання.
Відгонка шляхом випарювання розчину
проводиться з допомогою обігріву глухим паром. При цьому з розчину видаляється
не тільки компонент, що відділяється а й випаровується також частина
розчинника.
Для поділу компонента і парів
розчинника вдаються до ректифікації. Таким чином, за схемою процесу і застосовуваної
апаратури цей спосіб відгонки не відрізняється від ректифікації.
Відгонка в вукуумі зазвичай
комбінується з відгонкою шляхом випарювання і застосовується в тих випадках,
коли приатмосферному тиску неможливо достатньо повне виділення компоненту з
поглинача.[21]
Висновок
Отже, процес абсорбції - це процес
поглинання газу рідким поглиначем (абсорбентом), я якому газ розчинюється в тій
чи іншій мірі. Процес адсорбції - процес поглинення одного або декількох
компонентів з газової суміші чи розчину твердим поглиначем - адсорбентом.
Процеси абсорбції та адсорбції є оборотними і при зміні умов процесу можливе
виділення речовин, що поглинаються адсорбентом чи абсорбентом, цей процес
називається десорбцією.
В якості абсорбентів в принципі може
бути використана будь-яка рідина, в якій може розчинятися компонент, що
вилучається з газового потоку. Щодо адсорбентів то розрізняють їх різни види:
активоване вугілля, селікогелі, цеоліти, алюмогелі, іоніти (катіоніти,
аніоніти), що різняться між собою різною пористістю та поглинальними
здатностями.
Розрізняють різні види абсорбційних
апаратів. За способом утворення поверхні зіткнення абсорбери умовно поділяються
на поверхневі, плівкові, насадочні, барботажні (тарілчасті), розпилюючі та
інші.
Для проведення процесу адсорбції
застосовуються адсорбери наступних типів:
з нерухомим зернистим адсорбентом;
з рухомим зернистим адсорбентом;
з киплячим (псевдозрідженим) шаром
дрібнозернистого адсорбенту.
Проблема захисту навколишнього
середовища є дуже актуальною й за допомогою адсорбції та абсорбції можна значно
знизити навантаження на середовище. Також, не менш важливим є те, що якщо
правильно підібрати абсорбційну та адсорбційну апаратуру можна безвідходно
використовувати деякі матеріали.
Список використаних джерел
1. Рамм
В.М. Абсорбция газов. Изд. 2-е, переработ. и доп. М., «Химия», 1976.
. Лукин
В.Д., Анцыпович И.С. Регенерация адсорбернов. - Л.: Химия, 1983 - 216с.
. Плановский
А.М., Рамм В.М., Каган С.З. Процессы и аппараты химической промышленности.
Москва, 1962 - 841с.
. Евграшенко
В.В., Норов. А.М. Разработка систем абсорбции. Журнал «Химическая
промышленность сегодня». Изд. ООО «Химпром сегодня», 2012.
. Лекае
В.М., Лекае А.В. Л43 Процессы и аппараты химической промышленности: Учеб. для
среди. ПТУ. - 2-е изд., перераб. и доп. - М.: Высш.шк., 1984. - 247с.
. Касаткин
А.Г. Основные процессы и аппараты химической технологии. Издательство «Химия»,
М., 1971 г. 784 с.
7. <#"699360.files/image033.gif">
Рис. 32 - Адсорбер аксіального типу
з нерухомим шаром адсорбенту: 1 - корпус; 2 - опорна решітка; 3 - перфорований
лист і два шари сітки; 4 - порцелянові кулі; 5 - переточні труби для
завантаження (вивантаження) адсорбенту; 6 - шар цеоліту; 7 - шар алюмогелю; 8 -
грати; 9 - кран-укосина; 10 - штуцер для завантаження адсорбенту; 11 - люклаз;
12 - трубопровід для вивантаження адсорбенту. Потоки: I - вихідний газ; ІІ -
відпрацьований газ
Додаток 2
Рис. 33 - Адсорбер з рухомим
зернистим адсорбентом: І - зона адсорбції; ІІ - зона ректифікації; ІІІ - зона
десорбції. 1-бункер; 2 - холодильник; 3 - розподільчі тарілки; 4 -
теплообмінник-десорбер; 5 - розвантажувальний пристрій, 6 - гідравлічний затвор;
7-регулюючий клапан; 8 - збірник; 9 - газодувки; 10 - труба-газопід’ємник;
11-теплообмінник-реактиватор