Нафтогазопромислове обладнання
Курсовий проект
Нафтогазопромислове
обладнання
ВСТУП
Використання на нафтових і газових промислах великої
кількості машин і обладнання для буріння та видобутку призвело до необхідності
створення служб, які забезпечують працездатність цих машин і обладнання,
безперебійність їх його функціонування, а також до необхідності забезпечення
цих служб відповідними машинами і обладнанням. Були створені і впроваджені
комплекси складних машин, обладнання та інструменту для ремонту і
обслуговування бурового устаткування. Внаслідок цього сучасний нафтогазовий
комплекс перетворився в дуже насичений технікою об’єкт з високим ступенем
автоматизації управління, який виконує десятки складних взаємопов’язаних
технологічних процесів. Одночасно із створенням нафтогазової промисловості і
нафтопромислового машинобудування, яке забезпечує її машинами і обладнанням для
забезпечення її машинами і обладнанням для видобутку нафти і газу, формувалася
і наука в області її створення. На теперішній час вони перетворилися в самостійну
область технічних наук. Від розвитку науки залежить в майбутньому підвищення
ефективності існуючого комплексу машин і обладнання і створених нових технічних
засобів видобутку нафти і природного газу, а також ефективності їх видобутку.
Досягнення високого рівня видобутку нафти і газу потребує відповідно збільшених
об’ємів бурових робіт, а також витрат на виготовлення бурового обладнання та
інструменту. Нафта та газ набули дуже широкого використання в нашому житті.
Нафта, газ та продукти їх переробки являються не лише висококалорійним паливом,
але і цінною сировиною для хімічної промисловості. Із нафти та газу отримують
спирти, формалін, ацетилен, штучні барвники, синтетичні волокна, оливи, дорожні
покриття. Нафта та газ мають великі переваги перед всіма іншими видами палива,
як по калорійності, так і по ціні. Протягом останніх років галузь стабілізувала
виробництва і забезпечила видобуток нафти на рівні 4,2 мільйона тон і газу 18
мільярдів кубічних метрів.
1. Інформаційний пошук
.1 Сутність гідравлічного розриву пласта як одного зі
способів інтенсифікації припливу пластових флюїдів
Гідравлічний розрив пластів - один з ефективних засобів дії
на призабійну зону свердловин. Це метод застосовується для освоєння свердловин
для підвищення продуктивності нафтових і газових родовищ і для підвищення
поглинальної здатності нагнітальних свердловин, при ізоляції вод пластів і так
далі.
Процес гідророзриву пластів полягає в створенні штучних і
розширення наявних свердловин в породах призабійної зони дією підвищених тисків
рідини, що нагнітається у свердловину. При підвищенні тиску в породах пласта
утворюються нові або відкриваються або розширюються наявні тріщини. Уся ця
система тріщин зв'язує свердловину з віддаленими від забою продуктивними
частинами пласта. Для запобігання зімкненню тріщин після зниження тиску в них
вводять крупнозернистий пісок, що додається в рідину, що нагнітається у
свердловину. Радіус тріщин може досягати декількох десятків метрів.
Промислова практика показує, що дебет свердловин після гідророзриву
збільшується іноді в декілька десятків разів. Це свідчить про те, що тріщини,
що утворилися, мабуть, з'єднуються з тими, що існували раніше, і приплив до
свердловини походить ще і з раніше ізольованих високопродуктивних зон. Механізм
утворення тріщин при розриві пласта рідиною, що фільтрується в пласт,
наступної. Під тиском, створюваним у свердловині насосними агрегатами, рідина
розриву фільтрується в першу чергу в зони з найбільшою проникністю. При цьому
між пропластками по вертикалі створюється різниця тисків, оскільки в проникних
пропластках, тиск більший, ніж в малопроникних або практично не проникних. В
результаті на покрівлю і підошву проникного пласта починають діяти деякі сили,
породи, що вище лежать, піддаються деформації і на межах пропластків
утворюються горизонтальні тріщини.
При розриві рідиною, що не фільтрується, механізм розриву
пласта стає аналогічним механізму розриву товстостінних посудин. Тріщини, що
утворюються при цьому, мають, як правило, вертикальний або похилий напрям. При
розриві рідиною, що фільтрується, тиск розриву звичайний значно менше, ніж при
розриві рідинами, що не фільтруються, оскільки в останньому випадку механізм
розриву порід схожий з механізмом розриву товстостінної посудини. Рідина, що
фільтрується, припала в пласт внаслідок великої площі контакту з породою,
Передає на неї великі зусилля, достатні для розриву при тисках, значно менших,
ніж необхідно для руйнування пласта рідиною, що не фільтрується.
Процес розриву великою мірою залежить від фізичних властивостей
рідини і, зокрема від її в'язкості. Щоб тиск розриву був найменшим, треба, щоб
вона була такою, що фільтрується. Підвищення в'язкості так само, як і зменшення
фільтрованості рідин, вживаних при розриві пластів, здійснюється введенням в
них відповідних добавок. Такими загусниками для вуглеводневих рідин, вживаних
при розриві пластів, являються солі органічних кислот, високомолекулярні і
колоїдні з'єднання нафти (наприклад, нафтовий гудрон і інші відходи
нафтопереробки).
Значну в'язкість і високу пісконесучої здатність мають деякі
нафти, гасо-кислотні і нафто-кислотні емульсії, вживані при розриві карбонатних
колекторів, і водо-нафтові емульсії. Ці рідини і використовуються як рідини
розриву і рідини-пісконосія при розриві пластів в нафтових свердловинах.
Застосування рідин розриву і рідини-пісконосія на
вуглеводневій основі для розриву пластів у водонагнітальних свердловинах може
привести до погіршення проникності порід для води внаслідок утворення сумішей
води з вуглеводнями. Щоб уникнути цього явища пласти у водонагнітальних
свердловинах розривають загущеною водою. Для загущення застосовують
сульфид-спиртову борду (ССБ).
Пісок, призначений для заповнення тріщин, повинен
задовольняти наступним вимогам:
) утворювати міцні піщані подушки і не руйнуватися під
тиском;
) зберігати високу проникність під дією зовнішнього тиску.
Цим вимогам задовольняє крупнозернистий, добре окатанний і
однорідний по гранулометричному складу пісок, що має високу механічну міцність.
Найбільше застосування отримали чисті кварцеві піски з розміром зерен від 0,5
до 1,0 мм.
Технологія проведення гідророзриву пласта.
Для гідророзриву пласта в першу чергу вибирають свердловини з
низькою продуктивністю, обумовлених природною малою проникністю порід, або
свердловини, фільтраційна здатність призабійної зони яких погіршала при
розкритті пласта. Необхідно також, щоб тиск пласта був достатнім для
забезпечення припливу нафти у свердловину. До розриву порід свердловину
досліджують на приплив і визначають її поглинальну здатність і тиск поглинання.
Результати дослідження на приплив і дані про поглинальну
здатність свердловини до і після розриву дають можливість судити про результати
операції, допомагають орієнтовно оцінити тиск розриву, правильно підібрати
відповідні властивості і кількість рідини для проведення розриву. судити про
зміни проникність порід призабійної зони після розриву. Перед початком робіт
свердловину очищають від бруду дренуванням і промивають, щоб поліпшити
фільтраційні властивості призабійної зони.
Добрі результати розриву можна отримати при попередній
обробці свердловини соляної або глинокислотної (суміш соляної і плавикової),
оскільки при розкритті пласта проникність порід погіршується в тих інтервалах,
куди найбільше проникають фільтрат і глинистий розчин.
Такими пропластками є найбільш проникні ділянки розрізу, які
після розкриття пласта при бурінні на глинистому розчині стають іноді мало
проникними для рідини розриву. Після попередньої кислотної обробки покращуються
фільтраційні властивості таких пластів і створюються сприятливі умови для
утворення тріщин.
У промиту очищену свердловину спускають насосні труби
діаметром 76 або 102 мм, по яких рідина розриву падає на забій. При спуску труб
меншого діаметру внаслідок значних втрат тиску процес розриву утруднюється. Для
оберігання обсадної колони від дії високого тиску над пластом встановлюється
пакер. Щоб він не зрушувався, по колоні при підвищеному тиску на трубах
рекомендується встановлювати гідравлічний якір. Чим більше тиск в трубах і
усередині якоря, тим з більшою силою висуваються і притискаються поршеньки
якорі до обсадної колони, кільцеві грані на торці поршеньків врізаючись в
колону, чинять тим велику гальмівну дію, чим вище тиск. Є якоря і інших типів.
Гирло свердловини обладналося спеціальною голівкою, до якої
підключають агрегати для нагнітання рідин.
Розрив пласта здійснюється нагнітанням в труби рідини розриву
до моменту розшарування пласта, який відзначається значним збільшенням
коефіцієнта прийомистості свердловини. Після розриву в пласт нагнітають
рідини-пісконосія. Найбільший ефект дає закачування рідини пісконосія при
великих швидкостях і високих тисках нагнітання, оскільки при цьому ширше
відкриваються тріщини, що утворилися, рідини-пісконосії придавлюють в пласт в
об'ємі труб шляхом нагнітання у свердловину продавочної рідини, як яка
використовують нафту для нафтових свердловин і воду - для нагнітальних. Після
цього гирло свердловини закривають і залишають її в спокої до тих пір, поки
тиск на гирлі не спаде. Потім свердловину промивають, очищають від піску і приступають
до її освоєння.
Окрім описаної схеми гідророзриву, залежно від умов
проведення процесу і його призначення застосовують інші технологічні схеми.
У неглибоких свердловинах розрив пласта можна проводити без
спуску насосно-компресорних труб або з трубами, але без пакера. У першому
випадку рідина нагнітається безпосередньо по обсадних трубах, а в другому як по
трубах, так і по кільцевому простору. При такій технології можна значно
зменшити втрати тиску у свердловині при нагнітанні дуже в'язкої рідини. Для
поліпшення умов припливу можна застосовувати і багатократний розрив пласта.
Суть його полягає в тому, що в пласті на різних глибинах створюють декілька
тріщин і таким чином, істотно збільшують проникність порід призабійної зони у
свердловинах.
Дуже важливим питанням при проведенні гідророзриву, що
вимагає особливої уваги, являється визначення місця розташування і характеру
тріщин, що утворюються. Це завдання успішно вирішується методами радіоактивного
каротажу, що проводиться після введення в тріщину суміші звичайного і
радіоактивного піску. Активацію піску здійснюють адсорбцією і закріпленням на
його поверхні радіоактивних речовин.
2. ОПИС ТЕХНОЛОГІЧНОГО КОМПЛЕКСУ ДЛЯ ГРП
.1 Вибір та комплектування обладнання технологічного
комплексу для ГРП
Розрахунок основних показників для проектування
гідравлічного розриву пласта
Глибина свердловини -
=
1538 м;
діаметр колони труб - D = 0,89 м;
інтервал перфорації - 1530-1538 м;
пластовий тиск -
= 15,5 МПа;
вибійний тиск -
=12МПа;
дебіт пластової рідини до проведення гідророзриву пласта
= 2,4 /добу; тиск розшарування порід -
= 1,67 МПа;
відносна питома вага гірських порід -
= 2,35 т/м3;
в’язкість рідини - пісконосія - 118 спз;
проникність пласта до ГРП - 0,05 д;
ефективна потужність пласта - 7 м; секундна подача
- 21 л/с.
2.1.1 Розрахунок величини тиску розриву та вибір
нагнітального обладнання
Тиск розриву пласта визначається за виразом [1], МПа:
ррозр1= рв.г-рпл+σр; (2.1)
де: р в.г - вертикальний гірський тиск, МПа:
рв.г= gНγn,
(2.2)
де: Н - глибина свердловини, Н= 1538 м;
γn- відносна питома вага гірських порід
γn = 2,35т/м3 = 2,35×103 кг/м3.
Звідси:
-
пластовий тиск, за умовами завдання
=
15,5 МПа;
-
тиск розшарування порід, за умовами завдання
=
1,67 МПа.
Тоді, за виразом (1.2):
Ррозр1=35,45-15,5+1,67=21,62 МПа.
Тиск в НКТ, котрий необхідно створити для того, щоб розірвати пласт,
визначається за формулою:
,
МПа (2.3)
де: kдосл = (1,5÷2,0) · 103 - дослідний коефіцієнт, який
визначається згідно експериментальних даних. В курсовому проекті приймаємо
середнє значення k=1,75. Тоді,
Звідси, усереднене значення тиску, котрий необхідно створити на вибої
свердловині буде:
МПа
З метою перевірки можливості проведення ГРП через колону НКТ з
= 0,89 м, необхідно провести перевірку її міцності на
внутрішній тиск за формулою Ламе.
Допустимий тиск на гирлі свердловини Рприп.г.1 при
закачуванні рідини -пісконосія вязкістю
= 118 спз визначається згідно виразу:
,
МПа (2.4)
де: DН = 0,089 м - зовнішній діаметр колони НКТ;В =
0,076 м - внутрішній діаметр НКТ (додаток А,[4]),
σтек =
650·106 Па - границя текучості для сталі марки Л (додаток А, [4]);
К = 1,5 - коефіцієнт запасу міцності;втрати напору на тертя рідини в
трубах (приймаємо в діапазоні 42…85 м), приймаємо h= 50 м;
-
відносна питома вага рідини розриву,
=
950 кг/м3;
-
довжина колони НКТ, L=Н=1538 м.
Звідси,
Припустимий тиск на гирлі свердловини, в залежності від міцності різьби
верхньої частини колони труб на розтяг буде:
Па (2.5)
де:
= 762×103
Н - навантаження зрушення для НКТ діаметром 0,076 м із сталі марки Л (дод. А,
[4]);
К = 1,5 - коефіцієнт запасу міцності;= 250×103 Н - натяг при обв’язці обсадної колони.
Звідси,
Із отриманих двох значень припустимого тиску на гирлі свердловини
приймаємо менше значення (57,33 МПа).
Максимально припустимий тиск на вибої свердловини при Рприп.г=57,33
МПа буде складати:
(2.6)
Так як, потрібний для розриву тиск розриву на вибої свердловини
відповідає вимозі:
(2.7)
то умова міцності виконується.
Звідси можемо визначити тиск на гірлі свердловини:
,
МПа. (2.8)
Так як всі величини у виразі відомі, то:
Рг=24,01·106-9,81·950·1538+9,81·950·50=10142584=10,14
МПа.
Тобто, для здійснення гідравлічного розриву пласта на гирлі свердловини
необхідно створити тиск Рг=10,14 МПа.
При цьому, тиск на гирлі свердловини (Рг=10,14 МПа) буде
значно нижчий ніж припустимий для обраних труб (згідно додатка А, допустимий
внутрішній
тиск для НКТ
= 0,89 м зі сталі марки Л складає [Рприп]=95·106
Па. Отже, розрив можна виконувати через НКТ з діаметром 0,89 м.
Заданий тиск можна забезпечити насосними агрегатами [2]:
4АН-700 (тиск подачі - до 70 МПа; продуктивність - до 17,1
л/с) та любою іншою установкою, котра здатна забезпечувати необхігі теїнічні
показники.
2.1.2 Розрахунок необхідних об’ємів технологічних рідин для
проведення ГРП
Об’єм рідини-пісконосія залежить: від властивостей рідини,
кількості закачуваного до свердловини піску, об’єму природних та утворених
тріщин, його концентрації та інших факторів.
За даними, одержаними за останні 10 років нафтогазовидобувними
організаціями Полтавської та Сумської областей, рекомендується приймати
кількість піску, що нагнітається з рідиною при гідророзриві в діапазоні
величин:
= 4...6 т на одну свердловину.
Приймаємо кількість піску -
=5
т.
Концентрація піску
в
рідині-пісконосії залежить від її в’язкості та темпів її нагнітання до
свердловини.
Рекомендується приймати концентрацію наповнювача у рідині згідно даних
таблиці 2.1.
Таблиця 2.1 - Дані для вибору концентрації наповнювача
|
В’язкість
рідини-пісконосія
|
Концентрація
наповнювача
|
|
10-50 спз
|
50…150 г/л
|
|
50-150 спз
|
151…300 г/л
|
|
150-300 спз
|
301…500 г/л
|
Зважаючи на те, що в’язкість рідини-пісконосія складає, згідно умов
завдання, величину 118 спз, за даними таблиці 2.1 обираємо значення
концентрації наповнювача -
=
250 г/л = 0,25 т/м3.
Звідси, об’єм рідини-пісконосія, м3, складе величину:
м3.
(2.9)
Необхідний об'єм продавочної рідини, м3:
(2.10)
де:
- внутрішній діаметр колони НКТ; для 89 мм труб він
складе згідно [дод. А, [4])] 76 мм або 0,076 м.
Звідси,
м3.
Об’єм рідини розриву приймається згідно даних додатку Б, [4].
Для умов завдання приймаємо:
=
6,55м3.
Зважаючи на те, що на гирлі свердловини необхідно створити тиск - Рг=10,14
МПа, згідно додатку В приймаємо для нагнітання рідини до пласта агрегат 4АН-700
[4].
За робочі параметри обираємо наступні:
діаметр змінного плунжера насоса - 0,12 м;
швидкість передачі - ІV;
– подача нагнітального насоса - 22 л/с.
Загальна тривалість процесу гідророзриву визначається за
формулою:
с, (2.11)
де: Q - секундна подача робочої рідини, котра дозволяє подолати
поглинальну здатність пласта, Q= 21 л/с = 21×10-3 м3/с.
Звідси,
2.1.3 Розрахунок радіусу горизонтальної тріщини
Радіус горизонтальної тріщини розраховується за емпіричною формулою:
,
м (2.12)
де:
- емпіричний коефіцієнт, що залежить від гірського
тиску і характеристики гірських порід (наприклад, для свердловин з глибинами до
2300 м, приймається значення
=0,035);
-
подача робочої рідини, котра дозволяє подолати поглинальну здатність пласта,
згідно умов завдання Q = 21 л/с = 1260 л/хв=1,26 м3/хв.;
-
час закачуванні рідини розриву:
(2.13)
-
проникність порід; приймаємо згідно завдання
=0,05
д;
-
в'язкість рідини розриву, за умовою завдання
=
118 спз.
Тоді,
2.1.4 Розрахунок проникливості горизонтальних тріщин,
призабійної зони та дренажної системи
Проникність горизонтальних тріщин визначається за формулою:
д. (2.14)
де: w = 1×10-3 м - середня ширина
горизонтальних тріщин. В курсовому проекті приймається рівною 1×10-3 м.

д.
(2.15)
де: kП = 0,05 - проникність пласта;= 7 м - ефективна
потужність пласта;= 1×10-3 м
- ширина тріщини.
Проникність всієї дренажної системи визначається за виразом:
(2.16)
де: RK - радіус контура живлення свердловини (або середня
відстань між двома сусідніми свердловинами, в курсовому проекті приймаємо 250
м); с= 0,084 м - зовнішній радіус обсадної колони;= 6,3 м - радіус
горизонтальної тріщини.
.1.5 Розрахунок максимального дебіту свердловини після проведення
гідравлічного розриву пласта
Максимальний дебіт свердловини після гідравлічного розриву з
утворенням у призабійній зоні горизонтальних або вертикальних тріщин
визначається згідно виразу:
,
см3/сек. (2.17)
де:
- проникність всієї дренажної системи після
гідророзриву, приймаємо
= 0,107;
-
ефективна потужність пласта, см,
=
7м = 700 см;
-
перепад тиску на вибої, МПа;
,
(2.18)
Звідси,
= 15,5-12=3,5 МПа;
-
динамічна в'язкість нафти,
=
10 спз,- радіус горизонтальної тріщини; r = 6,3 м.
Тобто, дебіт свердловини після проведення гідророзриву пласта зріс з
,4 м3/добу до 8,64 м3/добу.
.1.6 Розрахунок необхідної кількості насосних агрегатів для проведення
ГРП
За попередніми розрахунками був обраний нагнітальний агрегат 4АН-700
[2] з робочими параметрами:
діаметр змінного плунжера насоса - 0,12 м;
швидкість передачі - ІV;
- подача нагнітального насоса для забезпечення необхідного
тиску розриву - 22 л/с.
Для прийнятого темпу закачування робочої рідини (секундна
подача) 21 л/сек., визначаємо необхідну кількість робочих агрегатів (+ 1
резервний):
агрегата;
Приймаємо 3 агрегати 4АН-700.
Для піску з рідиною використовуємо спеціальний
піскозмішувальний агрегат ЦПА, який має бункер на 8 тон.
Для доставки до свердловини робочої рідини використовуємо
автоцистерни 4-ЦР ємністю по 10 м3.
Отже, для проведення ГРП на свердловині слід використати наступне
обладнання:
а) агрегат 4АН-700 - 3шт;
б) піскозмішувач 4ПА - 3шт;
в) блок маніфольд БМ 700 - 1шт;
г) автоцистерна АЦ10 - 4шт.
Розрахунок очікуваного ефекту від гідророзриву.
Очікуваний ефект від гідророзриву визначається згідно виразу:
(2.19)
2.2 Опис підібраного технологічного обладнання
Під час проведення гідравлічного розриву пласта використовується
значна номенклатура технологічного обладнання, одна частина якого належить до
підземного, а друга до наземного.
Взаємодія наземного і підземного обладнання при гідравлічному
розриві пласта відбувається таким чином. У зоні проведення гідравлічного
розриву встановлюється один або два пакери (верхній та нижній), як і
відокремлюють зону розриву від затрубного простору. Утримування пакера в
нерухомому положенні здійснюється за допомогою якоря.
Наземне обладнання складається зі значної номенклатури машин
і обладнання. Пісковози й автоцистерни виконують функцію транспортування до
місця проведення ГРП твердих наповнювачів та рідин. Насосні агрегати нагнітають
три типи рідин через нагнітальну арматуру до колони НКТ. Піскозмішувальні
агрегати призначені для приготування рідини з наповнювачем, так званої
рідини-пісконосія, котра нагнітається до свердловини в другій фазі проведення
ГРП. Процес спрямовування теxнічниx рідин регулюється блоком-маніфольдів.
Контролювання процесом ГРП здійснюється станцією контролю та керування
Пакери і якорі. Пакери належать до внутрішнього
свердловинного обладнання і виконують функцію розділювання робочих зон:
- внутрішнього простору колони НКТ та затрубного простору
порожнини між зовнішньою стінкою колони НКТ і внутрішньою стінкою
експлуатаційної колони;
-інтервалів міжколонного простору для проведення
технологічних операцій.
Типорозміри та конструкції пакерів нормалізовані галузевим
стандартом ОСТ 26-02-1016-73 (Російська Федерація) "Пакеры для нефтяных и
газовых скважин".
Існують наступні типи пакерів:
ПВ напрямок зусилля від перепаду тиску спрямований
вертикально;
ПН напрямок зусилля від перепаду тиску спрямований униз;
ПД двосторонньої дії, напрямок зусилля перепаду тиску як
угору, так і вниз.
За методом фіксації на місці встановлення пакери
підрозділяються на пакери з окремим пристроєм, який фіксує їх у міжколонному
просторі (Я), якорем, а також на ті, що самостійно фіксуються.
За способом установлення на місці пакери підрозділяються на:
гідравлічні (Г), механічні (М), гідромеханічні (ГМ), а також на ті, що не
потребують посадки.
Конструкція й технічні характеристики пакерів повинні
відповідати умовам і вимогам їх застосування:
можливість посадки в експлуатаційну колону, що складається з
обсадних труб за ДСТ 632-80;
можливість зчленування з колоною ліфтових труб за ДСТ 633-80,
у тому числі одно-, дво- і трирядних ліфтів;
температура робітничого середовища від мінус 50 до 200 0С;
максимальний перепад тиску, сприйманий пакером, повинен
відповідати параметричному ряду умовних тисків: 14; 21; 35; 50 і 70 МПа;
проміжок між зовнішнім діаметром пакера й внутрішнім
діаметром експлуатаційної колони не більший за 12-20 мм.
Умовні позначення пакера містять у собі: тип, число прохідних
отворів (для багатопрохідних пакерів), вид за здатністю фіксуватися, способи
посадки й знімання, зовнішній діаметр, максимальний перепад тиску та виконання.
Якорі призначені для фіксації пакерів у нерухомому положенні
(зі збільшенням внутрішнього тиску зростає сила притискання фіксуючих
елементів). Для зняття якоря з нерухомого положення необхідно знизити
внутрішній тиск у колоні НКТ.
Устьова арматура. При гідравлічному розриві пласта й інших
технологічних операцій устя свердловини обладнають спеціальними арматурами, які
називаються універсальними арматурами устя свердловини 2АУ-70 і 2АУ-70СУ, тому
що цими арматурами можна використовувати при гідропіскоструменевій перфорації
та цементування свердловин.
Арматура устя складається з xрестовини з патрубком діаметром
80 мм, гирлової головки із сальником, корковиx кранів та іншиx елементів.
У xрестовині є три горизонтальні відводи, до двоx з якиx
через коркові крани приєднуються напірні лінії насосниx агрегатів. На
xрестовині встановлений манометр із роздільником, заповненим маслом. Гирлова
головка із чотирма відводами, у трьоx відводів є коркові крани, а до четвертого
відвода приєднаний манометр цвяхового типу. На нижньому кінці головки нарізано
різьблення для приєднання до експлуатаційної колони діаметром 168 мм. До колон
іншого розміру головку приєднують за допомогою перевідника або фланця.
Арматура може приєднуватися до піднімальних труб діаметром 73
і 89 мм. Відводи арматур мають гнучкі з'єднання. Арматури устя вкомплектовані
прохідними кранами із циліндричними пробками, легко керованими при будь-якому
тиску.
Технічна характеристика устьового обладнання:
Трубна головка: робочий тиск, МПа 70; число ліній, що
приєднуються, 2; умовний прохід ліній, що приєднуються, мм 50.
Гирлова головка: робочий тиск, МПа 32; число ліній, що
приєднуються, 2; умовний прохід ліній, що приєднуються, мм 50.
Коркові крани: умовний прохід лінії, мм: нагнітальної 50;
контрольної (із зубчастим сектором) 25. Розміри арматури устя, мм
1828X1695X1532.Маса арматур, кг: у зборі 500; повного комплекту 515.
Блок маніфольда. У процесі гідравлічного розриву пласта й
інших операцій використовують кілька насосних агрегатів. Для спрощення обв'язки
агрегатів між собою і з гирловою головкою при нагнітанні рідини
до свердловини застосовують самохідний блок маніфольда.
Блок маніфольда складається з двох груп комунікацій -
низького і високого тиску. Він оснащений зворотними клапанами, що виключають
зворотне перетікання рідини в лінію низького тиску при аварійному зупиненні
одного з насосів та може бути також використаний при цементуванні свердловин.
Блок маніфольда 1БМ-700 для помірного клімату й 1БМ-700С для
помірного і холодного клімату складається з напірного та
приймально-роздавального колекторів, комплекту труб із шарнірними з'єднаннями й
піднімальною стрілою. Усе це устаткування змонтоване на шасі тривісного
вантажного автомобіля ЗИЛ-131 підвищеної прохідності.
Напірний колектор складається із кованої коробки з шістьма
відводами для з'єднання з насосними або цементувальними агрегатами, центральної
труби з датчиками контрольно-вимірювальних приладів (манометра, витратоміра та
ін.), двох відводів для з'єднання з арматурами на устя свердловини; коркових
кранів і запобіжного клапана.
Для механізації навантаження і вивантаження арматур устя блок
маніфольда оснащений поворотною стрілою з ручним керуванням.
Автоцистерни. Вимоги до автоцистерн для проведення гідророзриву:
наявність ємності заданого об'єму, засобів стабілізації температури рідини,
засобів перекачування рідини. Автоцистерна повинна володіти доброю прохідністю
і бути або самохідною або перевозитися тягачем.
Використовуються цистерни наступних марок: ППЦ-23-5524П,
АЦН-11-257, АЦН-7,5-5334, ЦР-7АП, АП-15-5320/8350.
Обладнання, встановлене на цистерні, може забезпечити
наповнення цистерни рідиною із сторонньої ємності; подачу рідини з власної або
сторонньої ємності з вимірюванням кількості, яка подана на прийом насоса
високого тиску.
Рідина перекачується насосним блоком, що приводиться у дію
ходовим двигуном через коробку відбору потужності й трансмісію.
Насосні агрегати. Для створення тиску в нагнітальній лінії
використовуються насосні агрегати 4АН-700 змонтовані на шасі автомобіля
КрАЗ-257. Обладнання агрегату включає силову установку 4УС-800, коробку передач
ЗКПм, горизонтальний трьохплунжерний насос 4Р-700, маніфольд і систему
керування.
Вимога до насосних агрегатів: гідророзривна та буферна рідина
мають закачуватися одним і тим же агрегатом з автономним приводом. Насоси
агрегату повинні мати велику подачу й створювати тиск, необхідний для
гідророзриву.
Силова установка 4УС-800 складається з дизеля з
багатодисковою фрикційною муфтою зчеплення, відцентрового вентилятора, систем
живлення, охолодження, змащення та інших вузлів.
Насос 4Р-700 триплунжерний, горизонтальний, одинарної дії.
Його конструкція передбачає роботу з плунжерами діаметром 100 або 120 мм.
Агрегат піскозмішувальний. Агрегат використовується для
перевезення піску і приготування піщано-рідинної суміші. Агрегати мають дві
ємності для заповнення піском двох фракцій дрібної і крупної.
Піщано-рідинна суміш отримується у змішувачі, котрий
оснащений робочим шнеком з гідроприводом. Продуктивність становить 50-75 т/год.
Суміш накопичується в акумуляторі з лопатевими мішалками і
гідромоторами для виключення осадження піску. Місткість акумулятора 1-1,5 м3.
3.
ТЕХНІКО-ЕКОНОМІЧНІ ПОКАЗНИКИ ПІДІБРАНОГО ОБЛАДНАННЯ
Для забезпечення заданого тиску для проведення гідравлічного
розриву я вибрала насосний агрегат 4АН-700 та насос 4Р-700.
|
Параметри
|
Тип насоса
|
|
4Р-700
|
|
Діаметр клапана, dкл,
мм
|
98
|
|
Маса клапана, кг
|
3,21
|
|
Діаметр прохідного
отвору сідла клапана, dс, мм
|
100
|
|
Діаметр дроту
пружини, d, мм
|
4
|
|
Середній діаметр
витка пружини, Dср, мм
|
52,5
|
|
Кількість робочих
витків пружини, і
|
7
|
|
Діаметр сідла, Dс,
мм
|
128
|
|
Внутрішній діаметр
сідла, Dвн, мм
|
100
|
|
Висота сідла
клапана, hс, мм
|
65
|
|
Діаметр тарілі, dТ,
мм
|
136
|
|
Товщина стінки
тарілі, b, мм
|
18
|
|
Висота тарілі, h,
мм
|
25
|
Насосний агрегат 4АН-700
|
Швидкість
|
Число подвійних
ходів в хвилину
|
Діаметр змінних
плунжерів насоса, мм
|
|
|
100
|
120
|
|
|
Подача насоса, л/с
|
Тиск, МПа
|
Подача насоса, л/с
|
Тиск, МПа
|
|
І
|
80
|
6,3
|
70
|
9,0
|
51,0
|
|
ІІ
|
109
|
8,5
|
54
|
12,3
|
37,5
|
|
ІІІ
|
153
|
12,0
|
38
|
17,3
|
26,6
|
|
IV
|
15,0
|
30,5
|
22,0
|
21,0
|
4. Перевірка
працездатності елементів гідравлічної частини насоса
4.1 Розрахунок елементів клапанного вузла
Під час розрахунку елементів клапана спираються на залежність
між частотою ходів насоса і швидкістю підйому клапана. Для насоса, який
розглядається в даному випадку, розрахунки будемо проводити при частоті
обертання вала nдв =1600 хв-1 додаток В.
Максимальна висота підйому клапана визначається за формулою
,
(4.1)
де F - площа плунжера, м2;
(4.2)
пл
- діаметр плунжера (додаток В, [4]), Dпл = 0,12 м;
-
радіус кривошипа, м:
(4.3)
де S - довжина ходу плунжера ( приймаємо для насоса 4Р-700 - S= 0,2 м);
d кл- діаметр клапана, d кл = 0,098 мм
(додаток Г, [4]);
ω - кутова швидкість
кривошипа, с-1:
(4.4)
де n - частота подвійних ходів плунжера, n = 192 хв-1
(додаток В, [4]);
μ - коефіцієнт витрат, за
рекомендаціями методичної літератури умовно приймаємо
μ=0,1;
α- кут нахилу твірної
конічної, ( приймаємо α=200).
Тоді маємо:
(4.5)
Гідростатичне навантаження на клапан складе:
(4.6)
де Рпр - навантаження пружини при відкритому клапані, Н:
(4.7)
де τ'
- модуль пружності при зсуві;
приймаємо τ'=8·105 МПа;
d - діаметр дроту пружини; d=0,004 м (додаток Г, [4]);ср-
середній діаметр витка пружини; Dср=0,0525 м (додаток Г, [4);
і - кількість робочих витків пружини, і=7 (додаток Д, [4]);
у - деформація пружини у відкритому клапані,
.
Тоді,
(4.8)
де γ - питома вага рідини розриву;
mкл- маса клапана у зборі, mкл = 3,21
кг (додаток Д, [4]);площа перерізу прохідного отвору сідла клапана, м2;
(4.9)
де dс - діаметр прохідного отвору сідла клапана, dс=0,10
м (додаток Г, [4]).

Розраховуємо зусилля пружини при відкритому і закритому
клапані:
Рпр.в= Рпр·(0,032+hmах)=1061,5·(0,032+0,047)=83,86
Н.
Визначимо напруження у поперечному перерізі витка пружини при
відкритому положенні клапана:
(4.10)
МПа.
Виходячи із розрахунків вибираємо матеріал пружини сталь 60С2, по ГОСТ
2052-94. Рекомендовані граничні допустимі напруження
МПа. Швидкість посадки клапана:
,
(4.11)
де
- кутова швидкість кривошипа, с-1:
=0,047·20,10=0,945·10-3м/с=945
мм/с.
Критична швидкість при якій може з’явитись стукіт клапанів з’являється
при
=190…210 мм/с, а в нашому випадку у зв’язку з тим, що
наш клапан підпружинений стукіт з’являється при
=250
мм/с.
Швидкість рідини у клапанній щілині
,
(4.12)
де
- коефіцієнт швидкості,
=0,6…0,8; приймаємо
.2 Розрахунок елементів клапана на міцність
.2.1 Розрахунок сідла клапана
Спочатку зовнішню поверхню сідла клапана перевіряємо на
зминання. При цьому, максимальне діюче на сідло зусилля складе:
,
(4.13)
де р - робочий тиск насоса при обраній подачі, р = 21,0 МПа (додаток В,
[4]);c - діаметр сідла клапана, Dc = 128 мм = 0,128 м
(додаток Г, [4]).
Тоді,
Площа бокової поверхні сідла складе
м2
(4.14)
де hс - висота сідла клапана, h= 65 мм (додаток Д, [4]);сід=0,7·3,14·0,128·0,065=0,0183
м2.
Напруження зминання становитиме
=
(4.15)
Сідло клапана виготовлене із сталі 40ХН, а межа міцності для цієї сталі
становить
МПа.
Отже, виходячи із даного розрахунку видно, що умова виконується
147,59 МПа < 300 МПа.
Розраховуємо горизонтальну посадочну поверхню на зминання
,
(4.16)
де
- зусилля які діють на тарілку, зм.т -
площа зминання, м2.
,
(4.17)
де р - робочий тиск
насоса при обраній подачі, р = 21 МПат - діаметр тарілі, dт
= 136 м (додаток Г, [4]).
кН.
, (4.18)
де Dзн -
зовнішній діаметр сідла, Dзн=Dс=0,128 м (додаток Д, [4]);вн
- внутрішній діаметр сідла, Dвн = 0,1 м (додаток Д, [4]);- товщина
стінки тарілі, b =18=0,018м (додаток Д, [4]);- висота тарілі, h = 25 мм = 0,025
м (додаток Д, [4]).
Гранично допустиме напруження зминання:
,
(4.19)
де Gт - напруження текучості, МПа; т -
коефіцієнт запасу міцності, nт=2
МПа.
Отже, виходячи із розрахунків видно, що умова виконується
[G]≥Gзм.т 300МПа>48,01МПа.
4.3 Перевірка запасу міцності колони
При розрахунку НКТ слід зважати на ряд обмежень, дотримання
яких дозволить провести його на відповідному рівні з достатньою точністю.
По-перше, швидкість руху рідини в колоні не повинна бути
більшою за 10 м/с, так як її збільшення призводить до квадратичного зростання
гідравлічних опорів, що є неприпустимим. Тому, слід обирати НКТ з найбільшим
діаметром прохідного отвору. По-друге, необхідно, щоб з’єднання труб були
високогерметичними.
.3.1 Перевірка запасу міцності з’єднань колони НКТ
Визначимо критичне навантаження розтягу в перерізі останньої
нитки різьби труби за формулою
, (4.20)
де D - зовнішній діаметр труби, D=89 мм;- товщина стінки труби, S=6,5
мм;
σТ mіn
- межа текучості сталі групи міцності „Л”, σТ mіn = 650 МПа.
Тож, за формулою (4.10)к =0,785·(((89-1,7)·10-3)2-((89-2·6,5)·10-3
)2)·650000=941,559 кН.
Навантаження на найбільш небезпечний переріз колони НКТ можна визначити
за формулою
,
(4.21)
де mк - маса одного метра колони труб НКТ 89×6,5; mк =13,2 кг/м (додаток А, [4])п
- маса пакера, приблизно складає близько 100 кг.
Звідси, Q=13,2·9,81·1538+100·9,81=200140 Н=200,140 кН.
Запас міцності насосно-компресорних труб розраховується за формулою
(4.22)
Зважаючи на практично чотрирьохкратний запас міцності, можемо зробити
висновок про безпечність та надійність експлуатації труб НКТ 89×6,5 - Л.
4.3.2 Розрахунок швидкості руху рідини в колоні
насосно-компресорних трубах
Зважаючи на те, що з найбільшою інтенсивністю в НКТ подається
рідина розриву, то будемо проводити розрахунок саме її швидкості руху
трубопроводами. Вона визначається за формулою
, (4.23)
де Q - секундна
подача робочої рідини, котра дозволяє подолати поглинальну здатність пласта, Q
= 21 л/с = 21×10-3 м3/с = 1,26 м3/хв.-
внутрішній діаметр труби; d= 76 мм.
Тоді,
Швидкість руху рідини
в колоні не перевищує 10 м/с, що нас задовольняє.
5. Спеціальна частина
Проаналізувати типи конструкцій пакерів та якорів, які
застосовуються при проведенні гідравлічного розриву пласта.
Пакер (роздiлювач) призначений для роздiлення просторiв
експлуатацiйної колони (чи окремих пластiв мiж собою) та захисту її вiд дiї
високого тиску або вiд дiї пласта (високий тиск, корозiйне середовище).
Основними елементами пакера є ущiльнюючий вузол та якір.
Якори призначені для закріплення i попередження ковзання свердловинного
обладнання вздовж обсадної колони під час експлуатації та ремонту свердловин.
Існують такі типи пакерів:
- ПВ - напрям зусилля від перепаду тиску спрямований
вертикально;
- ПН - напрям зусилля від перепаду тиску спрямований
вниз;
ПД - двосторонньої дії, напрямок зусилля перепаду
тиску як угору та і вниз.
Конструкція і технічні характеристики повинні відповідати
вимогам застосування:
- можливість посадки в експлуатаційну колону, що
складається з обсадних труб;
- можливість зчленування з колоною ліфтових труб, у
тому числі одно-, дво- і трирядних ліфтів;
температура робочого середовища від мінус 50º до 200º;
максимальний перепад тиску сприймаючий пакером
повинен відповідати параметричному ряду умовних тисків: 14;21;35; 50 і 70 МПа;
проміжок між зовнішнім діаметром пакера і внутрішнім
діаметром експлуатаційної колони не більше 12-20 м.
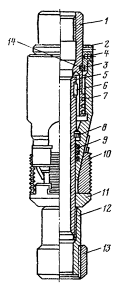
Рисунок 5.1. - Пакер ПН-ЯМ:
Зовнішній діаметр, мм: а - 150, 160, 185, 210, 236, 265; б -
118 і 136;
- головка; 2 - упор; 3 - манжети; 4 - конус; 5 - плашка;
- плашкотримач; 7 - циліндр; 8 - захоплювач; 9 - конус
ліхтаря;
- башмак; 11 - замок; 12 - гайка; 13 - палець; 14 стовбур.
Пакер типу ПН-ЯМ призначений для роздiлення просторiв
експлуатацiйної колони нафтових i газових свердловин i захисту її вiд дiї пласта.
Пакер ПН-ЯМ складається iз ущiльнюючого пристрою, плашкового механiзму i
фiксатора типу байонетного замка (рис.5.1). Посадка пакера здiйснюється шляхом
припiднімання труб, повороту на 1,5-2 оберти вправо, а вiдтак опускання труб
вниз. Завдяки тертю башмакiв до стiнки експлуатацiйної колони забезпечується
нерухомiсть корпусу. У процесі повороту палець ковзає по фiгурному пазу i
опускається вниз разом iз стовбуром.
Пакер ПН-ЯГМ призначений для роздiлення просторiв
експлуатацiйної колони нафтових i газових глибоких вертикальних i похилих
свердловин. Вiн складається iз ущiльнюючого, заякорюючого, клапанного пристроїв
та гiдроприводу (рис.5.2). Для посадки пакера в труби закидують кульку i
створюють тиск. За тиску 10 МПа поршень штовхає плашкотримач, зрiзає гвинти,
плашки насуваються на конус i, опираючись на стiнку експлуатацiйної колони,
створюють упор для стиснення ущiльнюючих манжет.
Рисунок 5.2 - Пакер типу ПН-ЯГМ:
- муфта; 2 - упор; 3 - манжета; 4 - стовбур; 5 - обойма; 6 -
конус;
- шпонка; 8 - плашка; 9 - плашкотримач; 10 - ґвинт; 11 -
кожух;
- поршень; 13 - корпус клапана; 14 - кулька; 15 - сідло;
- зрізний гвинт
Пiд дiєю маси труб плашки втискуються в стiнку колони,
забезпечуючи заякорювання i герметичнiсть розділення. Прохiдний отвiр пакера
вiдкривається за пiдвищення тиску до 21 МПа. При цьому зрiзаються гвинти, а
сiдло та кулька випадають. У разі пiднімання колони труб пакер звiльняється.
Якщо пiдняти та повернути труби влiво на 1,5 - 2 оберти, то пакер може бути
посадженим знову без витягування iз свердловини.
Пакери 1ПД-ЯГ i 2ПД-ЯГ призначенi для роздiлення просторiв
експлуатацiйної колони i захисту її вiд дiї тиску пласта (рис.5.3). Вони
складаються iз верхнього i нижнього якiрних пристроїв, ущiльнення, гiдроцилiндра
та фiксатора. Посадка пакера здiйснюється шляхом створення тиску в колонi
пiднімальних труб, при цьому попередньо прохiд перекривають кулькою,яку
скидують у сiдло або в конус. Пiд дiєю тиску плашки верхнього якоря,
висуваючись назовнi, заякорюються. Гiдравлiчним шляхом здiйснюється ущiльнення
i фiксацiя плашок нижнього якоря. Пакер звiльняється внаслідок натягу i
пiдніманні колони труб. Прохiдний отвiр пакера вiдкривається за пiдвищення
тиску в трубах i зрiзаннi гвинтiв.
Пакер ПД-ЯГМ складається iз верхнього i нижнього заякорюючих
пристроїв, ущiльнюючого i клапанного пристроїв та гiдроприводу. Пакер опускають
у свердловину на трубах, на сiдло скидують кульку i створюють тиск, що
призводить до заякорювання. У пакерi передбачено клапан для промивання
надпакерної зони перед його витягуванням iз свердловини. Внаслідок натягу
колони труб пакер звiльняється.

Рисунок 5.3 - Пакер типу ПД-ЯГ:
а, б - 1ПД-ЯГ із зовнішнім діаметром 136, 140, 145 мм; в -
2ПД-ЯГ-185-210;
- корпус якоря; 2 - кругла плашка; 3 - манжета; 4 - стовбур;
5 - шліпс; 6 - штовхач; 7 - циліндр; 8 - поршень;9 - захоплювач; 10, 14, 17 і
19 - зрізні ґвинти; 11 - золотник; 12 - конус;13 - плашка; 15 - плашкотримач;
16 - сідло; 18 - втулка фіксатора; отвори а і б - для подавання рідини під час
розпакерування
Пакер ПВ-М застосовують для здiйснення технологiчних операцiй
(рис. 5.4). У свердловину, яку попередньо шаблонують i очищають шкребком,
опускають на колонi труб пакер. Після здійснення повороту колони труб за
годинниковою стрiлкою (2 - 3 оберти) фiксатор звiльняє шлiпсотримач. А в ході
наступного опускання колони шлiпси пiд дiєю пружин притискуються до стiнки
колони i втримуються на мiсцi, тодi конус заклинює їх в обсаднiй колонi.
Вiдтак на пакер створюється навантаження колоною труб (7 - 12
т) i ущiльнюється пакер. Шляхом натягування колони труб пакер звiльняється.
Рисунок 5.4 - Пакер механічний ПВМ:
- головка; 2 - опора; 3 - стовбур; 4 - захисна манжета; 5 -
шайба;
- ущільнююча манжета; 7 - конус; 8 - шліпс; 9 - шліпсотримач;
- обмежувач; 11 - пружина; 12 - накривка; 13 - фіксатор; 14 -
болт;
- запобіжне кільце
Якір призначений для фіксації пакерів у нерухомому положенні.
Рисунок 5.5 - Якори гідравлічні ЯГ (а) і ЯГ1 (б):
а: 1 - муфта; 2, 7 - гвинти; 3 - конус; 4 - ствол; 5 - плашка
напрямна;
- плашкотримач; 8 - поршень; 9 - кожух; а - отвір у стволі;
б - порожнина між поршнем і стволом; б: 1 - муфта; 2 -
патрубок;
- корпус; 4 - гвинт; 5 - плашка; 6 - пружина; 7 - планка
Якiр гiдравлiчний ЯГ складається iз стовбура, конуса, плашок
i поршня (рис.5.5). У зібраному вигляді якір приєднують до верхнього кінця
пакера i опускають у свердловину
Заякорювання відбувається під дією надлишкового тиску (6 - 7
МПа), тобто поршень звiльняє плашки, якi врiзаються зубами у внутрiшню стiнку обсадної
колони. Для мiцнiшого зчеплення зубiв з колоною можна створити навантаження
вагою НКТ.
Для звiльнення якоря потрібно, щоб вирiвнявся тиск всерединi
i зовнi якоря, а вiдтак припiднiмають НКТ. В якорi ЯГ1 плашки висуваються в
радiальному напрямi пiд дiєю надлишкового тиску в НКТ, а за вiдсутностi тиску
вони повертаються в початкове положення.
Якiр гiдромеханiчний ЯГМ втримує пакери типу ПВ-М в обсаднiй
колонi вiд змiщення вверх пiд дiєю перепаду тиску (рис.5.6). Якiр складається
iз пустотiлого штока, на якому розмiщено конус i шлiпси.
Під час посадки пакера обертовий рух i осьове навантаження
вiд труб передається через шток до пакера. Пiсля посадки якоря пiд дiєю тиску в
трубах конус якоря звiльняється i розсуває шлiпси до стiнки обсадної колони,
чим здiйснюється заякорювання. Якiр з пакером звiльняються натягом НКТ.
Якiр з пакером необхiдно опускати в прошаблоновану
свердловину. Діаметр шаблона повинен бути на 2 мм бiльшим діаметра пакера,
довжина - не менше 1 м, глибина опускання - на 10 м нижче місця встановлення
пакера.
Якір типу ЯК призначений для підвіски потайних колон
(хвостовиків), у тому числі і у бічних стволах, пробурених з експлуатаційних
колон. Якір колонний дозволяє кріпити стволи свердловин без упору їх на забій.
Якір колонний використовується спільно з цанговим або іншого типу
роз'єднувачем. Розроблені і виготовляються конструкції якорів, що дозволяють
встановити потайні колони діаметром 89 і 102 мм в обсадній колоні діаметром 146
мм, а також діаметром 114 мм в обсадній колоні діаметром 168 мм.
Рисунок 5.6 - Якір гідромеханічний ЯГМ:
- головка; 2 - упор; 3 - конус; 4 - гвинт; 5 - шток; 6 -
шпонка;
, 9 - ущільнююче кільце; 8 - пружинне кільце; 10 - шліпс;
- шліпсотримач; 12 - перевідник; 13 - запобіжне кільце; 14 -
дріт
Якір ЯГ призначений для закріплення i попередження ковзання
свердловинного обладнання вздовж обсадної колони під час експлуатації та
ремонту свердловин.
Якір типу ЯК призначений для підвіски потайних колон
(хвостовиків), у тому числі і у бічних стволах, пробурених з експлуатаційних
колон. Якір колонний дозволяє кріпити стволи свердловин без упору їх на забій.
Висновок
гідравлічний розрив
обладнання
Згідно вихідних даних у курсовому проекті було вибрано і
розраховано комплектування обладнання технологічного комплексу для
гідравлічного розриву пласта.
У проекті проведено опис підібраного технологічного
обладнання та його техніко-економічні показники.
У розрахунковій частині визначений агрегат 4АН-700, який може
забезпечити заданий тиск для гідравлічного розриву пласта, також кількість
обладнання: агрегат 4АН-700- 3 шт; піскозмішувач 4ПА-3 шт; блок маніфольда
БМ-700- 1 шт; автоцистерна АЦ10-4 шт. Перевірено працездатність елементів
гідравлічної частини насосу, розраховано тарілі клапану. Перевірено запас
міцності колони, де зроблено висновок про безпечність та надійність
експлуатації труб НКТ 89х6,5-Л. Розраховано швидкість руху рідини в
насосно-компресорних трубх, яка складає 4,63 м/с, що не перевищує 10 м/с і є
задовільним.
У спеціальній частині проаналізовано типи
конструкцій пакерів та якорів, які застосовуються при проведенні гідравлічного
розрива пласта.
У графічній частині зображено схему розміщення
обладнання технологічного комплексудля гідравлічного розриву пласта, загальний
вид нагнітальної арматури для проведення ГРП, а також деталі, вузли та елементи
нагнітальної арматури для проведення ГРП.
Зважаючи на вищевикладене, можна зробити висновок -
вибране обладнання можна застосовувати при проведенні гідравлічного розриву
пласта.
Список
використаної літератури
1) Юрчук А.М., Истомин А.З. Расчеты в
добыче нефти. Учебник для техникумов, 3-е изд., перераб. и доп., М.:
"Недра". 1979, 271 с.
2) Бухаленко Е.И. Справочник по
нефтепромысловому оборудованию.- Москва.: Недра, 1983-391 с.
3) Онищенко О.Г. Матвієнко А.М. Машини
та обладнання для видобутку нафти і газу: Навчальний посібник. - Полтава:
Видавництво ПолтНТУ, 2009.-409 с.: іл.:209, таб.:26; бібліограф. 34 назви.
4) Методичні вказівки до виконання
контрольної роботи з курсу "Машини та обладнання для видобутку нафти і
газу" для студентів напряму освіти 6.050304 "Нафтогазова справа"
всіх форм навчання. - Полтава: ПолтНТУ, 2009.-41 с. Укладачі: Матвієнко А.М.,
к.т.н., доц. Рой М.М., ст. викладач.