Наноструктурирование металлов
Министерство
образования и науки РФ
САНКТ-ПЕТЕРБУРГСКИЙ
ГОСУДАРСТВЕННЫЙ ПОЛИТЕХНИЧЕСКИЙ НАУЧНО-ИССЛЕДОВАТЕЛЬСКИЙ УНИВЕРСИТЕТ
Институт
Металлургии, Машиностроения и Транспорта
Кафедра
МиТОМД
РЕФЕРАТ
по
дисциплине: «Наукоемкие технологии обработки металлов давлением»
на тему:
«Наноструктурирование металлов»
Студент: Курлат А.А.
Преподаватель: Кузнецов П.А.
Санкт-
Петербург, 2013
Содержание
Введение
. Химические методы получения
наноструктур
1.1 Химическая конденсация паров
.2 Получение золей путем
жидкофазного восстановления
.3 Матричный синтез
.4 Радиолиз (радиационно-химическое
восстановление)
. Физические методы получения
наноструктур
.1 Плазменное напыление
.2 Газофазное компактирование
.3 Метод лазерного испарения
.4 Контролируемая кристаллизация
.5 Молекулярно-лучевая эпитаксия
.6 Диспергирование и измельчение
.7 Пластическая деформация
2.7.1 Метод равноканального углового
прессования
.7.2 Метод равноканального углового
прессования по схеме «конформ»
.7.3 Метод локального деформирования
.7.4 Метод выдавливания
.7.5 Метод циклического
гидроформирования трубных заготовок
Выводы
Список литературы
Введение
наноструктура радиолиз химический
эпитаксия
В настоящее время в мире наблюдается огромный
интерес к субмикрокристаллическим и нанокристаллическим материалам. Этот
интерес обусловлен тем, что измельчение структуры материала позволяет решить
важную проблему материаловедения - получение материалов с однородной
мироструктурой и прогнозируемыми на этой основе физико-механическими свойствами
и долговечностью. Так же исследования в этой области привели к открытию многих
уникальных свойств вещества„ находящегося в нанокристaлическам состоянии. Это
позволило не только создать совершенно новые поколения материалов и устройств,
но и изменить многие представления ученых об окружающем мире.
Создание новых перспективных материалов
опирается на достижения физики и механики твердого тела, химии и разработок в
области новых технологий.
Наноструктурированные материалы (НСМ) проявляют
особые, уникальные физико-механические свойства. Так, установлено, что в НСМ
могут быть изменены даже фундаментальные параметры, такие как температуры Кюри,
Дебая, модули упругости, намагниченность насыщения и др. Большой интерес также
представляет возможность достижения сверхпрочности, сверхпластичности,
повышенной демпфирующей способности.
К настоящему моменту известны десятки методов
создания наноструктурированных материалов. Принципиально все методы получения
наноструктур возможно условно разделить на два больших класса - физические и
химические методы.
Химические методы получения наночастиц и
ультрадисперсных систем известны достаточно давно. Коллоидный раствор золя
золота (красного) с размером частиц 20 нм был получен в 1857г. М.Фарадеем.
Агрегативная устойчивость золя объясняется образованием двойного электрического
слоя на поверхности раздела твердое тело-раствор и возникновением
электростатической составляющей расклинивающего давления, являющегося основным
фактором стабилизации данной системы.
Золь - высокодисперсная коллоидная система
(коллоидный раствор) с жидкой (лиозоль) или газообразной (аэрозоль)
дисперсионной средой, в объеме которой распределена другая (дисперсная) фаза в
виде капелек жидкости, пузырьков газа или мелких твердых частиц, размер которых
лежит в пределе от 1 до 100 нм (10−9-10−7м).
1. Химические методы получения наностуктур
.1 Химическая конденсация паров
При химической конденсации применяют различные
химические реакции, в ходе которых образуются малорастворимые вещества.
Используют реакции гидролиза, ОВР, обмена, замещения, нейтрализации и др.
Реакцию гидролиза проводят в органических
растворителях. Последующая полимеризация приводит к образованию геля:
M(OR)4 + 4H2O
M(OH)4 + 4ROH
mM(OH)n (MO2) + 2mH2O
Исходными соединениями при конденсации являются
углеводороды, а также неорганические вещества, которые связывают продукта
реакции. Эти неорганические вещества называются конденсирующими агентами. К ним
относят: щелочи, окислы и хлориды металлов. В зависимости от конденсирующего
агента процессы конденсации можно классифицировать следующим образом:
) процессы конденсации, протекающие в
присутствии хлористого алюминия;
) процессы конденсации, протекающие в
присутствии хлористого цинка;
) процессы конденсации, протекающие в
присутствии серной кислоты, щелочей;
) процессы конденсации, в которых конденсирующее
действие оказывает высокая температура.
.2 Получение золей путем жидкофазного
восстановления
Наиболее простым и часто используемым химическим
способом наноструктурирования является синтез наночастиц в растворах при
протекании различных реакций. Для получения металлических наночастиц применяют
реакции восстановления, при которых в качестве восстановителя используют алюмо-
и борогидриды, тетрабораты, гипофосфиты и многие другие неорганические и
органические соединения.
В одностадийных процессах жидкофазного
восстановления в рабочее пространство плавильно-восстановительного агрегата
подаются уголь, руда, кислород или воздух, обогащенный кислородом. В рабочем
пространстве агрегата существуют 4 зоны:
Зона 1 - нижняя часть
плавильно-восстановительной печи, в которой накапливается жидкий металл. В
этой, относительно спокойной зоне продолжается науглероживание металла,
происходит ограниченное перемешивание металла со шлаком и теплообмен между
ними.
Зона 2 - слой барботируемого шлака. В этом слое
происходит восстановление оксидов железа углеродом с образованием железа и СО и
интенсивные теплообменные процессы. Здесь же происходит неполное горение
углерода, выделение и декомпозиция летучих веществ. Выделяющиеся в реакциях СО
и Н2 образуют газовые пузыри, которые барботируют шлаковый слой.
Часть шлака образует гарниссаж на водоохлаждаемых стенках этой зоны. В этой же
зоне происходит науглероживание железа.
Зона 3 - зона дожигания выходящего из слоя шлака
восстановительного газа вдуваемым сюда кислородом или обогащенным кислородом
дутьем. Эта зона расположена непосредственно над слоем барботируемого шлака. В
этой зоне выделяется максимальное количество тепла в результате сгорания
газообразных продуктов реакций восстановления и процесса пиролиза. Здесь идет
интенсивный радиационный (главным образом) и конвективный теплообмен между
газом и шлаком. Температура газов в этой зоне может достигать 2000 °С и выше. В
этой зоне продолжается нагрев железорудных материалов и угля, идет процесс
пиролиза угля с выделением из него летучих веществ и происходит плавление
мелких частиц руды.
Зона 4 - достаточно большое по объему свободное
пространство в верхней части печи, необходимое для погашения энергии взлетающих
капель шлака, снижения скорости выделяющегося дыма и уменьшения выноса мелочи
загружаемых материалов с отходящим газом. В этой зоне поступающие в печь руда и
уголь интенсивно нагреваются газом.
.3 Матричный синтез
Химические реакции, в которых строение
образующегося мономолекулярного органического соединения и (или) кинетика
процесса определяется атомом металла (так называемый темплатный синтез).
Атом металла может входить в состав соли или
комплексного соединения и выполнять в матричном синтезе различные функции. Он
координирует молекулы и тем самым ориентирует их реагирующие фрагменты (так
называемый кинетический эффект в матричном синтезе); в этом случае образование
целевого продукта без участия в реакции атома металла вообще не происходит.
Атом металла может связывать в комплекс только один из конечных продуктов,
которые образуются в равновесной реакции (так называемый термодинамический
эффект в матричном синтезе); образование целевого продукта может происходить и
в отсутствие металла, однако под влиянием последнего выход реакции существенно
возрастает. Часто оба эти механизма проявляются одновременно. Известны случаи,
когда равновесная реакция осуществляется на стадии образования промежуточного
продукта. Последний фиксируется в виде металлокомплекса, и дальнейшее
превращение идет специфическим образом (так называемый равновесный эффект в
матричном синтезе). Возможны и другие механизмы матричного синтеза.
.4 Радиолиз (радиационно-химическое
восстановление)
Разложение химических соединений под действием
ионизирующих излучений.
Синтез наночастиц при радиолизе заключается в
воздействии на систему высоких энергий, примерно 100 эВ. При радиолизе в
системе генерируются свободные электроны и радикалы. Так, в водных растворах
при облучении из молекулы воды получаются гидратированные частицы - электроны и
радикалы водорода и гидроксила:
H 2
Ohv
→
H 0
+ HO 0
+ e
Электроны и радикалы при взаимодействии с
исходным веществом образуют наночастицы. С использованием радиолиза получены
нанокомпозиты, состоящие из нескольких металлов. Например, наносистемы
никель-серебро с диаметром 2-4 нм; биметаллические частицы Au
- Ni размером 2.5 нм,
нанесенные на аморфный углерод; триметаллические наночастицы Pd
- Au - Ag,
состоящие из ядер палладия и двух оболочек золота и серебра. Образующиеся
многослойные нанокластерные материалы предполагается использовать для
фемтосекундных электронных устройств нового поколения.
Радиолиз для синтеза частиц металлов, проходящий
в жидкой фазе, способствует синтезу более узкодисперсных по размеру частиц. При
радиолизе вначале образуются атомы и малые кластеры металлов, которые затем
превращаются в наночастицы.
2. Физические методы

Сущность плазменного напыления заключается в
том, что в высокотемпературную плазменную струю подаётся распыляемый материал,
который нагревается, плавится и в виде двухфазного потока направляется на
подложку. При ударе и деформации происходит взаимодействие частиц с
поверхностью основы или напыляемым материалом и формирование покрытия.
Плазменное напыление является одним из вариантов газотермического напыления.
Плазменный процесс состоит из трех основных
стадий:
1. генерация плазменной струи;
2. ввод распыляемого материала в
плазменную струю, его нагрев и ускорение;
. взаимодействие плазменной струи и
расплавленных частиц с основанием.
.2 Газофазное компактирование
Газофазное уплотнение производят следующим
образом. В потоке природного газа и паров треххлористого бора (BCl3) прямым пропусканием
тока сборку нагревают до достижения температуры на внешней поверхности
графитовых оправок-нагревателей 1000°С. Затем температуру непрерывно повышают и
после достижения на внешней поверхности заготовок 1050°С процесс прекращают.
При этом компоненты в матрице углерод-углеродный композиционный материал (УУКМ)
в зависимости от определенного соотношения подаваемых газов будут находиться в
следующем соотношении, мас.%: бор 1-19; пироуглерод - остальное.
После завершения процесса уплотнения и
охлаждения сборки внутри установки до комнатной температуры ее извлекают из
камеры пиролиза и разделяют на составные части. Уплотненные заготовки при
помощи пресса снимают с оправок-нагревателей, которые затем повторно используют
для последующих насыщений подобных заготовок.
Снятые с оправок-нагревателей углерод-углеродные
заготовки обрабатывают на токарном станке до получения геометрической формы,
соответствующей заданной.
Для еще большего повышения физико-механических
свойств УУКМ и придания материалу рентгеноконтрастности в наполнитель между
слоями углеродной ткани укладывают слои сетки из титана.
.3 Метод лазерного испарения
В данном методе синтезируются в основном ОСНТ
при испарении смеси углерода и переходных металлов лазерным лучом из мишени,
состоящей из сплава металла с графитом. Прямое испарение позволяет обеспечить
более детальный контроль условий роста, проводить длительные операции и
производить наноматериалы с большим выходом годных и лучшего качества.
Фундаментальные же принципы, лежащие в основе производства ОСНТ методом
лазерного испарения следующие: атомы углерода начинают скапливаться и
образовывать соединение в месте нахождения частиц металлического катализатора.
В установке сканирующий лазерный луч фокусируется в 6-7 мм пятно на мишень,
содержащую металл-графит. Мишень помещается в наполненную (при повышенном
давлении) аргоном и нагретую до 1200 °С трубу. Сажа, которая образовывалась при
лазерном испарении, уносится потоком аргона из зоны высокой температуры и осаждалась
на охлаждаемый водой медный коллектор, находящийся на выходе из трубы.
.4 Контролируемая кристаллизация
Кристаллизация может применяться для целей
разделения (сепарации), очистки или обогащения компонентов.
Твердая фаза выкристаллизовывается при
переохлаждении из расплавов.
При кристаллизации средний размер
кристаллических зерен будет определяться такими начальными условиями, как
степень пересыщения исходного расплава и скорость охлаждения. Управление
процессом кристаллизации позволяет получать кристаллы необходимого размера и
конечный продукт требуемого качества.
С помощью запатентованной методики LiquiSonic-
система может рассчитать зависимость степени пересыщения жидкости и звуковой
скорости для определения оптимальной концентрации пересыщенного раствора,
необходимой для добавления в раствор затравочного вещества (мелкие
кристаллики).
Более того, система определяет и рассчитывает
следующие параметры:
• Температурное отклонение от температуры
насыщения (разница между текущей температурой и температурой насыщения)
• Концентрацию кристаллов
• Температуру
• Скорость охлаждения
• Концентрация маточного раствора
.5 Молекулярно-лучевая эпитаксия
Эпитаксиальный рост в условиях сверхвысокого
вакуума. Позволяет выращивать гетероструктуры заданной толщины с моноатомно
гладкими гетерограницами и с заданным профилем легирования. В установках МПЭ
имеется возможность исследовать качество плёнок «in situ» (то есть прямо в
ростовой камере во время роста). Для процесса эпитаксии необходимы специальные
хорошо очищенные подложки с атомарногладкой поверхностью.
В основе метода лежит осаждение испаренного в
молекулярном источнике вещества на кристаллическую подложку. Несмотря на
достаточно простую идею, реализация данной технологии требует чрезвычайно
сложных технических решений. Основные требования к установке эпитаксии
следующие:
В рабочей камере установки необходимо
поддерживать сверхвысокий вакуум (около 10−8 Па).
Чистота испаряемых материалов должна достигать
99,999999 %.
Необходим молекулярный источник, способный
испарять тугоплавкие вещества (такие как металлы) с возможностью регулировки
плотности потока вещества.
Особенностью эпитаксии является невысокая
скорость роста пленки (обычно менее 1000 нм в час).
.6 Диспергирование и измельчение (нанопорошки)
Получение наноструктурированной решетки с
помощью нанопорошков происходит в несколько этапов:
. получение нанопорошка
. прессование
. спекание
К настоящему времени разработано множество
методов получения нанопорошков (как механических, так и химических). Основные
из используемых в настоящее время методов получения нанопорошков сведены в
структурную схему.
Можно выделить ряд общих подходов, которые
являются характерными для всех методов получения нанопорошков и отличают их от
методов получения обычных порошков: высокая скорость образования центров
зарождения частиц; малая скорость роста частиц; наибольший размер получаемых
частиц не более 100 нм; узкий диапазон распределения частиц по размерам.
Для прессования нанопорошков при комнатной
температуре в основном используют: одностороннее статическое прессование,
прессование in-situ
в камере синтеза порошка, динамическое магнито-импульсное прессование,
всестороннее прессование и другие методы.
Результаты экспериментальных исследований
показали, что нанопорошки уплотняются значительно труднее, чем порошки с
размером частиц около микрона и более. Это обусловлено большей величиной трения
частиц порошка между собой и о стенки матрицы. А так же отсутствием дислокаций
в наночастицах.
В результате спекания увеличивается плотность
пористого тела, увеличение площади контакта между частицами и сближение их
центров.
.7 Пластическая деформация
Особенно эффективным способом получения
наноструктур является использование методов интенсивной пластической
деформации.
Основные методы сведены в диаграмму.
Этот способ подходит для получения беспористых
металлов и сплавов с размером зерна около 100 нм, заключающийся в формировании
за счет больших деформаций сильно фрагментированной и разориентированной
структуры, сохраняющей в себе остаточные признаки рекристаллизованного
аморфного состояния.
.7.1 Метод равноканального углового прессования
(РКУП)
Равноканальное угловое прессование - один из
распространённых методов интенсивной пластической деформации. Метод заключается
в продавливании материала через наклонные каналы с одинаковой площадью
поперечного сечения. Процедуру зачастую повторяют несколько раз. Технология
была разработана в 1973 году в Советском Союзе.
Деформационное воздействие РКУП создаёт
различные дефекты кристаллов сплава, изменяя при этом микроструктуру материала.
Изначально В.М.Сегал предложил РКУП как метод
упрочнения металлов без изменения поперечного сечения заготовок, но с начала
90-х годов метод используется для формирования в металлах ультра-мелкозернистых
структур с размером зерен в субмикронном и нанометрическом диапазонах.
.7.2 Метод равноканального углового прессования
по схеме «конформ» (РКУП-К)
Метод РКУП-К имеет более значительный
инновационный потенциал. Существует ряд преимуществ этого метода для получения
ультра-мелкозернистых заготовок (УМЗ) материалов в виде прутков и проволоки,
среди которых наиболее важными являются: возможность осуществления
непрерывности процесса и использование активных сил трения, действующих на
гравюре ротора. Это приводит к снижению сил прессования и, соответственно, энергозатрат.
Эти два обстоятельства весьма значимы для создания промышленных технологий.
2.7.3 Метод локального деформирования
Следует отметить, что с точки зрения получения
точных заготовок и изделий с нано-структурированными поверхностями более
эффективными являются процессы локального деформирования. Один из таких методов
является многоцикловое комплексное деформирование. В следствии многократного
возвратно поступательного перемещения, в материале заготовки происходит
накопление знакопеременных деформаций, что и приводит к измельчению зерен в
приповерхностном слое. Окончательная величина зерна, в основном зависит от
приложенных усилий и числа циклов обработки, (проходов роликов).
2.7.4Метод
выдавливания
|
РОССИЙСКАЯ
ФЕДЕРАЦИЯ ФЕДЕРАЛЬНАЯ
СЛУЖБА ПО ИНТЕЛЛЕКТУАЛЬНОЙ СОБСТВЕННОСТИ, ПАТЕНТАМ И ТОВАРНЫМ ЗНАКАМ
|
(19)
|
RU
|
(11)
|
2458756
|
(13)
|
C2
|
|
|
(51) МПК
B21J5/00 (2006.01) B21J13/02 (2006.01) C21D7/02 (2006.01) B82B3/00 (2006.01)
|
|
(12)
ОПИСАНИЕ ИЗОБРЕТЕНИЯ К ПАТЕНТУ Статус: по данным на 17.10.2013 - может
прекратить свое действие Пошлина: учтена за 3 год с 01.06.2012 по 31.05.2013
|
Изобретение относится к обработке металлов
давлением и может быть использовано для получения нанокристаллической структуры
металла. Заготовку подвергают закрытой осадке и выдавливанию. Выдавливание
осуществляют путем смещения объемов из периферийной части заготовки в виде
полого цилиндра в цилиндрическую часть и обратно. При этом сохраняют форму и
размеры заготовки. Осадку и выдавливание ведут в контейнере посредством полого
пуансона, установленного в него сплошного пуансона и подвижной круглой плиты.
Диаметр плиты D определен из следующего равенства:
,
Металлическую заготовку 5 помещают в матрицу 3,
установленную на специальной плите 6 с большей шероховатостью поверхности и
закрепленную в бандаже 4. Высота матрицы превышает высоту заготовки. На
заготовку устанавливают сплошной 1 и полый 2 пуансоны и осуществляют закрытую
осадку с целью заполнения полости и устранения пустот. Затем производят
обратное выдавливание до тех пор, пока металл не заполнит примерно 90% полости,
после чего осуществляют прямое выдавливание металла внутренним сплошным
пуансоном до совпадения нижних поверхностей полого и сплошного пуансонов.
Далее вновь производят обратное, а затем прямое
выдавливание. После этого полый и сплошной пуансоны извлекают из
бандажированной матрицы, матрицу переворачивают на 180', ставят на шероховатую
подставку и все перечисленные действия повторяют вновь до тех пор, пока не
будет получена необходимая структура металла. За счет интенсивной пластической
деформации по предложенной технологической схеме измельчается зерно, залечиваются
трещины и другие дефекты литейного происхождения, существенно повышается
пластичность.
2.7.5 Метод
циклического гидроформирования трубных заготовок
|
РОССИЙСКАЯ
ФЕДЕРАЦИЯ ФЕДЕРАЛЬНАЯ
СЛУЖБА ПО ИНТЕЛЛЕКТУАЛЬНОЙ СОБСТВЕННОСТИ, ПАТЕНТАМ И ТОВАРНЫМ ЗНАКАМ
|
(19)
|
RU
|
(11)
|
2403206
|
(13)
|
C1
|
|
|
(51)
МПК B82B3/00 (2006.01) B21C37/29 (2006.01) B21D9/00 (2006.01)
|
|
(12)
ОПИСАНИЕ ИЗОБРЕТЕНИЯ К ПАТЕНТУ Статус: по данным на 17.10.2013 - может
прекратить свое действие Пошлина: учтена за 4 год с 17.03.2012 по 16.03.2013
|
Способ получения нанокристаллической структуры
материала в трубных заготовках и устройство для его осуществления.
Группа изобретений относится к области обработки
металлов давлением и предназначена для получения нанокристаллической структуры
металла в трубных заготовках схемы напряженно-деформированного состояния
деформируемого материала. Полость заготовки заполняют наполнителем,
осуществляют осадку торцов осевыми пуансонами и сдвиг срединной зоны заготовки
в направлении, перпендикулярном ее оси при создании в процессе сдвига давления
в наполнителе, которое поддерживают постоянным путем регулирования количества
наполнителя, а скорость сдвига выбирают в зависимости от скорости осадки торцов
и также поддерживают постоянной. В конце нечетного этапа деформирования
заготовки прекращают осадку ее торцов, сохраняя герметичность ее полости, а на
четном этапе осуществляют сдвиг срединной части заготовки в противоположном
предыдущему направлении, до придания заготовке исходного прямолинейного
состояния. При этом обеспечивают скорость сдвига срединной зоны заготовки в
зависимости от скорости перемещения осевых пуансонов. Поворачивают заготовку на
нормированный угол относительно ее оси и осуществляют нечетный этап ее деформирования,
или на нечетном и четном этапах деформирования сохраняют направление сдвига
срединной части заготовок. Устройство содержит разъемную матрицу, состоящую из
верхней и нижней полуматриц и имеющую центральный вкладыш, состоящий из
нажимного и опорного полувкладышей, пуансоны осевого сжатия трубной заготовки.
В каналах матрицы размещены стержни, в сечении имеющие форму, соответствующую
форме сечения заготовки, взаимодействующие своими торцами с одной стороны с
поверхностью заготовки, а с другой стороны - со штоками гидроцилиндров, оси
которых перпендикулярны осям стержней. При этом стержни и гидроцилиндры попарно
размещены в верхней и нижней полуматрицах. Повышается производительность и
обеспечивается качество. 2 н. и 2 з.п. ф-лы, 14 ил.
Известен способ и устройство для
структурообразования металлов при равноканальном угловом прессовании,
содержащее узел для деформирования, имеющий два сообщенных канала, в одном из
которых размещается заготовка, и узел для нагружения, при помощи которого
проталкивают заготовку во второй канал, при этом каналы узла для деформирования
расположены под углом один к другому и имеют одинаковые диаметры, равные
диаметру заготовки [А.С. 492780 СССР, МКИ 3 G01N 3/00. Устройство для
упрочнения материала давлением / В.М. Сегал, В.Я. Щукин (СССР). -
1924516/25-28: Заявлено 11.06.73. Опубл. 23.02.76. Бюл. 43].
Известное техническое решение не позволяет
подвергнуть равноканальному угловому деформированию сдвигом трубные заготовки
вследствие возникновения потери устойчивости стенки заготовки.
Наиболее близким по технической сущности и
достигаемому эффекту является известный способ изготовления крутоизогнутых
изделий из трубных заготовок путем размещения в полости заготовки наполнителя,
осадки торцов и сдвига соответствующих участков заготовки в направлении,
перпендикулярном ее оси при создании в процессе изготовления давления в
наполнителе, которое поддерживают постоянным путем регулирования количества
наполнителя, а скорость сдвига выбирают в пределах 1
0,85
скорости осадки торцов и также поддерживают постоянной, при этом осуществляют
сдвиг или срединной части заготовки относительно концевых, или сдвиг одного
участка заготовки относительно другого (а.с.
1021060
СССР, МКИ3 B21D 9/00).
Недостаток известного способа заключается в том,
что деформация трубной заготовки, получаемая в процессе формоизменения,
является недостаточной для образования нанокристаллической структуры материала
заготовки.
Прототипом устройства для осуществления способа
является устройство для гидравлической штамповки полых изделий со ступенчатой
осью из трубных заготовок, включающее в себя разъемную матрицу, имеющую
центральный подвижный вкладыш, состоящий из нажимного и опорного полувкладышей,
а также пуансоны осевого сжатия трубной заготовки (а.с.
593768,
кл.В21С 37/29, 1976).
Известное устройство не позволяет реализовать
предложенный способ ввиду того, что нажимной и опорный вкладыши не
предназначены для реверсирования процесса сдвига центральной части заготовки.
Технический результат изобретения - получение
нанокристаллической структуры металла в трубных заготовках путем циклического
увеличения суммарной степени деформации сдвига в очаге пластической деформации
заготовки при управлении жесткостью схемы напряженно-деформированного состояния
деформируемого материала.
Для достижения этого технического результата
полость заготовки заполняют наполнителем, осуществляют поэтапное деформирование
заготовки осадкой торцов посредством перемещения осевых пуансонов и сдвигом ее
срединной части относительно концевых участков в направлении, перпендикулярном
ее оси, при этом на нечетном этапе деформирования в процессе сдвига создают
постоянное давление в наполнителе, путем регулирования его количества, и
постоянную скорость сдвига, выбираемую в пределах 1
0,85
скорости осадки торцов, в конце нечетного этапа деформирования заготовки
прекращают осадку ее торцов, сохраняют герметичность полости заготовки, а на
четном этапе осуществляют сдвиг срединной части заготовки в противоположном
предыдущему этапу направлении до придания заготовке исходного прямолинейного
состояния, при этом обеспечивают заданное соотношение скоростей сдвига
срединной зоны заготовки в пределах 1
1,15
скорости перемещения осевых пуансонов, поворачивают заготовку на угол
относительно ее оси, далее осуществляют нечетный этап деформирования, при этом
на нечетном этапе деформирования сдвиг срединной части заготовки осуществляют в
направлении, совпадающем с его направлением на четном этапе деформирования.
А устройство содержит разъемную матрицу в виде
верхней и нижней полуматриц с центральным отверстием, центральный вкладыш в
виде нажимного и опорного полувкладышей, размещенный в центральном отверстии
разъемной матрицы с образованием каналов, пуансоны осевого сжатия трубной
заготовки, гидроцилиндры со штоками, размещенные в упомянутых каналах стержни,
форма сечения которых соответствует форме сечения трубной заготовки,
гидроцилиндры со штоками, оси которых перпендикулярны осям стержней, причем
торцы стержней с одной стороны имеют возможность взаимодействия с поверхностью
заготовки, а с другой стороны - со штоками упомянутых гидроцилиндров, при этом
стержни и гидроцилиндры размещены попарно в каналах верхней и нижней
полуматриц.
На чертежах приведена сущность предложенного
способа и схема устройства для его осуществления.
Фиг. 1. Исходное положение трубной заготовки
перед выполнением первого, нечетного этапа деформирования трубной заготовки;
Фиг.2. Сечение А-А фиг.1;
Фиг.3. Сечение Б-Б фиг.1;
Фиг.4. Конечное положение первого, нечетного
этапа деформирования трубной заготовки с реализацией деформации сдвига в очаге
пластической деформации;
Фиг.5. Исходное положение трубной заготовки
перед вторым, четным этапом деформирования трубной заготовки;
Фиг.6. Конечное положение второго, четного этапа
деформирования заготовки;
Фиг.7. Пример выполнения поворота трубной
заготовки на некоторый угол вокруг своей оси перед реализацией третьего,
нечетного этапа деформирования трубной заготовки;
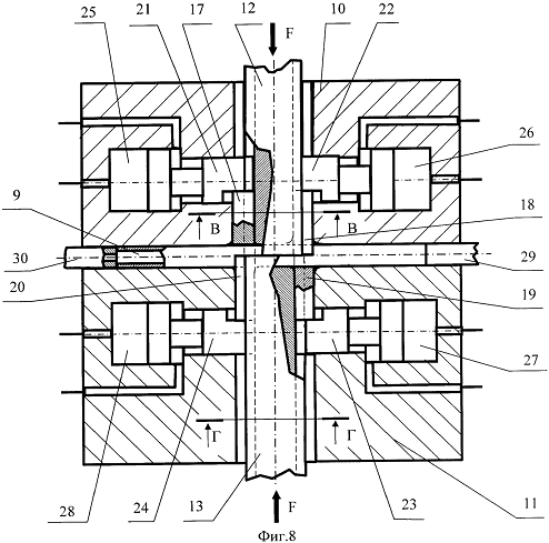
Фиг.8. Исходное положение устройства и трубной
заготовки перед выполнением первого, четного этапа деформирования трубной
заготовки;
Фиг.9. Сечение В-В фиг.8.;
Фиг.10. Сечение Г-Г фиг.8;
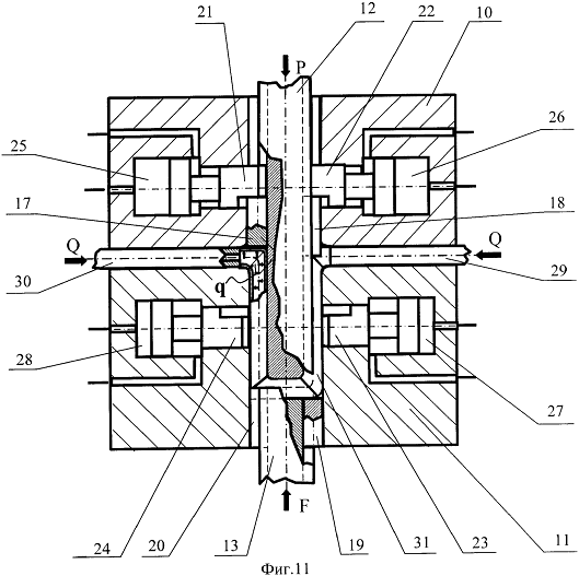
Фиг.11. Положение устройства и
деформированной трубной заготовки на заключительном этапе выполнения первого, нечетного
этапа деформирования;
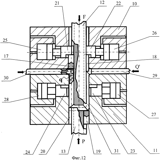
Фиг.12. Начальное положение
устройства и деформированной трубной заготовки перед выполнением второго,
четного этапа деформирования заготовки;
Фиг.13. Конечное положение
устройства и деформированной трубной заготовки в конце второго, четного этапа
деформирования трубной заготовки перед выполнением третьего, нечетного этапа
деформирования;
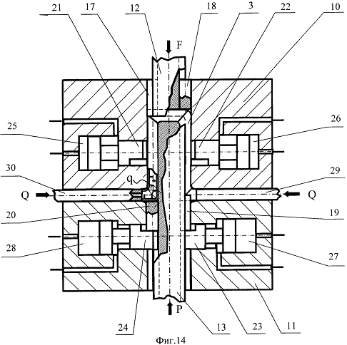
Фиг.14. Конечное положение
устройства и деформированной трубной заготовки в конце третьего, нечетного
этапа деформирования трубной заготовки;
Реализация способа получения
нанокристаллической структуры в трубных заготовках и работа устройства
осуществляются следующим образом.
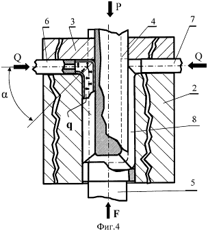
Трубную заготовку 1 (фиг.1)
устанавливают в ручей штампа, состоящего из неподвижных верхней 2 и нижней 3
полуматриц, имеющих плоскость разъема, перпендикулярную плоскости чертежа. В
центральное отверстие полуматрицы 2 сверху вводят верхний полувкладыш 4 до
соприкосновения с поверхностью трубной заготовки 1. Снизу с заготовкой 1
контактирует нижний полувкладыш 5. В сомкнутом положении силами F полувкладыши
4 и 5 образуют подвижный вкладыш, канал которого охватывает заготовку 1. На
боковых гранях полувкладыша 4 выполнены полуканалы (фиг.2), например,
полукруглой формы, а на полувкладыше 5 (фиг.3) - выступы, также полукруглой
формы, контактирующие с соответствующими каналами, выполненными на нижней
полуматрице 3.
Установив трубную заготовку в ручье
штампа, начинают первый, нечетный этап ее деформирования. Для этого сообщают
встречное синхронное перемещение осевым пуансонам 6 и 7, обеспечивая их силовой
контакт с торцами заготовки, осуществляя при этом герметизацию ее полости.
После этого перемещение осевых пуансонов прекращают. Затем через осевые каналы,
выполненные в пуансонах 6 и 7, из полости заготовки удаляют воздух, заполняя ее
полость наполнителем, например машинным маслом, нагнетаемым источником высокого
давления, например мультипликатором (не показан), гидравлически связанным,
например, с каналом осевого пуансона 6. Удалив воздух из полости заготовки 1,
перекрывают канал осевого пуансона 7, в полость заготовки 1 от источника высокого
давления добавляют наполнитель, создавая определенное гидростатическое давление
q. Затем осевым пуансонам 6 и 7 сообщают встречное синхронное перемещение
навстречу друг другу. Одновременно сообщают перемещение вниз с силой Р (Р<F)
подвижному вкладышу, обеспечивая заданное соотношение скоростей между
перемещающимися осевыми пуансонами 6 и 7 и вкладышем.
Под действием осевых сил Q (фиг.4),
прикладываемых к заготовке 1 пуансонами 6 и 7, высокого гидростатического
давления наполнителя q в полости заготовки и нагрузки Р со стороны подвижного
вкладыша осуществляют деформирование трубной заготовки в
-образный
крутоизогнутый полуфабрикат 8. На заключительной стадии первого, нечетного
этапа деформирования заготовки прекращают встречное перемещение осевых
пуансонов 6, 7 и перемещение вниз подвижного вкладыша. Приступают к выполнению
следующего, четного этапа деформирования заготовки. Для этого уменьшают силы Q
осевых пуансонов 6 и 7 до величины Q' (фиг.5), достаточной для герметизации
полости полуфабриката 8 и сохранения в ней высокого гидростатического давления
q, прекращая тем самым осадку торцов заготовки. Затем силу F (фиг.4)
увеличивают до величины Р' (фиг.5), а силу Р (фиг.4) снижают до величины силы F
(фиг.5). Далее сообщают перемещение вверх подвижному вкладышу и синхронное с
ним перемещение друг от друга осевым пуансонам 6 и 7, выдерживая заданное
соотношение скоростей между подвижным вкладышем и осевыми пуансонами. При этом
под действием силы Р' и высокого гидростатического давления q
-образный
крутоизогнутый полуфабрикат деформируют в первоначальную прямолинейную форму
исходной заготовки (фиг.6), удваивая тем самым эквивалентную деформацию,
получаемую материалом трубной заготовки. На этом заканчивают четный этап
деформирования заготовки.
Далее формоизменение заготовки вновь
может быть продолжено по схеме реализации нечетного этапа деформирования или,
для повышения эффективности создания нанокристаллической структуры материала
заготовки, перед выполнением нечетного этапа деформирования заготовку
разворачивают на некоторый угол, например 90°, угол относительно ее оси и затем
осуществляют реализацию нечетного этапа деформирования.
Разворот заготовки относительно ее
оси осуществляют, например, после завершения четного этапа деформирования
следующим образом. После придания заготовке вновь прямолинейной формы в ее
полости сбрасывают высокое гидростатическое давление до атмосферного (при этом
происходит уменьшение диаметра трубной заготовки на величину упругой
составляющей деформации), а осевым пуансонам 6 и 7 сообщают перемещение в одну
сторону, например влево по стрелке А (фиг.7). При этом трубная заготовка
выталкивается из подвижного вкладыша и полуматриц 2 и 3, обеспечивая
необходимые условия для ее поворота на некоторый угол вокруг своей оси по
стрелке М относительно первоначального положения. Возврат заготовки в исходное
положение перед деформированием осуществляют перемещением осевых пуансонов в
исходное положение, то есть путем их перемещения вправо.
Сила Р', прикладываемая к
центральной зоне деформируемого
-образного полуфабриката на четном
этапе его деформирования, значительно превышает силу Р нечетного этапа ее
формоизменения вследствие пассивного участия, в данном случае, в деформировании
заготовки осевых пуансонов, необходимости преодоления сил трения, возникающих
между заготовкой и поверхностями устройства, а также преодоления тянущей силы,
направленной навстречу силе Р' и возникающей вследствие разницы площадей
контакта трубной заготовки, в полости которой находится наполнитель под
давлением q, с полувкладышами 4 и 5, показанных на фиг.2 и 3.
Для повышения интенсивности и
равномерности формирования нанокристаллической структуры материала в окружном
направлении по сечениям заготовки на нечетном этапе деформирования сдвиг
срединной части заготовки осуществляют в направлении, совпадающем с его
направлением на четном этапе деформирования.
Для этого трубную заготовку 9
(фиг.8) устанавливают в устройство, имеющее ручей, образованный неподвижной
верхней 10 и нижней 11 полуматрицами, имеющими плоскость разъема,
перпендикулярную плоскости чертежа. В центральное отверстие полуматрицы 10
сверху вводят верхний полувкладыш 12 до соприкосновения с поверхностью трубной заготовки
9. Снизу с заготовкой 9 контактирует нижний полувкладыш 13. В сомкнутом силами
F положении полувкладыши 12 и 13 образуют подвижный вкладыш, канал которого
охватывает заготовку 9. На боковых гранях полувкладышей 12 и 13 выполнены
полуканалы (фиг.9), например, полукруглой формы. Аналогичные каналы выполнены в
центральных отверстиях полувкладышей 10 и 11 (фиг.8), образующие в сечениях В-В
и Г-Г с полуканалами полувкладышей 12 и 13 отверстия 13, 14, 15 и 16, имеющие
диаметр, равный наружному диаметру трубной заготовки 9 (фиг.9, 10). В
отмеченные отверстия помещены цилиндрические стержни 17, 18, 19 и 20,
контактирующие противоположно расположенными от трубной заготовки торцами с
плоскими лысками, выполненными на цилиндрических штоках 21, 22, 23 и 24. Противоположные
торцы стержней 17, 18, 19 и 20, обращенные к заготовке 9, имеют полукруглую
форму и охватывают наружную поверхность трубной заготовки 9, сводя к минимуму
поверхность трубной заготовки, не охваченную жесткими поверхностями устройства.
Каждый из штоков 21, 22, 23 и 24 жестко связан со своим поршнем, который
размещен в гидроцилиндрах. В исходном положении штоки устройства сведены
навстречу друг к другу, контактируя с вкладышами 12 и 13, как показано на
фиг.8.
Установив трубную заготовку 9 в
ручье устройства, начинают первый, нечетный этап ее деформирования. Для этого
сообщают встречное синхронное перемещение осевым пуансонам 25 и 26, обеспечивая
их силовой контакт с торцами заготовки и герметизируя тем самым ее полость.
После этого перемещение осевых пуансонов прекращают. Затем через осевые каналы,
выполненные в пуансонах, из полости заготовки удаляют воздух и заполняют ее
полость наполнителем, например машинным маслом, нагнетаемым источником высокого
давления, например мультипликатором (не показан), гидравлически связанным,
например, с каналом осевого пуансона 25. Удалив воздух из полости заготовки 9,
перекрывают канал, например, осевого пуансона 26, а в полость заготовки 9 от
источника высокого давления добавляют наполнитель, создавая определенное гидростатическое
давление q.
Затем выполняют нечетный, первый
этап деформирования заготовки. При этом штоки 23 и 24 отводят друг от друга, а
осевым пуансонам 25 и 26 сообщают встречное синхронное перемещение навстречу
друг другу. Одновременно сообщают перемещение вниз с силой Р (Р<F)
подвижному вкладышу, обеспечивая заданное соотношение скоростей между
перемещающимися осевыми пуансонами 25, 26 и вкладышем.
Под действием осевых сил Q (фиг.11),
прикладываемых к заготовке 9 пуансонами 25 и 26, высокого гидростатического
давления наполнителя q в полости заготовки и нагрузки Р со стороны подвижного
вкладыша осуществляют деформирование трубной заготовки в
-образный
крутоизогнутый полуфабрикат 31.
На заключительной стадии первого,
нечетного этапа деформирования заготовки прекращают встречное перемещение
осевых пуансонов 25, 26 и перемещение вниз подвижного вкладыша. Приступают к
выполнению следующего, четного этапа деформирования заготовки. Для этого
уменьшают силы Q осевых пуансонов 25 и 26 до величины Q' (фиг.12), достаточной
для герметизации полости полуфабриката 27 и сохранения в ней высокого
гидростатического давления q, прекращая тем самым осадку торцов заготовки.
Затем силу F (фиг.11) увеличивают до величины Р' (фиг.12), а силу Р (фиг.11)
снижают до величины силы F (фиг.12). Далее сообщают перемещение вверх
подвижному вкладышу и синхронное с ним перемещение друг от друга осевым
пуансонам 25 и 26, выдерживая заданное соотношение скоростей между подвижным
вкладышем и осевыми пуансонами. При этом под действием силы Р' и высокого
гидростатического давления q
-образный крутоизогнутый
полуфабрикат деформируют в первоначальную прямолинейную форму исходной
заготовки (фиг.13), удваивая тем самым эквивалентную деформацию, получаемую
материалом трубной заготовки. На этом заканчивают четный этап деформирования
заготовки. При этом стержни 19, 20 и штоки 23, 24 устройства возвращают в
исходное положение (фиг.8).
Далее, в зависимости от требуемой
степени измельчения зерен материала или получения требуемой степени
разориентировки межзеренных границ материала трубной заготовки или иных задач,
деформирование заготовки может быть продолжено по нескольким сценариям.
Во-первых, следующий, нечетный этап
деформирования заготовки может заключаться в дальнейшем сдвиге вверх срединной
зоны заготовки (фиг.14) относительно положения, достигнутого на четном этапе
деформирования, показанного на фиг.13. Для этого штоки 21 и 22 отводят друг от
друга, реверсируют перемещение осевых пуансонов 25 и 26, прикладывая к ним
осевую нагрузку Q. Одновременно продолжают перемещать вверх подвижный вкладыш,
выдерживая заданное соотношение скоростей между осевыми пуансонами и вкладышем.
Данный этап заканчивают при получении, например, зеркальной относительно
предыдущей, ступенчатой формы
-образного полуфабриката. Дальнейшее
деформирование ступенчатого полуфабриката, то есть четный этап, может
заключаться в формоизменении полуфабриката со ступенчатой осью в полуфабрикат с
прямолинейной осью, по ранее описанной схеме деформирования.
В данном случае, за счет
обеспечения, в первом приближении, одинаковых суммарных деформаций материала в
вогнутых и выпуклых радиусах колен трубной заготовки, получаемых в сумме на четном
и нечетном этапах деформирования, обеспечивается более равномерное
распределение нанокристаллической структуры по радиальным сечениям межколенных
зон полуфабриката.
Во-вторых, следующий, нечетный этап
деформирования заготовки может заключаться в выполнении сдвига срединной зоны
заготовки вниз с предварительным разворотом заготовки на некоторый угол вокруг
ее первоначального положения, например, так, как показано на фиг.7. Затем
формоизменение заготовки вновь может быть продолжено по схеме реализации четного
этапа деформирования.
Дополнительным резервом повышения
эффективности создания нанокристаллической структуры материала заготовки по
предложенному способу является возможность управления схемой
напряженно-деформированного состояния материала в очагах пластической
деформации, расположенных в коленных зонах деформируемой заготовки под углами
=
/4 (фиг.4) к
первоначальной оси заготовки. Это реализуется путем управления относительными
скоростями перемещения осевых пуансонов и подвижной матрицы. Например, на
нечетном этапе деформирования заготовки уменьшение скорости перемещения
подвижной матрицы (Vм) по сравнению со скоростью перемещения осевых пуансонов
(Vп), ориентировочно до величины 0,85 от скорости перемещения осевых пуансонов,
(т.е. Vм/Vп
0,85)
позволяет наложить на очаг пластической деформации заготовки дополнительные
сжимающие напряжения, повышающие пластичность материала. И наоборот, на четном
этапе деформирования заготовки, увеличение скорости перемещения подвижной
матрицы на величину, составляющую ориентировочно до 1,15 от скорости
перемещения осевых пуансонов, создает тот же эффект повышения пластичности
материала в очаге пластической деформации. Помимо интенсификации образования
нанокристаллической структуры материала заготовки это позволяет подвергнуть
обработке трубные заготовки, имеющие пониженную, в обычных условиях,
пластичность материала.
Диапазон применения предложенных
способа и устройства не ограничивается получением нанокристаллической структуры
материала трубных заготовок круглого сечения, а может быть расширен на
формирование нанокристаллической структуры материала трубных заготовок, имеющих
поперечные сечения в виде квадрата, прямоугольника и иных сечений, отличных от
круглого.
Применение предложенного способа и
устройства для его осуществления позволяет реализовать не только равноканальное
прессование трубных заготовок с различной формой поперечных сечений, но и
управлять формированием повышенных механических свойств материала трубных
полуфабрикатов, обеспечивая при этом высокие производительность труда и
качество нанокристаллической структуры.
Формула изобретения
. Способ получения
нанокристаллической структуры материала в трубных заготовках, включающий
заполнение полости заготовки наполнителем, поэтапное деформирование заготовки
осадкой торцов посредством перемещения осевых пуансонов и сдвигом ее срединной
части относительно концевых участков в направлении, перпендикулярном ее оси,
при этом на нечетном этапе деформирования в процессе сдвига создают постоянное
давление в наполнителе путем регулирования его количества и постоянную скорость
сдвига, выбранную в пределах1
0,85 скорости осадки торцов, в конце
нечетного этапа деформирования заготовки прекращают осадку ее торцов, сохраняют
герметичность полости заготовки, а на четном этапе осуществляют сдвиг срединной
части заготовки в противоположном предыдущему этапу направлении до придания
заготовке исходного прямолинейного состояния, при этом обеспечивают заданное
соотношение скоростей сдвига срединной зоны заготовки в пределах 1
1,15
скорости перемещения осевых пуансонов, поворачивают заготовку на угол
относительно ее оси, далее осуществляют нечетный этап деформирования.
. Способ по п.1, отличающийся тем,
что на нечетном этапе деформирования сдвиг срединной части заготовки
осуществляют в направлении, совпадающем с его направлением на четном этапе
деформирования.
. Устройство для получения
нанокристаллической структуры материала в трубных заготовках, содержащее
разъемную матрицу в виде верхней и нижней полуматриц с центральным отверстием,
центрального вкладыша в виде нажимного и опорного полувкладышей, размещенного в
центральном отверстии разъемной матрицы с образованием каналов, пуансоны
осевого сжатия трубной заготовки, гидроцилиндры со штоками, размещенные в
упомянутых каналах стержни, форма сечения которых соответствует форме сечения
трубной заготовки, гидроцилиндры со штоками, оси которых перпендикулярны осям
стержней, причем торцы стержней с одной стороны имеют возможность взаимодействия
с поверхностью заготовки, а с другой стороны - со штоками упомянутых
гидроцилиндров.
. Устройство по п.3, отличающееся
тем, что стержни и гидроцилиндры размещены попарно в каналах верхней и нижней
полуматриц
Выводы
Анализ литературы и патентных источников
показал, что процессы изготовления наноструктурированных материалов в настоящее
время интенсивно исследуются, однако до сих пор существуют проблемы в развитии
этих процессов, связанные с сохранением остаточной пористости при
компактировании и практическим использованием этих материалов.
Наиболее эффективными и развитыми
методами получения наноструктуры являются различные методы пластической
деформации, правда, имеются трудности применения данных методов в
промышленности, обусловленные необходимостью создания инструмента повышенной
прочности, приложения больших усилий, решение вопросов компенсации
значительного трения, приводящего к задирам и «Схватам» материала заготовки и
инструмента, а также к увеличению энергозатраты процессов.
В настоящее время наиболее
исследованы методы:
· равноканального углового прессования
· равноканального углового прессования
по схеме «КОНФОРМ»
· метод локального деформирования
· метод циклического гидроформирования
трубных заготовок
· выдавливанием
Список литературы
1. Информационный портал о
черной и цветной металлургии http://steeltimes.ru
. Арсеньев П.А., Беляков
А.А., Евдокимов А.А., Заславская А.Г., Феоктистов А.Ф., Черкасов А.П., Яштулов
Н.А. «Нанотехнологии и их применение в электронике, электротехнике и водородной
энергетике» - М.: МЭИ, 2007
. Мини энциклопедия (Методы
конденсации) http://www.wddb.ru/publ/khimija/metody_kondensacii/9-1-0-360
. Гэрбэлэу Н.В., Реакции на
матрицах, Киш., 1980; Дзиомко В.М., "Химия гетероциклических
соединений", 1982, № 1, с. 3 18; Mandolini L., "Pure and Appl.
Chem.", 1986, v.58, № 11, p. 1485-92. 3. В. Тодрес.
. Достанко А.П., Грушецкий С.В.,
Киселевский Л.И., Пикуль М.И., Ширипов В.Я. Плазменная металлизация в вакууме.
- Мн.: Наука и техника, 1983. - 279 с.
. Б.М. Балоян, А.Г. Колмаков, М.И.
Алымов, А.М. Кротов «НАНОМАТЕРИАЛЫ Классификация, особенности свойств,
применение и технологии получения.» - М. 2007. - 11 с.
. О.Б. Петрова «КОНТРОЛИРУЕМАЯ
КРИСТАЛЛИЗАЦИИ СТЕКЛАКАК МЕТОД ПОЛУЧЕНИЯ НОВЫХ МАТЕРИАЛОВ ДЛЯ ФОТОНИКИ» - М.
2007. - 19 с
. http://ru.wikipedia.org
Молекулярно-пучковая эпитаксия 2012
. Бушуев Ю.Г., Персин М.И. и
Соколов В.А. Углерод-углеродные композиционные материалы: Справочник. - М.:
Металлургия, 1994-127 с.
. (Прототип) Использование
углерод-углеродных композиционных материалов в медицине:
http://www.carbon.com.ua.
. Патент RU №2163105 С1, A 61
F 2/24, 20.02.2001.
. Патент RU №2403206 C1, B 21
D 9/00, (2006.01)
. Патент RU №2458756 C2, B 82
B 3/00, (2006.01)
. Белик Р.В. Исследования в
области технологии производства изделий из пирографита. Инв. №ГИПХ 1440, 1968.
. Алымов М.И. особенности
консолидации порошков ФХОМ
. Гусев А.И. Наноматериалы,
наноструктуры, нанотехнологии» - М.: Физматлит, 2007. - 416 с.
. Валиев Р.З., Александров
И.В.»Наноструктурные материалы, полученные интенсивной пластической
деформацией.»- М.: Логос, 2000. - 272 с.
. Сегал В.М., Резников В.И.,
Копылов В.И. и др. Процессы пластического структурообразования металлов» -
Минск: Наука и техника, 1994. - 232 с.