Модернизирование заточного станка модели ВЗ-295Ф4

  • Вид работы:
    Дипломная (ВКР)
  • Предмет:
    Другое
  • Язык:
    Русский
    ,
    Формат файла:
    MS Word
    2,57 Мб
  • Опубликовано:
    2013-12-18
Вы можете узнать стоимость помощи в написании студенческой работы.
Помощь в написании работы, которую точно примут!

Модернизирование заточного станка модели ВЗ-295Ф4

1. Назначение и технико-экономические параметры станка

1.1 Общие сведения о заточном полуавтомате

Наименование: Полуавтомат специальный заточной с ЧПУ.

Обозначение: ВЗ-295Ф4.

Назначение: Предназначен для заточки, вышлифовки стружечных канавок, методом многопроходного шлифования, различных режущих инструментов из инструментальных сталей и твердых сплавов по передней и задней поверхностям, шлифовальными кругами из электрокорунда, а так же эльборовыми и алмазными кругами, тарельчатой формы. В дальнейшем станок ВЗ-295Ф4 используем как базовый, для модернизации.

1.2 Основные технические данные и характеристики базового станка

1.       Наибольший диаметр устанавливаемого изделия 200мм;

2.       Наибольший диаметр шлифовального круга 200мм;

3.       Частота вращения шпинделя шлифовального круга: 2240, 3150, 4500, 6300 мин-1;

.         Пределы скорости продольной подачи стола 0,01…6 м/мин;

.         Наибольшие возможные перемещения стола по координатам: Lx=620 мм; Lz=250 мм; Ly=270 мм; Ld=200°;

. Дискретность задания перемещений: линейных 0,001 мм; угловых 0,001°;

. Мощность привода главного движения 3,0/3,7 кВт;

. Габаритные размеры: длина 2822 мм, ширина 4610 мм, высота 2184 мм;

. Масса полуавтомата 3000 кг;

1.3 Анализ и сравнение технических характеристик аналогичного станка, модели ВЗ-392 Ф4

Рассмотрим технические характеристики

. Наибольший диаметр устанавливаемого изделия 250 мм;

. Наибольший диаметр шлифовального круга 150мм;

. Частота вращения шпинделя шлифовального круга 2000 мин-1 ;

. Наибольшая окружная скорость шлифовального круга 50 м/с;

. Наибольшее продольное перемещение шлифовальной головки (координата "Х"), 200 мм;

. Наибольшее вертикальное перемещение шлифовальной головки (координата "Y"), 175 мм;

. Наибольшее поперечное перемещение бабки изделия (координата "Z"), 200 мм;

. Наибольший угол поворота шпинделя бабки изделия (координата "А") не ограничивается;

. Наибольший угол поворота бабки изделия в горизонтальной плоскости (координата "В") 200°;

При сравнении видно, что характеристики аналога практически не отличаются. Базовый станок уступает по показателям рабочих и установочных перемещений аналогу, но позволяет обрабатывать инструменты большие по размерам. У станка аналога 3 одновременно управляемые координаты, у базового 5, но номенклатура выполнения работ одинакова, а цена станков разная. Можно сделать вывод, что аналог превосходит базовый станок. Исходя из, показанного выше сравнения, определим задачи модернизации базового станка.

.Повысить скорость вращения шпинделя, для обеспечения нужной скорости вращения шлифовального круга диаметром менее 130 мм.

.Повысить скорость холостого хода продольной подачи, для повышения производительности за счет уменьшения штучного времени обработки детали.

1.4 Расчет режимов резания

Определим режимы резания и требуемую мощность [4].

Обрабатываемый материал - Р6М5.

При шлифовании скорость резания определяется скоростью вращения абразивного круга, т.к. она во много раз превышает скорость вращения или линейного перемещения обрабатываемой детали.

Разработку режима резания при шлифовании начинают с установления характеристики инструмента.

Принимаем: 125x20x60 24А40НС1К50 м/с

Аналитически определяем скорость резания: 50 м/сек.

Частоту вращения шпинделя определим по формуле:

 (1.1)


где v - скорость резания, м/с;

d - диаметр шлифовального круга, мм.

Тогда:

 



Определим эффективную мощность резания при шлифовании.


где b - ширина шлифования, мм;

t - глубина шлифования, мм;

CN - поправочный коэффициент;

r, x, z - показатели степени;

Ширина шлифования: b = 1,0 мм

Глубина шлифования: t = 0,9 мм.

Значение коэффициента CN и показателей степеней [4]:

CN = 0,14; r = 0,8; x = 0,8; z = 1.


При шлифовании различают суммарную силу резания шлифовальным кругом и силу резания-царапания одним абразивным зерном. Рассмотрим только суммарную силу резания.

Силу резания PZ определим по формуле:

(1.3)


Отсюда:

1.5 Характеристика системы управления станком

Применение устройства ЧПУ SINUMERIK 810D производства фирмы "SIEMENS", Германия, гарантирует высокое качество управления, обеспечивает его надёжную, бесперебойную работу.

Устройство числового программного управления SINUMERIK 810D предназначено для управления тремя координатами. Устройство ЧПУ на базе 32 -разрядного микропроцессора со встроенным высокоэффективным ПЛК (программный логический контролер) SIMATIK S7-CPU314.

Система управления смонтирована в блоке SIMODRIVE 611D и состоит из двух компонентов: компактного модуля управления CCU и конструктива силового отсека CCU с тремя встроенными силовыми блоками SIMODRIVE 611D: 1х18А/36А и 2х6А/12А для двигателей.

Система может быть дополнена модулями питания и рекуперации и силовыми модулями SIMODRIVE 611D. Конфигурация системы управления включает в себя две панели управления: панель оператора ОР12 с " жидкокристаллическим дисплеем и станочный пульт c программируемыми кнопками и переключателями.

На основании выше представленного, делаем вывод, что замены данной системы управления на более новую не требуется. Она будет эффективно работать при внесении изменений в конструкцию, связанных с модернизацией станка.

2. Анализ компоновки привода главного движения

2.1 Выбор компоновки

Рассмотрим варианты конструкции привода главного движения, характерные для заточных станков:

.Для получения необходимой частоты вращения шпинделя в приводе главного движения используется регулируемый электродвигатель постоянного тока и муфту (рисунок 2.1 а).

.Привод главного движения состоит из асинхронного электродвигателя и ременной передачи (рисунок 2.1 б).

.Привод главного движения представлен в виде "двигателя-шпинделя" (рисунок 2.1 в).

Рисунок 2.1 - Варианты компоновки привода главного движения

Ременная передача (рис. 2,1 в) обладает следующими преимуществами: простота конструкции; плавность и бесшумность работы позволяющая работать при высоких скоростях, предохранение механизмов от резких колебаний нагрузки вследствие эластичности и упругости ремня; предохранение механизмов от перегрузки за счет возможного проскальзывания ремня; удобство в эксплуатации т.к. передача не требует смазки.

Основными недостатками ременной передачи являются: повышенные габариты, непостоянство передаточного отношения из-за проскальзывания ремня под действием нагрузки; необходимость в большом предварительном натяжении ремня и, как следствие, повышенная нагрузка на валы и их опоры; низкая долговечность ремней (до 5000 ч).

Передача вращательного движения с электродвигателя на шпиндель станка при помощи муфты позволяет полностью отказаться от привода главного движения, что сильно упрощает конструкцию станка; уменьшить трудоемкость и металлоемкость станка и, соответственно, уменьшить его себестоимость. Однако необходимость получения высокой частоты вращения (12000 об/мин) затрудняет подбор требуемого электродвигателя.

Особенности привода главного движения в виде "двигателя-шпинделя":

очень хорошая динамика и высочайшая скорость перемещения

высочайшая точность

простой монтаж

нет износа компонентов привода благодаря бесконтактной передаче усилия привода

Единственным недостатком на данный момент является высокая цена.

На основании приведенного выше сравнения трех конструкций, наиболее подходящей для модернизации станка, по критерию цена-качество, является привод с ременной передачей. Следовательно компоновку привода главного движения оставляем такую же как у базового станка.

2.2 Выбор типа ременной передачи

В зависимости от сечения ремня могут применяться следующие ременные передачи: плоскоременная, клиноременная, поликлиновая.

Рисунок 2.2 - Виды ременной передачи: а - плоскоременная, б - клиноременная, в - поликлиновая

Плоскоременная передача.

Полезная нагрузка передается за счет сил трения между внутренней поверхностью ремня и поверхностью шкива. Сила трения рассредоточена по всей ширине ремня, что обеспечивает равномерное нагружение всех его элементов. Ремень - наиболее тонкий и гибкий элемент прямоугольного сечения. Передача допускает применение шкивов наименьших диаметров. По сравнению с другими механическими передачами плоскоременная передача обеспечивает наиболее спокойный ход без вибрации. Это преимущество делает ее в ряде случаев незаменимой, особенно в точных станках.

Клиноременная и поликлиновая передачи.

В этих передачах полезная нагрузка передается за счет сил трения между боковыми поверхностями ремня трапецеидального сечения и канавок шкива. Из-за заклинивающего действия клиноременная передача по сравнению с плоскоременной обладает большей тяговой способностью. Вследствие этого при одинаковой передаваемой мощности она требует меньшего натяжения, создает меньшее давление на валы и опоры, допускает малые углы обхвата на шкивах и поэтому применима при больших передаточных числах, меньших межосевых расстояниях, а также при нескольких ведомых шкивах. Клиноременная передача лучше приспособлена для бесступенчатого регулирования скорости, для чего шкивы выполняют в виде раздвижных дисков.

К недостаткам клиноременной передачи относятся меньший КПД передачи вследствие больших потерь на изгиб ремня и возможное непостоянство размеров сечения ремня по его длине. При необходимости применения в передаче нескольких ремней и неизбежного разброса их размеров и упругих свойств появляются различия в передаточных отношениях отдельных ручьев и в натяжении ремней. Это вызывает неравномерную нагрузку ремней и снижает их долговечность.

Эти недостатки устранены в поликлиновой передаче, в которой, так же как в клиноременной передаче, полезная нагрузка передается за счет сил трения между боковыми поверхностями ребер клиновидной формы и канавок шкива.

Ремни поликлиновой передачи сочетают преимущества клиновых ремней (повышенное сцепление со шкивами) и гибкость, характерную для плоских ремней, что позволяет использовать поликлиновые ремни на шкивах малого диаметра. Поликлиновая передача рекомендуется для приводов, не допускающих вибрации. Работает при скорости до 50 м/с, передаточное число до 12.

На основании выше изложенного оставляем поликлиновую передачу.

 

.3 Сравнительный анализ конструкций опор шпинделя


Шпиндель, находящийся в составе данного привода предназначен для крепления шлифовальной головки, оказывает существенное, часто лимитирующее, влияние на точность, производительность и надежность всего станка.

Поэтому шпиндельный узел в соответствии с предъявляемыми к нему требованиями должен обеспечивать:

. Точность вращения, оцениваемую радиальным и осевым биением переднего конца шпинделя.

. Радиальную и осевую жесткость, определяемую по деформации шпинделя под нагрузкой.

. Долговечность шпиндельных узлов, которая зависит от долговечности опор шпинделя, которая в свою очередь зависит от эффективности системы смазывания, уплотнений, частоты вращения и т. д.

Долговечность шпиндельных узлов не регламентирована, ее определяют по усталости, износу деталей подшипника или потере смазочных свойств масла.

. Быстрое и точное закрепление инструмента в шпинделе станка.

. Минимальные затраты на изготовление, сборку и эксплуатацию шпиндельного узла при удовлетворении всех остальных требований.

Необходимо обеспечить высокие динамические качества (виброустойчивость), которые определяются амплитудой колебаний переднего конца шпинделя и частотой собственных колебаний, а так же минимальные тепловыделения и температурные деформации шпиндельного узла, так как в данном узле шпиндель будет эксплуатироваться на высоких частотах вращения.

Конструкция шпиндельного узла зависит от типа и размера станка, класса его точности, предельных параметров процесса обработки (максимальной частоты вращения, эффективной мощности привода). Поэтому выбор конструкции будем производить по следующим факторам.

Конфигурация переднего конца шпинделя зависит от способа крепления инструмента. Точное центрирование и жесткое сопряжение оправки со шпинделем обеспечивается коническим соединением. Будем использовать стандартизованный конусный конец шпинделя с конусом 40 ГОСТ 15945-70.

Тип приводного элемента зависит, в первую очередь, от частоты вращения, величины передаваемой силы, требований к плавности вращения, а так же от общей компоновки привода.

Тип опор шпинделя, определяющий форму посадочных мест, выбираем на основании требований по точности обработки и быстроходности, которая определяется скоростным параметром - произведением d ·n, мин-1:

где d - диаметр отверстия под подшипник, мм;- частота вращения шпинделя, мин-1.

Эти значения для разных типов опор приведены в таблице 2.1.

Таблица 2.1 Точность и быстроходность шпиндельных узлов на разных опорах.

Тип опор

Радиальное и осевое биение шпинделя, мкм

Скоростной параметр (dn)max∙10-3, мм∙мин-1

Качения Гидродинамические Гидростатические Аэростатические

1,00 0,50 0,05 0,10

0-10 1-10 0-15 5-40


Класс точности станка (В-высокий) в ходе модернизации не изменяется, на основании этого принимаем такой же тип опор (опоры качения) как и у прототипа. Опоры качения удовлетворяют скоростным параметрам и параметрам биения.

3. Конструирование и расчет привода главного движения

3.1 Выбор электродвигателя [2]


Выбор электродвигателя осуществляем по требуемой мощности Р.

Мощность привода определяется по формуле:

 (3.1)

где Pэ - наибольшая эффективная мощность резания, кВт

 - КПД привода главного движения.


Выбираем асинхронный электродвигатель серии 4А типоразмера 4А100S2Y3 с частотой 2880 мин-1, мощностью 4 кВт.

Регулирование частот будем осуществлять ступенчато с помощью сменных шкивов, а вместо регулируемого электродвигателя приняли асинхронный так как он дешевле, что положительно влияет на экономический эффект проекта.

3.2 Кинематический расчёт привода [2]


Исходя из кинематической схемы привода, строим график частот:

Рисунок 3.1 - График частот вращения шпинделя

Определяем передаточное отношение для поликлиновой передачи:

 (3.2)

где n1 и n2 - частоты вращения соответственно ведущего и ведомого шкивов.


Определим крутящие моменты на валах по расчётной цепи

 Н·м (3.3)

где Т1- крутящий момент на первом валу, Н·м

Nэ - мощность электродвигателя, кВт

nэ - частота вращения вала двигателя, мин-1

 Н·м

Крутящий момент на ведомом валу:

 Н·м (3.4)

где  - к.п.д. ременной передачи, ( =0,96).

 - передаточное отношение расчетной цепи.

 Н·м

Общий к.п.д. привода ГД:

 (3.5)


Теоретический наибольший расчетный момент на валу шпинделя:

Н·м (3.6)

где np - расчетная частота вращения шпинделя.

 Н·м

 

3.3 Расчет элементов привода


3.3.1 Расчет поликлиновой передачи [3]

Выбираем поликлиновый ремень нормального сечения, К.

Вид сечения поликлинового ремня общего назначения представлен на рисунке 3.2, а значения основных параметров сведены в таблицу 3.1.

Таблица 3.1 - Основные параметры поликлинового ремня

Основные параметры

Величина параметров, мм

h

2,35

p

2,4

H

9,5

Предельное значение l

400…2000


Рисунок 3.2 - Вид сечения поликлинового ремня

Определяем минимально допустимый диаметр ведущего шкива

Задаемся расчетным диаметром ведущего шкива d1 = 140 мм

Определяем диаметр ведомого шкива d2

, (3.7)

где i - передаточное отношение ременной передачи

e - коэффициент скольжения (e=0,01)


Принимаем d2 = 51 мм.

Определим фактическое передаточное отношение:

, (3.8)

Подставив числовые значения, получим:



Определяем ориентировочное межосевое расстояние:

, (3.9)

где h(H) - высота сечения поликлинового ремня.

Тогда:

 



Определяем расчетную длину ремня l:

, (3.10)

Подставив числовые значения, получим:



Расчетную длину ремня l округляем до стандартного ближайшего значения: l =630мм.

Конструктивно принимаем l =1200мм.

Уточняем значение межосевого расстояния по стандартной длине:

 (3.11)

Получим:



Определим угол обхвата ремнем ведущего шкива:

 (3.12)

Подставив числовые значения, получим:


Определим скорость ремня:

 (3.13)

где d1 и n1 - соответственно диаметр ведущего шкива и его частота вращения;

 - допускаемая скорость, =40м/с.

 м/с

Определим частоту пробегов ремня:

 (3.14)

где [U] - допускаемая частота пробегов, [U] = 30 c-1;

Получим:

 с -1

Определим допускаемую мощность, передаваемую поликлиновым ремнем с десятью клиньями:

 (3.15)

где [Po] - допускаемая приведенная мощность, передаваемая одним клиновым ремнем или поликлиновым ремнем с восемью клиньями, [Po]=5,6 кВт;

С - поправочные коэффициенты

Cp - коэффициент динамической нагрузки, Cp=1;

Ca - коэффициент угла обхвата, Ca=1;

Cl - коэффициент влияния отношения расчетной длины ремня к базовой, Cl=0,95;

 



Определим число клиньев поликлинового ремня:

 (3.16)

где Pном - номинальная мощность двигателя, кВт

Подставив числовые значения, получим:


Принимаем z = 8.

Определим силу предварительного натяжения


Тогда:


Определим окружную силу передаваемую поликлиновым ремнем:

 (3.18)

Подставив числовые значения получим:


Определим силы натяжения ведущей и ведомой ветвей

 (3.19)

 (3.20)

Подставив числовые значения, получим:


Определим силу давления на вал

 (3.21)

Получим:



Проверочный расчет

Проверим прочность ремня по максимальным напряжениям в сечении ведущей ветви.

 (3.22)

где  - напряжение растяжения, Н/мм;

 - напряжение изгиба, Н/мм;

 - напряжение от центробежных сил, Н/мм;

[s]Р - допускаемое напряжение растяжения, [s]Р = 8 Н/мм;

 (3.23)

Площадь сечения ремня определяем по формуле:

, (3.24)

Значения H, h, мм (см. таблицу 3.1).

Найдем ширину сечения поликлинового ремня:

, (3.25)

где f = 5,5 мм.


тогда напряжение растяжения равно:


Напряжение изгиба:

 (3.26)

где Eи - модуль продольной упругости при изгибе для прорезиненных ремней, Eи=80…100;

Тогда:


Напряжение от центробежных сил:

 (3.27)

где r - плотность материала ремня, r=1250…1400 кг/мм3; Получим:


Определим максимальное напряжение в сечении ведущей ветви клинового ремня:


т.к. smax меньше [s]р проверочный расчет выполняется.

.3.2 Расчёт диаметров валов [3]

Диаметры посадок подшипников на валы:

 (3.28)

где Т-момент на соответствующем валу;

[к]-допускаемое напряжение на кручение, [к]=20...25;


Диаметр выходного конца электродвигателя d=28 мм.

Конструктивно принимаем d=28 мм.


Под посадку подшипников, обеспечивающих необходимую надёжность при работе ведомого вала, конструктивно принимаем d=40 мм.

3.4 Разработка конструкции и расчет шпиндельного узла


.4.1 Выбор схемы опор

Так как коэффициент быстроходности равен 5,2 (nmax·D=8000·66=5,2)

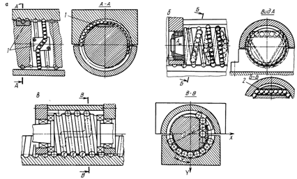
Шпиндельный узел данного станка относится к группе узлов с высокой частотой вращения. В проектируемом шпиндельном узле могут использоваться следующие схемы опор шпиндельного узла (см. рисунок 3.3):

Рисунок 3.3 - Схемы опор шпиндельного узла

Все четыре схемы применяются в шлифовальных станках и обеспечивают весьма большие частоты вращения, справляются как с радиальными так и с осевыми нагрузками, ниже представлен коэффициент быстроходности для каждой схемы:

Схема а) (6-11)·105 Скоростные

Схема б) (8-12)·105

Схема в) (10-16)·105 Сверхскоростные

Схема г) (10-17)·105

В проектируемом приводе, возникают большие радиальные и незначительные осевые нагрузки и с учетом простоты регулирования натяга в подшипниках, будем в дальнейшем использовать схему а) опор шпиндельного узла как наиболее простую и надежную конструкцию и наиболее подходящую нам по скоростному параметру (dn)max=5,2.

Рисунок 3.4 - Схема шпиндельного узла.

Радиальную нагрузку на переднюю опору воспринимает радиально-упорный шариковый подшипник. В задней опоре также установлены два радиально-упорных шариковых подшипника.

Для смазывания обеих опор применяется жидкий смазочный материал.

          Приводной элемент шпинделя установлен на заднем конце, и передача крутящего момента передается через шкив посредством поликлиновой передачи, что на больших скоростях обеспечивают плавное вращение шпинделя.

Определим конструктивные параметры шпинделя исходя из базового варианта исполнения и расчетов.

Диаметр передней опоры под подшипники: d = 45 мм        

диаметр задней опоры: d = 40 мм

межопорное расстояние: l = 140 мм

вылет переднего конца шпинделя: a = 38 мм

Шпиндель изготовлен из стали 12ХН3А ГОСТ4543-71 с поверхностным цементированием h=0,8…1,1 мм до НRCэ 55-83.        

В передней и задней опоре устанавливаются шариковые радиально-упорные подшипники серии 36209, 36208 соответственно.

Размеры подшипника: d = 40 мм, D = 80 мм, В = 18 мм. Грузоподъёмность: Cr =38,9 кН, Сro=23,2 кН. Предельная частота вращения n = 11000 мин-1.

3.4.2 Расчёт шпиндельного узла на жёсткость

Оценка радиальной жёсткости производится по прогибу d конца шпинделя, происходящего за счёт упругой деформации (изгиба) шпинделя и податливости его опор, а также по углу поворота q упругой линии деформированного шпинделя в передней опоре.

Составим схему нагружения шпинделя (рисунок 3.7).

Рисунок 3.7 - Схема нагружения шпиндельного узла.

Максимально допустимые значения перечисленных параметров принимаются соответственно:

, (3.29)

где l- расстояние между опорами, l=117 мм.

 мм

 рад

Прогиб шпинделя d в горизонтальной и вертикальной плоскостях определим по формулам:

 (3.30)

 (3.31)

где ja, jв - жёсткость подшипников, осевого шарикоподшипника,

a1=5,3·ja=5,3·0,7×106 =3,71×106 Н/мм

jв=2·ja=2·0,55×106 =1,1×106 Н/мм;

Е - модуль упругости материала шпинделя, Е=2,0 ×105 МПа;

I1, I2 - момент инерции сечения шпинделя в пролёте между опорами и

переднего конца шпинделя соответственно, мм4;

e - коэффициент защемления в передней опоре, e=0,55;

a - вылет переднего конца шпинделя, а=38мм

Моменты инерции найдём по следующим формулам:

 (3.32)

 (3.33)

где dсрiн - средний наружный диаметр, мм,

dсрiв - средний внутренний диаметр, мм.

Подставив численные значения, получим:

 мм4

 мм4

Силы действующие при шлифовании:

PY=3268,08 Н; PZ=53,4 Н; F=317,4 Н;

Подставив численные значения в формулы, получим:


Определим суммарный прогиб консоли шпинделя:

, (3.34)

Подставив численные значения в формулу 3.42 получим:

 мм < [d]=0,135мм.

Определяем жёсткость шпинделя по формуле:

 (3.35)

где: jфакт - расчётная жёсткость шпинделя, Н/мм;        

           [jшп] - базовая жёсткость шпинделя, [jшп] = 250 Н/мкм.

           Р -сила резанья (шлифования), Н.


Проверка на жёсткость шпинделя выполняется.

Определим угол поворота шпинделя в передней опоре:

 (3.36)


Условие выполняется.

 

3.4.3 Расчёт шпиндельного узла на точность

При расчете шпиндельного узла на точность принимаем самый неблагоприятный случай, когда биение подшипников DА в передней опоре и DВ в задней направлены в противоположные стороны.

Рисунок 3.6 - Схема расчета шпиндельного узла на точность

Тогда радиальное биение конца шпинделя:

 (3.37)

где D - допуск на радиальное биение конца шпинделя, D=4 мкм, для станков высокого класса точности;

а - вылет конца шпинделя.

 мкм (3.38)

 мкм

 (3.39)


Радиальное биение размером 2 мкм - задняя опора, 4мкм - передняя соответствует для станков высокого класса точности. Полученные значения радиального биения соответствуют высокому классу точности подшипников, следовательно станок проверку на точность проходит.

3.4.4 Расчёт подшипниковых узлов

Для рассчитываемого вала мы применяем шариковый радиально-упорный подшипник серии 36208 ГОСТ 831-75 (d=40, D=80 мм, B=18 мм, Сr=38,9 кН). Пригодность подшипников определяется сопоставлением расчётной динамической грузоподъёмности с базовой, или базовой долговечности с требуемой, по условиям:

rp ≤ Cr или L10h ≥ Lh. (3.40)

Требуемая долговечность подшипника Lh = 8,4· 103

Расчётная динамическая грузоподъёмность определяется по формуле:

 (3.41)

где: RE - эквивалентная динамическая нагрузка, Н;

           ω - угловая скорость вала, с-1;

m - показатель степени, m = 3.

RE = V· Rr ·Kб ·Kт (3.42)

где: V - коэффициент вращения, V = 1 (при вращении внутреннего кольца подшипника);

           Rr - суммарная реакция подшипника, Rr=4155 Н;

           Kб - коэффициент безопасности, Kб =1,15;

           Kт - температурный коэффициент, Kт = 1.

RE = 1· 4155 ·1,15 ·1 = 4778,25 Н

 (3.43)

 кН

,04 кН > 22,0 - условие выполняется.

Произведём расчёт подшипника на долговечность:

 (3.44)


Расчёт подшипника на долговечность выполняется.

Выбранный подшипник обеспечивает основные эксплуатационные требования.

 

3.4.5 Определение реакций опор шпиндельного узла [5]

Изобразим схему для определения реакций опор:

Рисунок 3.5 - Схема для определения реакций опор шпиндельного узла.

Определим реакции опор:

RА =,

RВ =

.4.6 Расчет шпиндельного узла на виброустойчивость

Определим собственную частоту колебаний шпинделя:

 , с-1 (3.45)

где: γ = 2,35. коэффициент, зависящий от l;

m = 9,2 - масса шпинделя с двумя кольцами, полученная на основании трехмерного моделирования, кг;

Е- модуль упругости;

J- осевой момент инерции

Относительное расстояние между опорами:

λ = l / a = 140 /38 = 3,6;

 Гц

Проверим условие:


где: fb- вынужденная частота колебаний, равная 500 Гц;

>500

Условие выполняется, следовательно, полученная частота собственных колебаний удовлетворяет требованиям к данному типу станков.

заточный шлифование станок резание

4. Анализ и исследование конструкции привода продольной подачи

4.1 Выбор оптимальной структуры привода

Рассмотрим несколько структур приводов подач, а затем выберем наиболее подходящий для данного станка.

Приводы подач с бесступенчатым регулированием.

Приводы подач с бесступенчатым регулированием оснащают станки с числовым программным управлением, гибкие производственные модули, станки с адаптивным управлением. Приводы должны обеспечить широкий диапазон режимов обработки, максимальную производительность, высокую точность позиционирования исполнительных органов.

Благодаря регулированию электродвигателя и упрощению механической части снижается нагрузка на двигатель, повышается КПД привода, снижается его момент инерции, повышается точность исполнительных команд.

Для роста производительности станка предусматривают скорость быстрого хода исполнительных узлов до 15 м/мин и более, а в легких токарных и сверлильных станках с малыми ходами - высокое быстродействие привода (время разгона до максимальной скорости не превышает 0,2 с )

В связи с увеличением скорости быстрых перемещений и снижением скорости установочных движений диапазон регулирования привода подач станков с ЧПУ весьма широкий: в токарных, фрезерных и расточных станках от 100 до 10000.

Поскольку доля силы резания в общей нагрузке на привод подачи значительна и в процессе обработки сила резания изменяется в широком диапазоне, требования к статической и динамической жесткости привода подач станков с ЧПУ намного выше, чем привода подач стандартных станков.

Состав исполнительного механизма.

В состав исполнительного механизма электромеханического привода подач входят соединительная муфта 1 ( рис. 4.1), тяговое устройство 4, его опора 3. В приводе может быть использовано сдвоенное колесо, для предотвращения зазора 2.

Рисунок 4.1 Исполнительный механизм регулируемого электромеханического привода подачи

Как и в базовом станке, используем привод подач с бесступенчатым регулированием.

4.2 Анализ и выбор конструкции тягового механизма

Рассмотрим и проанализируем несколько примеров тяговых устройств привода подач, а затем выберем наиболее оптимальный вариант для нашего станка.

Передача винт-гайка качения

Передача винт-гайка качения обладает свойствами, позволяющими применять ее как в приводах подач без отсчета перемещений (универсальных станков, силовых столов агрегатных станков), так и в приводах подач и позиционирования станков с ЧПУ. Для передачи характерны высокий коэффициент полезного действия (0,8-0,9), небольшое различие между силами трения движения и покоя, незначительное влияние частоты вращения винта на силу трения в механизме, полное отсутствие осевого зазора. Недостатками являются высокая стоимость, пониженное демпфирование, отсутствие самоторможения.

Устройство и размеры передачи.

Передача состоит из винта 1(рис4.2), гайки 2, шариков 3 и устройств для возврата шариков (на рисунке не показаны). Обычно применяют передачи с наиболее технологичным полукруглым профилем резьбы. Для снижения контактных напряжений предусматривают rB =rГ (1,03...1,05)r1 . Предварительный натяг, повышающий точность и жесткость передачи, создают осевыми проставками между гайками, винтами, сдвоенной дифференциальной гайкой.

За номинальный размер передачи принимают диаметр d0 условного цилиндра, на котором расположены центры шариков. Размеры передачи по ГОСТ 25329-82 .

Предпочтительными значениями номинального шага считаются 2,5; 5; 10; 20 мм.

Принятые обозначения: d0- номинальный диаметр; р -номинальный шаг; d1 и l1 -диаметр и длина шейки винта для квадрата под ключ; d2 и l2 - диаметр и длина шейки под компенсирующую муфту; d3 и l3-диаметр и длина шейки под регулировочную гайку;d4, d7 и l4, l7 - диаметры и длины опорных шеек винта;d5,l5- диаметр и длина шейки винта; d6 и l6-диаметр и длина шейки винта под промежуточный элемент. Стандартная конструкция винта позволяет применять роликовые комбинированные подшипники, приводные элементы с креплением затяжной конической втулкой или затяжными кольцами, измерительный преобразователь обратной связи, упоры, устанавливаемые на промежуточном элементе.

Рисунок 4.2 Схема передачи винт-гайка качения

Передача винт-гайка скольжения

Для передачи винт-гайка скольжения характерны:

) возможность использования малого шага и соответственно малое передаточное отношение при однозаходной резьбе и небольшой скорости подачи;

) самоторможение при использовании одно- и двухзаходных винтов и соответственно возможность применения передачи для вертикальных движений и узлов, совершающих установочные перемещения под нагрузкой;

) относительно низкая износостойкость;

) низкий КПД, определяемый по зависимости


β -угол подъема винтовой линии резьбы, лежащей на среднем цилиндре;

р - угол трения в резьбе: р = arctgu (u- коэффициент трения в резьбе, зависящий от скорости скольжения: u = 0,05..,0,2).

Материалы для деталей передачи.

Винты передач скольжения изготовляют упрочняемыми и неупрочняемыми. Упрочняемые винты применяют в том случае, когда их долговечность должна быть не ниже межремонтного цикла станка. Упрочнением до твердости не менее 54 HRC достигают повышенной износостойкости винта, но при этом необходимо обеспечить его минимальную деформацию в результате упрочнения и последующей механической обработки, стабильность формы при длительной эксплуатации. Винты классов точности 0,1 и 2 наружного диаметра до 60 мм, имеющие среднюю или высокую жесткость, рекомендуется изготовлять из стали ХВГ и подвергать объемной закалке. Для винтов диаметром до 120 мм пригодна также сталь 7ХГ2ВМ, имеющая незначительную термическую деформацию, вследствие чего упрочнение винтов может производиться после нарезания резьбы. Винты классов 1,2 и 3 любого диаметра целесообразно изготовлять из азотируемых сталей 30ХЗМФ, 18ХГТ, 40ХФА, 38Х2МЮА.

Толщина азотированного слоя должна быть не менее 0,3 мм. Такие винты отличаются высокой износостойкостью и стабильностью формы в процессе эксплуатации. Неупрочняемые винты изготовляют из сталей 35 и 45 в нормализованном состоянии и стали У10А в отожженном состоянии, имеющей структуру зернистого перлита. Для этих сталей характерны хорошая обрабатываемость резанием и минимальные деформации в процессе изготовления винта.

Для изготовления гаек применяют оловянистые бронзы Бр 010Ф0,5, Бр 06Ц6СЗ (для прецизионных передач), антифрикционный чугун (для неответственных гаек).

Передача червяк-рейка качения

Передача червяк-рейка качения состоит из червяка 4 с 5-6 рабочими витками (рис.4.3), жестко закрепленной на станине станка рейки 2 и комплекта шариков 3, циркулирующих между рабочими профилями червяка и рейки. Вне рабочей зоны шарики удерживаются ограничителем 1.

Параметры передачи: угол контакта а = 45 ...60°, угол охвата рейки = 180° , отношение диаметра шарика к диаметру условного цилиндра, на котором расположены центры шариков, d/D = 0,06-0,1,, шаг винтовой канавки на червяке р = 1,6d. Рейку составляют из нескольких секций длиной от 200 до 2000 мм.

Предусматривают элементы для возврата шариков в исходное положение. В одной из конструкций (рис. 4.4, а) каналы возврата 1, выполненные на поверхности червяка, соединяют его соседние витки. Углы поворота в канале не должны превышать 45°. В другой конструкции (рис 4.4, б) канал возврата выполнен в виде закаленной трубки 2, вставленной в червяк и соединяющей его соседние витки. Выступающие из червяка концы трубки играют роль отражателей. Шарики направляются в канал отражателем.

Рисунок 4.3 Передача червяк-рейка качения

Рисунок 4.4 Устройство для возврата шариков

Гидростатическая червячно-реечная передача

Гидростатическая червячно-реечная передача (рис. 4.5) состоит из червяка 1 и рейки 2, в зазор между которыми нагнетается масло. Когда передача не нагружена, давление во всех карманах одинаково и зазоры h0 по обеим сторонам профиля равны. При нагружении передачи зазоры с одной стороны профиля уменьшаются, а давление в них возрастает. С другой стороны профиля изменения зазоров и давления масла противоположны. В результате внешняя нагрузка уравновешивается разностью сил давления масла. Конструкции, в которых масло подводится через червяк, относительно просты, но при большой частоте вращения червяка нагрузочная способность передачи снижается вследствие выбрасывания масла из его каналов центробежными силами. Передача с подводом масла через рейку не имеет этого недостатка, но более сложна. Передача с карманами для масла, выполненными на червяке, технологична, но характеризуется непостоянством нагрузочной способности и жесткости, обусловленным переменностью числа карманов в зоне зацепления при вращении червяка.

Рисунок 4.5 Схема гидростатической червячно-реечной передачи

Передача с карманами на рейке более трудоемка в изготовлении, но имеет повышенную нагрузочную способность.

В системе питания типа "насос-карман" имеется два сдвоенных насоса. Один подает масло в карманы, находящиеся на левых сторонах профиля, другой в карманы, расположенные на его правых сторонах. Давление в карманах устанавливается в зависимости от нагрузки F на передачу. Эти насосы питают также два упорных гидростатических подшипника. Система проста в изготовлении, обеспечивает высокую нагрузочную способность передачи, характеризуется малыми энергетическими потерями, но иногда при ее применении не достигается требуемая жесткость или компактность привода. В этих случаях применяют систему питания с мембранным делителем потока и одним сдвоенным насосом (один его насос подает масло во все карманы на обеих сторонах профиля, другой питает упорные гидростатические подшипники опор червяка). При отсутствии нагрузки на передачу делитель 3 распределяет масло поровну между карманами на обеих сторонах профиля, так как мембрана 4 толщиной 0,6...0,8 мм занимает среднее положение между соплами. При нагружении передачи давление в карманах на одной стороне профиля повышается, в карманах на другой стороне снижается. Соответственно изменяется давление в карманах делителя, и мембрана прогибается. Подача масла в более нагруженные карманы увеличивается, в менее нагруженные уменьшается.

Для гидростатической передачи червяк-рейка характерны большая нагрузочная способность, высокий КПД (не ниже 0,95), высокая точность, достаточная жесткость, отсутствие изнашивания, хорошая демпфирующая способность. Передачу целесообразно применять в качестве звена привода подачи тяжелых станков с числовым программным управлением.

Особенности технологии изготовления передачи. Для того чтобы обеспечить совпадение профилей зубьев червяка и рейки, точный шаг и практически постоянный боковой зазор, равный 0,03...0,05 мм, передачи изготовляют по следующей технологии. На токарном станке производят грубое нарезание рейки таким образом, чтобы реечный боковой зазор в зацеплении составлял около 1 мм. После обезжиривания на ее профиль наносят эпоксидную смолу с наполнителем в виде металлического порошка и с отвердителем. Необходимый профиль резьбы формируют с помощью модели червяка, толщина зубьев которой больше толщины зубьев рабочего червяка на величину заданного рабочего зазора в передаче. Длинную рейку получают путем стыковки нескольких коротких.

4.3 Выбор тягового устройства

Проанализировав выше перечисленные передачи можем сказать, что наиболее нам подходит это винт-гайка качения т. к. она обладает свойствами позволяющими применять ее в приводах подач станков с ЧПУ ,а также является основным видом тяговых устройств для станков с числовым управлением. Передача обладает высоким КПД и низкими потерями на трение, снижает вибрации, уменьшает изнашивание и поломку рабочего инструмента, высокая чувствительность к микроперемещениям, что повышает точность обработки. Выберем шариковую винт-гайку, потому что ее грузоподъемности нам будет достаточно (1000 кН).

Шариковая передача состоит из винта 1 (рис 4.6) гайки 2, комплекта шариков 3, расположенных в винтовых канавках винта, канала 4 для возврата шариков. Как и в шарикоподшипниках, шарики имеют линейную скорость в 2 раза меньше, чем винт. Канал возврата, соединяющий первый и последний витки гайки, обеспечивает непрерывную циркуляцию тел качения.

Что бы обеспечить более плавную работу передачи выберем арочный профиль с двухточечным контактом (рис 4.6). Он обеспечивает при зазоре h в несколько микрометров точное положение шариков при выходе их в рабочую зону, что и повышает плавность работы передачи.

Рисунок 4.6 Арочный профиль с двухточечным контактом

Регулировать натяг будем регулированием осевого расположения гаек при неизменном угловом, так как этот способ применяется в станках из-за того, что в этом случае передача воспринимает большие нагрузки в обе стороны и обеспечивает высокую жесткость.

Устройство возврата шариков конструктивно выполним так, чтобы шарики при возврате не выводились из контакта с поверхностью винта, а лишь направлялись из впадины одного витка во впадину соседнего, куда они попадают, переваливаясь через выступ резьбы винта (рис 4.7). Канал возврата шариков, соединяющий два соседних витка резьбы, выполняют в специальном вкладыше, который вставляется в окно гайки. В большинстве случаев в гайке делают три, четыре и шесть окон, расположенных соответственно под углом 120, 90, 600. Вкладыши в окна могут иметь различную форму (продолговатую, круглую и т. д.).

Рисунок 4.7 Устройство возврата шариков.

.4 Исследование конструкции опор тягового механизма

Постановка задачи, исходные данные.

Модернизировать привод подач заточного станка с ЧПУ: повысить скорость линейного перемещения стола.

Конструкторские данные: максимальная скорость линейного перемещения Vmax=10м/мин.

Для выбора конструкции тягового механизма, рассмотрим четыре схемы закрепления и проведем анализ опор, рассчитывая при этом скорость перемещения и сжимающую силу.

.4.1 Расчет максимальной допустимой скорости

Рисунок 4.8 Общая схема для расчета максимальной скорости

Для расчета будем использовать следующие формулы:


Рассмотрим варианты монтажа и проведем расчеты:

а) Левая опора фиксированный сдвоеный подшипник, правая свободна

Рисунок 4.9 Расчетная схема №1

Исходные данные

d =40 мм диаметр ШВП

p =10 мм шаг винта

Dw =6 мм диаметр шариков

lcr =900 мм максимальное смещение гайки

Результат расчета

nmax= 1401,12 мин-1 максимальная допустимая скорость вращения ШВП.

Vmax= 14,01 м/мин максимальная допустимая скорость линейного перемещения.

б) Левая опора фиксированная, правая плавающая:

Рисунок 4.10 Расчетная схема №2

Исходные данные

d =40 мм диаметр ШВП

p =10 мм шаг винта

Dw =6 мм диаметр шариков

lcr =900 мм максимальное смещение гайки

Результат расчета

nmax= 2500,09 мин-1 максимальная допустимая скорость вращения ШВП.

Vmax= 25 м/мин максимальная допустимая скорость линейного перемещения.

в) Левая опора фиксированный сдвоеный подшипник, правая плавающая:

Рисунок 4.11 Расчетная схема №3

Исходные данные

d =40 мм диаметр ШВП

p =10 мм шаг винта

Dw =6 мм диаметр шариков

lcr =900 мм максимальное смещение гайки

Результат расчета

nmax= 3901,13 мин-1 максимальная допустимая скорость вращения ШВП.

Vmax= 39 м/мин максимальная допустимая скорость линейного перемещения.

г) Левая опора фиксированный сдвоеный подшипник, правая плавающий сдвоеный подшипник:

Рисунок 4.12 Расчетная схема №4

Исходные данные

d =40 мм диаметр ШВП

p =10 мм шаг винта

Dw =6 мм диаметр шариков

lcr =900 мм максимальное смещение гайки

Результат расчета

nmax= 5607,43 мин-1 максимальная допустимая скорость вращения ШВП. Vmax= 56 м/мин максимальная допустимая скорость линейного перемещения.

По результатам расчетов строим диаграмму зависимости скорости от схемы монтажа:

Рисунок 4.13 Диаграмма зависимости скорости перемещения от схемы монтажа

.4.2 Расчет максимально допустимой сжимающей силы

Рисунок 4.14 Общая схема для расчета максимальной сжимающей силы

Для расчета будем использовать следующие формулы:


Рассмотрим варианты монтажа и проведем расчеты:

а) Левая опора фиксированный сдвоеный подшипник, правая свободна:

Рисунок 4.15 Расчетная схема №1

Исходные данные

d =40 мм диаметр ШВП

p =10 мм шаг винта

Dw =6 мм диаметр шариков

lcr =900 мм максимальное смещение гайки

Результат расчета

Fmax= 47,062 кН максимальная допустимая сжимающая сила ШВП

б) Левая опора фиксированная, правая плавающая:

Рисунок 4.16 Расчетная схема №2

Исходные данные

d =40 мм диаметр ШВП

p =10 мм шаг винта

Dw =6 мм диаметр шариков

lcr =900 мм максимальное смещение гайки

Результат расчета

Fmax= 188,249 кН максимальная допустимая сжимающая сила ШВП

в) Левая опора фиксированный сдвоеный подшипник, правая плавающая:

Рисунок 4.17 Расчетная схема №3

Исходные данные

d =40 мм диаметр ШВП

p =10 мм шаг винта

Dw =6 мм диаметр шариков

lcr =900 мм максимальное смещение гайки

Результат расчета

Fmax= 376,498 кН максимальная допустимая сжимающая сила ШВП

г) Левая опора фиксированный сдвоеный подшипник, правая плавающий сдвоеный подшипник:

Рисунок 4.18 Расчетная схема №4

Исходные данные

d =40 мм диаметр ШВП

p =10 мм шаг винта

Dw =6 мм диаметр шариков

lcr =900 мм максимальное смещение гайки

Результат расчета

Fmax= 752,996 кН максимальная допустимая сжимающая сила ШВП

По результатам расчета строим диаграмму зависимости сжимающей силы от схемы монтажа:

Рисунок 4.19 Диаграмма зависимости сжимающей силы от схемы монтажа

Сравниваем данные расчетов:

Таблица 4.1 Результаты расчетов

Номер схемы

Vmax, м/мин

Fmax, Н

1

14

47,062

2

25

188,249

3

39

376,498

4

56

752,996


На основании полученных данных строим диаграмму общей зависимости:

Рисунок 4.20 Диаграмма зависимости сжимающей силы и скорости перемещения от схемы монтажа.

Вывод:Опираясь на конструкторские данные и расчеты в проведенном анализе, делаем вывод, что целесообразнее для изготовления заточного станка будет использование схемы №1, для крепления винта тягового механизма: левая опора фиксированный сдвоеный подшипник,правая свободна.

5. Конструирование и расчет привода продольной подачи

5.1 Определение необходимой тяговой силы

Рассмотрим схему обработки

Рисунок 5.1 Схема обработки.

Рисунок 5.2 Схема действующих сил при обработке.

Для нахождения тяговой силы воспользуемся формулой


Т0 -начальная сила трения на одной грани направляющих (4…5 Н),

fk-коэффициент трения качения (fk =0,0025),

d- диаметр винт-гайки качения =32 мм

N=Px+G1+G2-нормальная сила

G2-сила тяжести изделия

G1-сила тяжести стола


ускорение свободного падения

m1, m2-масса стола и масса изделия соответственно,


Определим значение окружной силы шлифования:


-коэффициенты зависящие от вида обработки;

-плоское шлифование торцом круга;

D-диаметр шлифовального круга, D=125мм;

продольная подача

k1, k2, k3- коэффициенты учитывающие твердость круга

скорость круга-

N=Px+G1+G2 (5.4)


5.2 Выбор электродвигателя

Для выбора высокомоментного электродвигателя определим Мкр.

Определение скорости вращения ротора двигателя, привода подач.


Vmax, Vmin- скорости перемещения стола,

- шаг


Для предварительного выбора двигателя найдем


Определим преведенные моменты инерции

Д- момент инерции ротора двигателя,

IП- приведенная к валу двигателя масса, поступательно перемещающихся частей механизма,


i- передаточное отношение,


Определим статический момент


MP-момент от силы резания,

MG-момент от силы тяжести,

MT-момент от силы трения,


P-суммарная проекция сил резания в направлении движения подачи,

р- шаг,

ηВ- КПД винтовой передачи,

MT=MT.H+MT (5.12)


где P- суммарная сила резания,

FT.H.- сила трения,

µ- условный коэффициент трения,

dm- условный диаметр подшипника,

ki- коэффициент учитывающий конструкцию опор,


Выбираем двигатель 2ПБВ132S с характеристиками:


.3 Расчет передачи винт-гайка качения

.3.1 Определение длины ходового винта

Рисунок 5.3 Основные и присоединительные размеры винта

           (5.15)

Где lи - требуемое перемещение рабочего органа, мм (620 мм);

lк - длина корпуса гайки, мм;

lу - ширина уплотнения, мм;

lп - длина перебега, мм;

lн - длина нерабочей части винта, мм;

Для ходовых винтов диаметром 25…50 мм  ≈ 320..360 мм.

Тогда получаем, что:

Принимаем длину ходового винта L=950 мм.

.3.2 Предварительное определение номинального диаметра передачи винт-гайка качения

 (5.16)

L- длина ходового винта,


где d0 - номинальный диаметр передачи ВГК, мм.


.3.3 Определение статической грузоподъёмности передачи

Статическая грузоподъёмность определяется:

    (5.17)

где d1 - диаметр шарика, мм; (d1≈0,6∙p≈0,6∙10=6,0 мм);

kz - коэффициент, учитывающий погрешности шага резьбы (kz =0,7);

α - угол контакта шарика с винтом и гайкой, α=45º;

β - угол наклона винтовой лини резьбы;

u - число витков передачи, u=4.

 (5.18)

p - шаг резьбы, мм; (р=10 мм);


Выполняем проверку передачи по статической грузоподъемности. Необходимо, чтобы выполнялось условие:


Условие выполняется.

.3.4 Определение динамической грузоподъёмности передачи

Динамическая грузоподъемность определяется:

 (5.19)

где Fэкв - эквивалентная осевая нагрузка, Н (Fэкв =Q=365,25 H);

fh - коэффициент долговечности;

 (5.20)

Lh - долговечность, Lh=(5…10)∙103 ч;


fn - коэффициент частоты вращения;

            (5.21)

nЭ - эквивалентная частота вращения, (nЭ=75 мин-1);

nЭ=0,5∙(nSmin+nSmax) (5.22)

nЭ=0,5∙(1+1000)=500,5 мин-1


fH - коэффициент твёрдости материала; (fH =0,7);

fW - коэффициент характера нагрузки; (fW=1,2);


Выполняем проверку передачи по статической грузоподъемности. Необходимо, чтобы выполнялось условие:


Условие выполняется.

5.3.5 Расчёт винта на устойчивость по критической силе

Для обеспечения устойчивости ходового винта его диаметр d0 должен быть:

 (5.23)

где l - наибольшее расстояние между гайкой и опорой винта (l=778 мм);

μ - коэффициент, зависящий от характера заделки концов ходового винта, (μ=2);

ky - коэффициент запаса устойчивости, ky=3;

E - модуль упругости, Е=210∙109 Па.


Условие выполняется.

.3.6 Расчёт винта на устойчивость по критической частоте вращения

Максимальная частота вращения винта, мин-1:

 (5.24)

где Vбх - скорость быстрого хода, м/мин;

k=1,2…1,5 - коэффициент несовпадения частоты вращения винта с частотой его собственных колебаний;


Для обеспечения устойчивости диаметр винта должен быть:

            (5.25)


Условие выполняется.

.3.7 Расчёт жёсткости привода подач

Число рабочих шариков в одном витке гайки:

 (5.26)


Минимально допустимая сила предварительного натяга:

 (5.27)


Сила натяга:

 (5.28)


Жёсткость передачи винт-гайка качения JВГК с предварительным натягом и возвратом шариков через вкладыши:

 (5.29)


Жёсткость ходового винта JВ при одностороннем закреплении определяется:

 (5.30)


Фактическая податливость привода подачи определяется:

 (5.31)

где J - жёсткость привода;

JВ - жёсткость ходового винта;

JВГК - жёсткость передачи винт-гайка качения;

JО - осевая жёсткость опор винта.


Жёсткость привода подачи:

Собственная частота колебаний механической части привода:

 (5.32)


Требуемая жёсткость JТР привода по условию отсутствия резонанса определяется:

 (5.33)


Условие выполняется.

6. Разработка конструкции поворотного стола

.1 Назначение, особенности конструкции

Рисунок 6.1 Схема стола поворотного

Поворотный стол несет на себе бабку изделия ,в которую устанавливается затачиваемый инструмент, и осуществляет ее поворот вокруг вертикальной оси.

Бабка изделия установлена на поворотном столе с возможностью ее продольного и поперечного перемещения.

Поворот вокруг вертикальной оси осуществляется посредством прецизионной червячной передачи с двухшаговым червяком для периодической выборки зазора в закреплении.

Крутящий момент передается червяку от двигателя ДПУ-127-450-57-Д09 через муфту.

Данная конструкция, на мой взгляд, полностью подходит для нашего станка и не нуждается в изменениях. Произведем необходимые расчеты для передачи червяк - червячное колесо.

6.2 Проверочный расчёт передачи на сопротивление контактной усталости активных поверхностей зубьев червячного колеса

Уточним скорость скольжения Vs. Для этого определим окружную скорость червяка V1:

 (6.1)

где d1 - делительный диаметр червяка;

n1 - частота вращения червяка;


Тогда скорость скольжения VS:

 (6.2)

где γ - угол наклона зубьев червяка, равный 3,26°;


Уточним расчетное напряжение [sH]:

 (6.3)


Приведенный угол трения φ определяем по скорости скольжения и материалу венца: φ=1,38°;

Тогда КПД червячной передачи:

 (6.4)


Уточним вращающий момент на валу червячного колеса:

 (6.5)

Где Т1 - вращающий момент на червяке;

Uч - передаточное число червячной передачи, равное 19,5;


Коэффициент динамической нагрузки при расчете червячной передачи, при VS<3 м/с равен: KV=1;

Коэффициент концентрации нагрузки Кβ=1,05…1,2 для типовых режимов нагружения 1-5. Принимаем Кβ=1,1,

Коэффициент расчётной нагрузки КН при расчёте передачи на сопротивление контактной усталости:

KH=KV∙Kβ (6.6)

KH=1∙1,1=1,1.

Торцовый коэффициент перекрытия в средней плоскости червячного колеса:

 (6.7)

Где z2 - число зубьев червячного колеса, равное 72;


Расчётное контактное напряжение:

 (6.8)

Где d2 - диаметр червячного колеса;

Епр=1,25·105


.3 Определение допускаемых напряжений изгиба [sF] при расчёте зубьев колеса на сопротивление усталости при изгибе

Для нереверсивной передачи:

 (6.9)

где YN - коэффициент долговечности;

σв=425 Мпа для бронзы;

Определим коэффициент долговечности YN.

Суммарное число циклов перемены напряжений:

 (6.10)

где Lh - срок службы, равный 16·103 ч.;

n2=n1/UЧ=1000/19,5=51,2 мин-1.


Для заданного типового режима нагружения 3 коэффициент эквивалентности KFE=0,04.

Эквивалентное число циклов нагружения зубьев червячного колеса за весь срок службы Lh:

 (6.11)


Тогда коэффициент долговечности при расчёте зубьев на сопротивление усталости при изгибе:

 (6.12)

Так как YN=0,927<1, то принимаем YN=0,927.

Тогда:


.4 Проверочный расчёт зубьев червячного колеса на сопротивление усталости при изгибе

Окружная сила на червячном колесе:

 (6.13)


Эквивалентное число зубьев колеса:

 (6.14)


В зависимости от zV принимаем коэффициент формы зуба червячного колеса YF=1,25.

Коэффициент расчетной нагрузки KF при расчете зубьев колеса на сопротивление усталости при изгибе:

KF=KH=1,1

Нормальный модуль:

 (6.15)


Напряжения изгиба зубьев колеса:

 (6.16)


что меньше , следовательно расчёт зубьев червячного колеса на сопротивление усталости при изгибе соответствует норме.

.5 Проверочный расчет передачи на контактную прочность при кратковременной перегрузке

Определяем предельно допускаемые контактные напряжения для оловянной бронзы:

 (6.17)


Максимальные контактные напряжения при кратковременной перегрузке:

 (6.18)

где КППУСК/Т=1,4 - кратковременная перегрузка.


Контактная прочность червячного колеса при кратковременной перегрузке обеспечена, так как:


.6 Проверочный расчет передачи на изгибную прочность при кратковременной перегрузке

Как и ранее расчет проводим только для зубьев червячного колеса, так как витки червяка по форме и материалу значительно прочнее зубьев колеса.

Определяем предельно допустимое значение напряжения изгиба:

 (6.19)


Максимальное напряжение изгиба при кратковременной перегрузке:

 (6.20)


Изгибная прочность зубьев червячного колеса при кратковременной перегрузке обеспечивается, так как:


.7 Тепловой расчет червячной передачи [3]

Тепловой расчёт производится по тепловому балансу.

Для обеспечения работоспособности передачи необходимо выполнение условия: QB ≥ QО, где QB - тепловыделение

QО - теплоотдача

 (6.22)

кде η - КПД червячной передачи;

Р - мощность на червяке, равная 4300 кВт;

 (6.23)

где Кт = 17  - коэффициент теплоотдачи

tM = 70…90 ºC - температура масла;

tB = 20 ºC - температура окружающей среды;

S - коэффициент зависящий от способа охлаждения;

QB=1290 ≥ QО=950

Следовательно условие теплового нагружения выполняется.

7. Охрана труда и окружающей среды

.1 Общие сведения

В ГОСТ 12.0.002-80 техника безопасности определена как система организационных мероприятий, предотвращающих воздействие на рабочих опасных производственных факторов, а производственная санитария - как система организационных, технических средств, предотвращающих или уменьшающих воздействие на работающих вредных производственных факторов.

Правила по технике безопасности содержат требования технического характера, направленные на защиту работающих от воздействия предметов и средств труда, безопасную работу машин, оборудования и инструментов, снабжение станков и машин конструктивными ограждениями, предохранительными приспособлениями и др.

Нормы по производственной санитарии и гигиене труда определяют устройство производственных и бытовых помещений, рабочих мест в соответствии с физиологией и гигиеной труда, а также безопасные пределы содержания в воздухе производственных помещений пыли, газов, паров и др.

.2 Мероприятия по улучшению условий труда

Комплексный план мероприятий, направленных на улучшение условий труда по предупреждению несчастных случаев и заболеваемости работников, на примере завода "ВИЗАС", а именно:

·   были приобретены Правила Проматомнадзора;

·   выписывается журнал "Охрана труда и социальная защита";

·   приобретены плакаты по охране труда и пожарной безопасности;

·   оформлены уголки по охране труда в цехах и на территории завода;

·   произведен ремонт бытовых помещений в здании административного корпуса женских и мужских;

·   покрашены и установлены металлические шкафы для одежды;

·   отремонтирована кровля административного корпуса, котельного зала энергосилового цеха и кровля транспортного цеха;

·   произведен ремонт лестничных клеток и части помещений в административном корпусе;

·   установлена схема движения транспортных средств на территории завода;

·   обновлены знаки дорожного движения на территории завода;

·   произведено техническое обслуживание и ремонт транспортных средств внутризаводского транспорта;

·   произведено техническое освидетельствование всех регистрируемых в Проматомнадзоре и нерегистрируемых грузоподъемных кранов;

·   произведено экспертирование мостовых кранов, сосуда и участка по изготовлению грузозахватных приспособлений для получения лицензии;

·   произведен ремонт отопления, промывка и гидроиспытание всей системы отопления;

·   произведен частичный ремонт вентиляции на малярном участке;

·   на заточных станках задействованы вытяжные устройства;

·   цеха укомплектовывались необходимыми медикаментами;

·   своевременно выдавалась спецодежда, специальная обувь, защитные средства;

·   регулярно производилась стирка спецодежды;

·   переработаны инструкции по охране труда в количестве 47 шт.,

по пожарной безопасности - 7 шт.,

по объектам промышленной безопасности - 12 шт.;

·   аттестовано в комиссии Министерства промышленности по охране труда 5 человек;

в комиссии Проматомнадзора - 6 человек;

·   проведена проверка знаний у ИТР завода по общим правилам и законодательству в количестве 24 человек;

по Правилам охраны труда при работе на высоте у ИТР - 13 человек;

по Положению о расследовании и учете несчастных случаев на производстве и по Положению об учении, инструктаже и проверке знаний работников по вопросам охраны труда - 25 человек;

·   проведена проверка знаний у рабочих, обслуживающих объекты промышленной безопасности - 14 человек;

·   проведена проверка знаний по технике безопасности и пожарной безопасности у рабочих цехов - 145 человек;

·   обучено на допуск к управлению грузоподъемными механизмами с пола 54 человека;

·   обучено к работе с пневмоинструментом 7 человек.

Вводный инструктаж проведен.

По пожарной безопасности 6 гидрантов, имеющихся на территории завода, приведены в действие, обозначены согласно требований Правил. Произведена проверка всех имеющихся пожарных кранов, определена потребность в их укомплектовании рукавами, стволами, приобретены 3 порошковых огнетушителя; и другие мероприятия.

.3 Охрана окружающей среды

Основными источниками, загрязняющими атмосферу, являются: модельный цех, инструментальный участок, термическое отделение, цех ТНП, КЗЦ, гальванический участок, механический цех, светокопия, аккумуляторная, сборочный цех, сварочное отделение.

Для проведения аналитического контроля обеспечены оборудованные места отбора проб выбросов загрязняющих веществ в атмосферный воздух.

На предприятии разрабатывается годовой план работы по производственному экологическому контролю, на основании которого составляются квартальные планы работы. Планы работы утверждаются руководителем структурного подразделения и главным инженером предприятия.

Периодичность контроля за выбросами определяется для каждого источника выброса на основании класса опасности вещества и категории опасности предприятия.

На предприятии разрабатываются годовые планы мероприятий по охране окружающей среды, на основании которых составляются квартальные планы мероприятий. Планы утверждаются руководителем структурного подразделения и главным инженером предприятия.

Об аварийном нарушении нормального хода технологического процесса, способном повлечь выброс (сброс) загрязняющих веществ, технические службы предприятия обязаны немедленно уведомить должностных лиц, ответственных за проведение контроля за выбросами (сбросами).

Исполнители производственного экологического контроля принимают меры для срочной организации необходимых измерений, обеспечивающих получение данных о максимальном секундном выбросе (сбросе) и общем количестве загрязняющего вещества, поступившего в окружающую среду.

В случае установления аварийного характера выброса (сброса) фиксируется факт и обстоятельства происшедшего, устанавливаются причины и последствия.

Решение об установлении специальных мероприятий, направленных на снижение загрязнения окружающей среды, в том числе о приостановке или прекращении производственной деятельности объекта, являющегося источником загрязнения, принимается администрацией предприятия на основании документов представленных ответственным за охрану окружающей среды.

Для поддержания работоспособности оборудования предприятия и предупреждения возникновения аварийных ситуаций производится его своевременное и качественное техническое обслуживание, согласно календарному графику.

Составляются планы мероприятий по подготовке к работе в осенне-зимний периоды.

Для постоянного поддержания и повышения квалификации обслуживающего персонала проводятся занятия согласно план-графика.

.4 Технические средства защиты рабочего и требования техники безопасности при работе на станке

. Включить вентиляцию и проверить ее эффективность.

. Одеть и застегнуть на все пуговицы полагающуюся исправную и чистую спецодежду. Рукава спецодежды, при отсутствии пуговиц на обшлагах, закрепить у кистей рук резинкой. Одеть (кому положено) спецобувь. Не работать в легкой обуви (в тапочках, босоножках и др.). Одеть (кому положено) головной убор и убрать волосы под него. Женщинам, при пользовании косынкой, убрать свисающие концы.

. Проверить исправность и подготовить к применению средства индивидуальной защиты (защитные очки, респираторы, рукавицы, перчатки, диэлектрические перчатки, щитки, каски, фартук и др.).

. Убедиться в том, что рабочее, место достаточно освещено, что местное освещение не слепит глаза. Знать, что напряжение местного освещения не должно превышать 42В.

. Проверить исправность и подготовить к работе инструмент, разложив его в положение, удобное для пользования.

. Проверить и подготовить к работе рабочее место, убрать все лишнее и мешающее работе. Потребовать от мастера уборки излишествующих контейнеров, а также контейнеров, поставленных на проходах и на подступах к рабочему месту (оборудованию).

. Проверить технологическое оборудование и оснастку на соответствие требованиям безопасности;

.1 Наличие и исправность заземления (заземляющих устройств);

.1.1 Корпусов оборудования (электроустановок, потребляющих токи выше 36В переменного и 110 постоянного);

.1.2 Корпусов электрических машин, трансформаторов, аппаратов, светильников и др.;

.1.3. Приводов электрических аппаратов;

.1.4 Вторичных обмоток трансформаторов электросварочных машин, измерительных трансформаторов;

.1.5. Каркасов распределительных щитов, щитов управлений, щитков и шкафов, пультов управлений;

.1.6 Металлических конструкций распределительных устройств, стальных труб электропроводок и др. металлических конструкций, связанных с установкой электрооборудования;

.1.7 Оборудования механизмов, установленных на заземленных металлических конструкциях, на опорных поверхностях, в которых отсутствует электрическая связь (не предусмотрены зачищенные и незакрашенные площадки для обеспечения электрического контакта) и др.;

.2 Проверить наличие и исправность ограждений (оградительных устройств), опасных зон, всех видов силовых передач, гибочных механизмов, движущихся механизмов, конструкций, находящихся под высоким электрическим напряжением, температурой или давлением, а также коммуна-ционных устройств от случайного включения и др.

.3 Проверить наличие и исправность защитных, предохранительных устройств и механизмов (экранов, концевых выключателей, блокировок электрических и механических, фотоэлементной защиты, ловителей и др.);

.4 Проверить механическую целостность оборудования (визуально): отсутствие трещин на конструкциях, наличие и исправность крепежа и др..

.5 Проверить исправность рабочих органов оборудования (патронов, резцов и резцедержателей на токарном станке; прессформ на Литейных машинах; штампов на прессах; патронов и сверл (метчиков) фрез на сверлильном и фрезерном станках; крюковых блоков на грузоподъемных механизмах; сварочных головок на контактно-сварочных машинах; гибочных механизмов на гибочных станках; шлифкругов - на шлифовальных, заточных и полировальных станках; круглых пил, ножевого вала и фрез на деревообрабатывающих станках; подвесок и специальных контейнеров на конвейерах и др.);

.6 Проверить наличие и исправность коммутационных устройств механизмов и приборов управления оборудованием, технологическими процессами (рубильников, магнитных пускателей, "кнопок и сигнальных лампочек на пультах управления, педальных и рычажных устройств включения рулевых устройств управления, .тормозных устройств и контрольных приборов);

.7 Проверить наличие и исправность местного освещения там, где оно предусмотрено, на оборудовании или рабочем месте;

.8 Проверить исправность местной вентиляции, где она имеется.

. Внимательно выполнять порученную работу, следить за нормальной работой оборудования, за показаниями приборов, особенно приборов безопасности, за исправностью оснастки и приспособлений, не отвлекаться и не отвлекать других от работы разговорами, не касающимися производства.

. При получении новой незнакомой работы требовать от мастера инструктажа по безопасности труда. Выполнять новую работу только после усвоения безопасных приемов выполнения.

. Работать в положенной по нормам спецодежде, спецобуви, рукавицах и всех других средств индивидуальной защиты.

. Следить за исправной вентиляции, нормальным освещением.

. В работе не допускать захламления ненужными и излишествующими материалами заготовки и изготовленными деталями рабочего места, проходов и проездов, а также подступов к пультам, электрощитам и электрошкафам.

. Складировать на рабочем заготовки и изготовленные детали в стеллажах в штатной таре в местах, специально предусмотренных для этого.

. Стружку со станков снимать только с помощью щеток-сметок, специальным крючком. Не убирать станок от стружки незащищенными руками или с помощью сжатого воздуха.

. Не работать на неисправном оборудовании, на оборудовании при отсутствии ограждения опасных зон или при неисправном ограждении.

. Не смазывать, не убирать, не ремонтировать, не регулировать, не налаживать станок до полной остановки всех его механизмов.

. Не класть инструмент и другие предметы на станины, ограждения и механизмы станка.

. Не включать и не останавливать машины. Станки и механизмы, работа на которых Вам не поручена администрацией. Подключение, отключение электрооборудовании, электроинструмента производится только электрическим персоналом, которому поручается выполнение указанных работ. Запрещается без соответствующего разрешения заходить за ограждения электрооборудования,

. Не прикасаться к арматуре общего освещения, к оборванным электропроводам, клемам и другим легкодоступным токоведущим частям. Не открывать дверцы электрораспределительных шкафов (сборок) и не снимать ограждений и защитные кожухи с токоведущих частей оборудования.

. Постоянно следить за исправностью заземления. При малейшем дефекте его прекратить работу на оборудовании и не возобновлять ее до устранения дефекта.

Общие требования безопасности

1.1 К работе на заточных станках допускается проинструктированный персонал.

1.2 Установка заточных кругов поручается ремонтному персоналу (слесарю) после ознакомления его с данной инструкцией.

1.3 При работе на заточных станках существует опасность их разрыва от центробежной силы. Поэтому существующим законоположением предусматриваемся, что вновь пускаемые в работу камни и круги, кроме наружного освидетельствования на отсутствие трещин, должны испытываться в течение 0,5 часа. При этом скорость вращения круга или камня должна превосходить рабочую: для камней - на 50 об/с, для кругов - на 75 об/с. Не подлежат обязательному испытанию лишь круги и камни, работающие с окружной скоростью не свыше 6 м/с, а также камни и круги с диаметром не свыше 100 мм. Однако испытанные камни и круги также не гарантируют от разрыва, если:

а) хранение их до установки на станке было неправильным;

б) установка их производилась с нарушением правил техники безопасности;

в) эксплуатировались они с нарушением правил техники безопасности.

Требования безопасности до начала работы

2.1 Перед началом работы проверить:

комплектность и надежность крепления деталей;

проверить исправность электрокабеля, рубильника (выключателя);

проверить работу станка на холостом ходу;

проверить крепление заточного круга

2.2 Получая в инструментальной кладовой для установки на станке круга, следует выяснить, прошли ли они испытания на заводе.

2.3 Путем внешнего осмотра и обстукивания убедитесь, что круг не имеет следующих пороков: раковин, выбоин и необожженных мест, а главное - трещин. Исправный круг издает при обстукивании чистый и звенящий звук, неисправный - дребезжащий и глухой звук.

2.4 Не устанавливайте круг на станке, число оборотов шпинделя которого превышает допустимое, обозначенное на ярлыке круга.

2.5 Диаметр отверстия круга, как правило, должен превышать диаметр шпинделя станка, но не более чем на 0,3-1 мм, в зависимости от величины круга. Назначение этого зазора - предотвратить перенапряжение круга и появление трещин при расширении шпинделя от нагревания.

2.6 Укрепление круга на шпинделе разрешается производить только посредством двух боковых нажимных дисков, свинчиваемых навернутыми на шпиндель гайками.

Диаметр этих дисков должен составлять не менее половины диаметра круга. Между каждым диском и кругом должна быть проложена эластичная прокладка (из кожи, картона и т.п.).

Диски должны иметь выточку и соприкасаться с кругом по кольцевой поверхности шириной в 1/16 диаметра круга.

2.7 Если крепящие плоскости дисков имеют забоины или если ширина их более 1/16 диаметра круга, то их нужно заменить новыми, так как вследствие неравномерного прилегания круга к опорным поверхностям дисков создаются неравномерная нагрузка и излишние напряжения в отдельных его частях.

Требования безопасности во время работы

3.1 При установке круга на шпинделе станка первым одевается задний диск, на который накладывается эластичная прокладка; затем, становится круг, а за ним вторая прокладка диска, после чего круг закрепляется гайкой и контргайкой.

3.2 При затягивании гаек воспрещается пользоваться ударными приемами; необходимо пользоваться гаечным ключом, который надлежит крепить только от руки.

3.3 Ведущий (задний) диск на шпинделе крепится неподвижно, причем зажимная плоскость диска должна быть точно под прямым углом к оси шпинделя.

3.4 Направление винтовой нарезки на концах шпинделя должно быть таким, чтобы гайка навертывалась в сторону, противоположную вращению круга.

3.5 Рабочая поверхность круга должна иметь строго круговое вращение. Для правки шлифовальных кругов необходимо пользоваться алмазами или шарошками. Правка круга насечкой, зубилом или подобным инструментом воспрещается, так как такой способ правки способствует образованию трещин.

.6 После установки круга надлежит пускать его вхолостую не менее 5 минут, и только после этой проверки можно сдать круг в эксплуатацию.

.7 Запрещается работать:

          -без защитного кожуха;

          -без средств индивидуальной защиты;

          -при появлении дыма, посторонних шумов;

Требования безопасности при аварийных ситуациях

1. При обнаружении дефектов оборудования (заточных кругов), представляющих опасность для жизни персонала и целостности оборудования, немедленно приостановить работы, по возможности отключить электрооборудование, принять меры к ликвидации аварии.

. При получении травмы на заточном станке обратиться в медпункт или вызвать скорую помощь, поставить в известность мастера о полученной травме.

Требования безопасности по окончании работы

1. Сообщить ответственному лицу о выполненной работе и сообщить о замеченных неисправностях.

. Привести в порядок рабочее место и станок.

. По окончании работы снять и убрать спецодежду, вымыть руки теплой водой, принять душ.

7.5 Механизм прекращения горения при возникновении пожара

Охлаждающие огнетушащие вещества.

Для охлаждения горящих материалов применяются жидкости, обладающие большой теплоемкостью.

Для большинства горючих материалов применяется вода. Попадая в зону горения, на горящее вещество, вода отнимает от горящих материалов и продуктов горения большое количество теплоты. Большинство горючих материалов горит при температуре, не превышающей 1300-1350 °С и тушение их водой не опасно. Однако металлические магний, цинк, алюминий, титан и его сплавы, термит и электрон при горении создают в зоне горения температуру, превышающую термическую стойкость воды. Тушение их водяными струями недопустимо.

Вода имеет низкую теплопроводность, что способствует созданию на поверхности горящего материала надежной тепловой изоляции. Это свойство позволяет использовать ее не только для тушения, но и для защиты материалов от воспламенения. Некоторые горючие жидкости (жидкие спирты, альдегиды, органические кислоты и др.) растворимы в воде, поэтому, смешиваясь с водой, они образуют негорючие или менее горючие растворы. Огнетушащая эффективность воды зависит от способа подачи ее в очаг пожара (сплошной или распыленной струей).

Для охлаждения отдельных видов горючих материалов кроме воды применяется твердый диоксид углерода. Это мелкая кристаллическая масса, которая при нагревании переходит в газ, минуя жидкое состояние. Это позволяет тушить ею материалы, портящиеся от воздействия влаги.

Твердый диоксид углерода прекращает горение всех горючих веществ, за исключением металлического натрия и калия, магния и его сплавов. Он неэлектропроводен и не смачивает горючие вещества. Поэтому применяется для тушения электроустановок под напряжением, двигателей, а также при пожарах. При тушении он подается на поверхность горящих веществ равномерным слоем.

Несмотря на то, что плотность твердой углекислоты больше, чем воды, вследствие непрерывного перехода в газ и создания своеобразной газовой подушки, она не тонет в горящей жидкости и находится на ее поверхности. Верхний слой горящего вещества при этом охлаждается, и количество горючих паров и газов в зоне горения уменьшается. Возгонка (кипение) твердой углекислоты в газ и испарение горючего вещества происходят на одной поверхности. Поэтому в зону горения поступает смесь горючих паров с диоксидом углерода, что приводит к снижению скорости реакции и температуры горения ниже температуры потухания, а значит и к ликвидации пожара.

Из вышесказанного следует вывод, что механизм прекращения горения твердым диоксидом углерода заключается в охлаждении горящих материалов и разбавлении их паровой фазы или продуктов разложения диоксидом углерода одновременно.

Снизить температуру горящего слоя горючих веществ и тем самым прекратить горение можно перемешиванием самих горящих веществ. Путем перемешивания можно прекратить горение и горючих жидкостей. Очевидно, что в процессе горения жидкости прогреваются в глубину. Первоначально толщина прогретого слоя не превышает нескольких сантиметров, и нижние слои горючей жидкости в резервуаре имеют первоначальную температуру, т.е. температуру хранения. Если перемешать жидкость, то можно охладить верхний ее слой и тем самым снизить скорость горения. При определенных условиях степень охлаждения может оказаться такой, что температура верхнего слоя жидкости снизится ниже температуры воспламенения, и горение прекратится.

Изолирующие огнетушащие вещества.

Создание между зоной горения и горючим материалом или воздухом изолирующего слоя из огнетушащих веществ и материалов - распространенный способ тушения пожаров. При его реализации применяются самые разнообразные огнетушащие средства, способные на некоторое время изолировать доступ в зону горения либо кислорода воздуха, либо горючих паров и газов.

В практике пожаротушения для этих целей широкое применение нашли: жидкие огнетушащие вещества (пена, в некоторых случаях вода и пр.); газообразные огнетушащие вещества (продукты взрыва и т.д.); негорючие сыпучие материалы (песок, тальк, флюсы, огнетушащие порошки и т.д.); твердые листовые материалы (асбестовые, войлочные покрывала и другие негорючие ткани).

Основным средством изоляции являются огнетушащие пены. Основное огнетушащее свойство пен - изолирующая способность. Пена изолирует зону горения от горючих паров и газов, а также горящую поверхность горючего материала от тепла, излучаемого зоной реакции. Прежде чем накопится на горящей поверхности достаточным слоем, изолирующим выход горючих паров и газов в зону горения, пена под действием тепла разрушается и охлаждает вещество. При этом жидкость, из которой получена пена, испаряется, разбавляя горючие пары и газы, поступающие в зону горения, и т.д. Все это способствует прекращению горения, хотя изоляция - доминирующее свойство, которое приводит именно к потуханию.

Для продвижения пены при заполнении ею помещений необходимо создать благоприятные условия, т.е. вскрыть проемы для выпуска продуктов сгорания из помещения, или с помощью передвижных установок для удаления дыма изменить направление газообмена по ходу движения пены.

В настоящее время для тушения различных горючих веществ более широкое применение находят огнетушащие порошковые составы. Они не токсичны, не оказывают вредного воздействия на материалы, не электропроводны и не замерзают.

В случае объемного тушения - механизм прекращения горения заключается в химическом торможении реакции горения, т.е. ингибирующем воздействии порошков, связанном с обрывом цепной реакции горения.

Разбавляющие огнетушащие вещества.

Для прекращения горения разбавлением реагирующих веществ применяются такие огнетушащие средства, которые способны разбавить либо горючие пары и газы до негорючих концентраций, либо снизить содержание кислорода воздуха до концентрации, не поддерживающей горения.

Приемы прекращения горения заключаются в том, что огнетушащие средства подаются либо в зону горения или в горящее вещество, либо в воздух, поступающий к зоне горения. Наибольшее распространение они нашли в стационарных установках пожаротушения для относительно замкнутых помещений, а также для тушения горючих жидкостей, пролитых на земле, на небольшой площади. Практика показывает, что в качестве разбавляющих огнетушащих средств наибольшее распространение нашли диоксид углерода (углекислый газ), азот, водяной нар и распыленная вода.

Механизм прекращения горения при введении разбавляющих огнетушащих веществ в помещение, в котором происходит пожар, заключается в понижении объемной доли кислорода. При введении разбавляющих веществ в помещении повышается давление, происходит вытеснение воздуха и вместе с ним кислорода, увеличивается концентрация негорючих и не поддерживающих горение газов, парциальное давление кислорода падает.

Все это приводит к снижению скорости диффузии кислорода к зоне горения, уменьшается количество вступающих в реакцию горючих паров и газов, снижается количество выделяющегося тепла в зоне реакции. При определенной концентрации разбавляющих огнетушащих веществ в воздухе помещения температура горения снижается и становится меньше, чем температура потухания, и горение прекращается.

Таким образом, разбавляющие огнетушащие средства, наряду с охлаждающими и изолирующими, обладают достаточно высоким эффектом тушения и должны настойчиво внедряться в практику работы пожарных подразделений. Особое внимание при этом следует уделить более широкому применению тонкораспыленной воды.

Огнетушащие средства химического торможения.

Сущность прекращения горения химическим торможением реакции горения заключается в том, что в воздух горящего помещения или непосредственно в зону горения вводятся такие огнетушащие вещества, которые вступают во взаимодействие с активными центрами реакции окисления, образуют с ними либо негорючие, либо менее активные соединения, обрывая тем самым цепную реакцию горения. Поскольку эти вещества оказывают воздействие непосредственно на зону реакции, в которой реагирующие вещества находятся в паровоздушной фазе, они должны отвечать следующим требованиям: иметь низкую температуру кипения; иметь низкую термическую стойкость; продукты термического распада огнетушащих веществ должны активно вступать в реакцию с активными центрами горения.

Наиболее широкое применение нашли составы на основе брома и фтора. Галоидированные углеводороды и огнетушащие составы на их основе имеют высокую огнетушащую способность при сравнительно небольших расходах. Причем прекращение горения достигается именно химическим путем, что подтверждается опытами.

Соли металлов, содержащиеся в порошке, вступают в реакцию с активными центрами. Соли металла в зоне реакции нагреваются до высокой температуры и переходят в жидкое состояние (возможно, частично испаряются). Остальная часть молекулы соли разлагается с образованием либо металла, либо окиси или гидрата металла.

На основе галоидированных углеводородов и углекислоты разработаны огнетушащие составы. Составы обладают свойствами компонентов их составляющих.

.6 Электробезопасность

Безаварийная работа станка обеспечена при изменении напряжения от 0,9 до 1,1 номинального значения, а соответствующие паспорту технические характеристики - при изменении напряжения от 0,95 до 1,05 номинального значения. Электрооборудование также обеспечивать безаварийную работу при изменении частоты напряжения по ГОСТ 6697-83.

Станок имеет вводный выключатель ручного действия, размещенный в безопасном и удобном для обслуживания месте. Выключатель предназначается для подключения электрооборудования станка к питающей сети, а также для отключения его от сети на время перерыва в работе или в аварийных случаях, которые могут вызвать поломку оборудования, порчу обрабатываемой заготовки и травмирование. Вводный выключатель по своим параметрам выбран на величину суммы токов всего подключаемого электрооборудования, которое может работать одновременно и обеспечивать включение и отключение номинального рабочего тока станка в нормальном режиме его работы. Вводный выключатель имеет два определенных фиксированных состояния контактов - включенное и отключенное, при отключении он отсоединяет все проводники, присоединяемые к источнику питания за исключением заземляющего.

На шкафах помещены предупреждающие знаки электрического напряжения по ГОСТ 12.4.026-86. В шкафах с аппаратурой электрического управления контактные зажимы или верхние контакты вводных выключателей, предназначенные для присоединения кабелей и проводов, идущих от источников питания, надежно защищены крышками из изоляционного материала от случайного прикосновения обслуживающего персонала при открытых дверцах шкафа или ниши. На крышках нанесен предупреждающий знак электрического напряжения по ГОСТ 12.4.026-86, а контактные зажимы или верхние контакты вводных выключателей имеют обозначения А, В и С. Для запирания дверей шкафов с электрооборудованием применяются замки с вынимающимися ключами.

В тех случаях, когда это позволяет аппаратура, используется в защитных целях безопасное напряжение. Электрические цепи с безопасным напряжением изолированы от цепей опасного напряжения. Так как для питания этих цепей используется трансформатор с первичным напряжением 380, то изоляция между первичными и вторичными обмотками выполнена с запасом (способна выдерживать испытание напряжением 4000 В). Для исключения попадания опасного напряжения в цепи безопасного напряжения, последние проложены полностью независимо от цепей опасного напряжения в отдельной защитной оболочке с отдельными предохранителями и распределительными устройствами. Для монтажа цепей безопасного напряжения используются провода и материалы, предназначенные для работы с номинальным напряжением не менее 260 В и стандартизованные для сетей безопасного напряжения. Многожильный кабель, отдельные жилы которого подсоединяются к различным по величине напряжениям, имеет изоляцию отдельных жил, рассчитанную на высшее номинальное подсоединенное напряжение. Штепсельные разъемы в цепях с безопасным напряжением не сочленяются со штепсельными разъемами цепей с более высоким напряжением.

Устройство аварийного отключения рассчитано на максимальную нагрузку, соответствующую начальному пусковому току (току двигателя, находящегося в заторможенном состоянии) при номинальном напряжении наибольшего по мощности двигателя и сумме номинальных токов всех остальных потребителей.

Все металлические части станка (станина, корпуса электродвигателей, каркасы шкафов, пульты управления и др.), которые могут оказаться под напряжением выше 42 В, оснащены легко обозримыми устройствами заземления, расположенными внутри или снаружи оболочки вблизи от места ввода питающих проводов. Указанные устройства имеют заземляющие винты или присоединительные зажимы, на поверхности которых нанесено антикоррозионное токопроводящее покрытие для соединения с заземляющими шинами или зануляющими проводами. Защитные цепи состоят из отдельных проводов заземления и зануления или из проводящих частей станка и кожухов. Защитные провода обеспечивают гальваническую связь между частями электрического оборудования, не находящимися под напряжением в нормальном режиме, и защитной цепью. Винты и клеммы защитных цепей рассчитаны на присоединение медных проводов, также предусмотрены устройства (пружинные шайбы), предотвращающие ослабление соединения между заземляемыми частями. Над заземляющим зажимом нанесён знак заземления по ГОСТ 21130-90. Присоединение заземляемых частей к защитной цепи выполнено посредством отдельных независимых ответвлений, благодаря чему при снятии какой-либо заземленной части, например, для текущего ремонта, цепи заземления других частей не нарушаются.

.7 Расчет заземляющего устройства

Задача.

Рассчитать заземляющее устройство для заземления электродвигателя серии 4А напряжением U=380В в трехфазной сети с изолированной нейтралью при следующих исходных данных: грунт - суглинок с удельным электрическим сопротивлением

ρ = 100 Ом×м;

в качестве заземлителей приняты стальные трубы диаметром d = 0,08 м и длинной l = 2,5 м, располагаемые вертикально и соединенные на сварке стальной полосой 40 × 4 мм (рис. 7.2б);

мощность электродвигателя 4А100S2Y3 составляет четыре кВт;

мощность трансформатора принята 170 кВ·А, требуемое по нормам допускаемое сопротивление заземляющего устройства [rз] 4 Ом.

Защитное заземление - преднамеренное соединение с землей частей оборудования, не находящихся под напряжением в нормальных условиях эксплуатации, но которые могут оказаться под напряжением в результате нарушения изоляции электроустановки (рис. 7.1).

Рисунок 7.1. Принципиальная схема защитного заземления


ПП - пробивной предохранитель; R0 - заземление нулевой точки трансформатора; RЗ - заземляющее устройство; RИЗ - сопротивление изоляции; Uпр - напряжение прикосновения; IЗ - ток замыкания на землю; IЧЕЛ - ток, протекающий через человека; 1 - плавкие вставки; 2 - электродвигатель; 3 - график распределения потенциалов на поверхности земли.

Решение:

Принимаем схему заземления электродвигателя (рис. 7.2а). Определяем сопротивление одиночного вертикального заземлителя Rв, Ом, по формуле:

 (7.1)

где     t - расстояние от середины заземлителя до поверхности грунта, м;

          l, d - длина и диаметр стержневого заземлителя, м.

          ρрасч - расчетное удельное сопротивление грунта, определяемое по формуле:

 (7.2)

где    φ - коэффициент сезонности, учитывающий возможность повышения сопротивления грунта в течение года.

Рисунок 7.2. Принципиальная схема защитного заземления (а - схема заземляющего устройства; б - расположение одиночного заземлителя)

1- плавкие вставки;

2 - электродвигатель;

3 - соединительная полоса;

4 - трубчатый заземлитель.

Принимам φ = 1.3 для III климатической зоны.

Тогда :


Определяем сопротивление стальной полосы, соединяющей стержневые заземлители:

 (7.3)

где    l - длина полосы, м;- расстояние от полосы до поверхности земли, м;= 0,5 b (b - ширина полосы, равная 0,08 м).

Определяем расчетное удельное сопротивление грунта ρрасч при использовании соединительной полосы в виде горизонтального электрода длиной 50 м. При длине полосы в 50 м, φ = 1,6. Тогда:

Определяем ориентировочное число n одиночных стержневых заземлителей по формуле:

 (7.4)

где    ηв - коэффициент использования вертикальных заземлителей (для ориентировочного расчета ηв принимаем равным 1);

 - допустимое по нормам сопротивление заземляющего устройства.


Принимаем расположение вертикальных заземлителей по контуру с расстоянием между смежными заземлителями равным 2l. Найдем действительные значения коэффициента использования ηв и ηг, исходя из принятой схемы размещения вертикальных заземлителей, ηв = 0,78, ηг = 0,55.

Определяем необходимое число вертикальных заземлителей:


Вычисляем общее расчетное сопротивление заземляющего устройства R с учетом соединительной полосы:

 (7.5)

Правильно рассчитанное заземляющее устройство должно отвечать условию R ≤ [rз].

Расчет выполнен, верно, так как 2,86 < 4.

8. Расчет технико-экономических показателей станка

 

.1 Подготовка исходных данных


Проектируемый станок предназначен для заточки концевых инструментов. Для обработки инструмент устанавливается в бабку изделия, которая располагается на поворотном столе. На станке проводятся такие виды металлообработки как шлифование.

В процессе модернизации нашего станка увеличили скорость холостого хода привода подач, в результате чего уменьшилось штучное время операции и повысилась производительность.

Запишем формулу штучного времени

 (8.1)

где tуст.д.- время установки детали

tб.п. - время быстрого подвода

tоб. - время обработки

tб.от. - время быстрого отвода

tсн.д. - время снятия детали

tизм. - время измерения

tвсп.оп. - время вспомогательных операций

Определим время быстрого подвода

 (8.2)

где S -путь перемещения каретки,

V-скорость перемещения, обеспечиваемая приводом подач,

Время в модернизированном станке:


Время в исходном станке


Теперь найдем разницу на которое изменилось наше время

 (8.3)


Новое штучное время будет равно

 (8.4)

где -разность времен


После сбора исходных данных группируем их и представляем в форме таблицы 8.1.

Таблица 8.1 - Сводная характеристика оборудования

Характеристики оборудования

Базовый вариант

 Проектируемый вариант

1. Модель оборудования

ВЗ 295Ф4

362

2. Наименование оборудования

специальный

специальный

3. Штучное время операции (такт линии) tшт, мин

2

1,98

4. Коэффициент технического использования оборудования, Ки

0,81

0,81

5. Масса оборудования, т

3

3

6. Площадь под оборудование по габаритам S, м2

36

36

7. Коэффициент дополнительной площади, Д

1,3

1,3

8. Общая площадь Sоб = S·Д , м2

46,8

46,8

9. Срок службы оборудования Т, лет

14,9

 14,9

10. Ремонтная сложность механической части оборудования (е.р.с.м.)

10

10

11. Ремонтная сложность электрической части оборудования (е.р.с.м.)

5

5

12. Оптовая цена оборудования Цо, руб

520000000

-

13. Разряд станочника (оператора)

3

3

14. Разряд наладчика

5

5

 

.2 Подготовительные расчеты


Годовая производительность базового и нового оборудования (В) рассчитывается по формуле:

,      (8.5)

где Фн - номинальный годовой фонд времени работы оборудования, час;

Ки - коэффициент технического использования оборудования;

tшт - норма времени на обработку детали, мин.

Годовая производительность базового оборудования (В1) и проектируемого (В2) рассчитывается по формуле (8.5):

 шт/год;

 шт/год.

Количество станочников (Рст) на каждую операцию определяется по трудоемкости и нормам обслуживания по формуле:

,      (8.6)

где    Fэ - эффективный фонд времени рабочего, (Fэ =1840 часов в год);

п - число станков, обслуживаемых одним рабочим, шт.;

При полном использовании производительности оборудования вместо N подставляется В.

Полученное значение округляется до ближайшего целого. Количество наладчиков определяется по нормам обслуживания станков, до целого значения не округляется.

Определим количество станочников (Р1ст2ст):

;

.

, (8.7)

где НОН - число станков, обслуживаемых одним наладчиком, НОН = 10.

В нашем случае РНАЛ равно для проектного и базового станков.

.

Плановый фонд времени работы оборудования (Фпл)

, (8.8)

ч;

ч.

 

.3 Расчет полезного эффекта


Расчет полезного эффекта модернизированного станка производится по формуле:

Эп = Ц1(kпkд-1)+Итт+ Эк+ Эс+ Эд , (8.9)

где Ц1 - отпускная цена базового оборудования, тыс. руб.;

kп - коэффициент роста производительности нового оборудования по сравнению с базовым;

kд - коэффициент учета изменения срока службы нового оборудования, по сравнению с базовым;

Ит - изменение текущих издержек эксплуатации (без амортизационных отчислений) у потребителя за срок службы при использовании им нового оборудования, тыс. руб.;

Кт - изменение отчислений от сопутствующих капитальных вложений потребителя за срок службы при использовании нового оборудования, тыс. руб.;

Эк - эффект от изменения качества продукции, изготавливаемой на новом оборудовании, руб.;

Эс , Эд - социальный и экологический эффект , выраженный в экономических показателях, обусловленный применением нового оборудования у потребителя, тыс. руб.;

При отсутствии информации о получаемом эффекте от повышения качества, социальном и экологическом эффектах, данными слагаемыми пренебрегаем. Основные составляющие полученного эффекта рассчитываются по соответствующим формулам.

В формуле для расчета полезного эффекта нового станка, а также в других формулах, определяем только те параметры, которые будут меняться как для базового, так и для проектируемого мною станка.

Коэффициент роста производительности нового оборудования по сравнению с аналогом (kп) рассчитывается в зависимости от исходного задания.

Если программа выпуска не задана, а проектное решение направлено на улучшение технико-эксплуатационных параметров оборудования, то коэффициент роста производительности определяется по формуле:

,    (8.10)

где В1 , В2 - годовая производительность базового и нового оборудования в натуральном выражении.


Коэффициент учета изменения срока службы (kд) нового станка по сравнению с базовым определяется по формуле:

, (8.11)

где Т12 - срок службы техники по вариантам, лет;

Еn - реальная ставка платы за кредит на рынке долгосрочных кредитов, принимают равной ставке рефинансирования.


Изменение текущих издержек эксплуатации у потребителя за срок службы оборудования определяется по формуле:

, (8.12)

где И1, И2 - годовые эксплуатационные издержки потребителя (формула 8.19), млн.руб.

Изменение отчислений от сопутствующих капитальных вложений потребителя определяется по формуле:

,     (8.13)

где , - сопутствующие капитальные вложения, тыс. руб.

Кс = Кмздос, (8.14)

где Км - затраты на доставку и установку оборудования, тыс.руб.;

Кзд - стоимость производственных помещений занятых оборудованием, тыс. руб.;

Цос - затраты на дорогостоящую универсальную оснастку, Цос= 0 руб.

Затраты на доставку и установку оборудования можно принимать по нормативу 20% от стоимости оборудования.

 = 0,2 · 520000000 = 104000000 руб.

Теперь мы можем найти затраты на доставку и установку оборудования в проектируемом нами варианте по формуле:

 (8.15)

 млн.руб.

,      (8.16)

где S - площадь, занятая оборудованием с учётом проходов и проездов, м2; Цпл - цена 1 кв. метра площади производственного помещения, руб.

 млн. руб.;

= 104000000 + 20592000= 124,59 млн. руб.;

= 104000000 + 20592000= 124,59 млн. руб.

 млн. руб.

Годовые эксплуатационные издержки потребителя (И) техники складываются из ряда затрат, которые в свою очередь зависят от характеристик оборудования.

И = Из.п.ш.к.здэн

где Из.п.- издержки, связанные с заработной платой станочников и наладчиков, руб.;

Изд - издержки, связанные с содержанием и амортизацией производственных помещений, тыс.руб.;

           Иэн - издержки на силовую энергию, тыс. руб.;

Иш.к-издержки, связанные с экономией шлифовальных кругов, тыс. руб.;

Издержки, связанные с заработной платой, включают затраты непосредственно на оплату труда станочников и наладчиков, а также обязательные отчисления с заработной платы в различные фонды.

Изп = (Зст·Рстнал·Рнал) ·(1+кн)            (8.18)

где Зст, Знал - годовая заработная плата соответственно станочников и наладчиков данного оборудования (основная и дополнительная), руб.;

Рст, Рнал - расчетное количество станочников и наладчиков, чел;

кн - коэффициент, учитывающий отчисления в фонд социальной защиты населения и обязательное страхование.

Основная заработная плата рабочих сдельщиков в приближенных расчетах определяется по формуле:

Зсд з = Тгод·Ссч·кот, (8.19)

где Тгод - суммарная трудоемкость изготовления продукции за год, чел.-ч,

Тгодпл;

Ссч - часовая тарифная ставка заработной платы рабочего определенного разряда, руб./чел.-ч: для 3-го разряда 1755 руб/чел.-ч, для 5-го разряда 2249 руб/чел.-ч

кот - отраслевой коэффициент, кот=1,2.

Фонд заработной платы рабочих- повременщиков (приближенно) рассчитывается следующим образом:

Звр з = Fэ·Ссч·кот, (8.20)

Дополнительная заработная плата рабочих определяется по формуле:

,      (8.21)

где С о з - основная заработная плата рабочих;

к д з - процент дополнительной заработной платы, с учетом премиальных выплат (принимается от 10 до 50%).

Найдем основную заработную плату станочников:

Зсдз1 = 1840·1755·1,2=3,88 млн.руб.

Зсдз2 = 1840·1755·1,2=3,88 млн.руб.

Найдем дополнительную заработную плату станочников:

 млн.руб.

 млн.руб.

Годовая заработная плата станочников:

Зст1=3875040+1937520=5,8 млн.руб.

Зст2=3875040+1937520=5,8 млн.руб.

Найдем основную заработную плату наладчиков:

Звр з1 = 1840·2249·1,2=4,97 млн.руб.

Звр з2 = 1840·2249·1,2=4,97 млн.руб.

Найдем дополнительную заработную плату наладчиков:

 млн.руб.

Годовая заработная плата наладчиков:

Знал1= Знал2=4965792+2482896=7,45 млн.руб.

Издержки, связанные с заработной платой найдем по формуле (8.20):

Изп1 = Изп2 =(5812560·2+7448688·0,1) ·(1+0,35)=16,69 млн.руб.

Издержки, связанные с затратами на содержание производственных помещений и их амортизацию, можно рассчитать по формуле:

Изд = Ис.ззд·На.з ,         (8.22)

где Ис.з - затраты на содержание производственных помещений, определяются исходя из площади и нормы расхода средств на 1 м2 установленных на предприятии, тыс. руб.;

Кзд - стоимость производственных помещений занятых оборудованием, тыс. руб.;

           На.з - норма амортизации производственных помещений.

Ис.з1= Ис.з2 = 0,05 · 18720000= 936 тыс.руб.;

Изд1 = Изд2 = 936000+18720000 ·0,01 = 1,12 млн.руб.

Рассмотрим вопрос связанный с энергосбережением

В процессе модернизации станка в приводах главного движения и подачи были заменены двигатели, что повлекло за собой изменение суммарного расхода электроэнергии станка.

Рассчитаем суммарный расход электроэнергии до и после модернизации:

До модернизации: ∑Р=3,7+0,09+2,2+0,27+0,33+0,63·3=8,57 кВт;

После: ∑Р=4+2·0,09+2,2+0,27+0,33=6,98 кВт;

Определим издержки на силовую энергию:

Иэн = Nэ·Фпл·Цэ , (8.23)

где Nэ - суммарная установленная мощность электродвигателей оборудования, кВт; Fд - действительный фонд времени работы оборудования, Fд = Фн ,ч; Цэ - цена 1 кВт. ч электроэнергии, руб/кВт. ч.

Иэн1 =8,57·3248·270=7,52 млн.руб.

Иэн2 =6,98·3572,8·270=6,73 млн.руб.

Определим разницу: - Абсолютная: 0,79 млн.руб.

Относительная: 10,5%

На основании расчетов получаем ежегодную экономию электроэнергии в размере 10,5% при работе на модернизированном станке.

Рассчитаем издержки, связанные с затратами на шлифовальные круги:

При обработке на станке прототипе за год используется в среднем 100 шлифовальных кругов, а при обработке на проектируемом станке 70 штук.

Исходя из цены на инструмент(20000 руб. за штуку), получаем издержки в размере Иш.к1 =2 млн.руб. Иш.к2 =1,4 млн.руб.

И1 =16699484,9+2000000+1123200+7515547,2=27,34 млн.руб.

И2 =16699484,9+1400000+1123200+6733298,9=25,96 млн.руб.

Эп =520000000·(1,2·1-1)+36608117,4+15737936,8 =156,35млн.руб.

8.4 Расчет верхнего предела отпускной цены


В рыночных условиях устанавливается договорная цена путем соглашения между двумя субъектами - изготовителем и потребителем, экономические интересы которых не совпадают. Изготовитель нового станка, заинтересован продать его как можно дороже. Потребитель оборудования заинтересован в снижении затрат на свою продукцию и следовательно, стремится приобрести новый станок по возможно низкой цене. Однако изготовитель не может нормально работать при цене ниже его экономических затрат. Поэтому возникает необходимость определения нижнего и верхнего пределов отпускной цены нового станка.

Верхний предел отпускной цены нового станка определяется исходя из интересов завода-потребителя. Это такая цена, которая обеспечивает заводу экономически эффективное применение нового оборудования при производстве своей продукции. Капитальные вложения в новый станок должны обеспечивать рентабельность производства продукции не ниже норматива общей рентабельности инвестиций и уже достигнутой рентабельности предприятием - потребителем оборудования.

Верхний предел отпускной цены нового станка рассчитывается с учётом налогообложения по формуле:

,   (8.24)

где  - отпускная цена базового оборудования, руб.;

kп - коэффициент роста производительности нового оборудования по сравнению с базовым;

- коэффициент учета изменения срока службы нового оборудования по сравнению с базовым, с учетом компенсации налогообложения, руб.;

 - изменение текущих издержек эксплуатации (без амортизационных отчислений) у потребителя за срок службы при использовании нового оборудования с учетом компенсации налогообложения, руб.;

 - изменение отчислений от сопутствующих капитальных вложений потребителя за срок службы при использовании нового оборудования с учетом компенсации налогообложения.

Далее, при расчёте ,  применены следующие показатели:

Тн - ставка налога на недвижимость;

Тп - ставка налога на прибыль;

Тндс - ставка налога на добавленную стоимость.

Остальные показатели формул и их обозначения соответствуют используемым при расчете в предыдущих разделах.

Коэффициент изменения срока службы рассчитывается по формуле:

, (8.25)


Изменение текущих издержек эксплуатации рассчитывается по формуле:

. (8.26)

 млн.руб.

Изменение отчислений от сопутствующих капитальных вложений потребителя рассчитывается по формуле:

 (8.27)

 млн.руб.

млн.руб.

 

8.5 Расчет нижнего предела отпускной цены


Нижний предел отпускной цены нового станка устанавливается исходя из интересов завода-изготовителя. Это такая цена, которая, после реализации оборудования и уплаты всех видов налогов в бюджет, должна обеспечить заводу получение прибыли, и при этом уровень рентабельности производства продукции должен быть не ниже норматива общей рентабельности инвестиций и не ниже того уровня, который завод уже имеет, выпуская освоенную продукцию.

Нижний предел отпускной цены нового оборудования определяется суммой трех составляющих: себестоимости, прибыли, обеспечивающей средний уровень рентабельности и налога на добавленную стоимость.

В дипломном проекте нижний предел цены станка рассчитывается укрупненно. Возможны два метода укрупненного расчета:

по укрупненной себестоимости;

по аналогии с базовым оборудованием.

Второй метод применяется в условиях нестабильности цен на материалы и комплектующие изделия, когда невозможно собрать необходимую информацию.

Нижний предел отпускной цены определяется пропорционально массе нового оборудования по формуле:

 (8.28)

где  - отпускная цена базового оборудования, тыс. руб.;

,  - масса базового и нового оборудования, кг.;

,  - затраты на электродвигатели и системы программного управления нового и базового оборудования в отпускных ценах, млн. руб.;

руб.

Таблица 8.2 - Технико-экономические показатели проекта

Показатели

Единицы измерения

Варианты

Величина отклонения



базовый

проектный

абсолют.

относит.

1. Годовая производительность

шт/год

97440

108266,7

10826,7

11,2

2. Коэффициент технического использования оборудования

-

0,81

0,81

-

-

3. Коэффициент повышения производительности оборудования

-

1

1,2

0,2

20

4. Удельная масса

кг/шт.

3000

3000

0

0

5. Удельный расход электроэнергии

кВт·ч/шт.

8,57

6,98

1,59

6. Количество рабочих-операторов

Чел.

2

2

0

0

7. Количество наладчиков

чел. на 10 станков

1

1

0

0

8. Сопутствующие капиталовложения

млн. руб.

124,5

124,5

0

0

9. Удельные расходы на режущий инструмент

млн. руб.

2

1,4

0,6

30

10. Сравнительный полезный эффект

млн. руб.

156,35

-

-

11. Отпускная цена: 11.1 Верхний предел 11.2 Нижний предел

 млн. руб. млн. руб.

  520

 693,56 520,64

-

-


Заключение


В данном дипломном проекте был модернизирован заточной станок с ЧПУ модели ВЗ-295Ф4. А именно: булла увеличена частота вращения шпинделя, для возможности вести обработку кругами меньшего диаметра, что позволит экономить режущий инструмент, так же в приводе продольной подачи была увеличена скорость холостого хода стола, что уменьшило штучное время обработки детали и соответственно повысило производительность примерно на десять процентов в год.

Приведены кинематический расчет привода главного движения, расчет элементов привода (поликлиновой передачи), расчет шпиндельного узла (жесткость, точность и виброустойчивость) и т.д.

Проведен анализ и исследование опор тягового механизма.

Модернизированный станок обеспечивает необходимую точность обработки, оптимальные режимы резания для обработки детали, обладает относительно простой и удобной компоновкой, обеспечивает автоматическую обработку, удовлетворяет требованиям техники безопасности при его эксплуатации.

Был произведен экономический анализ базового и модернизированного станков.

Список использованных источников информации


1.     Пуш В. Г. Конструирование металлорежущих станков. - М.: Машиностроение, 1977. - 390 с.

2.     Кочергин А.И. Конструирование и расчет металлорежущих станков и станочных комплексов. Курсовое проектирование: Учеб. Пособие для вузов. - Мн.: Выш. шк., 1991. - 382 с. ,ил.

3.       Санюкевич Ф.М. Детали машин. Курсовое проектирование: Учебное пособие - 2-е изд., исп. и доп. - Брест: БГТУ,2004.-488с.

4.     Справочник технолога-машиностроителя в 2-х томах/Под редакцией А.Г. Касиловой и Р.К. Мещерякова.- М.:Машиностроение, 1985.

5.       А. И. Артуша Руководство по решению задач, издание второе. - ВШ Москва, 1991г. - 190., ил.

.         В. И. Дьяков Типовые расчеты по электрооборудованию. Практ. Пособие седьмое издание., перераб. и доп.-М.: Высш. Шк.-1991г.-160с. Ил.

.         Методические указания к выполнению экономического раздела дипломного проекта для студентов специальности 1-36 01 03 "Технологическое оборудование машиностроительного производства" дневной формы обучения. Мартиновская О.В. - Брест: БрГТУ, 2007. - 15с.

8.     Методические указания для выполнения раздела "Охрана труда и окружающей среды" дипломного проекта по специальности 12.01 "Технология машиностроения" и 12.02 "Металлорежущие станки и инструменты". Григорьев В.Ф.- Брест: БПИ, 1998.- 11с.

.       Методические указания по курсовому и дипломному проектированию для студентов технических специальностей "Расчет ременных передач". Новицкая А.Н.-Москва:ВШ,2005.-25с.

.       Анурьев В.И. Справочник конструктора-машиностроителя. В 3-х т. - 8-е изд., перераб. и доп. Под ред. И. Н. Жестковой. - М.: Машиностроение, 2001. - 920с., ил.

11.     Проектирование металлорежущих станков и станочных систем: Справочник-учебник. В 3-х т. Т.2. Ч.1. Расчет и конструирование узлов и элементов станков./ А.С. Проников, Е.И. Борисов, В.В. Бушуев и др. - М.: Издательство МГТУ им. Н.Э. Баумана: Машиностроение, 1995. - 371с.

.         Обработка металлов резанием: Справочник технолога/А.А.Панов, В.В. Аникин, Н.Г. Бойм и др.; Под общ. ред. А.А.Панова. - М.: Машиностроение, 1988. - 625с.

.         Охрана труда в машиностроении./ Под ред. Е.Я. Юдина. М.: Машиностроение ,1976.-355с.

14.   Левин А.И. Математическое моделирование в исследованиях и проектировании станков. - М.: Машиностроение, 1978. - 184 с.

15.     Лещенко В.А. Станки с числовым программным управлением (специализированные). - М.: Машиностроение, 1988. - 568 с.

.         Чернин И. М. Расчеты деталей машин. - Мн.: Вышэйшая школа, 1974.

17.       Методические указания по дипломному проектированию для специальности Т03.01. "Технология, оборудование и автоматизация машиностроения" специализации "Металлорежущие станки и инструменты" / сост.: М. В. Голуб, В. П. Горбунов, В. Ф. Григорьев. -Брест: БрГТУ, 1998. -20 с.

Похожие работы на - Модернизирование заточного станка модели ВЗ-295Ф4

 

Не нашли материал для своей работы?
Поможем написать уникальную работу
Без плагиата!
Без нейросетей!