Модернизация горизонтально-сверлильного 5-шпиндельного станка
Министерство
образования и науки Российской Федерации
Марийский
государственный технический университет
Кафедра ДОП
Курсовой
проект
по
дисциплине «Оборудование отрасли»
на тему:
«Модернизация горизонтально-сверлильного 5-шпиндельного станка»
Выполнил:
Сульдин С.А.
Проверил: проф., д.т.н.,
Торопов А.С.
Йошкар-Ола,
2007
Содержание
1. Введение: цель проекта, связь
решаемой задачи с задачами отрасли
2. Место модернизируемого
станка, его роль, существенные недостатки, пути устранения недостатков
. Описание конструкции, схемы
и принципа действия механизмов главного и вспомогательного движения
существующего объекта. Эскиз режущего инструмента
. Расчет и подбор
оборудования, расчет допускаемых скоростей подачи по частоте и точности
обработки, расчет усилия резания и мощности привода
. Схема организации рабочего
места и правил безопасности обслуживания
. Расчет циклограммы и
производительности станка
. Обоснование необходимости
модернизации объекта, разработка технического задания, патентный поиск
. Разработка эскизного
проекта. Конструктивная разработка узла и деталей, рабочие чертежи, описание
принципа работы
. Кинематическая схема
модернизируемого станка
Заключение
Список библиографических источников
1. Введение: цель проекта, связь решаемой задачи
с задачами отрасли
станок конструкция инструмент
оборудование
На сегодняшний день у наших деревообработчиков
образуется большое количество обрезков в один и более метров, как с комлевой
части ствола, пораженной сердцевинной гнилью, так и с вершинной. И эти обрезки
не обрабатываются, а используются как дрова. Это не совсем рациональный подход.
Такие обрезки оставляют в лесу после рубок. Оператор раскряжевочной установки
не может определить, где точно заканчивается гниль и делает рез наудачу. В
результате целый кряж или чурак отбрасывается в отходы.
Необходимо проектирование и внедрение
специализированных технологий по переработке древесины, пораженной сердцевинной
гнилью, способствующих максимальному выходу продукции. Внедрение в производство
ресурсосберегающих технологий - одно из приоритетных направлений развития
деревообработки России.
Цель данной работы: разработать технологию
изготовления стенового материала, позволяющую использовать древесину,
пораженную сердцевинной гнилью. В основе разработки лежит способ соединения
коротких заготовок в единое сборное бревно. Использование этого способа
приводит к экономии древесины. При производстве оцилиндрованного бревна из
цельного бревна слой снятой древесины большой, так как бревно имеет сбег.
Снятие такого большого слоя приводит в дальнейшем к гниению и конечно же к
низкому выходу продукции. По этой причине производители используют бревна
только первого реза. А это существенное ограничение. Сбег у коротких заготовок
меньше и соответственно потери древесины небольшие. При этом можно использовать
бревна и первого и второго реза.
Использование нового способа также позволяет
производить бревна длиной, например, в 15 метров. В наших лесах не найти такое
высокое дерево.
2. Место модернизируемого станка, его роль и
пути устранения недостатков
На сегодняшний день в лесной промышленности
образуется большое количество отходов, которые никуда не используются, хотя
существует много методов по их переработке.
Чтобы исправить это положение один из вариантов
- создание станка по обработке лесоматериала поражённой сердцевинной гнилью,
путём её высверливания. Для этого мы сделаем модернизацию горизонтально-
сверлильного 5- шпиндельного станка, в котором установим другой двигатель
большей мощности, заменим 5- шпиндельную головку одношпиндельной. Также
увеличим размеры стола, и установим на него пневматические зажимы, по два
зажима вдоль стола. Для увеличения хода суппорта удлиним станину станка, это
позволит нам высверливать более глубокие отверстия. Для удобства сбора образующейся
стружки и опила, прикрепим к столу кожух, который имеет патрубок с фланцем для
присоединения к вытяжной вентиляции.
Использование этого способа приводит к экономии
древесины.
. Описание конструкции, схемы и принципа
действия механизмов главного и вспомогательного движения существующего объекта.
Эскиз режущего инструмента
Сверлильные станки:
Сверлильные станки применяются при сверлении
круглых и продолговатых отверстий, выборке гнезд и пазов. По конструкции
различают следующие сверлильные станки:
вертикальные - одношпиндельные с ручной,
одношпиндельные с механической, многошпиндельные с ручной и многошпиндельные с
механической или гидравлической подачей;
горизонтальные - одношпиндельные с ручной,
одношпиндельные с механической или гидравлической и многошпиндельные с
механической или гидравлической подачей.
Узел резания в вертикальных одношпиндельных
станках с ручной подачей имеет следующую конструкцию. Составной шпиндель,
укрепленный неподвижной (в вертикальном направлении) частью в коренных подшипниках,
приводится во вращение через плоскоременную передачу от электродвигателя.
Вторая, подвижная часть Шпинделя перемещается вверх и вниз рукояткой и имеет на
нижнем конце патрон, в котором крепится сверло. Обрабатываемая заготовка
укрепляется на столе. Подача при выборке гнезд и отверстий производится
перемещением сверла рукояткой. При выборке удлиненных гнезд и пазов заготовка
вместе со столом перемещается штурвалом через цилиндрическую зубчатую шестерню
и зубчатую рейку. На многошпиндельных станках общего назначения можно
одновременно сверлить несколько гнезд или отверстий в заданном расположении.
Чтобы изменить расположение обрабатываемых мест, узлы резания с приводом
соединены телескопическими валиками с двумя карданными сочленениями. В этих
станках каждый узел резания приводится в движение от индивидуального
электродвигателя. Имеются конструкции многошпиндельных сверлильных станков, в
которых узлы резания приводятся в действие одним электродвигателем через
клиноременную передачу и косозубые шестерни. Подача в многошпиндельных станках
достигается перемещением стола с обрабатываемой заготовкой при помощи
гидропривода.
Горизонтальные сверлильные станки применяются
главным образом для высверливания гнезд и отверстий под шиповые соединения.
Кроме того, на этих станках можно выбирать пазы небольших размеров (по длине).
При этом подача обрабатываемой заготовки производится в два приема: надвигание
заготовки на сверло и горизонтальное ее перемещение.
Параметры и размеры сверлильных одношпиндельных
вертикальных станков по ГОСТ 7642-55 при диаметре сверления до 25 мм
(наибольшие значения) следующие: глубина сверления 100 мм, расстояние от конца
шпинделя до стола 320 мм, вылет шпинделя не менее L=320
мм. При диаметре сверления до 40 мм наибольшие значения L=400
мм.
В горизонтальных сверлильных одношпиндельных
стайках при диаметре сверления до 25 мм должны быть следующие наибольшие
значения: глубина сверления 100 мм, расстояние от оси шпинделя до стола 100 мм.
В рассмотренных сверлильных станках скорость
вращения шпинделя должна быть не менее 2850 об/мин. По специальному заказу
станкостроительные заводы могут изготовлять станки со скоростью вращения
шпинделя 5700 об/мин.
По ГОСТ 7643-55 сверлильно-пазовальные
горизонтальные станки при диаметрах сверления от 16 до 25 мм должны иметь
наибольшие значения глубины сверления соответственно 50 и 80 мм, ширины
выбираемого паза 10 и 16 мм, длины выбираемого паза 80 и 120 мм, расстояния от
оси шпинделя до стола 100 мм. Число колебаний шпинделя не менее 40-60 в минуту.
Скорость вращения шпинделя в этих станках должна быть не менее 5700 об/мин. По
специальному заказу станкостроительные заводы могут изготовлять данные станки
со скоростью вращения шпинделя 2850 об/мин.
В горизонтальных сверлильно-пазовальных станках
обработка удлиненных гнезд и отверстий производится при одном надвигании
обрабатываемой заготовки на режущий инструмент гидроприводом. В этих станках
электродвигатель узла резания приводится в качательное движение,
кривошипно-шатунным механизмом от электродвигателя через перебор цилиндрических
зубчатых шестерен и косозубые шестерни. Величина обрабатываемого по длине
гнезда или отверстия зависит от величины поворота электродвигателя - угла а,
который регулируется смещением детали 6 по пазу. Параметры и размеры станка
должны соответствовать ГОСТ 7643-55.
Качество обработанной поверхности
Качество обработанной поверхности сверлением
характеризуется точностью механической обработки, а также шероховатостью
поверхности.
Диаметр отверстия после сверления получается
несколько больше диаметра сверла. Это объясняется тем, что сверло уводит в
сторону от оси отверстия даже при незначительных неправильностях, допущенных
при заточке сверла и его установке на станке, а также при неравномерной
твердости обрабатываемого материала.
При сверлении отверстий диаметром до 0,01 м
достигается 4-й, а при больших диаметрах - 5-й класс точности. При тщательной
работе (правильной заточке сверла и его установке на станке) 4-й класс точности
может быть достигнут при сверлении отверстий диаметром до 0,03 м.
Любые неровности (сколы, вырывы, ворсистость,
мшистость), полученные от инструментов при сверлении древесины, характеризуют
ее шероховатость.
Рис. 1. Шероховатость поверхности:
Hi
max
- высота одного из наибольших выступов;
Hi
min
- глубина одной из наибольших впадин
Шероховатость поверхности полученной сверлением
характеризуется высотой неровностей Rz
max.
Rz
max
-
сумма средних арифметических абсолютных отклонений n
наибольших минимумов и n
наибольших максимумов профиля.
Высота неровностей при сверлении Rz
max
=
60¼320
мкм (Ñd8-Ñd5
по ГОСТ 7016-75) при подаче на один оборот сверла U0
=
0,0007¼0,0022м
при сверлении мягкой древесины и U0
=
0,0001¼0,0005м
при сверлении твердой древесины.
В процессе сверления режущие элементы сверла
действуют на древесину с определенной силой Р.
Рис. 2. Силы (а) и крутящий момент (б) при
сверлении древесины
На рис. 4, а эта сила действия резца приведена в
точке А, на середине длины режущей кромки. При разложении на оси координат (X,
Y, Z)
сила действия резца (P)
дает три составляющие силы (Pz,
Py, Px).
Эти составляющие силы связаны с общей силой действия резца P,
Н, зависимостью
.
Радиальные силы на двух режущих кромках как
равные и противоположно направленные, взаимно уничтожаются. Окружные силы
резания Рz
и Рz¢,
действующие на плече R/2,
создают крутящий момент, который преодолевается закрепленной на столе
заготовкой. Осевые силы Px
и Рx¢,
действующие в вертикальном направлении, создают в сумме осевую силу Рx,
которая, действует на заготовку при работе сверла в направлении его подачи.
Подготовка сверлильного
инструмента.
Сверла с направляющим центром и
подрезателями затачивают с задней стороны основных лезвий, с внутренней стороны
подрезателей и по граням пирамиды центра. Правильно заточенное сверло должно
иметь направляющий центр с симметрично расположенными гранями и осью пирамиды,
совпадающей с осью сверла, основные лезвия, расположенные на одном уровне, и подрезатели
одинаковой формы.
При конической заточке режущей
части обе режущие кромки должны иметь одинаковую длину, одинаковый угол наклона
к оси сверла и одинаковый задний угол (15-25°). Средняя часть поперечного ребра
(перемычки) сверла должна совпадать с осью его вращения, длина перемычки не
должна превышать 1,5-2 мм. Отклонения углов сверла от номинальных значений
должны быть в пределах 1°.
Оборудование и приспособления
для заточки сверл: заточной станок ЗБ633, универсально-заточной станок ЗА64,
приспособления для заточки сверл, контрольные шаблоны для проверки правильности
заточки сверл.
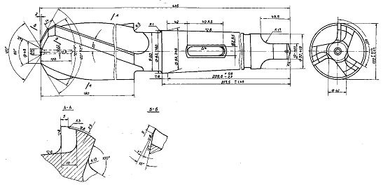
Описание конструкции модернизируемого станка:
Горизонтально-сверлильный 5-шпиндельный станок
служит для одновременного сверления пяти глухих отверстий в брусках спинки детской
кровати. Узлы станка смонтированы на станине сварной конструкции. По
направляющим станины с помощью пневматических цилиндров перемещают суппорт с
закреплённым на нём электродвигателем и 5-шпиндельной сверлильной головкой.
Вращение от электродвигателя передаётся сверлильным шпинделям через
втулочно-пальцевую муфту и находящиеся в сверлильной головке цилиндрические
косозубые шестерни. Величина хода суппорта может регулироваться за счет упора.
Деталь устанавливается на столе и зажимается двумя пневматическими цилиндрами
8. Положение стола по высоте регулируется винтом. Для базирования детали на
столе в продольном и поперечном направлении предусмотрены упоры.

-электро двигатель
-пневмоцилиндр
-дроссель
-воздухораспределитель
-электромагнитный пневмоклапан
-регулятор давления
-манометр
-вентель
-влагоотделитель
Эскиз режущего инструмента.
Режущий инструмент состоит из корпуса, режущая
часть которого наплавлена быстрорежущей сталью. Корпус выполнен из
высокоуглеродистой стали методом точного литья или из проката. На плавной
зенкер срезает большие припуски, обеспечивая сокращение номенклатуры крупных
свёрл, зенкеров и подрезных пластин при рассверливании.
Технические данные:
Минимальный и максимальный диаметры,
мм…………….60-150
Материал корпуса зенкера…………………………………...Сталь 45
Материал наплавления……………………………………….Сталь Р18
Термообработка корпуса……………………………………..HRC35-45
Термообработка пластин……………………………………..HRC62-65
Конус, Морзе…………………………………………………..6
Применение зенкера повышает производительность
труда в 3-4 раза.
4. Расчет и подбор оборудования, расчет
допускаемых скоростей подачи по частоте и точности обработки, расчет усилия
резания и мощности привода
Данные: D
= 150 мм, n = 7500 об/мин, φ=60,z=2
Процесс сверления отверстий во всех сверлильных
станках-прерывистый процесс. Резание чередуется с холостым движением сверла
(заготовки) в исходное положение, что определяет режим работы инструмента.
Истинная скорость резания при сверлении отверстий определяется по формуле
=29,43+39,5=68,93 м/мин,
где
-
скорость резания, м/с;
-
скорость осевой подачи, м/с.
Скорость резания при сверлении, м/с,
в разных точках режущей кромки сверла меняется: на оси сверла равна нулю и по
мере приближения к периферии режущей кромки увеличивается. Для крайней точки
режущей кромки она максимальна и определяется по формуле
Vmax = wR = w (D/2) = pDn.=3,14*0,15*125=58,8об/мин
Средняя скорость резания:
Vcp = w (R/2) = w (D/4) = pDn
/2=3,14*0,15*125/2=29,43 об/мин
где w -
угловая скорость вращения сверла, об/с;
D - наружный
диаметр сверла, м; n -
частота вращения сверла, об/с.
Скорость осевой подачи сверла, м/с,
определяется по формуле
Us
=
Uzzn=0,158*2*125=39,5м/мин
где Uz
- подача на один резец сверла, м;
z
-
число резцов сверла, шт.
Подача на один оборот сверла, м/об:
U0
= Uz
z = Us/n=39,5/125=0,31м/об.
Подача на один резец сверла, м:
Uz
= 1000u/zn=1000*0,065/2*125=0,158м.
Скорость подачи
м/с
Толщина стружки h, м,
измеряемая в направлении, перпендикулярном к режущей кромке сверла, и ширина
стружки b, м, при
сверлении вдоль и поперек волокон:
h = Uz sin φ=0,158*sin60=0,13;
b = R/sin φ = D/ (2sin φ)=0,15/(2*sin60)=0,086
Площадь поперечного сверления
стружки, м2:
S = hb = Uz R = DU0/
(2z)=0,15*0,31/(2*2)=0,011м2.
Средняя длина стружки, м:
lcp = pD/2=3,14*0,15/2=0,23м
Максимальная длина стружки, м:
lmax = pD=3,14*0,15=0,47м
Объем одной стружки, срезанной
резцом, м3:
g = Slcp= pD2U0/(4z)=3,14*0,152*0,31/(4*2)=0,0027м3
Секундный объем стружек, срезаемых z резцами, м3/с:
qc = pD2U0n/4 = pD2Us/4=3,14*0,152*65,8/4=1,16
м3/с
Сила резания (касательная), Н, при
двух резцах у сверла определяется по формуле
Рz = КS = Кhb = KDUz/2 = KDU0/4=1,7+0,68/0,158*0,15*0,31/4=0,069H
Средняя сила резания при сверлении
может быть определена через мощность резания. Мощность, затрачиваемая на
резание, Вт, при сверлении:
Np
= Pz Vср
= Kqc
=KpD2Us/4=1,7+0,68/0,158*3.14*0,152*39,5/4=7КВт
где qс - секундный объем срезаемой
древесины, м3/с.
Отсюда средняя сила резания
(касательная) при сверлении, Н, равна
=7/29,43=0,23Н
где К - удельная сила резания, Н/м2 (удельная
работа резания, Дж/м3);
D - диаметр
сверла, м;
Us -скорость осевой подачи, м/с;
Vcp - средняя скорость резания,
м/с.
Крутящий момент, Н×м,
на сверле при двух резцах:
Мкр = Рz
R =
0,23*0,075=0,017Н*м.
Расчёт шероховатости поверхности и построения
графиков в зависимости от факторов сверления
Где u
- скорость подачи
k - число резцов
n - число оборотов
вала
D - диаметр режущего
инструмента
|
u,
м/мин
|
3,9
|
7,8
|
11,7
|
15,6
|
19,5
|
|
Ra,
мкм
|
0,67
|
1,35
|
2,03
|
2,7
|
3,38
|
График показывает, что с увеличением
подачи (при n=const)
обрабатываемого материала увеличивается параметр шероховатости поверхности (Ra), то есть
ухудшается качество поверхности древесины.
2) Зависимость шероховатости Ra
от числа оборотов вала двигателя:
|
n,
об/мин
|
5500
|
6000
|
6500
|
7000
|
7500
|
8000
|
8500
|
|
Ra,
мкм
|
4
|
3,9
|
3,6
|
2,8
|
2,7
|
2,2
|
1,9
|
График показывает, что с увеличением
числа оборотов режущего вала (при u=const) параметры
шероховатости поверхности уменьшаются, то есть улучшается качество
обрабатываемой древесины. В современных станках качественную поверхность можно
получить только при n>6000 об/мин.
) Зависимость шероховатости
поверхности от мощности сверления. Эта зависимость видна из формулы:
Np
= Pz Vср
= Kqc = KpD2Us/4=>u=f(AN),
где А=4/
KpD2Us
Из формулы видно, что график будет
представлять прямую линию зависимости шероховатости поверхности от мощности (Nрез, кВт) (чем
больше мощность, тем больше шероховатость поверхности древесины).
Вывод: Проведённые расчёты и аналитические
зависимости дают картину зависимости шероховатости поверхности от параметров
сверления. Параметры шероховатости по ГОСТ 7016-82 имеют зависимость от
скорости подачи.
5. Схема организации рабочего места и правила
безопасности обслуживания.
Схема организации рабочего
1- станок СВ
2- заготовки
- готовые изделия
Правила безопасности обслуживания.
Работать в спецодежде
Не подставлять руки под режущий инструмент
Не допускать засорения вращающихся частей,
(подшипников)
Не стоять в зоне вылета стружки и т.д.
Станок обязательно должен быть заземлен
Перед работой убедится, что режущий инструмент
закреплен крепко
После работы очистить станок от мусора и
обесточить
ТЕХНИКА БЕЗОПАСНОСТИ
Основные правила техники
безопасности при работе на деревообрабатывающих станках сводятся к следующим
положениям. Каждый станок должен быть оборудован хорошо и безотказно
действующими ограждениями. Обязательно ограждаются: режущие инструменты, все
движущиеся части, механизмы подачи, ременные, зубчатые и цепные передачи и т. п.
Во избежание обратного выброса заготовки, срезков, или отходов станки должны
иметь противовыбрасывающие устройства, расклинивающие ножи, колпаки, щитки,
эксгаустерные воронки. Необходимо, чтобы ограждения не затрудняли подачу
заготовки или работу на станке и его обслуживание. В настоящее время
устанавливают также ограждения из прозрачных материалов, (плексигласа).
Все рабочие шпиндели по
возможности должны быть оборудованы приспособлениями для быстрой остановки
после выключения. Торможение осуществляется механическим или электрическим
путем.
Дереворежущий инструмент должен
быть хорошо' подготовлен, заточен и отбалансирован; в инструменте не
допускаются трещины. Посадочное отверстие должно соответствовать валу рабочего
шпинделя, а инструмент хорошо закреплен. Особенно тщательно следует проверять
прочность крепления (пропайки) пластинок из твердого сплава. Патроны для
крепления инструмента должны быть гладкими и иметь обтекаемую форму.
Перед началом работы на станке
необходимо хорошо подготовить рабочее место, определить расположение заготовок
и изделий, направление их движения и место уборки отходов. Захламление рабочего
места или наличие скользких мест, а также нагромождение материалов около
станка, которые могут обвалиться на рабочего, не допускаются. Во время работы,
например на торцовочном станке, станочник не должен стоять в плоскости вращения
пилы.
Перед пуском станка необходимо
проверить его состояние, наличие ограждений и убедиться в том, что около
режущего инструмента или движущихся частей станка не оставлены посторонние
предметы, которые могут вылететь или вызвать аварию. Около станка или его
приводных частей (например, в нижнем этаже или приямке) не должно быть
посторонних лиц. Для предупреждения окружающих о пуске станка используют
звуковую или световую сигнализацию. Если при пуске появится ненормальный стук
или шум, нужно немедленно остановить станок и сообщить об этом мастеру.
Работа на станке должна
производиться строго по инструкции. Особенно важно правильно закрепить
заготовку и обеспечить правильную подачу ее или инструмента. На станке можно
обрабатывать только такие заготовки или бревна, которые соответствуют
параметрам станка. При появлении необычных стуков или поломке, а также при
обнаружении других, ненормальностей в работе механизмов следует немедленно
остановить станок и сообщить об этом мастеру.
Станочник обязан выполнять асе
правила по уходу за станком, бережно относиться к станку и режущему
инструменту, содержать их, в чистоте. Запрещается на ходу снимать и надевать
ремни и цепи, производить исправления, снимать ограждения, вытаскивать
застрявшие, например, в пилах обрезки древесины, смазывать движущиеся части
станка и т. п. Нельзя оставлять работающий станок без присмотра.
Утомляемость станочника,
вызванная неправильной организацией труда и рабочего места или отсутствием
необходимой механизации трудоемких операций, может повлечь за собой травму
рабочего. Поэтому необходимо заранее принимать необходимые меры для устранения
указанных недостатков и предупреждения травматизма.
В целях создания соответствующих
условий для работы на станках, снижения утомляемости рабочих и повышения
безопасности работы необходимо обеспечивать на рабочих участках естественное
(через окна, фонари) или искусственное (лампы общего и местного освещения)
освещение согласно существующим нормам освещенности. Уборка опилок, стружки и
пыли от станков и рабочих мест должна производиться эксгаустерными установками.
В помещениях следует обеспечить непрерывный воздухообмен с помощью
вентиляционных установок
. Расчет циклограммы и производительности станка
С учетом рассчитанных значений
параметров режима и схемы организации рабочего места разрабатывается
циклограмма обработки деталей на проектируемом станке. Для этого составляется
формула продолжительности времени рабочего цикла:
Тц = tn
+ tб
+ tp + tраз
В зависимости от условий
резания и принятой схемы организации рабочего места станочника затраты времени
на подачу заготовки в рабочую зону станка или на рабочий стол рассчитываются*
исходя из скорости 5-15 м/мин. В ряде случаев для определения этих затрат
необходимо экспериментально прохронометрировать движения станочника и принять
среднее значение по 5-7 замерам;
tб
- время базирования и разбазирования; принимается с учетом используемых
устройств: при пневматических приводах 1...2 с, при механических или
гидравлических 5…10 с;
tp
- время обработки; зависит от режима резания и размеров заготовки. Например,
при ручной подаче на шпунтование заготовки длиной 1,5 м на вертикальном
фрезерном станке затрачивается 0,25 мин или 15 с при Un=6
м/мин;
tраз
- время разгрузки деталей; определяется также с учетом их размеров и скорости
подачи
Расстояние от сверла до
поверхности детали 64 мм, Базирование заготовки ручное (Скорость подвода сверла
к поверхности детали, скорость холостого хода и скорость подачи принимаются
равными). В этом случае
ц=tз+tб+tр+2tб+tр+
tб
+tраз
где: tраз-время
разгрузки деталей (принимаем 10с)
t1=
tз
-время на подачу заготовки на рабочий стол составит 10с
t2=tб
-время базирования и разбазирования составляет 5... 10 с (принимаем 5 с).
t3=
tр
-время обработки рассчитывается с учетом скорости подвода сверла, скорости
подачи при резании и скорости холостого хода (для упрощения расчета эти
скорости приняты равными). Определяем скорость подачи: Uk=3,9
м/мин
При этом
tр=
17, с
где h -
расстояние до поверхности детали, мм,
H - глубина
сверления, мм;
hxx = h + H, мм.
Подставив числовые значения в
формулу получим:ц = 10 + 5 + 17+ 10 + 17 + 5 + 10 = 74 с.
Для построения циклограммы составляющие
элементы формулы пронумеруем: t1= tз; t2=tб; t3= tр; t4= 2tб; t5= tр; t6= tб; t7= tраз
По оси абсцисс в произвольном
масштабе откладываются составляющие, t1, t2, t3….. а по оси
ординат - время в секундах.
Циклограмма обработки деталей.
Расчёт производительности станка
Сменная производительность станка
вычисляется по формуле:
П=
=
=871шт.
t=
=
=15,38м/мин
где: Т - продолжительность смены, мин
n - число отверстий
в заготовке
t - машинное время
на выборку одного или нескольких отверстий за один рабочий ход
Н - величина хода сверла
U - соседняя
скорость подачи
берутся из таблицы (для сверлильных
станков 0,93 и 0,5)
. Обоснование необходимости
модернизации объекта, разработка технического задания
На сегодняшний день в лесной
промышленности образуется очень большое количество отходов, которые используют
не рационально, и поэтому необходимо создание нового оборудования по обработке
или переработке этих отходов.
Модернизация необходима для того что бы
разработать технологию изготовления стенового материала, позволяющую
использовать древесину, пораженную сердцевинной гнилью. Для этого необходимо
проектирование и внедрение специализированных технологий по переработке
древесины, пораженной сердцевинной гнилью, способствующих максимальному выходу
продукции. Внедрение в производство ресурсосберегающих технологий - одно из
приоритетных направлений развития деревообработки России. Использование этого
способа приводит к экономии древесины.
Техническое задание состоит в том чтобы
модернизировать горизонтально-сверлильный 5 -шпиндельный станок под станок по
высверливанию сердцевинной гнилью, путем увеличения числа оборотов и мощности
электродвигателя, а также некоторых изменений в конструкции станка.
Описание техпроцесса.
Цель изобретения - повышение эффективности
использования низкокачественных короткомерных лесоматериалов.
Способ производства и раскроя лесоматериалов.
Способ относится к лесной промышленности и может быть использован при
производстве круглых лесоматериалов и продукции.
Сущность изобретения: из короткомерных с
удалённой гнилью в виде сердцевинного слоя 1 и соединительных заготовок 2
формируют длинномерный лесоматериал 3. Из короткомерных частей лесоматериала
разной длины и соединительных заготовок формируют длинномерный лесоматериал,
смещая торцы соприкосновения частей древесины по длине формируемых
лесоматериалов. После сушки поверхности соприкосновения покрывают клеем и
формируют длинномерные лесоматериалы. После твердения клея производят продольную
распиловку по соответствующей программе раскроя. Возможна и предварительная
продольная распиловка короткомерных круглых лесоматериалов. В этом случае
первоначально выполняют один или несколько продольных пропилов, из полученных
после распиловки частей лесоматериалов удаляют сердцевинный слой,
соответственно размером образованных пустот в этих частях изготовляют из
древесины соединительные заготовки, из полученных частей лесоматериалов и
соединительных заготовок после сушки путём склеивания формируют длинномерные
лесоматериалы, при этом торцы соприкосновения частей древесины по длине
формируемых лесоматериалов смещают один относительно другого.
Использование: в лесной промышленности при
производстве круглых лесоматериалов и пилопродукции из низкокачественных
короткомерных материалов.
На фигуре 1 изображён длинномерный круглый
лесоматериал, сформированный из короткомерных круглых лесоматериалов и
соединительных заготовок; на фигуре 2- разрез А-А на фигуре 1; на фигуре 3-
вариант длинномерного лесоматериала, сформированного из частей короткомерных
лесоматериалов разной длины, при условии их предварительной продольной
распиловки и удалении внутренней гнили в виде сердцевинного слоя и
соединительных заготовок; на фигуре 4- разрез Б-Б на фигуре 3.
. Разработка эскизного проекта.
Конструктивная разработка узла и деталей, рабочие чертежи, описание принципа
работы
Эскиз проекта представлен на
чертеже.
Конструктивная разработка узла и
деталей:
) Подъёмный стол размером 50 Х 1000,
с закреплённым на нем кожухом для сбора стружки
) Пневматические зажимы. Давление в
сети сжатого воздуха 6-8 кгс/см2
Описание принципа работы:
) Подъёмный стол рассчитан для
лесоматериала длиной не более одного метра, диаметр обрабатываемой заготовки не
более 450 мм. Стол регулируется по высоте при помощи винта 3. Для сбора
вырабатываемой стружки и опилок установлен кожух. Кожух имеет патрубок с
фланцем для присоединения к вытяжной вентиляции.
) Для фиксирования заготовки на
столе предусмотрены пневматические цилиндры. Пневмоцилиндры расположены по
длине стола, по два с каждой стороны, которые связаны между собой прижимной
пластиной. Пневмоцилиндр устроен и работает следующим образом: При подаче
сжатого воздуха в канал Б в крышке1поршень 2 со штоком 4 перемещаются влево,
вытесняя воздух свободно в канал А, выполненный в крышке 6. Для реверса поршня
воздух подают в канал А, тогда шток втягивается. Для предотвращения перекосов
штоков при его работе установлена направляющая втулка 5. Сборка цилиндра
производится с помощью шпилек 7, в корпусе 1.
Описание технологической операции с
помощью модернизируемой машины.
Для производства стенового материала
используются «дрова». В «дровах» не допускается наружная трухлявая гниль и
заболонная гниль. А также не желательно присутствие плесени, грибов и других
биоллогических поражений. Допускается сердцевинная гниль размером не более 35%
площади торца. Длина «чураков» может составлять до 1м. Сырье поставлятся на
предприятие сухопутным, то есть автомобильным транспортом. Разгрузка происходит
при помощи кранового гидроманипулятора ЛВ-184А. После поступает на участок
раскроя, где торцуется на станке ЦТД-6. Одновременно происходит вырезка
дефектных мест. Далее заготовки сортируются по диаметру, проценту пораженной
части ядра. После следует выдержка (оттаивание) в условиях цеха (t=18-23 0C) не менее 2
часов. Затем у заготовок высверливают гниль на специальном горизонтальном
сверлильном станке, предварительно осмотрев их. После следует сушка в
аэродинамической камере АСКМ-7 при мягком режиме. Далее детали поступают на
сборку и заполнение. В один конец вставляют круглый шип с предварительно снятой
фаской (карандаш фанерного производства). Карандаши поставляют на предприятие в
готовом виде. Фаска снимается вручную напильником. Карандаш вставляют на
глубину 200 мм. Торцы соприкосновения древесины покрывают клеем, используют при
этом клей «Хомакол 016». Потом в другой конец вставляют второй шип и также
выдерживают. Теперь детали готовы к сборке. Сборка в «бревно» происходит на
механической вайме. Торцы соприкосновения древесины покрывают клеем, используют
при этом клей «Хомакол 016».
Схема организации рабочего
4- станок СВ
5- заготовки
- готовые изделия
Правила безопасности обслуживания.
Работать в спецодежде
Не подставлять руки под режущий инструмент
Не допускать засорения вращающихся частей,
(подшипников)
Не стоять в зоне вылета стружки и т.д.
Станок обязательно должен быть заземлен
Перед работой убедится, что режущий инструмент
закреплен крепко.
После работы очистить станок от мусора и
обесточить.
. Кинематическая схема модернизируемого станка
Кинематическая схема - это схема, которая путём
упрощённого изображения показывает взаимодействие связей реальных механизмов,
способ передачи движения рабочих органов машины. Для вычерчивания
кинематической схемы используются условные обозначения по ГОСТ 2.721-74 и ГОСТ
2.770 - 68 (СТСЭВ 2519-80). Анализ кинематической схемы позволяет определить:
значение перемещения, значения скоростей, подачи рабочих органов, величины
крутящих моментов.
-электро двигатель
-пневмоцилиндр
-дроссель
-воздухораспределитель
-электромагнитный пневмоклапан
-регулятор давления
-манометр
-вентель
-влагоотделитель
Заключение
Мы модернизировали
горизонтально-сверлильный 5-шпинделиный станок путем увеличения количества
оборотов на валу с помощью смены электродвигателя, увеличением размеров стола,
установили на стол кожух для сбора стружки и опила. Приспособили пневматические
зажимы для базирования заготовки. Заменили 5-шпиндельную сверлильную головку,
головкой с одним шпинделем.
Теперь это станок для обработки
лесоматериала поражённой сердцевинной гнилью, путём высверливания поражённой
сердцевины при автоматической подачи сверла в зону высверливания.
Список библиографических источников
1. Альбом
фрезерно-сверлильного и долбёжного инструмента для обработки древесины. «Лесная
промышленность», Москва, 1960.
2. Афанасьев П.С. «Конструкции
деревообрабатывающих станков», том 1,2. «Машгиз», Москва, 1954.
. Белов Е.Ф. «Новые
конструкции ножевых валов». «Деревообрабатывающая промышленность», Москва, 1970.
. Грачёв И.А.
«Деревообрабатывающие станки». Пособие для студентов III
курса. «Лесной институт», Ленинград, 1979.
. Деревообрабатывающее
оборудование, каталоги 1991-1995. «ВНИИ ИТЭМР», Москва, 1991.
. Жмылевская М.Л. «Редукторы
и мотр-редукторы» (каталог)1994 г.
. Жмылевская М.Л.
«Электродвигатели и электрооборудование» (каталог-справочник)
. Кузнецов М.А. «Атлас
конструкций деревообрабатывающих станков». «Лесная промышленность», Москва,
1969.
. Кутуков Л.Г. «Конструкции и
расчёт деревообрабатывающего оборудования». «Лесная промышленность», Москва,
1985.
. Лаптев А.Г. «Станки и
инструменты по обработке древесины». Пособие по курсовому проектированию,
«Лесной институт», Ленинград, 1963.
. Левитский В.С.
«Машиностроительно черчение». Москва 1988 г.
. Розов М.А. «Руководство по
расчёту технологического оборудования». «Лесная промышленность», Москва, 1966.
. Цуканов Ю.А. «Практикум по
деревообрабатывающим станкам». Москва, 1973.