Магнитно-импульсная сварка

  • Вид работы:
    Курсовая работа (т)
  • Предмет:
    Другое
  • Язык:
    Русский
    ,
    Формат файла:
    MS Word
    1,12 Мб
  • Опубликовано:
    2013-10-30
Вы можете узнать стоимость помощи в написании студенческой работы.
Помощь в написании работы, которую точно примут!

Магнитно-импульсная сварка

ФЕДЕРАЛЬНОЕ АГЕНТСТВО ПО ОБРАЗОВАНИЮ ГОУ ВПО БЕЛГОРОДСКИЙ ГОСУДАРСТВЕННЫЙ УНИВЕРСИТЕТ

ФАКУЛЬТЕТ БИЗНЕСА И СЕРВИСА

Кафедра экономики и управления на предприятии (в городском хозяйстве)







Курсовая работа

по дисциплине: «Теоретические основы прогрессивных технологий»

на тему: «Магнитно-импульсная сварка»

Выполнил А.М. Нафасов

Руководитель к.ф.-м.н., доц Г.И.Ткаченко




Белгород, 2010 г

Содержание

Введение

. Магнитно-импульсная сварка

.1 История развития магнитно-импульсной сварки

.2 Магнитно-импульсный способ сварки

.3 Физические основы магнитно-импульсной обработки металлов

.4 Параметры магнитно-импульсной сварки

.5 Определение основных параметров процесса магнитно-импульсной сварки

. Технология и оборудование магнитно-импульсной сварки

.1 Инструмент и оснастка

.2 Установки для магнитно-импульсной сварки

.3 Схемы магнитно-импульсной сварки и классификация сварных соединений

.4 Методы контроля сварных соединений

.5 Технологическая схема магнитно-импульсной сварки

. Инновации

Заключение

Список использованных источников

Введение

Магнитно-импульсная обработка металлов основывается на использовании сил электромеханического взаимодействия между вихревыми токами, наведенными в стенках обрабатываемой детали при пересечении их силовыми магнитными линиями импульсного магнитного поля, и самим магнитным потоком. При этом электрическая энергия непосредственно преобразуется в механическую, и импульс давления магнитного поля действует непосредственно на заготовку без участия какой-либо передающей среды.

Первое упоминание о возможности осуществления магнитно-импульсной сварки имеется в патенте Давида Ф. Броуэра. Перед сваркой детали нагреваются с помощью индуктора от генератора токов высокой частоты, после чего на этот же индуктор подаётся импульс тока от магнитно-импульсной установки. Взаимодействие магнитных полей индуктора и метаемой детали создаёт между ними отталкивающие усилия, в результате которых эта деталь метается в направлении неподвижной детали и происходит их сварка.

Магнитно-импульсный способ принципиально отличается от других способов сварки в условиях высокоскоростного соударения метаемой неподвижной заготовок. Это отличие заключается в том, что динамические усилия, вызывающие ускорение, возникают непосредственно в металле самой заготовки без участия какой-либо промежуточной среды в результате взаимодействия тока индуктора с током, наведенным в заготовке. В следствие этого движение заготовки обуславливается характером изменения разрядного тока.

Использование магнитного поля как источника импульсных давлений получает все большее распространение в практике обработки металлов давлением. Перспективно его применение в порошковой металлургии для уплотнения порошков и при сварке металлов давлением.

Каждый год нашей промышленностью осваивается несколько тысяч новых изделий машиностроения и приборостроения. Сегодня новые товары составляют половину всей производимой промышленной продукции. Это требует от производства оперативности и гибкости способности к быстрой перестройке при замене одних изделий другими [1].

1. Магнитно-импульсная сварка

.1 История развития магнитно-импульсной сварки

Первое упоминание о возможности осуществления магнитно-импульсной сварки имеется в патенте Давида Ф. Броуэра, в котором автором патентуется метод формовки и устройство для его осуществления. Сущность схемы сварки по Броуэру заключается в следующем. Свариваемые детали устанавливают с постоянной величиной зазора между ними. Зону сварки герметизируют кожухом и создают в ней нейтральную атмосферу.

Перед сваркой детали нагреваются с помощью индуктора от генератора токов высокой частоты, после чего на этот же индуктор подаётся импульс тока от магнитно-импульсной установки. Взаимодействие магнитных полей индуктора и метаемой детали создаёт между ними отталкивающие усилия, в результате которых эта деталь метается в направлении неподвижной детали и происходит их сварка.

В Куйбышевском авиационном институте им. Академика С. П. Королева (КуАИ) была впервые осуществлена магнитно-импульсная сварка по новой схеме.

Рис. 1.1. Принципиальная схема магнитно-импульсной сварки, разработанная в КуАИ.

Согласно разработанному способу (рис. 1.1), детали 6 и 5 устанавливают внахлестку под острым углом α друг к другу и с зазором δ между ними. Индуктор 4 устанавливают на поверхности, противоположной свариваемой. Для предотвращения перемещения при сварке деталь 6 жестко закрепляется в опоре 7 закрепление детали 5 должно обеспечивать перемещение ее свариваемого конца в направлении детали 6. индуктор 4 присоединяется своими выводами к генератору импульсных токов, который состоит из зарядного устройства 1, батареи конденсаторов 2 и коммутирующего устройства 3. После зарядки батареи конденсаторов от зарядного устройства до заданного напряжения включается коммутирующее устройство, которое замыкает батарею конденсаторов на индуктор. При разряде батареи конденсаторов в зазоре между индуктором и заготовкой возникает сильное магнитное поле, индуктирующее в этой заготовке ток. Взаимодействие тока индуктора с индуктированным током в заготовке приводит к возникновению сил отталкивания между индуктором и деталью 5, вследствие чего деталь 5 мгновенно с большой скоростью перемещается от индуктора в направлении неподвижной детали 6; при соударении в зоне контакта развиваются высокие давления и образуется сварное соединение.

В отличие от способа Броуэра сварку способом, разработанным в КуАИ, можно осуществлять на воздухе без предварительного подогрева как плоских, так и трубчатых свариваемых деталей.

Для сварки разнородных металлов можно предварительно нагревать одну из свариваемых деталей. В частности, для получения телескопического соединения стальной и алюминиевой труб конец одной из труб выполняют коническим, а стальную трубу предварительно нагревают.

Институтом электросварки им. Е. О. Патона разработан способ магнитно-импульсной сварки разнородных труб различных диаметров и толщин стенок: сваривают трубы-переходники из нержавеющей стали и алюминия, меди и алюминия. Прочность сварных соединений на разрыв близка прочности цельной алюминиевой трубы. Испытание образцов на вакуумную плотность гелиевым течеискателем и на плотность при давлении 13 атмосфер после нагрева их до 500ºС дало положительные результаты. Сварка в лабораторных условиях доказала возможность применения данного способа в промышленности. [2]

.2 Магнитно-импульсный способ сварки

Магнитно-импульсный способ принципиально отличается от других способов сварки в условиях высокоскоростного соударения метаемой неподвижной заготовок. Это отличие заключается в том, что динамические усилия, вызывающие ускорение, возникают непосредственно в металле самой заготовки без участия какой-либо промежуточной среды в результате взаимодействия тока индуктора с током, наведенным в заготовке. В следствие этого движение заготовки обуславливается характером изменения разрядного тока. Магнитно-импульсная сварка осуществляется за счет кинетической энергии движущейся заготовки. Вмесите с тем воздействие магнитного поля на ускоряемую установку ограничено временем ее перемещения до встречи с неподвижной свариваемой поверхностью. В течении этого времени метаемому элементу передается вся энергия, необходимая для сварки.

Вследствие малого времени ускорения заготовки возникает необходимость повышения мощности разряда, однако при этом возникает ограничения, связанные с прочностью и стойкостью индуктора, воспринимающих те же давления, что и деформируемая заготовка.

Таким образом, величина энергии, передаваемой заготовки с магнитно-импульсной установки, ограничена, с одной стороны, временем разгона заготовки, с другой - стойкостью индуктора.

Вследствие указанных причин магнитно-импульсную сварку нельзя применять для получения соединений большой площади. Целесообразной областью применения этого способа является получение различных неразъемных соединений, в частности труб и соединений труб с другими деталями.

Магнитно-импульсную сварку можно использовать для изготовления широкой номенклатуры соединений современного машиностроения. На рисунке представлены некоторые из соединений, полученные магнитно-импульсной сваркой. Это всевозможные соединения трубчатых деталей между собой и с другими деталями, а также плоских деталей по наружному и внутреннему контуру. Представленные соединения выполнены из алюминия АД1, алюминиевых сплавов АМц, АМг-3, АМг-5, АМг-6, меди М1, нержавеющей стали 12Х18Н10Т и титанового сплава ОТ4 в однородном и разнородном сочетаниях. Диапазон толщин метаемых деталей составил 0,5-2,5 мм.

Магнитно-импульсным способом можно сваривать практически любые материалы за малый промежуток времени, исчисляемый микросекундами, в течение которого происходят только процессы схватывания, диффузионные процессы не успевают развиться. Обладая преимуществами сварки взрывом, данным способ имеет по сравнению с ней ряд достоинств.

Рис. 1.2. Соединения, полученные магнитно-импульсной сваркой.

Это прежде всего возможность плавно управлять процессом, что обеспечивает высокую стабильность свойств сварного соединения за счет точного дозирования энергии разряда и постоянства заданного распределения давления.

При магнитно-импульсной сварке давление магнитного поля может быть локализовано на очень малой длине метаемого элемента, соизмеримой с его толщиной. Поэтому краевые эффекты, присущие сварке взрывом, здесь отсутствуют. Это даёт возможность успешно получать магнитно-импульсной сваркой соединения конструктивных элементов. Можно получать сварные соединения минимальной длины, равнопрочные с основным металлом.

Благодаря особенности магнитного поля проникать через магнитно-прозрачные материалы возможна сварка деталей в среде с заданными свойствами (вакууме, защитной атмосфере и другие) с помощью индуктора, отделённого от этой среды неметаллической оболочкой.

Магнитно-импульсная сварка осуществима в цеховых условиях при высокой культуре производства, возможна широкая механизация и автоматизация этого процесса.

Одной из основных проблем расширения области применения способа магнитно-импульсной сварки является получение сильных импульсных магнитных полей при высокой стойкости индуктора.

Эта задача решается созданием новых и совершенствованием существующих конструкций индукторов, применением высокопрочных материалов как для токопроводов, так и для элементов механического усиления, разработкой новых схем магнитно-импульсных установок и совершенствованием существующих.

Одну из основных трудностей при получении сильных импульсных магнитных полей представляет нагрев индуктора при большой плотности тока. Охлаждение многовитковых индукторов до температуры жидкого азота, гелия и водорода позволяет не только отвести тепло от катушки, но и существенно снизить её активное сопротивление и тем самым повысить ток разряда. При охлаждении жидким гелием удалось, используя маломощный источник (0,2 кДж), получить поле с индукцией 15 Тл.

При периодическом режиме разряда индуктор испытывает ударные нагрузки в течение всего периода прохождения тока, хотя для воздействия на металлическое тело необходима лишь первая четверть периода прохождения тока. При магнитно-импульсной сварке частота колебательного разряда находится в пределах от 10 до 100 кГц, тогда определяемая ею толщина скин-слоя на поверхности индуктора, обращенной к заготовке, будет равна 0,2-0,6 мм. При прохождении тока разряда через такой малый слой металла его нагрев может происходить до температуры плавления. При высоких температурах наступает уменьшение механической прочности индуктора, в результате чего величина индукции магнитного поля, при которой начинается разрушение индуктора, уменьшается.

В связи с этим представляет интерес разработанный способ магнитной обработки проводящих деталей, целью которого является увеличение срока службы индуктора.

Поставленная цель достигается тем, что через индуктор пропускают ток разряда в течение четверти периода, а затем после достижения максимума тока, когда напряжение на индукторе приобретает противоположную полярность, индуктор закорачивают через газоразрядный промежуток. В результате ток в индукторе превращается в квазипостоянный, убывающий по экспоненциальному закону.

При взаимодействии магнитного поля индуктора с деформируемой заготовкой уменьшается влияние нагрева витков индуктора и приложенных к нему механических усилий при полном сохранении импульса, воздействующего на заготовку, без уменьшения энергетического к.п.д. системы. Это объясняется тем, что полезными являются лишь силы, возникающие в первую четверть периода разряда. В результате температура скин-слоя индуктора падает в 5-10 раз и не превышает 200ºС. При этой температуре прочностные свойства индуктора не уменьшаются, как в случае протекания периодического тока. Величина суммарного импульса силы уменьшается в 5-10 раз. Расширяется диапазон полей соленоида и увеличивается срок его службы. Кроме того, при работе в режиме закорачивания индуктивности значительно увеличивается срок службы конденсаторной батареи, уменьшается величина электродинамических сил, возникающих в конденсаторах, снижается их нагрев.

Для определения границ применимости магнитно-импульсной сварки представляет интерес оценка максимально достижимой скорости ускоряемой заготовки.

Процесс ускорения проводника в магнитном поле обусловлен тепловым ограничением скорости. Во время ускорения внешнее магнитное поле постепенно диффундирует в проводящую заготовку, в результате чего возрастает её температура, которая может достичь температуры плавления.

Расчет максимальных скоростей движения тонких металлических листов, ограниченных их плавлением, показывает, что наилучшим для ускорения металлом является алюминий. Для алюминия толщиной 1 мм достижима максимальная скорость 13,7 х 103 м/с, для меди такой же толщины - 8,8 х 103 м/с. Плотность кинетической энергии, соответствующая максимальной скорости, будет равна для алюминиевого листа 250 Дж/мм3, для медного 340 Дж/мм3.

Для расширения области применения способа магнитно-импульсная сварка может осуществляться с использованием «спутников» - дополнительных покрытий плохо проводящих метаемых заготовок со стороны индуктора металлами с высокой электропроводностью [6].

Другим эффективным средством расширения области применения магнитно-импульсной сварки, особенно когда свариваемые материалы обладают повышенными механическими характеристиками, является нагрев метаемой заготовки перед сваркой. В этом случае целесообразно применять специальные установки, в которых возможно сочетание высокочастотного нагрева заготовки с воздействием на неё сильного импульсного магнитного поля. В целях дальнейшего развития процесса необходимо продолжить исследования в трех основных направлениях.

Первое направление связано с более глубоким изучением природы образования сварного соединения, разработкой на его основе расчетных методов определения оптимальных режимов и созданием новых рациональных схем процесса.

Целью второго направления является повышение максимальной напряженности действующего магнитного поля и увеличение эффективности преобразования электрической энергии магнитно-импульсной установки в кинетическую энергию ускоряемой заготовки.

.3 Физические основы магнитно-импульсной обработки металлов

Магнитно-импульсная обработка металлов основывается на использовании сил электромеханического взаимодействия между вихревыми токами, наведенными в стенках обрабатываемой детали при пересечении их силовыми магнитными линиями импульсного магнитного поля, и самим магнитным потоком импульса. В отличие от других известных методов деформирования при магнитно-импульсной обработке электрическая энергия непосредственно преобразуется в механическую и импульс давления магнитного поля действует непосредственно на заголовку без участия какой-либо передающей среды. Это позволяет осуществлять деформирование как в вакууме, так и в любой среде, не препятствующей распространению магнитного поля. В установку для магнитно-импульсной обработки обычно входят зарядное устройство 1, состоящее из высоковольтного трансформатора и выпрямителя, коммутирующее устройство З, включающееся при подаче поджигающего импульса на - вспомогательный электрод и вызывающее разряд батареи высоковольтных конденсаторов 2 на индуктор 4.

Рис. 1.3. Принципиальная схема процесса магнитно-импульсной обработки металлов.

При прохождении разрядного тока через индуктор в окружающем его пространстве образуется электромагнитное поле, которое в соответствии с законом электромагнитной индукции наводит токи в заготовке 5. В результате взаимодействия тока, наведенного в заготовке, с электромагнитным полем индуктора возникают динамические воздействия на заготовку и ее деформация.

Электродинамические силы взаимодействия между индуктором и деформируемой металлической заготовкой зависят от электрических и магнитных характеристик, а также размеров и взаимного расположения индуктора и заготовки.

Для разгона метаемого элемента при магнитно-импульсной сварке необходимо сильное магнитное поле. Энергия, накапливаемая в батарее конденсаторов, сравнительно невелика. Эффективность использования этой энергии на разгон метаемого элемента зависит от правильного расчета электродинамических сил, действующих на индуктор и деформируемую заготовку. Поэтому важно знать основные параметры процесса магнитно-импульсной сварки металлов.

Одним из наиболее важных параметров является энергия, запасаемая в батарее конденсаторов:

W=0,5CU2 (1)

Параметры разрядного контура при магнитно-импульсной обработке подбираются такими, чтобы разряд был периодическим.

В большинстве процессов магнитно-импульсной обработки, в том числе и при магнитно-импульсной сварке, заготовка под действием магнитного поля деформируется, что ведет с изменению w и p вследствие изменения параметров системы индуктор - заготовка. Это значительно усложняет расчет давлений при магнитно-импульсной обработке металлов.

Энергия, накопленная в конденсаторной батарее, при разряде превращается в полезную механическую работу деформаций заготовки и теряется на нагрев цепи.

Полный баланс энергии системы к концу процесса деформации:

W=W1+W2+W3 (2)

Для повышения КПД следует стремиться к уменьшению потерь энергии на нагрев установки, индуктора и заготовки.

Тепловые потери пропорциональны активному сопротивлению, зависящему от глубины проникновения магнитного поля , которая при деформации плоских заготовок должна быть меньше толщины материала заготовки.

При больших частоте разряда и удельной электрической проводимости материала заготовки глубина проникновения магнитного поля невелика и ограничивается поверхностных слоем заготовки.

В расчетах активного сопротивления проводника считают, что ток протекает только в слое с равномерной плотностью и за пределами этого слоя отсутствует.

Точное определение активного сопротивления системы индуктор - заготовка представляет значительные трудности, так как в процессе деформации заготовки вследствие изменения круговой частоты разряда w изменяется толщина скин-слоя, а вследствие нагрева проводников изменяется их удельное сопротивление. Этому

Для упрощения расчетов принимают, что весь ток в проводнике сосредоточен в середине скин-слоя. В связи с этим расчетный зазор между индуктором и заготовкой можно определить соотношением:

zp=zг+0,5(∆и+∆з)

где zг - геометрический зазор между индуктором и заготовкой; ∆и, ∆з - глубина проникновения тока для материалов индуктора и заготовки, определенная по формуле:

∆=√2/(ωμ0σ0)

С увеличением круговой частоты разряда уменьшается активное сечение проводников, а следовательно, увеличивается их активное сопротивление. При магнитно-импульсной сварке или штамповке в металлическую матрицу тонких заготовок проникновение магнитного поля через заготовку приводит к появлению так называемой магнитной подушки. Сущность этого явления состоит в том, что объем поля, проникшего между свариваемыми поверхностями заготовок или между заготовкой и металлической матрицей, уменьшается с уменьшением зазора между ними. Поскольку общий магнитный поток

Ф1=Н Fп

Где Fп - площадь, пронизываемая полем, H - напряженность поля в зазоре между заготовкой и инструментом должен сохраняться, напряженность поля Н в зазоре при деформации заготовки будет увеличиваться и может достичь значений, при которых будет наблюдаться резкое снижение скорости деформирования.

Во избежание появления «магнитной подушки» длительность импульса магнитного поля не должна превышать длительность деформирования заготовки, или tд < tм, где tд - время, необходимое для перемещения трубчатой заготовки на требуемую величину; tм - длительность импульса, при которой магнитное поле не проникает на значительную глубину в стенку трубчатой заготовки.

«Магнитная подушка» может появиться также при обжиме трубчатой заготовки на неметаллической оправке или без оправки.

Наиболее широко применяют способ деформирования при магнитно-импульсной обработке металлов, основанный на использовании динамических усилий отталкивания, возникающих между индуктором и заготовкой при разряде батареи конденсаторов через индуктор. [11]

.4 Параметры магнитно-импульсной сварки

Как уже отмечалось, процесс сварки в условиях высокоскоростного соударения можно регулировать изменением скорости соударения, скорости движения фронта контакта и угла соударения поверхностей. Эти параметры при определенных значениях обеспечивают необходимое давление при соударении свариваемых поверхностей, локальность и последовательное перемещение зоны контакта. Поэтому они могут быть приняты в качестве основных динамических параметров магнитно-импульсной сварки. Параметры, определяющие действие импульсного магнитного поля на метаемый элемент. Давление магнитного поля в каждом сечении метаемого элемента р(хt) зависит от различных факторов:

) Длины l и числа витков N индуктора; 2) напряжения разряда U, емкости батареи конденсаторов С, энергии разряда W, индуктивности разрядного контура L, активного сопротивления разрядного контура ra; 3) угла продольном сечении системы индуктор - заготовка, под которым видна длина индуктора из точки на поверхности оболочки, на расстоянии Х , площади внутренней полости кондуктора Fв в поперечном сечении, суммы площадей F зазора между индуктором и оболочкой и внутренней полости индуктора в поперечном сечении.

Влияние перечисленных параметров на величину давления магнитного поля не является однозначным из-за связи их друг с другом. Например, повышение давления в результате увеличения числа витков индуктора будет происходить до определенной величины, так как одновременно будет возрастать индуктивность разрядного контура. Обычно изменение давления магнитного поля достигается изменением напряжения на батарее конденсаторов при неизменной емкости батареи конденсаторов.

Действующее на метаемый элемент давление магнитного ноля изменяется во времени с частотой колебаний или с круговой частотой:

ω=1/√LC=2πf

При ускорении метаемого элемента вследствие изменения параметров системы индуктор - заготовка происходит увеличение индуктивности разрядного контура. Это приводит к уменьшению частоты разряда и увеличению скин-слоя. ∆=√2/(ωμ0σ0). Вследствие этого активное сопротивление разрядного контура уменьшается.

Важной характеристикой процесса, определяющей характер распределения давления магнитного поля вдоль метаемого элемента, является расположение его относительно индуктора. Оно может быть различным: индуктор может выступать за свободный конец метаемого элемента, совпадать с ним или быть утопленным. Изменение положения индуктора влияет на распределение давления магнитного поля вдоль метаемого элемента, что в свою очереди приводит к перераспределению радиальных скоростей движения и изменению образующей метаемого элемента в процессе движения. Это отражается на характере соударения свариваемых поверхностей и основных параметрах соударения.

Параметры, определяющие соударение заготовок. При магнитно-импульсной сварке чаще всего трубчатые заготовки метают на цилиндрические поверхности.

Метаемая заготовка характеризуется следующими параметрами: l0-длиной метаемого элемента; Rв, Rн - внутренним и наружным радиусами метаемой заготовки; S0 - толщиной материала метаемого элемента; cl0 - скоростью звука в материале; ро - плотностью материала; Sн - толщиной материала; clн -скоростью звука в материале.

От совокупности l0, ро, S0, R0 зависит масса метаемого элемента, являющаяся мерой инерции тела при его разгоне.

Удельная электрическая проводимость материала метаемого элемента при данной круговой частоте разряда характеризует глубину проникновения магнитного поля в материал метаемого элемента ∆ . Глубина проникновения магнитного поля в сопоставлении с толщиной деформируемого материала является показателем эффективности действия давления импульсного магнитного поля на метаемый элемент.

Важную роль играют параметры, характеризующие свойства материалов соударяющихся тел. При соударении области высоких давлений важной является характеристика соударяемых материалов. Длительность существования высокого давления, определяемая временем прихода волны разгрузки 2S0/cl0, зависит от скорости звука в материале и толщины материала заготовки. Когда давление в области соударения снижается, важным становится влияние параметров, характеризующих теллоотвод из области соударения, а также физико-механические свойства соударяемых материалов.

Параметры, определяющие взаимную начальную ориентацию соударяемых поверхностей. К ним относятся δ0 - зазор между соударяемыми поверхностями и α0 - угол между соударяемыми поверхностями. Эти параметры непосредственно влияют на кинематику движения метаемого элемента.

Для сообщения метаемому элементу требуемой скорости под действием давления магнитного поля необходим зазор между участками свариваемых поверхностей для разгона отдельных участков метаемого элемента. Этот зазор вследствие расположения свариваемых поверхностей под начальным углом α0 друг к другу различен по длине метаемого элемента и равен:

магнитный импульсный сварка металл

Δ = δ0+lxtg α0

где lx - расстояние от вершины угла α0 до рассматриваемого радиального сечения.

При всех способах сварки в условиях высокоскоростного соударения существует оптимальный интервал скоростей соударения, определяемый природой свариваемых материалов и релаксационной стойкостью их в зоне соединения. Чрезмерно высокая скорость соударения вызывает, в частности, периодическое разрушение контактируемых поверхностей, снижающее прочность сварного соединения.

От правильного выбора угла соударения у зависят условия волнообразования и формирования поверхностной струи, очищающей свариваемые поверхности, характер пластической деформации в зоне контакта. Угол соударения влияет на скорость движения фронта контакта, от которого также зависит характер пластической деформации металлов соударяемых поверхностей.

Для определения зависимости скорости движения фронта контакта от скорости угла соударения рассмотрим схему соударения элемента с неподвижной поверхностью в некоторый момент времени, это рисунок 1.5.

Рис. 1.5. Геометрическая картина соударения метаемого элемента в некоторый момент времени.

Обычно при магнитно-импульсной сварке образующая метаемого элемента в процессе его движения искривляется, вследствие чего скорость νк в процессе соударения не остается постоянной, а меняется с изменением γ даже при движении всех участков метаемого элемента с постоянной скоростью в направлении неподвижной поверхности. Скорость соударения ν определяется давлением магнитного поля на метаемый элемент, характером его распределения и частотой изменения. Кроме того, ν зависит от геометрических размеров метаемого элемента, физико-механических характеристик его материала, а также от начального зазора между свариваемыми поверхностями δ0 и начального угла α0 между ними. Вследствие неравномерного распределения давления магнитного поля вдоль образующей метаемого элемента различные участки его движутся с разным ускорением. Поэтому метаемый элемент, имеющий первоначально прямолинейную образующую, в процессе ускорения принимает выпуклую форму с непрерывно увеличивающейся кривизной, обращенной в сторону неподвижной свариваемой детали. Исследования показали, что величина ν при сварке изменяется по длине метаемого элемента. Вместе с тем происходит изменение угла соударения γ и, как следствие, изменение скорости νк. Поэтому процесс соударения при магнитно-импульсной сварке в отличие от сварки взрывом нельзя считать стационарным. Несмотря на указанные особенности, процессы образования кумулятивной струи и волнообразования на контактных поверхностях при магнитно-импульсной сварке, по-видимому, аналогичны со сваркой взрывом. Это подтверждается идентичностью микрофотографий сварных соединений, полученных при указанных способах сварки. Поэтому для рассмотрения процессов образования кумулятивной струи и волнообразования воспользуемся известными работами в области сварки взрывом.

Образование волн в зоне соединения обычно связывают с поведение кумулятивной струи. Считают, что образование волн в условиях высокоскоростного соударения - явление гидродинамическое. Однако единой точки зрения по этому вопросу нет.

При скоростях соударения 102 - 103 м/с давление, развивающееся в зоне контакта, значительно превосходит прочность металла. В этих условиях соударяющиеся металлы как бы находятся в квазижидком состоянии и поведение их может быть объяснено с позиций гидродинамики идеальной несжимаемости жидкости. Если воспользоваться системой координат, связанной с точкой контакта, то процесс соударения свариваемых металлов можно представить как взаимодействие потока жидкости с подвижным вязким дном.

Основной поток, падающий на первоначально недеформированную поверхность со скоростью ν/tgγ, разделяется на передний поток и противоположно направленную кумулятивную струю в соответствии с известным механизмом взаимодействия струи с недеформируемой плоской преградой. В окрестности точки торможения начинается деформирование материала неподвижной пластины с образованием бугра деформации перед точкой контакта, которое показано на рисунке 1.6 а. Вытеснению металла в этом направления способствует развитие тангенциальных сил, вызванных встречным движением основания и кумулятивной струи. Перемещение бугра со скоростью точки контакта νк в ‘вызывает его рост и приближение к точке О, рисунок 1.6 б. В результате происходит пересечение бугром кумулятивной струи, рисунок 1.6 в. Захваченные части струй образуют вихри, которые часто можно наблюдать вблизи поверхности раздела. После отсечения части кумулятивной струи точка торможения перемещается на вершину бугра и образуется новая кумулятивная струя, направленная вперед, рисунок 1.6 г. Она достигает невозмущенной поверхности, образуется вторая точка торможения, которая показана на рисунке 1.6 д, часть струи закручивается, образуя вторую вихревую зону. Образовавшаяся конфигурация продолжает двигаться вправо и процесс повторяется.

Рис.1.6. Образование комулятивной струи и волнообразование в условиях высокоскоростного соударения.

Представляет интерес механизм возбуждения волн. Эксперименты показывают, что волнообразование начинается не сразу в точке соударения, а на некотором расстоянии от нее. А.А. Дерибас высказал предположение, что таким источником может быть волна разряжения, отраженная от свободной поверхности верхней пластаны и догоняющая точку контакта. Она порождается в свою очередь ударной волной, вызванной соударением в начальный момент времени. [13]

1.5 Определение основных параметров процесса магнитно-импульсной сварки

Для установления значений динамических параметров магнитно-импульсной сварки проводили исследования по схеме, представленной на рисунке. Метаемый цилиндрический образец А с наружной поверхностью радиусом Rн надевался на индуктор. Неподвижный плоский образец Б устанавливался на жестком основании на расстоянии от наружной поверхности метаемого. Трубчатые образцы наружным диаметром 58 мм, длиной 36 мм при толщине стенки 1,5 мм изготавливали из сплава АД1.

Сварку осуществляли на магнитно-импульсной установке МИУ-20ХПИ в специальном приспособлении для точной установки метаемого образца относительно индуктора и неподвижного образца. Поверхности неподвижных образцов перед сваркой обезжиривали ацетоном, а поверхности образцов из сплава ОТ4-1 и меди М1, кроме того, защищали проволочной щеткой. Сваренные образцы подготавливали для замеров геометрических параметров зоны соединения. С этой целью не сваренные участки метаемого образца из сплава АД1 отрывали от неподвижного образца. На рис. схематически показан неподвижный образец, подготовленный для замеров геометрических параметров зоны соединения.

Характерные зоны на поверхности неподвижного образца аналогичны зонам на свариваемых трубчатых деталях/

- зона первого контакта- зона, предшествующая образованию соединения; зона II представляет кольцо шириной aн-a0зона неразъемного соединения (на этом участке неподвижный образец прочно сварен с метаемым, ширина зоны акн. Указанные зоны образуются в результате соударения. [5]

2. Технология и оборудование магнитно-импульсной сварки

.1 Инструмент и оснастка

Индуктор - основной инструмент при магнитно-импульсной сварке - обычно состоит из токопроводящей спирали, токоподводов, изоляции и элементов механического усиления.

Индукторы, используемые в установках магнитно-импульсной сварки, в зависимости от назначения можно разделить на три вида: для обжима, раздачи трубных и деформации плоских заготовок.

Главный элемент индуктора - токопроводящая одно- или многовитковая спираль - служит для образования импульсного магнитного поля с заданными параметрами. Форма рабочей поверхности спирали с эквидистантным зазором повторяет форму исходной заготовки.

Одновитковые индукторы значительно прочнее и проще в изготовлении, чем многовитковые. Другой особенностью одновитковых индукторов является возможность получения более высокой частоты тока разряда. При повышенной частоте разряда та же величина скин-слоя может быть достигнута в материалах с меньшей электропроводностью. Снижению требований к электропроводности материал одновитковых индукторов способствует также уменьшение пути прохождения тока в индукторе. Таким образом, одновитковые индукторы могут быть изготовлены из материалов с повышенным удельным электрическим сопротивлением и высокой механической прочностью, в частности из стали и вольфрама.

Другим недостатком одновитковых индукторов, который присущ также концентраторам магнитного поля, является наличие радиального паза, разделенного изоляцией. Радиальный паз искажает поле в его окрестности, что влияет на качество сварного соединения. Поэтому ширина паза должна быть минимальной.

Для устранения неравномерности магнитного поля в концентратор вставляют медные кольца или пластины, изолированные друг от друга. В каждом из указанных элементов наборного концентратора имеется радиальный таз; лавы смещены один относительно другого. Инициируемый во втором кольце ток позволяет обеспечить равномерное распределение давления по поверхности заготовки.

Вследствие указанных недостатков одновитковые индукторы применяют ограниченно. Однако с созданием высокочастотных магнитно-импульсных установок область применения их должна увеличиться.

Различают индукторы разового и многократного действия (постоянные).

Индукторы разового действия - спирали из медной шины прямоугольного сечения предварительно покрытой изоляцией. Механические усиления этих индукторов от электродинамических сил обычно отсутствуют.

Постоянные индукторы в результате применения специальных механических усилений и более прочной изоляции могут без разрушения выдерживать несколько тысяч разрядов. Индукторы постоянного действия должны обеспечивать высокий коэффициент преобразования электрической энергии в кинетическую энергию метаемого элемента и обладать экономически целесообразной стойкостью.

Первое требование обеспечивается подбором оптимальных параметров спирали применительно к заданным условиям сварки и характеристикам магнитно-импульсной установки.

Удовлетворение второму требованию является наиболее трудной задачей, так как индукторы во время работы находятся в сложных условиях интенсивного механического и теплового нагружения и высокого напряжения.

Созданию эффективной конструкции индуктора для обжима труб способствует его наружное расположение относительно заготовки.

Вследствие эффекта близости и окна-эффекта разрядный ток сосредоточивается во внутренних слоях витков индуктора. Поэтому увеличение сечения витков в радиальном направлении приводит к незначительному снижению напряженности магнитного поля в зоне деформации, что позволяет изготовлять спираль индуктора для обжима труб достаточно массивной и прочной. Толщина ваза между токоподводами с целью снижения паразитной индуктивности на участке от токоподводов до рабочего отверстия выдерживается минимально допустимой из условий механической и электрической прочности изоляции.

В ряде случаев, например, при больших емкостях накопителя и невысоких напряжениях применяют многовитковые индукторы. Они состоят из токоведущей спирали и элементов усиления. Спирали многовитковых индукторов могут быть навиты из шины или выточены на дельной заголовки.

Количество витков многовитковых индукторов ограничивается длиной метаемого элемента (которая при выполнении конструктивных соединений не превышает 15-25 мм) и минимально допустимой шириной витка по величине плотности разрядного тока. Если по условиям согласования необходимо большее число витков индуктора, возможно применение концентраторов магнитного поля.

Длина центрального отверстия концентратора, как правило, меньше его наружной поверхности. Вследствие этого поперечное сечение слоя, по которому наведенный в концентраторе ток обтекает внутреннее отверстие, значительно меньше наружного. Это приводит к увеличению плотности тока и напряженности магнитного поля во внутренней части концентратора и достижению эффекта концентрации магнитного поля на деформируемом участке заготовки. Благодаря этому эффекту удается значительно снизить нагрузки на спираль и повысить стойкость индуктора для обжима трубчатых заготовок.

Из-за наличия в конструкции индуктора электроизоляции и механического усиления с низкой теплопроводностью увеличивается время, необходимое для охлаждения индуктора между разрядными импульсами, и снижается производительность процесса.

Необходимый тепловой режим работы может быть обеспечен охлаждением спирали индуктора водой или другой охлаждающей средой, пропускаемой через специальные каналы в индукторе. Это устройство было разработано для магнитно-импульсной сварки, в котором центральная часть многовиткового индуктора выполнена в виде концентратора, наклонный разрез которого совпадает с межвитковым зазором.

Создание такого индуктора-концентратора позволило уменьшить рассеивание магнитного поля в ранее существовавшем зазоре между индуктором и вводимым в него концентратором.

Применение индуктора-концентратора упрощает систему охлаждения, так как концентратор является витком индуктора. Ранее индуктор и концентратор охлаждались автономно. Система охлаждения индуктора-концентратора позволяет значительно удлинить срок его службы благодаря замедлению старения межвитковой изоляция. Для создания канала охлаждения индуктора в его витках выполнен паз, закрытый лентой.

Условия работы индукторов для раздачи труб и для обжима различны. Это отличие заключается в том, что часть разрядного тока протекает по внутренним слоям спирали и не создает давления на деформируемую заготовку. Это снижает эффективность деформирования по сравнению с обжигом труб, что особенно заметно при уменьшении их диаметра. По этой причине до настоящего времени не создано эффективных конструкций постоянных индукторов для раздачи труб диаметром менее 25 мм.

Для повышения к.п.д. процесса раздачи труб необходимо уменьшить сечение витков спирали индуктора в радиальном направлении, что, однако, снижает его механическую прочность.

Специфика магнитно-импульсной сварки в отличие от штамповки является высокая степень концентрации давления на относительно небольших участках. Это приводит к техническим трудностям при изготовлении индуктора малой длины с большим числом витков. В случае наружного расположения индуктора относительно метаемой детали эти трудности можно разрешить, применив специальные концентраторы магнитного поля. При расположении индуктора внутри метаемой трубы, когда концентраторы неэффективны, приходится руководствоваться не оптимальным количеством витков, а конструктивно возможным. При этом следует учитывать, что уменьшение шага намотки при постоянном зазоре между витками, определяемом толщиной изоляции, ведет к увеличению неравномерности давления магнитного поля вдоль метаемого элемента.

Стойкость индуктора в значительной степени зависит от качества применяемой изоляции, ее электрической и механической прочности. Изоляцию многовиткового индуктора можно разделить на главную (изолирующую индуктор от заготовки) и межвитковую.

К главной изоляции прикладывается полное напряжение магнитно-импульсной установки, поэтому она должна обладать высокой электрической прочностью. Кроме того, она должна быть достаточно упругой, обеспечивающей возможность деформирования витков спирали в пределах упругих деформаций.

Межвитковая изоляция в многовитковых индукторах работает при сравнительно небольших напряжениях, но в условиях больших сжимающих динамических сил вследствие действия между боковыми поверхностями витков спирали притягивающих усилий. Применение в качестве главной изоляции материалов с высокой диэлектрической прочностью позволяет уменьшить зазор между индуктором и заготовкой и, таким образом, повысить к. п. д. процесса разгона метаемого элемента. Межвитковая изоляция, помимо диэлектрической прочности, должна обладать еще необходимой жесткостью и прочностью на сжатие.

Этим требованиям в значительной степени удовлетворяет армированный стеклопластик, пропитанный эпоксидной, эпоксиполисульфидной или эпоксифенольной смолой. Такая изоляция обладает не только хорошими изоляционными свойствами, но и высокой механической прочностью.[9]

2.2 Установки для магнитно-импульсной сварки

Установки для магнитно-импульсной обработки металлов представляют собой генераторы импульсных токов (ГПТ) емкостного типа с индуктивной нагрузкой. На рисунке представлена одна из наиболее распространенных функциональных схем магнитно-импульсных установок. Установка состоит из накопителя энергии 1, коммутирующего устройства 2, зарядного устройства З, задатчика напряжений 4. блока поджига 5, индуктора 6.

Накопитель энергии представляет собой батарею импульсных конденсаторов, соединенных между собой плоской или кабельной ошиновкой.

В качестве коммутирующих устройств в магнитно-импульсных установках применяют: вакуумные разрядники, разрядники под давлением, разрядники при атмосферном давлении и игнитроны.

Воздушные разрядки применяют при рабочих напряжения установок 10-20 кВ. Вакуумные и газонаполненные тригатроны обладают ‘некоторыми преимуществами по сравнению с воздушными, но их работа связана с оборудованием для восстановления вакуума или давления в газоразрядной камере после каждого разряда, что снижает производительность установок.

Известно применение в качестве разрядников специальных импульсных игнитронов. Они обладают рядом преимуществ перед воздушными и вакуумными разрядниками.

При магнитно-импульсной обработке металлов и, в частности, при сварке токи разряда достигают нескольких сотен тысяч ампер, поэтому основным требованием, предъявляемым к коммутатору, является его долговечность. Вместе с тем коммутатор должен обладать малой индуктивностью. малым сопротивлением и быстродействием.

Питание накопителей магнитно-импульсных установок постоянным током производится через зарядные устройства.

Зарядное устройство состоит из повышающего трансформатора, токоограничивающего элемента, выпрямителя и аппаратуры защиты и управления. Повышающие трансформаторы (обычно масляного наполнения) могут быть однофазными и трехфазными. Чаще всего применяют однополупериодную схему выпрямления. Используют серийные трансформаторы ОМ 10/6, ОМ 4/6, ОМ 1,2/6, ТР 0,38/6 и т. п. Токоограничивающими элементами обычно служат активные или емкостные сопротивления, а также другие устройства.

В качестве выпрямителей используют кремниевые диоды д247, д248, так как они надежны и отличаются большим сроком службы, высоким к.п.д. и хорошей перегрузочной способностью.

Управляют установкой с пульта посредством аппаратуры управления, контроля и сигнализации. Импульс высокого напряжения на включение коммутатора поступает от устройства поджига. Блоком поджига можно управлять вручную или автоматически. В автоматическом Режиме работы величина запасаемой энергии устанавливается с помощью задатчика напряжений. При достижении требуемого напряжения зарядки поступает командный импульс на включение блока поджига. Магнитно-импульсная установка компонуется, как правило, из зарядного и разрядного блоков. В зарядный блок входят высоковольтный трансформатор, выпрямитель, блок поджига и все узлы автоматики. В разрядный блок входят накопитель энергии, коммутирующее устройство, индуктор и ошиновка.

В связи с требованиями малой собственной индуктивности установок одной из наиболее важных проблем при их конструировании является выбор ошиновки плоских шин или коаксиальных кабелей. В первом варианте собственная индуктивность установки меньше, чем во втором, однако при плоской ошиновке нельзя произвольного изменять количество подключенных конденсаторов.

Одной из наиболее важных характеристик магнитно-импульсных установок является их производительность, зависящая от скорости зарядки конденсаторов величины запасаемой энергии и применяемых устройств для подачи заготовок в рабочую зону и их удаления. При ручной подаче заготовок в рабочую зону индуктора производительность обычно не превышает 300-400 деталей в час.

Эти цифры могут быть значительно выше в условиях массового производства, когда установки снабжены специальными автоматическими устройствами для подачи заготовок и удаления готовых соединений.

При разработке технологического процесса магнитно-импульсной сварки важен выбор типа магнитно-импульсной установки, так как диапазон основных параметров установок весьма широк.

При магнитно-импульсной штамповке к концу процесса деформирования скорость заготовки должна быть минимальной, а при магнитно-импульсной сварке она должна достигать максимального значения. Ускорение метаемой заготовки зависит от величины, скорости нарастания магнитного поля.

Следовательно, в установках, где собственная индуктивность контура значительно больше. Для получения максимального значения скорости нарастания поля необходимо увеличивать число витков до тех пор, пока индуктивность системы индуктор- заготовка не сравняется с собственной индуктивностью контура.

Применение одновитковых индукторов, в особенности при малых диаметрах, обусловливает высокие требования к параметрам магнитно-импульсной установки: при индуктивности индуктора порядка 10-8 - 10-7 Г собственная индуктивность установки должна быть по крайней мере на порядок меньше.

Следует отметить, что, применяв импульсный трансформатор, можно повысить коэффициент использования магнитно-импульсной установки с одновитковым индуктором. Так, при применении кабельного трансформатора с числом витков 15 коэффициент использования равен 65 %. Изготовление для этой же цели многовитковой катушки в данном случае было бы весьма сложной задачей, так как напряжение на батарее конденсаторов на этих опытах составляло 100 кВ.

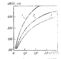
На рисунке 2.1 представлены расчетные зависимости dR/dt=f(∆R) процесса ускорения при раздаче трубчатых заготовок на магнитно-импульсных установках МИУ-20 (кривая 1), МИУ-50 (кривая 2), МИУ-100 (кривая З).

Видно, что ускорение заготовки с помощью установки МИУ-20 происходит наиболее интенсивно. Так, например скорость 400 м/с на установке МИУ-20 достигается при радиальном перемещении 1,2 мм, на установке МИУ-50 - при перемещении 2,3 мм, а на установке МИУ-100-при перемещении 3,8 мм. Кроме того, ускорение трубчатой заготовки МИУ-20 обеспечивает наибольшие скорости движения во всем диапазоне рассмотренных перемещений ∆R, а следовательно и наибольшие к.п.д. процесса разгона.

Рис.2.1. Расчетные зависимости dR/f(∆R).

Рассмотренный пример не позволяет дать определенных рекомендаций по выбору магнитно-импульсных установок путём сравнения их характеристик. Выбор установки должен производиться для определённых условий сварки (скорости соударения, величины зазора, размеров системы индуктор - заготовка и другие).

При серийном производстве магнитно-импульсные установки должны быть достаточно универсальны для получения сварных соединений различных типоразмеров. [8]

.3 Схемы магнитно-импульсной сварки и классификация сварных соединений

Схемы магнитно-импульсной сварки можно классифицировать по величине начального угла a0 между свариваемыми поверхностями и расположению индуктора относительно метаемой детали.

Данная классификация позволяет выделить шесть принципиально отличных схем магнитно-импульсной сварки.

Рис. 2.2. Возможные схемы осуществления магнитно-импульсной сварки: 1 - метаемая деталь; 2 - неподвижная деталь; 3 - индуктор.

Схемы I, II,, III и IV осуществляются при а0>О. При этом угол а0 может быть создан как за счет метаемой детали (схемы I и II), так и за счет неподвижной детали (схемы III и IV).Схемы V, VI осуществляются при а0=О.

Перед сваркой соединяемые поверхности деталей обезжиривают, зачищают проволочной щеткой и устанавливают в приспособление согласно одной.

При сварке по схеме I конец метаемой трубы в форме сужающегося усеченного конуса входит в цилиндрическое отверстие детали (трубы) 2. Снаружи на деталь 2 надевается разъемное кольцо, предотвращающее ее деформацию в зоне сварки. Если деталь 2 выдерживает импульсное давление сварки без остаточной деформации, необходимости в разъемном кольце нет. Внутрь свариваемого конца трубы 1 устанавливают индуктор З.

При сварке по схеме II конец метаемой трубы 1 в форме расширяющегося усеченного конуса устанавливается на поверхности трубы или детали 2 с цилиндрической наружной поверхностью на конце. Если тонкостенная труба 2 не может выдержать импульсное давление сварки без остаточной деформации, ее свариваемый участок заполняют каким-либо твердым материалом. На свариваемый конец трубы 1 устанавливают индуктор З.

При сварке по схеме III труба 1цилиндрическим концом вставляется в отверстие детали (трубы) 2, выполненное в виде усеченного конуса. При необходимости снаружи на деталь 2, как и при сварке по схеме I, надевается разъемное кольцо.

При сварке по схеме IV труба 1 цилиндрическим концом устанавливается на детали (трубе) 2, имеющей в зоне свари участок в виде усеченного конуса. Если деталь 2-тонкостенная труба- не выдерживает импульсного давления сварки без остаточной деформации, ее свариваемый участок заполняют каким-либо твёрдым материалом. На свариваемый конец трубы 1 устанавливают индуктор 3.

При сварке по схеме V труба 1 цилиндрическим кондом вставляется в отверстие детали 2, имеющее в зоне сварки цилиндрический участок. Снаружи на деталь 2, как и при сварке по схеме 1, при необходимости надевают разъемное кольцо. Внутри свариваемого конца трубы 1 устанавливают индуктор 3.

При сварке по схеме VI труба 1 цилиндрическим концом устанавливается на детали 2, имеющей в зоне соединения участок с цилиндрической наружной поверхностью, деталью 2 может быть труба или любая другая деталь, имеющая цилиндрическую наружную свариваемую поверхность. Если деталью 2 является тонкостенная труба, которая не выдерживает импульсное давление сварки без остаточной деформации. [3]

2.4 Методы контроля сварных соединений

Существующий уровень технологии магнитно-импульсной сварки не может гарантировать полное отсутствие дефектов в сварных соединениях. Они могут быть вызваны неконтролируемым отклонением технологических факторов (качество поверхностей деталей, точность взаимного расположения свариваемых поверхностей и т. п.), произвольным колебанием параметров режима сварки при работе магнитно-импульсной установки.

Для современного обнаружения дефектов и принятия соответствующих мер по их устранению необходим систематический контроль всех этапов производства сварных соединений.

Разработанные в настоящее время методы контроля соединений, получаемых контактной сваркой могут успешно применяться для контроля соединений, изготовляемых магнитно-импульсной сваркой.

На рисунке 2.3 показаны биметаллические образцы, полученные магнитно-импульсной сваркой (12Х18Н10Т+АД1), после испытания магнитным полем. В этом случае слой с хорошей электропроводностью расположен снаружи. Видно, что на двух образцах слева обнаружены местные непровары. На этих участках контролируемый слой деформировался. На правом образце разрушение при той же энергии разряда отсутствовало, что свидетельствует о качественном соединении по всей поверхности. Следует отметить, что подбор режимов контроля в данном случае обеспечил отсутствие деформации соединений и сохранение их размеров.

Рис. 2.3. Соединения 12Х18Н10Т+АД1, полученные магнитно-импульсной сваркой, после контроля магнитным полем.

Метод контроля соединений магнитным полем обладает рядом преимуществ: возможен как разрушающий так и не разрушающий контроль; давление равномерно по всей площади контролируемого соединения; метод прост, высокопроизводителен; процесс контроля может быть автоматизирован. Однако этот метод применим только для контроля соединений из металлов в сплавов с разной электропроводностью, что ограничивает область его применения.

На одной из поверхностей контролируемого соединения возбуждают ударную волну или волну сжатия. Волна, пройдя последовательно сквозь одну деталь, зону соединения и другую деталь, выходит на свободную поверхность последней.

Отразившись от нее, волна сжатия трансформируется в волну разгрузки, которая является волной растяжения. Волна растяжения последовательно проходит путь волны сжатия в обратном направлении, нагружая растягивающими усилиями сварное соединение. [12]

2.5 Технологическая схема магнитно-импульсной сварки

Существуют три основные схемы магнитно-импульсного деформирования с использованием индуктора:

) обжим трубчатых заготовок индуктором, охватывающим заготовку;

) раздача трубчатых заготовок индуктором, помещенных внутрь заготовки;

) деформирование листовых заготовок плоским индуктором.

Эти схемы деформирования, широко применяемые в операциях штамповки, можно использовать при магнитно-импульсной сварке.

При деформировании давлением импульсного магнитного поля можно использовать импульсный понижающий трансформатор, разновидностью которого является кабельный трансформатор.

Основной элемент этого трансформатора - высоковольтный коаксиальный кабель 2, намотанный в виде спирали.

Рис. 2.4. Кабельный трансформатор в цепи разряда магнитно-импульсной установки.

На каждом витке спирали проводящая оболочка кабеля срезана на небольшой длине так, что срезы расположены друг над другом, а их края соединены с плоскими шинами З или кабелями, соединяющими трансформатор с нагрузкой. При разряде батареи конденсаторов 1 первичный ток протекает по жиле кабеля, через концевые участки оболочки, сборные шины и нагрузку. В оболочке каждого из витков индуктируется э. д.с., создающая вторичный ток. Через нагрузку протекает суммарный ток.

Кабельные понижающие трансформаторы в ряде случаев позволяют существенно увеличить коэффициент использования конденсаторной батареи за счет лучшего согласования параметров индуктора и магнитно-импульсной установки, что особенно важно при использовании малоиндуктивных одновитковых индукторов с целью получения сильного импульсного магнитного поля.

Используя трансформаторы этого типа с различным числом витков и одну конденсаторную батарею, можно получить импульсы тока различной частоты.

К недостаткам кабельных трансформаторов следует отнести дополнительные омические и индуктивные потери, а также повышение стоимости системы.

Другой разновидностью импульсного понижающего трансформатора является концентратор магнитного потока, который широко применяется для обжима трубчатых заготовок. Схема деформирования с применением концентратора потока представлена на рис. Между индуктором 1 и деформируемой трубчатой заготовкой З помещен концентратор потока 2 - массивный металлический виток с радиальным разрезом.

Рис. 2.5. Схема деформирования с применением концентратора магнитного потока.

При разряде батареи конденсаторов на индуктор в концентраторе наводится ток ik, кратный числу витков индуктора. Направленный навстречу току индуктора ток ik вследствие скин-эффекта сосредоточивается поверхностном слое Sk. Из-за радиального разреза ток ik не замыкается по внешней поверхности, а направляется во внутреннюю полость концентратора, где, взаимодействуя с заготовкой З, наводит в ней ток ik.

Уменьшая ширину зоны взаимодействия концентратора с заготовкой, можно локализовать давление магнитного поля на небольшом участке заготовки.

Вместе с тем становится возможной унификация деформирующего инструмента: использование сменных концентраторов для заготовок различных размеров при одном индукторе.

Существенным достоинством этой схемы деформирования является уменьшение удельных усилий на индуктор по сравнению с усилиями, действующими на обрабатываемую заготовку, что позволяет достигать больших давлений.

Использование концентратора потока, так же как и кабельного трансформатора, вызывает потери энергии. С этой точки зрения он менее эффективен, чем одновитковый индуктор, на который непосредственно разряжается конденсаторная батарея. Поэтому схему деформирования с концентратором потока целесообразно применять, когда по условиям согласования нагрузки с параметрами магнитно-импульсной установки требуется многовитковый индуктор, а длина индуктора по конструктивным соображениям не может быть уменьшена до требуемой длины зоны деформирования. Кроме того, радиальный разрез изменяет распределение магнитного поля, несколько уменьшая его в этой области.

В рассмотренных способах деформирования ток в заготовке наводится индуктором. Деформацию можно также осуществлять контактным способом, пропуская разрядный ток через заготовку и специальный электрод.

Деформирование контактным способом ограничено трудностями обеспечения надежного контакта между заготовкой и электродом в условиях движущейся заготовки и больших значениях тока по сравнению со способами деформирования с помощью индуктора.

Представляет интерес способ деформирования трубчатых заготовок с использованием электродинамических сил притяжения к индуктору, охватывающему заготовку, при котором используется так называемый срез импульсного тока. Деформирование при этом осуществляется импульсами разрядного тока, имеющими пологий фронт и крутой спад. Магнитное поле должно нарастать настолько медленно, чтобы перепад его не создал давления, превышающего предел текучести материала заготовки. После того как поле достигло определенного значения, оно должно быстро исчезать.

Поскольку поле со стороны проводящей заготовки, противоположной индуктору, будет уменьшаться значительно медленнее, оно деформирует заготовку в направлении индуктора. Для получения импульса магнитного поля такого вида требуются установки, оснащенные специальными устройствами для быстрого уменьшения магнитного поля в заданный момент.

Способ деформирования, основанный на использовании притягивающих усилий, целесообразно применять, когда нельзя расположить на заготовке индуктор для осуществления деформаций, основанных на использовании отталкивающих усилий. До настоящего времени нет данных о применении этого способа деформирования, видимо, потому, что в этом случае для деформирования требуется гораздо больше энергии, чем при использовании отталкивающих усилий, так как деформация и разгон заготовки начинаются при максимальном зазоре, что снижает к.п.д. процесса.

Хорошая проводимость деформируемых заготовок является одним из основных условий магнитно-импульсной обработки металлов, так как магнитное поле индуктора интенсивно воздействует на заготовку лишь в случае, если поле не успевает проникнуть сквозь стенки заготовки за время разряда. Поэтому плохо проводящие электрический ток материалы обрабатывают, используя покрытия с хорошей проводимостью.

Эффективность магнитно-импульсной обработки, особенности материалов с повышенными механическими характеристиками, можно повысить их предварительной горячей магнитно-импульсной обработкой - высокочастотным нагревом одновременно с воздействием сильных импульсных магнитных полей. В этом случае индуктор вначале служит для нагрева заготовки токами высокой частоты, а затем используется как деформирующий инструмент. Увеличение электрического сопротивления с повышением температуры нагрева обрабатываемых деталей, как правило, оказывает меньшее влияние на процесс деформирования деталей, чем уменьшение сопротивления пластической деформации. Поэтому при магнитно-импульсной обработке с предварительным нагревом деталей токами высокой частоты можно обеспечить значительно большие деформации, чем без нагрева. [14]

3. Инновации магнитно-импульсной сварки

Инновационная деятельность - это вид деятельности, связанный с трансформацией идей в новый или усовершенствованный продукт, внедренный на рынке, в новый или усовершенствованный технологический процесс, использованный в практической деятельности, либо как новый подход к социальным услугам.

Различают несколько видов инноваций:

•технические появляются в производстве продуктов с новыми или улучшенными свойствами;

•технологические возникают при применении более совершенных способов изготовления продукции;

•организационно-управленческие связаны с процессами оптимальной организации производства, транспорта, сбыта и снабжения;

•информационные решают задачи рациональной организации информационных потоков в сфере научно-технической и инновационной деятельности, повышения достоверности и оперативности получения информации;

•социальные направлены на улучшение условий труда, решение проблем здравоохранения, образования, культуры.

Инновационная продукция - это продукция, подвергавшаяся технологическим изменениям разной степени. Инновационная деятельность охватывает изделия новые (вновь внедренные), подвергавшиеся усовершенствованию, а также основанные на новых или значительно усовершенствованных методах производства.

Области разработок инноваций делятся на шесть основных категорий:

·        обработка и получение наноматериалов;

·        нанобиотехнология;

·        программное обеспечение;

·        нанофотоника;

·        наноэлектроника;

·        наноприборостроение.

Российский рынок нанотехнологий находится на начальном этапе своего становления. На настоящий момент доля России в общемировом технологическом секторе составляет около 0.3%, а на рынке нанотехнологий - 0.04%.

Главным направлением технического прогресса промышленности строительных материалов являются: создание новых и совершенствование существующих технологических процессов, обеспечивающих получение продукции с минимальными затратами энергетических, материальных и трудовых ресурсов; получение новых видов строительных материалов и изделий с заданными свойствами, отвечающими самым высоким требованиям; широкое внедрение малоотходных и безотходных технологий и т.д.

Наноразработки ведутся сейчас практически во всех отраслях промышленности, в том числе и в области сварки. Применяются различные усовершенствованные механизмы, методы, способы магнитно-импульсной сварки. [10]

К инновациям магнитно-импульсной сварки относится механизм импульсной подачи пучка электродов, заключающийся в том, что на обмотку двигателя подают импульс напряжения, причем первый импульс напряжения подают в период рабочего хода, а второй и последующие импульсы напряжения - в период холостого хода. Реализация управления по данному способу осуществляется по функциональной схеме, включающей источник питания постоянного или переменного тока, блок формирования управляющих импульсов рабочего хода с устройством их управления. Преимущество данного механизма в том, что производительность сварки увеличивается за счет подачи электродной проволоки пучком из нескольких электродов в программно-управляемом режиме. [16] Важно отметить и другое изобретение, которое может быть использовано в магнитно-импульсной сварке - это соединение или сварка металлических объектов посредством электромагнитного поля. Изобретение относится в общем к обработке металлов, а именно к способу и устройству для обработки металлических заготовок посредством импульсной энергии магнитного поля. Сущность изобретения: две заготовки соединяют вместе или сваривают между собой посредством побуждения движения первой из двух заготовок или ее части посредством импульсной магнитной силы, благодаря чему первая заготовка или ее часть сталкивается со второй и обе свариваются между собой, при этом величину магнитно-импульсной обработки устанавливают давлением.

Устройство содержит множество уникальных цепей формирования магнитного поля. Преимуществом такого устройства является то, что посредством соответствующей синхронизации триггеров для каждого из прерывателей может быть приложена серия импульсных магнитных сил, которые могут оказаться полезными для разных случаев применения.

Способ может быть использован для заготовок различной формы и из различных материалов. Благодаря использованию изобретения расширяются технологические возможности и повышается качество соединения частей. [15]

Заключение

Магнитно-импульсная обработка металлов основывается на использовании сил электромеханического взаимодействия между вихревыми токами, наведенными в стенках обрабатываемой детали при пересечении их силовыми магнитными линиями импульсного магнитного поля, и самим магнитным потоком импульса.

Электрофизические технологии основаны на использовании уникальных эффектов, возникающих под действием сильных электрических и магнитных полей. Они позволяют выполнять операции сложные или вообще недоступные для стандартных методов.

Разрабатывается оборудование и технологические процессы по техническим условиям заказчика по следующим направлениям:

) Магнитно-импульсная обработка металлов - это метод бесконтактной обработки давлением заключается в высокоскоростном деформировании проводящих заготовок импульсным магнитным полем. За счет объемного характера воздействия, быстротечности процесса и давлений порядка 200 - 2000 атмосфер метод позволяет производить высококачественную сборку металлических узлов, сборку металлостеклянных и металлокерамических узлов, сложную штамповку, деформирование труднодеформируемых в нормальном состоянии металлов.

) Обработка серией импульсов электромагнитного поля - спектр методов, основанных на действии высокочастотных импульсных сильных полей, применяющихся для биологической дезактивации, неразрушающей дефектоскопии, деформирования и диффузионной сварки металлов, катализа химических реакций.

Важно отметить и другое изобретение, которое может быть использовано в магнитно-импульсной сварке - это соединение или сварка металлических объектов посредством электромагнитного поля. Изобретение относится в общем к обработке металлов, а именно к способу и устройству для обработки металлических заготовок посредством импульсной энергии магнитного поля.

Использование магнитного поля как источника импульсных давлений получает все большее распространение в практике обработки металлов давлением. Перспективно его применение в порошковой металлургии для уплотнения порошков и при сварке металлов давлением.

Каждый год нашей промышленностью осваивается несколько тысяч новых изделий машиностроения и приборостроения. Сегодня новые товары составляют половину всей производимой промышленной продукции. Это требует от производства оперативности и гибкости способности к быстрой перестройке при замене одних изделий другими.

Магнитно-импульсная обработка один из видов ускорения обработки материалов и, следовательно, способствует увеличению конкурентоспособности предприятия и производимых им товаров. [4]

Список использованных источников

1. Бабков, В.В. Специальные методы сварки [Текст] / В.В.Бабков // Строительные материалы. - 2001. - №8. - С. 16-17.

2. Бадьянов, Б.Н. Справочник по магнитно-импульсной обработке металлов. [Текст] / Б.Н. Бадьянов. - Ульяновск: изд-во Ульяновский ГТУ, 2000 г. - 405с.

. Белый, И.И. Сварка металлов [Текст] : учебник для подготовки рабочих на производстве / И.И. Белый ; М.: «Высшая школа», 2001. - 309 с.

. Блащук, В.Е. Металл и сварка [Текст]: учебное пособие / В.Е. Блащук ; 3-е изд., перераб. и доп. - Москва : Стройиздат, 2006. - 144с.

. Брюханов, А.Н. Сварочные процессы в электронном машиностроении [Текст] / А.Н. Брюханов // Коммерсант. - № 217 (2820) от 27.11.2003.

. Квасницкий, В.В. Специальные способы сварки [Текст]: учебное пособие / В.В. Квасницкий ; Изд-во: Николаев, УДМТУ, 2003. - 437с.

. Пешков, В.В. Специальные методы сварки и пайка [Тект] : практическое пособие / В.В. Пешков. - М.: «Высшая школа», 2005. - 187с.

. Попов, О.Н. Автоматическая сварка [Текст] : учеб. метод. пособие / О. Н. Попов, Д. Г. Феткин ; под общ.ред. О.Н. Попова. - М. : Стройиздат, 2005. - 207 с.

10. Ресурсы Интернет [Электронный ресурс] Федеральный институт промышленной собственности. Режим доступа: http : www.fips.ru

. Ренов, К.К. Словарь-справочник по сварке. [Текст] / К.К. Хренов. - Воронеж: ВГТУ, 2000 г. - 315с.

. Саликов, В.А. Оборудование для контактной сварки [Текст] : справочное пособие / В.А.Саликов ; СПб.: Энергоатомиздат, 2000. - 848 с.

. Стрижаков, Н. А. Автоматизированная установка для магнитно-импульсной сварки [Текст] : справочное пособие / Н. А. Стрижаков, И.С. Хахин, Бацемакин М.Ю. - 2-е изд. - М. .: Стройиздат, 2007. - 416с.

. Хахин, Н.А. Магнитно-импульсная сварка [Текст] / Н.А. Хахаин // Сварка и диагностика. - 2007. - С.8-16

. Пат. 2178349 Российская Федерация, МПК В21D26/14. Соединение или сварка металлических объектов посредством электромагнитного поля.

. Пат. 2360774 Российская Федерация, МПК В23К9/12. Механизм импульсной подачи пучка электродов.

Похожие работы на - Магнитно-импульсная сварка

 

Не нашли материал для своей работы?
Поможем написать уникальную работу
Без плагиата!
Без нейросетей!