Характеристика датчика разности давлений Метран-100-ДД
Введение
Газовая
промышленность является ведущей отраслью народного хозяйства страны. Добываемый
природный газ позволяет обеспечивать сырьевые и технологические потребности
многих отраслей промышленности, сельского хозяйства и бытовых потребителей.
Бурное развитие отрасли есть следствие открытия новых месторождений на севере
Тюменской области.
Совершенствование
технологии добычи газа, создание высокопроизводительного оборудования, освоение
новых богатейших газовых районов, рост добычи газа стали возможны благодаря
развитию и внедрению автоматизации и совершенствованию управления с применением
вычислительной техники.
Автоматизация
технологических процессов, создание и внедрение автоматизированных систем
управления стали важнейшим направлением научно-технического прогресса и основой
технической политики в газовой промышленности. Именно это привело к такому
положению, когда от автоматизации отдельных объектов, отдельных технологических
процессов в последнее время в отрасли осуществлен переход к сплошной автоматизации
всех основных и вспомогательных технологических процессов подготовки,
транспортировки и распределения газа на базе совершенствования оборудования,
систем контроля, защиты, управления, сигнализации и телемеханизации работы
единой газотранспортной системы страны. Технологические объекты газовой
промышленности представляют собой довольно сложные и дорогостоящие сооружения,
работающие в различных климатических условиях, при высоких давлениях;
эксплуатационный персонал работает вдали от обжитых районов, нередко в суровых
климатических условиях. Технологическая структура представляет собой единую
систему с непрерывным циклом работы: район добычи природного газа
(месторождение)-установки подготовки газа к дальнему транспорту - головные
сооружения - линейная часть магистральных газопроводов -компрессорные станции-
станции подземного хранения газа -отводы с газораспределительными станциями на
конце отвода для подачи газа потребителям.
Автоматизация дает
возможности получить более высокую производительность, повышает социальную и
экономическую эффективность труда. К социальной эффективности относятся
облегчение труда рабочих, улучшение санитарно-гигиенических условий и повышение
общего культурного уровня жизни человека. Под экономической эффективностью
автоматизации понимают улучшение экономических показателей производства:
производительности труда, себестоимости и качества продукции.
Автоматизация
обеспечивает работу производства с такой скоростью, точностью, надежностью и
экономичностью, которые человек своим непосредственным участием обеспечить не
может.
Главные требования,
которые предъявляются к системам газоснабжения,- надежность и бесперебойность
доставки газа потребителям при безопасной и экономичной работе всех
технологических сооружений. Выполнение этих требований в полной мере возможно
только при высоком уровне автоматизации. Производственные объекты транспорта
газа характеризуются большим разнообразием и рассредоточенностью на огромных
расстояниях (до нескольких тысяч километров). Вместе с тем они технологически
взаимосвязаны и влияют друг на друга в процессе эксплуатации. Такие структурные
сложные и одновременно взаимосвязанные в работе системы требуют для их
оперативного управления надежных и совершенных средств автоматики.
На всех этапах
развития газопроводов одновременно с созданием новых основных технологических
сооружений разрабатывались методы и средства их автоматизации и управления.
Одним из важных
направлений совершенствования системы управления народным хозяйством является
развитие современных методов научного управления на базе
экономико-математических методов и средств вычислительной техники. Ведущее
место в этом комплексе мероприятий занимает разработка автоматизированных
систем управления. Процесс создания автоматизированных систем управления - это
последовательное и постепенное внедрение более совершенных, научно обоснованных
методов управления и средств вычислительной техники с целью увеличения
эффективности производства и повышения общественной производительности труда.
Экономико-математические методы оптимального планирования и управления,
средства автоматизированной обработки больших объемов информации естественным
образом врастают в структуры управления, становятся неотъемлемой составной их
частью, способом их функционирования.
Основа автоматизированных
систем управления - автоматизация производственных процессов объектов и
установок, диспетчеризация управления и обслуживания.
Измерения являются основой организации любого
технологического процесса. Несовершенство измерительной техники, отсутствие
достаточных знаний по их грамотной эксплуатации приводит часто к большим
погрешностям, а иногда и к промахам в измерениях. Только достоверная информация
о текущих параметрах технологических процессов предопределяет выход с
производственных линий качественной продукции.
Измерительные средства на производственных
предприятиях используются как непосредственно для оценки состояния вещества,
так и для организации работы систем автоматизированного и автоматического
управления.
Разработка и внедрение систем управления нового
поколения, например на базе цифрового сигнала, заставляют отказаться от многих
ранее использовавшихся приборов. Низкая точность, зависимость показаний от
многих внешних факторов, ощутимые наводки на соединительных линиях - все эти и некоторые
другие недостатки измерения традиционными манометрическими устройствами
вынуждают эксплуатационников переходить на современные измерительные системы,
использовать новые способы получения и трансформирования информации, внедрять
системы передачи с более совершенными техническими средствами.
1. Измерительный процесс
датчик расход давление метран
Метод переменного перепада давления один из
наиболее старых и изученных методов измерения расхода. В основе этого метода
лежат сложные физические процессы деформации потоков. Здесь представлен метод
изменения расхода по перепаду давления на сужающем устройстве. На рисунке 1
показана форма потока, протекающего через диафрагму. Выделим в трубопроводе два
сечения: I-I - перед сужающим устройством там, где поток еще меняет своей
конфигурации, и II-II - в месте наибольшего сжатия потока, находящемся на
некотором расстоянии от внешнего (по ходу потока) торца диафрагмы.
Обозначения к рисунку: площадь поперечного
сечения трубопровода, м²; Fo
- площадь отверстия диафрагмы, м²; =Fo/F
- относительная площадь сужающего устройства;
F1 - площадь сечения
потока в месте его наибольшего сжатия, м².
Рисунок 1 - Форма потока, протекающего через
диафрагму.
При течении реальных измеряемых сред возникают
дополнительные физические явления, как потери давления на вязкостное трение,
вихревые сопротивления, неравномерные распределения скоростей, изменение
плотности и т.п. Поэтому уравнения расхода умножают на скоростной коэффициент ζ,
характеризующий
распределение скоростей оп сечению выходящего из сужающего устройства потока, и
коэффициент ε, учитывающий
изменение плотности потока газа при течении через сужающее устройство.
И уравнения расхода:
Коэффициент α, входящий
в уравнение называется коэффициентом расхода. Этот коэффициент зависит от
относительной площади m
сужающего устройства.
Расход Q и перепад давления ∆р=р1-р2
функционально связаны квадратичной параболической зависимостью. Отсутствие
линейной пропорциональности между объектом измерения ∆р и измеряемым
параметром Q является основным методическим недостатком расходомеров
переменного перепада давления.
Для измерения расхода газов по перепаду давления
необходимы три устройства, объединенные под общим понятием расходомер
переменного перепада:
· Устройство, создающее перепад
давления в потоке измеряемой среды за счет местного изменения скорости потока
или оп значению (сужающие устройства).
· Измерительный прибор - дифманометр,
измеряющий перепад давления. В данной курсовой работе я вместо дифманометра
беру датчик перепада давления.
· Соединительное устройство,
передающее перепад давления от потока к дифманометру.
Иногда к ним добавляются еще и вторичный преобразователь,
преобразующий показания дифманометра в электрический, пневматический или
частотный сигнал, и вторичный прибор для регистрации этого сигнала.
Тот прибор, о котором речь пойдет далее очень
хорошо справляется с этими задачами.
. Описание датчика Метран-100-Ex-ДД
Датчик давления Метран-100 предназначен для
работы в системах автоматического контроля, регулирования и управления
технологическим процессом и обеспечивает непрерывное преобразование разности
давлений.
Датчик давления Метран-100 предназначен для
преобразования давления рабочих сред :газа (в т.ч. газообразного кислорода и
кислородосодержащих газовых смесей) в унифицированный токовый выходной сигнал
(модель Метран-100-ДД-1430-02-МП1-t0-015-40кПа-25-42-….-2001).
Датчик разности давлений может использоваться в
устройствах, предназначенных для преобразования значения уровне газа в
унифицированный токовый выходной сигнал, цифровой сигнал на базе НАRТ«протокола
и цифровой сигнал на базе интерфейса RS-485.
Метран-100-Ех предназначен для работы во
взрывобезопасных и взрывоопасных условиях и предназначен для установки и работы
во взрывоопасных зонах помещений и наружных установок согласно главе 3 ПУЭ, н 1
другим нормативным документам, регламентирующим применение электрооборудования
во взрывоопасных условиях.
Датчики Метран-100-Ех. соответствующие
требованиям ГОСТ Р 51330 0. ГОСТ Р 51330 10, выполняются с видом взрывозащиты
«искробезопасная электрическая цепь» с уровнем взрывозащиты (в зависимости от
комплектности)
«особовзрывобезопасный», маркировка по
взрывозащите - ExiallCTS X, -« взрывобезопасный», маркировка по взрывозащите -
ExibllCTS X
.-Уровень взрывозащиты датчика определяется
уровнем взрывозащиты применяемого барьера искрозащиты.
Код исполнения датчика в зависимости от его
электронного преобразователя (модель
Метран-100-ДД-1430-02-МП1-t0-015-40кПа-25-42-….-2001) - электронный
преобразователь микропроцессорный с индикаторным устройством и выходным
аналоговым сигналом постоянного тока 4-20 мА.
Запись обозначения датчика при его заказе и в
документации другой продукции, в которой он может быть применен:
Метран-100-ДД-1430-02-МП1-t10-015-40кПа-25-ШР22/А30-ТУ4212-012
- 12580824-2001
Датчик разности давлений взрывозащищенный
«Метран-100-Ех-ДД». модель 1430 с микропроцессорным электронным преобразователем
с индикатором, с кодом предела допускаемой основной погрешности 015. с верхним
пределом измерения 40 кПа. с предельно допускаемым рабочим избыточным давлением
25 МПа. с выходным сигналом 4-20 мА.
. Технические данные
Датчик является многопредельным и настраивается
на верхний предел измерений или диапазон измерений от Рmin до Pmax. Датчики
могут быть настроены на верхний предел измерений или диапазон измерений по
стандартному ряду давлений ГОСТ 22520 или на верхний предел или диапазон
измерений, отличающийся от стандартного.
Датчик разности давлений Метран-100-ДДдля
измерения расхода газа по величине переменного перепада давления на сужающем
устройстве трубопровода, могут иметь зависимость аналогового выходного сигнала,
пропорциональную корню квадратному из значений входной измеряемой величины -
перепада давления
Выбор зависимости выходного сигнала от входной
величины производится по символам режимов настройки в соответствии с
инструкцией СПГК 5070 000 00 ИИ -для датчиков с кодом МП 1.
Номинальная статическая характеристика датчика с
линейно-возрастающей зависимостью аналогового выходного сигнала от входной
измеряемой величины соответствует виду
где -I
текущее значение выходного сигнала,
Р - значение измеряемой величины,
I,,
I, - соответственно
верхнее и нижнее предельные значения выходного сигнала равны
Iн=4
мА, 1=20мА,
Р. - верхний предел измерений.
Р. - нижний предел измерений.
Номинальная статическая характеристика датчика с
линейно-убывающейзависимостью аналогового выходного сигнала от входной
измеряемой величины соответствует виду
I=((Iв-Iн)/(Р-Рн))(Р-Рн)
гдеI
P, Iн,Iв,
Pв, Рн.-то же, что и
в формуле ранее.
Н Номинальная статическая характеристика датчика
с функцией преобразования одной измеряемой величины по закону квадратного корня
соответствует виду
Н = Iн+(Iв-Iн)V(Р/Рв)
где Р - входная измеряемая величина - перепад
давления, при этом на начальном Участке характеристики при значениях давления
Р<0,8% от Р.
Электрическое питание датчиков Метран-100-Ех с
кодом МП1 осуществляется от искробезопасных цепей барьеров (блоков), имеющих
вид взрывозащиты «искробезопасная электрическая цепь» с уровнем взрывозащиты «ia»
или «ib» для
взрывоопасных смесей подгруппы НС по ГОСТ Р 51330.0, при этом максимальное
выходное напряжение барьеров U0<24
В, а максимальный выходной ток 1*120мА,
Пульсация выходного сигнала в диапазоне частот
от 0,06 до 5 Гц не*превышает значений 0,7|y|.
Значения у нижнее: - 0,075±0,02; верхнее: 5,55±0,05.
Пульсация аналогового выходного сигнала в диапазоне
частот свыше 5 Гц до 10* Гц не превышает 0,5% от диапазона изменения выходного
сигнала.
Пульсация аналогового выходного сигнала с
частотой свыше 10f Гц не
нормируется.
Динамические характеристики датчика нормируются
при температуре (23±5)*С и при отключенном электронном демпфировании выходного
сигнала датчика (на индикаторе отображается время усреднения 0,2 с).
Электронное демпфирование характеризуется временем усреднения результатов
измерений tu . Значения t„
выбираются из ряда: 0,2 ;0,5; 1,2; 5; 10; 20; 30; 40 с и устанавливаются
потребителем при настройке датчика. Время усреднения результатов измерения
увеличивает время установления выходного сигнала.
Полоса пропускания
синусоидальных колебаний измеряемого параметра датчика определяется:
От измеряемого параметра составляет от 0 до f
на уровне 63% от выходного сигнала и определяется по формулам:
t>25
Гц при t3 >Tn,
при этом t<25 Гц Гц при ta
<Tn,
Датчик имеет электронное демпфирование выходного
сигнала, которое характеризуется временем усреднения результатов измерения.
Время усреднения результатов измерения увеличивает время установления выходного
сигнала, сглаживая выходной сигнал при быстром изменении входного сигнала.
Значение времени диапазона изменения выбирается из ряда 0,2: 0,5; 1,2; 2,5; 5;
10; 20: 30; 40 с и устанавливается потребителем при настройке.
1)режим
измерения давления;
2)режим
установки и контроля параметров измерения.
В режиме нормального функционирования датчик
обеспечивает постоянный контроль своей работы и формирует сообщение о
неисправности в виде установления аналогового выходного сигнала, приведенного в
таблице 1.
Таблица 1 - Критерий неисправности выходного
сигнала.
|
Код
электронного преобразователя
|
Выходной
сигнал датчика, мА
|
Критерий
неисправности
|
|
МП1
|
4-20
|
Выходной
сигнал менее 3,7 мА
|
Датчики выполняют
самотестирование по проверке технического состояния:
·микропроцессора;
·программируемого запоминающего
устройства на плате АЦП (АЦП - аналогово-цифровой преобразователь):
·перепрограммируемой памяти
микропроцессора;
·связи с платой АЦП;
·режима работы датчика;
·сенсора.
Изменение начального значения
выходного сигнала дагчика Метран-100-ДД, вызванное изменением рабочего
избыточного давления в диапазоне от нуля до предельно-допускаемого и от
предельно-допускаемого до нуля, выраженное в процентах от диапазона изменения
выходного сигнала, не превышает значений ур. определяемых формулой:
∆Рраб; - изменение рабочего избыточного
давления в единица» измерения.
к: Значения Кр приведены в
таблице 2.
Таблица 2 - Определение
коэффициента Кр.
|
Модель
|
Кр
в зависимости от кода предела допускаемой основной погрешности
|
|
015
|
|
1430
|
±0,035%/МПа
|
Изменение выходного сигнала,
вызванное изменением рабочего избыточного давления, может быть уменьшено в
процессе эксплуатации корректировкой начального значения выходного сигнала при
двухстороннем воздействии на измерительные полости датчика рабочего избыточного
(статического) давления и при отсутствии перепада на в ходе датчика.
Датчик Метран-100-ДД имеет две
стороны плюсовой и минусовой камер рабочего избыточного давления.
В отдельных случаях
односторонняя перегрузка рабочим избыточным давлением в минусовую полость может
привести к незначительным изменениям нормированных Характеристик датчика. Для
исключения данного эффекта после воздействия перегрузки следует подать в
плюсовую полость давление, равное предельно допускаемому рабочему избыточному
давлению и, при необходимости, произвести корректировку выходного сигнала, соответствующего
начальному значению измеряемого параметра.
Средняя наработка на отказ
датчика с учетом технического обслуживания, регламентируемого настоящим
руководством по эксплуатации, составляет 270000 ч.
Средний срок службы датчиков -
15 лет (кроме датчиков, эксплуатируемых при измерении агрессивных сред, средний
срок службы которых зависит от свойств агрессивной среды, условий эксплуатации
и применяемых материалов).
Датчик по ГОСТ 27.003 относятся
к изделиям восстанавливаемым, ремонтируемым, конкретного назначения и вида I.
Датчик обеспечивает возможность
настройки на смещенный диапазон измерений с установкой начального значения
выходного сигнала (смещение «нуля») при значении измеряемого параметра в
пределах от нуля до Р= Рmax
- Рmin
где Рmax
- максимальный диапазон измерений модели, Рmin
-минимальный диапазон измерений для датчика данной модели. При указанных выше
настройках верхний предел (диапазон) измерений не должен превышать
максимального значения Pmia
для данной модели.
Для датчика, укомплектованного индикаторными
устройствами, погрешность индикации значений входной измеряемой величины не
превышает ±1% от верхнего предела или диапазона измерений. Эта погрешность
нормируется при температуре (23±2) °С.
Предельные значения (уровни ограничения) аналогового
выходного Сигнала в рабочем диапазоне измеряемых давлений приведены в таблице
3.
Таблица 3 - Предельные значения
выходного сигнала.
|
Код
электронного преобразователя
|
Выходной
сигнал, мА
|
Предельные
значения выходного сигнала. мА
|
|
|
нижнее
|
верхнее
|
|
МП1
|
4-20
|
3,760±0,02
|
21,76±0,16
|
Датчик имеет внешнюю кнопку для
корректировки смещения характеристики датчика (калибровка «нуля») от монтажного
положения на объекте или статического давления, расположенную на корпусе
электронного преобразователя. Датчик имеет защиту от обратной полярности
напряжения питания.
Датчик пожаробезопасен в
соответствии с ГОСТ 12.1.004 как в нормальных, так и в аварийных режимах
работы.
Датчик соответствует IV
группе исполнения по устойчивости к электромагнитным помехам, критерий качества
функционирования при испытаниях на помехоустойчивость - А по ГОСТ Р 50746 при
условии:
-устойчивость датчика к
динамическим изменениям напряжения питания обеспечивается в комплекте с блоком
питания;
-уровень ВЧ-пульсаций в полосе
частот свыше 10 кГц и амплитуда импульсов выходного сигнала датчиков
длительностью менее 10 мс при воздействии электромагнитных помех не
нормируется;
-устойчивость датчиков к
микросекундным импульсным помехам (ГОСТР51317.4.5)обеспечивается в комплекте с
блоком фильтра помех.
Датчик устойчив к воздействию
экспозиционной дозы гамма-излучения.
Время восстановления выходного
сигнала после прерывания питания не более 5 мс.
Датчики устойчивы к воздействию
дождя с интенсивностью 3 мм/мин по ГОСТ15150.
4. Описание схемы преобразователя
давления датчика Метран-100-Ех-ДД
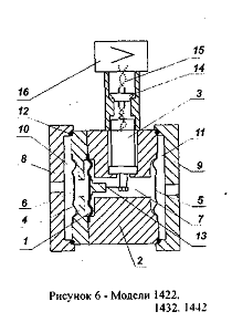
Датчик состоит из
преобразователя давления (в дальнейшем - сенсорный блок) и электронного
преобразователя. Датчик имеет унифицированный электронный преобразователь.
Измеряемая входная величина
подается в камеру сенсорного блока и преобразуется в деформацию чувствительного
элемента (тензопреобразователя), вызывая при этом изменение электрического
сопротивления его тензорезисторов.
Электронный преобразователь
датчика преобразует это изменение сопротивления в токовый выходной сигнал.
Чувствительным элементом
тензопреобразователя является пластина из монокристаллического сапфира с
кремниевыми пленочными тензорезисторами (структура КНС). прочно соединенная с
металлической мембраной тензопреобразователя.
Тензопреобразователь 3
мембранно-рычажного типа размещен внутри основания в замкнутой полости 9.
заполненной кремнийорганической жидкостью (для датчиков кислородного исполнения
жидкость - ПЭФ-70/110), и отделен от измеряемой среды металлическими
гофрированными мембранами 6.
Мембраны 6 приварены по
наружному штуру к основанию 7 и соединены между собой центральным штоком,
который связан с юнцом рычага тензопреобразователя 3 с помощью тяги 4. Фланцы 8
уплотнены прокладками 2. Воздействие измеряемой разности давлений (большее давление
подается ; камеру 5, меньшее в камеру 10) вызывает прогиб мембран 6, изгиб
мембраны тензопреобразователя 3 и изменение сопротивления тензорезисторов.
Электрический сигнал от тензопреобразователя передается из измерительного блока
электронный преобразователь по проводам через гермоввод 1.
Сенсорный блок выдерживает без
разрушения воздействие односторонней перегрузки рабочим избыточным давлением.
Это обеспечивается тем, что при такой перегрузке одна из мембран 6 ложится на
профилированную поверхность основания 7.
5. Описание
принципиальной схемы электронного преобразователя микропроцессорного датчика
Метран-100-Ех-ДД
Функционально электронный
преобразователь с кодом МП1 состоит из аналого-цифрового преобразователя (АЦП),
блока памяти АЦП, микроконтроллера с блоком памяти, цифро-аналогового
преобразователя (ЦАП), стабилизатора напряжения, фильтра радиопомех и блока
регулировки и установки параметров для преобразователя с кодом МП1.
Конструктивно АЦП, блок памяти
АЦП размещаются на плате АЦП, которая объединяется с измерительным блоком в
сборочную единицу - сенсор давления.
Остальные элементы
функциональной схемы размещаются в корпусе электронного преобразователя.
Внешний вид электронного
преобразователя в корпусе приведены на схеме внешнего вида прибора.
Плата АЦП принимает аналоговые
сигналы преобразователя давления, пропорциональные входной измеряемой величине
(давлению) и температуре, и преобразовывает их в цифровые коды.
Энергонезависимая память предназначена для хранения коэффициентов коррекции
характеристик сенсорного блока и других данных о сенсорном блоке.
Блок регулирования и установки
параметров предназначен для изменения параметров датчика. Элементами настройки
являются кнопочные переключатели, расположенные под крышкой.
При помощи кнопочных
переключателей блока управления и регулирования параметров и цифрового
индикатора можно работать с датчиком в следующих режимах:
Контроль измеряемого давления;
Контроль и настройка
параметров:
Калибровка датчика.
Параметры и символы режимов
настроек датчика отображаются на дисплее индикатора. Таблицы соответствия
режимов настройки символам, отображаемым на индикаторе, приведены в инструкции
СПГК.5070.000.00 ИН.
Индикаторное устройство может
быть установлено в корпусе электронного преобразователя и подключено к плате
микропроцессорного электронного преобразователя.
На дисплее индикатора датчика с
кодом МП1 отображается величина измеряемого давления в цифровом виде в
установленных при настройке единицах измерения или в процентах от диапазона
изменения выходного сигнала. При установлении в датчике процентов от диапазона
изменения выходного сигнала в режиме измерения на дисплее индикатора каждые Зс
выводится поочередно выходные значения либо в процентах от диапазона изменения
выходного сигнала либо в физических единицах.
При включении и в процессе
измерения давления датчик выполняет диагностику своего состояния. При включении
питания в датчике автоматически проверяется:
·состояние микропроцессора;
·наличие связи с платой АЦП;
·наличие связи АЦП с
тензопреобразователем;
·состояние энергонезависимой памяти
платы АЦП и платы процессора. Самодиагностика выполняется во время подготовки процессора
датчика к работе.
По окончании процесса запуска
процессора при исправном состоянии на выходе датчика устанавливается ток,
соответствующий измеренному давлению.
В процессе измерения давления
программа датчика периодически (1 раз за 5 мин) проверяет наличие связи с АЦП и
исправность тензопреобразователя. При обнаружении неисправности устанавливается
выходной ток и символы ЕЕЕ на цифровом индикаторе. Время установления сигнала
неисправности не превышает 200 мс при времени демпфирования 0,2 с.
При прерывании питания датчика
на время не более 20 мс в датчике сохраняется режим измерения давления, т. е.
не происходит перезагрузка процессора датчика, показание индикатора
соответствует измеряемому давлению, и полная самодиагностика не выполняется.
Токовый выходной сигнал датчика во время прерывания питания отсутствует и
устанавливается в соответствии с измеряемым давлением не позднее, чем через 5
мс после восстановления питания датчика.
Электрическая схема
электронного преобразователя МП1 позволяет осуществлять контроль выходного
сигнала без разрыва сигнальной цепи. Цепь для подключения контрольного прибора
выведена на клеммы «тест» I
и 2. Измерение производится вольтметром, максимальному выходному току (20 мА)
соответствует напряжение 200 мВ.
Погрешность контроля выходного
сигнала при контроле без разрыва сигнальной цепи не более 2%.
На корпусе электронного
преобразователя рядом с зажимом для заземления имеется знак заземления.
Наличие на корпусе сенсорного
блока знаков «+» и «-» означает маркировку мест подвода измеряемой величины.
В датчике Метран-100-ДД знак
«+» соответствует месту подвода измеряемого давления или большего из измеряемых
давлений, а знак «-» маркирует камеру, сообщающуюся со статическим давлением,
или камеру для подвода меньшего из измеряемых давлений.
Электронное устройство датчика,
размещенное внутри корпуса опломбировано на предприятии-изготовителе и закрыто
крышкой.
Винт, предохраняющий скобу у
взрывозащищенного датчика Метран-100-Ех пломбируется ОТК
предприятия-изготовителя.
В электронном преобразователе
МП1 доступ к кнопке 3 (рисунок 3) закрыт накладкой, опломбированной ОТК.
7. Описание
функциональной схемы соединительных линий при измерении расхода газа датчиком
Метран-100-Ех-ДД
Соединительные линии должны
иметь односторонний уклон {не менее 1:10) от места отбора давления, вверх к
датчику, если измеряемая среда - газ. Если это невозможно, при измерении
давления или разности давлений газа в нижних точках соединительной линии
следует устанавливать отстойные сосуды, а при измерении давления или разности
давлений жидкости в наивысших точках -газосборники. Отстойные сосуды
рекомендуется устанавливать перед датчиком и в других случаях, особенно при
длинных соединительных линиях и при расположении датчика ниже места отбора
давления. Для продувки соединительных линий должны предусматриваться самостоятельные
устройства. В соединительных линиях от места отбора давления к датчику давления
рекомендуется установить два вентиля или трехходовой кран для отключения
датчика от линии и соединения его с атмосферой. Это упростит периодический
контроль установки выходного сигнала, соответствующего нижнему значению
измеряемого давления, и демонтаж датчика. В соединительных линиях от сужающего
устройства к датчику разности давлений рекомендуется установить на каждой из
линий вентиль для соединения линии с атмосферой и вентиль для отключения
датчика.
8.
Описание схемы внешнего подключения датчика Метран-100-Ех-ДД с блоком
искрозащиты
Датчик устанавливается во
взрывобезопасной зоне. К выходу 1 и 2 подключен блок искрозащиты БП-Ех. Блок
искрозащиты БП-Ех включен в сеть 220 В, с частотой переменного тока 50 Гц.
9. Погрешность датчика
Датчики в зависимости от климатического
исполнения по ГОСТ 15150 устойчивы к воздействию температуры окружающего
воздуха. Для данной модели рабочий диапазон в пределах от -25°С до 70°С окружающего
воздуха.
Дополнительная погрешность датчиков, вызванная
изменением температуры окружающего воздуха в рабочем диапазоне температур,
выраженная в процентах от диапазона изменения выходного сигнала, на каждые 10°С
не превышает значений,, приведенных в таблице 4.
Примечания к таблице Рв- верхний предел
(диапазон) измерений модели; Рmax - максимальный верхний предел (диапазон)
измерений.
Таблица 4. «Дополнительная погрешность на
изменение окружающей среды».
|
Код
предела допускаемой основной погрешности
|
Дополнительная
температурная погрешность на каждые 10°С, ±γ, %
|
|
Pmax≥Pв≥Pmax/10
|
Pmax/10≥Pв≥Pmax/25
|
|
015
|
0,05+0,05*(Pmax/Pв)
|
0,1+0,04*(Pmax/Pв)
|
Дополнительная погрешность
датчиков, вызванная воздействием вибрации, выраженная в процентах от диапазона
изменения выходного сигнала, непревышает значений γ,
определяемой
формулой:
Дополнительная погрешность
датчика, вызванная воздействием электромагнитных помех , не превышает:
а) при воздействии
радиочастотного электромагнитного поля (ГОСТ Р 51317.4.3):±0,4%-для датчиков с
кодом М1.
10. Расчет погрешности датчика
Данные :
прибор датчик разности давлений Метран-Ex-100,
верхний предел измерения 40 кПа
предельно допускаемое рабочее избыточное
давление 25 кПа
выходной сигнал 4-20 mA
· Предел допустимой основной
погрешности датчика:
Рm-верхний
предел измерений 40 кПа
∆р-предел дополнительной абсолютной
погрешности эталонного СИ-0,15
∆i-предел
дополнительной абсолютной погрешности эталонного СИ, контролирующий
электрический выходной сигнал датчика- 0,1 mA
Io-нижнее
значение выходного сигнала 4 mA
Im-верхнее
значение выходного сигнала 20 mA
· Дополнительная погрешность датчика,
вызванная изменением температуры окружающего воздуха:
При 


Рв - верхний предел измерений модели 2,5 кПа
Следовательно
· Дополнительная погрешность датчика,
вызванная вибрацией:
Дополнительная погрешность
датчиков, вызванная воздействием электромагнитных помех, не превышает при
воздействии радиочастотного электромагнитного поля (ГОСТ Р 51317.4.3):±0,4%
· Общая погрешность датчика:
Датчик Метран-10-Ех-ДД имеет
относительную погрешность. Рассчитаю погрешность в точке 20 mA.
· Основная погрешность:
Где I-значение
выходного сигнала постоянного тока, полученное экспериментально
Iр-расчетное
значение выходного сигнала постоянного тока, определяемое по формуле:
Р-номинальное значение входной измеряемой
величины 20 кПа
Рn-нижний
предел измерений 1,6 кПа
Вариация а данной точке:
Iпр.х-ток при прямом
ходе
Iобр.х-ток при
обратном ходе.
Условие:
Если γосн>γд
, то прибор не годен,
Если γосн≤γд
, то прибор годен,
Если γг>γд
, то прибор не годен,
Если γг≤γд
, то прибор не годен.
Результат измерения: Прибор годен в данной
поверяемой точке измерений.
. Использование по назначению
Датчики Метран-100-Ех могут устанавливаться во
взрывоопасных зонах помещений и наружных установок, согласно главе 7.3 ПУЭ и
другим нормативным документам, регламентирующим применение электрооборудования
во взрывоопасных условиях.
При монтаже датчика Метран-100
следует руководствоваться следующими документами.
·правила ПЭЭП (гл. 3.4
«Электроустановки во взрывоопасных зонах»);
·правила ПУЭ (гл. 7.3);
-ГОСТ 22782 3:
- ГОСТ Р51330.10,
·ГОСТ Р51330.1:
- ГОСТ Р51330.0:
·инструкция ВСН332-74/ММСС
(«Инструкция по монтажу электрооборудования, «силовых и осветительных сетей
взрывоопасных зон»):
-настоящее РЭ и другие
нормативные документы, действующие на предприятии. К монтажу и эксплуатации
датчика должны допускаться лица, изучившие настоящее руководство по
эксплуатации и прошедшие соответствующий инструктаж.
Перед монтажом датчик должен
быть осмотрен. При этом необходимо обратить внимание на маркировку
взрывозащиты, предупредительные надписи, отсутствие повреждений как корпуса
взрывонепроницаемой оболочки (для датчика Метран-100-Вн). так и измерительного
блока, наличие заземляющего зажима на корпусе электронного преобразователя,
состояние подключаемого кабеля, наличие средств уплотнения для кабелей и
крышек.
Во избежание срабатывания
предохранителей в барьере искрозащиты при случайном закорачивании
соединительных проводов, заделку кабеля и его подсоединение производить при
отключенном питании.
По окончании монтажа должны быть
проверены электрическое сопротивление изоляции между объединенными
электрическими цепями и корпусом датчика (не менее 20 МОм) и электрическое
сопротивление линии заземления - не более 4 Ом.
Параметры линии связи между
датчиком и блоком питания должны быть:
-емкость не более 0,125 мкФ;
-индуктивность не более 0,5
мГн.
Линия связи может быть
выполнена любым типом кабеля с медными проводами сечением не менее 0,35 мм2
согласно ПУЭ.
При наличии в момент установки
датчиков Метран-100-Ех, Метран-100-Вн взрывоопасной смеси не допускается
подвергать датчик трению или ударам, способным вызвать искрообразование.
. Порядок установки
Датчики рекомендуется
монтировать в положении, указанном на рисунке 2.
Рисунок 2 - Метран-100-Ех-ДД
модель 1430.
При выборе места установки
необходимо учитывать следующее:
-датчик Метран-100-Ех можно
устанавливать во взрывоопасных помещениях;
-места установки датчиков
должны обеспечивать удобные условия для обслуживания и демонтажа;
Для лучшего обзора ЖКИ или для
удобного доступа к двум отделениям электронного- преобразователя (к клеммной
колодке и кнопочным переключателям корпус электронного преобразователя
совместно с корпусом может быть повернут относительно измерительного блока от
установленного положения на угол не более 90° против часовой стрелки. Поворот
электронного преобразователя производить ключом S=27
мм за лыски корпуса, предварительно раскрутив гайку и винт. После поворота электронного
преобразователя гайку и винт законтрить.Смотреть схему внешнего вида прибора.
-напряженность магнитных полей,
вызванных внешними источниками переменно тока частотой 50 Гц, не должна
превышать 400А/м, вызванных внешними источниками постоянного тока - 400А/м;
при эксплуатации датчиков в
диапазоне минусовых температур необходимо исключить:
1)накопление и
замерзание конденсата в рабочих камерах и внутри соединительных трубок (при
измерении параметров газообразных сред);
2)замерзание,
кристаллизацию среды или выкристаллизовывание из нее отдельных компонентов (при
измерении жидких сред).
Точность измерения давления
зависит от правильной установки датчика и соединительных трубок от места отбора
давления до датчика. Соединительные трубки должны быть проложены по кратчайшему
расстоянию. Отбор давления рекомендуется производить в местах, где скорость
движения среды наименьшая, поток без завихрений, т. е. на прямолинейных
участках трубопровода при максимальном расстоянии от запорных устройств, колен,
компенсаторов и других гидравлических соединений. При пульсирующем давлении
среды, гидро- и газоударах соединительные трубки должны быть с отводами в виде
петлеобразных успокоителей.
Температура измеряемой среды в
рабочей полости датчика не должна превышать допускаемой температуры окружающего
воздуха. Поскольку в рабочей полости датчика нет протока среды, температура на
входе в датчик, как правило, не должна превышать 120°С. Для снижения
температуры измеряемой среды на входе в рабочую полость датчик устанавливают на
соединительной линии, длина которой для датчик рекомендуется не менее 0,5 м.
Указанные длины являются ориентировочными, зависят от температуры среды,
диаметра и материала соединительной линии, и могут быть уменьшены.
После окончания монтажа
датчиков, проверить места соединений на герметичность при максимальном рабочем
давлении. Спад давления за 15 мин не должен превышать 5% от максимального
рабочего давления.
При монтаже для прокладки линии
связи рекомендуется применять кабели контрольные с резиновой изоляцией, кабели
для сигнализации и блокировки - с полиэтиленовой изоляцией. Допускается
применение других кабелей с сечением жилы не более 1,50 мм2. Допускается
совместная прокладка в одном кабеле проводов цепей питания датчика и выходного
сигнала.
Рекомендуется применение
экранированного кабеля с изолирующей оболочкой при нахождении вблизи мест
прокладки линии связи электроустановок мощностью более 0,5 кВт.
В качестве сигнальных цепей и
цепей питания датчика могут быть использованы изолированные жилы одного кабеля,
при этом сопротивление изоляции должно быть не менее 50 МОм. Экранировка цепей
выходного сигнала от цепей питания датчика не требуется.
13. Подготовка к работе
Подключить питание к датчику.
Через 0,5 мин после включения
электрического питания проверьте и, при необходимости, установите значение
выходного сигнала, соответствующее нулевому или начальному значению измеряемого
параметра.
Установка начального значения
выходного сигнала у датчика должна производиться после подачи и сброса
измеряемого параметра, составляющего 80-100% верхнего предела измерений.
Контроль значений выходного
сигнала проводится согласно методическим указаниям по поверке МИ 4212-012-2001.
Датчик выдерживает воздействие
односторонней перегрузки рабочим избыточном давлением в равной мере как со
стороны плюсовой, так и минусовой камер. В отдельных случаях односторонняя
перегрузка рабочим избыточным давлением может привести к некоторым изменениям
нормированных характеристик датчика. Поэтому после перегрузки следует провести
проверку выходного сигнала соответствующего параметра и при необходимости
провести корректировку выходного сигнала.
Для исключения случаев
возникновения односторонних перегрузок в процессе эксплуатации датчиков
разности давлений необходимо строго соблюдать определенную последовательность
операций при включении датчика в работу, при продувке рабочих камер и сливе
конденсата.
Включение в работу датчиков
Метран-100-Ех-ДД с вентильным блоком, схема которого приведена на рисунке 3,
производится следующим образом:
1)закройте оба
вентиля, для чего поверните их рукоятки по часовой стрелке (глядя со стороны
соответствующих рукояток) до упора (положение А);
2)откройте
запорную арматуру, установленную на технологическом оборудовании, как в
"плюсовой", так и в "минусовой"' линиях;
3)уравняйте
давление в "плюсовой" и в '"минусовой" камерах, для чего
плавно поверните рукоятку вентиля "плюсовой" камеры на 1,5-2 оборота
против часовой стрелки. После этого проверьте и, в случае необходимости,
откорректируйте выходной сигнал;
4)поверните
рукоятки вентилей '"плюсовой" и "минусовой" камер против
часовой стрелки до упора (положение В).
Рисунок 3 - Схема вентильного
блока.
При заполнении измерительных
камер Датчика Метран-100-Ех-ДД необходимо следить за тем, чтобы в камерах
датчика не осталось жидкости.
Для продувки камер датчика и
слива конденсата во фланцах измерительного блока имеются игольчатые клапаны,
ввернутые в пробки.
Продувку рабочих камер датчика
и слив конденсатора из них производить следующим образом:
1)закрыть оба вентиля
вентильного блока или вентили I
и II клапанного блока;
2)приоткрыть
игольчатые клапаны, расположенные на фланцах измерительных блоков;
3)произвести
продувку или слив конденсата, для чего плавно поверните рукоятку вентиля
"плюсовой" камеры на 0,5-1 оборот против часовой стрелки, находясь
вне зоны продувки или слива конденсата;
4)закрыть
игольчатые клапаны;
5)включить
датчик в работу.
. Техническое обслуживание и ремонт
Порядок технического
обслуживания изделия
К обслуживанию датчиков должны
допускаться лица, изучившие настоящее руководство и прошедшие соответствующий
инструктаж.
При эксплуатации датчиков
следует руководствоваться настоящим руководством, местными инструкциями и
другими нормативно-техническими документами, действующими в данной отрасли
промышленности
Техническое обслуживание
датчиков заключается, в основном в периодической поверке и. при необходимости,
корректировке «нуля», проверке технического состояния датчика.
Метрологические характеристики
датчика в течение межповерочного интервала соответствуют установленным нормам с
учетом показателей безотказности датчика и при соблюдении потребителем правил
хранения, транспортирования и эксплуатации, указанных в настоящем руководстве
по эксплуатации
Необходимо следить за тем,
чтобы трубки соединительных линий и вентили не засорялись и были герметичны. В
трубках и вентилях не должно быть жидкости (при измерении разности давлений
газа). С этой целью трубки рекомендуется периодически продувать, не допуская
|при этом перегрузки датчика: периодичность устанавливается потребителем в
завимости от условий эксплуатации
Продувку и заполнение
соединительных линий рабочей средой запрещено проводить через приемные полости
и дренажные клапаны датчика Для продувки и заполнения соединительных линий
необходимо использовать штатные продувочные устройства, либо использовать
разъемные соединения приемных полостей датчика с системой вентильной или блоком
вентильным для отсоединения датчика перед продувкой линий, либо, при наличии в
конструкции системы вентильной и блока вентильного встроенных клапанов
продувки, использовать эти клапаны для продувки линий при закрытых изолирующих
вентилях системы вентильной и блока вентильного При проверке датчика в
лаборатории после эксплуатации для точного измерения погрешности необходимо
удалить жидкость из датчика путем продувки воздухом полостей датчика при
открытых дренажных клапанах
При нарушении герметичности
измерительного блока необходимо подтянуть все резьбовые соединения (пробка, штуцер,
болты крепления фланца к корпусу).
В процессе эксплуатации датчики
должны подвергаться систематическому внешнему осмотру, а также периодическому
осмотру, ремонту.
При внешнем осмотре необходимо
проверить:
·наличие всех крепежных деталей и их
элементов, наличие и целостность пломб;
·наличие маркировки взрывозащиты и
предупредительных надписей;
·состояние заземления, заземляющие
болты должны быть затянуты, на них не должно быть ржавчины. В случае
необходимости они должны быть очищены.
Регламент технического
обслуживания на преобразователь разности давлений электронного типа:
ТO-0:
1. Внешний осмотр: проверка отсутствия механических повреждений, отсутствия
коррозии, надежности крепления, целостности электрических соединений, наличия
видимого заземления. Наличия калибровочного знака, наличия маркировки по
взрывозащите.
ТО-1: 1. Операции ТО-0; 2.
проверка соответствия значения «0» выходного сигнала нулевому значению
измеряемого параметра, корректировка; 3. Проверка состояния сопряжения деталей
обеспечивающих взрывозащиту; 4. Удаление загрязнений.
ТО-2: 1. Операции ТО-1; 2.
Осмотр импульсных линий, удаление загрязнений; 3. Прокачка антифризом,
опрессовка совместно с уравнительными, разделительными сосудами, устранение
неплотностей или удаление конденсата из отстойных сосудов.
ТО-3: 1. Операции ТО-2; 2.
Проверка герметичности кабельных вводов.
ТО-4: 1. Операции ТО-3; 2.
Проверка состояния обогреваемого шкафа, удаление загрязнений; 3. Проверка
герметичности кабельных вводов.
ТО-5: 1. Операции ТО-4; 2.
Чистк4а контактов от окисления, протяжка контактных соединений и крепежных
элементов, проверка заземления; 3. Восстановления надписей и маркировок; 4.
Проверка суммарной погрешности с каналом измерения (правильности показаний); 5.
Проверка состояния кабельных трасс, лотков. Меггирование контрольного кабеля.
Эксплуатация датчиков с
повреждениями и другими неисправностями категорически запрещается.
При ремонте датчиков
Метран-100-Ех необходимо также учитывать требования, изложенные в инструкции «Руководящий
технический материал. Ремонт взрывозащищенного и рудничного
электрооборудования» РТМ 16.689.169, и требования ГОСТ Р51330.18
«Электрооборудование взрывозащищённое.
Периодичность профилактических
осмотров датчиков устанавливается в зависимости от производственных условий, но
не реже одного раза в год.
При профилактических осмотрах
выполнить все работы в объеме внешнего осмотра, а также следующие мероприятия:
·после отключения датчика от
источника электропитания вскрыть крышку вводного устройства. Если имеются
повреждения поверхностей взрывозащиты, то датчик отправить на ремонт. Сенсорные
блоки подлежат ремонту на предприятии-изготовителе;
·при снятой крышке вводного
устройства убедитесь в надежности электрических контактов, исключающих нагрев и
короткое замыкание, проверить сопротивление изоляции и заземления;
-проверить надежность
уплотнения вводимого кабеля;
- проверить состояние клеммной
колодки. Она не должна иметь сколов и других повреждений;
·после установки крышки вводного устройства
произвести пломбирование датчика.
Возможные неисправности и
способы их устранения приведены в таблице 5.
Таблица 5 - Возможные
неисправности и способы их устранения
|
Неисправность
|
Причина
|
Способ
устранения
|
|
1.
Выходной сигнал отсутствует
|
Обрыв
в линии нагрузки или в линии связи с источником питания
|
Найти
и устранить обрыв
|
|
Нарушение
полярности подключения источника питания
|
Устранить
неправильное подключение источника питания
|
|
2.
Выходной сигнал нестабилен. Погрешность датчика превышает допускаемую
|
Нарушена
герметичность в линии подвода давления Нарушена герметичность сальникового
уплотнения вентиля датчика Метран-100-ДД
|
Найти
и устранить негерметичность. Подтянуть сальник вентиля или заменить новым
|
|
Нарушена
герметичность уплотнения монтажного фланца или ниппеля датчика
|
Заменить
уплотнительное кольцо или прокладку на новую, взятую из комплекта монтажных
частей
|
|
Нарушена
герметичность пробки фланца измерительного блока датчика
|
Подтянуть
пробку или уплотнить лентой ФУМ, или заменить пробку на новую
|
.
Используемая литература
1. Мулев Ю.В. «Манометры», Москва,
2001 г,;
2. Хансуваров К.И., Цейтлин
В.Г. «Техника измерения давления, расхода, количества и уровня жидкости, газа и
пара. Учебное пособие для техникумов, Москва, 1990г.;
. Жарковский Б.И., Шапкин
В.В. «Справочник молодого слесаря по контрольно-измерительным приборам и
автоматике», Высшая школа, 1991г.;
. Руководство по
эксплуатации СПГК.5070.000.00 РЭ «Датчик давления Метран-100», Челябинск,
2006г;
. Калиниченко А.В.
«Справочник инженера по контрольно-измерительным приборам и автоматике»,
Москва, 2008г.