Выбор и расчет основного технологического оборудования при плавке в кислородном конвертере
СОДЕРЖАНИЕ
ВВЕДЕНИЕ
. ОПРЕДЕЛЕНИЕ ЕМКОСТИ
КОНВЕРТЕРА
.1 Конструкция конвертера
. РАСЧЕТ ОСНОВНЫХ
ГЕОМЕТРИЧЕСКИХ ПАРАМЕТРОВ КИСЛОРОДНОГО КОНВЕРТЕРА
. ПОДГОТОВКА КОНВЕРТЕРА К
РАБОТЕ
.1 Чугун
.2 Стальной лом
.3 Охлаждающие материалы
.4 Шлакообразующие материалы
.5 Газообразные энергоносители
.6 Раскислители и легирующие
.7 Конструкция кислородной
фурмы
. РАСЧЕТ КИСЛОРОДНОЙ ФУРМЫ
. РАСЧЕТ ФУРМЕННОЙ ЗОНЫ
КОНВЕРТЕРА КОМБИНИРОВАННОГО ДУТЬЯ САДКОЙ 350 Т
. МАШИНЫ И УСТРОЙСТВА
СТАЛЕПЛАВИЛЬНОГО ЦЕХА
.1 Сталевозы
.2 Машина для ремонта футеровки
.3 Система очистки газов
ПЕРЕЧЕНЬ ССЫЛОК
ВВЕДЕНИЕ
Конкурентоспособность кислородно-конвертерного
процесса в последние годы значительно возросла в связи с разработкой и
освоением новых его вариантов. Самым перспективным из них является
донно-верхняя продувка металла кислородом и другими газами.
Комбинированная продувка конструктивно сложнее
обычных методов конвертирования, требует большей культуры производства, но
позволяет объединить и комплексно использовать преимущества продувки сверху и
снизу. В результате этого достигаются: большие мощности и равномерность
перемешивания ванны; рассредоточение дутья; приближение системы шлак-металл к
равновесию; спокойный ход плавки; высокий выход годной стали; слабое
дымовыделение; легкое регулирование окисленности шлака с помощью верхней фурмы,
быстрое растворение обычной извести и сокращение в результате этого
продолжительности безшлакового периода, сопровождаюшегося выносом капель
металла; ранняя дефосфорация.
Рис. 1 - Схема комбинированного дутья
1.
ОПРЕДЕЛЕНИЕ
ЁМКОСТИ КОНВЕРТОРОВ
кислородный
конвертор сталеплавильный дутье
Определяем ёмкость конверторов по
формуле
=
принимаем 350 т
где М - производственная
программа, или объем работ, который производит данный агрегат;- число единиц
одновременно действующих агрегатов, машин;
Фд - действительный фонд
времени работы одного агрегата.Определяется по формуле
, часов /год,
где Ф - календарный фонд
времени, который составляется для обычного года 24х365=8760 часов;- часть потер
времени роботы на разные остановки: ремонты, обслуживание, пересмены. Принимаем
р=0,01.
Фд = 8760 (1-0,01) @ 8660
часов/год
t -цикловое время работы объекта;
Цикловое время состоит из
нескольких отдельных операцій, которые составляют цикл работы. Для конвертера
длительность отдельных операций принимаем:
загрузка лома………………………..2,5
мин.
заливка чугуна……………………....4
мин
загрузка флюсов………………….…1,5
мин
продувка плавки
кислородом……...17 мин
“повалка” конвертера и
обслуживание плавки…………...….5
мин
випуск стали……………………...….6
мин
обслуживание
конвертера….……....8 мин
Всего длительность цикла 44 мин
= 0,7
часа- это коэффициент запаса, принимаем, принимаем 1,1.
Производительность цеха с 3-мя
конвертерами:
ПР = (N-1) 1440 Q K/ [(1+0,12) tпл]= (3 - 1)*1440*350*365 /
[(1 + 0,12)*44,0]= =7919859 т
Производительность 310 -т конвертера
ПРконв = ПР / N= 7919859 / 3 = 2639953т
1.1 Конструкция конвертера
Кислородный конвертер состоит из следующих
основных элементов: корпуса с футеровкой, образующих рабочее пространство;
опорного кольца с цапфами и системы крепления в нем корпуса; опорных узлов и
станин; механизма поворота; кислородной фурмы с системой крепления и
перемещения.
Корпус конвертера симметричен относительно
вертикальной оси и футерован изнутри огнеупорными материалами. Металлический
кожух конвертера представляет собой набор тонкостенных оболочек различной
геометрии, ребер жесткости и различных кронштейнов. В кожухе конвертера в
процессе эксплуатации постоянно возникают знакопеременные напряжения,
определяемые сложной комбинацией нагрузок от веса металлоконструкций,
футеровки, жидкого металла и шлака, реакцией кронштейнов, теплового расширения
огнеупорной кладки, а также вследствие наличия неравномерного температурного
поля в самом кожухе.
В кислородных конвертерах нагрев корпуса
настолько интенсивен, что термические напряжения могут быть причиной аварии.
В качестве примера приведем металлический кожух
современного конвертера емкостью 310 т. Металлическая оболочка конвертера
состоит из конической, цилиндрической, двух торовых частей и сферического
днища. Все эти элементы изготовляют из гнутых и штампованных листов, сваренных
между собой встык для уменьшения массы конструкции.
Коническую часть выполняют переменного сечения.
Она находится в тяжелых эксплуатационных условиях, подвергаясь интенсивному
воздействию резких колебаний температур и ударным воздействиям при загрузке
шихты и удалении настылей. Ее нижнюю часть выполняют из листа толщиной 40-60
мм, к ней приваривают массивную литую обечайку, к которой с помощью болтовых
или клиновых соединений крепят съемный массивный литой шлем. Такая конструкция
обеспечивает необходимую жесткость и долговечность конической части. Кроме
того, большая масса этой конструкции позволяет сохранять проектное положение
центра тяжести конвертера, несмотря на усиленный износ огнеупорной футеровки
горловины. Шлем обычно изготавливают цельнолитым. Однако в процессе эксплуатации
происходит непрерывный его износ, требующий замены всего шлема. В связи с этим
в настоящее время рекомендуется шлем изготавливать разъемным, состоящим из
нескольких взаимозаменяемых частей, которые крепят между собой в процессе
сборки.
Механизм поворота - двухсторонний навесного типа
Рис.
2 - Схема механизма
поворота конвертера
Каждый привод снабжен двумя электродвигателями
постоянного тока 2, двумя тормозами 3, двумя быстроходными двухступенчатыми
редукторами 1, тихоходным двухступенчатым редуктором 4 с двумя ведущими валами
и универсальными шпинделями 5, обеспечивающими нормальную работу подшипников
тихоходного редуктора при перекосе приводной цапфы 10 и деформации
металлоконструкций. Требуемая частота вращения конвертера поддерживается
тахогеиератором 8 включенным в схему управления электроприводом и соединенным
через одноступенчатый кинематический редуктор 7 с электродвигателем. В заданных
положениях конвертер останавливается комаидоаппаратом 6. соединенным с промежут
чиыу валом тихоходного редуктора. От командоаппарата приводится во вращение
сельсин-датчик 5, передающий данные об угле наклона конвертера на пульт
управления.
Для рабочего слоя футеровки конвертера, как и у
конвертеров верхней продувки применяют в основном безобжиговые смоло и
пеко-связанные огнеупоры на основе СаО и MgO. В футеровке днищ эти огнеупоры
показали низкую стойкость, поэтому применяют магнезитохромитовые,
магнезитоуглеродистые огнеупоры и разрабатывают новые, более стойкие в условиях
службы днища.
Для вдувания нейтральных газов в футеровке днища
устанавливают 4-16 фурменных устройств - огнеупорных блоков, в которых имеются
газопроводящие каналы. Применяют блоки с одним газопройодящим каналом (рис. 1,
а), с несколькими каналами (рис. 1, б) и пористые, с направленной пористостью
(рис. 1, в). В поперечном сечении каналы могут быть круглыми или иметь форму
плоской либо кольцевой щели. Чаще применяют блоки с каналами круглого сечения;
они представляют собой либо круглое отверстие в огнеупоре, как это показано на
рис. 1, а, либо вмонтированную в огнеупор стальную трубку. Диаметр канала в
одноканальных блоках достигает 8 мм. Пористый блок сечением 100 х 150 мм может
иметь до 50 каналов диаметром 1-1,5 мм. Нейтральный газ подводят либо непосредственно
к каналу блока (на рис. 1, а - через вмонтированную в огнеупор цилиндрическую
втулку 3), либо через охватывающую огнеупорный блок кассету 4 (рис. 1, б, в) из
стальных листов. Фурменные блоки на разных заводах располагают разнообразными
способами - в одной половине днища и по всей его площади, параллельными рядами
и по окружности и другими способами, добиваясь за счет этого улучшения
перемешивания и основных показателей плавки. Стойкость днищ обычно ниже
стойкости футеровки стен, и днище приходится заменять чаще, чем футеровку стен.
Рис. 3 -
Разновидности огнеупорных блоков (фурм) с одним гаэоподводящим каналом (а), с
несколькими (б), с направленной пористостью (в) для подачи нейтральных газов
через дно: 1 - газоподводяшая трубка; 2 - каналы; 3 - закладная втулка; 4 -
кассета из стальных листов
2. РАСЧЕТ
ОСНОВНЫХ ГЕОМЕТРИЧЕСКИХ РАЗМЕРОВ КИСЛОРОДНОГО КОНВЕРТЕРА
Удельный объем кислородного конвертера, м3/т
Критическая скорость истечения
кислорода, м/с
где К - показатель адиабаты, равный
для двухатомных газов 1.4;
R- газовая
постоянная, равная 8319/
μ
Давление кислорода перед соплами
кислородной фурмы, Н/м2
Рн = (0,588 + 0,00392*Q) * 106 =
(0,588 + 0,00392*350) * 106 = 1960000
Критерий скорости истечения
кислорода
Скорость истечения кислорода на
срезе сопла кислородной фурмы, м/c
Wг = Wкр * λ = 298,12 * 1,78 = 531,39
Начальная плотность кислорода, кг/м3
Плотность кислорода на срезе сопел
кислородной фурмы,
кг/м3
Глубина спокойной ванны, м
Удельную интенсивность продувки
принимаем(g) = 3,5
Нм3/т*мин
Внутренний диаметр конвертера, м
Объем металлической ванны, м3
Внутренний диаметр днища, м
Диаметр горловины конвертера, м
Рабочий объем конвертера, м3
Высота конической части конвертера,
м
Высота цилиндрической части
конвертера, м
Внутренняя высота конвертера, м
Толщина футеровки конвертера в
цилиндрической части, м
Толщина футеровки конвертера в
конической части
Толщина днища конвертера, м
Толщина металлического кожуха
конвертера, м
Наружный диаметр конвертера, м
Полная высота конвертера, м
Диаметр сталевыпускного отверстия, м
В кислородно-конвертерном цехе для выплавки 7,9
млн. т стали в год, устанавливаются:
- три кислородных конвертера вместимостью 350 т
каждый, работающих по схеме «с перекрытием циклов»;
одна установка вакуумирования стали
комбинированного типа;
одна двухпозиционная установка типа «печь-ковш»;
- четырехручьевые МНЛЗ криволинейного типа для
получения заготовок сечения 250×(750 - 2530) мм;
- одна вертикального типа МНЛЗ для получения
слябовых заготовок;
установка десульфурации чугуна;
Бесперебойная работа цеха обеспечивается
установкой следующего кранового оборудования:
- заливочные краны;
краны для перестановки ковшей в отделении
перелива чугуна;
краны для перестановки совков со скрапом;
краны для перестановки шлаковых чаш в шлаковом
пролете.
Рис. 3 - Технологическая
схема работы конвертерного цеха:
- конвертер; 2 - совок с ломом; 3 - чугуновозный
ковш; 4 - машина для скачивания шлака; 5 - устройство для измерения температуры
чугуна; 6 - конвейер для подачи сыпучих материалов; 7- бункер для сыпучих
материалов; 8- виброгрохот; 9 - питатель; 10 - весы; 11 - устройство для подачи
сыпучих материалов в конвертер; 12, 13 - кислородная и измерительная фурмы; 14
- бункер для ферросплавов; 15 - контейнер для загрузки бункеров ферросплавами;
16 - погрузчик; 17 - печь для нагрева ферросплавов; 18- электропечь для
расплавления алюминия; 19 - машина для транспортировки ферросплавов; 20 -
сталевоз; 21 - шлаковоз; 22 - машина для отсечки шлака; 23 - цементовоз для
известковой пыли; 24 - промышленный пылесос; 25 - уборочная машина
Кроме того, устанавливается следующее
технологическое оборудование:
ковши миксерного типа;
сталеразливочные ковши;
совки для скрапа;
шлаковые чаши;
машина «Орбита» для ломки футеровки;
стенд для выкладки футеровки;
стенды для сушки футеровки.
Жидкий чугун подается из доменного цеха в
чугуновозных ковшах миксерного типа вместимостью 600 т с минимальным
количеством доменного шлака. Передвижные миксеры, поступающие под налив чугуна,
должны быть исправными и очищены от настылей металла и шлака.
При повышенном содержании серы в чугуне
производится его десульфурация гранулированным магнием на установке с верхней
продувочной фурмой в соответствии с технологической инструкцией по десульфурации
чугуна.
Стальной лом. Лом в конвертерный цех
доставляется в совках вместимостью 35 м3, загружаемых в копровом цехе. При
погрузке совков выдерживается следующее соотношение между видами лома:
легковесный - 40-60 %, средневесный 30-60 % и тяжеловесный - 5-30 % от веса
лома в совке. При наличии собственной обрези литых слябов при необходимости
совки могут догружаться в скрапном отделении. При выплавке ответственных сталей
соотношение между видами лома в совке должно оговариваться в специальном
заказе, передаваемом из конвертерного цеха в копровый.
Не допускается использование привозного
несортированного лома для выплавки сталей с содержанием хрома 0,03 % и менее.
Допускается замена части лома твердым чугуном в количестве не более 35 т на
плавку.
Рис. 4
- Схема подачи дозирования и загрузки сыпучих материалов в конвертер:
- основной ленточный конвейер; 2 - реверсивный
конвейеря; 3, 6 - расходные бункера; 7 электровибрационные конвейеры; 8, 17 -
промежуточный бункер; 12 - затвор; 13 - течка; 14 - кессон; 15 - конвертер; 16
- грохот для извести; 18 - шнековый конвейер; 19 - сборный бункер.
Использование в конвертере негабаритного
металлолома и непакетированной стружки (россыпью) не допускается. Не
допускается также наличие в ломе цветных металлов (цинка, свинца, меди и др.),
горюче-смазочных материалов, мусора, снега, льда, закрытых сосудов, взрывчатых
веществ и т.д. Перед завалкой лома в конвертер каждый совок должен быть взвешен
на платформенных весах. До первой плавки после холодного ремонта конвертера в
совки загружается только обрезь листовых и сортовых станов.
Сыпучие: от приемных бункеров отделения сыпучих
транспортируются в бункера запаса конвертерного отделения конвейерами. Бункера
запаса располагаются в непосредственной близости от конвертера.
Ферросплавы: грузопоток ферросплавов аналогичен
организации грузопотока сыпучих. Из бункеров запаса конвертерного отделения
ферросплавы по течкам доставляются к печам для их подогрева и прокаливания, а
также к печам для получения жидких лигатур, находящихся в конвертерном пролете.
Затем ферросплавы подаются в ковш с металлом.
3. ПОДГОТОВКА
КОНВЕРТЕРА К РАБОТЕ
После ремонта или длительного простоя конвертера
необходимо проверить технологическое оборудование:
механизмы подъема и опускания «юбки»,
кислородной и измерительной фурм;
исправность кислородной и измерительной фурм;
работу механизмов поворота конвертеров;
исправность трактов подачи сыпучих материалов и
ферросплавов;
наличие в магистралях необходимого давления
кислорода и азота;
работу приборов КИПиА и схем сигнализации;
готовность АСУ ТП конвертерной плавки;
работу всех элементов газоочистки конвертерных
газов.
После длительного простоя конвертера или
подключения в работу новой продувочной фурмы необходимо убедиться в ее
исправности путем кратковременного открывания кислорода.
В период меж плавочных простоев конвертер
рекомендуется устанавливать горловиной книзу с углом наклона, предотвращающим
обрушение футеровки.
После каждой плавки или после простоя необходимо
осматривать футеровку конвертера. При необходимости организовывать подварку
футеровки и ремонт сталевыпускного отверстия.
Запрещается отдавать конвертер под плавку при
появлении аварийного состояния футеровки, при течи воды из фурмы,
котла-охладителя конвертерных газов или «юбки», а также при наличии в
конвертере жидкого металла и шлака от предыдущей плавки без принятия
специальных мер по приведению шлака в неактивное состоянию.
Шихтовые материалы, задаваемые на плавку в
конвертер, должны соответствовать по качеству действующим стандартам и
техническим условиям .
3.1 Чугун
Жидкий чугун подается из доменного цеха в
чугуновозных ковшах миксерного типа вместимостью 600 т с минимальным
количеством доменного шлака. Передвижные миксеры, поступающие под налив чугуна,
должны быть исправными и очищены от настылей металла и шлака.
Рис.
5
-
Чугуновозный ковш миксерного типа
Чугуновозный ковш миксерного типа состоит из:
Чугуновозный ковш состоит из футерованного
корпуса , на цапфы которого насажен привод наклона и подшипниковые узлы,
опирающиеся на самоустанавливающиеся колонны со сферическими пятниками,
установленными на ходовых тележках. Крепко закрепленные на ходовых тележках,
фиксаторы подвижно соединены с корпусами подшипниковых узлов, к которым также
присоединены пружинные компенсаторы, соединенные с балками ходовых тележек.
Работает чугуновозный ковш следующим образом.
При вписывании тележки в кривую пути соединительные балки отклоняются от оси
цапф относительно фиксатора, а опорные колонны наклоняются в разные стороны.
При этом нагрузка от веса, передаваемая через них при наклоне, раскладывается,
и горизонтальные составляющие образуют пару сил, разворачивающую тележку в
колее. чем круче поворот, тем больше перекос тележки и больше момент,
разворачивающий тележку,
Чугуновозный ковш миксерного типа, содержащий
сигарообразный корпус, ходовые тележки, соединенные балками, привод наклона и
подшипниковые узлы, опирающиеся на самоустанавливающиеся колонны, отличающиеся
тем, что, с целью увеличения долговечности ходовых тележек и обеспечения их
устойчивого положения в колее, балки ходовых тележек и корпуса подшипниковых
узлов соединены между собой горизонтальными пружинными компенсаторами.
Сливают чугун в конверторном цеху из миксера в
заливочный ковш, висящий на крюках заливочного крана. Для доставки ковшей с
чугуном в загрузочном пролете предусмотрены два рельсовых пути. Переливное
отделение (участок) располагают в торце загрузочного пролета, в пристраиваемом
к нему пролете.. В зависимости от плана завода пути миксерных ковшей в
отделениях перелива могут располагаться вдоль загрузочного пролета и в
поперечном направлении. Чугун обычно доставляют в один из торцов загрузочного
пролета, что обеспечивает нормальную работу цеха. Пути доставки миксерных
ковшей обычно располагают на нулевой отметке. Перед заливкой чугуна в конвертер
необходимо скачать из заливочного ковша шлак, попадающий из миксерного ковша,
поскольку этот шлак обычно содержит много серы. Скачивание шлака ведут в торце
загрузочного пролета машиной гребкового типа из ковшей, удерживаемых и
наклоняемых заливочным краном.
Рис. 6 -
Машина для скачивания шлака
Температура чугуна в заливочном ковше измеряется
термопарой погружения и должна быть не менее 1350°С. Допускается переработка
чугуна с температурой ниже 1350°С, если это никак не скажется на технологии
производственного процесса.
.2 Стальной лом
Лом в конвертерный цех доставляется в совках
вместимостью 6S м3, загружаемых в
копровом цехе. При погрузке совков выдерживается следующее соотношение между
видами лома: легковесный - 40-60 %, средневесный 30-60 % и тяжеловесный - 5-30
% от веса лома в совке. При наличии собственной обрези литых слябов при
необходимости совки могут догружаться в скрапном отделении.
Завалка лома в конвертера осуществляется
мостовыми завалочными кранами с загрузкой лома одним совком. В результате их
применения, по сравнению с полупортальными машинами сокращается за счет
загрузки лома одним совком длительность плавки на 1 мин, что ведет к увеличению
производительности конвертера примерно на 2%; упрощается организация работ за
счет уменьшения числа совков; возможно сооружение облегченной рабочей площадки
загрузочного пролета.
Рис. 7 -
Мостовая загрузочная машина
Мостовая загрузочная машина обслуживающая
конвертеры вместимостью 310т, производит загрузку металлолома последовательно
двумя совками вместимостью по 50 м3 н выполняет следующие операции: перемещение
тележек с совками в направлении, перпендикулярном движению машины, вертикальные
перемещения совков и их кантование.
В состав машины входят мост 5 с кабиной 2
машиниста и панелями управления, ходовая часть с механизмом 6 передвижения и
две тележки 4 с грузозахватными устройствами 1 для совков. Мост сварной
сплошной конструкции выполнен из четырех жестких продольных и двух концевых
балок. На продольных балках уложены два рельсовых пути для тележек. Каждая
концевая балка 7 моста шарнирно связана с главным балансиром 8, а последний -
шарнирами с четырьмя двухколесными балансирными тележками 11. Такая конструкция
ходовой части моста создает статически определимую систему и равномерность
нагружения ходовых колес пары балансирных тележек. Из шестнадцати ходовых колес
10 моста четыре являются приводными. Механизм передвижения моста снабжен
четырьмя индивидуальными приводами, каждый из которых состоит из
электродвигателя переменного тока, тормоза и трехступенчатого вертикального
редуктора. Последний соединен с валом приводного ходового колеса поседством
двух зубчатых муфт н промежуточного вала. Подвод электропитания осуществлен
троллеями 3. Для смягчения ударов при наезде крана на тупиковые упоры на мосту
установлены пружинно-гидравлические буферы 9.
Перед завалкой лома в конвертер каждый совок должен
быть взвешен на платформенных весах. Скраповозом транспортируют лом из
скрапного пролета в загрузочный, где с помощью заливочного крана происходит
загрузка в конвертер.
При выплавке ответственных сталей соотношение
между видами лома в совке должно оговариваться в специальном заказе,
передаваемом из конвертерного цеха в копровый.
Не допускается использование привозного
несортированного лома для выплавки сталей с содержанием хрома 0,03 % и менее.
Допускается замена части лома твердым чугуном в количестве не более 35 т на
плавку.
Длина кускового лома должны составлять не более
1000 мм. Толщина куска зависит от интенсивности продувки: при 600-900 м3/мин
наибольшая толщина куска лома составляет 350 мм; при 1100-1500 м3/мин - 300 мм.
Размеры пакетов не должны превышать 2000×1050×750 мм.
Использование в конвертере негабаритного
металлолома и непакетированной стружки (россыпью) не допускается. Не
допускается также наличие в ломе цветных металлов (цинка, свинца, меди и др.),
горюче-смазочных материалов, мусора, снега, льда, закрытых сосудов, взрывчатых
веществ и т.д. Перед завалкой лома в конвертер каждый совок должен быть взвешен
на платформенных весах. До первой плавки после холодного ремонта конвертера в
совки загружается только обрезь листовых и сортовых станов.
Легированный (например, оборотный лом и отходы
хромоникелевых сталей) и медьсодержащий лом (отходы меди, биметалл, пакеты из
медной проволоки и шин) используется на плавку только по команде мастера
конвертеров в установленном им количестве. Использование легированного лома при
выплавке углеродистых сталей запрещается.
Допускаете наличие в шихте при выплавке сталей
неответственного назначения разделанных "ковшей" из шлаковых чаш
конвертерного цеха и лома, извлекаемого при шлакопереработке фракции 10-50 мм в
количестве не более 30 % от массы лома на плавку. Максимальный размер «коржей»
не должен превышать 1000 мм. Скидка на массовую долю шлака в «коржах»
устанавливается в количестве 40 %, в ломе, извлекаемом при шлакопереработке- 20
%.
Сыпучие, кусковые материалы и ферросплавы
подаются в конвертерное отделение по конвейерному тракту из бункеров отделения
приема сыпучих и ферросплавов. Перед непосредственной загрузкой сыпучих и
ферросплавов в ковш производится их взвешивание с точностью ± 10 кг.
Рис. 8 -
Схема конвеерного тракта доставки сыпучих материалов и ферросплавов
В каждой линии тракта установлено по три
иаклоииых конвейера с углом наклона 8-10°, которые обеспечивают подъем
материалов на высоту 46 м. В состав тракта входят приемные конвейеры 5,
расположенные в отделении сыпучих материалов, перегрузочный узел 4 с
однорукавиыми течками, промежуточные конвейеры 5, перегрузочный узел 6 с
двухрукавными течкамн, главные конвейеры 7 и сбрасывающие тележки 8. Как
указывалось выше при рассмотрении шихтовых отделений, сыпучие материалы из
железнодорожных полувагонов 1 разгружаются в приемные бункера 2, а затем
направляются и а леиты приемных конвейеров. Ферросплавы, прошедшие подготовку,
внутренней конвейерной системой отделения ферросплавов подаются иа эти же
приемные конвейеры. Разгрузка главных конвейеров и избирательная подача
различных видов сыпучих материалов в расходные бункера 9 главного корпуса цеха
осуществляется сбрасывающими тележками или, как это принято в ряде других
нехов, посредством передвижных реверсивных конвейеров.
Применение в тракте перегрузочных узлов
позволяет использовать укороченные ленточные конвейеры, обладающие повышениыми
эксплуатационными качествами. Перегрузочный узел с двумя двухрукавными течками обеспечивает
переброску потока материалов с одной линии конвейеров на другую и значительно
повышает надежность работы и пропускную способность конвейерного тракта при
выходе из строя оборудования одной из линий. Конвейеры линий попарно помещены в
закрытых галереях, исключающих воздействие атмосферных осадков
.3 Охлаждающие материалы
Кроме металлического лома, в качестве
охладителей могут быть использованы железорудные окатыши, известняк и
необожженный доломит. Фракционный состав охладителей должен составлять 10-80
мм. Массовая доля фракций менее 10 мм и более 80 мм не должна превышать 10 %
каждой. Охладители должны быть воздушносухими и не иметь следов видимой влаги.
Масса присаживаемых охладителей определяется
машинистом дистрибутора, исходя из имеющегося перегрева металла и охлаждающей
способности материалов.
3.4 Шлакообразующие материалы
В качестве основного шлакообразующего материала
применяется мягкообожженная известь марок ИС-1 и ИС-1-1. Массовая доля (СаО + MgO)
в извести - не менее 92 %, в т.ч. MgO
- 4-7 %, серы - не более 0,06 %, потери при прокаливании не более 5 %,
реакционная способность - не более 2 мин. Фракционный состав извести должен
находиться в пределах 10-40 мм. Количество фракции менее 10 мм должно быть не
более 10 %. Свежеобожженная известь должна поступать в конвертерный цех не
позднее 12 ч после обжига. Длительность хранения извести в расходных бункерах
конвертерного отделения должна быть не более одних суток. Применение
извести-пушенки не допускается.
При недостатке извести применяется ожелезненная
известь или ожелезненный доломит в количестве не более 50 % от требуемого
количества на плавку. Ожелезненная известь для сталеплавильного производства
должна содержать массовую долю СаО не менее 85 %, MgO
- не более 8 %, Fe2Оз
- не более 8 %, SiO2
- не более 5 %, потери при прокаливании не более 1 %. Фракционный состав
извести должен находиться в пределах 3-40 мм. Количество фракции менее 3 мм
должно быть не более 15 %.
Для ускорения процесса шлакообразования
применяется воздушно-сухой плавиковый шпат в кусках размером не более 100 мм с
массовой долей фтористого кальция не менее 75 %.
С целью улучшения шлакообразования и повышения
стойкости футеровки конвертеров разрешается применение магнийсодержащих
материалов (мягкообожженный и ожелезненный доломит, доломитизированная известь,
смесь извести и доломита, магнезитовых сваров и др.) в количествах,
обеспечивающих получение в конечных конвертерных шлаках массовой доли оксида
магния в пределах 8-10 %.
3.5 Газообразные энергоносители
Кислород. Чистота кислорода для продувки должка
быть не менее 99,5 %. Чистота кислорода определяется на газоанализаторах
конвертерных газов. Объемная доля азота в кислороде должна быть не более 0,10
%, а относительная влажность - не более 20 %. Давление кислорода в магистрали
должно быть 16-25 кг/см2 (1,6-2,5МПа).
Азот должен соответствовать требованиям 9293-74.
Давление азота в магистрали должно быть 16-25 кг/см2 (1,6-2,5 МПа).ГОСТ .
.6 Раскислители и легирующие
Для раскисления и легирования стали применяется
ферромарганец, силико-марганец, марганец металлический, ферросилиций,
феррохром, ферросиликохром, феррофосфор, феррониобий, феррованадий, ферротитан,
губчатый титан, силикокальций, редкоземельные металлы (РЗМ), алюминий, медь и
ее отходы, никель и др. Все раскислители и легирующие материалы должны
применяться в воздушно-сухом или прокаленном виде. Размер кусков раскислителей
и легирующих материалов, присаживаемых по вертикальному тракту, должен быть от
20 до 80 мм. Алюминий используется в виде чушек массой 4-15 кг и дроби
диаметром 8-15 мм.
Медь и ее отходы используются в кусках или в
виде пакетов. При введении меди в конвертер во время завалки требования к
размеру кусков или пакетов те же, что и для стального лома. При легировании
металла медью в ковше один из размеров кусков и пакетов медьсодержащих
материалов не должны превышать 600 мм.
Для науглероживания металла в ковше используются
просушенные углеродсодержащие материалы (кокс сухой, термоантраадит,
электродный бой или порошок) фракции не более 10 мм. Допускается
науглероживание металла в ковше жидким чугуном.
3.7 Конструкция
кислородной фурмы
Рис. 9 -
Двухярусная фурма
Нижний ярус имеет обычный пятисопловый
наконечник с углом наклона сопел к вертикали 20 º. на
втором ярусу расположены 6 сопел диаметром 16 мм. Расход кислорода через сопла
верхнего яруса составляет 100-200, нижние 400-500 м
При работе фурмы наблюдается повышенный износ
футеровки в цилиндрической и конической части конвертера.
Такая конструкция фурмы позволяет повысить
эффективность продувки за счет перераспределения кислорода между основными и
дополнительными соплами, а также подачи кислорода из дополнительных сопел
радиально или тангенциально направленными струями. Взаимное размещение основных
и дополнительных сопел, а также соотношение их критических сечений обеспечивает
повышение коэффициента дожигания, однако эффективность передачи тепла дожигания
CO до CO2 непосредственно металлическому расплаву сравнительно невелика,
поскольку над ним располагается слой малотеплопроводного вспенившегося шлака.
Кроме того конструктивное размещение основных и дополнительных сопел, их
взаимная ориентация относительно друг друга усложняет технологичность
изготовления фурмы. Известна кислородная фурма с соплами для продувки ванны и
специально выполненными в виде плоских диффузоров соплами для дожигания
отходящих газов. Такая конструкция фурмы обеспечивает специализацию сопел по
функциональному назначению: пространственная ориентация сопел для дожигания CO
в сочетании с аэродинамическими характеристиками плоских струй обеспечивает
веерообразный характер взаимодействия струй с восходящим потоком CO, что
позволяет организовать не только эффективное протекание реакции
обезуглероживания, но и дожигание части выделяющегося из ванны CO с эффективной
теплопередачей тепла ванне. Однако данное конструктивное решение хотя и
позволяет расположить зону дожигания CO до CO2 в определенной области по высоте
конвертера над шлакометаллической ванной, характеризуется низкой эффективностью
дожигания окиси углерода в полости конвертера при перекрытии вспенивающимся
слоем шлакометаллической эмульсии среза сопел для дожигания CO. В этом случае
кислородные струи, истекающие из сопел для дожигания CO, воздействуют на слой
шлака, способствуя чрезмерному переокислению последнего, образованию выбросов и
износу футеровки. При расположении в ходе продувки сопел для дожигания над
поверхностью шлакометаллической эмульсии ощутимо снижается эффективность
передачи тепла дожигания CO до CO2 непосредственно металлическому расплаву,
поскольку над ним располагается слой малотеплопроводного вспенивающегося шлака.
Это ограничивает возможности фурмы в снижении расхода чугуна.
4. РАСЧЕТ
КИСЛОРОДНОЙ ФУРМЫ
Исходные данные:
Статическое давление О2 перед
соплами, Р1………………18 ат
Давление О2 на срезе сопел, Р2
……………………………1,4 ат
Интенсивность продувки, і
………………………………...4 нм3/т×хв
Скорость О2 в фурме, Wф
…………………………………..50 м/с
Температура
О2
в фурме, Т1 …………………………………293 К
Вибираем конструкцию фурмы с
подводом кислорода по центральной трубе.
Количество сопел определяем по
формуле [2]
Нв - глубина спокойной ванны,
= 1,898 м.
Vуд
=0,74м3/Т. Получем n =8,99 расчитываем
девяти сопловую фурму.
Определяем массовый расход
кислорода:
Критическая скорость
истечения кислорода:
Полное давление кислорода
перед соплами (к статическому давлению Р1=18 ат добавляется динамическая
состовляющая за счет торможения потока кислорода перед соплами)
Получаем:
ат.
Плотность кислорода перед
соплами:
Определяем критические
параметры истечения О2:
ат
Плотность кислорода на срезе
сопла:
Согласно закону сохранения
массы, в любой части потока
(F-площадь
сечения):
Определяем размеры сопла
Лаваля.
Скорость кислорода на срезе
сопла
,95 - коэффициент, котороый
учитывает отклонение реального процесса от идеального.
Выбираем бесшовную трубу Ø171´8.
Для подачи газов через днище
используют однокональные фурмы в виде металлических трубок с внутрнним
диаметром 6 мм и толщиной стенок 3 мм. Эти трубки вставляются в просверленный
огнеупорный кирпич или устанавливаются в него при прессовании огнеупора.
5. РАСЧЕТ
ФУРМЕННОЙ ЗОНЫ КОНВЕРТЕРА КОМБИНИРОВАННОГО ДУТЬЯ САДКОЙ 350 Т .
Исходные данные:
Салка конвертера: М= 350 т;
Глубина спокойной ванны: Нв =
1,898 м;
Давление кислорода в сети: Р
= 18 атм;
Интенсивность продувки: і = 4 H*м3 / т*мин;
Расчет защитного ПГ - 7,0 % от массы
О2:
Расход О2 по баллансу - 50 Н*м3/т;
Число фурм (конструктивно) 8 шт;
Расчет
Определяем количество газов,
проходящих через фурму при выбранных параметрах.
Х - количество О2, идущее на
дожигание газа по схеме:
СН4 + 2О2 →СО2 + 2Н2О
(50 * 310 * 1,43 + Х) * 0,07, кг -
Масса СН4 ;
Х = 
* Х = (50 * 350 * 1,43 * 0,07 + 0,07
* Х) * 64
* Х = 99299,2 + 4,48 * Х
,52 * Х = 99299,2
Х = 8619,7
где: 1,43 - плотность О2 в
нормальном состоянии. Всего О2 на передел с учетом его усвоения 95 % и
дожигания СН4 :

32404,9 кг;
Всего защитного газа на передел:
,9 * 0,07 = 2268,3 кг;
Всего продувки:
Секундные расходы через 1 фурму:
кислорода GO2 = 
2,77 кг/с;
ПГ: Gпг = 
0,1 кг/с;
Фурму делаем из 2-х концентрических
труб.
Желательное давление на выходе из
фурм:
Р2 = 105 + 7 * 103 * 9,81 * 1,8 +
0,5 * 105 = 2,73*105 Н*м2
Определяем критические параметры
истечения
скорость истечения:
Кислород:
Wкр = 
297 м/с;
Защитный газ:
Wкр = 
414,7 м/с;
Температура:
Кислород:
Ткр = 293 * 0,5280,2857 = 244,13
Ткр = 293 * 0,5280,2308 =252,8
Плотность:
Кислород:
ρО2 = 
= 4,162 кг/м3
ρСН4 = 
Определяем площади поперечного
сечения каналов фурмы и выбираем диаметры труб
FО2 = 
0,0022 м3
d = 
м
Выбираем нержавеющую трубу
Площадь поперечного сечения
кольцевого канала для газа:
FCH4 = 

;
,785 * Д2 = 1,2 + 0,785 * 4,1 2;
Д2 = 18,33
Д = 4,3 мм
Внутрений диаметр наружной трубы Д =
43
Выбираем нержавеющую трубу
Определяем потребное для обеспечения
расчетного режима продувки давление в фурменном коллекторе:
Р1 = 4,3
Внутрений диаметр наружной трубы Д =
43 мм
6. МАШИНЫ И УСТРОЙСТВА
СТАЛЕПЛАВИЛЬНОГО ЦЕХА
.1 Сталевозы
Сталевозы предназначены для
транспортирования ковша с жидкой сталью от конвертера в разливочный пролет; маневрирования
ковшом под конвертером во время слива стали; подачи и уборки машины для
установки конвертера, думпкаров для битого кирпича и мусора, несамоходных
шлаковозов, а также для чистки рельсовых путей и плит под конвертером от
выбросов металла и шлака. Ковш на сталевоз устанавливают и снимают разливочным
краном.
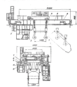
Рис. 10 - Сталевоз
Сталевоз состоит из: сварная рама 4,
сталевоз состоит из двух продольных и четырех поперечных балок коробчатого
сечения, закрытых сверху съемным плитным настилом. Рама установлена на четырех
балансирах 6 с двумя скатами 8 в каждом. Ходовая часть выполнена с четырьмя
приводными ходовыми колесами диаметром 1000 мм и двумя отдельными механизмами
передвижения 11. Привод каждого механизма передвижения состоит из
электродвигателя постоянного тока, тормоза и трехступенчатого редуктора. Для
защиты приводов от теплового излучения ковша и попадания металла при сливе
установлены экраны 7. Ток подводится посредством токосъемного устройства 2 и
троллеев 3, проложенных в специальном туннеле. Щель пролетного туннеля
закрывается металлической лентой, для укладки которой иа сталевозе установлено
лентоукладочное устройство 1. Сталевоз соединяется с другими машинами
автосцепкой, расцепной рычажный механизм 10 которой приводится в действие
вручную или дистанционно электромагнитами. Система густой централизованной
смазки обеспечивает подачу смазки ко всем узлам трения. Для чистки рельсового
пути на раме сталевоза закреплены четыре скребка 9. Зазор между ножами скребков
и головками рельсов 5-10 мм.
В сталевозах предусмотрены
дополнительные скребки для уборки выбросов металла и шлака с плит под
конвертером, которые устанавливаются по высоте винтовым механизмом с
электроприводом, управляемым дистанционно.
Как показал опыт эксплуатации,
обычный сталевоз не в состоянии разрушить и удалить застывшие выбросы металла с
путей и плит. Для этой цели следует все ходовые колеса сталевоза выполнить
приводными, что увеличит силу сцепления с рельсами до величины, необходимой для
очистки пути.
.2 Машина для
ремонта футеровки
Машины для ремонта футеровки
обеспечивают установку рабочей площадки внутри корпуса конвертера на требуемой
высоте и подачу огнеупорных материалов.
Для ремонта футеровки конвертеров
используют машины трех типов - крановые, навесные и напольные. Крановые и
навесные машины применяют при ремонтах глуходонных конвертеров, а напольные -
конвертеров с отъемными днищами. Крановые машины более эффективны в работе н
обеспечивают проведение ремонта за более короткое время, чем навесные.
Рис. 11 -
Крановая
машина для ремонта футеровки конвертора
Основные узлы машины - мост 6 с механизмом
передвижения 5, две рабочие площадки 3 и расположенные на разных уровнях,
механизм вертикального перемещения рабочих площадок 7, откидные козырьки 4 и 2
вертикальный платформенный подъемник материалов 12.
Верхняя рабочая площадка (большего диаметра, чем
нижняя) соединена с мостом машины тремя телескопическими направляющими 13.
Нижняя площадка крепится к верхней площадке тремя телескопическими стойками 15.
Механизм перемещения рабочих площадок состоит из барабанной лебедки 7, канатов
5, направляющих 9 и подвижных 14 блоков, закрепленных на верхней площадке.
Поворот козырьков рабочих площадок осуществляется с помощью гидроцилиндров.
Огнеупорные материалы на поддонах подают на мост машины автопогрузчиком,
устанавливают на платформу подъемника материалов 12 н опускают на рабочие
площадки. Платформу перемещает механизм, состоящий из лебедки и каиатиой
системы 11 с направляющими блоками 10. Платформу подъемника закрепляют на
нижней рабочей площадке фиксаторами, обеспечивая возможность ее перемещения
относительно верхней площадки.
Машина передвигается по рельсовому пути,
расположенному над конвертерами. Ходовая часть состоит из четырех колес, два из
которых приводятся от индивидуальных приводов.
6.3 Система
очистки газов
Как уже отмечалось, в конвертерных газах на
выходе из конвертера содержание плавильной пыли может достигать до 250 г/м3.
Выносимая из конвертера пыль в зависимости от способа охлаждения конвертерных
газов имеет различный химический и фракционный состав.
Система газоочистки должна обеспечить снижение
содержания пыли независимо от способа отвода и охлаждения конвертерных газов,
выбрасываемых в атмосферу в соответствии с требованиями санитарных норм, как
указывалось ранее, до 0,1 г/м3.
В настоящее время в мировой практике существует
большое разнообразие систем и конструкций газоочистных аппаратов. Все их можно
объединить в три большие группы по способам очистки: сухую, мокрую и
электроочистку.
В отечественной практике все
кислородно-конвертерные цехи оборудованы мокрыми системами газоочистки, т.к.
они взрывобезопасны, обладают высокой скоростью очистки и надежны в
эксплуатации.
В основе принципа работы мокрых газоочисток
лежит укрупнение частиц пыли за счет увлажнения и вывода их из газового потока
путем многократного изменения направления и скорости движения газов. Система
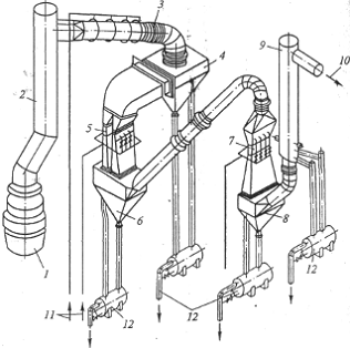
мокрой газоочистки (рисунок 2) является многоступенчатой и включает
последовательно
Рис. 12 -
Схема газоотводящего тракта с мокрой очисткой газов
- конвертер; 2 - котел-охладитель; 3 - орошаемый
газоход; 4 - бункер орошаемого газохода; 5 - две трубы Вентури первой ступени;
6 - бункер первой ступени; 7 - регулируемая труба Вентури второй ступени; 8 -
бункер второй ступени; 9 - каплеуловитель; 10 - к эксгаустеру; 11 - вода из
оборотного цикла; 12 - гидрозатворы
Расположенные аппараты, предназначенные для
снижения температуры газов до заданных пределов (скрубберы), аппараты для
очистки пыли (трубы Вентури) и аппараты для отделения влаги (каплеуловители
различной конструкции). Основным элементом таких газоочисток являются трубы
Вентури, которые предназначены для увеличения скорости газа, дробления,
перемешивания воды с газом, смачивания частиц пыли и их коагуляции. В
газоочистных аппаратах используются, так называемые, малые трубы Вентури с
круглым сечением горловины или большие трубы Вентури, имеющие круглое или
прямоугольное сечение горловины.
При отводе газов без дожигания газоочистные
аппараты должны оснащаться трубами Вентури с регулируемым сечением горловины.
Регулирование размеров горловины осуществляется с помощью подвижного конуса или
поворотных заслонок в зависимости от количества газов, выходящих из конвертера.
Мокрые газоочистки обладают радом недостатков, к
которым относятся большой расход воды 3,5-7,2 м3 на 1000 м3 газа, организация
сложной и громоздкой системы оборотного цикла водоснабжения, утилизации шлама,
высокий расход электроэнергии для обеспечения работы системы газоочистки.
Применение тканевых фильтров требует установки
дорогостоящего оборудования и специальных материалов.
Использование электрофильтров (сухих или мокрых)
при всех их преимуществах осложняется взрывобезопасностью в связи с
необходимостью тщательного регулирования скорости, температуры и влажности
дымового потока.
ПЕРЕЧЕНЬ ССЫЛОК
1. Целиков А.И. и др. Машины и
агрегаты металлургических заводов. Т.2. Машины и агрегаты сталеплавильных
цехов. /А.И. Целиков, П.И. Полухин и др.- М.: Металлургия, 1988. - 431с.
2. Баптизманський В.І. та інш.
Сталеплавильне виробництво. /В.І. Баптизманський, В.Б. Охотський та ін.- К.:
ІЗМН, 1996. - 400с.
. Алиев Г.М. Устройство и
обслуживание газоочистных и пылеулавливающих установок. /Г.М. Алиев.- М.:
Металлургия, 1983.- 293с.