Дистанционные приборы для измерения скважинных параметров

  • Вид работы:
    Контрольная работа
  • Предмет:
    Другое
  • Язык:
    Русский
    ,
    Формат файла:
    MS Word
    125,79 Кб
  • Опубликовано:
    2013-10-22
Вы можете узнать стоимость помощи в написании студенческой работы.
Помощь в написании работы, которую точно примут!

Дистанционные приборы для измерения скважинных параметров
















Дистанционные приборы для измерения скважинных параметров

1.     
Необходимость измерения давления

С помощью глубинных манометров в настоящее время решаются различные задачи контроля и регулирования разработки нефтяных месторождений. На основе исследований пласта и скважин с помощью глубинных манометров определяют параметры пласта, число скважин и расстояние между ними при проектировании разработки месторождения, назначают режим эксплуатации нефтяных и газовых скважин. С помощью глубинных манометров решают следующие задачи.

. Исследуют зависимость дебита от депрессии на забое для построения индикаторной кривой и определения коэффициента продуктивности.

. Измеряют изменение давления по стволу скважины, чтобы определить глубину, на которой оно равно давлению насыщения. По результатам этих измерений определяют глубину, на которой следует отбирать пробу нефти для исследования ее свойств в пластовых условиях. Исследования показывают, что глубина, на которой начинается выделение свободного газа из нефти, может служить косвенным указателем того, что здесь на стенках насосно-компрессорных труб из парафинистных нефтей начинает осаждаться кристаллический парафин. Таким образом, определяют глубину, до которой в скважину необходимо опускать депарафинизационные средства.

. Исследуют интерференционные явления (взаимное влияние скважин), чтобы определить гидропроводность пласта.

. Определяют пластовое давление, чтобы построить карты изобар, по которым прогнозируют изменения давления в различных точках нефтяного пласта.

. Определяют динамику изменения пластового давления для выявления эффективности методов его поддержания.

Допустимая погрешность измерения прибором составляет ±0,5%.

Первое требование-точность измерения. Другое требование, предъявляемое к глубинным манометрам, - увеличение времени непрерывной работы в скважине, В глубинных приборах в настоящее время часовые механизмы работают 13 и 36 ч.

Однако процесс нарастания давления от забойного до пластового продолжается от нескольких часов до нескольких суток. Для измерения давления таких процессов существующие часовые механизмы не пригодны. В этом случае целесообразно применять дистанционный глубинный манометр, датчик которого может находиться в скважине практически неограниченное время.

Требования к глубинным манометрам.

Вследствие специфических условий эксплуатации в нефтяных и газовых скважинах глубинные манометры должны отвечать следующим требованиям.

. Наружный диаметр глубинных манометров должен обеспечить возможность спуска прибора в насосно-компрессорные трубы, по которым в процессе измерения не прекращается добыча нефти. При большем диаметре спуск прибора в работающую фонтанную скважину затруднителен.

. Глубинный манометр эксплуатируется, находясь целиком в измеряемой среде. Поэтому ряд узлов надо герметизировать и предохранять от проникновения жидкости и газов под высоким давлением.

. Узлы и детали прибора, электрические и чувствительные элементы не должны изменять своих характеристик при воздействии высокой температуры окружающей среды в скважине, которая может достигать в некоторых случаях 200° С.

. Детали глубинных манометров должны быть изготовлены из коррозионностойких материалов или иметь соответствующие покрытия, предохраняющие от воздействия жидкостей в скважине (нефти и пластовых вод).

. Чувствительные элементы прибора должны быть предохранены от повреждений при ударах и толчках прибора в процессе спуска его в скважину.

Необходимо обеспечить высокую точность измерения при всех неблагоприятных условиях эксплуатации прибора.

1.1    Глубинный дистанционный манометр

Достоинством глубинных дистанционных манометров являются: 1) практически неограниченное время пребывания измерительного устройства в скважине, что весьма важно при исследовании неустановившихся процессов в пласте; 2) возможность наблюдать на поверхности значение изменяющегося давления в процессе его измерения; 3) возможность дистанционного контроля с диспетчерского пункта.

Дистанционный глубинный манометр состоит из глубинного снаряда, в котором расположены чувствительный элемент и преобразователь, канала связи и вторичного прибора. Наиболее удобным методом телепередачи для глубинных дистанционных манометров следует считать частотный и импульсный, при которых параметры канала связи существенно не влияют на погрешность системы телеизмерения.

Рисунок 1. Схема устройства преобразователя дистанционного глубинного манометра УДГМ-3

Схема устройства преобразователя показана на рис. 1. В основании 2 жестко закреплены неподвижные концы трубчатых пружин 1, подвижные концы которых соединены упругой перемычкой 9. Давление внешней среды через штуцер 11, капилляр 10 и канал 7 действует на внутреннюю полость пружин 1, которые стремятся распрямиться и натягивают упругую перемычку 9 силой, пропорциональной измеряемому давлению.

В основании 2 помещаются электромагнит 8, служащий для возбуждения упругих колебаний в перемычке, и электромагниты 3, предназначенные для преобразования этих колебаний в э. д. с. Катушки электромагнитов 3 включены последовательно. К выходам электромагнитов и к входу электромагнита 5 с помощью контактов 4 подключен усилитель (на рисунке не показан). В этом случае преобразователь работает в режиме незатухающих колебаний. Частота колебаний определяется по формуле

f=1/2l*(s/r)1/2 (1)

где l - длина перемычки; р - плотность материала, из которого изготовлена перемычка; s - натяжение перемычки.

Натяжение перемычки создается трубчатыми пружинами 1 под действием измеряемого давления. Таким образом, натяжение перемычки s пропорционально измеряемому давлению, а следовательно, и частота f также пропорциональна измеряемому давлению.

В случае работы преобразователя в режиме затухающих колебаний используется только электромагнит 8. В него посылается короткий импульс тока, приводящий упругую перемычку в колебание. После исчезновения импульса возбуждения в электромагните 8 наводится э. д. с. переменного тока, имеющая частоту, равную частоте собственных колебаний перемычки. На концах трубчатых пружин помещены грузы 6 с регулируемой массой. Регулировка массы грузов осуществляется изменением массы свинца 5. Трубчатая пружина 1 и упругая перемычка 9 выполнены целиком из одного стержня, изготовленного из сплава с малым температурным коэффициентом модуля упругости. Из этого же материала изготовлено основание 2.

Датчик собран в герметичном вакуумированном корпусе 12. Вторичный прибор состоит из конденсаторного преобразователя частоты и потенциометра или цифрового частотомера. Конденсаторный частотомер преобразует поступающую на его вход частоту в пропорциональный ей разрядный ток конденсатора.

Глубинный дистанционный манометр имеет сравнительно высокую точность. Максимальная приведенная погрешность измерения прибором равна 0,5%. [2].

Таблица 1. Технические характеристики

Предел измерения, кг/см2

0-100; 0-150; 0-175; 0-200

Максимальная погрешность, %

1,5-2,5

Порог чувствительности, %

0,75-1

Максимальная температура, °C

+90

Питание вторичного прибора

от вторичной обмотки разделительного трансформатора переменным током 220/127 с частотой 50 Гц


2.     
Необходимость и особенности измерения температуры

Физические свойства нефти (плотность, вязкость, количество газа и парафина, растворенных в нефти, и фазовые состояния нефти) в значительной степени зависят от ее температуры. Необходимость и особенность измерения температуры.

Технология процесса добычи нефти, промыслового сбора и первичной подготовки ее на промыслах, транспорт нефти и нефтепродуктов в значительной степени зависят от температурных факторов, при которых протекают эти процессы.

Поскольку физические свойства нефти зависят от температуры, при взятии глубинной пробы для изучения ее при помощи специальной исследовательской аппаратуры в пластовых условиях необходимо измерить температуру в скважине в месте ее отбора. Контроль температуры на забое скважин необходим и при обработке призабойной зоны различными способами (солянокислотная, термокислотная и искусственный разогрев пласта) для увеличения добычи нефти. Температура пласта в некоторой степени характеризует состояние его и требует систематического контроля.

В предыдущей главе было показано, что для определения поправки при измерении давления глубинными манометрами необходимо также измерять температуру в скважине.

Парафин из парафинистых нефтей выделяется при определенной температуре. Измеряя температуру по стволу нефтяной скважины, можно определить глубину, на которой она соответствует критической температуре выпадения парафина, и на основании результатов измерений - глубину спуска депарафинизационных средств.

Температуру необходимо измерять в трубопроводах с теплоносителем, в водонасосных, нефтенасосных и компрессорных станциях для контроля состояния подшипников. Измерения температуры в резервуарах с нефтью и нефтепродуктами являются необходимым элементом количественного учета.

Изменение температуры по стволу скважины может свидетельствовать о нарушениях обсадной колонны и о месте притока в скважину посторонней жидкости.

Таким образом, температура на забое и на различных глубинах скважины является параметром, который позволяет судить о ходе технологического процесса добычи нефти, о состоянии скважины и пласта. Поэтому в процессе разработки нефтяного месторождения необходим систематический контроль температуры. Для измерения температуры в действующих и остановленных фонтанных, компрессорных, глубиннонасосных и пьезометрических скважинах применяют глубинные термометры.

Температура на забое зависит от глубины скважины и неодинакова для различных географических районов.

Для выполнения задач исследования, контроля и управления разработкой нефтяных месторождений глубинные термометры должны отвечать определенным требованиям в отношении тепловой инерции, точности, чувствительности и пределов измерения.

Глубинные термометры можно разделить на две группы: с местной регистрацией и дистанционные. Термометры с местной регистрацией по принципу действия делятся на: манометрические, поршневые, биметаллические. Дистанционные глубинные термометры представляют собой электрические термометры сопротивления с металлическим или полупроводниковым резистором.

Требования к термометрам.

При создании глубинных термометров следует учитывать специфические условия, в которых эти приборы эксплуатируются: ограниченный наружный диаметр (не превышающий 35-40 мм), высокое давление, значительные глубины. Вследствие того, что прибор должен работать в окружении измеряемой среды, регистрирующий механизм необходимо изолировать в герметичную камеру, чтобы он удовлетворительно работал при высокой температуре.

Недостатки скважинных термометров.

Для исследования скважин должны применяться термометры, обладающие высокой чувствительностью и малым собственным тепловыделением. Ниже рассматривается устройство промышленных термометров с частотным преобразованием, работающих на одножильном блокированном кабеле и удовлетворяющих этим условиям. Устройство геофизических термометров с аналоговым преобразованием, основанных на применении термочувствительных резисторов из тонкого медного провода, широко известно. Недостатком таких термометров, предназначенных для работы с одножильным кабелем, например ЭСО-2, является низкое качество получаемых термограмм: наблюдаются случайные отклонения, имеется иззубренность, высокая погрешность. Это связано с тем, что в применяемой мостовой схеме чувствительный элемент включен последовательно с броней и жилой кабеля. В результате колебание сопротивления кабеля, утечки изоляции, а также возникающие между броней и колонной электрохимические ЭДС фиксируются на термограмме. Этих недостатков лишены термометры с частотным преобразованием. [4].

2.1    Глубинный дистанционный одножильный термометр

Глубинные дистанционные термометры состоят из датчика, кабеля и измерительной аппаратуры (вторичного прибора). Существуют электрические глубинные термометры сопротивления, спускаемые в скважину на трехжильном и одножильном кабеле.

Рисунок 3. Схема дистанционного одножильного термометра

На рис. 3 приведена схема дистанционного электрического термометра сопротивления, спускаемого в скважину на одножильном кабеле. РП - регистрирующий прибор; Rt - чувствительный элемент термометра сопротивления 2000 Ом при 20° С; П1 - П4 - переключатели по 0,1; 1; 5 и 20° С: П5 - переключатель для компенсации различия в сопротивлении жил кабеля; ЦЖК - центральная жила кабеля; БК, - броня кабеля

 (2),

где Rиз - сопротивление изоляционного кабеля; Rб - сопротивление брони; Rк - сопротивление жилы кабеля; Rt - чувствительный элемент

В приборе мостовая схема собрана на поверхности. В глубинном снаряде, спускаемом на одножильном кабеле в скважину, расположен чувствительный элемент Rt, представляющий сопротивление с большим температурным коэффициентом (медь).

Три плеча моста R1-R3 - постоянные сопротивления. Положения равновесия устанавливаются сопротивлениями r1-r4, включенными в то плечо, в которое входит чувствительный элемент. Этими сопротивлениями плечо моста, содержащее чувствительный элемент, уравнивается с соответствующим ему плечом R2. Величину сопротивлений r1-r4 изменяют переключателями /71-П4. При изменении положения переключателей П1-П4 на одно деление вводится сопротивление, соответствующее 0,1; 1; 5; 20° С. Это позволяет по соответствующим указателям переключателей непосредственно отсчитывать температуру, соответствующую равновесию моста (нулевую температуру Т0). Запись температуры представляет собой запись изменения напряжения в измерительной диагонали моста, пропорционального измеряемой температуре.

Поскольку в термометрах сопротивления на одножильном кабеле в скважину опускают лишь один чувствительный элемент измерительной схемы, а в качестве канала связи между глубинным датчиком и вторичной аппаратурой используется одножильный бронированный кабель, то сопротивление, кабеля включается в активную часть измерительной цепи.

На показания одножильных термометров влияют: а) изменение сопротивления центральной жилы кабеля за счет изменения его температуры; б) изменение сопротивления брони при размотке и смотке кабеля на барабан лебедки; в) изменение сопротивления изоляции кабеля, что равноценно включению или отключению некоторого дополнительного сопротивления параллельно к глубинному датчику.

Вследствие указанных причин погрешность измерения одножильными термометрами сопротивления достигает ±2° С. Таким образом, термометры сопротивления на трехжильном кабеле значительно точнее, чем на одножильном.

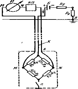
2.2    Глубинный дистанционный трехжильный термометр

Глубинные дистанционные термометры состоят из датчика, кабеля и измерительной аппаратуры (вторичного прибора). Существуют электрические глубинные термометры сопротивления, спускаемые в скважину на трехжильном и одножильном кабеле.

Рисунок 4. Схема дистанционного трехжильного термометра

На рис. 4 приведена схема электрического термометра сопротивления, спускаемого в скважину на трехжильном кабеле. R1 и R3 - сопротивления с большим температурным коэффициентом (из медной проволоки), R2 и R4 - сопротивления с малым температурным коэффициентом; а - контакт на корпус; К - кабель: П - прибор для записи измеряемой температуры; КП - компенсатор поляризации; Б - батарея; Rp - сопротивление реостата; Rб - балластное сопротивление.

 (3),

где To - начальная температура; с - коэффициент пропорциональности; ΔU - напряжение на измерительной диагонали; I - ток в ветви моста

В глубинном снаряде прибора собрана схема электрического моста. Два противоположных плеча R2 и R4 мостовой схемы изготовлены из материала с очень малым температурным коэффициентом (константан или манганин), а два других. R1 и R3 из материала со значительным температурным коэффициентом (медь). Мостовая схема глубинного снаряда соединена с измерительной аппаратурой, расположенной на поверхности, трехжильным кабелем.

По жиле А кабеля и землю через мост пропускают ток I. Прибор измеряет разность потенциалов DU между вершинами моста М и N. Плечи моста подобраны так, что при некоторой температуре Т0, принимаемой за нулевую, выполняются следующие условия:

R1=R3=R0, R2*R3=R2*R4 (4)

При этой температуре разность потенциалов между точками N и М равна нулю. При изменении температуры сопротивления плеч R1 и R3 изменяются, нарушается равновесие моста и появляется разность потенциаловDU. Вследствие указанных причин погрешность измерения одножильными термометрами сопротивления достигает ±2° С. Таким образом, термометры сопротивления на трехжильном кабеле значительно точнее, чем на одножильном.

Основным недостатком термометров сопротивления на трехжильном кабеле является невозможность спуска их в скважины с большим буферным давлением из-за большого диаметра кабеля. В ряде случаев в глубинных термометрах в качестве чувствительных элементов используются полупроводниковые сопротивления. Однако вследствие нелинейности и нестабильности характеристики они не получили распространения. [5].

3.     
Необходимость измерения расхода

Процессы бурения скважин, добычи, транспорта и хранения нефти и газа являются сложными технологическими процессами, поэтому для оптимального ведения их необходимо знание достаточно большого количества параметров. Одним из наиболее важных параметров технологических процессов является расход. Рассмотрим основные задачи, в решении которых необходимо значение расхода.

. Измерение расхода в бурении.

Рисунок. 5. Схема циркуляции раствора

) Для обеспечения оптимального режима бурения необходимо разрушенную забойным инструментом породу удалять с забоя. Схема циркуляции бурового раствора в бурящейся скважине показана на рис. 5. Для выноса породы необходимо обеспечить соответствующую скорость восходящего потока бурового раствора, т.е. необходимо обеспечить соответствующий расход закачиваемого в бурящуюся скважину бурового раствора. Соответственно необходимо постоянно измерять расход бурового раствора.

) Одним из самых распространенных забойных двигателей в настоящее время является турбобур.

Для получения достаточного вращающего момента и скорости вращения вала турбобура необходимо обеспечить соответствующий расход промывочной жидкости.

) Часто в процессе бурения «проходят» пласты, которые или поглощает промывочную жидкость (зона поглощения) или «подливают» пластовую жидкость (зона притока) в буровой раствор, меняя его параметры. Наличие притока или поглощения может быть установлено сравнением закачиваемого бурового раствора и расхода бурового раствора, выходящего из скважины.

. Необходимость измерения расхода в добыче нефти

) В процессе разработки нефтяных месторождений необходим строгий учет извлекаемой на поверхность нефти, т.е. необходимо постоянное измерение расхода по каждой эксплуатационной скважине. Для разработки мероприятий по поддержанию пластового давления. В связи с этим возникает необходимость учета не только количества извлекаемой нефти, но и количества извлекаемой вместе с нефтью жидкости. Т.е. в процессе разработки нефтяного месторождения необходимо постоянно измерять расход извлекаемых на поверхность нефти и жидкости (пластовой воды).

) Транспортировку нефти от нефтесборных парков до потребителей осуществляют нефтепроводные управления (организации). Передача добытой и подготовленной для потребителей нефти осуществляется с обязательным использованием различных типов расходомеров наиболее высокого класса точности. В настоящее время для этих целей используют узлы учета нефти, представляющие собой комплекс приборов, позволяющих с целью повышения точности измерений вносить ряд поправок на изменение физико-химических свойств перекачиваемого продукта.

) С целью поддержания пластового давления на заданном уровне в пласт закачивается большое количество воды. Часто закачка воды осуществляется не только в законтурную, но и во внутриконтурной части пласта. Большое количество закачиваемой в пласт воды существенно влияет на положение контура нефтеносности, иногда приводит к образованию «языков» обводнения, что существенно понижает суточную добычу нефти и нефтеотдачи пласта в целом. В связи с этим, учитывая проницаемость вскрытого скважиной участка, для каждой нагнетательной скважины устанавливается оптимальный расход закачиваемой в пласт жидкости. В процессе эксплуатации нефтяного пласта установленный расход может корректироваться, предотвращая образование «языков» обводнения.

) Подсчет запасов нефти производится при пластовых условиях, т.е. при определенных (измеренных) пластовых давлениях и температуре. В пластовых условиях, как правило, в нефти растворено значительное количество газа. При извлечении нефти на поверхность этот газ выделяется, соответственно изменяется (по сравнению с пластовыми условиями) и объем извлекаемой нефти. Поэтому для более точного сопоставления запасов нефти в пласте и извлекаемых объемов из этого пласта целесообразно хотя бы периодически измерять расход добываемой нефти в условиях, максимально приближенных к пластовым, т.е. использовать глубинные расходомеры, которые позволяют измерять расход на забое скважины.

) Довольно часто одной скважиной эксплуатируют несколько продуктивных пластов. В этом случае измерение на поверхности суммарного расхода не позволяет делать заключение (выводы) о работе каждого пласта. Задача определения производительности каждого пласта в таких условиях может быть решена применением глубинных расходомеров.

) Аналогичная ситуация может возникнуть и в том случае, когда одной нагнетательной скважиной вскрывают несколько поглощающих пластов. Режимы закачки необходимо устанавливать по каждому пласту, поэтому для контроля закачки в каждый пласт необходимо пользоваться глубинными расходомерами.

) Когда одна эксплуатационная скважина вскрывает два и более нефтеносных пластов, из-за различия пластовых давлений в них может наблюдаться переток жидкости из одного пласта в другой. Как и в п. 5, установить наличие перетока и провести цикл исследовательских работ помогут глубинные приборы, в комплекте которых в обязательном порядке будет присутствовать и глубинный расходомер.

) Обсадные колонны после цементирования проверяют на герметичность. Если колонна не герметична, то нарушение целостности колонны монет быть определено о помощью глубинного расходомера.

Достоинства глубинных дистанционных расходомеров: высокая точность; высокий порог реагирования; высокая повторяемость исследования.

Недостатки глубинных дистанционных расходомеров: не высокая работоспособность при высоких расходах; создание перепада давления; низкая надежность конструкции (особенно при высоких температурах); время- и труднозатратная технология измерения; засорение опор оси турбинки.

.1      Глубинный дистанционный дебитометр ДГД

Дебитомер имеет диаметр 42 мм и обеспечивает возможность пакеровки в скважине внутренним диаметром до 160 мм.

При разработке дебитомера были испытаны два типа оболочек пакера: резиновые и пластмассовые. Резиновые оболочки представляют собой втулки со специальным профилем, обеспечивающим получение наименьшего объема полости пакера при его раскрытии в скважине.

Промысловые исследования показали недостаточную надежность резиновых пакеров, так как площадь поверхности пакера значительно увеличивается и материал оболочки подвергается разрушающему действию пластовой нефти. Однако существенными недостатками полиэтиленовых пакеров являются их незначительная износостойкость, низкая термостойкость и чувствительность к проколам.

Рисунок 6. Глубинный дебитомер ДГД

Во время спуска дебитомера в скважину пакер находиться в сложном состоянии. Для предохранения оболочки от повреждении при спуске на пакер надевают втулку из тонкой резины или лакоткани. В оболочке имеются отверстие 7 для прохода жидкости. Наличие отверстий позволяет измерять большие дебиты, а также обеспечить более постоянную величину коэффициента перекрытия. Управление работой пакера производиться с помощью электромеханического привода. Привод состоит из электродвигателя постоянного тока 13 с редуктором 12, ходового винта 11 и гайки 10. Гайка соединена с уплотненным штоком 9, имеющим траверсу для передвижение подвижной муфты 8.

Для раскрытия или закрытия пакера к глубинному снаряду подводиться ток напряжением 27 В. При этом включается электродвигатель, который перемещает вверх или вниз шток с траверсой, сжимая или растягивая пружинные ленты пакера. Степень раскрытия пакера регулируется ходом гайки 10 с помощью концевых микровыключателей. При достижении крайних положений гайка нажимает на микропереключатель и цепь питания электродвигателя размыкается. Повторное замыкание цепи электродвигателя достигается путем изменения тока на кабеле. Дебит жидкости измеряется при обесточенном электродвигателе и напряжении на кабеле равном 20 В.

Таблица 3. Технические характеристики

Предел измерении, м3/сут

5-200

Пределы относительной погрешности, %

5

Максимальная рабочая температура, оС

100

Давление, МПа

20

Исследование скважин: - водонагнетательных (без НКТ) - водонагнетательных (через НКТ) - фонтанирующих - механизированных (через затрубное пространство)

 - - + +


3.2    Термоэлектрический расходомер СТД-2

Термоэлектрические расходомеры в основном применяют для измерения расхода газа. В СССР наиболее распространены так называемые термокондуктивные расходомеры типа СТД.

Рисунок 7. Скважинный дебитомер СТД-2

Беспакерный скважинный расходомер СТД-2 (рис. 7) состоит из кожуха 1, датчика 2 и кабельной головки 3, соединенной с датчиком с помощью переходника 5, уплотненного кольцами 4. Чувствительным элементом служит терморезистор, представляющий собой сопротивление, навитое из изолированного тонкого медного провода и помещенное в медную трубку. При подводе напряжения термосопротивление нагревается до температуры большей, чем температура окружающей среды. При движении жидкости (газа) терморезистор охлаждается тем больше, чем больше скорость потока, а следовательно, уменьшается его активное сопротивление, которое регистрируется наземным прибором. Электрическая схема расходомера представляет собой мост постоянного тока с четырьмя плечами, три плеча которого расположены в наземном приборе, а четвертое образуется одножильным кабелем с подключенным к нему терморезистором. Прибор может работать в режимах «дебитомер» и «термометр» с пределом измерения температуры до 80 °С.

Для исследования глубиннонасосных скважин разработаны расходомеры СТД-16 и СТД-4 диаметрами соответственно 16 и 20 мм.

Таблица 4. Технические характеристики

Предел измерении, м3/сут - для воды - для нефти

 4 1-3

Рабочее давление, МПа

до 35

Предел относительной погрешности, %

4

Тепловая инерция

19-20



Заключение

скважинный манометр глубинный температура

Дистанционные приборы состоят из датчика, спускаемого в скважину на кабеле, и соединительного с ним наземного прибора. Преимущества их заключается в возможности непосредственного наблюдения за ходом исследования, а также одновременного измерения нескольких величин. С помощью дистанционных приборов послойно изучают продуктивные пласты и пропластки, а также контролируют работу механизированных скважин.



Список литературы

1.     Басарыгин Ю.М., Булатов А.И., Проселков Ю.М. «Бурение нефтяных и газовых скважин» 2002 стр. 15 [1].

2.       Чернов Б.С. «Гидродинамические методы исследования скважин и пластов» 1989 г., стр. 321 [2].

.        Рассохин С.Г. «Оператор по добыче нефти и газа» 2002 г., стр. 537 [3].

.        Васильевский В.И. «Исследование нефтяных пластов и скважин» Издание 2, 1979 г., стр. 291 [4].

.        Сборник Н.Т. «Прогрессивные технологии в добыче нефти» 2000 г. стр. 184 [5].

.        Шорников Е.А. «Расходомеры и счетчики газа. Узлы учета», 2003 г. [6].

.        Кремлевский П.П. «Расходомеры и счетчики количества веществ» 2002 г. стр. 410 [7].

.        Ковшов Г.Н. «Приборы контроля пространственной ориентации скважин при бурении» 2001 г. стр. 230 [8].

Похожие работы на - Дистанционные приборы для измерения скважинных параметров

 

Не нашли материал для своей работы?
Поможем написать уникальную работу
Без плагиата!
Без нейросетей!