Влияние плотности орошения форсунками различной конфигурации на качество слябовой заготовки
МИНИСТЕРСТВО ОБРАЗОВАНИЯ И НАУКИ
РОССИЙСКОЙ ФЕДЕРАЦИИ
Федеральное государственное
автономное образовательное учреждение высшего профессионального образования
НАЦИОНАЛЬНЫЙ ИССЛЕДОВАТЕЛЬСКИЙ
ТЕХНОЛОГИЧЕСКИЙ УНИВЕРСИТЕТ
"МИСиС"
НОВОТРОИЦКИЙ ФИЛИАЛ
Направление 150100
"Металлургия"
Профиль "Металлургия черных
металлов"
ВЫПУСКНАЯ КВАЛИФИКАЦИОННАЯ РАБОТА
БАКАЛАВРА
на тему: ВЛИЯНИЕ ПЛОТНОСТИ ОРОШЕНИЯ
ФОРСУНКАМИ РАЗЛИЧНОЙ КОНФИГУРАЦИИ НА КАЧЕСТВО СЛЯБОВОЙ ЗАГОТОВКИ
Студент А.В. Перегудова
Руководитель В.Д. Тутарова
Новотроицк, 2013
Аннотация
В выпускной квалификационной работе произведен анализ влияния
плотности орошения форсунками на качество слябовой заготовки в
электросталеплавильном цехе ОАО "Уральская Сталь" с целью изучения
зоны вторичного охлаждения и снижения брака слябовой заготовки. Предложены
мероприятия по совершенствованию технологии оптимизации режима охлаждения,
позволяющие повысить качество как заготовки так и металлопроката.
В разделе организация и экономика
производства, рассчитаны технико-экономические показатели.
Пояснительная записка выполнена на _____ листах, содержит 8
таблиц, 25 рисунков.
Содержание
Аннотация
Введение
1. Техническая характеристика МНЛЗ - 2 ОАО "Уральская
Сталь"
1.2 Описание системы вторичного охлаждения
1.3 Анализ качества неприрывнолитой слябовой заготовки, полученной
в условиях МНЛЗ-2 ОАО "Уральская Сталь"
1.4 Анализ макроструктуры заготовок
2. Исследование режимов работы зоны вторичного охлаждения
2.1 Общая характеристика зоны вторичного охлаждения
2.1.1 Динамическая система управления вторичным охлаждением
2.2 Характеристика форсунок
3. Экспериментальные исследования по охлаждению неприрывнолитой
слябовой заготовки в условиях МНЛЗ-2 ОАО "Уральская Сталь"
3.1 Исследование температуры поверхности
3.2 Исследование плотности орошения
4. Экономика и организация производства
4.1 Организация производственных потоков
4.2 Структура управления электросталеплавильного цеха
4.3 Расчет производительности цеха
4.3.1 Расчет показателей по труду
4.3.2 Расчет изменения фонда оплаты труда и начислений
4.3.3 Расчет изменения производительности труда
4.4 Расчеты плановой калькуляции себестоимости продукции
4.5 Расчет прибыли от реализации продукции
4.6 Экономическая эффективность проектных решений
4.7 Расчет предела безубыточности
Заключение
Список использованных источников
Введение
В настоящее время в ЭСПЦ ОАО "Уральская Сталь",
города Новотроицка эксплуатируется одноручьевая слябовая машина непрерывного
литья заготовок № 2 (МНЛЗ № 2), которая представляет собой вертикальную установку
с последующим изгибом заготовки с шестью точками изгиба и четырьмя точками
правки.
Вопрос повышения качества непрерывно-литого слитка является
сложной многофакторной проблемой, поэтому для каждого комплекса
производственных условий имеется рациональный режим охлаждения.
Система вторичного водовоздушного охлаждения предназначена
для обеспечения требуемой интенсивности теплоотвода от поверхности заготовки по
длине технологической оси зоны вторичного охлаждения (ЗВО) в диапазоне сечений
разливаемых на МНЛЗ № 2 слябов 190х1200 мм и 270х1200 мм. Схема работы ЗВО
обеспечивает требуемый режим мягкого водовоздушного охлаждения поверхности
сляба при разливке всего размерного и марочного сортамента.
Процессы охлаждения непрерывно-литой заготовки в зоне
вторичного охлаждения (ЗВО) во многом определяют ее качество. Равномерное
охлаждение непрерывно-литой заготовки является наиболее важной задачей,
решаемой при настройке ЗВО.
Следовательно, главной задачей данной выпускной
квалификационной работы является разработка оптимального режима охлаждения
слябовой заготовки в зоне вторичного охлаждения, который позволит повысить
качество непрерывно-литой заготовки и уменьшить количество бракованной
продукции, и как следствие снизить расходы на производство.
форсунка орошение заготовка охлаждение
1.
Техническая характеристика МНЛЗ - 2 ОАО "Уральская Сталь"
С 2004 г. в ЭСПЦ ОАО "Уральская Сталь", г.
Новотроицк эксплуатируется одноручьевая слябовая МНЛЗ № 2 конструкции фирмы
"SMS Demag", которая представляет собой вертикальную установку с
последующим изгибом заготовки с шестью точками изгиба и четырьмя точками
правки. Установка предназначена для разливки стали на слябы сечением 190×1200 мм и 270×1200 мм с максимальной
проектной скоростью вытягивания 1,6 м/мин и 1,2 м/мин соответственно. Вопрос
повышения качества непрерывно-литого слитка является сложной многофакторной
проблемой, поэтому для каждого комплекса производственных условий имеется
рациональный режим охлаждения. Оптимизация температурно-скоростных режимов
разливки, учитывающая свойства разливаемой стали и конструктивные параметры
МНЛЗ, невозможна без комплексного изучения параметров непрерывной разливки на
реальном объекте и проведении экспериментальных исследований изменения
температуры поверхности заготовки, как по длине, так и по сечению.
Ниже приведены технические характеристики МНЛЗ - 2:
базовый радиус 10 500 мм;
металлургическая длина 30,3 м;
вес плавки 120 т;
производительность МНЛЗ, тыс. т в год до 1000;
марки разливаемых сталей: низкоуглеродистые, перитектические,
низколегированные, конструкционные.
1.2 Описание
системы вторичного охлаждения
Система вторичного водовоздушного охлаждения предназначена
для обеспечения требуемой интенсивности теплоотвода от поверхности заготовки по
длине технологической оси зоны вторичного охлаждения (ЗВО) в диапазоне сечений
разливаемых на МНЛЗ № 2 слябов 190х1200 мм и 270х1200 мм. Схема работы ЗВО
обеспечивает требуемый режим мягкого водовоздушного охлаждения поверхности
сляба при разливке всего размерного и марочного сортамента.
Процессы охлаждения непрерывно-литой заготовки в зоне
вторичного охлаждения (ЗВО) во многом определяют ее качество. Равномерное
охлаждение непрерывно-литой заготовки является наиболее важной задачей,
решаемой при настройке ЗВО. В зоне вторичного охлаждения на заготовку
посредством форсунок подается охладитель, обеспечивающий отвод тепла от
поверхности заготовки. В связи с тем, что плотность орошения в значительной
степени влияет на теплопередачу, одним из решающих факторов эффективности
охлаждения становится распределение охладителя по поверхности заготовки.
На основе распределения плотности орошения форсунки
выстраивается характеристическая кривая коэффициента теплопередачи. Резкие
изменения коэффициента теплопередачи в совокупности с высоким абсолютным
максимумом приводят к большим температурным перепадам на поверхности заготовки.
На текущий момент не существует форсунок, обеспечивающих
полностью равномерное охлаждение орошаемой поверхности. Поэтому на участках
МНЛЗ, где находятся форсунки, необходимо следить за тем, чтобы зоны распыления
отдельных форсунок соответствующим образом перекрывались для достижения как
можно более равномерного распределения коэффициента теплопередачи.
Эффективное вторичное охлаждение характеризуется следующими
признаками:
- равномерное охлаждение поверхности
заготовки;
- высокий КПД за счет большой доли испарения
охладителя;
- непродолжительный контакт неиспарившейся
воды с поверхностью заготовки.
Более высокие скорости вытягивания, более чувствительные
марки стали и универсальные разливочные машины требуют применения форсунок,
которые разработаны с учетом современных производственных условий.
В условиях МНЛЗ № 2 ОАО "Уральская Сталь"
охлаждение заготовок происходит в кристаллизаторе и ЗВО, состоящей из подбоя и
секций № 0 - 16 (таблицы 1,2).
Таблица 1 - Расходы воды на охлаждение оборудования
|
Контур
охлаждения
|
Место
|
Расход
|
|
|
л/мин
|
м³/час
|
|
RK1
|
Секция 0 рама
|
250
|
15,0
|
|
RK2
|
Секция 1
|
540
|
32,4
|
|
RK3
|
Секция 2+3
|
360
|
21,6
|
|
RK4
|
Секция 4-7
|
600
|
36,0
|
|
RK5
|
Секция 8-11
|
600
|
36,0
|
|
RK6
|
Секция 12-16
|
750
|
45,0
|
|
RK7
|
Газорезательная
машина
|
300
|
18,0
|
|
RK8
|
Маслоохладитель
гидравлики
|
300
|
18,0
|
|
Всего на
оборудование
|
3700
|
222,0
|
Таблица 2 - Настройка раствора роликов секций МНЛЗ - 2
|
Номер ролика
|
Толщина сляба
190 мм
|
Толщина сляба
270 мм
|
|
Вход, мм
|
Выход, мм
|
Вход, мм
|
Выход, мм
|
|
Рамка подбоя
|
197,4
|
197,4
|
278,6
|
278,6
|
|
0
|
197,4
|
197,0
|
278,6
|
278,2
|
|
1
|
197,0
|
197,0
|
278,2
|
278,2
|
|
2
|
197,0
|
196,9
|
278,2
|
278,1
|
|
3
|
196,9
|
196,7
|
278,1
|
277,9
|
|
4
|
196,7
|
196,5
|
277,9
|
277,7
|
|
5
|
196,5
|
196,3
|
277,7
|
277,5
|
|
6
|
196,3
|
196,1
|
277,5
|
277,3
|
|
7
|
196,1
|
195,9
|
277,3
|
277,1
|
|
8
|
195,9
|
195,6
|
277,1
|
276,8
|
|
9
|
195,6
|
195,2
|
276,8
|
276,4
|
|
10
|
195,2
|
194,7
|
276,4
|
275,9
|
|
11
|
194,7
|
194,1
|
275,9
|
275,3
|
|
12
|
194,1
|
193,4
|
275,3
|
274,6
|
|
13
|
193,4
|
192,8
|
274,6
|
274,0
|
|
14
|
192,8
|
192,2
|
274,0
|
273,4
|
|
15
|
192,2
|
191,7
|
273,4
|
272,9
|
|
16
|
191,7
|
191,6
|
272,9
|
272,8
|
Типы форсунок фирмы "Корад", используемые для
распрыскивания воды под давлением воздуха на МНЛЗ № 2, и их количество
представлены в таблице 3.
Таблица 3 - Типы форсунок и их количество в ЗВО МНЛЗ № 2
|
Номер секции
|
Наименование
форсунки
|
Количество, шт
|
|
Подбой
|
109У (подбой)
|
8
|
|
УТ65 (торец 190
мм)
|
10
|
|
УТ65 (торец 190
мм)
|
10
|
|
№ 0
|
158У
|
32
|
|
158Уг
|
6
|
|
№ 1
|
У90
|
36
|
|
№ 2-3
|
У90
|
48
|
|
№ 4-5
|
У90
|
40
|
|
№ 6-7
|
У90
|
40
|
|
№ 8-9
|
У90
|
40
|
|
№ 10
|
У90
|
20
|
|
№ 11
|
У90
|
20
|
|
№ 12,14,16
|
У100
|
30
|
|
№ 13,15
|
У100
|
20
|
1.3 Анализ
качества неприрывнолитой слябовой заготовки, полученной в условиях МНЛЗ-2 ОАО
"Уральская Сталь"
С целью повышения качества листового проката в период с 17 по
25 июня 2009 года на слябовой МНЛЗ-2 ЭСПЦ проведена реконструкция системы
вторичного охлаждения с заменой водяного охлаждения сляба на более
"мягкое" водовоздушное.
Наиболее массовыми марками стали, разливаемыми на МНЛЗ-2
являются 09Г2С, 17Г1С-У, СТ3СП, К52-1, 10ХСНДА и 10ХСНД, 15ХСНДА и 15ХСНД,
С345, 13Г1С-У и РСD32, объем производства которых превышает 80% от общего
объема годных слябов.
Несмотря на продолжительный срок эксплуатации МНЛЗ-2 и
большую работу, проведенную по ее модернизации, отбраковка листового проката по
литым дефектам достигает 7% по некоторым маркам стали. На рисунке 1
представлена статистика по отбраковке проката из слябовой заготовки за период
январь-октябрь 2011 года.
Рисунок 1 - Статистика по отбраковке листового проката из
слябовой заготовки МНЛЗ-2 за период январь-октябрь 2011 года
Анализ данных по отбраковке листового проката (рисунок 1)
свидетельствует о высокой пораженности заготовок, особенно сечением 270 мм,
различными видами дефектов. Основными дефектами литых слябов для большинства
марок стали являются наружные и внутренние трещины, одной из основных причин
возникновения которых является избыточное или недостаточное охлаждение
отдельных участков поверхности слитков вследствие неправильно организованного
режима вторичного охлаждения.
Наличие проблем, связанных с качеством заготовки, не позволяет
МНЛЗ-2 выйти на проектную мощность. Фактическая максимальная скорость
вытягивания составляет 1,25 м/мин и 0,9 м/мин для слябов сечением 190×1200 мм и 270×1200 мм соответственно, что
значительно снижает производительность МНЛЗ.
В таблице 4 представлены результаты оценки дефектов
макроструктуры непрерывно-литых заготовок по периодам. Следует отметить, что
оценочный балл дефектов макроструктуры соответствуют допустимым значениям.
Исправимый брак листового проката по сталеплавильным дефектам
после проведения реконструкции системы вторичного охлаждения (в период с 25.06
по 21.07.09) снизился на 0,94% и составил 1,74% против 2,68% до реконструкции.
Снижение исправимого брака выявлено по следующим видам дефектов (таблица 5):
"сетчатая трещина" - на 0,62% и составила 0,31%
против 0,93% до реконструкции;
"УЗК" - на 0,26% и составила 0,71% против 0,97% до
реконструкции.
Таблица 4 - Средний оценочный балл дефектов макроструктуры
|
Период
|
Толщина
|
Количество
темплетов, шт
|
Осевая рыхлость
|
Осевая
химическая неоднородность
|
Осевая трещина
|
Трещина
перпендикулярная узкой грани
|
Трещина
перпендикулярная широкой грани
|
Угловая трещина
|
Гнездообразная
трещина
|
Точечная
неоднородность
|
|
До
реконструкции
|
190
|
410
|
1, 20
|
1,07
|
0,72
|
0,68
|
0,89
|
0,00
|
0,13
|
0,59
|
|
270
|
48
|
1,26
|
0,96
|
0,65
|
0,63
|
0,90
|
0,00
|
0,11
|
0,46
|
|
До
реконструкции итог
|
458
|
1, 20
|
1,06
|
0,72
|
0,68
|
0,89
|
0,00
|
0,12
|
0,57
|
|
25.06 -
21.07.09 (после реконструкции)
|
190
|
80
|
1,15
|
1,25
|
0,65
|
0,75
|
0,71
|
0,00
|
0,09
|
0,49
|
|
270
|
13
|
1, 19
|
1,23
|
0,58
|
0,65
|
0,69
|
0,00
|
0,12
|
0,54
|
|
После
реконструкции итог
|
93
|
1,16
|
1,25
|
0,64
|
0,74
|
0,71
|
0,00
|
0,09
|
0,50
|
|
22.07. -
02.08.09 (корректировка ВО1)
|
190
|
29
|
1, 19
|
1,14
|
0,84
|
0,98
|
0,91
|
0,03
|
0,12
|
0,36
|
|
270
|
4
|
1,88
|
1,38
|
0,63
|
1,38
|
0,00
|
0,50
|
0,13
|
|
Корректировка
ВО1 итог
|
33
|
1,27
|
1,17
|
0,82
|
1,03
|
0,97
|
0,03
|
0,17
|
0,33
|
|
03.08. -
16.12.09 (корректировка ВО 2)
|
190
|
250
|
1, 20
|
1,13
|
0,66
|
0,83
|
0,70
|
0,00
|
0,06
|
0,59
|
|
270
|
90
|
1,18
|
1,13
|
0,38
|
0,93
|
1,06
|
0,02
|
0,02
|
0,57
|
|
Корректировка
ВО 2 итог
|
340
|
1, 19
|
1,13
|
0,58
|
0,86
|
0,80
|
0,01
|
0,05
|
0,59
|
Таблица 5 - Исправимый брак листового проката после внедрения
водовоздушного охлаждения по периодам
|
Период
|
Толщина
|
Годное, т
|
Плена, %
|
Рванина, %
|
Трещина, %
|
Сетчатая
трещина, %
|
Неметаллические
включения, %
|
Расслой, %
|
УЗК, %
|
Газовые пузыри,
%
|
Итог, %
|
|
До
реконструкции
|
190
|
241230,64
|
0,30
|
0,01
|
0,16
|
0,59
|
0,17
|
0,05
|
0,90
|
0,03
|
2, 20
|
|
270
|
32983,565
|
0,56
|
0,00
|
0,43
|
3,46
|
0,18
|
0,05
|
1,47
|
0,05
|
6,21
|
|
До
реконструкции итог
|
274214,21
|
0,33
|
0,01
|
0, 19
|
0,93
|
0,17
|
0,05
|
0,97
|
0,03
|
2,68
|
|
25.06 -
21.07.09 (после реконструкции)
|
190
|
44257,217
|
0,33
|
0,00
|
0,10
|
0, 20
|
0,16
|
0,02
|
0,67
|
0,04
|
1,52
|
|
270
|
7273,531
|
0,06
|
0,00
|
0,84
|
0,97
|
0,10
|
0,09
|
0,96
|
0,01
|
3,02
|
|
После
реконструкции итог
|
51530,748
|
0,29
|
0,00
|
0,21
|
0,31
|
0,15
|
0,03
|
0,71
|
0,04
|
1,74
|
|
22.07. -
02.08.09 (корректировка ВО1)
|
190
|
21191,619
|
0,22
|
0,00
|
0,25
|
0,66
|
0,24
|
0,01
|
0,14
|
0,00
|
1,52
|
|
270
|
3530,639
|
0,49
|
0,00
|
0,26
|
5,68
|
0,21
|
0,05
|
0,37
|
0,04
|
7,10
|
|
Корректировка
ВО1 итог
|
24722,258
|
0,26
|
0,00
|
0,25
|
1,37
|
0,23
|
0,02
|
0,18
|
0,01
|
2,32
|
|
03.08. -
16.12.09 (корректировка ВО 2)
|
190
|
207260,8
|
0, 20
|
0,00
|
0,18
|
0,39
|
0,14
|
0,03
|
0,37
|
0,02
|
1,31
|
|
270
|
72220,777
|
0,55
|
0,01
|
0,49
|
2,00
|
0,32
|
0,05
|
0,69
|
0,02
|
4,12
|
|
Корректировка
ВО 2 итог
|
279481,58
|
0,29
|
0,00
|
0,26
|
0,80
|
0,03
|
0,03
|
0,45
|
0,02
|
2,04
|
Тем не менее, первый месяц эксплуатации МНЛЗ - 2 после
реконструкции выявил ряд технических проблем, непосредственно связанных с изменением
конструкции и режимов вторичного охлаждения. Прежде всего, значительно возросло
количество случаев заклинивания роликов секций вторичного охлаждения и выход из
строя подшипниковых узлов, связанных с перегревом и выгоранием резиновых
уплотнителей, сильная коррозия металлоконструкций площадок бункера, станин
секций, кожухов, нарушение (деформация) геометрических размеров направляющих
секций. Данные проблемы связаны с повышением температуры непрерывнолитой
заготовки в зоне вторичного охлаждения, из-за снижения удельного расхода воды и
спецификой режимов охлаждения предусматривающих полное отключение охлаждающей
воды на отдельные контуры зоны вторичного охлаждения в процессе разливки. Кроме
того, выявлены проблемы со смывом окалины в радиальной и горизонтальной зонах
вторичного охлаждения в результате ее повышенного образования и снижением
расхода воды необходимого для ее смыва с рам секций в желоб.
В связи с этим работниками ЗАО "Корад" с 22.07.09
года скорректированы расходы воды по контурам охлаждения (увеличен расход воды
на 10-20%) с целью повышения стойкости секций вторичного охлаждения. Так
удельный расход воды, после внесенных изменений, составил 0,50-0,63 л/кг для
сляба толщиной 190 мм и 0,7-0,8 л/кг для сляба толщиной 270 мм (как и до
реконструкции).
Для оценки эффективности корректировки расходов воды на
вторичное охлаждение сляба проведен сравнительный анализ качества
макроструктуры непрерывно-литых заготовок. В результате зафиксировано
увеличение средних баллов по всем видам дефектов.
Анализ качества листового проката после корректировки
расходов воды по контурам показал (таблица 5):
исправимый брак листового проката по дефекту "сетчатая
трещина" увеличился на 1,06% и составил 1,37% против 0,31% за предыдущий
период;
исправимый брак листового проката по дефекту
"трещина" увеличился на 0,04% и составил 0,25% против 0,21% за
предыдущий период.
Однако, исправимый брак по дефекту "УЗК" снизился
на 0,53% и составил 0,18% против 0,71% за предыдущий период.
Следует отметить, что значительное увеличение исправимого
брака листового проката по дефекту "сетчатая трещина" получен при
прокатке заготовок толщиной 270 мм и составил 5,68% против 0,97% за предыдущий
период.
Как установили в дальнейшем, увеличение исправимого брака
листового проката, полученного из слябов толщиной 270 мм, обуславливается сбоем
в работе программы управления расходами воды на ЗВО - самопроизвольно изменяла
расходы (при проверке в процессе разливки в кристаллизатор сечением 190×1200 мм сбоев не наблюдалось).
В результате неудовлетворительного качества листового проката
полученного из слябов толщиной 270 мм работниками ЗАО "Корад" с
03.08.09 был установлен более "мягкий” режим охлаждения непрерывно-литой
заготовки: удельный расход воды после внесенных изменений составил 0,44-0,50
л/кг для сляба толщиной 190 мм и 0,37-0,43 л/кг для сляба толщиной 270 мм.
Анализ качества листового проката после повторной
корректировки расходов воды на вторичное охлаждение (период с 03.08.09 по
16.12.09 г.) (таблица 5) показал:
исправимый брак листового проката по сталеплавильным дефектам
снизился на 0,28% и составил 2,04% против 2,32% за предыдущий период;
исправимый брак листового проката, полученного из слябов
толщиной 190 мм, снизился на 0,21% и составил 1,31%;
исправимый брак листового проката, полученного из слябов
толщиной 270 мм, снизился на 2,98% и составил 4,12%.
1.4 Анализ
макроструктуры заготовок
Анализ имеющихся в наличии отчетов металлургического
комбината "Уральская Сталь", посвященных поверхностным дефектам
слябов, показал, что проверка поверхности слябов непрерывного литья после
зачистки заготовок выявила ректикулярные трещины на широкой части лицевых
поверхностей, классифицируемых как сетчатые трещины, и поперечные трещины,
расположенные на широкой лицевой стороне вблизи угла сляба, которые часто
становятся дефектами продукции горячего проката. Сталь, которая рассматривалась
в этом анализе, имела марку K52-1. Эта сталь, имеющая эквивалентное содержание
углерода равное 0,1, попадающее в диапазон 0,08% -0,14%, чувствительна к
образованию выемок вблизи мениска, вызванных объемными сжатиями из-за фазового
перехода из δ-феррита в γ-аустенит, который имеет
место в конце процесса затвердения. Эту марку стали обычно отливают с
металлическим шлакообразующим порошком для уменьшения потока тепла в менисках
и, как следствие, предотвращения образование продольных трещин. Но чем ниже
отвод тепла из менисков, тем более грубой получается подкорковая аустенитная
структура.
Размер аустенитного зерна является одним из наиболее важных
параметров, которые контролируют пластичность: более крупный размер зерна
облегчает распространение трещин.
Появление трещин обусловлено прочностью/пластичностью
поверхностной оболочки и напряжением/растяжением, воздействующих на нее. Первые
зависят от химического состава стали и температуры оболочки, тогда как вторые
зависят от исходных тепловых и механических условий.
Трещины появляются при выполнении следующих условий:
. Разгибание слитков происходит в температурном диапазоне
хрупкости 750 - 850°C (может быть 700 - 900°C). Как было установлено, хрупкость
в этом температурном диапазоне обусловлена увеличением твердости за счет
выделения мелкой фракции AlN, Nb (C, N), VN, и т.п. и/или ферритовой плёнки
вдоль границ аустенитного зерна во время перехода γ-α (рисунок 3).
. При отливке перитектических сталей и сталей, содержащих
[C], [N], [Al] и [Nb] (изредка [V]), в количестве, превышающем необходимые
величины для поверхностной растворимости в изделии (3-5 x 10-4 для [Al] [N], в
зависимости от марки сталей).
Перитектически стали вызывают деформацию благодаря сжатию при
перитектическом переходе и становятся хрупкими из-за формирования крупных γ-зерен, как об этом уже упоминалось ранее.
С другой стороны, в сталях, содержащих указанные выше
растворенные элементы, во вторичной зоне охлаждения на границе зерен оболочки
поверхности происходит выделение мелкой фракции. Эти выделения делают
поверхность слитка хрупкой в диапазоне 700 - 900°C, в котором обычно
практикуется выпрямление.
. Интенсивное охлаждение струей воды приводит к неоднородному
и избыточному охлаждению поверхности слитка. Поверхность испытывает
переохлаждение ниже A3 в бассейне с водой над контактами опоры вальца/слитка в
верхней зоне слитка, и последующее повторное нагревание выше A3 после прохода
опоры вальцов. Выделения мелкой фракции AlN не образуется до температуры 800°C
(770-850°C) при охлаждении, но она выделяется при 700-1000°C во время
нагревания. Соответственно, упомянутые выше тепловые циклы (повторное
охлаждение или нагревание), проходящие точку критической температуры в промежутке
между вальцами в зоне вторичного охлаждения, способствуют этому выделению,
делая границы зерна еще более хрупкими.
Контроль температуры угла имеет большое значение для основной
части продукции непрерывного литья. Углы имеют склонность к образованию
менискообразных дефектов, которые действуют как концентраторы напряжения.
Сочетание температуры, мест концентрации напряжений и областей с низкой
пластичностью в температурном диапазоне 700-900°C часто приводит к
растрескиванию угла во время процесса выпрямления. Центральные области широких
поверхностей охлаждаются одномерно, тогда как углы подвергаются двумерному
охлаждению. Поэтому углы могут стать значительно холоднее, чем остальные части
внутренних широких поверхностей.
. Дефекты в виде глубокой ряби существенно увеличивают
распространение поперечных трещин за счет увеличения критических деформаций,
поверх которых трещины могут образовать поверхность слитка. Допустимые
критические деформации для перитектических высокоуглеродистых сталей C-Mn-Al с
содержанием Nb, Al и N резко уменьшаются до 1/4 по мере увеличения глубины
дефектов от 0 до ≤ 0,1 мм (при наличии Nb).
Нижняя часть дефектов в виде ряби часто сопровождается
скоплением растворенных веществ, и размер аустенитного зерна на дне становится
больше в результате более медленного остывание в этой области. Таким образом,
дефекты нижней части восприимчивы к хрупкому излому из-за концентрации
напряжений на границах аустенитного зерна.
С помощью специальной модели затвердевания IDS, разработанной
в Хельсинском технологическом университете (ХТУ), проводился анализ процесса
затвердевания стали марки K52-1. Эта программа моделирует фазовый переход и
распределение растворенных веществ (микросегрегаций) во время затвердевания
низколегированной и нержавеющей стали. Пакет программ IDS также рассчитывает
теплофизические свойства, относящиеся к процессу кристаллизации (например,
энтальпию, удельную теплоемкость, плотность, теплопроводность и т.п.) из
жидкого состояния вплоть до комнатной температуры. Расчеты, проведенные с
помощью IDS, сравнивались со многими экспериментальными измерениями.
Анализ стали марки K52-1, выполненный программным комплексом
IDS, на котором видно, что переход из фазы феррита в фазу аустенита завершается
на 60°C ниже ZST (доля твердого вещества при этом равна 0,8) и на 30°C ниже
температуры начала затвердевания раствора. Кроме того, во время перехода из
жидкого состояния в твердое происходит выделение TiN, тогда как остальные
составляющие, такие как NbN, NbC и AlN, выделяются в диапазоне температур
1165-1150°C. Растворимость продукта [Al] x [N] составляет около 2,5⋅10-4, что несколько выше, чем предельное значение (2x10-4), выше
которого вероятно возникновение растрескивания.
Кроме того, значение коэффициента линейного теплового
расширения (α), рассчитанное с помощью пакета программ
IDS при ZDT, равно примерно 9⋅10-5 1/K, что
подтверждает режим перитектического затвердевания стали (если α (ZDT) >8⋅10-5 1/K, то сталь имеет
перитектическое поведение).
2.
Исследование режимов работы зоны вторичного охлаждения
Равномерное охлаждение непрерывно-литой
заготовки является наиболее важной задачей, решаемой в зоне вторичного
охлаждения. При этом заготовка, выходящая из кристаллизатора, имеет твердую
корочку толщиной 15-35 мм, а также жидко-твердую зону и внутреннюю зону с
жидкой фазой, имеющую температуру стали на уровне температуры ликвидус.
Отвод тепла от поверхности заготовки в ЗВО
достигается путем интенсивного опрыскивания ее поверхности водой, отвода тепла
к поддерживающим роликам с внутренним охлаждением и вследствие конвекции и
лучеиспускания в окружающую среду.
1 - вода, накапливающаяся между поверхностями роликов и заготовки;
2 - наиболее интенсивная зона теплоотвода в области прямого действия форсунки;
3 - зона минимального теплоотвода под роликом; 4 - твердая корочка
Рисунок 2 - Характер отвода тепла от заготовки во вторичной зоне
охлаждения
Известно, что доля суммарного теплоотвода в зоне вторичного
охлаждения составляет 75-78%, причем 38-40% тепла передается подаваемой
форсунками воде, приблизительно 30% поддерживающим роликам с внутренним
охлаждением и приблизительно 8% вследствие лучеиспускания и конвекции в
окружающую среду.
Интенсивность охлаждения во вторичной зоне должна выбираться таким
образом, чтобы температура поверхности заготовки в процессе ее перемещения по
ней оставалась примерно постоянной или медленно уменьшалась. Достаточно часто
предпочтение отдается варианту, при котором температура поверхности медленно
снижается по всей длине ЗВО. Наиболее неблагоприятными условиями охлаждения
являются колебания температуры заготовки в области температуры аустенитного
превращения, поскольку они провоцируют возникновение горячих поверхностных
трещин.
Плотность теплового потока (q) в ЗВО можно рассчитывать по следующей
формуле:
= α ∙ (Tпов - Tос),
где q - плотность теплового потока; Вт/м2
α - коэффициенту теплопередачи;
Tпов - температура поверхности заготовки, °C
Tос
- температура охлаждающей среды,°C.
По имеющимся данным о необходимой плотности теплового потока
представляется возможным рассчитать требуемый расход охладителя (охлаждающей
воды). Считается, что заготовка должна охлаждаться равномерно, а появление
темных или ярких пятен на ее поверхности служит показателем
неудовлетворительной работы форсунок или системы в целом.
Для обеспечения эффективного процесса охлаждения, величина
коэффициента теплопередачи α должна быть достаточно высокой, однако она также должна быть
регулируемой.
На приведенных ниже графиках в качестве иллюстрации показана форма
расчетных кривых охлаждения заготовки (сляба). Так, для температуры поверхности
заготовки в кристаллизаторе наблюдается резкое падение (до 1250°С), а затем
более плавное ее снижение (приблизительно до 1100°С на выходе). Для кривых,
показывающих температуру в центре широкой грани и в угловой точке в области
вторичного охлаждения наблюдаются характерные выступы, соответствующие
отдельным форсункам. При этом интенсивное снижение температуры происходит на
протяжении первых пяти зон (от 0,9 до 8 м), затем значение температуры
колеблется в районе 960°С.
Рисунок 3 - Графики распределения температуры поверхности и
теплового потока по высоте заготовки
Температура поверхности непрерывно-литой заготовки в ЗВО
устанавливается таким образом, что тепловой поток через корку слитка и
теплоотвод на поверхности слитка получались примерно одинаковыми. Повышение
интенсивности теплоотвода ограничивается конечным термическим сопротивлением
корки заготовки. Оптимальная температура поверхности при этом составляет
1100-1200 0С. Выбор рационального уровня температур заготовки (и
интенсивности охлаждения) в ЗВО зависит от ряда факторов, включающих марку
стали, метод охлаждения, тип МНЛЗ.
Длина ЗВО выбирается из соображений того, что в случае его
прекращения температура поверхности не будет уже затем существенно
увеличиваться. Удлинение ЗВО особенно при больших скоростях разливки, наоборот,
может обеспечить более высокий теплоотвод и весьма часто также требуется для
поддерживания заданных температур поверхности в нижней части машины.
Для обеспечения равномерного охлаждения заготовки по длине ЗВО
предусматривается несколько секций с различной интенсивностью отвода тепла. Для
достижения требуемой интенсивности теплоотвода применяются следующие основные
методы подачи охлаждающего вещества: охлаждение струями воды (струйное
охлаждение) или водовоздушной смеси (водовоздушное охлаждение), подаваемой
между опорными роликами через специально устанавливаемые форсунки; охлаждение
на воздухе посредством излучения.
При этом температурное состояние непрерывно-литой заготовки может
достаточно полно быть оценено на математических теплофизических моделях. Ниже
представлена картина охлаждения сляба после замены промковша.
Рисунок 4 - Состояние поверхности (слева) и внутренних продольных
сечение по широкой (середина) и узкой (справа) граням
Струйное охлаждение обеспечивает вторичное охлаждение заготовки струями воды, которые
подаются через специальные разбрызгивающие форсунки, которые, например, на
слябовых машинах имеют щелевые формы. Вода попадает на поверхность заготовки в
виде капель, которые должны иметь достаточную энергию, чтобы проникнуть сквозь
паровую "рубашку", образовавшуюся вследствие испарения воды. Этот
способ охлаждения имеет ряд существенных недостатков: величина теплоотдачи не
всегда увеличивается пропорционально увеличению расхода воды; капли из водяной
форсунки обычно достаточно крупные, что не способствует увеличению скорости
парообразования и ограничивает эффективность охлаждения; в месте воздействия
водяной струи происходит термический удар, который может привести к зональной
сегрегации или образованию трещин и т.д.
Обычно струйное охлаждение применяется в зоне, непосредственно
расположенной под кристаллизатором, а также в следующей после этого зоне (зоны
0 и 1). В зоне подбоя (зона 0) форсунки расположены таким образом, что струи
направлены под углом к днищу кристаллизатора. При этом вода не попадает в проем
кристаллизатора, а направляется на опорные ролики, обеспечивая этим
дополнительное их охлаждение. В зонах 1 и 2 форсунки располагаются аналогичным
образом, то есть часть струи омывает ролики при любых расходах воды,
дополнительно их охлаждая.
Рисунок 5 - Зоны 0 и 1 для слябовой МНЛЗ (расположение форсунок)
Для слябовых МНЛЗ устанавливаются несколько форсунок в растворе
роликов. При этом необходимо определить участки перекрытия струй, что позволяет
обеспечить равномерное распределение воды по всей ширине охлаждения. При этом
определенные технические затруднения вызывает расположение форсунок в ЗВО
слябовых МНЛЗ, которые имеют возможность изменения ширины сляба в процессе
разливки.
Между тем система струйного охлаждения является достаточно простой
в конструкционном плане, что позволяет ее широко использовать в блюмовых и
особенно сортовых МНЛЗ.
Рисунок 6 - Факел распыляемой воды форсунки струйного распыления
Водовоздушное охлаждение осуществляется частицами воды, которые
распыляются воздухом. Распыление воды происходит в основном в результате
соударения двух потоков (водяного и воздушного) внутри форсунки. Распылитель
представляет собой как бы две независимые форсунки - для воды и для воздуха, -
струи от которых пересекаются. Оба потока выходят из распылителя в направлении
непрерывнолитой заготовки и встречаются один с другим, образуя факел
мелкодисперсных капель воды. Воздух при этом способе охлаждения играет двоякую
роль: он обеспечивает распыление воды и сообщает каплям необходимую высокую
кинетическую энергию. Характер распыления воды определяется расходом и
давлением воздуха и поддается регулированию в широком диапазоне параметров.
Рисунок 7 - Водовоздушное охлаждение слябовой заготовки
Высокая эффективность метода водовоздушного охлаждения объясняется
тем, что благодаря высокой кинетической энергии с металлом одновременно
контактирует большое количество распыленной воды. При одном и том же расходе
воды площадь теплообмена между водой и заготовкой увеличивается: с одной
стороны, вода мелко распылена и число капель очень велико, а с другой, - эти
капли равномерно распределяются по поверхности заготовки, так как факел имеет
устойчивую форму конуса. Вода, которая не испарилась при контакте с
поверхностью заготовки, падает вниз в виде мелкого дождя, создавая зону
охлаждения ближайших участков.
Рисунок 8 - Неравномерное охлаждение слябовой заготовки
2.1 Общая
характеристика зоны вторичного охлаждения
Система "Вторичное охлаждение" (PLC01)
предназначена для управления режимами охлаждения оборудования водовоздушного
охлаждения слитка в зоне вторичного охлаждения.
Подготовленная охлаждающая вода подается через фильтрующий
элемент к зоне вторичного охлаждения ручья.
Вторичное охлаждение служит для форсуночного охлаждения
слитка в зоне от низа кристаллизатора до выхода слитка на горизонтальный
участок МНЛЗ. Контур охлаждения разомкнутый.
На общем подводе воды к ручью установлена задвижка с
электрическим приводом, укомплектованная комплектом конечных выключателей,
фиксирующих открытое, закрытое и заклиненное состояние задвижки. На общем
подводе воды к ручью предусматривается установка фильтра. При подаче воды
предусматривается контроль состояния фильтра по перепаду давления воды до и
после фильтра. На общем подводе осуществляется стабилизация давления воды.
Воздух подается к зонам вторичного форсуночного охлаждения
для организации лучшего распыления воды через форсунки охлаждения и таким
образом более равномерного охлаждения слитка.
На общем подводе воздуха к ручью установлена задвижка с
электрическим приводом, укомплектованная комплектом конечных выключателей,
фиксирующих открытое, закрытое и заклиненное состояние задвижки. На общем подводе
воздуха к ручью предусматривается установка фильтров. При подаче воды
предусматривается контроль состояния фильтров по перепаду давления воды до и
после фильтра
Функции, выполняемые системой "Вторичное
охлаждение":
- контроль степени засоренности линейных
сетчатых фильтров, установленных в магистралях подачи охлаждающей воды по
перепаду давления;
- контроль состояния (открыты/закрыты)
электронных задвижек;
- измерение давления охлаждающей воды на
общем подводе к зонам вторичного охлаждения;
- измерение давления воздуха на общем
подводе к зонам вторичного охлаждения;
- стабилизация давления воды на общем
подводе к зонам вторичного охлаждения;
- измерение расхода и давления охлаждающей
воды, подводимой по зонам
- вторичного охлаждения;
- контроль давления и расхода воздуха,
используемого в каждой зоне для
- создания водовоздушной смеси;
- регулирование расходов охлаждающей воды,
подаваемой на каждую зону
- вторичного охлаждения в зависимости от
сортамента и скорости по табличным значениям;
- стабилизация давления воздуха,
используемого в каждой зоне для создания водовоздушной смеси;
- допусковый контроль параметров охлаждения;
- дистанционное управление подачей
охлаждающей воды;
- контроль и управление отсечными клапанами
подвода воды к секциям
- ЗВО;
- измерение температуры поверхности слитка
(для наладки ДСВО).
- Управление расходами воды на ЗВО
осуществляется в следующих режимах:
- дистанционного управления с экрана станции
оператора;
- автоматического управления по жесткой
программе для каждого сортамента слитка, заложенной в контроллеры;
- автоматического управления по заданию с
уровня 2 с оптимизацией охлаждения слитка на основе математической модели.
Подача охлаждающего компонента регулируется таким образом,
чтобы температура поверхности слитка равномерно снижалась по мере его
продвижения.
Для регулирования используются регулирующие клапаны с
пневматическими исполнительными механизмам.
Для измерения расхода воды на охлаждение используются
индукционные измерители расхода.
Для измерения расхода воздуха на охлаждение используются
вихревые измерители расхода.
2.1.1
Динамическая система управления вторичным охлаждением
Используемые сокращения:
ДСУ - динамическая система управления;
ВО - вторичное охлаждение;
МПС - метод пропорциональных скоростей;
МДУ - метод динамического управления;
ЗВО - зона вторичного охлаждения;
ВВС - водовоздушная смесь;
НДС - напряженно-деформированное состояние.
ДСУ ВО предназначена для регулирования охлаждения слитка в
зоне вторичного охлаждения как при постоянной, так и при изменяющейся скорости
разливки. Предлагаемая ДСУ ВО базируется на оригинальных конструктивных
элементах системы вторичного охлаждения разработки ООО "Корад"
(коллекторах, форсунках, быстроразъемных соединений с фильтрами и т.д.),
физическом и математическом моделировании теплообмена в ЗВО (для получения
реальных характеристик применяемых форсунок) и математических моделях,
позволяющих прогнозировать качество разливаемых слябов.
В процессе разливки проводится корректировка для расходов ВВС
по секциям ЗВО по информации о: температуре стали в промковше и скоростном
режиме разливки. При переходных режимах литья с целью обеспечения требуемого
качества слитка формируются необходимые изменения режима ВО. Использование
предлагаемой ДСУ ВО позволит стабилизировать качество поверхности и
макроструктуры получаемых слябов и существенно сократить количество
поверхностных и внутренних дефектов, связанных с организацией вторичного
охлаждения.
В практике регулирования ВО в процессе затвердевания
непрерывнолитой заготовки существуют два основных метода, а именно: - так
называемый метод пропорциональных скоростей (МПС), когда расходы хладагентов
зависят только от текущей скорости разливки, метод динамического управления
(МДУ).
МПС основан, как правило, на использовании табличных значений
расхода воды в зависимости от скорости разливки. В этом случае изменение
расхода воды происходит одновременно на всех участках зоны вторичного
охлаждения при изменении действительной скорости разливки. Процесс на основе
табличных данных или уравнений управления разрабатывается сразу для всего
ассортимента разливаемых заготовок с учетом их размера, химического состава и
температуры разливаемой стали. МПС позволяет поддерживать требуемый
температурный профиль при постоянном режиме разливки с достаточной точностью.
Но при переходных режимах с изменением скорости разливки при использовании МПС
могут образовываться переохлажденные или перегретые участки сляба из-за
одновременного изменения интенсивности подачи охладителя во всех секциях зоны
охлаждения. Как следствие, качество сляба значительно ухудшается.
МДУ ВО широко применяется на новых высокопроизводительных
УНРС. Он позволяет минимизировать негативное влияние переходных процессов,
влияющих на температурный профиль непрерывнолитой заготовки. В практике сталеплавильного
производства известны различные алгоритмы процесса динамического контроля.
Наиболее перспективным является использование интегральных геометрических и
скоростных параметров, рассчитываемых в процессе разливки для конкретных
управляемых элементов ЗВО. Используя интегральные параметры можно при
построении алгоритма управления ВО отказаться от механизма логического
определения переходного режима, что позволяет существенно упростить сам
алгоритм и единым образом описать различные скоростные конфигурации переходных
режимов разливки.
2.2
Характеристика форсунок
Анализ результатов исследований процесса непрерывной разливки
показывает, что существенную роль в формировании качественных характеристик
получаемого металла играют параметры системы охлаждения машин непрерывного
литья заготовок (МНЛЗ). Основными элементами этих систем являются
разбрызгивающие устройства, размещаемые в зоне вторичного охлаждения (ЗВО) для
обеспечения регулируемого теплоотвода от слитка. Качество непрерывнолитой
заготовки во многом определяется процессами охлаждения слитка в зоне вторичного
охлаждения (ЗВО). При отклонениях от оптимальных параметров системы охлаждения
возможно раскрытие дефектов металла, образовавшихся в кристаллизаторе
(продольных и других поверхностных трещин), появление новых дефектов,
возникающих в зоне вторичного охлаждения.
Чтобы избежать этого, необходимо искать оптимальные условия
работы механического оборудования в ЗВО МНЛЗ, пути повышения его стойкости за
счет правильной организации охлаждения слитка и элементов поддерживающей
системы. Этого можно достичь обоснованным выбором типа форсунок, параметров
распыливания, использованием части воды непосредственно для охлаждения
оборудования. Для реализации процедуры формирования граничных условий в ЗВО необходимо
создание модуля САПР, включающего в себя математические модели разбрызгивающих
устройств. Эти модели создаются на основе экспериментальных исследований
гидравлических и тепловых характеристик этих элементов системы охлаждения на
лабораторном стенде.
Они описывают взаимосвязи между гидравлическими,
геометрическими, режимными и теплофизическими параметрами процессов генерации и
управления струями охладителя, взаимодействующими с поверхностью слитка в
области орошения. Одной из основных целей при проектировании форсунок является
снижение неравномерности распределения плотности орошения по полю орошения.
Анализ охлаждения непрерывного слитка в ЗВО показал, что при выборе или
создании разбрызгивающих устройств, предназначенных для систем вторичного
охлаждения, основное внимание следует уделить таким характеристикам, как
равномерность орошения поверхности слитка, размеры и конфигурация поля
орошения, углы раскрытия струи по его осям, пределы изменения расходов
хладагента, интенсивность теплоотвода в поле орошения, эксплуатационная
надежность. Эксплуатация форсунок объемного распыливания серии "К" в
ЗВО МНЛЗ позволила определить основные конструктивные параметры, оказывающие
существенное влияние на распределение плотности орошения и конфигурацию поля
орошения. Такими параметрами являются высота сопловой части, глубина
конусоидального вреза и глубина вреза сегментного паза. Для получения
необходимых параметров разбрызгивания форсунки была разработана методика
оптимизации конструктивных элементов форсунки. В основе этой методики лежит
использование критерия оптимальности K, представляющего собой линейную
свертку частных критериев с соответствующими весовыми коэффициентами.
А -
=1,00; Б -
=0,91; В -
=0,82
Рисунок 9 - Изменение геометрии поля орошения в зависимости от
высоты сопловой части
,
где К - критерий оптимальности;- индекс частного критерия;-
количество частных критериев;- весовой коэффициент;- частный критерий.
В качестве частных критериев использовали такие параметры, как
угол раскрытия форсунки по большой оси, угол раскрытия форсунки по малой оси,
коэффициент неравномерности распределения плотности орошения, градиент
плотности орошения по выбранной оси поля орошения, коэффициент соответствия
требуемой геометрии поля орошения. С целью изучения влияния высоты сопловой
части форсунок серии "К" была проведена серия опытов при изменении
относительных значений высоты сопловой части в диапазоне 0,82 - 1,0. При этом
абсолютный диапазон изменения высоты составлял 7 мм при неизменных значениях
остальных конструктивных параметров форсунки. Все исследования проводили при
значении избыточного давления перед форсункой 0,1; 0,3 и 0,5 МПа и расстоянии
от форсунки до поля орошения 0,21 м.
В результате проведения эксперимента и обработки результатов
выявлены некоторые закономерности в распределении охладителя по факелу
форсунки. Так, например, на рисунке 9 представлено изменение конфигурации поля
орошения при варьировании высоты сопловой части форсунки серии К.
-
= 0,82; 2 -
= 0,91; 3 -
= 1,00
Рисунок 10 - Изменение распределения плотности орошения в
зависимости от высоты сопловой части
-
=0; 2 -
= 0,43; 3 -
= 0,86
Рисунок 11 - Конфигурация поля орошения при р = 0,3 MПа
Из анализа рисунка 9 видно, что постепенное уменьшение высоты
сопловой части приводит к расширению поля орошения по вертикальной оси и
сужению по горизонтальной. Кроме того, увеличивается равномерность
распределения охладителя в объеме факела, что обусловлено, в основном
расширением поля орошения в его центральной части. Изменение распределения
плотности орошения по большой оси поля воздействия факела на преграду
представлены на рисунке 10, из которого видно, что увеличение относительной
высоты сопловой части форсунки вплоть до значения
=1,00 приводит к квазитреугольной форме
функции распределения, необходимой при построении многоколекторных систем
охлаждения.
-
=0; 2 -
= 0,43; 3 -
= 0,71; 4 -
=0,86; 5 -
=1,00
Рисунок 11 - Изменение распределения плотности орошения при
изменении относительного параметра косинусоидального вреза
- 0,1
MПа; 2 - 0,3 MПа; 3 - 0,5 MПа
Рисунок 12 - Влияние параметра
форсунки на комплексный критерий
Исходя из структуры комплексного критерия, физической и
математической сущности частных критериев, оптимальный вариант конструкции
форсунки по выбранному геометрическому параметру находится минимизацией
комплексного критерия.
Анализ результатов экспериментов показал, что уменьшение высоты
сопловой части увеличивает краевой эффект, при этом увеличивается равномерность
плотности орошения в центральной части. Разработанная методика оптимизации
конструкции форсунок позволила получить оптимальное значение параметра,
характеризующего высоту сопловой части (
=0,883).
Для оценки влияния глубины конусоидального вреза была испытана
серия форсунок объемного распыливания с различными значениями этого параметра.
В качестве базовой форсунки использовали форсунку, у которой конусоидальный
врез отсутствует.
При этом угол при вершине конуса составлял 120°. Целью
исследования было нахождение оптимального значения глубины конусоидального
вреза
, при котором форсунка имеет оптимальные
характеристики распределения плотности орошения и конфигурации поля орошения на
преграде.
Шаг вариации по глубине вреза составлял 1 мм.
Рисунок 13 - Изменение геометрии поля орошения в зависимости от
глубины вреза сегментного паза (1,2 - конфигурация поля орошения соответственно
для минимальной и максимальной глубины вреза сегментного паза)
-
= - 0,38; 2 -
=-0,11; 3 -
=0,04; 4 -
=0,22
Рисунок 14 - Изменение распределения плотности орошения в зависимости
от глубины вреза сегментного паза
Изменение конфигурации поля орошения для базовой форсунки и
форсунок с относительной глубиной конусоидального вреза
представлены на рисунке 11.
Анализ полученных результатов показывает, что для поля орошения
базовой форсунки характерна гантелеобразная конфигурация. Увеличение глубины
конусоидального вреза в исследованном диапазоне изменения этой величины
приводит к резкому расширению поля орошения по малой оси в центре факела форсунки.
Угол раскрытия факела по этой оси при этом увеличивается в 1,5 раза, а по
большой оси факела наблюдается уменьшение угла раскрытия в 1,1 раз. Полная
картина изменения распределения плотности орошения по большой оси поля
воздействия факела на преграду для p=0,3 МПа представлена на рисунке 12.
Анализируя представленные на рисунке 11 графики, можно сделать
вывод о том, что при увеличении глубины конусоидального вреза плотность
орошения уменьшается в центре и увеличивается на краях. Однако при дальнейшем
увеличении значения
(более 0,86) происходит возрастание
плотности орошения в центральной части и увеличивается равномерность
распределения плотности орошения.
На рисунке 12 показаны функции изменения значений комплексного критерия
от параметра конусоидального вреза форсунки для трех давлений воды.
Анализ равномерности конфигурации поля орошения показывает, что
при увеличении параметра конусоидального вреза его неравномерность
увеличивается, т.к. происходит резкое изменение конфигурации факела в центре.
Оптимальное значение величины конусоидального вреза составляет
0,3.
- 0,1 MПа; 2 - 0,3 MПа; 3 - 0,5 MПа
Рисунок 15 - Влияние параметра
на комплексный критерий
Не менее важным параметром конструкции форсунки серии
"К" является глубина вреза сегментного паза δ, так как она напрямую влияет на величину
выходного отверстия в точке столкновения двух потоков жидкости.
В ходе разработки новых вариантов конструкции форсунки объемного
распыливания были получены функции распределения среднеинтегральной по высоте
поля взаимодействия струи с преградой плотности орошения и конфигурации поля
орошения для вариантов исполнения форсунки с различными значениями этого
конструктивного параметра (рисунок 13).
Изменение распределения среднеинтегральной по высоте поля орошения
плотности орошения вдоль большой оси поля воздействия факела на преграду
представлены на рисунке 14 где δ - относительная величина глубины вреза сегментного паза
(относительная координата характерной точки пересечения двух объемных элементов
сопловой части форсунки).
На рисунке 15 показаны функции изменения значений комплексного
критерия от глубины вреза сегментного паза форсунки для трех давлений воды
перед форсункой. Оптимальный вариант конструкции форсунки по выбранному
геометрическому параметру соответствует минимуму комплексного критерия.
Анализ полученных результатов показал, что увеличение глубины
вреза сегментного паза приводит сначала к расширению поля орошения по
вертикальной (особенно в центральной части) и горизонтальной осям, а после
прохождения нулевого уровня к некоторому сужению по вертикальной оси с
дальнейшим расширением на краях поля факела. Кроме того, увеличивается
равномерность распределения охладителя в объеме факела, и форма поля
приближается при этом к эллипсу. Найденное значение оптимальной глубины вреза
сегментного паза форсунки серии "К", равное
= 0,04, позволяет получить факел
разбрызгивания охладителя с минимальной неравномерностью распределения
охладителя по полю орошения и максимальным приближением его геометрических
характе рисуноктик к заданным. Это налагает повышенные требования к качеству
изготовления форсунок: требуется большая точность в процессе выполнения вреза
сегментного паза. Полученные данные по оптимальной величине глубины вреза
сегментного паза не зависят от давления воды перед форсункой.
Использование этой методики для анализа влияния конструктивных
параметров разбрызгивающих устройств на функции распределения плотности
орошения позволяет проектировать конструкции форсунок с такими особенностями
распределения, которые наилучшим образом удовлетворяют требованиям к охлаждению
конкретного вида продукции и элементов конструкций металлургического агрегата,
помогает оценить влияние геометрических параметров форсунок на характеристики
их разбрызгивания.
В результате исследования был получен широкий спектр распределений
плотностей орошения в зависимости от конструктивных параметров форсунок серии
"К". Эту базу данных можно использовать при подборе форсунок для
эксплуатации в определенных зонах системы охлаждения МНЛЗ.
3.
Экспериментальные исследования по охлаждению неприрывнолитой слябовой заготовки
в условиях МНЛЗ-2 ОАО "Уральская Сталь"
3.1
Исследование температуры поверхности
Для изучения температуры поверхности заготовки в условиях
электросталеплавильного цеха ОАО "Уральская Сталь", г. Новотроицк на
МНЛЗ № 2 был проведен эксперимент по исследованию температурных полей
непрерывно-литой заготовки сечением 1200×270 мм, отливаемой при
скорости вытягивания 0,9 м/мин. Поскольку химический состав и свойства стали
существенно влияют на качество заготовки, эксперименты проводили на наиболее
массовых марках сталей с различным содержанием углерода: 17Г1С-У и 09Г2С.
Температура поверхности заготовки измерялась на выходе из
бункера зоны вторичного охлаждения перед агрегатом газовой резки
(технологическая длина на контрольной отметке составляла 30,5 м) при помощи
пирометра "Луч" с диапазоном измерений от 350 до 1800 ºС.
Замеры проводились на поверхности заготовки по малому радиусу
(r) в пяти точках и со стороны торца в трех точках. Геометрические области
замеров приведены на рисунке 16. Стрелкой обозначено направление движения
заготовки.
Рисунок 16 - Точки измерения температуры на поверхности
заготовки
В ходе эксперимента были выполнены две серии замеров на
плавках сталей 09Г2С и 17Г1С-У. Ввиду малой дисперсии результаты измерений были
усреднены. Основные параметры разливки приведены в таблице 6.
Таблица 6 - Основные параметры разливки
|
Номер
|
Параметр
|
Марка стали
|
|
|
09Г2С
|
17Г1С-У
|
|
1
|
Толщина
заготовки, мм
|
270
|
|
2
|
Скорость
вытягивания, м/мин
|
0,9
|
|
3
|
Номер плавки
|
V 16076
|
V16476
|
|
4
|
Дата проведения
|
11.11.2011
|
8.12.2011
|
|
5
|
Номер плавки в
серии
|
12
|
18
|
|
6
|
Температура
металла в пром. ковше,°С
|
1535
|
1537
|
|
7
|
Длительность
разливки, мин
|
57
|
52
|
|
8
|
Содержание
серы, %
|
0,008
|
0,002
|
|
9
|
Содержание
фосфора, %
|
0,011
|
0,013
|
Сравнительный анализ рекомендованных и фактических расходов
воды по контурам охлаждения при разливке стали 09Г2С (плавка V 16076) показал,
что для всех контуров, кроме 11, отклонение расходов воды от требуемых по
технологической инструкции не превышает 3,2%. В 11 контуре зоны вторичного
охлаждения рабочие расходы воды были занижены относительно рекомендованных в
среднем на 29,3% и 42,1% по малому и большому радиусу соответственно. При
разливе стали марки 17Г1С-У (плавка V16476) расходы и давление воды по секциям
вторичного охлаждения соответствовали рекомендованному режиму охлаждения для
данной марки стали.
На рисунке 17 приведены графики изменения температуры
поверхности широкой грани исследуемых заготовок со стороны малого радиуса.
Рисунок 17 - Температура поверхности широкой грани заготовки
При проведении экспериментов в центральной части широкой грани
заготовки визуально наблюдалась темная полоса, соответствующая вогнутой части
графика (рисунок 17), и свидетельствующая о неравномерном охлаждении заготовки
в зоне вторичного охлаждения (ЗВО). Кроме того, более резкий перепад
температуры смещен к углам заготовки и составляет в среднем 80°С.
Полученные данные позволили выявить несимметричность распределения
температуры по поверхности широкой грани литой заготовки (рисунок 16): левая по
направлению разливки поверхность заготовки переохлаждена по сравнению с правой.
Несимметричность температурного поля в различных участках по поверхности
широкой грани составляет от 20 до 60°С. Это объясняется конструктивными
особенностями системы подачи шлакообразующей смеси: с течением времени с одной
стороны МНЛЗ происходит постепенное засорение форсунок ЗВО шлакообразующей
смесью и, соответственно, нарушается охлаждение заготовки. С увеличением
серийности и, следовательно, общего времени разливки на МНЛЗ, угол наклона
температурной кривой изменяется до 20°, а разница температур достигает 50°С.
На рисунке 18 приведены графики изменения температуры поверхности
узкой грани исследуемых заготовок.
Рисунок 18 - Температура поверхности узкой грани заготовки
Неравномерное распределение температуры по толщине заготовки
(рисунок 18) объясняется недостаточной согласованностью в расходах охладителя
со стороны узкого и широкого радиусов непрерывнолитой заготовки, что приводит к
разнице температур до 40°С между верхней и нижней частью заготовки и
перепадам температур между центром заготовки и угловой зоны, особенно со
стороны малого радиуса до 70°С.
Однако, так как замеры не производились непосредственно на углах
заготовки, следуя из общей картины изменения температуры и визуального осмотра,
можно предположить, что именно на углах температура достигает своего
минимального значения. В результате при выходе сляба толщиной 270 мм из бункера
ЗВО наблюдались темная холодная сердцевина и две светлые горячие полосы на
расстоянии 1/4 от края слитка и далее более темные края (рисунок 19).
Рисунок 19 - Внешний вид заготовки на выходе из бункера ЗВО
Анализ качества поверхности толстого листа подтвердил, что дефекты
располагаются двумя полосами, местоположение которых совпадает с границами
темных и светлых участков на слябе. Таким образом, выявленная в исследовании
неравномерность охлаждения заготовки является основной причиной образования
дефектов, проявляющихся на листовом прокате. В этой связи, остается актуальным
вопрос разработки оптимальных режимов охлаждения непрерывно-литой слябовой
заготовки, включая и выбор рациональных расходов охладителя по контурам ЗВО.
Решение этого вопроса позволит повысить качество листового проката
ответственного назначения и производительность одноручьевой слябовой МНЛЗ № 2
ОАО "Уральская Сталь".
3.2
Исследование плотности орошения
В качестве объекта исследования была выбрана форсунка типа
У90 производства фирмы "Корад", так как их количество составляет
более 67% от всех используемых форсунок в секциях ЗВО МНЛЗ № 2. Для изучения и
анализа распределения охладителя по фронту распыления форсунок типа У90
различной степени засоренности была сконструирована простейшая измерительная
планка.
Для ее изготовления были использованы градуированные
цилиндрические медицинские емкости объемом 50 мл, зафиксированные направляющими
в один ряд длиной 800 мм.
Эксперимент проводился на стенде для проверки работы секций
ЗВО в сборочном цехе МНЛЗ № 2 ОАО "Уральская Сталь". На форсунку
подавалась охлаждающая смесь в соответствии с рекомендуемыми расходами для
данного участка охлаждения. В процессе распыления на расстоянии,
соответствующим конструктивным параметрам для конкретного контура ЗВО, на
короткий промежуток времени устанавливалась измерительная планка. Время
измерения ограничивалось объемом измерительных емкостей. На рисунке 20 приведен
фотоснимок, выполненный при проведении эксперимента с использованием
"чистой" форсунки типа У90 фирмы "Корад".
Рисунок 20 - Фрагмент эксперимента с использованием
"чистой" форсунки типа У90 фирмы "Корад"
Была выполнена серия экспериментов для форсунок типа У90
различной степени засоренности. В результате анализа экспериментальных данных
по распределению расхода охладителя вдоль фронта охлаждения при использовании
незасоренной форсунки была получена зависимость плотности орошения g от
расстояния до центра форсунки х в виде полинома 5-го порядка.
,
при этом коэффициент корреляции составил 0,984. На рисунке 21
приведены графики распределения охладителя относительно центра форсунки,
полученные в результате эксперимента, в соответствии с законом нормального
распределения и полиномом 5-го порядка.
Визуально наблюдается ассиметричность распределения плотности
орошения со смещением к одному из краев зоны орошения. Эксцесс, равный - 1,268,
характеризует относительно сглаженное распределение по сравнению с нормальным
распределением. Скос, равный 0,050, характеризует степень несимметричности
распределения относительно его среднего в сторону положительных значений.
Рисунок 21 - Распределение охладителя
Учитывая конструктивные особенности расположения форсунок типа У90
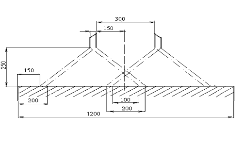
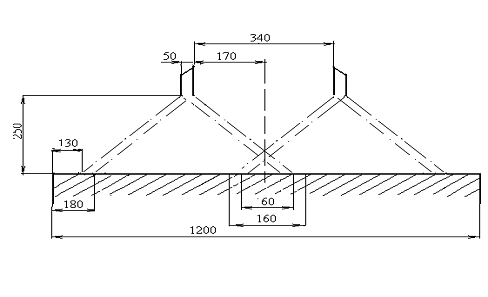
в секциях № 1 - 3 и № 4 - 11 (рисунок 22 а, б) были получены графики
распределения охладителя по поверхности заготовки при различных расположениях
форсунок относительно центра заготовки - 150, 170, 200, 220 мм (рисунок 23).
а
б
Рисунок 22 - Схема расположения форсунок типа У90 в секциях № 1 -
3 (а) и № 4 - 11 (б)
Рисунок 23 - Сравнительный анализ распределения объема охладителя
по поверхности заготовки в секциях № 1 - 3 и № 4 - 11
При расположении форсунок относительно центра заготовки на
расстоянии 150 и 170 мм в ее центральной части наблюдается резкое увеличение
плотности орошения в месте перекрытия факелов форсунки, что может привести к переохлаждению
поверхности заготовки в центральной части. Более равномерное распределение
плотности орошения наблюдается при расположении форсунок относительно центра
заготовки на расстоянии 200 мм. При увеличении расстояния между форсунками и
центром заготовки до 220 мм наблюдается неравномерное распределение охладителя
- в центральной части заготовки снижение его объема, а на уровне осей форсунок
- увеличение. Кроме того в этом случае происходит более интенсивное орошение
угловой части заготовки, что также может привести к переохлаждению краев.
Был проведен ряд измерений распределения объема охладителя при
использовании засоренных форсунок, который показал, что засоренность может
приводить к значительной деформации факела, в частности, к смещению максимальной
плотности орошения к краю факела, или к образованию разрывов факела. Полученные
результаты свидетельствуют о том, что математический анализ влияния степени
засоренности форсунки на характер распределения плотности орошения является
затруднительным.
Таким образом, проведенный эксперимент позволил выявить характер
распределения охладителя по поверхности заготовки. На основании анализа
полученных данных можно сделать вывод о том, что существующая схема
расположения форсунок в секциях № 4 - 11 ЗВО МНЛЗ-2 ОАО "Уральская
Сталь" не обеспечивает равномерного охлаждения поверхности заготовки и
приводит к захолаживанию её центральной части. Анализ данных свидетельствует
том, что существует локальные участки подачи охладителя в избыточном
количестве, что подтверждается соответствующими исследованиями температуры
поверхности. В частности, переохлаждению подвергают центральную и торцевые
части поверхности заготовки. В качестве мер для выравнивания температуры
поверхности по сечению заготовки было предложено отключение подачи воды на
форсунки ЗВО в секции № 12 - 16, что приведет к улучшению качества
непрерывнолитой заготовки за счет более равномерного распределения температур
по сечению сляба.
4. Экономика
и организация производства
4.1
Организация производственных потоков
В настоящее время в ЭСПЦ ОАO "Уральская
Сталь" существует схема производственных потоков, представленная на
рисунке 24.
Рисунок 24 - Существующая схема производственных
потоков
4.2 Структура
управления электросталеплавильного цеха
Численность промышленно - производительного персонала цеха
определяется из расчета фонда оплаты труда (калькуляция себестоимости) и
средней заработной платы рабочего. Численность списочного состава остается
неизменной.
В штат ЭСПЦ ОАО "Уральская Сталь" входят 999
человек, из них руководящий и служащий состав составляют 106 человек и 893
человек рабочие.
Штатное расписание рабочих цеха приведено в таблице 7.1:
Таблица 7.1 - Штатное расписание ЭСПЦ
|
Номер
|
Наименование
должности, профессии
|
Разряд
|
Всего по штату
|
|
Участок
"Общецеховой персонал"
|
|
|
|
1
|
Начальник цеха
|
|
1
|
|
2
|
Заместитель
начальника цеха по производству
|
|
1
|
|
3
|
Заместитель
начальника цеха по разливке
|
|
1
|
|
4
|
Заместитель
начальника цеха по электрооборудованию
|
|
1
|
|
5
|
Заместитель
начальника цеха по технологии
|
|
1
|
|
6
|
Заместитель
начальника цеха по оборудованию
|
|
1
|
|
7
|
Заместитель
начальника цеха по реконструкции и капитальным ремонтам
|
|
1
|
|
8
|
Заместитель
начальника цеха по выплавке
|
|
1
|
|
9
|
Начальник смены
|
|
4
|
|
10
|
Механик цеха
|
|
1
|
|
11
|
Электрик цеха
|
|
1
|
|
12
|
Энергетик цеха
|
|
1
|
|
13
|
Специалист по
ремонту
|
|
2
|
|
14
|
Инженер по
охране окружающей среды 1 - категории
|
|
1
|
|
15
|
Инженер по
охране труда и технике безопасности 2-категории
|
|
2
|
|
16
|
Инженер-фабрикатор
|
|
3
|
|
17
|
Секретарь-машинистка
|
|
1
|
|
18
|
Бригадир на
хозяйственных работах
|
3
|
1
|
|
19
|
Грузчик-экспедитор
|
4
|
1
|
|
20
|
Кладовщик
|
3
|
1
|
|
21
|
Оператор пульта
управления
|
5
|
4
|
|
22
|
Слесарь-инструментальщик
|
5
|
1
|
|
Подучасток:
Техническое бюро
|
|
|
|
23
|
Начальник бюро
|
|
1
|
|
24
|
Ведущий инженер
|
|
1
|
|
25
|
Инженер 1-кат.
|
|
1
|
|
26
|
Инженер 2 -
кат.
|
|
1
|
|
27
|
Инженер -
конструктор
|
|
1
|
|
28
|
Инженер по
оборудованию, запчастям и подготовке к ремонтам
|
|
1
|
|
Подучасток:
Бюро организации труда
|
|
|
|
29
|
Начальник бюро
|
|
1
|
|
30
|
Инженер по
организации и нормированию труда 1-кат.
|
|
1
|
|
31
|
Инженер по
организации и нормированию труда 2-кат.
|
|
1
|
|
32
|
Инженер по
подготовке кадров
|
|
1
|
|
33
|
Старший
табельщик
|
|
1
|
|
34
|
табельщик
|
|
1
|
|
35
|
Распределитель
работ
|
|
1
|
|
Подучасток:
Экспресс-лаборатория
|
|
|
|
36
|
Инженер 1-кат.
|
|
1
|
|
37
|
Лаборант
спектрального анализа
|
5
|
4
|
|
Подучасток:
Бюро планирования технического обслуживания и ремонтов оборудования
|
|
|
|
38
|
Инженер по
планированию ремонтов 1-кат.
|
|
2
|
|
Подучасток:
Технологическое бюро
|
|
|
|
39
|
Начальник бюро
|
|
1
|
|
40
|
Ведущий инженер
|
|
1
|
|
41
|
Инженер-технолог
I - кат.
|
|
2
|
|
Участок
"Шихтовый двор"
|
|
|
|
42
|
Старший мастер
|
|
1
|
|
Подучасток:
Подготовка ферросплавов"
|
|
|
|
43
|
Мастер
|
|
1
|
|
44
|
Бригадир
шихтового двора в сталеплавильном производстве
|
5
|
5
|
|
45
|
Дробильщик
|
3
|
4
|
|
46
|
Кладовщик
|
3
|
5
|
|
47
|
Машинист
конвейера
|
3
|
23
|
|
48
|
Машинист крана
металлургического производства
|
3
|
9
|
|
49
|
Машинист
мельниц
|
4
|
2
|
|
50
|
Приемщик сырья,
полуфабрикатов и готовой продукции
|
2
|
1
|
|
51
|
Сушильщик
|
2
|
5
|
|
52
|
Шихтовщик
|
3
|
8
|
|
Подучасток:
"Скрапоразделочный с шихтовым пролетом"
|
|
|
|
53
|
Мастер
|
|
4
|
|
54
|
Бригадир
шихтового двора в сталеплавильном производстве
|
5
|
9
|
|
55
|
Машинист крана
металлургического производства
|
4
|
35
|
|
56
|
Шихтовщик
|
3
|
26
|
|
Участок
"Печной"
|
|
|
|
57
|
Старший мастер
|
|
1
|
|
58
|
Мастер
|
|
8
|
|
59
|
Мастер
|
|
1
|
|
60
|
Бригадир по
перемещению сырья, полуфабрикатов и готовой продукции в процессе производства
|
4
|
4
|
|
61
|
Машинист
завалочной машины
|
6
|
5
|
|
62
|
Машинист крана
(крановщик)
|
5
|
5
|
|
63
|
Машинист крана
металлургического производства
|
6
|
9
|
|
64
|
Машинист-транспортировщик
горячего металла
|
4
|
5
|
|
65
|
Подручный
сталевара электропечи (первый)
|
6
|
8
|
|
66
|
Подручный
сталевара электропечи (второй)
|
5
|
16
|
|
67
|
Подручный
сталевара электропечи (третий)
|
4
|
14
|
|
68
|
Сталевар
электропечи
|
7
|
8
|
|
Участок
"Разливка стали"
|
|
|
|
69
|
Старший мастер
|
|
1
|
|
70
|
Мастер
|
|
4
|
|
71
|
Мастер
|
|
1
|
|
72
|
5
|
41
|
|
73
|
Машинист крана
металлургического производства
|
6
|
14
|
|
74
|
Разливщик стали
|
6
|
20
|
|
75
|
Разливщик стали
|
5
|
43
|
|
Подучасток:
"Подготовка шиберных затворов для разливки стали
|
|
|
|
76
|
Слесарь-ремонтник
|
6
|
4
|
|
77
|
Слесарь-ремонтник
|
5
|
9
|
|
Участок
"Внепечная обработка стали"
|
|
|
|
78
|
Старший мастер
|
|
1
|
|
79
|
Мастер
|
|
4
|
|
80
|
Мастер
|
|
1
|
|
81
|
Подручный
сталевара электропечи (первый)
|
6
|
16
|
|
82
|
Подручный
сталевара электропечи (второй)
|
5
|
22
|
|
83
|
Сталевар
электропечи
|
7
|
8
|
|
Участок
"Непрерывное литье заготовок"
|
|
|
|
84
|
Старший мастер
|
|
1
|
|
85
|
Мастер
|
|
4
|
|
86
|
Мастер
|
|
1
|
|
87
|
Бригадир по
перемещению сырья, полуфабрикатов и готовой продукции в процессе производства
|
4
|
2
|
|
88
|
Машинист крана
металлургического производства
|
5
|
5
|
|
89
|
Машинист крана
металлургического производства
|
4
|
4
|
|
90
|
Машинист крана
металлургического производства
|
3
|
5
|
|
91
|
Оператор машины
непрерывного литья заготовок
|
6
|
20
|
|
92
|
Оператор машины
непрерывного литья заготовок
|
5
|
20
|
|
93
|
Оператор машины
непрерывного литья заготовок
|
4
|
29
|
|
94
|
Оператор систем
гидравлики и охлаждения машины непрерывного литья заготовок
|
4
|
18
|
|
Участок
"Пролег термообработки и зачистки заготовок"
|
|
|
|
95
|
Старший мастер
|
|
1
|
|
96
|
Мастер
|
|
4
|
|
97
|
Бригадир по
перемещению сырья, полуфабрикатов и готовой продукции в процессе производства
|
4
|
8
|
|
98
|
Клеймовщик
горячего металла
|
4
|
8
|
|
99
|
Машинист крана
металлургического производства
|
5
|
23
|
|
100
|
Обработчик
поверхностных пороков металла
|
4
|
5
|
|
101
|
Сортировщик-сдатчик
металла
|
2
|
9
|
|
Участок
"Шлакопереработка и шлакоуборка"
|
|
|
|
102
|
Мастер
|
|
1
|
|
Подучасток:
Шлакопереработка
|
|
|
|
103
|
Машинист крана
металлургического производства
|
5
|
9
|
|
104
|
Шлаковщик
|
4
|
18
|
|
Подучасток:
Пролет шлакоуборки
|
|
|
|
105
|
Машинист крана
металлургического производства
|
5
|
9
|
|
Участок
"Огнеупорные работы"
|
|
|
|
106
|
Старший мастер
по ремонту оборудования
|
|
1
|
|
107
|
Мастер по
ремонту оборудования
|
|
4
|
|
108
|
Огнеупорщик
|
6
|
20
|
|
109
|
Огнеупорщик
|
5
|
49
|
|
Участок
"Ремонт и содержание механооборудования"
|
|
|
|
Подучасток:
"Печной участок, разливочный пролет и шлакоуборка"
|
|
|
|
110
|
Мастер по
ремонту оборудования
|
|
1
|
|
111
|
Слесарь-ремонтник
|
6
|
4
|
|
112
|
Слесарь-ремонтник
|
5
|
9
|
|
113
|
Электрогазосварщик
|
6
|
5
|
|
Подучасток:
"Крановое оборудование"
|
|
|
|
114
|
Старший мастер по
ремонту оборудования
|
|
1
|
|
115
|
Мастер по
ремонту оборудования
|
|
1
|
|
116
|
Слесарь-ремонтник
|
6
|
4
|
|
117
|
Слесарь-ремонтник
|
5
|
8
|
|
Подучасток:
"Непрерывное литье заготовок"
|
|
|
|
118
|
Мастер по
ремонту оборудования
|
|
1
|
|
119
|
Слесарь-ремонтник
|
6
|
4
|
|
120
|
Слесарь-ремонтник
|
5
|
8
|
|
121
|
Электрогазосварщик
|
5
|
4
|
|
Подучасток:
"Подготовка ферросплавов, сыпучих материалов и шихты обжигового участка,
загрузочного и печного пролетов"
|
|
|
|
122
|
Мастер по
ремонту оборудования
|
|
1
|
|
123
|
Слесарь-ремонтник
|
5
|
9
|
|
Участок
"Ремонт и содержание электрооборудования"
|
|
|
|
124
|
Мастер по
ремонту оборудования
|
|
1
|
|
125
|
Ведущий инженер
|
|
1
|
|
Подучасток:
"Высоковольтное оборудование"
|
|
|
|
126
|
Электромонтер
по ремонту и обслуживанию электрооборудования
|
5
|
5
|
|
Подучасток:
"Крановое оборудование"
|
|
|
|
127
|
Мастер по
ремонту оборудования
|
|
1
|
|
128
|
Электромонтер
по ремонту и обслуживанию электрооборудования
|
6
|
4
|
|
129
|
Электромонтер
по ремонту и обслуживанию электрооборудования
|
5
|
9
|
|
Подучасток:
"Подготовка ферросплавов, сыпучих материалов и шихты обжигового участка,
загрузочного и печного пролетов"
|
|
|
|
130
|
Электромонтер
по ремонту и обслуживанию электрооборудования
|
5
|
8
|
|
Подучасток:
"Печной участок и вненечная обработка стали"
|
|
|
|
131
|
Мастер по
ремонту оборудования
|
|
1
|
|
132
|
Электромонтер
по ремонту и обслуживанию электрооборудования
|
6
|
4
|
|
Подучасток:
"Непрерывное литье заготовок"
|
|
|
|
133
|
Мастер по
ремонту оборудования
|
|
1
|
|
134
|
Электромонтер
по ремонту и обслуживанию электрооборудования
|
6
|
8
|
|
135
|
Электромонтер
по ремонту и обслуживанию электрооборудования
|
5
|
8
|
|
Участок
"Ремонт и содержание энергооборудования"
|
|
|
|
136
|
Мастер по
ремонту оборудования
|
|
1
|
|
137
|
Машинист
компрессорных установок
|
5
|
5
|
|
Подучасток:
"Пылегазоулавливающее оборудование электропечей №1,2"
|
|
|
|
138
|
Мастер по
ремонту оборудования
|
|
1
|
|
139
|
Оператор по
обслуживанию пылегазоулавливающих установок
|
4
|
14
|
|
140
|
Слесарь-ремонтник
|
6
|
5
|
|
141
|
Слесарь-ремонтник
|
5
|
2
|
|
142
|
Электрогазосварщик
|
6
|
1
|
|
Подучасток:
"Энергооборудование газового хозяйства"
|
|
|
|
143
|
Газовщик
|
5
|
18
|
|
Подучасток:
"Водное хозяйство печного участка и внепечной обработки стали"
|
|
|
|
144
|
Мастер по
ремонту оборудования
|
|
1
|
|
145
|
Машинист
насосных установок
|
4
|
5
|
|
146
|
Слесарь-ремонтник
|
6
|
4
|
|
147
|
Слесарь-ремонтник
|
6
|
1
|
|
148
|
Слесарь-ремонтник
|
5
|
6
|
|
149
|
Слесарь-ремонтник
|
5
|
2
|
|
150
|
Электрогазосварщик
|
6
|
1
|
|
151
|
Электрогазосварщик
|
5
|
1
|
|
Подучасток:
"Водное хозяйство участка непрерывного литья заготовок"
|
|
|
|
152
|
Мастер по
ремонту оборудования
|
|
1
|
|
153
|
Машинист
насосных установок
|
4
|
9
|
|
154
|
Слесарь-ремонтник
|
6
|
4
|
|
155
|
Слесарь-ремонтник
|
6
|
1
|
|
156
|
Слесарь-ремонтник
|
5
|
5
|
|
157
|
Слесарь-ремонтник
|
5
|
3
|
|
158
|
Электрогазосварщик
|
6
|
1
|
|
Участок
"Обжиговый"
|
|
|
|
159
|
Старший мастер
|
|
1
|
|
160
|
|
1
|
|
161
|
Дробильщик
|
3
|
4
|
|
162
|
Машинист крана
(крановщик)
|
4
|
9
|
|
163
|
Обжигальщик
извести
|
4
|
8
|
|
164
|
Обжигальщик
извести
|
3
|
9
|
|
Участок
"Ремонт и содержание гидравлического оборудования"
|
|
|
|
165
|
Начальник
участка
|
|
1
|
|
166
|
Мастер по
ремонту оборудования
|
|
1
|
|
Подучасток:
"Печной участок и внепечная обработка стали"
|
|
|
|
167
|
Слесарь-ремонтник
|
6
|
4
|
|
168
|
Слесарь-ремонтник
|
5
|
5
|
|
Подучасток:
"Непрерывное литье заготовок"
|
|
|
|
169
|
Слесарь-ремонтник
|
6
|
4
|
|
170
|
Слесарь-ремонтник
|
5
|
4
|
4.3 Расчет
производительности цеха
В электросталеплавильном цехе (ЭСПЦ) ОАО "Уральская
Сталь" производят сталь широкого марочного сортамента в двух дуговых
электропечах ДCП-120,
каждая из которых имеет проектную производительностью 1 200,0 тыс. т стали в
год.
Номинальное время работы печи определяется вычитанием из
календарного времени простоев на холодные и горячие ремонты. Работа МНЛЗ
синхронизируется с работой обеих ДСП.
ТН = ТК - åТХ.Р.,
гдеТн - номинальное время, ч;
Тк - календарное время года, дни;
∑ТХ. Р - суммарное время капитальных и
текущих ремонтов, дни.
ТК = 365 ∙ 24 = 8760 ч - календарное время.
Длительность холодного ремонта åТХ.Р. = 328 ч.
Холодные ремонты проводят на печи раз в два года.
Тогда среднегодовые простои на ремонтах составляют 0,5×328 = 164 ч.
Следовательно, номинальное время работы равно:
ТН баз = 8760 - 164 = 8596 ч.
Горячие простои в электросталеплавильных печах составляют
6-8% от номинального времени работы. Тогда фактическое время работы составит:
ТФ = ТН - (1 - 0,08),
где
ТФ - фактическое время работы, ч.
Тф = 8596∙ (1-0,08) = 7908,32 ч.
При этом в базовом периоде Нрасх. баз. =1,123т/т.
прок.
Известно, что всего отходов 0,2 т/т. прок.
Процент отбраковки по УЗК при внедрении установки вакуумирования
стали (УВС) понизился с 0,8% до 0,15%.
Общий процент отбраковки по УЗК составлял в базовом периоде
0,8%, т.е.
,08×0,2=0,016 т/т. прок.
Тогда в проектном периоде:
т/т. прок.
Соответственно,
т/т. прок.
Выход годного определяется по формуле:
,
Тогда в базовом периоде он будет равен:
%
За счет снижения
увеличится выход годного (K1).
%
Индекс увеличения коэффициента выхода годного рассчитаем по
следующей формуле:
γ = К1/К2,
Соответственно, имеем:
.
Удельная производительность определяется по формуле:
,
где Q
- масса садки (завалка), т;
T - принятая единица времени, час;
tпл -
длительность плавки, час;
К1 - коэффициент выхода годного.
Объём разлитой стали на МНЛЗ - 2 в базовой период составляет 999,6
тыс. т за год. За счет совершенствования системы охлаждения брак НЛЗ снизился с
0,8% до 0,15%. При этом объем производства годной заготовки увеличился до
1005,6 тыс. т.
Годовая производительность цеха в базовый период:
т/год.
Годовая производительность цеха в проектный период:
т/год.
Коэффициент роста объема производства:
,
где g - коэффициент
роста объема производства;
Рпргод - плановый объем производства, т;
Рбазгод. - базовый объем производства, т.
g =
/ 999600 = 1,01.
Как видно из расчетов производительность цеха возрастет в 1,01
раза.
4.3.1 Расчет
показателей по труду
В дипломной работе списочная численность рабочих в ЭСПЦ остается
неизменной и составляет 999 человек.
Предусматривается изменение плановых показателей по труду:
средняя заработная плата производственных рабочих
увеличивается на 20%;
доля заработной платы производственных рабочих цеха в общем
фонде оплаты труда составляет 60%.
Фонд оплаты труда в базовом периоде рассчитывается по
следующей формуле:
ФОТ (баз) = Сот ∙ Рб;
где
ФОТ - фонд оплаты труда, руб;
Сот - статья затрат на оплату труда промышленного
производственного персонала, руб.;
Рб - объем производимой продукции в базовом
периоде, условные тонны.
ФОТ (б) = 81,71 · 999600= 81677316 руб.
Определим фонд оплаты труда на одного рабочего по формуле:
ФОТраб = ФОТ (б) / Чс (б); ФОТраб
(б) =81677316/ 999 = 81759,075 руб. /чел.
ЗПср = 81759,075 /12= 6813,25 руб.
4.3.2 Расчет
изменения фонда оплаты труда и начислений
Если средняя заработная плата 6813,25 руб. в месяц, а доля
основных производственных рабочих в цехе 60%, то промышленно - производственный
персонал (ППП) и их средняя заработная плата в плановом периоде увеличивается
на 20%, то плановый фонд оплаты труда составит:
ФОТпр = (ФОТ (б) ·0,6) ·1,2 + ФОТ
(б) ·0,4
ФОТпр = (81677316 ·0,6) ·1,2 + 81677316 ∙0,4
= 91478593,9 руб.
На одну условную тонну оплата труда с начислениями в плановом
периоде будет равна:
Сфот (пр) = ФОТ (пр) / Рпр
Сфот (пр) = 91478593,9/1005600 = 90,97 руб/т
Эта сумма отражается в плановой калькуляции себестоимости
продукции.
4.3.3 Расчет
изменения производительности труда
Определяется производительность труда на одного рабочего
базового и планового периодов.
Производительность труда базового периода:
ПТ (б) = Р (б) /Ч (с),
где ПТ - производительность труда, т/чел;
Чс - списочная численность, чел.
ПТ (б) = 999600/999 = 1000,6 т/чел.
Производительность труда проектного периода:
ПТ (пр) = Р (пр) /Чс (пр),
ПТ (пр) = 1005600/999 = 1006,6 т/чел.
Рост производительности труда в проектном варианте по
отношению к базовому составит:
ΔПТ = (ПТ (пр) - ПТ
(б)) ·100/ПТ (б).
где ∆ПТ - изменение производительности труда, %.
ΔПТ = (1006,6 - 1000,6)
·100/1000,6= 0,6%.
4.4 Расчеты
плановой калькуляции себестоимости продукции
В таблице 8 представлена базовая калькуляция себестоимости
стали выпускаемой в электросталеплавильном цехе.
Расчеты издержек производства выполняются по статьям с учетом
факторов, влияющих на их изменение.
Расчет расходов по переделу (РПП).
Расходы по переделу для основного вида продукции определяются
на основе базовой калькуляции себестоимости. При этом учитываются:
дополнительные капитальные затраты, изменение амортизационных
отчислений;
изменение энергоемкости продукции;
изменение норматива образования ремонтного фонда;
рост годового объема производства.
В проектной калькуляции себестоимости продукции статьи с
условно-постоянными расходами определяется по формуле:
Сi = CiБ∙dус-пер + СiБ∙dус-пост / g.
Часть затрат определяется с учетом технологических параметров
работы МНЛЗ.
Таблица 8 - Базовая калькуляция себестоимости стали
выплавляемой в ЭСПЦ
|
Статьи затрат
|
ЭСПЦ
|
|
|
|
Базовый вариант
|
Проектный
вариант
|
|
Цена, руб
|
Количество, т/т
|
Сумма, руб
|
Количество, т/т
|
Сумма, руб
|
|
1. Сырье и
основные материалы, т
|
|
|
|
|
|
|
Чугун
передельный жидкий
|
11886,380
|
0,399
|
4742,666
|
0,386
|
4588,14
|
|
Чугун чушковый
|
12021,360
|
0,001
|
12,021
|
0,001
|
12,021
|
|
Итого чугуна
|
11886,720
|
0,400
|
4754,688
|
0,387
|
4600,16
|
|
Лом и обрезь
ряд. марок для ЭСПЦ
|
10340,720
|
0,695
|
7190,420
|
0,695
|
7190,420
|
|
Ферросплавы:
|
|
|
|
|
0,00
|
|
Алюминий
вторич. гранул. АВ-87 ГОСТ 295
|
56662,040
|
0,001
|
45,330
|
0,001
|
45,330
|
|
Карбид кальция
|
36484,490
|
0,000
|
14,594
|
0,000
|
14,594
|
|
Катанка алюм.
АКЛПАВ ТУ 1712-193-05785247
|
73636,870
|
0,000
|
33,137
|
0,000
|
33,137
|
|
Никель Н1-Н3
ГОСТ 849
|
546763,000
|
0,001
|
710,792
|
0,001
|
710,792
|
|
Проволока
порош. с силикокальц. наполнителем
|
81651,770
|
0,002
|
163,304
|
0,002
|
163,304
|
|
пров порош с
СК25РЗМ15 ТУ 1479-01
|
119272,890
|
|
0,000
|
|
|
|
Феррованадий
ФВд40-80 ГОСТ 27130
|
296990,490
|
0,002
|
475,185
|
0,002
|
475,185
|
|
Феррониобий
ФНб50-60 ГОСТ 16773
|
711442,240
|
0,001
|
355,721
|
0,001
|
355,721
|
|
Ферросиликомарганец
МнС12-18 ГОСТ 4756
|
41155,410
|
0,006
|
259,279
|
0,006
|
259,279
|
|
Ферросилиций
ФС45-75 ГОСТ 1415
|
43087,020
|
0,004
|
150,805
|
0,004
|
150,805
|
|
Феррохром
ФХ010-200 ГОСТ 4757
|
88396,740
|
0,011
|
954,680
|
0,011
|
954,680
|
|
Итого
ферросплавов
|
|
0,028
|
3162,825
|
0,028
|
3162,825
|
|
Итого сырья
и основных материалов
|
|
1,123
|
15107,933
|
1,11
|
14953,405
|
|
2. Отходы (-),
т
|
|
|
|
|
|
|
Обрезь
технологическая
|
8449,400
|
0,007
|
59,146
|
0,007
|
59,146
|
|
Скрап
|
3065,530
|
0,013
|
39,852
|
0,013
|
39,852
|
|
Угар
|
0,000
|
0,051
|
0,000
|
0,051
|
0,000
|
|
Окалина
|
844,940
|
0,018
|
15, 209
|
0,018
|
15, 209
|
|
Брак
|
6472,730
|
0,034
|
220,073
|
0,021
|
132,927
|
|
Итого отходов и
брака
|
|
0,123
|
334,279
|
0,11
|
247,134
|
|
Итого задано за
вычетом отходов и брака
|
|
1,000
|
14773,654
|
1,000
|
14706,271
|
|
3 Расходы по
переделу
|
|
|
|
|
|
|
3.1 Топливо
|
|
|
|
|
|
|
Газ природный,
т/м3
|
2734,300
|
0,012
|
32,812
|
0,012
|
32,812
|
|
Электроды ф610
(печи), т
|
148395,300
|
0,001
|
148,395
|
0,001
|
148,395
|
|
Электроды ф350,
450 (АКОС)
|
94634,400
|
0,001
|
94,634
|
0,001
|
94,634
|
|
3.2
Энергозатраты
|
|
|
0,00
|
|
0,00
|
|
Электроэнергия,
т. кВт. ч
|
1347,900
|
0,247
|
332,931
|
0,247
|
332,931
|
|
Пар, Гкал
|
410,800
|
8,216
|
0,0198
|
8,216
|
|
Вода техническая,
тыс. м3
|
1 102,37
|
0,014
|
15,433
|
0,014
|
15,433
|
|
Вода хим
очищенная, тыс. м3
|
13207,86
|
0,001
|
13,21
|
0,0014
|
18,49
|
|
Вода
оборотная, тыс. м3
|
806,100
|
0,128
|
103,181
|
0,128
|
103,181
|
|
Сжатый воздух,
тыс. м3
|
188,900
|
0,059
|
11,145
|
0,059
|
11,145
|
|
Аргон, тыс. м3
|
41466,300
|
0,001
|
41,466
|
0,001
|
41,466
|
|
Кислород, тыс.
м3
|
2387,500
|
0,024
|
57,300
|
0,024
|
57,300
|
|
Итого
энергозатрат
|
|
|
592,122
|
|
588,162
|
|
3.3 Фонд оплаты
труда
|
|
|
81,71
|
|
90,97
|
|
3.4 Отчисления
в общественные фонды
|
|
|
33,128
|
|
36,388
|
|
3.5 Содержание
основных фондов
|
|
|
418,460
|
|
414,32
|
|
3.6 Сменное
оборудование
|
|
|
7,000
|
|
7,000
|
|
3.7 Ремонтный
фонд
|
|
|
287,410
|
|
284,56
|
|
3.8 Амортизация
|
|
|
447,670
|
|
443,23
|
|
3.9
Внутрезаводские передвижения
|
|
|
35,700
|
|
35,346
|
|
3.10 Прочие
расходы
|
|
|
47,710
|
|
47,24
|
|
Итого
расходы по переделу
|
|
|
2226,75
|
|
2223,056
|
|
4 Общезаводские
расходы
|
|
|
572,270
|
|
572,270
|
|
Итого затрат
|
|
|
17906,953
|
|
17748,731
|
|
Производственная
себестоимость
|
|
|
17906,953
|
|
17748,731
|
Амортизационные отчисления в проектном периоде рассчитаем по
следующей формуле:
Апроект= Абаз /g+ Ке∙ НА/Рпр∙100%,
где Апроект - амортизационные отчисления в
проектном периоде, руб/т;
Абаз - амортизационные отчисления в базовом
периоде, руб/т;
Ке - единовременные капитальные вложения 0 тыс.
руб.
НА - норма амортизации, равна 12%.
Тогда
4.5 Расчет
прибыли от реализации продукции
Прибыль от реализации продукции рассчитывается по следующей
формуле:
П = Σ (Цi - Сi) ∙Pi,
где П - прибыль от реализации продукции, млн. руб;
Цi - оптовая цена продукции, руб;
Сi - себестоимость продукции, руб. /т;
Рi - производительность, т.
При рентабельности производства 15%, цена стали составит:
ЦБ = СБ ∙ R;
ЦБ = 17906,953 ∙ 1,15 = 20592,99 руб. /т;
ПБ = (20592,99 - 17906,953) ·
= 2684962585 руб. /год;
ППр = (20592,99 - 17748,731) ∙
= 2860186850 руб. /год;
RПр = (ЦБ
- СПр) ∙ 100/СПр;
RПр =
(20592,99 - 17748,731) ·100/17748,731 = 16,025 %.
Чистая прибыль (ПЧ) представляет собой прибыль от реализации
продукции (ПР) за вычетом налогов (Нобщ):
ПЧ = П - Нобщ.
где ПЧ - чистая прибыль, руб.
В проекте учитывается два налога:
налог на прибыль - 20%;
налог на имущество - 2,2%.
Налог на имущество
База налогообложения - стоимость имущества (производственные фонды
- ПФ). Стоимость основных фондов рассчитывается следующим образом:
ОФ = САплан · 100 · Рплан / НАплан,
где ОФ - стоимость основных фондов, млн. руб;
САплан - затраты на амортизацию;
НАплан - средняя норма амортизации, % (НАплан
= 12%);
Рплан - годовой объём производства, усл. т,
руб.
ОФплан = ОФбаз + Кз, ОФплан
= 3729091100 руб.
Стоимость оборотных средств принимается в размере 20% от стоимости
основных фондов. Таким образом, производственные фонды составят:
ПФбаз = ОФбаз ∙ 1,2 = 4474909320 руб.
ПФплан = ОФплан · (20+100) /100 = 4474909320
руб.
Налог на имущество:
НИбаз = ПФ ∙ 0,022 = 98448005,04 руб.
НИплан = ПФплан · 2,2/100 = 98448005,04 руб.
Налог на прибыль
Объект налогообложения - прибыль. Основная ставка 20%. База же
налогообложения не вся прибыль, а только её часть, называемая налогооблагаемой
прибылью (НП).
Налогооблагаемая прибыль определяется вычитанием прибыли от
реализации налогов на имущество, резервного фонда (РФ) и льгот (Л):
НП = ПР - НИ - РФ - Л.
где
НП - налооблагаемая прибыль, руб;
НИ - налог на имущество, руб;
РФ - резервный фонд, млн. руб;
Л - льготы, руб.
В резервный фонд направляется в размере 35% от прибыли за вычетом
налогов на имущество:
РФбаз = (ПР - НИ) ∙ 0,35 = 906330103 руб;
РФплан = (ПРплан - НИплан) ·
35/100 = 966608595,7 руб.
Размер льгот устанавливается в размере 50% от контрольной суммы:
Л = КС ∙ 0,5 = (ПР - НИ - РФ) ∙ 0,5.
Лбаз= (2684962585-984488005,04-906330103) ∙0,5=840092238,5
руб.;
Лплан= (2860186850-984488005,04-966608595,7)
·0,5=897565124,6руб.
Таким образом, налог на прибыль составляет:
Нбаз=0,2∙
(2684962585-984488005,04-906330103-840092238,5) =
,7 руб.;
Нплан=0,2·
(2860186850-984488005,04-966608595,7-897565124,6) = 179513024,9 руб.
Чистая прибыль, таким образом, составит:
ПЧбаз = 2684962585 - 984488005,04 - 16818447,7 =
2418496132 руб.;
ПЧплан =2860186850-984488005,04 - 179513024,9 =
2582225820 руб.
4.6 Экономическая
эффективность проектных решений
В качестве критерия эффективности используем коэффициент
экономической эффективности (Е), который определяется по формуле:
Е = ΔП - Ен ∙
Кс = (Сбаз - Сплан) ∙ Рплан -
Ен ∙ Кс,
где Е - коэффициент экономической эффективности, год;
Ке - единовременные капитальные вложения на
разработку и внедрение мероприятий, млн. руб;
ΔП - прирост годовой
прибыли, млн. руб;
Ен - нормативный коэффициент эффективности (Ен
= 0,12).
Е = (17906,953 - 17748,731) ∙ 1005600 = 159108043,2 руб.
4.7 Расчет
предела безубыточности
Предел безубыточности характеризует неопределенность и риск в
процессе реализации проектных решений. Он представляет собой количество продаж
или производство продукции, при котором объем реализации (выручки) равен издержкам
производства. Прибыль в этой точке равна нулю.
Предел безубыточности определяется по формуле:
Рб = Зпост / (Ц - Спер),
где Рб - точка безубыточности, т;
Спос - общие постоянные расходы, руб;
Ц - продажная цена единицы продукции, руб/т;
Спер. уд - удельные переменные затраты, руб/т.
Условно-постоянные затраты определяются на основе калькуляции
себестоимости и доли условно-постоянных затрат. Величина этих затрат равна
численно расходам по переделу. Из плановой калькуляции Спос. удел =
2223,056 руб/т. Общая величина Спос зависит от производительности
агрегата и равна:
Спос = Спос. уд · Рпл;
Спост = 2223,056 ·
=2235505114 руб.
Находим
Спер. уд = Спл. уд - Спос. уд,
Спер = 17748,731 - 2223,056= 15525,675 руб/т.
Предел безубыточности равен:
т/год.
Выручка от реализации товарной продукции:
В = Ц · Рпл;
где В - плановая выручка, млн. руб.
В = 20592,99∙
= 20708310744 руб.
В работе определяются сравнительные технико-экономические
показатели базового и планового периодов, которые представлены в таблице 9.
Таблица 9 - Технико-экономические показатели
|
Наименование
показателей
|
Базовый вариант
|
Проектный
вариант
|
|
Годовой объем
производства, т
|
999600
|
1005600
|
|
Численность
работающих, чел
|
999
|
999
|
|
Рентабельность,
%:
|
15
|
16,025
|
|
Себестоимость
продукции, руб/т
|
17906,953
|
17748,731
|
|
Прибыль от
реализации, млн. руб.
|
2,68
|
2,8
|
|
Предел безубыточности
производства, т/год
|
-
|
441161,66
|
Рисунок 25 - График безубыточного объёма производства
Заключение
В выпускной квалификационной работе проведен детальный анализ
производственных и литературных данных о влиянии плотности орошения форсунками
в зоне вторичного охлаждения на качество непрерывно-литой слябовой заготовки.
Анализ результатов исследований процесса непрерывной разливки
показывает, что существенную роль в формировании качественных характеристик
получаемого металла играют параметры системы охлаждения машин непрерывного
литья заготовок (МНЛЗ). Основными элементами этих систем являются
разбрызгивающие устройства, размещаемые в зоне вторичного охлаждения (ЗВО) для
обеспечения регулируемого теплоотвода от слитка. Качество непрерывнолитой заготовки
во многом определяется процессами охлаждения слитка в зоне вторичного
охлаждения (ЗВО).
В рамках выпускной квалификационной работы были рассмотрены
результаты эксперимента по исследованию температурного поля заготовки на выходе
из ЗВО, на основании которых можно сделать вывод о неравномерности охлаждения
по ее сечению. Были изучены результаты исследования плотности орошения
поверхности заготовки в секциях №1-16 с применением форсунок типа У90 фирмы
"Корад". Анализ данных свидетельствует том, что существует локальные
участки подачи охладителя в избыточном количестве, что подтверждается
соответствующими исследованиями температуры поверхности. В частности,
переохлаждению подвергают центральную и торцевые части поверхности заготовки. В
качестве мер для выравнивания температуры поверхности по сечению заготовки было
предложено отключение подачи воды на форсунки ЗВО в секции № 12 - 16, что
приведет к улучшению качества непрерывно-литой заготовки за счет более
равномерного распределения температур по сечению сляба.
Анализ качества листового проката после повторной
корректировки расходов воды на вторичное охлаждение показал:
исправимый брак листового проката по сталеплавильным дефектам
снизился на 0,28 % и составил 2,04 % против 2,32 % за предыдущий период;
исправимый брак листового проката, полученного из слябов
толщиной 190 мм, снизился на 0,21 % и составил 1,31 %;
исправимый брак листового проката, полученного из слябов
толщиной 270 мм, снизился на 2,98 % и составил 4,12 %.
После внедрения предлагаемых мероприятий экономический эффект
будет получен за счёт сокращения количества брака а также снижение расходов на
использование химически очищенной воды.
Список
использованных источников
1.
Паршин, В.М. Анализ влияния работы системы вторичного охлаждения МНЛЗ на
качество слябов трубной и судовой сталей [Текст] / В.М. Паршин, В.В. Тиняков,
С.В. Кидяев, И.В. Бондаренко, Ю.М. Айзин, Г.В. Сгибиев // Сталь. - 2006. - №
11. - С.33-36.
.
Кидяев, С.В. Анализ причин образования дефектов слябов и толстых листов [Текст]
/ С.В. Кидяев, А.В. Куклев, В.В. Тиняков, В.В. Соснин, А.М. Лонгинов, Д.С.
Тарвид // Сталь. - 2006. - № 9. - С. 19-21.
.
Дождиков В.И. Проектирование систем вторичного охлаждения с форсунками
объемного распыливания [Текст] / В.И. Дождиков, А.Ю. Васютин, А.И. Шарапов,
С.В. Шабанов // Сталь. - 2007. - № 12. - С.22-25
.
Мартынова, О.В. Непрерывная разливка стали [Текст]. - М.: Издательство
"Металлургия", 1970.
.
Бочек А.П. Оптимизация эксплуатационных характеристик МНЛЗ [Текст] / А.П.
Бочек, И.Н. Фентисов, Б.В. Небога, А.Н. Токий, И.Г. Губко // Сталь. - 2007. - №
1. - С.22-24.
.
Фрик Ю. Новые системы и технологии вторичного охлаждения в слябовых МНЛЗ
[Текст] / Ю. Фрик, Р. Бойль // Сталь. - 2008. - № 11. - С.42-46.
.
Скворцов, А.А. Теплопередача и затвердевание стали в установках непрерывной
разливки [Текст] / А.А. Скворцов, А.Д. Акименко. - М.: Металлургиздат, 1966, -
464 с.
.
Григорян, В.А. Физико-химические расчеты электросталеплавильных процессов
[Текст]: учеб. пособие для вузов / В.А. Григорян, А.Я. Стомахин, А.Г.
Пономаренко. - М.: Металлургия, 1989. - 288 с.
.
Григорьев, В.П. Конструкции и проектирование агрегатов сталеплавильного
производства: учебник для вузов [Текст] / В.П. Григорьев, Ю.М. Нечкин, А.В.
Егоров. - М.: МИСИС, 1995. - 512 с.
.
Дюдкин, Д.А. Современная технология производства стали [Текст] / Д.А. Дюдкин,
В.В. Кисиленко. - М.: "Теплотехник", 2007. - 528 с.
.
Дюдкин, Д.А. Производство стали: В 3 т. Т.1. Процессы выплавки, внепечной
обработки и непрерывной разливки стали [Текст] / Д.А. Дюдкин, В.В. Кисиленко. -
М.: "Теплотехник". 2008. - 400 с.
.
ТИ 101-СТ - 10 - 2003. Разливка стали на машинах непрерывного литья заготовок
(МНЛЗ). Новотроицк, 2003.
.
Кидяев, С.В. Анализ причин образования дефектов слябов и толстых листов [Текст]
/ А.В. Куклев, В.В. Тиняков, В.В. Соснин, А.М. Лонигнов, Д.С. Тарвид // Сталь.
- 2006. - № 9. С.32-36
.
Куклев, А.В. Совершенствование охлаждения непрерывнолитой заготовки [Текст] /
В.В. Тиняков, Ю.М. Айзин, В.М. Паршин // Сталь. - 1998. - № 8. - с.44-50
.
Бочков, Д.А. Управление производством [Текст]: учебное пособие / Д.А. Бочков. -
М.: МИСиС, 2001. - 55 с.
.
Плекингер, Е. Проблемы современной металлургии [Текст] / Е. Плекингер, М.
Вольстер - М.: Иностранная литература, 1960. № 6.
.
Явойский, В.И. Теория процессов производства стали [Текст] / В.И. Явойский. -
М.: "Металлургия", 1967.
.
Поволоцкий, Д.Я. Современные проблемы электрометаллургии стали [Текст] / Д.Я.
Поволоцкий, В.Е. Рощин // Сталь. - 2007. - №12.
.
Методическое пособие № 777 [Текст] / "Управление производством". -
М., 2001.
.
Кудрин, В.А. Теория и технология производства стали: учебник для вузов [Текст]
/ Ю.В. Кряковский, А.Г. Шалимов. - М.: "Мир", ООО "Издательство
АСТ", 2003. - 528 с.
.
Воскобойников, В.Г. Общая металлургия: учебник для вузов [Текст] / В.Г. Кудрин,
А.М. Якушев. - М.: ИКЦ "Академкнига", 2002. - 768 с.