Анализ особенностей процесса плавления серы на ОАО 'Гомельский химический завод'
Содержание
Обозначения и сокращения
Введение
Глава 1. Анализ известных технологических процессов плавления
1.1 Общие сведения
1.2 Класификации серы
1.3 Плавильные аппараты
Глава 2. Плавление серы
2.1 Анализ технологического процесса плавления серы
2.2 Анализ технологических параметров системы транспортирования
расплава серы
2.3 Нагревательный элемент с регулировкой температуры
2.3.1 Нагревательное устройство
Глава 3. Способы погрузки
3.1 Способ погрузки серы в транспортное средство
3.1.1 Способ погрузки жидкой серы
3.2 Анализ процесса плавления серы и система контроля температуры
расплава серы при ее транспортировке в отделение плавления цеха серной кислоты
ОАО "Гомельский химический завод"
3.2.1 Принцип работы контактного аппарата на ГХЗ
Глава 4. Причины возгорания серы и разработка методов их
прекращения
4.1 Дегазация жидкой серы
4.2 Анализ способов дегазации серы
4.3 Способ и аппаратура для дегазации жидкой серы
Глава 5. Обеспечение охраны труда и техники безопасности
Заключение
Список использованных источников
Определения
Сера - (лат. Sulfur), S, химический элемент с атомным
номером 16, атомная масса 32,066. Химический символ серы S. Сера расположена в
VIA группе периодической системы Д.И. Менделеева, в 3-м периоде, и принадлежит
к числу халькогенов. Сера относится к числу неметаллов.
Технологический процесс - это упорядоченная
последовательность взаимосвязанных действий, выполняющихся с момента
возникновения исходных данных до получения требуемого результата.
Плавление - это процесс перехода тела из кристаллического
твёрдого состояния в жидкое. Плавление происходит с поглощением удельной
теплоты плавления и является фазовым переходом первого рода.
Плавильный аппарат - устройство,
предназначенное для преобразования твердой серы в жидкую под действием температуры.
Обозначения и
сокращения
ГХЗ - гомельский химический завод;
МЧС РБ - Министерство по чрезвычайным ситуациям Республики
Беларусь;
ОАО - открытое акционерное общество;
ТНПА - технические нормативно-правовые акты;
ТП - технологический процесс;
плавление сера серная кислота
Введение
Сера известна человечеству с древнейших времен. Встречаясь в
природе в свободном состоянии, она обращала на себя внимание характерной желтой
окраской, а также тем резким запахом, которым сопровождалось ее горение. Сернистый
ангидрид - удушливый газ, образующийся при горении серы, еще в древности
использовался для отбеливания тканей. При раскопках Помпеи нашли картину, на
которой изображен противень с серой и приспособление для подвешивания над ним
материи. Издавна употреблялась сера и ее соединения для приготовления
косметических средств и для лечения кожных заболеваний. И очень давно ее начали
использовать для военных целей. Так, в 670 году защитники Константинополя
сожгли арабский флот с помощью "греческого огня”; это была смесь селитры,
угля и серы. Те же вещества входили в состав черного пороха, применявшегося в
Европе в средние века и до конца XIX в.
Серная кислота, одно из самых важных соединений серы, была
открыта, по-видимому, к X в, начиная с XVIII века, ее производят в промышленных
масштабах и вскоре она становится важнейшим химическим продуктом, необходимым и
в металлургии, и в текстильной промышленности, и в других, самых различных
отраслях. В связи с этим начались еще более интенсивные поиски месторождений серы,
изучение химических свойств серы и ее соединений и совершенствование методов их
извлечения из природного сырья.
Русское название элемента происходит от древне - индийского
(санскритского) слова "сира” - светло-желтый. Приставка "тио”, часто
применяемая к соединениям серы, происходит от греческого названия серы -
"тейон" (божественный, небесный). Ведь сера издавна была символом
горючести; огонь же считался достоянием богов, пока Прометей, как гласит миф,
не принес его людям.
Серная кислота - наиболее сильная и самая дешевая кислота.
Среди минеральных кислот, производимых химической промышленностью, серная
кислота по объему производства и потребления занимает первое место. Серная
кислота не дымит, в концентрированном виде не разрушает черные металлы, в то же
время является одной из самых сильных кислот, в широком диапазоне температур
(от - 40…-20 до 260 … 336,5 0С) находится в жидком состоянии.
Серная кислота является важным и крупнотоннажным проектом
химической промышленности. Основными видами сырья для производства серной
кислоты являются: сера, колчедан, отходящие газы цветной металлургии.
Еще в XIII веке серную кислоту получали в незначительных
количествах термическим разложением железного купороса FeSO4,
поэтому и сейчас один из сортов серной кислоты называется купоросным маслом,
хотя уже давно серная кислота не производится из купороса.
В Республике Беларусь серная кислота производится двумя
способами: нитрозным (башенным), существующим более 200 лет, и контактным,
освоенным в промышленности в конце ХIХ и начале ХХ века. Преимущественное
развитие получил контактный способ, в связи с более высоким уровнем
производства и возможностью получения более чистой и более концентрированной
кислоты.
За последнее время широко внедрены установки получения серной
кислоты по "короткой" схеме, запроектированные по методу двойного
контактирования с двойной абсорбцией, что позволяет повысить степень конверсии
диоксида серы и снизить объемную долю SO2 в выхлопных газах до 0,03
%, то есть исключается необходимость строительства установки очистки отходящих
газов. Кроме установок с "короткой" схемой производства еще
значительную долю составляют предприятия, переведенные на сжигание серы вместо
колчедана, так называемые "длинные" или "полные" системы.
В качестве сырья на сернокислотные предприятия поступает сера
двух источников: природная (самородная) и газовая (попутная). Эти два вида серы
поставляются в твердом (комовая сера) и жидком виде. Требования сернокислотной
промышленности к сорту, виду и ассортименту серы определяются технологической
схемой процесса получения серной кислоты, типом оборудования для сжигания серы
и требованием потребителя к качеству кислоты.
Для "коротких" схем требуется высококачественная жидкая
сера с содержанием органических примесей не более 0,06 %, золы - не более 0,003
% и мышьяка - не более
%.
Содержащиеся в сере механические и органические примеси мешают
нормальной работе сернокислотной системы.
Твердые примеси (зола) засоряют форсунки и затем, переходя в
газовую фазу, осаждаются на поверхности котлов-утилизаторов, уменьшают
теплосъем и в дальнейшем, при попадании в контактный аппарат, уменьшают
активность катализатора и повышают сопротивление системы, увеличивая при этом
расход электроэнергии.
Наличие органических веществ, влаги, сероводорода крайне
нежелательно для "коротких" схем сернокислотного производства, так
как при сгорании этих примесей увеличивается содержание влаги в газе. Наличие
влаги способствует образованию трудно поглощаемого тумана серной кислоты, что
приводит к увеличению коррозии теплообменников контактного узла, а также к
увеличению выбросов серной кислоты в атмосферу.
Потребителями комовой серы являются предприятия, вырабатывающие
серную кислоту нитрозным методом, и установки, оборудованные печами КС и
переведенные на сжигание серы вместо колчедана с полной технологической схемой
переработки газа. Продукция этих предприятий предназначена в основном для
производства удобрений, поэтому эта группа предприятий использует комовую серу
более низкого качества, то есть природную, сорта 9950 и 9920. В результате
хранения и транспортировки сера загрязняется и на сернокислотные предприятия
поступает жидкая и комовая сера более никого качества, чем это требуется для
ведения технологического процесса, поэтому ее перед сжиганием очищают
отстаиванием и фильтрацией.
За последние годы в процессе производства серной кислоты внесены
существенные улучшения. Широко применяется обжиг колчедана в кипящем слое и
сжигание серы в циклонной печи, значительно увеличивается использование тепла,
выделяющегося при обжиге сырья, и на других стадиях производства серной
кислоты. Непрерывно повышается производительность башенных сернокислотных
систем в результате поддержания оптимального технологического режима,
разработанного на основе исследований; интенсивность башенных систем достигает
250 кг/м3 в сутки. Освоен контактно-башенный процесс производства
серной кислоты, при котором расход HNO3 составляет 6 - 7 кг на 1
тонну H2SO4.
В контактном методе производства серной кислоты
окисление диоксида серы в триоксид осуществляется на твердых контактных массах.
Благодаря усовершенствованию контактного способа производства, себестоимость
более чистой и высококонцентрированной контактной серной кислоты лишь
незначительно выше, чем башенной. В настоящее время свыше 90% всей кислоты
производится контактным способом.
В качестве катализаторов контактного процесса теперь применяется
термически стойкая ванадиевая контактная масса (в виде гранул и колец) с
пониженной температурой зажигания. Проведены работы по освоению процесса
окисления SO2 в кипящем слое катализатора. Важным
усовершенствованием является двойное контактирование, при котором
обеспечивается высокая степень окисления SO2 на катализаторе (до
99,8%) и потому исключается необходимость в дополнительной санитарной очистке
отходящих газов.
Внедряется процесс конденсации H2SO4,
заменяющий абсорбцию серного ангидрида.
Также для производства серной кислоты используют ангидрид или
безводный сульфат кальция CaSO4, гипс или двуводную соль
и фосфогипс, представляющий собой отход
производства концентрированных фосфорных удобрений (смесь гипса, соединений
фтора, окислов фосфора, SO2 и других примесей).
В нитрозном способе катализатором служат оксиды азота.
Окисление SO2 происходит в основном в жидкой фазе и осуществляется в
башнях с насадкой. Поэтому нитрозный способ по аппаратурному признаку называют
башенным. Сущность нитрозного метода состоит в том, что обжиговый газ
обрабатывается серной кислотой, в которой растворены окислы азота. Сернистый
ангидрид обжигового газа поглощается нитрозой, и затем окисляется окислами
азота по реакции:
2 +
N2O3 + H2O = H2SO4 + 2NO
Образующийся оксид азота плохо растворим в нитрозе, и выделяется,
а затем частично окисляется кислородом до NO2. Смесь NO и NO2
вновь поглощается H2SO4.
Серная кислота может существовать как самостоятельное химическое
соединение H2SO4, а также в виде соединений с водой:
,
,
и с триоксидом серы
,
.
Пожары на складах серы в мире [5]
В декабре 1995 года на открытом складе серы предприятия,
расположенного в городе Сомерсет Вест Западной Капской провинции
Южно-Африканской Республики произошёл крупный пожар, погибли два человека.
января 2006 г. около пяти вечера на череповецком предприятии
"Аммофос" загорелся склад с серой. Общая площадь пожара - около
250-ти квадратных метров. Полностью ликвидировать его удалось лишь в начале
второго ночи. Жертв и пострадавших нет.
марта 2007 рано утром на ООО "Балаковский завод волоконных
материалов" произошёл пожар на закрытом складе серы. Площадь пожара
составила 20 м2. На пожаре работало 4 пожарных расчёта с личным
составом в 13 человек. Примерно через полчаса пожар был ликвидирован. Никто не
пострадал.
и 9 марта 2008 года произошло возгорание серы в Атырауской области
в хранилище серы ТШО на Тенгизском месторождении. В первом случае очаг
возгорания удалось потушить быстро, во втором случае сера горела 4 часа. Объём
горевших отходов переработки нефти, к каковым по казахстанским законам отнесена
сера, составил более 9 тысяч килограммов.
В апреле 2008 недалеко от посёлка Кряж Самарской области загорелся
склад, на котором хранилось 70 тонн серы. Пожару была присвоена вторая
категория сложности. К месту происшествия выехали 11 пожарных расчётов и
спасатели. В тот момент, когда пожарные оказались около склада, горела ещё не
вся сера, а только её небольшая часть - около 300 килограммов. Площадь
возгорания вместе с участками сухой травы, прилегающими к складу, составила 80
квадратных метров. Пожарным удалось быстро сбить пламя и локализовать пожар:
очаги возгорания были засыпаны землёй и залиты водой.
В июле 2009 в Днепродзержинске горела сера. Пожар произошёл на
одном из коксохимических предприятий в Баглейском районе города. Огонь охватил
более восьми тонн серы. Никто из сотрудников комбината не пострадал.
Для того чтобы обезопасить предприятия от пожаров серы и их
последствий, следует применение средств автоматической системы оповещения людей
о возгорании серы и тушения пожаров на ранних стадиях пожара.
Глава 1.
Анализ известных технологических процессов плавления
1.1 Общие
сведения
Сера техническая при обычной температуре - твердое вещество
желтого цвета разных оттенков. При плавлении сера переходит в светло-желтый
текучий расплав. В зависимости от нагревания или охлаждения серы, она может
изменять цвет от светло-желтого до темно - красного.
Самым необычным свойством серы является ее вязкость, что
необходимо помнить при работе с серой. Так наименьшую вязкость (текучесть)
имеет сера при 140-150°С. В очень узком температурном диапазоне вязкость жидкой
серы возрастает в 2000 раз и при 187°С она становится почти не текучей. При
дальнейшем повышении температур вязкость снова уменьшается, а при кипении
(444,6°С) сера превращается в жидкотекучий расплав.
В расплавленном и парообразном состоянии сера является
активным химическим веществом и способна соединяться как с металлами, образуя
сульфиды, так и с металлоидами, образуя сероуглерод, хлористую серу и другие
соединения.
При температуре 360°С и выше сера взаимодействует с
кислородом с образованием диоксида серы:
+ O2→SO2.
С водородом при 400°С сера образует сероводород:
+ H2→H2S.
При окислении сероводорода образуется сера:
H2S + O2→ 2H2O + 2S.
При нагревании серы с серной кислотой до 200°С выделяется
диоксид серы:+ 2H2SO4→ 3SO2 + 2H2O.
В воде сера не растворима, но хорошо (кроме аморфной)
растворяется в сероуглероде и хуже - в других органических растворителях.
При сгорании ромбической серы по реакции:
+ O2→SO2
выделяется 2212 ккал/кг (при 760 мм рт. ст. и 25°С)
кг жидкой серы эквивалентен по теплоте сгорания 0,3161
кг условного топлива (7000 ккал/кг).
Атомы серы обладают уникальной способностью образовывать
устойчивые гомоцепи, т.е. цепи, состоящие только из атомов S (энергия связи S-S
составляет около 260 кДж/моль). Гомоцепи серы имеют зигзагообразную форму, так
как в их образовании принимают участие электроны, расположенные в соседних
атомах на взаимно перпендикулярных р-орбиталях. Эти цепи могут достигать
большой длины, или, наоборот, образовывать замкнутые кольца S20, S8, S6, S4.
Поэтому сера образует несколько десятков как кристаллических,
так и аморфных модификаций, отличающихся как составом молекул и полимерных
цепей, так и способом их упаковки в твердом состоянии.
1.2
Класификации серы
При нормальном давлении и температурах до 98,38°C стабильна
a-модификация серы (иначе эту модификацию называют ромбической), образующая
лимонно-желтые кристаллы. Ее кристаллическая решетка орторомбическая, параметры
элементарной ячейки a = 1,04646, b = 1,28660, c = 2,4486 нм. Плотность 2,07
кг/дм3. Выше 95,39°C стабильна b-модификация серы (так называемая
моноклинная сера). При комнатной температуре параметры элементарной ячейки
моноклинной b-S a = 1.090, b = 1.096, c = 1,102 нм, t = 83,27°. Плотность b-S
1,96 кг/дм3.
В структурах как a-, так и b-модификаций серы имеются
неплоские восьмичленные циклические молекулы S8. Такие молекулы
немного похожи на короны.
Две эти модификации серы отличаются взаимной ориентацией
молекул S8 в кристаллической решетке.
Еще одну модификацию серы - так называемую ромбоэдрическую
серу - можно получить выливанием раствора тиосульфата натрия Na2S2O3
в концентрированную соляную кислоту при 0°C с последующей экстракцией серы
толуолом. После испарения растворителя возникают ромбоэдрические кристаллы,
содержащие молекулы S6 в форме кресла.
Аморфную серу (плотность 1,92 г/см3) и
резиноподобную пластическую серу получают при резком охлаждении расплавленной
серы (выливая расплав в холодную воду). Эти модификации состоят из нерегулярных
зигзагообразных цепей Sn. При длительном выдерживании при
температурах 20-95°C все модификации серы превращаются в a-серу.
Температура плавления ромбической a-серы 112,8°С, а
моноклинной b-серы 119,3°С. И в том, и в другом случае образуется
легкоподвижная желтая жидкость, которая при температуре около 160°С темнеет; ее
вязкость повышается, и при температуре выше 200°С расплавленная сера становится
темно-коричневой и вязкой, как смола. Это объясняется тем, что сначала в
расплаве разрушаются кольцевые молекулы S8. Возникающие фрагменты объединяются
друг с другом с образованием длинных цепей S из нескольких сотен тысяч атомов.
Дальнейшее нагревание расплавленной серы (выше температуры 250°C) ведет к
частичному разрыву цепей, и жидкость снова становится более подвижной. Около
190°C ее вязкость примерно в 9000 раз больше, чем при 160°C.
При температуре 444,6°C расплавленная сера закипает. В
зависимости от температуры в ее парах можно обнаружить молекулы S8, S6, S4 и
S2. Изменение состава молекул вызывает изменение окраски паров серы от
оранжево-желтого до соломенно-желтого цвета. При температуре выше 1500°C
молекулы S2 диссоциируют на атомы.
Молекулы S2 парамагнитны и построены аналогично
молекуле O2. Во всех других состояниях сера диамагнитна.
В воде сера практически нерастворима. Некоторые ее
модификации растворяются в органических жидкостях (толуоле, бензоле) и особенно
хорошо - в сероуглероде CS2 и жидком аммиаке NH3.
Сера - достаточно активный неметалл. Даже при умеренном
нагревании она окисляет многие простые вещества, но и сама довольно легко
окисляется кислородом и галогенами.
+ O2 → SO2; S + 3F2 →
SF6,2S + Cl2 → S2Cl2 (c
примесью SCl2)
С водородом при нагревании сера образует сероводород H2S
и в небольшом количестве сульфаны (соединения состава H2Sn):
2 + S → H2S.
Примеры реакций серы с металлами:
Na + S → Na2S, Ca + S → CaS, Fe + S →
FeS
Образующиеся в этих реакциях сульфиды характеризуются не
постоянным, а, как правило, переменным составом. Так, состав сульфида кальция
может непрерывно изменяться в границах от CaS до CaS5. Полисульфиды
типа СаSn или Na2Sn при взаимодействии, например, с соляной кислотой
образуют сульфаны H2Sn, причем значение n может составлять от 1 до
приблизительно 10.
Концентрированная серная кислота при нагревании окисляет серу
до SO2:
+ 2H2SO4 = 2H2O + 3SO2.
Царская водка (смесь азотной и соляной кислот) окисляет серу
до серной кислоты.
Разбавленная азотная кислота, соляная кислота без окислителей
и серная кислота на холоде с серой во взаимодействие не вступают. При
нагревании в кипящей воде или растворах щелочей сера диспропорционирует
1.3
Плавильные аппараты
Для плавления серы (рисунок 1.1 и 1.2) в настоящее время
используются плавильные аппараты нескольких типов. Наиболее распространены
плавилки, выполненные в виде суживающегося в нижней части бункера, в котором
теплообменные трубки расположены наклонно (рисунок 1.3).
На мощных сернокислотных системах эксплуатируются плавилки
производительностью 16 т/ч в 4 т/ч.
Для исключения коррозии металла корпус плавилки футеруют или
облицовывают кислотоупорной плиткой, либо отключают внешний обогрев, и
таким образом на стенках плавилки образуется защитный гарнисаж застывшей серы.
Другой тип плавилки, корпус которой не подвергается коррозии,
- цементная плавильная ванна с наклонным дном площадью 17000x6800. Объем ванны
110 м3. В ванну укладывают 25 элементов плавильных труб диаметром
219x12. Каждый змеевик имеет поверхность 210 кг.
Расплавленная сера стекает из ванны в хранилище грязной серы.
На входе в хранилище установлена съемная решетчатая ловушка для твердых
инородных предметов.
Недостатком такого рода плавилок является то, что основная
доля примесей серы оседает на дне ванны, что создает очень большие затруднения
по ее очистке.
Следующий тип - шнековая плавилка. Плавление серы
производится в шнеке за счет тепла рециркуляции расплавленной серы. Недостатком
аппарата является наличие вращающихся элементов в среде расплава серы с
инородными предметами.
Вывод по главе:
Проанализировав технологические процессы плавления серы мы
выяснили, что при плавлении, сера переходит в светло-желтый текучий расплав. В
зависимости от нагревания или охлаждения серы, она может изменять цвет от
светло-желтого до темно-красного.
Необычным свойством серы является ее вязкость, что необходимо
помнить при работе с серой. Так наименьшую вязкость (текучесть) имеет сера при
140-150°С. В очень узком температурном диапазоне вязкость жидкой серы возрастает
в 2000 раз и при 187°С она становится почти не текучей. При дальнейшем
повышении температур вязкость снова уменьшается, а при кипении (444,6°С) сера
превращается в жидкотекучий расплав.
В расплавленном и парообразном состоянии сера является активным
химическим веществом и способна соединяться как с металлами, образуя сульфиды,
так и с металлоидами, образуя сероуглерод, хлористую серу и другие соединения.
Сера бывает трех модификаций: а - и b-модификации, а также
так называемую ромбоэдрическую.
В воде сера практически нерастворима. Некоторые ее
модификации растворяются в органических жидкостях (толуоле, бензоле) и особенно
хорошо - в сероуглероде CS2 и жидком аммиаке NH3.
Для плавления серы в настоящее время используются плавильные
аппараты нескольких типов. Наиболее распространены плавилки, выполненные в виде
суживающегося в нижней части бункера, в котором теплообменные трубки
расположены наклонно.
Глава 2.
Плавление серы
2.1 Анализ
технологического процесса плавления серы
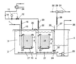
Комовая сера со склада подается в плавильные аппараты
(рисунок 2.1), над которыми установлены распределительные решетки, причем
решетки могут быть обогреваемыми (например, регистры плавилок).
В плавилках устанавливают греющие элементы (регистры), по
которым подается пар давлением 0,4-0,6 МПа. Стенки плавилок могут быть либо
футерованными, либо нефутерованными с внешним обогревом.
Соприкасаясь с греющей поверхностью, сера плавится и вытекает
из нижней части аппарата в обогреваемый сборник-накопитель, откуда насосами
перекачивается в хранилище грязной серы. Хранилище грязной серы, куда также
поступает жидкая сера из цистерн, обеспечивает 8-12-суточный запас серы. В
хранилищах установлены греющие элементы.
Обычно сера, поступающая на переработку, загрязнена
инородными предметами (проволока, кирпич, дерево, пленка). Эти примеси, как
правило, проскакивают через решетку, установленную над плавилкой, но
улавливаются и накапливаются между регистрами, что уменьшает поверхность
теплообмена, а следовательно, и производительность аппарата. Практикой
установлено, что для лучшего обслуживания плавилок при их чистке расстояние
между регистрами должно быть не менее 250 мм, а просветы между трубами должны
быть минимальными с плотно прилегающими трубами для предотвращения попадания
кусков между ними.
Для увеличения производительности плавилок используют верхний
слив серы (над регистрами), а также пользуются приемом рециркуляции жидкой серы
в плавилку (ретур).
По мере продвижения серы по плавильному тракту происходит ее
частичная очистка от зольных примесей и легких органических фракций. Основная
часть инородных предметов оседает в накопителе плавилки, в результате чего его
приходится очищать один раз в 3-4 недели, в зависимости от качества серы. В
хранилище грязной серы происходит дальнейшее оседание зольных примесей. Степень
очистки от золы при отстое за 4 часа составляет 60-70 %, а за сутки - 80-95 %.
Кислотность серы за счет щелочных составляющих золы снижается на 45 % и 80 %
соответственно. Содержание органических примесей снижается лишь на 4% за 4 часа
без дальнейшего уменьшения во времени. Чистка хранилища производится обычно
один раз в год. Чистка хранилищ очень трудоемкая операция, поэтому для
уменьшения загрязнения серы инородными предметами при разгрузке вагонов
необходимо следить, чтобы в серу не попадала проволока для закручивания люков
вагонов и других предметов, которыми уплотняются щели вагонов.
Жидкая сера поступает в железнодорожных цистернах. Для
разогрева и слива цистерн предусмотрен специальный железнодорожный пункт,
оборудованный эстакадой, электроагрегатами для разогрева цистерн и линиями
подачи сжатого воздуха.
Цистерны снабжены электронагревательными элементами и имеют
штуцер для слива серы. Сера из цистерн через верхний слив выдавливается
воздухом давлением 1,8 кгс/см2 в хранилище грязной серы. Прием
жидкой серы в хранилище осуществляется по трубе, спущенной почти до дна
резервуара.
2.2 Анализ
технологических параметров системы транспортирования расплава серы
Расплав серы транспортируется по серопроводам. Сера обладает
наибольшей текучестью при 140-150 0С. Поэтому серопроводы нужно
снабжать системой обогрева. На ГХЗ для обогрева серопроводов используется
электрический подогрев. При этом температура стенки серопровода обеспечивается
145-150°С, что обеспечивает оптимальную текучесть расплава серы.
Система обогрева обеспечивает:
разогрев серы из закристаллизованного состояния до 140°С.
Время разогрева - до 9 часов;
автоматическое поддержание заданной температуры
перекачиваемой среды (жидкой серы) 140ч150°С;
сигнализацию о нарушениях в работе системы (срабатывание УЗО,
отключение электроэнергии и т.д.);
сигнализацию об отклонении температуры перекачиваемой среды.
2.3
Нагревательный элемент с регулировкой температуры
На сегодняшний день существуют различные конструкции.
Известно нагревательное устройство [6] которое содержит нагревательный элемент,
теплопровод и первый и второй преобразователи регулятора температуры,
находящиеся в непосредственном контакте с теплопроводом, при этом первый
преобразователь регулятора температуры расположен на первом расстоянии от
нагревательного элемента, второй преобразователь регулятора температуры
расположен на втором, меньшем, чем первое, расстоянии от нагревательного
элемента, порог срабатывания первого преобразователя регулятора температуры
ниже порога срабатывания второго преобразователя регулятора температуры тем
самым обеспечивает точный и надежный контроль и регулирование температуры.
Данное устройство относится к нагревательным устройствам,
которые содержат нагревательный элемент, теплопровод и первый и второй
преобразователи регулятора температуры.
В литературе [7] описан усовершенствованный датчик
температуры для нагреваемого электричеством сосуда. Датчик температуры может
быть выполнен электронного типа, при этом он термоизолирован от теплораспределительной
плиты, но имеет термическую связь с контактной пластиной.
В европейском патенте [8] описано полученное из золь-геля
электропроводящее покрытие. В частности, описана композиция для нанесения на
подложку для образования на ней покрытия, при этом композиция содержит раствор
золь-геля, примерно 90% которого составляет электропроводящий порошок.
2.3.1
Нагревательное устройство
Существует нагревательное устройство [7] содержащее
нагревательный элемент, теплопровод и первый и второй преобразователи регулятора
температуры, при этом первый преобразователь регулятора температуры расположен
на первом расстоянии от нагревательного элемента, второй преобразователь
регулятора температуры расположен на втором расстоянии от нагревательного
элемента, меньшем, чем первое расстояние. Порог срабатывания второго
преобразователя регулятора температуры выше порога срабатывания первого
преобразователя регулятора температуры. Оба преобразователя регулятора
температуры имеют непосредственный контакт с теплопроводом
1 - дополнительные электроды;
- первый преобразователь регулятора температуры;
- второй преобразователь регулятора температуры;
- нагревательный элемент;
- теплопровод;
- нагревательный электрод;
Рисунок 2.1 - Нагревательное устройство
Нагревательный элемент является источником тепловой энергии
и, как правило, выполнен в виде резистивного нагревателя. Устройство
дополнительно содержит теплопровод, который имеет термический контакт с
нагревательным элементом и может передавать и рассеивать тепло. Нагревательное
устройство дополнительно содержит первый преобразователь регулятора температуры
и второй преобразователь регулятора температуры. Первый преобразователь
регулятора температуры выполнен на первом расстоянии от нагревательного
элемента. Это расстояние измеряется как самое короткое расстояние от одного
края первого преобразователя регулятора температуры до ближайшего края
нагревательного элемента. Второй преобразователь регулятора температуры
выполнен на втором расстоянии от нагревательного элемента. Второе расстояние
измеряется так же, как первое.
Как первый, так и второй преобразователи регулятора
температуры реагируют на температуру участка, окружающего преобразователь
регулятора. Такая реакция может проявляться как температурная зависимость
электрического тока или выходного напряжения, а также в виде сигнала на
включение или выключение и/или в виде функции переключения из включенного
состояния в выключенное.
Форма выполнения преобразователя регулятора температуры может
быть различной. Например, в качестве преобразователя регулятора температуры
может быть использован электрический или электронный термометр, ток или
напряжение на выходе которого зависят от температуры. Преобразователи
регулятора такого типа часто содержат элемент с отрицательным или положительным
температурным коэффициентом. Преобразователи регулятора могут содержать также
механический элемент, например биметаллический. В альтернативном варианте они
могут содержать вещество с определенной температурой плавления, плавление
которого послужит запуском механического или электрического или электронного
сигнала.
Некоторые преобразователи регулятора температуры могут иметь
минимальный порог срабатывания, под которым следует понимать минимальное
значение температуры, при которой может быть получен полезный сигнал. Такое
пороговое значение может быть ниже комнатной температуры, даже таким низким,
как примерно 0° по Кельвину, но может быть и выше комнатной температуры.
Например, преобразователь регулятора температуры, в основе которого лежит
плавление определенного вещества, имеет порог срабатывания выше комнатной
температуры.
Первый и второй преобразователи регулятора температуры имеют
непосредственный контакт с теплопроводом.
Поскольку оба преобразователя регулятора температуры имеют
непосредственный контакт с теплопроводом, можно быть уверенным в верности
показания температуры. В ситуациях, когда необходимо избежать чрезмерного
превышения температуры определенных заданных значений, такой непосредственный
контакт обеспечивает дополнительную безопасность. Если необходимо избежать
чрезмерного повышения температуры, второй порог срабатывания следует выбрать
ниже, чем значение допустимой температуры. Когда температура нагревательного
устройства приблизится к максимально допустимому значению и теплопровод
нагреется, оба преобразователя регулятора температуры подтвердят, что
допустимое значение температуры не было превышено. В связи с тем, что второй
преобразователь регулятора температуры наиболее приближен к нагревательному элементу,
показание второго преобразователя регулятора температуры особенно достоверно.
Если второй преобразователь регулятора температуры расположен
на меньшем расстоянии от нагревательного элемента, чем первый преобразователь
регулятора, то показания второго преобразователя регулятора остаются надежными
даже при условии, что первый преобразователь регулятора размещен на удаленной
от теплопровода поверхности.
Нагревательное устройство может содержать нагревательный
элемент, который выполнен на теплопроводе в форме покрытия. Тогда теплопровод
служит подложкой этому покрытию.
Для изготовления покрытия можно использовать различные
композиции. Покрытие может содержать вещества на основе эпоксидной смолы или
стекла, или оно может полностью состоять из них.
В альтернативном варианте [8] покрытие может содержать
раствор золь-геля, до 90% которого составляет проводящий порошок, находящийся в
состоянии однородной стабильной дисперсии. При этом упомянутый порошок выбран
из группы, включающей металлы, керамику, композитные материалы и
полупроводники.
Альтернативные, подходящие для покрытий композиции
представляют собой рецептуры, содержащие суспензии с 90-процентным содержанием
диспергированного в коллоидном золь-гель растворе неорганического порошка. Этот
золь-гель раствор наносится виде протяженной и желательно несплошной сетки
геля, и эта суспензия или поверхностный слой превращается в тонкое
неорганическое покрытие при нагревании от 300°C до 450°C.
К числу других пригодных к использованию композиций относятся
проводящие, резистивные и диэлектрические типографские краски, металлокерамика
(приготовленная из окислов алюминия или циркония в сочетании с металлами,
включая ниобий, молибден, титан и хром); смеси из серебра, свинца, палладия и
окисла рутения, например Ag Pb Pd RuO2, или Pb 2Ru2O6,
или Ag/Pd 65/35; окись алюминия или нитрид алюминия; или смеси окислов
алюминия, нитридов алюминия, окислов бериллия, карбида кремния и нихрома.
Преобразователь регулятора температуры также может быть
выполнен на теплопроводе в виде покрытия. Это покрытие тоже может быть
выполнено из перечисленных выше материалов.
Возможен вариант, при котором один или оба преобразователя
регулятора температуры содержат те же композиции, что и нагревательный элемент
или даже полностью состоят из них.
Нагревательное устройство может содержать и третий
преобразователь регулятора температуры. Этот третий преобразователь регулятора
температуры может содержать те же композиции, что и нагревательный элемент
и/или первый преобразователь регулятора температуры, и даже полностью состоять
из них.
Конструкция нагревательного устройства может быть такова, что
расстояние между первым преобразователем регулятора температуры и
нагревательным элементом значительно превышает расстояние между вторым
преобразователем регулятора температуры и нагревательным элементом. Например,
первое расстояние может превышать второе расстояние на 50%, 100%, 150%, 200% и
даже больше. В некоторых случаях второе расстояние может быть выбрано очень
незначительным, например меньше 3 мм, 2 мм или 1 мм или еще меньше.
Формы выполнения теплопровода весьма разнообразны, при этом
можно использовать многочисленные материалы. Например, теплопровод может иметь
кубическую или ромбическую форму, форму цилиндра или полуцилиндра. Для
изготовления теплопровода пригодны различные материалы с хорошим коэффициентом
теплопередачи. Теплопровод может быть выполнен из металла, такого как алюминий,
или из материалов на основе слюды. По меньшей мере, одна поверхность
теплопровода может иметь покрытие, например, керамическое, или покрытие,
выполненное из окислов алюминия.
Допускается выполнение теплопровода состоящим из нескольких
частей. Например, можно выполнить его состоящим из трех частей. При этом на
одной из частей размещен нагревательный элемент, а на двух других размещены
преобразователи регулятора температуры. Эти части могут быть смонтированы
вместе, например склеены или скреплены, что обеспечивает хорошее механическое
соединение при отсутствии сильной термической связи.
При более слабой термической связи между нагревательным
элементом и, по меньшей мере, одним преобразователем регулятора температуры
считываемое показание температуры в большей степени соответствует средней
температуре теплопровода и/или нагревательного устройства в целом, чем
температуре нагревательного элемента.
Нагревательное устройство можно применять в тех случаях,
когда используют низкие напряжения, например напряжение, прикладываемое к
нагревательному элементу, можно выбирать в диапазонах: 1-250 В, 200-250 В,
90-120 В, 30-50 В или 10-14 В. Было обнаружено, что нагревательное устройство
успешно функционирует при использовании напряжения в диапазонах 0-50 В, или
30-50 В, или 35-45 В. Не вникая в теорию вопроса, допустимо считать, что
использование напряжения в упомянутых диапазонах обеспечивает быстрый нагрев и
при этом не достигается такая мощность, при которой показания температуры стали
бы менее надежными.
Поэтому одним из аспектов является способ нагрева устройства
под напряжением, выбранным из приведенных выше диапазонов. Другим аспектом является
способ изготовления нагревательного устройства. Этот способ включает в себя
изготовление теплопровода и изготовление нагревательного элемента.
Дополнительно способ содержит этап изготовления первого преобразователя
регулятора температуры, который имеет первый минимальный порог срабатывания,
расположен на первом расстоянии от нагревательного элемента и имеет
непосредственный контакт с теплопроводом. Дополнительно способ содержит этап
изготовления второго преобразователя регулятора температуры, имеющего второй
порог срабатывания, превышающий порог срабатывания первого преобразователя
регулятора, при этом второй преобразователь регулятора температуры расположен
на втором расстоянии от нагревательного элемента, меньшем, чем первое
расстояние, и имеет непосредственный контакт с теплопроводом.
Нагревательный элемент и первый преобразователь регулятора
температуры могут быть изготовлены в рамках одного технологического процесса. В
альтернативном варианте упомянутые изделия можно получить в любой последовательности
при выполнении разных технологических процессов. Способ изготовления
нагревательного устройства может также включать операцию изготовления
нагревательного элемента и первого преобразователя регулятора температуры путем
нанесения покрытия на каждый из них.
Нагревательный элемент и первый преобразователь регулятора
температуры могут быть нанесены путем напыления пульверизатором, посредством
окунания, с использованием щетки, а также с использованием трафаретной печати.
Выполнение элементов в форме покрытия имеет свои преимущества. Второй
преобразователь регулятора температуры также можно изготовить путем напыления
пульверизатором, посредством окунания, трафаретной печатью или с использованием
щетки.
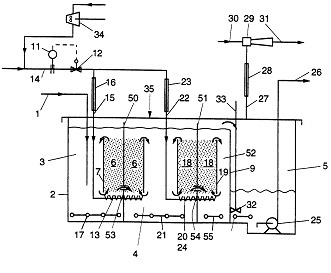
На рисунке 1 показано нагревательное устройство, для которого
теплопровод выполнен в виде прямоугольного параллелепипеда. Одна большая
поверхность прямоугольного параллелепипеда использована для выполнения
нагревательного элемента и первого преобразователя регулятора температуры. Оба
элемента, выполнены как покрытия, нанесенные на теплопровод, и тоже имеют по
существу форму прямоугольного параллелепипеда. Второй преобразователь
регулятора температуры выполнен на той же поверхности.
Как видно нагревательный элемент выполнен в форме
прямоугольника, имеющего большую и малую оси. Первый преобразователь регулятора
температуры примыкает к нагревательному элементу и тоже имеет форму
прямоугольника, длина которого соответствует длине нагревательного элемента.
При этом малая ось прямоугольника короче, чем малая ось нагревательного
элемента, и может составлять 50%, или 25%, или 10%, или меньше длины малой оси
нагревательного элемента.
Расстояние между первым преобразователем регулятора
температуры и нагревательным элементом может составлять примерно 50%, или 25%,
или 10%, или еще меньше от длины малой оси нагревательного элемента.
Как показано (рисунок 2.1), расстояние между первым
преобразователем регулятора температуры и нагревательным элементом больше, чем
расстояние между вторым преобразователем регулятора температуры и
нагревательным элементом, так как второй преобразователь регулятора температуры
примыкает к нагревательному элементу.
Нагревательные электроды выполнены с возможностью контакта с
нагревательным элементом. Эти электроды могут примыкать (рисунок 2.1), и со
стороны малой оси, и со стороны большой оси нагревательного элемента. Они могут
быть выполнены в виде слоя из проводящего материала, например, между
нагревательным элементом и теплопроводом.
Дополнительные электроды выполнены для обеспечения
электрического контакта первого преобразователя регулятора температуры.
На рисунок 2.1 представлено нагревательное устройство в
разрезе. Как видно поверхность теплопровода только частично закрыта
нагревательным элементом.
На рисунок 2.1 представлен другой разрез нагревательного
устройства, из которого ясно видно, что первый преобразователь регулятора
температуры может быть расположен вблизи нагревательного элемента на той же
поверхности теплопровода.
Глава 3.
Способы погрузки
3.1 Способ
погрузки серы в транспортное средство
Существует способ в котором предварительно серу расплавляют,
заливают в емкость, остужают и покрывают пленкообразующим веществом, причем
остужение и нанесение пленкообразующего вещества осуществляют в вакуумной
камере [9]. После этого емкости с серой погружают в транспортное средство. В
качестве емкости используют транспортабельный лоток, разделенный на ячейки.
Изобретение обеспечивает предотвращение самовозгорания серы во время погрузки.
Изобретение относится к способу погрузки сыпучих веществ в транспортное
средство [3], а именно серы, предназначенной для перевозки.
Известен способ погрузки серы насыпью в полувагоны, причем
последние перед погрузкой очищают.
Недостатком данного способа погрузки является образование
пыли при погрузке, ухудшающей условия труда обслуживающего персонала и
оказывающей вредное воздействие на экологию.
Известен также способ погрузки серы в транспортное средство,
заключающийся в том, что предварительно расплавленную серу заливают в емкость
послойно, остужают до температуры окружающего воздуха и после остывания
(кристаллизации) ее разрыхляют (измельчают) на комки и загружают в транспортное
средство, а затем наносят пленкообразующую жидкость толщиной 0.1 - 1.0 мм [4].
Недостатками данного способа погрузки серы в транспортное средство
является то, что из-за неравномерности распределения фракций серы возможно
смоноличивание груза в транспортном средстве; кроме того из-за трения слоев
вследствие трибоэлектрического эффекта возможно самовозгорание груза и
образование пыли, ухудшающие условия труда обслуживающего персонала и
окружающей среды.
Указанная задача достигается тем, что в способе погрузки,
заключающемся в том, что расплавленной серой заполняют емкость, затем остужают
и наносят пленкообразующую жидкость, остужение и нанесение пленкообразующего
вещества осуществляют в вакуумной камере, а в качестве емкости используют
транспортабельный лоток, разделенный на ячейки.
Технический результат, получаемый от использования
изобретения, заключается в предотвращении самовозгорания серы во время погрузки
и снижении содержания примесей. Указанный технический результат достигается за
счет того, что в процессе погрузки обеспечивается обезвоживание перевозимого
груза в вакууме и погрузка в транспортабельную емкость, что позволяет
предотвратить самовозгорание серы и ее пыление, вредно влияющие на
обслуживающий персонал и окружающую среду, и однородность фракций груза.
На рисунке 3.1 - где представлена схема технологического
процесса погрузки серы; на рисунке 3.2 - показан транспортабельный лоток.
Способ погрузки комовой серы в транспортное средство
заключается в следующем: порожнюю емкость 1, представляющую собой лоток,
разделенный перегородками на ячейки, с помощью крана устанавливают на ленточный
транспортер 2, затем, перемещая его под разливочное устройство 3,
представляющее собой несколько гусаков 4, соединенных с серопроводом 5,
производят заполнение ячеек горячей расплавленной серой. После дозировки
емкость 1 устанавливают в вакуумную камеру 6 для остужения, из которой с
помощью вакуумного насоса 7 типа ДВНП-6 откачивают воздух до давления 0.01 -
0.09 МПа. В вакуумной камере 6 емкость 1 выдерживается до тех пор, пока
температура серы не снизится до 20-25oC, затем вакуумный насос 7
отключают и через встроенные внутри камеры форсунки 8 подают пленкообразующий
раствор на основе лигносульфонатов. полиэтиленоксидов или др. до образования на
поверхности серы пленки толщиной 0.05 - 0.1 мм. После этого вакуумный насос 7
включается вновь на 10-30 мин до полного высыхания пленки. Затем емкости 1 по
ленточному транспортеру 2 перемещают к месту погрузки их в транспортное
средство (на схеме не показано), где с помощью крана производят погрузку.
Использование предлагаемого изобретения позволяет
предотвратить самовозгорание груза, снизить процент содержания примеси за счет
того, что после кристаллизации серу не дробят и не измельчают, а, удалив влагу,
покрывают пленкообразующим раствором, увеличить точность дозировки груза в
транспортное средство, а также улучшить условия труда обслуживающего персонала
и снизить вредное влияние на окружающую природную среду.
Способ погрузки серы в транспортное средство, заключающийся в
том, что предварительно серу расплавляют, заливают в емкость, остужают и
покрывают пленкообразующим веществом, отличающийся тем, что остужение и
нанесение пленкообразующего вещества осуществляют в вакуумной камере.
Способ, отличается тем, что в качестве емкости используют
транспортабельный лоток, разделенный на ячейки.
Рисунок 3.1 - Cхема технологического процесса
погрузки серы
3.1.1 Способ
погрузки жидкой серы
Стендовый контур трубопровода изготавливали из имеющей
диаметр 19 мм трубы из стали и прозрачного ПВХ, образующей совокупную длину
контура, приблизительно равную 4 метрам. Контур включал небольшой насос и
приблизительно 0,9-метровый универсальный переходник из стали, загнутый вниз
под углом в девяносто градусов, имеющий сливной клапан. Универсальный
переходник помещали на середине контура, отсчитывая от насоса, и его
присоединяли при использовании подходящих отсечных клапанов и съемных коротких
муфт ниже отсечных клапанов. Три звена независимых вертикальных труб
присоединяли в виде тройников, направляя отводы вертикально вверх от основного
контура. Данные вертикальные трубы располагали через правильные интервалы между
насосом и ориентированным вниз универсальным переходником на одной стороне
контура. Вертикальные трубы имели высоту от 15 до 25 см. Вертикальную трубу,
наиболее близкую к насосу, оснащали клапанным соединением, ведущим к вакуумному
насосу. Вторую вертикальную трубу оснащали коммерческим датчиком температуры и
давления аммиака. Последнюю вертикальную трубу оснащали 19-миллиметровым
шаровым клапаном. Возвратная линия от универсального переходника до насоса
представляла собой 1,5-метровое звено сваренной стальной 19-миллиметровой трубы
и небольшое звено трубы из прозрачного ПВХ. Приблизительно 1,3 метра
1,5-метровой стальной возвратной линии оснащали рубашкой из ПВХ диаметром 50 мм
с охлаждающей водой, снабженной входным шиберным клапаном. Между насосом и
первой вертикальной трубой размещали один 19-миллиметровый шаровой клапан. Всю
систему надежно присоединяли к опрокидывающейся панели длиной 1,8 метра и
вертикальным трубам придавали креплениями жесткость.
Систему очищали и неоднократно прополаскивали
дистиллированной водой и откачивали досуха в результате вакуумирования. Система
была способна выдерживать номинальный вакуум, равный 30 дюймам ртутного столба
(101,6 кПа). Систему дополнительно подвергали испытанию на герметичность при
использовании аммиака, который вводили в виде фазы насыщенного газа из
оснащенного клапаном слива универсального переходника либо из коллектора на
вакуумированной вертикальной трубе. Для лучшего отслеживания скорости среды для
транспортирования изготавливали и добавляли в качестве визуальных маркеров
несколько перфораций небольшого диаметра, заполненных белым полиэтиленом
высокой плотности. Данные маркеры размещали в контуре по вертикальной трубе и
систему снова возвращали к номинальным 30 дюймам ртутного столба (101,6 кПа).
Получали избыточный объем серосодержащих раствора и суспензии
в безводном аммиаке при использовании соответствующей пары рассчитанных на
определенное номинальное давление трубчатых приемников, изготовленных из
50-миллиметровой трубы, при этом каждый приемник имел длину, приблизительно
равную 80 см, оканчивающихся на одном конце переходным ниппелем с резьбой 19 мм
для соединения штанг различного диаметра, имеющим снабженную резьбой заглушку,
а на другом конце переходным ниппелем с резьбой 19 мм для соединения штанг
различного диаметра и стальным ниппелем с резьбой 19 мм на 6 см. Все резьбовые
соединения надлежащим образом герметизировали при использовании коммерческого
резьбового уплотнения, которое по паспортным характеристикам соответствовало
газу и давлению и, как предполагалось, было совместимым с фитингами как из
стали, так и из пластика. На каждом приемнике ниппель оснащали совместимым
шаровым клапаном с гаечной резьбой 19 мм. К одному из клапанов присоединяли
дополнительный снабженный резьбой ниппель для последующего соединения с другим
приемником.
Один приемник вакуумировали, взвешивали для определения массы
тары, загружали жидким аммиаком и взвешивали. Приблизительно 830 граммов
аммиака в виде конденсата переводили в приемник из коммерческого баллона при
использовании ледяной бани. В другой предварительно высушенный в результате
вакуумирования приемник быстро переводили приблизительно 830 граммов ранее
высушенной порошкообразной очищенной серы при тонкости фильтрации в виде 100%
материала с размером частиц минус 1/32 дюйма (0,794 мм). Клапан закрывали и два
приемника соединяли друг с другом при использовании предварительно
присоединенного снабженного резьбой ниппеля. Два клапана на приемниках
примыкали друг к другу. Приемник с жидким аммиаком помещали выше приемника с
серой. Оба клапана открывали и аммиаку давали возможность течь в течение
периода времени продолжительностью в несколько минут для заполнения
расположенного ниже серосодержащего приемника в то время, как происходило
интенсивное охлаждение верхнего приемника. Завершение переноса облегчали в
результате осторожного подвода тепла к верхнему приемнику благодаря аккуратному
использованию струйного сушильного аппарата либо фена.
По истечении нескольких минут и тогда, когда больше уже не
происходило интенсивного охлаждения верхнего приемника, нижний клапан
закрывали. Два соединенных приемника переворачивали и вмещаемому веществу
давали возможность слиться из второго клапана и ниппеля. После этого клапан
закрывали. Приемники очень осторожно разделяли в вытяжном шкафу либо на
открытом воздухе. Соединение развинчивали для медленного стравливания давления
аммиака при одновременном оборачивании техническими салфетками для
предотвращения разбрызгивания. Отмечались появление мгновенного интенсивного
запаха и на салфетках превращение текучей среды с окраской от фиолетовой до
черной в желто-зеленый порошок.
После этого полный либо почти что полный, содержащий серу и
аммиак приемник снова заглушали по концу и маховичок клапана надежно
фиксировали в закрытом положении при помощи пластика. Данный приемник после
этого представлял собой легко взбалтываемую опрокидывающуюся трубу, содержащую
приблизительно 50 мас. % смеси твердофазной и растворенной серы в 50 мас. %
безводного аммиака. Осадок твердой фазы был податливым и относительно легко
подвергающимся повторному диспергированию в течение приблизительно нескольких
минут в результате либо катания трубчатой емкости, либо неоднократного
перевертывания ее на 180 градусов для стимулирования возникновения течения,
даже если емкости оставались в состоянии покоя в течение периодов времени,
превышающих десять дней.
Содержащий аммиак и серу приемник взбалтывали в результате
неоднократного переворачивания и вращения в течение 15 минут. Приемник после
этого быстро под вакуумом присоединяли к снабженной клапаном вертикальной трубе
выше контура трубопровода. Оба клапана быстро открывали и в контур трубопровода
загружали смесь. Опрокидывающуюся панель на одном краю быстро поднимали и
опускали несколько раз для устранения пузырьков и полной загрузки системы.
Включали подачу потока охлаждающей воды, запускали насос и систему
дополнительно обезгаживали в условиях быстрого течения. Клапаны между емкостью,
содержащей серу/аммиак, и вертикальной трубой закрывали и открывали несколько
раз. Верхнюю емкость осторожно, равномерно и аккуратно нагревали в течение
периода времени продолжительностью в три минуты в то время, пока текучая среда
с окраской от темно-голубой до фиолетовой продолжала сливаться в основной
контур. После этого оба клапана закрывали. Контрольный клапан медленно частично
закрывали таким образом, чтобы скорость текучей среды составляла бы
приблизительно 150 см в секунду, исходя из наблюдения за белыми маркерами из
полиэтилена через ранее обмеренные и маркированные звенья трубы.
После этого шиберный клапан для охлаждающей воды открывали и
регулировали до достижения равновесной температуры, равной приблизительно 9°С
(48°F), о чем свидетельствовал датчик для аммиака. Температура воздуха
окружающей среды составляла 5°С (41°F) при наличии умеренного ветра. Насос
останавливали по истечении двух часов. Отсечные клапаны универсального
переходника закрывали. Через сливной клапан производили слив из универсального
переходника в предварительно вакуумированный трубчатый приемник для отправления
на рецикл либо повторного использования.
Универсальный переходник отсоединяли и повергали осмотру,
предпринимая меры предосторожности для предотвращения разбрызгивания. Не
наблюдали никаких отложений либо осаждений, хотя случайные отслоившиеся крупинки
желто-зеленой серы и присутствовали. На стенках стальной трубы можно было
различить рыхлое порошковое покрытие, образованное из пыли желто-зеленой серы,
при наличии некоторого количества кристаллов с высокой отражательной
способностью. По универсальному переходнику осторожно постукивали, используя
небольшой гаечный ключ, и рыхлый порошок и крупинки серы высыпались из
переходника. Оставшуюся пыль серы осторожно выдували при использовании сжатого
воздуха. Универсальный переходник тщательно высушивали до достижения стабильной
исходной массы 1492,5 грамма.
В трубах по всей системе на глубине приблизительно в одну
треть диаметра оставался интенсивно окрашенный фиолетово-бордово-черный осадок.
Газообразный аммиак при приблизительно 60 фунтах на один квадратный дюйм (413,7
кПа) медленно стравливали в воду для использования в качестве удобрения. По
мере того, как давление уменьшалось, окраска оставшейся серы с течением времени
изменялась от темно-бордовой до оранжевой и до желтовато-коричневой с оранжевой
окаемкой. Когда активное действие стравливания было близко к своему завершению,
систему, проводя вакуумирование, откачивали до 30 дюймов ртутного столба (101,6
кПа) в течение приблизительно одного часа. Окраска слоя серы дополнительно
осветлялась до получения светлого желтовато-коричневого порошка. После этого
вакуум сбрасывали.
3.2 Анализ
процесса плавления серы и система контроля температуры расплава серы при ее
транспортировке в отделение плавления цеха серной кислоты ОАО "Гомельский
химический завод"
3.2.1 Принцип
работы контактного аппарата на ГХЗ
В контактном аппарате происходит окисление SO2 в
SO3.
Для технологической системы предусмотрен метод двойного
контактирования с промежуточной абсорбцией, что дает возможность повысить
степень конверсии SO2 в SO3 за счет увеличения
соотношения SO2: SO3 после промежуточной абсорбции
и обеспечить выбросы SO2 в атмосферу в пределах норм.
После котла-утилизатора газ с объемной долей SO2
8,5 - 11,5 % и температурой 390 - 425 °С поступает на первый
слой контактного аппарата, и частично объемным расходом 1700 - 7500 м3/ч
по отдельному газоходу в узел охлаждения и очистки газа от SO3 для
производства сульфита натрия.
В узле охлаждения и очистки от SO3 газ проходит по
межтрубному пространству теплообменника, через абсорбционную башню и по
газоходу поступает в цех сульфита натрия.
Температура газа на входе в контактный аппарат регулируется
автоматически шибером с пневмоприводом на первом испарителе котла-утилизатора.
Предусмотрено дистанционное управление шибером с пневмоприводом на втором
испарителе котла-утилизатора. Для регулирования температуры газа на входе в
первый слой контактного аппарата, в зависимости от производительности системы,
предусмотрен шибер на газоходе после испарителя с ручным приводом
открытия-закрытия, а также горячий байпас подачи горячего газа из камеры
дожигания серы серной печи.
В контактном аппарате происходит окисление SO2 в
SO3 кислородом, содержащимся в газе, на ванадиевом катализаторе по
реакции:
кДж/моль
Контактный аппарат является двухступенчатым, пятислойным
аппаратом.
На первых трех слоях осуществляется первая ступень конверсии SO2
в SO3, а на четвертом и пятом слоях - вторая ступень.
На первом слое контактного аппарата реагирует 60 % входящего в
аппарат SO2, в результате чего температура газа увеличивается до 560
- 621 °С. Газ после первого слоя контактного
аппарата охлаждается в трубном пространстве теплообменника и пароперегревателе
второй ступени до температуры 430 - 470 °С и поступает на второй слой контактного аппарата.
Температура газа на входе во второй слой контактного аппарата
регулируется автоматически дросселем с электроприводом на байпасе
теплообменникаю.
Газ по межтрубному пространству теплообменника охлаждается
обратным потоком газа из абсорбционной башни, последовательно проходящим
трубное пространство теплообменника, трубное пространство теплообменника
межтрубное пространство теплообменника Газ после теплообменника поступает на
четвертый слой контактного аппарата.
На втором слое реагирует 25 % SO2, входящего в
контактный аппарат. Температура газа на выходе из второго слоя за счет
окисления SO2 в SO3 возрастает до 500 - 550 °С. Охлаждение газа после второго слоя
осуществляется в пароперегревателе первой ступени до температуры 421 - 450 °С. Газ с этой температурой поступает на
третий слой контактного аппарата, где реагирует
,6 % SO2, входящего в аппарат. Температура газа на
входе в 3-ий слой регулируется автоматически дросселем с электроприводом.
Температура газа на выходе из третьего слоя повышается до 440 -
480 °С.
Газ после третьего слоя охлаждается последовательно в трубном
пространстве теплообменника до температуры 280 - 340 °С, межтрубном пространстве теплообменника
до температуры 220 - 320 °С, в
парогенераторе до температуры 200 - 262 °С, межтрубном пространстве теплообменника до температуры 165 - 190
°С и поступает в абсорбционную башню.
Температура газа в башне А-1 за счет орошения ее серной кислотой снижается до
70 - 100 °С.
Газ из абсорбционной башни температурой 70 - 100 °С проходит последовательно трубное
пространство теплообменника, где подогревается до температуры 145 - 176 °С, трубное пространство теплообменника,
где подогревается до температуры 145 - 253 °С, межтрубное пространство теплообменника и температурой 80 - 411 0С
поступает в межтрубное пространство теплообменника, в котором подогревается до
температуры 410 - 440 °С. После
теплообменника газ поступает на вторую ступень контактирования - на четвертый
слой контактного аппарата.
Газ по байпасу после башни может подаваться в поток газа после
трубного пространства теплообменника. На байпасе установлена для регулирования
температуры потока газа.
На четвертом слое реагирует 5,2 % массовой доли SO2 от
количества входящего в аппарат и температура газа повышается до 420 - 460 °С. Охлаждение газа после четвертого слоя
до температуры 420 - 440 °С
осуществляется поддувом сухого воздуха после сушильной башни, автоматическое
регулирование осуществляется дросселем с электроприводом. При передаче
сернистого ангидрида в цех сульфита натрия (ЦСН) охлаждение газа после
четвертого слоя осуществляется сухим воздухом, нагретым в теплообменнике,
регулирование осуществляется дросселем с.
Смесь газа с воздухом температурой 420 - 440 °С поступает на пятый слой контактного
аппарата.
На пятом слое реагирует не менее 0,07 % SO2, входящего
в контактный аппарат, температура газа увеличивается до 421 - 442 °С.
Для регулирования температуры газа на входе в отдельные слои
контактного аппарата предусматриваются байпасы на теплообменниках по газовому
тракту, а также байпасы по питательной воде и перегретому пару на экономайзере
и пароперегревателях 1 и 2 ступеней. Газ после пятого слоя последовательно
проходит пароперегреватель нулевой ступени, два пакета экономайзера, где
охлаждается насыщенным паром из барабана котла-утилизатора и питательной водой,
поступающей из энергоустановки в барабан котла-утилизатора, и температурой 170
- 200 °С поступает на конечную абсорбцию в
абсорбционную башню. Из абсорбционной башни газ направляется в выхлопную трубу
высотой 180 м. Распределение контактной массы по слоям контактного аппарата
приведены в таблице 3.2. На складах серы при ее разгрузке из вагонов, перевалке
и загрузке в плавилки выделяется много пыли. Однако опыт эксплуатации
сероуглеродных производств показал, что концентрация серной пыли на складах
серы не достигает взрывоопасных значений. Но может случиться, что локальный
хлопок серной пыли в отдельном участке склада вызовет встряхивание пыли,
осевшей на полу и строительных конструкциях, с образованием взрывоопасной
смесив большом объеме. Кусковая сера воспламеняется при 250 - 270 0С,
порошкообразная - при 230 0С. Осевшая серная пыль взрывоопасна,
температура ее самовозгорания 205 - 207 0С. Пары серы с воздухом
образуют взрывоопасную смесь.
Расплавленная сера, получаемая в производстве при 130 - 135 0С,
является возможным источником ожогов. Температура воспламенения серной пыли
значительно ниже, чем пыли серных руд, и равна 207 0С. Поэтому даже
от трения ковша экскаватора о блок застывшей серы (при рыхлении и погрузке)
сера воспламеняется. Выделяющийся сернистый ангидрид затрудняет тушение
пожаров.
Таблица 3.2 - Распределение контактной массы по слоям
контактного аппарата
|
Номер слоя
|
Высота слоя, мм
|
Масса ванадиевого катализатора, т
|
Объем контактной массы, м3
|
Марка катализатора
|
|
1
|
520
|
32,28
|
67,4
|
ВАSF 04-110 SR
|
|
2
|
550
|
33,63
|
71,4
|
ВАSF 04-111 SR
|
|
3
|
580
|
35,71
|
75,8
|
ВАSF 04-111 SR
|
|
4
|
780
|
47,58
|
101,0
|
ВАSF 04-111 SR
|
|
5
|
810
|
49,46
|
105,0
|
ВАSF 04-111 SR
|
|
Итого:
|
-
|
198,66
|
420,6
|
-
|
Для выполнения требований пожарной безопасности на складах
серы необходимо: конструкции и технологическое оборудование должны регулярно
очищаться от пыли; помещение склада должно постоянно проветриваться
естественной вентиляцией при открытых дверях; дробление комков серы на решётке
бункера должно производиться деревянными кувалдами или инструментом из не
искрящего материала; конвейеры для подачи серы в производственные помещения
должны быть снабжены металлоискателями; все электрооборудование склада комовой
серы должно быть во взрывобезопасном исполнении; в местах хранения и применения
серы необходимо предусматривать устройства (бортики, пороги с пандусом и т.п.),
обеспечивающие в аварийной ситуации предотвращение растекания расплава серы за
пределы помещения или открытой площадки; металлические части устройств, аппаратов,
емкостей должны быть заземлены в целях предотвращения возникновения
электростатических зарядов; для предотвращения взрывов при дроблении,
транспортировании и хранении серы необходимо: обеспечить надежную вентиляцию,
использовать инертные газы, уменьшить пылевыделение, устранить источники
воспламенения.
На складе серы запрещается:
производство всех видов работ с применением открытого огня;
складировать и хранить промасленную ветошь и тряпки;
при ремонте применять инструмент из искродающего материала.
Глава 4.
Причины возгорания серы и разработка методов их прекращения
4.1 Дегазация
жидкой серы
При доставке серы и ее хранении на ГХЗ, сера находиться в
различной фракции в том числе тонкоизмельченная.
Известно что, тонкоизмельченная сера склонна к химическому
самовозгоранию в присутствии влаги, при контакте с окислителями, а также в
смеси с углём, жирами, маслами. Сера образует взрывчатые смеси с нитратами,
хлоратами и перхлоратами. Самовозгорается при контакте с хлорной известью. Так
как сера храниться на открытой площадке (рисунок 4.1), то она почти всегда
соприкасается с H2O (влажность). Пары образуют с воздухом взрывчатую
смесь. Горение серы протекает только в расплавленном состоянии аналогично
горению жидкостей. Верхний слой горящей серы кипит, создавая пары, которые
образуют слабосветящееся пламя высотой до 5 см. Температура пламени при горении
серы составляет 1820°C. Так как воздух по объёму состоит приблизительно из 21 %
кислорода и 79% азота и при горении серы из одного объёма кислорода получается
один объём SO2, то максимальное теоретически возможное содержание SO2
в газовой смеси составляет 21%. На практике горение происходит с некоторым
избытком воздуха, и объёмное содержание SO2 в газовой смеси меньше
теоретически возможного, составляя обычно 14…15%.
Серная пыль - образуется в местах загрузки и разгрузки серы.
Взвешенная в воздухе серная пыль взрывоопасна. Нижний концентрационный предел
ее взрываемости может колебаться в широких пределах.
Пары серы, так же как и серная пыль, образуют с воздухом
взрывчатую смесь.
4.2 Анализ
способов дегазации серы
Дегазацию жидкой серы (рисунок 4.1) проводят в колонне с
насадочным слоем (2), в котором в качестве катализатора используют носитель (3)
с нанесенным на него дисульфофталоцианином кобальта. В насадочном слое колонны
используют насыпной катализатор. Изобретение позволяет значительно снизить
время дегазации серы.
Изобретение относится к области нефтяной и
газоперерабатывающей промышленности и предназначено для очистки жидкой серы от
сероводорода и его полисульфидов.
Рисунок 4.1 - Установка дегазации
Известен способ дегазации жидкой серы непосредственно из
емкости сбора установки Клаус, откачивая ее насосом в специальную емкость
дегазации, в которой установлены насосы для перемешивания и разбрызгивания ее
через форсунки. В качестве катализатора используют аммиак, который подают на
всас насоса. Данная технология используется на Астраханском
газоперерабатывающем заводе [1].
Основными существенными недостатками данной технологии
являются:
использование аммиака как катализатора для дегазации, который
увеличивает количество выбросов в окружающую среду;
соли аммиака, являясь абразивными частицами, выводят из строя
погружные насосы и распылители для дегазации серы;
трудность дальнейшего использования серы, т.к. присутствие в
ней солей аммиака нарушают технологические процессы.
создание дополнительной емкости для хранения катализатора;
высокая стоимость катализатора.
Устранение данных недостатков, в т. ч. снижение времени дегазации
серы (до моментального) происходит за счет проведения дегазации серы в колонне
с насадочным слоем, в котором в качестве катализатора используют носитель с
нанесенным на него дисульфофталоцианином кобальта при температуре серы, равной
160°С. Кроме того, в насадочной колонне используется насыпной катализатор.
Такая колонна работает следующим образом (рисунок 4.2):
выводимую из технологических аппаратов жидкую серу собирали в яму дегазации
серы 5, состоящую из двух секций, одна из которых (I) служит для сбора
недегазированной серы, а вторая (II) для отдегазированной серы. Из первой
секции (I) погружным насосом 1 серу подавали в насадочную колонну 2, сера
проходила через насадочный слой 3, который является носителем катализатора
дисульфофталоцианина кобальта. Далее серу при температуре 160°С направляли в
секцию (II), где с ее поверхности паровым эжектором 6 удаляли выделяющийся в
процессе дегазации на насыпном слое катализатора сероводород. Выделившийся
сероводород направляли в печь дожига отходящих газов. Сера, находящаяся во
второй секции блока дегазации, является отдегазированной, ее погружным насосом
4 откачивают на отгрузку потребителям.
Ниже в таблице показана стабильность работы катализатора по
времени его использования.
Таблица 4.1 - Работа катализатора кобальта по времени его
использования на носителе
|
Время работы носителя
|
Содержание H 2S (включая H2Sx)
в жидкой сере, ppm
|
|
Без катализатора
|
363,75
|
|
1 час
|
54,6
|
|
2 часа
|
46,9
|
|
3 часа
|
44,1
|
|
4 часа
|
68,6
|
Данный способ дегазации серы имеет ряд преимуществ по
сравнению с прототипом:
отпадает необходимость непрерывного впрыскивания химического
катализатора аммиака для ускорения разложения гидрополисульфидов H2Sx;
снижение образивного износа перекачивающих насосов и
трубопроводов в связи с хорошей смазывающей способностью серы без присутствия в
ней аммонийных солей, т.к. не применяется аммиак;
сокращается количество погружных серных насосов, что
обеспечивает экономию электроэнергии и снижение капитальных затрат;
сокращается количество серных ям (оставляется лишь одна
двухсекционная);
имеется возможность непрерывной откачки готовой серы без ее
дополнительной многочасовой циркуляции;
расход используемого катализатора весьма незначительный, т.к.
он подвергается регенерации и используется повторно.
Способ дегазации жидкой серы в присутствии катализатора,
отличающийся тем, что дегазацию серы проводят в колонне с насадочным слоем, в
котором в качестве катализатора используют носитель с нанесенным на него
дисульфофталоцианином кобальта.
4.3 Способ и
аппаратура для дегазации жидкой серы
Дегазация жидкой серы (рисунок 4.2.1) отличается от дегазации
комовой тем, что распыленный газ пропускают через жидкую серу, которая
последовательно проходит, по крайней мере, через два отсека. Каждый из отсеков
разделен, по крайней мере, на две зоны, соединенные друг с другом сверху и
снизу. Один подотсек в каждом отсеке снабжен средством для подачи газа в тонко
распыленной форме. Жидкая сера под действием газа рециркулирует и частично
перетекает в следующую зону, а затем в следующий отсек. Последний отсек снабжен
средством для выгрузки жидкой серы. Результат способа - повышение степени
очистки за счет синергетического эффекта, который достигается при применении
ряда дегазирующих пространств.
Рисунок 4.2. - Распылитель
Изобретение касается способа удаления соединений сероводорода
из жидкой серы путем пропускания тонко распыленного газа через жидкую серу.
Известно, что сероводород растворен в жидкой сере в виде
полисульфидов [10], обозначаемых формулой:
2Sx
где (х - суммарное значение, в форме физически растворенного
H2S). Серовород освобождается при разложении полисульфидов. В
настоящем тексте термины сероводород и сероводородные соединения будут
использоваться в обоих значениях Н2S и H2Sx, если не указано
иначе.
Сера, полученная на заводах регенерации серы, содержит в
среднем от 300 до 400 м. д. по весу сероводорода и полисульфидов. Во время
хранения, транспортировки или дальнейшего применения высвобождение
растворенного сероводорода может создать опасную ситуацию, например, когда люди
могут быть отравлены очень токсичным сероводородом, иногда со смертельным
исходом (600 м. д. объемных является смертельной для человека), и опасность
взрыва из-за выделения сероводорода в верхнее пространство хранилищ-цистерн
(нижний предел взрываемости составляет 3,5 об. % сероводорода в воздухе). Также
большей неприятностью может быть проблема отвратительного запаха сероводорода.
Поэтому в установках, которые производят или используют в процессе работы серу,
требуется, чтобы произведенная сера была дегазирована для удаления сероводорода
и полисульфидов до значения ниже 10 м. д. по весу.
Растворенный сероводород может быть легко удален из жидкой
серы, например, при перемешивании, распылении, откачивании или при пропускании
газа или воздуха через нее. Значительно труднее удалить полисульфиды.
Полисульфиды сначала должны быть разложены согласно реакции:
Н2Sx → H2S+ (х-1) S;
прежде чем образованный сероводород может быть удален из
жидкой серы дегазацией H2S (растворенный) → H2S
(газ).
Разложению полисульфидов может способствовать добавление
азотных соединений, таких как аммиак, соли аммония, органические соединения
азота (такие как алкиламины, алканоламины, ароматические соединения азота) или
мочевина. Эти соединения азота действуют как катализатор и сокращают время
разложения и, следовательно, время, требуемое для дегазации.
Фирма SNPA [11] разработало процесс дегазации серы, при
котором сера прокачивается и распыляется с аммиаком, добавленным в качестве
катализатора [12]. SNPA, позднее переименованное как SNEA [13]
усовершенствовало процесс от периодического до непрерывного, в котором сера
циркулирует через два отделения и распыляется. Здесь также добавляется в
качестве катализатора аммиак [14]. SNEA еще усовершенствовало процесс,
используя жидкий катализатор. Этот процесс известен под названием Aquisulf. B
этом процессе также сера циркулирует и распыляется [15].
Фирма Exxon усовершенствовал процесс дегазации серы, добавляя
жидкий катализатор в серную шахту и цистерну. В Еххоn-процессе сера не
циркулирует и не перемешивается никаким образом. Процесс экономит энергию, но
для достаточной дегазации требуется пребывание во времени от 3 до 4 дней [16].
Фирма Texas Galf усовершенствовал процесс дегазации серы, в
котором жидкая сера стекает вниз колонны по тарелкам и дегазируется
противотоком воздуха [17].Intemational Research Maatschappij так же
усовершенствовал процесс дегазации серы [18].
Этот способ заключается в одностадийном процессе, в котором
воздух или смесь инертного газа и кислорода пропускается через жидкую серу в
присутствии катализатора и после этого жидкая сера и использованный газ
отделяются друг от друга.
Рrосоr развил процесс дегазации серы, известный под названием
"HySpec", в котором несколько газожидкостных контактных смесителей
организованы в серии. Катализаторы добавляются в контактные смесители и в итоге
на последней стадии смещения сера отделяется от добавленного катализатора путем
пропускания через нее воздуха. Такой газожидкостный смеситель состоит из мешалки,
приводимой в движение электромотором, которая перемешивает серу с воздухом,
втягиваемым через перфорированный цилиндр. Этот процесс был представлен на
конференции в Tampa Florida, 6-9 ноября 2004 г. [20]. Недостатком этого метода
является использование движущих частей, таких как мешалка, которая входит в
контакт с жидкой серой. В системе с жидкой серой есть большая вероятность
искажения движущих частей.
Как упоминалось ранее, заводы регенерации серы могут быть
меньшего размера при условии использования катализатора. Однако добавление
катализаторов связано с недостатками, ведущими к снижению качества серы.
Известно, что возникающие проблемы происходят как результат присутствия этих
катализаторов из-за образования солей, таких как сульфат аммония. Много жалоб
поступает от покупателей серы в производстве серной кислоты. Некоторые крупные
покупатели серы, таким образом, требуют, чтобы сера не содержала катализатор.
Известен способ удаления сероводородных соединений из жидкой
серы, в которых нет этих недостатков.
В этом способ удаление сероводородных соединений из жидкой
серы путем пропускания газа через жидкую серу, при этом жидкая сера
подвергается, по меньшей мере, двум раздельным обработкам тонко распыленным
газом, и при каждой обработке используются системы рециркуляции и подъемная
сила газа, при этом практически полностью предотвращена возможность того, что
часть жидкой серы не подвергается обработке.
Было найдено, что простые меры по предотвращению движения
серы в обход или по каналам достаточны для снижения остаточного содержания
сульфидов в таких системах до приемлемо низкого уровня, например 10 м. д. по
весу. Более удивительно рассмотрение того факта, что даже несколько процентов
обхода достаточно для того, чтобы потерпеть неудачу в достижении значения 10 м.
д. по весу. Более того, система очень непредсказуема из-за целого ряда
сопутствующих эффектов. Дегазация определяется как химическими, так и
физическими эффектами, при этом также велико влияние температуры.
Противодействие образованию каналов в системе может быть
достигнуто несколькими простыми способами, как будет показано далее.
Изобретение также касается способа удаления сероводородных
соединений из жидкой серы путем пропускания тонко распыленного газа через
жидкую серу, при этом жидкая сера, подвергаемая обработке, последовательно
пропускается, по крайней мере, через два дегазирующих отсека, каждый из этих
отсеков разделен, по крайней мере, на две зоны, которые в любом случае вверху
или внизу соединены друг с другом, в то время как, по крайней мере, в одной
зоне на дне ее подается указанный газ в тонко распыленном состоянии, в этой
зоне жидкая сера под действием газа течет вверх и затем течет, по крайней мере,
в одну другую зону, в которой жидкая сера течет вниз и при этом рециркулирует,
по крайней мере, частично в указанную первую зону, и газ получается в верхней
части над жидкой серой, а жидкая сера течет из одного дегазирующего отсека в
другой и выгружается из последнего дегазирующего отсека.
Для применения изобретения обычно используется аппарат, который
состоит, по крайней мере, из двух, более точно, по крайней мере, из трех
дегазирующих отсеков, при этом из последнего дегазирующего отсека жидкая сера
течет в насосный отсек. Все модели включают насосный отсек или эквивалентную
систему для выгрузки дегазированной серы. Разница между различными воплощениями
существенно заключается в способе, в котором сконструированы эти дегазирующие
отсеки, в способе разделения дегазирующих отсеков на подотсеки или зоны, в
способе, посредством которого сера течет из одного дегазирующего отсека в
другой дегазирующий отсек или насосный отсек, и в конструкции перегородки между
различными дегазирующими отсеками или между дегазирующим отсеком и насосным
отсеком.
Таким образом, согласно изобретению, возможен целый ряд вариантов
этого способа. Исходным пунктом является система, в которой имеются, по крайней
мере, два дегазирующих отсека, которые разделены, по крайней мере, на два
физически отделенных подотсека или зоны, которые соединяются вверху и внизу.
Целый ряд различий могут быть введены в конструкцию
дегазирующих отсеков. Согласно изобретению представлены средства для снижения
возможности движения серы в обход или через каналы. Здесь предпочтительно
использовать аппарат, в котором используется целый ряд дегазирующих отсеков,
которые отделены один от другого посредством физически перегороженной стенки.
Разные варианты этого предпочтительного воплощения далее разъяснены на рисунке.
В первой модели, сера течет к следующему отсеку над
перегородкой между различными дегазирующими отсеками. Уровень серы в
дегазирующем пространстве поднимается посредством перегородки, через которую
перетекает жидкость (рисунок 4.3).
Pисунок 4.3 - Схема дегазации
Дегазированная сера выгружается насосом. Каждый дегазирующий
отсек имеет пространство газообразования, которое образовано сосудом, который в
его нижней части не имеет дна, и чья верхняя часть остается под уровнем серы.
Согласно второй модели способа, в соответствии с изобретением разделяющая
стенка между различными дегазирующими отсеками устроена так, что она делит
"сосуд для газообразования" на две части. С другой стороны, это может
быть сделано таким образом, как это описано на рисунок 4.4, где перегородка
только закрывает пространство под сосудом и сбоку сосуда.
Рисунок 4.4 - Сосуд для газообразования
В модели на рисунок 4.5 перегородка не только разделяет
пространство вокруг сосуда, но также разделяет сам сосуд на две части. Сера
течет выше перегородки к следующему отсеку.
Рисунок 4.5 - Сосуд для газообразования
(перегородка разделяет сам сосуд на две части)
Вариант этой модели показан на рисунок 4.6, где сера не течет
через перегородку, но перетекает в следующий отсек через отверстие в
перегородки.
Рисунок 4.6 - Сера течет через отверстие в перегородке
В этой модели предпочтительно предусмотреть отверстие в
перегородке поблизости от нижней стенки подотсека, в котором жидкая сера течет
вверх, более точно выше приспособления для распределения газа в сере. Модель, в
которой использована перегородка согласно рисунок 4.6, показана на рисунке 4.7
Pисунок 4.7 - Схеме дегазации
В этой связи представляет собой вид плана сверху конструкции
рисунок 4.3, в то время как рисунок 4.8 - это вид плана
сверху модели на рисунок 4.7.

Рисунок 4.9 сравним с моделью рисунок 4.8, разница в том, что
использована перегородка как на рисунке 4.4 и рисунке 4.9 в свою очередь
отлична от них тем, что она использует перегородку согласно рисунка 4.8.
Рисунок 4.9 - Модель в которой использована перегородка как на рис
4.4
Рисунок 4.10 отличается от рисунка 4.9 присутствием дополнительной
перегородки между сосудами. Эта дополнительная перегородка, если желательно,
может содержать запорный клапан, который открыт, когда все пространство
заполнено, и закрыт в работе. Это дает то преимущество, что конструкция
перегородки может быть много легче
Рисунок 4.10 - Mодель с присутствием
дополнительной перегородки между сосудами
В этой связи далее было найдено, что разделение дегазирующего
отсека на стадии подготовки не обязательно проводить вместе с сосудом. Также
может быть выгодно расширить перегородки между двумя подотсеками от стенки до
стенки, конечно, при условии, что пространство должно быть оставлено открытым
вверху и внизу для транспортировки серы между подотсеками.
В отсеках для газообразования жидкая сера предпочтительно
обрабатывается кислородсодержащим газом, например воздухом или смесью инертного
газа с кислородом. В качестве инертного газа может быть использован азот или
пар. Преимущество кислородсодержащего газа состоит в том, что часть
газообразного H2S при этом окисляется до элементной серы.
Газ, выгруженный из дегазирующего отсека, состоящий из
кислородсодержащего газа с удаленным сероводородом, далее обозначается как
отводящий газ (stripping gas). Отводящий газ направляется на завод регенерации
серы или на последующее сжигание.
Было найдено, что, когда перегородки устроены в известной
дегазирующей аппаратуре таким образом, что они делят сосуды пространства
газообразования (подотсеки или зоны) на две части, время дегазации может быть
сокращено на более чем на одну треть от 24 часов до менее чем 8 часов. Как уже
было показано, другие аспекты могут быть оптимизированы путем изменения
условий. Однако предпочтительно, чтобы время пребывания было максимум 15 часов.
В общем, было найдено, что деление отсека для газообразования на целый ряд
подотсеков улучшает сверхпропорционально эффективность дегазации.
Дегазация может быть осуществляться периодически или
непрерывно в двух или более дегазирующих пространствах для жидкой серы.
Предпочтительно осуществлять способ непрерывно. Цельный аппарат может быть
условно бетонированной шахтой или может быть также горизонтально или
вертикально устроенной стальной цистерной или сосудом.
Распределитель газа снабжен отверстиями или щелями, чтобы
получить хорошее распределение. Второй отсек также снабжен, по крайней мере,
одним пространством для газообразования с распределителями газа.
Предпочтительно использование сосуда, который открыт снизу и сверху, но это
совсем не обязательно для нормальной работы.
В другой модели способа, согласно изобретению, перегородки
устанавливаются в сосудах пространства для газообразования, и эти перегородки
делят дегазирующее пространство в этой модели на три отсека, и далее сосуды
делятся на две части (рисунок 4.7).
Перегородки устанавливаются от стенки до стенки дегазирующей
шахты, цистерны или сосуда. Сера течет через отверстия в перегородке во второй
отсек. Предпочтительно отверстие предусматривается на уровне нижней части
сосуда газообразующего пространства.
Затем сера течет ко второму пространству для газообразования
и через такое же отверстие во второй перегородке к третьему отсеку.
Перегородки сбоку, в центре и снизу сосуда предотвращают
недегазированную серу от прохождения через пространство для газообразования.
Перегородки предотвращают слабый контакт между серой, которая должна быть
дегазирована, и отводящим газом, так что эффективность дегазации с
перегородками сильно увеличивается. Так, дискретно, последовательно,
уменьшающийся уровень концентрации полисульфида и физически растворенного Н2S
осуществляется в каждом отсеке.
Конструкция перегородок или границ может быть такой, что они
полностью закрыты. Особенно важным является то, что это влечет за собой
ограничение потока, в результате чего имеет место лишь небольшое время
пребывания серы.
В способе, согласно изобретению, время дегазирующей системы
составляет от шести до пятнадцати часов, предпочтительно восемь часов. Максимум
температуры дегазации лимитирован вязкостью серы. Выше 157oС
вязкость дегазированной серы очень сильно возрастает, следовательно, способ
дегазации осуществляется в интервале температур от выше точки затвердевания
серы (115oС) и лимитирующей температурой с точки зрения вязкости.
Более того, при более низких температурах процесс дегазации идет лучше, при
этом может быть сокращено время дегазации или количество газа.
Дегазация жидкой серы может быть проведена при повышенном,
атмосферном или при пониженном давлении.
При избыточном давлении системы отводящий газ, как правило,
подается вентилятором, так что остаточный газ легко может быть выгружен на
завод регенерации серы или на печь сжигания. При пониженном давлении обычно
используется паровой эжектор для экстракции остаточного газа.
Относительно количества газа, которое должно использоваться,
следует в общем указать, что его выбирают так, чтобы пропускная способность
газа по горизонтали через секцию газирующего пространства была достаточной для
желаемой дегазации, но, с другой стороны, не должна быть слишком большой, чтобы
избежать пенообразования жидкой серы.
Количество газа, которое должно быть использовано,
соответствует при атмосферном давлении значению примерно 0,02-0,10 кг газа на
кг серы, которая должна быть дегазирована, и предпочтительно 0,04-0,06 кг газа
на кг серы. Неожиданно, было найдено, что, когда используется такое количество
газа, время пребывания значительно сокращается. Газ предпочтительно нагревается
до температуры немного ниже, чем 115oС, точки затвердевания серы,
прежде чем он проходит через жидкую серу. Остаточный газ выгружается и
возвращается на завод регенерации серы или на последующее сжигание. Завод
регенерации серы является заводом, на котором сероводород реагирует с двуокисью
серы с образованием серы и воды или сероводород селективно окисляется кислородом
до элементной серы. Остаточный газ может быть возвращен на главную горелку или
в реактор селективного окисления завода регенерации серы, таким образом,
элементная сера опять регенерируется, чтобы предотвратить, насколько это
возможно, эмиссию SO2.
Другой способ представляет собой выгрузку остаточного газа на
завод сжигания, где освобожденный сероводород, присутствующие пары серы и/или
внесенные частицы серы сгорают до двуокиси серы. Если содержание кислорода в
остаточном газе достаточное, то сжигание может происходить без дополнительной
подачи воздуха.
В способе, согласно изобретению, кроме того, что, когда в
качестве отводящего газа используется кислородсодержащий газ. Это особенно
удобно, когда остаточный газ направляется на последующее сжигание. Для того
чтобы предотвратить образование SO2 насколько это возможно, при
сгорании остаточного газа желательно удалить пары серы и любые внесенные
частицы серы в холодильнике остаточного газа [21], или очистить остаточный газ
от внесенных частиц серы с помощью дымового фильтра.
Если при запуске в работу системы дегазации используется
воздух или смесь газа с кислородом в качестве дегазирующей среды, важно, чтобы
не был превышен нижней предел взрываемости. Кроме того, следует принять во
внимание то обстоятельство, что физически растворенный сероводород
высвобождается за короткое время, так что должен использоваться довольно
разбавленный газ. Это добавочное количество газа подается через включенный
резервный вентилятор или эжектор, так чтобы достаточное количество разбавленного
газа поступало в верхнее пространство над уровнем серы. В этом отношении было
найдено, что нет необходимости устанавливать дорогие анализаторы для измерения
H2S в отводящем газе.
Изобретение не будет далее понятным без пояснений к рисункам.
На рисунке 4.3 и 4.7 представлены два варианта изобретения.
На рисунке 4.3 жидкая сера подается по линии 1 в дегазирующее
пространство 2, которое разделено на отсеки 3, 4 и 5. Материальная линия 1
оканчивается в нижней части отсека 3, который включает газирующее пространство
(подотсек) 6, образованное свободным устроенным сосудом 7, поддерживаемым,
например, ножками, который открыт снизу и сверху.
Дегазирующие отсеки 3, 4 и 5 разделены перегородками 8 и 9.
Существенно, что перегородка 8 разделяет два отсека, так что здесь нет
свободной связи между первым отсеком 3 и вторым отсеком 4. Сера из отсека 3
течет через перегородку 8 во второй отсек 4. Количество газа контролируется в
пропорции к исходной сере посредством счетчика расхода 11 и контрольного канала
12. Газ подается по линии 14 и 15 в распределитель 13 первого газирующего
пространства. Газ нагревается нагревательным элементом 16. Сера, которая
дегазируется, циркулирует через стенки сосуда 7 благодаря движущей силе
поднимающегося газа и благодаря разнице средних удельных весов между серой и
газом внутри сосуда и серой вне сосуда, так называемая подъемная сила серы.
Результатом этого является достаточное перемешивание серы и газа. Сера в первом
отсеке нагревается до желаемой температуры посредством парового змеевика 17.
Второй отсек 4 содержит газовое пространство 18, подобное тому, как в отсеке 3,
тоже состоящее из сосуда 19, распределителя отводящего газа 20 и парового
змеевика 21. Отводящий газ подается по линии 22 и нагревается нагревательным
элементом 23. Дегазируемая сера из отсека 4 течет через перегородку 9 в отсек
5. Отсек 5 также имеет паровой змеевик 24 и снабжен погружным насосом 25,
который качает дегазируемую серу по линии 26 в хранилище или емкость для
транспортировки. Остаточный газ экстрагируется по линии 27, которая включает
нагревательный элемент 28, с эжектором 29. Газ для разбавления подается через
линию 35. Эжектор приводится в действие паром по линии 30, остаточный газ
выгружается на завод регенерации серы или на последующее сжигание по линии 31.
В перегородке 9, в которую жидкость перетекает сверху, сразу
выше дна в дегазирующем пространстве 2 устроен запорный клапан 32. Запорный
клапан 32 в нормальном состоянии может быть закрыт, если желательно, или открыт
так, что отсеки 4 и 5 соединены. Запорный клапан 32 может открываться и
закрываться посредством стержня 33.
Альтернативно, отводящий газ может подаваться по линии 14
вентилятором 34 в том случае, если дегазация в дегазирующем пространстве 2
проводится при избыточном давлении. В этом случае остаточный газ выгружается
прямо через линию 31 и эжектор 29 не нужен.
На рисунке 4.7 жидкая сера, полученная с завода регенерации
серы, поступает через линию 1 в дегазирующее пространство 2, которое включает
два газирующих пространства 6 и 18. Каждое пространство для газообразования
состоит из сосуда 7 и 19 соответственно с расположенными под ними
распределителями газа 13 и 20 соответственно. Сосуды снабжены перегородками 50
и 51 соответственно, которые распространены от стенки до стенки дегазирующего пространства
2. Эти перегородки 50 и 51 делят дегазирующее пространство 2 на три отсека 3, 4
и 52. Эти перегородки 50 и 51 затем делят сосуды 7 и 19 на две части.
Сера, текущая в отсек 3 по линии 1, течет через отверстия 53
и 54, соответственно устроенные в перегородках 50 и 51, соответственно на
уровне нижней стороны сосудов 7 и 19, соответственно в следующий отсек 4 и
далее в отсек 52 соответственно.
Дегазация происходит в пространствах для газообразования 6 и
18 при интенсивном перемешивании газом, что приводит к образованию так
называемой подъемной силы серы. Количество газа, которое подается в
дегазирующее пространство по линии 14, контролируется посредством счетчика
расхода 11 и контрольным клапаном 12 в пропорции к количеству загруженной серы.
Газ поставляется по линиям 15 и 22 соответственно в распределители газа 13 и 20
соответственно. Газ предварительно нагревается в нагревательных элементах 16 и
23 соответственно.
Сера циркулирует через верх стенки сосудов 7 и 19 под
действием движущей силы поднимающегося газа и разницы в молекулярном весе между
обогащенной газом серы внутри сосуда и не обогащенной газом серы вне сосуда.
Уровень серы в дегазирующем пространстве 2 поддерживается
перегородкой 9. Сера течет через эту перегородку в насосный отсек 5, который
включает насос 25, чтобы качать серу по линии 26 в хранилище или в транспортные
емкости. Остаточный газ выгружается по линии 27, которая включает
нагревательный элемент 28. Остаточный газ экстрагируется с помощью эжектора 29,
который приводится в действие паром 30. Остаточный газ выгружается по линии 31
на завод регенерации серы или на последующее сжигание соответственно.
Разбавленный газ подается по линии 35.
Отсеки 3, 4, 52 и 5 снабжены паровыми змеевиками 17, 21, 55 и
24.
В перегородке 9, через которую жидкость перетекает сверху,
сразу выше дна, устроен запорный клапан 32.
Запорный клапан 32 в нормальном состоянии закрыт и может быть
открыт и закрыт с помощью стержня 33.
Альтернативно, отводящий газ может поставляться по линии 14
вентилятором 34 в случае, когда дегазация в дегазирующем пространстве 2
проводится при повышенном давлении. В этом случае остаточный газ выгружается
непосредственно по линии 31 и эжектор 29 не устанавливается
Рисунок 4.4 и рисунок 4.10 относятся к двум моделям
использования непрерывных перегородок, обеспечивающих вверху перелив жидкой
серы. Принцип разделения отсеков и подотсеков показан на рис 4.9 и рис 4.10.
Рисунок 4.5 показывает в перспективе конструкции модели рис 4.9.
Аналогично, рис 4.6, 4.8 показывают модели, в которых сера
течет к следующему отсеку через отверстие в стенках перегородки.
Модель, которая не показана, может состоять из систем,
согласно рис 4.9, в котором вместо U-образной секции вокруг сосудов установлены
только боковые перегородки сбоку сосудов.
Жидкая сера, полученная с завода регенерации серы, содержащая
сероводород и полисульфиды с температурой 150oС, была пропущена
через дегазирующее пространство, состоящее из пяти объемов для газообразования,
снабженных квадратными сосудами, каждый из которых имеет распределитель
отводящего газа. Для извлечения использован воздух. Во время первых опытов
перегородки не были установлены, поэтому объемы для газообразования были
связаны между собой. Были проведены серии опытов, в которых количество
подаваемой серы и количество отводящего газа соответственно варьировались.
Те же самые серии опытов были затем осуществлены при тех же
условиях и в том же самом дегазирующем пространстве, но теперь с перегородками,
как это описано в предпочтительной модели, например, с перегородками, которые
установлены от стенки до стенки и разделяют сосуды на две части (рисунок 4.7).
Остаточное содержание сероводорода и полисульфидов в дегазируемой сере
анализировалось согласно известному способу. Результаты представлены в таблицах
4.2 и 4.3
Таблица 4.2 - Обзор результатов, проведенных в дегазирующем
пространстве без перегородок
|
№ опыта
|
Подача жидкой серы, кг/час
|
Подача отводящего воздуха, кг/час
|
Число аэрирующих пространств
|
Время дегазации
|
Отношение воздуха к сере
|
Остаток H2S/H2Sx
дегазованной сере, по весу
|
|
11
|
37500
|
1838
|
5
|
12.0
|
0.0409
|
8
|
|
22
|
39800
|
919
|
5
|
11.3
|
0.0231
|
92
|
|
33
|
52500
|
1404
|
5
|
8.6
|
0.0268
|
62
|
|
С перегородками
|
|
44
|
37500
|
1838
|
5
|
12.0
|
0.0490
|
1
|
|
55
|
39800
|
919
|
5
|
11.3
|
0.0231
|
39
|
|
66
|
52500
|
1404
|
5
|
8.6
|
0.0268
|
31
|
|
|
|
|
|
|
|
|
|
Таблица 4.3 - Обзор опытов в дегазирующем пространстве,
согласно предпочтительной модели
|
№ опыта
|
Подача жидкой серы кг/час
|
Подача отводя щего газа кг/час
|
Число газообра зующих прост ранств
|
Время дегози рования час
|
Отношение воздуха к сере
|
Отношение H2S/H2Sx
в дегазирован ной сере
|
|
7
|
33300
|
1877
|
5
|
13.5
|
0.0563
|
2
|
|
8
|
41700
|
1819
|
5
|
10.8
|
0.0437
|
3
|
|
9
|
50000
|
1838
|
5
|
9.0
|
0.0368
|
10
|
|
10
|
50300
|
1838
|
5
|
9.0
|
0.0366
|
6
|
|
11
|
56300
|
2936
|
5
|
8.0
|
0.0522
|
6
|
|
12
|
75000
|
3485
|
5
|
6.0
|
0.0466
|
14
|
|
13
|
30000
|
1608
|
3
|
15.0
|
0.0536
|
7
|
|
14
|
33300
|
1647
|
3
|
13.5
|
0.0494
|
2
|
|
15
|
41700
|
1608
|
3
|
10.8
|
0.0386
|
5
|
|
16
|
50000
|
1628
|
3
|
9.0
|
0.0326
|
17
|
|
17
|
56300
|
2936
|
3
|
8.0
|
0.0522
|
8
|
|
18
|
37500
|
1168
|
2
|
12.0
|
0.0312
|
25
|
|
19
|
41300
|
727
|
1
|
10.9
|
0.0176
|
70
|
Глава 5.
Обеспечение охраны труда и техники безопасности
В окружении человека находятся тысячи разлтчных химических
соединений, способных негативно отразиться на его здоровье и работоспособность.
На любом производстве имеют дело с большим количеством разнообразных химических
веществ, являющихся в той или иной мере вредными веществами. В процессе
трудовой деятельности человек подвергается большой опасности. Для защиты
человека от производственной опасности предусмотрена система охраны труда.
Работники ОПЧС должны владеть навыками безопасного ведения
аварийно-спасательных и других неотложных работ, а также тушения пожаров в различных
условиях.
Заболеваемость, травматизм и порой смертность среди личного
состава подразделений по чрезвычайным ситуациям находиться в прямой зависимости
от особенностей служебной деятельности, характера выполняемых функций по
ликвидации чрезвычайных ситуаций и от обеспечения безопасных условий и охраны
труда, которое является одним из основных критериев оценки деятельности
руководителей ОПЧС РБ.
Поэтому, проявляя заботу о подчиненных, о сохранении их
здоровья и жизни, каждый начальник должен предъявлять высокую требовательность
в строгом соблюдении ими правил охраны труда на всех этапах боевой работы по
тушению пожаров.
В данной работе наибольшая опасность исходит из химически
опасного вещества - сера. Сера по характеру воздействия на организм человека
относится к группе прижигающих и раздражающих кожу и слизистую оболочку,
поражает кожные покровы с образованием нарывов и язв. Опасность серы - это
вероятность возникновения вредных для здоровья последствий, являющихся
результатом контакта с веществом в нашем случае с серой в реальных
производственных условиях.
Вредные химические вещества могут поступать в организм
работающих через органы дыхания, желудочно-кишечный тракт, кожный покров и
слизистые оболочки. Статистика профессиональных заболеваний показывает, что
промышленных отравлений связано с проникновением вредных веществ через органы
дыхания в виде пыли, газа, паров и тумана. Всасывание через дыхательную систему
относится к наиболее быстрому пути поступления вредных веществ в различные
органы и системы. На скорость проникновения вредных веществ из воздуха в кровь
также влияет их растворимость в воде.
Для оценки вредности и уровня безопасности химического
вещества в воздухе рабочей зоны устанавливается его предельно допустимая
концентрация (ПДК).
Предельно допустимая концентрация вредных веществ в воздухе
рабочих помещений устанавливается на основании специальных исследований и
результатов профессиональных осмотров рабочих и утверждается Министерством
здравоохранения. Величины ПДК приведены в Санитарных нормах, правилах и
гигиенических нормативах "Перечень регламентированных в воздухе рабочей
зоны вредных веществ".
Для ряда вредных веществ нормируется предельно допустимый
уровень загрязнения кожи работающих (мг/см2), представляющий собой
количество вредного вещества для всей поверхности кожного покрова, которое при
ежедневной работе (кроме выходных дней) в течение 8 ч и не более 40 ч в неделю
на протяжении всего рабочего стажа не должно вызывать заболеваний или
отклонений в состоянии здоровья, обнаруживаемых современными методами
исследований, в процессе работы или в отдаленные сроки жизни настоящего или
последующего поколений.
Контроль состояния воздушной среды производственных помещений
проводиться по графику, утвержденному главным инженером предприятия. Отбор проб
воздуха производиться в рабочей зоне на расстоянии 0,5 метра от источников
выделения вредных веществ в условиях действующих приточно-вытяжной вентиляции
вне действия приточной вентиляции и открытых окон.
Лабораторные методы очень точны и дают возможность определить
микроколичества токсичных веществ в воздухе. В этом случае проба воздуха
отбирается в производственном помещении, а анализируется в лаборатории. Однако
они требуют значительного времени и применяются главным образом в
исследовательских работах. Для этой цели используют различные методы
химического (фотоколориметрия, спектроскопия, кулонометрия, хроматография,
полярография и др.) анализа.
Мероприятия по предупреждению производственных отравлений и
профессиональных заболеваний предусмотрены различными действующими ТНПА. Для
обеспечения необходимого качества воздуха в рабочей зоне производственных
помещений при разработке и организации технологических процессов и
коструирования оборудования требуется выполнение ряда инженерно-технических, санитарно-технических,
организационно-технических и другтх мероприятий.
К инженерно-техническим мероприятиям относятся:
рационализация технологических процессов, устраняющая
образование пыли, паров и газов или удаляющая вредные вещества из
технологического процесса;
замена вредных веществ безвредными или менее вредными;
замена сухих способов переработки пылящихся материалов
мокрыми;
обеспечение непрерывности технологических процессов;
использование гидро - и пневмотранспорта при транспортировке
вредных и пылящих материалов;
применение различных способов пылеподавления;
максимальная комплексная механизация и автоматизация
технологических процессов с применением дистанционного управления;
автоблокировка технологического оборудования и
санитарно-технических устройств;
герметизация промышленного оборудования;
тепловая изоляция нагретых поверхностей оборудования,
материалопроводов, воздуховодов, защита рабочих мест от конвекционной и
лучистой теплоты;
использование газоанализаторов и газосигнализаторов,
связанных с автоматической системой защиты (автоблокировка, аварийная
вентиляция и др.);
улавливание и нейтрализация промышленных выбросов.
К организационно-техническим мероприятиям относятся:
гигиеническая стандартизация химического сырья и продукции,
например ограничение содержания химических веществ;
организация систематического санитарно-химического контроля
воздуха рабочей зоны;
Санитарно-бытовое и лечебно-профилактическое обеспечение
работающих;
организация надежной вентиляции производственных и бытовых
помещений;
Средства защиты работающих от воздействия вредных веществ
Средства защиты работающих - это средства, применение которых
предотвращает или уменьшает воздействие на работающих опасных и (или) вредных
производственных факторов.
Средства защиты делятся на коллективные и индивидуальные.
Коллективные средства - это средства защиты, конструктивно и
(или) функционально связанные с производственным оборудованием,
производственным процессом, производственным помещениям или производственной
площадкой. Они обеспечивают защиту всех работающих на участке и предусматривают
нормализацию воздушной среды производственных помещений и рабочих мест
посредством функционирования систем вентиляции, оборудования для локализации
воздействий вредных факторов; систем защиты от воздействия химических факторов;
оградительных и герметизирующих устройств; средств автоматического контроля и
сигнализации и др.
Индивидуальный средства защиты - представляют собой средства,
надеваемые на тело человека или его части или используемые им, т. e. средства,
применяемые лично самим рабочим для предотвращения или уменьшения воздействия
на него опасных и вредных производственных факторов.
Средства индивидуальной защиты подразделяются на следующие
виды:
изолирующие костюмы (пневмокстюмы, гидроизолирующие костюмы,
скафандры);
средства защиты органов дыхания;
специальная одежда;
специальная обувь;
средства защиты рук;
средства защиты головы;
средства защиты глаз;
средства защиты лица;
защитные дерматологические средства;
предохранительные приспособления.
ЭКОНОМИЧЕСКИЕ ЗАТРАТЫ НА ОБЕСПЕЧЕНИЕ БЕЗОПАСНОСТИ
ТЕХНОЛОГИЧЕСКОГО ПРОЦЕССА ДЕГАЗАЦИИ ЖИДКОЙ СЕРЫ
Для оценки экономических затрат использования способа
дегазации жидкой серы
Удаление сероводорода (H2S) и полисульфидов
водорода (H2Sx), растворённых в жидкой сере.
Безопасность: сероводород является очень токсичным и
взрывоопасным газом. Смертельной является концентрация 600 объемных частей на
миллион, а взрывоопасная концентрация составляет примерно 3,5% об. Растворенный
H2Sx разлагается, а при хранении, во время погрузки и разгрузки, а
также транспортировки происходит выделение H2S, что приводит к
потенциально опасным условиям.
Предлагаемый способ дегазации жидкой серы непосредственно из
емкости сбора установки, откачивая ее насосом в специальную емкость дегазации,
в которой установлены насосы для перемешивания и разбрызгивания ее через
форсунки. В качестве катализатора используют аммиак.
Экономические затраты З, рассчитываем по формуле 5.1
(5.1)
где:
- затраты необходимые на приобретение одного килограмма
катализатора который задействован в данном способе;
N -
необходимое количество (кг) требуемого катализатора на год
Из этого можно сделать вывод, что в данном техническом решении
основные затраты потребуются на приобретение необходимого катализатора в
требуемом объеме для данного решения, затраты составляют 9520000 рублей в год.
Заключение
Цель настоящей работы заключается в самостоятельной работе, систематизации,
закреплении и углублении теоретических и практических знаний по избранной
специальности, применение их для решения конкретных задач. Необходимость
развития навыков ведения экономического анализа и овладение методикой научного
исследования, развитие навыков обобщения и анализа результатов, полученных
другими исследователями или разработчиками, изучение литературных источников в
соответствующей области знаний. Для достижения указанной цели перед работой
были поставлен ряд задач в соответствии с учебной программой и по просьбе
администрации ОАО "Гомельский химический завод" необходимости анализа
особенностей процесса плавления серы и система контроля температуры расплава
серы при ее транспортировке в отделение плавления цеха серной кислоты ОАО
"Гомельский химический завод". По анализу особенностей процесса
плавления серы и система контроля температуры расплава серы при ее
транспортировке в отделение плавления цеха серной кислоты ОАО "Гомельский
химический завод" в работе показано, что сера - вещество требующее
повышенного внимания и контроля при использовании ее в производстве, а именно
при ее транспортировке и плавлении, что является созданием необходимых условий
в технологическом процессе, а также применение новых технологических решений по
улучшению контроля температуры для обеспечения стабильной работы
технологического процесса в современных условиях. При проведении анализа
процесса плавления серы предложены мероприятия по совершенствованию и улучшению
плавления серы и поддержания необходимой температуры в системе контроля
расплава серы при ее транспортировке. Проанализированы причины возгорания серы
и разработаны методы их прекращения.
Таким образом, задачи решены в полном объеме, цель
достигнута.
Список
использованных источников
1.
Грунвальд В.Р. Технология газовой серы. - МВД Минск; 1992.
.
Способ очистки жидкой серы: патент ПМК C01B17/00; № 2206497 РФ, МПК C01B 17/02,
2000 г. Заявитель Общество с ограниченной ответственностью
"Астраханьгазпром". Заявлено 08.01.2002; опублтковано 20.06.2003.
.
Островский А. М.; Желдак К. В.; Медведев В. И.; Наперов В.В. ИПК Издательство
стандартов № 1996; ГОСТ 127.5-95 Сера техническая
.
Инструкция 2-П-60 по эксплуатации розлива жидкой серы и погрузки комовой серы
У-936 текст по состоянию на 11.06.97).
.
Поставка химической продукции [Электронный ресурс]
http://www.himsnab-spb.ru/article/ps/s/
.
Способ плавления серы: № 2010138665/07,; заявлено 25.03.2009 опубликовано
10.05.2011
.
Нагревательный элемент с датчиком температуры: 2007/131271 А1 WO, МПК H05B3/14;
заявлено 25.03.2009; опубликовано 10.05.2012.
.
Контроль высокотемпературных процессов: патент ЕР 1370497 В1; Заявитель:
Уральский филиал всесоюзного теплотехнического научно-исследовательского
института им.Ф.Э. Дзержинского, Заявка: 4052324, 08.04.1986, опубликовано:
30.01.1988.
.
Свойства серы: патент № 2000108645/28, 06.04.2000. DE 2224419 А1, заявлено
06.09.1979, опубликовано 14.10.1981.
.
Способ и аппаратура для дегазации серы: патент Vol.70, No.1, 234-238 Physical
Chemistry; заявитель Rosemary C. Doppel, заявлено 16.09.1996; опубликовано
27.02.2002.
.
Технология нагрева серы: патент № 4845784/01, патентообладатель Societe
Nationalle des Petroles d'Aquitaine; заявлено 8.04.1974, опубликовано 6.04.1976
.
Заявка № 2000108645/28, 06.04.2000. DE 2764419 А1, заявлено 07.09.1979.,
опубликовано 18.10.1981.
.
Лебедева О.А. Производство и промышленные технологии. 2006 г.
.
Катализатор для получения серы, патент № 95113137, Патентный поверенный: Кобря
Н.В. Заявка: 95113137/04, заявлено 17.04.1995 опубликовано 20.07.1996
.
Островский А. М.; Желдак К. В.; Медведев В. И.; Наперов В.В. ИПК Издательство
стандартов № 1996; ГОСТ 127.5-95 Сера техническая.
.
"Правила пожарной безопасности при эксплуатации предприятий химической
промышленности". ППБО-103-79. Утверждено
Министерством
химической охраны МВД от 29 мая 1979 г.
.
Особенноости плавления серы: патент № 3807141 and 3920424 заявлено 10.03.2002,
опубликовано 12.04.2003.
.
Способ выделения динитротолуола: патент ND 173735, ПМК С 07с; заявитель
патентно-техническая организация; заявка № 93277, заявлено 7.12.2004;
опубликовано 4.07.2005.
.
Грант № 06/812,850 DD-A 292635; заявитель: Rosemary C. Doppel, заявлено
3.01.2002, опубликовано 10.06.2003.
.
Устройство дегазации серы: патент № 47358743; WO-A (95/06616) заявитель: Kabushiki
Kaisha Saikousha,Kasugai; заявлено 25.01.1999; опубликовано 6.12.2001.
.
Европейская патентная заявка. Патентообладатель Karl Storz Gmbh & Co. Kg.
Грант Номер заявки 29/379,029 № 655414; Заявлен 12 ноя 2010; опубликовано 6 мар
2012.