Переход от ТФОП к сети NGN города Новокузнецка

  • Вид работы:
    Дипломная (ВКР)
  • Предмет:
    Информатика, ВТ, телекоммуникации
  • Язык:
    Русский
    ,
    Формат файла:
    MS Word
    1021,74 Кб
  • Опубликовано:
    2014-03-06
Вы можете узнать стоимость помощи в написании студенческой работы.
Помощь в написании работы, которую точно примут!

Переход от ТФОП к сети NGN города Новокузнецка

Содержание

Введение

. Общее описание NGN

.1 Краткая характеристика оборудования применяемого на сети NGN

.1.1 Описание и функции Softswich

.1.2 Поддерживаемые протоколы оборудования Softswich

.1.3 Шлюзы, разновидность и функции

.1.4 Характеристики шлюзов

.2 Базовая концепция NGN

.3 Описание транспортного уровня NGN

.4 Описание уровня управления коммутацией и обслуживанием вызова

.5 Описание уровня услуг и управления услугами

.6 Организация доступа к услугам NGN

.6 Организация доступа к услугам NGN

. Характеристика существующей сети ТГТС

.1 Структурная схема действующей сети

.2 Состояние станций города Новокузнецка

. Расчет оборудования

.1 Расчет транспортного ресурса для передачи пользовательского трафика

.2 Расчет оборудования Softswitch

.3 Расчет транспортного ресурса для передачи сигнального трафика

.4 Расчет транспортного ресурса для взаимодействия маршрутизаторов пакетной сети

.4.1 Определение числа маршрутизаторов сети и схемы организации связи

.4.2 Определение требуемой производительности маршрутизаторов пакетной сети

.4.3 Определение емкостных параметров подключения

. Общие положения

.1 Содержание рабочего проекта

. Обзор спектра интеллектуальных услуг и определение первоочередных услуг

.1 Структура современного телекоммуникационного рынка

.2 Прогноз экономической эффективности внедрения услуг IN

.3 Анализ услуг с добавленной стоимостью

.3.1 Услуга бесплатный вызов

.3.2 Услуга конференц-вызова

.3.3 Телеголосование

.3.4 Услуга универсального почтового ящика

.4 Определение первоочередных услуг

. Выбор оборудования и схема получившейся сети

.1 Состав оборудования

.2 Расчет капитальных затрат на реализацию проекта

.3 Операционные затраты

.4 Показатели экономической эффективности проекта

.5 Требования к рабочим местам

.6 Требования к микроклимату

.7 Требования по электробезопасности

Заключение

Список литературы

Введение

Динамично развивающийся рынок телекоммуникаций формирует новое социальное пространство и новые стандарты жизни. Каждый шаг вперед, каждая ступень вверх требуют все более сложных, высокотехнологичных, инновационных и масштабных решений.

В последние годы во взаимоотношениях клиентов и операторов при предоставлении телекоммуникационных услуг происходят значительные изменения. На мировом телекоммуникационном рынке ярко проявилась тенденция, когда темпы роста доходов от предоставления дополнительных услуг связи существенно превышают рост доходов от традиционных услуг сетей связи общего пользования (собственно от обеспечения коммутируемых соединений).

В России доходы от предоставления базовых услуг сильно ограничены рядом специфических причин в виде регулирующих решений органов власти, ограниченного платежеспособного спроса и т.п. Операторы в существующих экономических условиях вынуждены интенсивнее искать источники новых доходов. И один из способов повысить конкурентоспособность и увеличить доходы - внедрение новых видов услуг, пользующихся наибольшей популярностью

Внедрение сетей нового поколения NGN (Next Generation Networks) требует значительных финансовых затрат. Каждый оператор или поставщик услуг стремиться максимально эффективно вложить средства, обеспечить минимальный срок окупаемости затрат и высокую рентабельность новых услуг. Для успешного решения данной задачи необходима разносторонняя оценка экономической эффективности внедряемых технологий и  услуг, по крайней мере, на ближайшую перспективу с учетом конкретных особенностей региональной системы телекоммуникаций.

Сеть NGN эффективно преодолевает разделения между различными уровнями традиционной сетевой инфраструктуры. В результате все эти уровни получают возможность пользоваться общими средствами управления и доставки услуг, что резко сокращает среднюю стоимость услуги.

Сети нового поколения NGN созданы для того, чтобы преодолеть архитектурные ограничения, свойственные традиционным фиксированным телефонным сетям. Это достигается за счет реорганизации сетевой архитектуры, выделения нового уровня управления услугами, слияния телефонии и информационных технологий, и использования открытых протоколов. Кроме того, от этих сетей ждут поддержки новых услуг с добавленной стоимостью, привлекательных как для абонентов, так и для операторов. Новые сети включают в свой состав все компоненты, необходимые для удовлетворения самых разных потребностей конечных пользователей.- это революция, которая уже идет и будет идти по нарастающей, через череду подходов и технологий. Но поскольку NGN интеллектуально насыщенная технология, ведущие позиции в новой революции будут иметь те операторы, которых лучшее инженерное звено. Конкуренция в NGN - это состязание умов, а не железок или денег.

1. Общее описание NGN

.1 Краткая характеристика оборудования применяемого на сети NGN

Схема классификации оборудования для NGN представлена на рис. 1.1.

Рис. 1.1 - Классификация типов оборудования NGN

.1.1 Описание и функции Softswich- реализует функции по логике обработки вызова, доступу к серверам приложении, доступу к ИСС. сбору статистической информации, тарификации, сигнальному взаимодействию с сетью ТфОП и внутри пакетной сети, управлению установлением соединения и др. Softswich является основным устройством, реализующим функции уровня управления коммутацией и передачей информации.

В оборудовании Softswich должны быть реализованы следующие основные функции:

§    функция управления базовым вызовом, обеспечивающая прием и обработку сигнальной информации и реализацию действий по установлению соединения в пакетной сети:

§  функция аутентификации и авторизации абонентов, подключаемых в пакетную сеть как непосредственно, так и с использованием оборудования доступа ТфОП;

функция маршрутизации вызовов в пакетной сети;

§    функция тарификации, сбора статистической информации:

§  функция управления оборудованием транспортных шлюзов;

§    функция предоставления ДВО. Реализуется в оборудовании Softswich или совместно с сервером приложений: функция ОАМ&Р: эксплуатация, управление (администрирование), техническое обслуживание и предоставление той информации, которая не нужна непосредственно для управления вызовом и может:

§    передаваться к системе управления элементами через логически отдельный интерфейс;

§  функция менеджмента: обеспечивает взаимодействие с системой менеджмента сети.

Дополнительно в оборудовании Softswich могут быть реализованы следующие функции:

§  функция SP STP сети ОКС7;

§  функция предоставления расширенного списка ДВО. Реализуется самостоятельно или с использованием серверов приложений;

§  функция взаимодействия с серверами приложений;

§  функция SSP;

другие.

Рассмотрим основные характеристики Softswich.

Производительность - как максимальное количество обслуживаемых базовых вызовов за единицу времени (как правило, за час). Производительность Softswich является одной из главных характеристик, на основе которой должен проводиться выбор оборудования и проектирование сети. Следует понимать, что Softswich обслуживает вызовы от различных источников нагрузки, каковыми являются:

§     вызовы от терминалов, предназначенных для работы в сетях NGN (терминалы SIP и Н.323, а также IР-УПАТС);

§     вызовы от терминалов, не предназначенных для работы в сетях NGN (аналоговые и ISDN терминалы) и подключаемых через оборудование резидентных шлюзов доступа;

§     вызовы от оборудования сети доступа, не предназначенного для работы в сетях NGN (концентраторы с интерфейсом V5) и подключаемого через оборудование шлюзов доступа:

§    вызовы от оборудования, использующего первичный доступ (УПАТС) и подключаемого через оборудование шлюзов доступа:

§    вызовы от сети ТфОП, обслуживаемые с использованием сигнализации ОКС7. с включением сигнальных каналов ОКС7 либо непосредственно в Softswich, либо через оборудование сигнальных шлюзов:

§    вызовы от других Softswich, обслуживаемые с использованием сигнализации SIP-T.

Функциональная схема Softswich представлена на рис. 1.2.

Производительность оборудования Softswich различна при обслуживании вызовов от различных источников, что объясняется как различным объемом и характером поступления сигнальной информации от разных источников, так и заложенными алгоритмами обработки сигнальной информации.

Рис. 1.2 - Функциональная схема Softswich

При проектировании сети NGN в части возможностей Softswich важно иметь наиболее полную информацию о производительности для различных видов нагрузки, а также для смешанных типов нагрузки при различных долях каждого из видов.

Надежность - свойство объекта сохранять во времени и в установленных пределах значения всех параметров и способность выполнять требуемые функции в заданных режимах и условиях применения. Требования по надежности к оборудованию Softswich характеризуются средней наработкой на отказ, средним временем восстановления, коэффициентом готовности, сроком службы. При проектировании сети следует понимать, что выход из строя Softswich приведет к пропаже всех видов связи в обслуживаемом сетевом фрагменте (домене); поэтому должны быть предусмотрены меры по обеспечению дублирования и защиты оборудования.

1.1.2 Поддерживаемые протоколы оборудования Softswich

Оборудование Softswich может поддерживать следующие виды протоколов.

§  При взаимодействии с существующими фрагментами сети ТфОП:

§  непосредственное взаимодействие: ОКС7 в части протоколов МТР, ISUP и SCCP;

§  взаимодействие через сигнальные шлюзы: M2UA. M3UA. М2РА для передачи сигнализации ОКС7 через пакетную сеть: V5UA для передачи сигнальной информации V5 через пакетную сеть: IUA для передачи сигнальной информации первичного доступа ISDN через пакетную сеть;

§  MEGACO (Н.248) для передачи информации, поступающей по системам сигнализации по выделенным сигнальным каналам (2ВСК). В настоящее время известны подобные реализации в части системы сигнализации R1; требований и примеров реализации MEGACO для  поддержки российской системы сигнализации R1.5 не существует.

§  При взаимодействии с терминальным оборудованием: непосредственное взаимодействие с терминальным оборудованием пакетных сетей: SIP и Н.323;

Взаимодействие с оборудованием шлюзов, обеспечивающим подключение терминального оборудования ТфОП: MEGACO (H.248) для передачи сигнализации по аналоговым абонентским линиям: IUA для передачи сигнальной информации базового доступа ISDN.

§     При взаимодействии с другими Softswich: SIP-T.

При взаимодействии с оборудованием интеллектуальных платформ (SCP): INAP.

При взаимодействии с серверами приложений: в настоящее время взаимодействие с серверами приложений, как правило, базируется на внутрифирменных протоколах, в основе которых лежат технологии JAVA, XML, SIP и др.

При взаимодействии с оборудованием транспортных шлюзов:

для шлюзов, поддерживающих транспорт IP или IP/ATM: H.248. MGCP, IPDC и др.:

для шлюзов, поддерживающих транспорт ATM: BICC.

.1.3 Шлюзы, разновидность и функции

Шлюзы (Gateways) - устройства доступа к сети и сопряжения с существующими сетями. Оборудование шлюзов реализует функции по преобразованию сигнальной информации сетей с коммутацией пакетов в сигнальную информацию пакетных сетей, а также функции по преобразованию информации транспортных каналов в пакеты IP ячейки ATM и маршрутизации пакетов IP ячеек ATM. Шлюзы функционируют на транспортном уровне сети.

Для реализации возможности подключения к мультисервисной сети различных видов оборудования ТфОП используются различные программные и аппаратные конфигурации шлюзового оборудования:

§  транспортный шлюз [Media Gateway (MG)] - реализация функций преобразования речевой информации в пакеты IP/ячейки ATM и маршрутизации пакетов IР ячеек ATM;

§  сигнальные шлюзы [Signalling Gateway (SG)] - реализация функции преобразования систем межстанционной сигнализации сети ОКС7 (квазисвязный режим) в системы сигнализации пакетной сети [SIGTRAN (MxUA)];

§  транкинговый шлюз [Trunking Gateway (TGW)] - совместная реализация функций MG и SG;

§  шлюз доступа [Access Gateway (AGW)] - реализация функции MG и SG для оборудования доступа, подключаемого через интерфейс V5:

§  резидентный шлюз доступа [Residential Access Gateway (RAGW)] - реализация функции подключения пользователей, использующих терминальное оборудование ТфОП/ЦСИС. к мультисервисной сети.

Оборудование транспортного шлюза должно выполнять функции устройства, производящего обработку информационных потоков среды передачи.

Оборудование транспортного шлюза должно реализовывать следующий перечень обязательных функций:

§   функцию адресации: обеспечивает присвоение адресов транспортировки IP для средства приема и передачи:

§  функцию транспортировки: обеспечивает согласованную транспортировку потоков среды передачи между доменом IP и доменом сети с коммутацией каналов, включая, например, выполнение процедур преобразования кодировок и эхокомпенсации;

§  функцию трансляции кодека: маршрутизирует информационные транспортные потоки между доменом IP и доменом сети с коммутацией каналов:

§  функцию обеспечения секретности канала среды передачи: гарантирует секретность транспортировки информации в направлении к шлюзу и от шлюза:

§  функцию транспортного окончания сети с коммутацией каналов: включает реализацию процедур всех низкоуровневых аппаратных-средств и протоколов сети;

§  функцию транспортного окончания сети пакетной коммутации: включает реализацию процедур всех протоколов, задействованных в распределении транспортных ресурсов, на сети пакетной коммутации, включая процедуры использования кодеков;

§  функцию обработки транспортного потока с пакетной коммутацией/коммутацией каналов: обеспечивает преобразование между каналом передачи аудио информации, каналом передачи факсимильной информации или каналом передачи данных на стороне сети с коммутацией каналов и пакетами данных (например. RTP/UDP IP или ATM) на стороне сети пакетной коммутации;

§   функцию предоставления канала для услуги: обеспечивает такие услуги, как передача уведомлений и тональных сигналов в направлении к сети с коммутацией канатов или к сети пакетной коммутации;

§   функцию регистрации использования: определяет и/или регистрирует информацию о сигнализации и/или информацию о приеме или передаче сообщений, передаваемых в транспортных потоках;

§  функцию информирования об использовании: сообщает внешнему объекту о текущем и/или зарегистрированном использовании (ресурсов):

§  функцию ОАМ&Р: эксплуатация, управление (администрирование), техническое обслуживание и предоставление той информации, которая не нужна непосредственно для управления вызовом и может передаваться к системе управления элементами через логически отдельный интерфейс:

§  функцию менеджмента: обеспечивает взаимодействие с системой менеджмента сети.

§  Оборудование сигнального шлюза должно выполнять функции посредника при сигнализации между пакетной сетью и сетью с коммутацией каналов.

§  Оборудование сигнального шлюза сигнализации должно реализовывать следующий перечень обязательных функций:

§  функцию окончания протоколов уровня, располагающегося ниже уровня протокола управления вызовом сети с коммутацией каналов;

§  функцию секретности сигнальных сообщении: обеспечивает секретность сигнальных сообщений в направлении к шлюзу и от шлюза;

§   функцию ОАМ&Р: эксплуатация, управление (администрирование), техническое обслуживание и предоставление той информации, которая не нужна непосредственно для управления вызовом и может передаваться к системе управления элементами через логически отдельный интерфейс:

§   функцию менеджмента: обеспечивает взаимодействие с системой менеджмента сети.

.1.4 Характеристики шлюзов

Основными характеристиками шлюзов являются следующие:

§  Емкость, определяемая как в направлении ТфОП, так и в направлении к пакетной сети.

В направлении к ТфОП емкость определяется количеством подключаемых потоков Е1 в направлении сети ТфОП для транспортных шлюзов, а также количеством аналоговых абонентских линий и количеством U(S/Т) - интерфейсов для подключения абонентов базового доступа ISDN для резидентных шлюзов доступа.

В направлении к пакетной сети емкость определяется количеством и типом интерфейсов. Например, емкость в направлении пакетной сети может составлять один интерфейс Ethernet 100BaseT или пять интерфейсов IMA с использованием потоков ЕЗ.

§  Производительность. Как правило, производительность является достаточной для обслуживания потоков вызовов, определяемых емкостными показателями оборудования.

Протоколы. Оборудование шлюзов может поддерживать следующие протоколы.

Для транспортных шлюзов:

§  в направлении к Softswich: Н.248, MGCP, IPDC для управления вызовами при использовании транспортной технологии IP; BICC для управления вызовами при использовании транспортной технологии ATM;

§  в направлении к другим шлюзам или терминальному оборудованию пакетной сети: RTP/RTCP при использовании транс портной технологии IP: PNNI или UNI при использовании транспортной технологии ATM.

§  Для сигнальных шлюзов: в направлении к сети ТфОП: в зависимости от реализации возможна поддержка уровня МТР2 или МТРЗ системы сигнализации ОКС7. В первом случае сигнальный шлюз должен терминировать уровень МТРЗ и передавать всю «вышестоящую» информацию в направлении Softswich с использованием протокола M2UA. Во втором случае сигнальный шлюз должен терминировать уровень МТРЗ и передавать «вышестоящую» информацию в направлении Softswich с использованием протокола M3UA; в направлении к Softswich: в зависимости от используемых механизмов обработки ОКС7 могут поддерживаться M2UA или M3UA.

§    Для шлюзов доступа: в направлении к Softswich: для передачи сигнальной информации, связанной с обслуживанием вызова: V5UA при подключении оборудования сети доступа: MEGACO (Н.248) при подключении абонентов, использующих сигнализацию по аналоговой абонентской линии; IUA при подключении абонентов, использующих базовый доступа ISDN. Для передачи сигнальной информации управления шлюзами: Н.248. MGCP, IPDC;

- в направлении к другим шлюзам и терминальному оборудованию пакетной сети: RTP/RTCP;

в направлении к ТфОП: сигнализацию по аналоговым абонентским линиям, сигнализацию базового доступа ISDN в части протоков уровня 2 (LAP-D), сигнализацию по интерфейсу V5 в части протоколов уровня 2 (LAP-V5).

Поддерживаемые интерфейсы. Как правило, оборудование шлюзов поддерживает следующие интерфейсы:

§ транспортные шлюзы: в направлении к ТфОП поддерживаются интерфейсы PDH (E1) и/или SDH (STM1/4).

В направлении пакетной сети на основе IP технологий: интерфейсы семейства Ethernet от 10Base <10Ba.se> до Gigabit-Ethernet (l000Base), причем используемая среда передачи специфицируется отдельно. В направлении пакетной сети на основе ATM технологии: от IMA до NNI 4.0:

§  сигнальные шлюзы в направлении ТфОП в основном поддерживают интерфейс PDH (Е1). а в направлении пакетной сети - интерфейс l0Base Ethernet:

§  шлюзы доступа в направлении ТфОП поддерживают интерфейс по аналоговым абонентским линиям и интерфейсы базового доступа ISDN (U-, S-, S Т) для резидентных шлюзов и интерфейс PDH (E1) для шлюзов доступа, осуществляющих

§  подключения оборудования интерфейса V5. В направлении пакетной сети на основе IP технологий: интерфейсы 10-100Base Ethernet. В направлении пакетной сети на основе ATM технологий: интерфейсы IMA или UNI.

АТС с функциями MGC-оборудование АТС. в котором помимо функций коммутации канатов реализованы функции по коммутации пакетов, т.е. функции шлюзов и частично функция Softswich. Функционально к такому оборудованию одновременно предъявляются требования, определенные как для Softswich, так и для шлюзов.

С точки зрения технических характеристик (в пакетной части) для такого оборудования определяются требования по емкости, производительности, надежности, поддерживаемым протоколам и реализованным интерфейсам к пакетной сети.

Терминальное оборудование - терминальные устройства, используемые для предоставления голосовых и мультимедийных услуг связи и предназначенные для работы в пакетных сетях.

Существует два основных типа терминальных устройств, предназначенных для работы в пакетных сетях: SIP-терминалы и Н.323-термина-лы. Данное оборудование может иметь как специализированное аппаратное (standalone), так и программное исполнение (soft-phone).

Также иногда используется терминальное оборудование на основе протокола MEGACO. Такое терминальное оборудование совмещает в себе функции аналогового телефонного аппарата и шлюза доступа в части преобразования сигнализации по аналоговым абонентским линиям. Его функциональные возможности ограничиваются возможностями аналогового аппарата, но оно может непосредственно подключаться к пакетной сети.

Еще одним видом терминального оборудования являются интегрированные устройства доступа (IAD). Как правило, IAD обеспечивает подключение терминального оборудования сетей ТфОП (аналоговые ТА и терминалы ISDN) и терминального оборудования сетей передачи данных. В IAD реализуются функции по преобразованию протоколов сигнализации ТфОП в протоколы пакетных сетей (SIP/H.323) и преобразованию потоков пользовательской информации между сетями с коммутацией каналов и пакетными сетями. Ближайшей аналогией к IAD в сетях ТфОП является оборудование малых УПАТС.

Терминальное оборудование поддерживает протоколы SIP или Н.323 в направлении Softswich для передачи информации сигнализации и управления коммутацией и протоколы RTP/RTCP для передачи пользовательской информации. Для подключения к сети, как правило, используется Ethernet интерфейс.

Сервер приложений. Используется для предоставления расширенного списка дополнительных услуг абонентам пакетных сетей или абонентам, получающим доступ в пакетные сети. Сервера приложений предназначены для выполнения функций уровня услуг и управления услугами.

Спецификация выполняемых функций зависит от реализуемой с помощью сервера услуги группы услуг и не может быть сформулирована на абстрактном уровне.

Серверы приложений, как правило, взаимодействуют с оборудованием Softswich с использованием технологий JAVA. XML, OSP.

Подключение производится в основном с использованием интерфейсов, базирующихся на Ethernet.

.2 Базовая концепция NGN

Базовым принципом концепции NGN является отделение друг от друга функций переноса и коммутации, функций управления вызовом и функций управления услугами.

Функциональная модель сетей NGN может быть представлена тремя уровнями:

ü транспортный уровень;

ü  уровень управления коммутацией и передачей информации;

ü  уровень управления услугами.

Основной функцией транспортного уровня является коммутация и прозрачная передача информации пользователя.

Функцией уровня управления коммутацией и передачей является обработка информации сигнализации, маршрутизация вызовов и управление потоками.

Уровень управления услугами содержит функции управления логикой услуг и приложений и представляет собой распределенную вычислительную среду, обеспечивающую:

ü создание и внедрение новых услуг

ü  предоставление инфокоммуникационных услуг;

ü  взаимодействие различных услуг

ü  управление услугами;

Такое функциональное разделение позволяет унифицировать задачи управления вызовами, отделив их от особенностей применяемых технологий передачи и коммутации. В результате становится возможным использовать одну и ту же логику услуги в не зависимости от типа транспортной сети(IP, ATM, и т.д.), а также способа доступа. может быть охарактеризована как мультисервисная сеть, в связи с децентрализованным управлениями услугами. Ее основу составляет универсальная транспортная среда с распределенной коммутацией пакетов. Кроме традиционных сетевых узлов (мультиплексоров, коммутаторов и маршрутизаторов) в состав такой сети могут входить контроллеры сигнализации и шлюзов оборудование различного назначения. Доступ к услугам NGN, предоставляемым с помощью специализированных серверов, осуществляется через оконечные и оконечно-транзитные узлы, выполняющие функции узлов шлюз.

Рисунок 1.3 - Трехуровневая модель NGN

.3 Описание транспортного уровня NGN

Основу сети NGN составляет универсальная транспортная сеть, реализующая функции транспортного уровня и уровня управления коммутацией и передачей.

Транспортный уровень сети NGN строится на основе пакетных технологий передачи информации. Основными используемыми технологиями являются ATM, IP и Ehternet.

Как правило, в основу транспортного уровня мультисервисной сети ложатся существующие сети ATM или IP. т. е. сеть NGN может создаваться как наложенная на существующие транспортные пакетные сети.

Сети, базирующаяся на технологии ATM, имеющей встроенные средства обеспечения качества обслуживания, могут использоваться при создании NGN практически без изменений. Использование в качестве транспортного уровня NGN существующих сетей IP потребует реализации в них дополнительной функции обеспечения качества обслуживания.

Рисунок 1.4 - Структура транспортного уровня сети NGN

1.4 Описание уровня управления коммутацией и обслуживанием вызова

Основной функцией уровня управления коммутацией и передачей является управление установлением соединения в фрагменте NGN.

Функция установления соединения реализуется на уровне элементов транспортной сети под внешним управлением оборудования Softswich. Исключением являются АТС с функциями MGC, которые сами выполняют коммутацию на уровне элемента транспортной сети.

В случае использования на сети нескольких Softswich они взаимодействуют по межузловым протоколам (как правило, семейство SIP-T) и обеспечивают совместное управление установлением соединения.

Softswich должен осуществлять:

§   обработку всех видов сигнализации, используемых в его домене;

§  хранение и управление абонентскими данными пользователей, подключаемых к его домену непосредственно или через оборудование шлюзов доступа:

§  взаимодействие с серверами приложений для предоставления расширенного списка услуг пользователям сети.

При установлении соединения оборудование Softswich осуществляет сигнальный обмен с функциональными элементами уровня управления коммутацией. Такими элементами являются все шлюзы, терминальное оборудование мультисервисной сети интегрированные устройства доступа (IAD). терминалы SIP и H.323J. оборудование других Softswich и АТС с функциями контроллера транспортных шлюзов (MGC). Для передачи информации сигнализации сети ТфОП через пакетную сеть используются специальные протоколы. Так. для передачи информации сигнализации ОКС7. поступающей через сигнальные шлюзы от ТфОП к оборудованию Softswich, используется протокол MxUA технологии SIGTRAN (в то же время в ряде реализаций Softswich предусмотрен непосредственный ввод сигнализации ОКС7).

На основании анализа принятой информации и решения о последующей маршрутизации вызова оборудование Softswich, используя соответствующие протоколы, осуществляет сигнальный обмен по установлению соединения с сетевым элементом назначения и управляет с использованием протокола Н.248 (для IP коммутации) или BICC (для ATM коммутации) установлением соединения для передачи пользовательской информации. При этом потоки пользовательской информации не проходят через Softswich, а замыкаются на уровне транспортной сети.

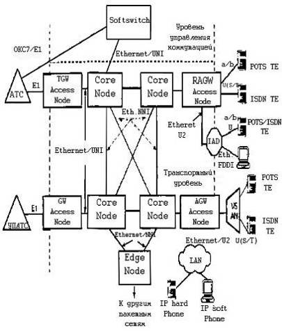
Структура уровня управления коммутацией мультисервисной сети представлена на рис. 1.5.

Рисунок 1.5 - Структура уровня управления коммутацией

Терминальное оборудование пакетной сети взаимодействует с оборудованием Softswich с использованием протоколов SIP и Н.323. Пользовательская информация от терминального оборудования поступает на уровень узлов доступа пакетной сети и далее маршрутизируется под управлением Softswich.

Вся информация, связанная со статистикой работы мультисервисной сети, учетом стоимости по направлениям и учетом стоимости для пользователей, накапливается и обрабатывается на уровне Softswich для передачи в направлении соответствующих систем (АСР, ТОиЭ).

.5 Описание уровня услуг и управления услугами

Основной услугой, предоставляемой как в классических сетях связи, так и в мультисервисной сети, является передача информации между пользователями сети. Использование пакетных технологий на уровне транспортной сети позволяет обеспечить единые алгоритмы доставки информации для различных видов связи.

Кроме услуг по доставке информации, в мультисервисных сетях реализована возможность поддержки предоставления расширенных списков услуг.

Применительно к услуге телефонии, точкой предоставления дополнительных услуг является оборудование Softswich или оборудование серверов приложений.

Для пользователей, использующих терминалы мультимедиа (SIP и Н.323 ТЕ), могут предоставляться различные виды мультимедийных услуг.

Реализация логики обслуживания вызова в ограниченном числе сетевых точек позволяет оптимизировать структуру доступа к услугам, предоставляемым со стороны интеллектуальных сетей связи. Для этой цели на уровне Softswich реализуется функция SSP.

Использование пакетных технологий позволяет обеспечивать совместное предоставление расширенного списка услуг вне зависимости от типа доступа, используемого пользователем.

В мультисервисных сетях реализуется возможность предоставления однотипных услуг с различными параметрами классов обслуживания (QoS).

Как правило, различные производители оборудования мультисервисных сетей предлагают собственные наборы расширенных услуг связи, что должно учитываться при выборе оборудования.

Следует отметить, что на сегодня вопрос взаимодействия между Softswich и серверами услуг недостаточно проработан на уровне международных стандартов, в связи с чем возможна несовместимость оборудования различных производителей.

1.6 Организация доступа к услугам NGN

Для доступа абонентов к услугам NGN используются:

·  интегрированные сети доступа, подключенные к оконечным узлам мультисервиснои сети и обеспечивающие подключение пользователей как к мультисервиснои сети, так и к традиционным сетям (например ТФОП);

·  традиционные сети (ТФОП, СПД, СПС), абоненты которых получают доступ к мультисервиснои сети через узлы, подключенные к шлюзам (Media Gateway).

На ТФОП для доступа используется абонентский участок, для увеличения пропускной способности которого может использоваться технология xDSL, а на сетях подвижной связи (2G) может использоваться перспективная технология GPRS

2. Характеристика существующей сети ТГТС

Городская телефонная сеть предназначена для предоставления ресурсов сети населению, предприятиям, учреждениям и организациям, расположенных на территории города и пригородной зоны.

Монтированная емкость телефонной сети г. Новокузнецка составляет 165900 номеров.

Уровень цифровизации ТГТС составляет 60%. Цифровые АТС - это оборудование системы EWSD и оборудование фирмы UT-100,Alcatel и Nokia.На данной ГТС еще имеются аналоговые АТС - это пять станций типа АТСК-У и одна АТC nbgf КВАНТ-Е, которые с точки зрения объема оборудования телефонных станций, их производительности, диапазона предоставляемых услуг и качестве обслуживания не отвечают современным требованиям. Поэтому целесообразно осуществить реконструкцию устаревшего аналогового оборудования на современное цифровое оборудование.

ГТС г. Новокузнецка сегодня - это широкое использование волоконно-оптических линий связи (ВОЛС), протяженностью около 100000 метров. Использование ВОЛС на межстанционных соединительных линиях ГТС, магистральных и внутризоновых сетях дает возможность поэтапного перехода к цифровым сетям интегрального обслуживания (ISDN).

В настоящее время городскую телефонную сеть города Новокузнецка обслуживают 3 опорных комбинированных городских цифровых телефонных станций ОПТС.

28 марта 2006 года в Новокузнецке состоялось торжественное открытие и ввод в коммерческую эксплуатацию сети связи нового поколения (NGN), построенной на оборудовании и решениях Nortel. Это уже вторая NGN сеть «Сибирьтелекома», построенная в Сибири. Пионером этой технологии в феврале 2006 года стал Омский филиал компании. Запуск сети NGN в Новокузнецке - совместный телекоммуникационный проект, реализованный ОАО «Сибирьтелеком», компаниями Nortel и РОН-Телеком. Этот проект является своего рода технической революцией в области связи.

Общая монтированная абонентская емкость проекта составила 27 тыс. линий, оборудование размещается на 3 площадках города Новокузнецка. Три АТС (АМТС, АТС - 71, АТС - 54) объединены в кольцо IP MPLS, важным достоинством которого является непосредственное взаимодействие с системами доступа, образующими «последнюю милю» к абоненту. Это позволяет обеспечить максимальные технические характеристики передачи голоса и передачи данных, организовать эффективное и гибкое централизованное управление всеми уровнями ресурсов сети. Планируется, что на конец 2006 года монтированная емкость сети NGN в Новокузнецке увеличится до 40 тыс. линий. В рамках данного проекта компании Nortel и POH-Телеком совместно осуществляют поставку, монтаж, настройку и ввод в эксплуатацию комплексного решения на базе CS2000 и системы управления Preside MDM, ряда медиашлюзов и оборудования доступа KeyMile, которое заменит емкость устаревших аналоговых АТС. Новое решение объединяет в своем составе функционал местной сети общего пользования и междугородней станции. Основой интегрированного решения служит программный коммутатор CS2000, который осуществляет маршрутизацию вызовов, управление магистральными и абонентскими медиашлюзами, обрабатывает сигнализацию и обеспечивает взаимодействие с телефонными сетями общего пользования.

Развитие сети NGN в Новокузнецке планируется производить поэтапно: на первом этапе (2006 г.) были реализованы следующие услуги: доступ к телефонной сети общего пользования, междугородной и международной связи, услуги широкополосного доступа в Интернет Webstream, основной пакет дополнительных услуг; на втором этапе (2007 г.) будет предоставляться расширенный спектр услуг связи, IP-TV и др.

В церемонии открытия сети NGN в Новокузнецке приняли участие представители Министерства информационных технологий и связи, менеджеры холдинга «Связьинвест», топ-менеджмент ОАО «Сибирьтелеком», руководители Nortel, РОН-Телеком и крупных российских телекоммуникационных компаний.

Генеральный директор ОАО «Сибирьтелеком» Анатолий Никулин отметил значимость проекта NGN для компании и для клиентов. «Сибирьтелеком первым осваивает рынок NGN -технологий в Сибири, и быть пионерами всегда непросто. Высокие скорости передачи данных, пакетная коммутация и другие возможности, которые заложены в сетях следующего поколения, не позволяют сомневаться в перспективах развития технологии Next Generation в будущем. Сегодня абонентам интересна не просто традиционная телефония, а новые современные услуги на ее основе. Внедряя новые технологии NGN, мы стараемся сделать наши услуги более адресными для абонентов. Сейчас для этого создана уникальная база, которая позволит открыть широкий диапазон новых услуг, индивидуальных решений».

«Появление технологии NGN в Сибири меняет представление абонентов о традиционной телефонии. Это масштабное событие не только для компании „Сибирьтелеком“ и его абонентов, но и для всей отрасли связи в целом, - сказал президент Nortel по Восточной Европе Сорин Лупу. - Мы уверены, что благодаря интеграции решений Nortel, „Сибирьтелеком“ сможет предложить абонентам уникальные телекоммуникационные услуги и обеспечить для абонентов гибкий подход к предоставлению медийных и информационных ресурсов».

«Мы рассматриваем свои решения сквозь призму способности эффективно решать задачи бизнеса наших клиентов, - сказал генеральный директор компании „РОН-Телеком“ Сергей Бекетов, - и уверены, что успешная реализация проекта строительства полномасштабной сети NGN операторского класса в содружестве c признанным мировым телекоммуникационным лидером Nortel позволит „Сибирьтелекому“ дифференцировать услуги и укрепить свои позиции на рынке».

В связи с выше написанным,праектирование сети NGN будет основываться на уже имеющемся оборудовании фирмы Nortel

2.1 Структурная схема действующей сети

Индекс станции

 М/угородный №

Назначение станции

Емкость

Станция

384NVK-CS2000

 

 

АМТС3 г. Новокузнецк

 

 

384NVK-ATS31/38

38433310000

38433319999

 

10000

K100/2000

384NVK-ATS36

38433320000

38433327149

 

11150

K100/2000

384NVK-ATS32

38433360000

38433373499

 

13500

Ericson md110

384NVK-ПСЭ-22(32)

 

 

 



384NVK-ПСЭ23(32)

 

 

 



384NVK-ATS37

38433370000

38433379999

ОПТСЭ-37 г. Новокузнецк

15000

MT-20/25

384NVK-ATS46

38433420000

38433429399

ОПТСЭ-46 г. Новокузнецк

9700

Квант-Е

384NVK-ATS73

38433430000

38433434999

 

8000

K100/2000

384NVK-ATS45

38433450000

38433459999

 

15450

S-12

384NVK-ПСЭ48(45)

38433760000

38433769999

 


 

384NVK-ПСЭ70(45)

38433520000

38433529999

 


 

384NVK-ПСЭ53(45)

38433540000

38433539999

 


 

384NVK-ATS52

38433551000

38433557799


6800

K100/2000

384NVK-ATS57

38433576000

38433586999


11000

КВАНТ-Э

384NVK-ATS54

38433590000

38433595499

 

7500

Nortel cs2000

384NVK-ATS61/62

38433610000

38433620199

 

10200

K100/2000

384NVK-ATS77

38433774000

38433790099

 

16100

S-12

384NVK-ПСЭ76(77

38433790000

38433789999

 


 

384NVK-ПСЭ72(77)

38433791000

38433790999

 


 

384NVK-ПСЭ39(77

38433794000

38433793999

 


 

384NVK-ATS74

38433740000

 

10000

UT100

384NVK-ATS71

38433710000

38433721999

ОПТСЭ-71 г. Новокузнецк

12000

SDX- RB

384NVK-ATS78

38433788000

38433789499

 

9500

S-12


2.2 Состояние станций города Новокузнецка

 

 



3. Расчет оборудования

В статье IKS-online No 9.2005! «Миграция к NGN: стратегия, тактика, практика» Автор: А.В. ШАЛАГИНОВ говориться следующее:

«И все-таки наиболее приемлемым путем миграции к NGN, с нашей точки зрения, является реконструкция сети с уровня опорно-транзитных АТС. Весомыми аргументами в его пользу являются, во-первых, относительно низкий уровень начальных инвестиций (CAPEX); во-вторых, более рациональное построение сети с централизованным размещением медиашлюзов под управлением Softswitch в транзитных узлах сети; в-третьих, оптимизация ее структуры путем подключения местных АТС к медиашлюзам мощных транзитных узлов по принципу двухсвязного подключения; в-четвертых, более быстрое и легкое введение новых услуг (подробная тарификация местных вызовов, переносимость номера, параллельный звонок, извещение о балансе счета в конце вызова); в-пятых, сокращение операционных затрат OPEX за счет централизации служб технической эксплуатации».

Исходя из этого в данном дипломном проекте выбран именно этот метод перехода к сети NGN.

Последовательность решения была взята из литературы N

Таким образом, в результате анализа сети было решено использовать 3медиа-шлюза каждый из которых будет расположен в помещении соответствующей ОПТС:

ОПТС 37 - 1 media gateway

ОПТС 46 - 2 media gateway

ОПТС 71 - 3 media gateway

Для расчетов требуется рассчитать число каналов и потоков,входящих каждую ОПТСЭ.Число каналов будет равно сумме числа каналов АТС включенных в ОПТСЭ и числа каналов включенных непосредственно в данную ОПТСЭ. Данные сводятся в таблицу 3.1.

Таблица 3.1

Объект

Число каналов

Число потоков E1

ОПТС 37(1)

18305

611

ОПТС 46(2)

19131

638

ОПТС 71(3)

28601

954


Число потоков расчитаны с учетом того что от каждой АТС идет не полностью использованный поток.

3.1 Расчет транспортного ресурса для передачи пользовательского трафика

По формуле  вычислим общую нагрузку поступающую от ОПТСЭ на транспортный шлюз, где  - число потоков E1 осуществляющее подключение ОПАТС к транспортному шлюзу;

 - удельная нагрузка одного канала 64 кбит/с в составе E1, в расчетах принимается равной 0,8 Эрл.


Нагрузка, поступающая от шлюза в пакетную сеть, зависит от применяемых в шлюзе типов кодеков. Вычислим транспортный ресурс, необходимый для передачи в пакетную сеть трафика, поступающего на шлюз:

 бит/с

С учетом того, что используется кодек G.726 с требуемой полосой 38 кбит/с и при этом 5% вызовов требуют кодек G.711 с полосой 84.8 кбит/с. Исходя из этого расчет требуемого транспортного ресурса для обслуживания пользовательского трафика при подключении объектов пакетной сети будет иметь следующий вид:

 бит/с,

 бит/с,

 Мбит/с,

 Мбит/с,

 Мбит/с.

Полученные данные для удобства приведены в таблице 3.2

Таблица 3.2

№ОПАТС

Ресурс, Мбит/с

1

592

2

618

3

924


3.2 Расчет оборудования Softswitch

Основной задачей гибкого коммутатора при построении транзитного уровня коммутации является обработка сигнальной информации обслуживания вызова и управление установлением соединений. Требования к производительности гибкого коммутатора определяются интенсивностью вызовов, требующих обработки.

Интенсивность вызовов, поступающих на гибкий коммутатор, можно вычислить как:

(выз/чнн),

где M - число транспортных шлюзов, обслуживаемых гибким коммутатором;

- интенсивность вызовов, обслуживаемых одним каналом 64 кбит/с.

будет равной 10 выз/чнн исходя из литературы


Требования по производительности предполагают работу оборудования гибкого коммутатора в условиях перегрузки с показателями не ниже определяемых в рекомендации Q.543 для нагрузок классов В и С.

Теперь нужно рассчитать параметры интерфейсов подключения к пакетной сети. Параметры интерфейса подключения к пакетной сети определяются исходя из интенсивности обмена сигнальными сообщениями в процессе обслуживания вызовов. При использовании гибкого коммутатора для организации распределенного транзитного коммутатора сообщения сигнализации ОКС7 поступают на SX в формате сообщений протокола M2UA или M3UA.

Некоторые обозначения:

LMхUA - средняя длина сообщения (в байтах) протокола MxUA;

NMхUA - среднее количество сообщений протокола MxUA при

обслуживании вызова;

L MGCP - средняя длина сообщения (в байтах) протокола MGCP. используемого для управления транспортным шлюзом;

NMGCP - среднее количество сообщений протокола MGCP при обслуживании вызова.

Тогда транспортный ресурс SX, необходимый для передачи сообщений протокола MxUA, составляет

 (байт/чнн).

где k - коэффициент использования ресурса.

Также, транспортный ресурс гибкого коммутатора, необходимый для передачи сообщений протокола MGCP, составляет

 (байт/чнн).

Суммарный минимальный полезный транспортный ресурс SX, требуемый для обслуживания вызовов в структуре транзитного коммутатора, составляет


После приведения размерностей получаем

 

где - коэффициент использования транспортного ресурса при передаче сигнальной нагрузки. Опираясь на литературу, , что соответствует нагрузке в 0.2 Эрл;

Значения,, ,  принимаются условно, так как статистика этих данных не ведется, поэтому данный расчет не предназначается для практики, а является только условно-теоретическим.

Допустим:

, , ,


Исходя из полученного в качестве интерфейса подключения используется Fast Ethernet со скоростью 100 Мбит/с.

3.3 Расчет транспортного ресурса для передачи сигнального трафика

Помимо пользовательской информации, на транспортный шлюз поступают сообщения протокола MGCP, для которых также должен быть выделен транспортный ресурс. А поскольку транспортный шлюз реализуется совместно с сигнальным также следует учитывать ресурс для передачи сообщений протокола MXUA. Таким образом, общий транспортный ресурс MGW может быть вычислен по формуле:


В пункте 3.1 получилось что =12.2 Мбит/с

Чтобы получить ресурс  нужно 12.2 Мбит/с поделить на 3 (так как всего 3 маршрутизатора), получается немного больше четырех Мбит/с.Данный расчет также считать условным.

Ресурс для передачи сигнальной информации упрощенно будет равен 5 Мбит/сэ Получается, что  =5 Мбит/с


Таблица № 3.3

Объект

Ресурс, Мбит/с

ТфОП 1

616

ТфОП 2

643

ТфОП 3

959


3.4 Расчет транспортного ресурса для взаимодействия маршрутизаторов пакетной сети

3.4.1 Определение числа маршрутизаторов сети и схемы организации связи

Транспортный ресурс маршрутизаторов пакетной сети зависит от топологии сети, схемы организации связи и принимаемых решении по обеспечению резервирования и надежности.

В соответствии с рисунком 3.3 используется топология «каждая с каждой» состоящие из трех маршрутизаторов.

Известно, что наибольшей надежности функционирования сети необходимо создавать резервирования транспортных потоков. Они необходимы для того, чтобы в случае выхода из строя одного маршрутизатора взаимодействие между оставшимися не пропадала.

Оборудованием маршрутизаторов должны обеспечивать требования, приведенные в таблице:

Таблица

Участок сети

Нормальное функционирование

Функционирование при нарушении связи

TGW1ßàTGW2

SW1-SW2

SW1-SW3-SW2

TGW2ßàTGW3

SW2-SW3

SW2-SW1-SW3

TGW3ßàTGW1

SW3-SW1

SW3-SW2-SW1


Таким образом, каждый из маршрутизаторов в случае аварии должен обслуживать полный транспортный поток от всех шлюзов.

3.4.2 Определение требуемой производительности маршрутизаторов пакетной сети

В пакетную сеть поступает доля пользовательской информации от шлюзов с ТфОП и информация сигнализации в направлении Softswitch..Это приводит к тому, что вся нагрузка замыкается через транзитные маршрутизаторы, то есть шлюзы на данном этапе не имеют собственных коммутаторов:


- средняя длинна пакета протокола IP, составляет 65 Кбайт.

Исходя из требований резервирования, минимальная производительность каждого из маршрутизаторов равна:


Таблица

Маршрутизатор

Информационный поток, Мбит/с

Производительность, IP-пакетов/с

SW1

2216

33293

SW2

2216

33293

SW3

2216

33293


3.4.3 Определение емкостных параметров подключения

При определении емкостных ресурсов подключения будем исходить из следующих правил:

♦ для подключения используется стандартный интерфейс с превышением параметров информационного потока, т.е. если информационный поток равен 45 Мбит/с, то используется стандартный интерфейс 100 Мбит/с. а не 5 интерфейсов по 10 Мбит/с;

♦ каждый объект с целью резервирования подключается с резервным интерфейсом по схеме резервирования 1:1 (т. е. если необходим для обслуживания потока 1 интерфейс, то в емкостные параметры закладывается 2 интерфейса).

Таблица

Объект

Интерфейсы

SX

2 - 100MbitEthernet

TGW 1

2 - 1GbitEthernet

TGW 2

2 - 1GbitEthernet

TGW 3

2 - 1GbitEthernet

SW 1

6 - 1GbitEthernet

SW 2

6 - 1GbitEthernet

SW 3

6 - 1GbitEthernet


Методология проектирования сетей связи

Настоящая глава определяет перечень задач, которые должны решаться при проектировании любой, в том числе и основанной на технологии NGN сети связи.

Рассматривается общая методика проектирования и определяются основные разделы, которые должны являться неотъемлемой частью рабочего проекта.

4. Общие положения

Проектирование является одним из основных этапов проектной подготовки строительства в инвестиционном процессе.

Разработка проектной документации выполняется организацией, имеющей лицензию на данный вид деятельности.

При разработке проектной документации (ПД) необходимо руководствоваться:

1)      Федеральными нормативными документами, в том числе:

а)      «Инструкция о порядке разработки, согласования, утверждения и составе проектной документации на строительство пред приятий, зданий и сооружении». СНиП П-01-У5 и «Практическое пособие по ОИ в строительство предприятий, здании и сооружений» (2-е издание):

б)      «Порядком разработки, согласования, утверждения и состав обоснований инвестиций в строительство предприятий, здании и сооружений». СП 11-101-95:

2)      ведомственными нормативными документами, в том числе:

а)      методическим руководством по проектированию «Порядок раз работки, согласования, утверждения и состав проектной документации на строительство сооружений электросвязи» РП 1.311-1-97 (новая редакция):

б)      эталонами, определяющими минимально необходимый объем ПД и единообразие в оформлении материалов ПД;

в)      ВНТП. ВСН:

г)       РТМ. методиками расчета;

д)      ГОСТами, ОСТами и т.п.

Проектная документация должна разрабатываться в соответствии с заданием на проектирование на основе исходных материалов, выдаваемыx заказчиком проектной организации в соответствии с перечнем, приведенным в Методическом руководстве по проектированию «Порядок разработки, согласования, утверждения и состав проектной документации на строительство сооружений электросвязи» РП 1.311-1-97.

ВНТП. ВСН, РТМ по проектированию разрабатываются проектными институтами с привлечением отраслевых НИИ и утверждаются Министерством информационных технологий и связи РФ (Мининформсвязи России).

Эталоны разрабатываются проектными институтами и утверждаются Мининформсвязи России.

4.1 Содержание рабочего проекта

При рабочем проектировании должны быть разработаны следующие разделы:

·  объем оборудования и линейных сооружений:

·  услуги, классы обслуживания для каждой категории пользователя, а также потребность в ширине полосы пропускания:

·  режим работы оборудования и требования к обслуживающему персоналу:

·  измерительная и проверочная аппаратура:

♦ номенклатура, плошали и размещение оборудования;

♦ внутристанционная проводка, заземления и защита:

·  организации охраны окружающей среды;

·  обеспечение техники безопасности.

Объем оборудования и линейных сооружений

Объем оборудования и количество межстанционных соединительных линий может быть рассчитано на основе методики, приводимой в главе S. Основой расчета являются нормируемое качество обслуживания, нагрузка с учетом пакетной передачи и коммутации, перечень предоставляемых услуг.

Мощность вводимого объекта определяется:

·  по абонентской сети - суммарной вводимой емкостью;

·  по межстанционной сети (МСС) - количеством трактов Е1. Емкость оборудования шлюзов доступа должна рассчитываться с учетом количества заявок, состава абонентов и номенклатурой услуг, предоставляемых абонентам.

Количество абонентов ЦСИС и терминалов сетей передачи данных (IP-телефонов, софт-терминалов и персональных компьютеров, поддерживающих протокол SIP: IP-телефонов, софт-терминалов, поддерживающих протокол Н.323: персональных компьютеров с подключением через широкополосные интерфейсы абонентского доступа xDSL: локальных вычислительных сетей, подключаемых по интерфейсу Ethernet) определяются заказчиком на основе маркетингового анализа.

Услуги, классы обслуживания для каждой категории пользователя и потребность в ширине полосы пропускания

В сетевых фрагментах NGN могут комплексно предоставляться следующие услуги:

·  телефонии:

·  радиовещания;

·  телевещания;

·  телеграфа:

·  передачи данных:

·  телематических служб:

·  выхода в Интернет:

·  другие.

Конкретный перечень услуг определяется на основе согласования с Заказчиком.

Режим работы оборудования и требования к обслуживающему персоналу.

При разработке требований к режиму работы оборудования и обслуживающему персоналу надо руководствоваться следующими принципами:

·  режим работы оборудования должен быть круглосуточным, не допускающим перерыва в течение всего срока службы:

·  среднемесячная норма рабочего времени при семичасовом рабочем дне принимается равной 173 ч:

·  при проектировании оборудования технической эксплуатации необходимо стремиться к круглосуточному необслуживаемому режиму:

·  для обеспечения данного режима эксплуатации должны организовываться центры управления сетью:

·  проектирование центров управления осуществляется при участии фирм-поставщиков оборудования;

·  численность производственного штата по эксплуатации оборудования транспортных сетей, в т. ч. линейных сооружений, определяется в соответствии с таблицами РД 45.120-2001.

Измерительная и проверочная аппаратура

С целью совершенствования технической эксплуатации парк рабочих средств измерении должен периодически обновляться и пополняться.

Для этого необходимо разрабатывать и периодически обновлять перечни рекомендуемых для закупки и разработки средств измерений, предназначенных для комплексов оборудования систем коммутации и систем передачи на телефонной сети, что поможет эксплуатационным предприятиям связи приобретать оптимальное количество приборов с максимально близкими метрологическими и функциональными характеристиками, соответствующими современным требованиям. При этом должна учитываться концепция развития оборудования телефонной сети в части эксплуатационных измерений и метрологического обеспечения.

Степень автоматизации, как при создании конкретных средств измерения, так и подсистемы измерений на конкретном объекте следует определять с учетом технико-экономических показателей, т. е. сложности и стоимости аппаратуры, частоты и эффективности ее использования.

Все типы средств измерения, предназначенные для использования на сельских сетях, в том числе и импортные, должны проходить соответствующие процедуры испытаний для утверждения типа, прежде чем будут допущены к применению.

Специализированные средства измерений, закупаемые по импорту или разработанные по техническим требованиям, не согласованные с метрологической службой Мининформсвязи России, даже если они внесены в Государственный Реестр, должны проходить сертификацию в органе сертификации «Электросвязь».

Номенклатура и количество измерительной и проверочной аппаратуры, которой должен укомплектовываться каждый тип оборудования, указываются в ведомости на поставку.

Состав измерительной и проверочной аппаратуры для каждого типа оборудования уточняется по мере разработки новой аппаратуры.

Специализированные приборы необходимо заказывать только при наличии сертификата Мининформсвязи России и сертификата об утверждении типа Госстандарта России.

Приборы, не имеющие указанных сертификатов, закупаются после согласования с базовой организацией метрологической службы Мининформсвязи России.

5. Обзор спектра интеллектуальных услуг и определение первоочередных услуг

.1 Структура современного телекоммуникационного рынка

Конкуренция, возникшая в последние годы на рынке услуг связи, заставляет операторов предлагать своим абонентам все новые услуги. В связи с этим и возникла концепция интеллектуальной сети (IN) - сети, в которой функции, связанные с предоставлением услуг, отделены от системы коммутации.

Услуги ЦСИО должны подразделяются на основные и дополнительные услуги.

К основным услугам ЦСИО следует относить услуги переноса информации и услуги предоставления видов связи.

Услуги переноса информации должны обеспечивать перенос через сеть информационных потоков между интерфейсами участвующих в связи пользователей.

Услуги предоставления видов связи должны обеспечивать возможность обмена информацией между пользователями и реализовываться совместно техническими средствами сети и терминального оборудования.

Услуги переноса информации должны сопровождать услуги предоставления видов связи, и обеспечивать создание в сети определенных условий для обмена информацией, однако могут иметь самостоятельное значение, когда пользователь не информирует сеть о нужном ему виде связи, а лишь запрашивает соединение с нужными характеристиками.

Дополнительные услуги самостоятельно, как правило, не предоставляются, они должны использоваться в сочетании той или иной основной услугой, расширяя возможности и повышая удобства пользования этой услугой.

Классификация услуг, предоставляемых ЦСИО, показана на рисунке 5.1.

Рисунок 5.1 - Структура инфокоммуникационных услуг в сети У-ЦСИО

В 1992 году началось активное внедрение услуг интеллектуальных сетей - IN и ITU-T были выпущены рекомендации серии Q.12xx по IN. В последующие годы прирост доходов телекоммуникационного рынка осуществлялся за счет внедрения операторами связи услуг IN, и к 2007 году доля доходов от этих услуг в 3..4 раза превысила доходы этих же операторов от основных услуг - телефонии. По абсолютной величине цифры также впечатляющие [3].

Таблица 5.1 - Доходы операторов от услуг IN (млн. евро)


1992

1994

1996

2000

2006

Deutsch Telecom

111

474

1286

4903

14728

France Telecom

192

587

1437

4755

15395

British Telecom

254

679

1594

5193

17356

Данные взяты из официальных сайтов операторов

Наряду с количественными изменениями в структуре доходов привели к качественным изменениям структуры рынка. В структуре рынка появились такие участники рынка, как поставщики услуг, поставщики информации, ретейлеры, и брокеры. Структура современного телекоммуникационного рынка отображена на рисунке 5.2.

Рисунок 5.2 - Структура современного инфокоммуникационного рынка

Внедрение интеллектуальных услуг во многом зависит от состояния телефонной сети общего пользования (ТфОП) и требует значительных финансовых затрат. Каждый оператор или поставщик услуг связи стремиться с максимальной эффективностью вложить средства, тем самым обеспечить минимальный срок окупаемости и высокую рентабельность новых услуг. Для успешного решения данной задачи требуется разносторонняя оценка экономической эффективности внедряемых технологий и услуг, по крайней мере, на ближайшую перспективу с учетом особенностей региональной системы телекоммуникаций, общероссийского и регионального рынков оборудования и услуг связи.

В России для перехода к инфокоммуникационному рынку необходимо создавать всю отсутствующую инфраструктуру, а именно: поставщиков услуг, брокеров, занимающиеся поиском поставщиков информации для поставщиков услуг и наоборот, ретейлеров, доводящих услуги до абонента.

Создание данной инфрастуктуры дело длинное и дорогое. Западный рынок имеет подобную инфрастуктуру. Доходы от предоставляемых интеллектуальных услуг превышают доходы от традиционной телекоммуникационной деятельности примерно в 4..5 раз.

Анализируя тенденции развития мирового рынка интеллектуальных услуг, можно заметить значительный рост спроса на этот сервис. Услуги интеллектуальной связи достаточно широко распространены как в европейских странах, так и в Америке. Используя опыт других стран, в России были выбраны услуги, внедрение которых целесообразно на первом этапе благодаря их коммерческой привлекательности, а именно: вызов свободный от оплаты, вызов с дополнительной оплатой, телеголосование, предоставление телефонной связи по кредитным, расчетным и предоплаченным картам.

Срок окупаемости затрат на внедрение IN за рубежом в значительной мере зависит от числа одновременно внедряемых услуг. Чем выше комплексность решения, тем быстрее окупаются затраты. По данным компании Alcatel Telecom срок окупаемости затрат колеблется от 1,5 лет при максимально комплексном решении до 4 лет при внедрении отдельных видов услуг.

Отметим, что для России эти сроки могут оказаться другими, в связи с плохим состоянием сети общего пользования и с учетом высокой стоимости полнопрофильной платформы IN (до 2-3 млн. долл.) и низкого покупательского спроса.

.2 Прогноз экономической эффективности внедрения услуг IN

Внедрение услуг IN требует значительных инвестиций, поэтому прогнозирование периода их окупаемости и дальнейшей рентабельности является важным элементом проектирования интеллектуальной надстройки к телефонной сети.

Для прогноза экономической эффективности внедрения услуг IN необходимо располагать достаточно большим объемом информации о характеристиках телефонной сети общего пользования (ТфОП) и условиях конкретного рынка. Так, должны быть известны число абонентов ТфОП и изменение его во времени, средняя абонентская нагрузка, распределение абонентов сети ТфОП между жилым и деловым секторами, число потенциальных абонентов и пользователей услуги, статистические параметры «поведения» пользователей и ряд других характеристик.

В настоящее время услуги IN, ориентированные на цифровые технологии и состояние телефонной сети общего пользования России, находятся в определенном противоречии. Т.к. ТфОП в основном - аналоговые, что характерно еще для многих регионов России, то для широкого внедрения ИС операторам придется оснащать индивидуальные телефонные аппараты и таксофоны частотными и импульсно-частотными номеронабирателями.

Кроме перечисленных, имеется ряд причин, замедляющих продвижение услуг IN в России. Так, низкий уровень платежеспособности населения значительно снижает потенциальную пользовательскую среду услуги «Вызов с дополнительной оплатой» (PRM). При отсутствии повременной оплаты сложно обеспечить рентабельность самой популярной в мире услуги - «Бесплатный вызов» (FPN).

Рассмотрим прогноз рынка интеллектуальных услуг в мире.

Таблица 5.2 - Прогноз потенциального рынка услуг IN в мире до 2007 г

Вид услуги

Обозначение

Объем рынка, млрд. долл.



1998 г.

2002 г.

2007 г.

Универсальная персональная связь

UPT

0

2

7

Вызов по кредитной карте

VCC

5

10

28

Виртуальная корпоративная сеть

VPN

9

14

26

Информационная услуга

PRM

10

13

23

Телеголосование

VOT

1

2

5

Универсальный номер доступа

UAN

3

6

13

Бесплатный вызов (Freephone)

FPN

15

20

25

Итого (млрд.долл.)

43

76

126


Из таблицы 5.2 следуют важные рекомендации для российских связистов: мировой опыт развития рынка интеллектуальных сетей подсказывает, что наиболее прибыльными будут международные услуги:

·        Бесплатный вызов;

·        Вызов по телефонной карте;

·        Информационные услуги.

Внедрение этих международных услуг в России могло бы дать ориентировочно 1,5 млрд. долл. в год (к 2007 г.) из расчета, что российский рынок составляет 1% из общего мирового рынка, оцениваемого в 126 млрд. долл. к 2007 г. В действительности же российский рынок интеллектуальных услуг может быть еще больше, т.к. таблица 2.2 дает представление только о той части рынка, которую прогнозировалось охватить средствами интеллектуальных сетей [1].

При вводе повременной оплаты за телефонные разговоры услуга FPN станет рентабельной, а прогнозируемый темп роста доходов составит до 60-80% в год. До ввода повременной оплаты рентабельность FPN может быть обеспечена за счет использования услуги крупными компаниями и банками по достаточно высоким тарифам. Их интерес к FPN обусловлен необходимостью рекламы и продвижения своих услуг, а также возможностью замены нескольких рекламно-справочных телефонных номеров одним универсальным с функциями переадресации. На этом этапе число корпоративных потребителей услуги будет небольшим, однако им доступна достаточно высокая ее стоимость, что сделает ее рентабельной для оператора.

Услуга «Вызов за дополнительную плату» представляется достаточно перспективной в смысле пользовательского спроса. Очевидно, что ее экономическая эффективность будет определяться спросом на предоставляемый арендатором услуги сервис. Это может быть различного справочная, медицинская, развлекательная информация, предоставляемая потребителю по телефону за отдельную плату.

Услуга будет рентабельной для оператора при ценах, сравнимых с тарифами на услуги международной связи. Кроме использования по основному назначению услуга может применяться провайдерами сети Интернет для обеспечения повременного доступа. Годовые темпы роста доходности услуги прогнозируются на уровне 50-70%.

«Телефонная карта предоплаты» является наиболее распространенной и перспективной формой получения оплаты за телекоммуникационные услуги. Судя по объемам продаж таких телефонных карт в Санкт-Петербурге (около 1 млн. штук в год), эта услуга уже завоевала прочное место на телекоммуникационном рынке. Главным образом это обусловлено тем, что телефонная карта предоплаты является более дешевой по сравнению с магнитными или чиповыми аналогами, а также более удобной в использовании. Применение этих карт позволяет оператору снизить общую стоимость услуги связи за счет исключения затрат на оформление и доставку счетов, неизбежных при традиционных формах оказания услуг междугородной связи.

Услуга «Телеголосование» также представляется перспективной к внедрению в регионе. В настоящее время в Санкт-Петербурге действуют 14 телевизионных каналов и программ, более 20 радиостанций и десятки крупных компаний, имеющих потребность в оценке общественного мнения по тому или иному вопросу. Однако широкое внедрение этой услуги потребует тщательного обследования ресурсов сети, планирования и проведения ряда мероприятий по защите сети от перегрузок.

Информационные услуги - Инфоцентр. Инфоцентры становятся важной отраслью экономики в мире. Сейчас более 80% американских компаний имеют собственный или арендуют инфоцентр. В США работают очень крупные инфоцентры - до нескольких тысяч операторских рабочих мест. Свыше 3% трудоспособного населения США (1,55 млн. человек) обслуживают 70 тыс. инфоцентров, количество сотрудников которых к 2007 г. увеличится до 2,2 млн.

В официальных документах Минсвязи России для инфоцентра принято название Многофункциональный центр обработки вызовов (МЦОВ).

.3 Анализ услуг с добавленной стоимостью

В настоящее время для телефонных сетей общего пользования производителями создано оборудование, которое позволяет реализовать широкий набор услуг с добавленной стоимостью, однако опыт их предоставления операторами показывает, что наибольшим спросом у потребителей пользуются услуги:

·        Бесплатный вызов (Freephone - FPN);

·        Услуги за дополнительную плату (Premium Rate - PRM);

·        Универсальный номер доступа (Universal Access Number - UAN);

·        Услуга конференц-вызова (Conference Calling - CON);

·        Телеголосование (Televoting -VOT);

·        Услуга универсального почтового ящика (Unified Messaging - UM).

Дополнительные характеристики и свойства услуги могут быть различными, в соответствии с пожеланиями абонента и возможностями, предоставляемыми оборудованием.

5.3.1 Услуга бесплатный вызов

Данная дополнительная услуга должна позволять обслуживаемому пользователю иметь одну или несколько установок терминального оборудования, доступных из всех районов страны или, при необходимости, других стран, под номером, на который начисляется оплата за поступающие на этот номер вызовы.

.3.2 Услуга конференц-вызова

Данная дополнительная услуга должна позволять обслуживаемому пользователю участвовать и управлять одновременным соединением с несколькими пользователями, при необходимости расширяя или сокращая список участников соединения.

.3.3 Телеголосование

Услуга Телеголосование обеспечивает абонентам возможность использовать телефонную сеть для проведения опросов путем подсчета количества вызовов, поступивших по определенным телефонным номерам.

Существуют два базовых сценария предоставления данной услуги - голосование и конкурс, с возможностью их совместного использования.

При голосовании абоненту услуги предоставляется несколько телефонных номеров по числу вариантов ответов на вопросы, по которым проводится голосование. Возможен другой вариант - пользователи звонят по одному номеру, выделенному для голосования, а затем набирают дополнительные цифры в соответствии с речевой подсказкой.

Текущие результаты опроса могут оперативно предоставляться абоненту услуги (заказчику) в течение сеанса голосования.

Другой пример услуги - проведение конкурсов. При этом предусматривается определение победителей из числа участников по какому-либо принципу (например, каждый 100-й позвонивший). Принцип определения победителя выбирается заказчиком услуги и может оперативно меняться в течение сеанса. Для выбранных вызовов устанавливается соединение по сетевому номеру заказчика, или пользователю предоставляется возможность сообщить свои данные для последующего вручения приза.

В качестве дополнительных возможностей для услуги Телеголосование может быть предусмотрено ограничение числа вызовов к абоненту услуги. При организации конкурса могут быть предоставлены возможности:

·        маршрутизация выбранных вызовов в зависимости от даты и времени или от местоположения вызывающей стороны;

·        распределение поступающих вызовов;

·        постановка вызова в очередь, либо фильтрация вызовов.

.3.4 Услуга универсального почтового ящика

Услуга универсального почтового ящика является важнейшим направлением в развитии интеллектуальных услуг - взаимное предобразование между разными медиа: речь, факс-сообщение, электронная почта и даже видео.

Пользователю предоставляется дополнительная возможность преобразования вида сообщения при его доставке. Речевые сообщения могут быть отправлены по электронной почте в виде присоединенных файлов, факсимильные сообщения могут быть преобразованы в файл графического формата и переданы по электронной почте, сообщения электронной почты - преобразованы в факсимильные или воспроизведены абоненту по телефону.

.4 Определение первоочередных услуг

Все услуги с добавленной стоимостью обладают определенной новизной для абонентов, привыкших пользоваться традиционной телефонной связью. Для распространения услуг ИС чрезвычайно важны их широкая реклама и индивидуальная работа с потенциальным клиентом.

Какие задачи должен решать оператор? В первую очередь, он обязан стремиться оправдать ожидания пользователей в отношении информационных услуг. При этом надо учитывать, что разные пользователи по-своему относятся к различным услугам: деловые люди преследуют экономические цели, используют услуги для повышения производительности и уменьшения затрат и т. д.; квартирные абоненты предпочитают услуги для домашних развлечений и доступа к интересующим их базам данных. Все это оператору сети необходимо продумать заранее. Соответственно, и подходы к реализации ИС могут быть неодинаковыми, начиная от создания интеллектуального узла с централизованным набором функций до распределения "интеллекта" между несколькими узлами коммутации.

При предложении услуг пользователям операторам ИС следует учитывать, что они не обязательно должны принадлежать одной определенной сети. Поэтому нужны соответствующие договоренности между операторами различных сетей.

Услуги ИС должны быть достоверны, а их доставка - надежна. Недопустимы нарушения режима работы ТфОП при одновременной необходимости обеспечения конфиденциальности информации, недоступности индивидуального PIN-кода, персональных записей и счетов.

С этой точки зрения в число первоочередных целесообразно включить услуги, уже предоставляемые на ТфОП России другими операторами.

Так, абонентам делового сектора, часть из которых составляют зарубежные и совместные предприятия, могут быть предложены услуги Универсальный номер доступа и Бесплатный вызов. Абонентами этой услуги могут стать предприятия, имеющие несколько филиалов и заинтересованные в привлечении большого количества потенциальных клиентов, для которых возможность бесплатно позвонить по интересующему их вопросу будет дополнительным критерием выбора в пользу данной фирмы. Вместо нескольких номеров филиалов фирмы-абонента, зачастую меняющихся, будет рекламироваться один номер, что позволит избежать потери потенциальных клиентов и дополнительных затрат на рекламу.

Предприятия, не заинтересованные в оплате входящих вызовов, могут использовать в тех же целях услугу Универсальный номер, также создающую дополнительные возможности для создания имиджа респектабельной фирмы и являющуюся инструментом рекламы и маркетинга. Наличие в рекламе одного телефонного номера вместо списка в десятки номеров обеспечит быстрый и удобный доступ к различным службам фирмы или ее филиалам.

Частные лица могут использовать услугу Универсальный номер доступа в качестве аналога персонального номера: например, в рабочее время все вызовы маршрутизируются в офис абонента, а в не рабочее - домой.

Услуга Телеголование в настоящее время предоставляется компаниями «МТУ-Информ» и ЗАО «Аудиотеле», и хорошо знакома абонентам страны по популярным теле- и радиопередачам. Основными заказчиками (абонентами) услуги Телеголосование являются теле- и радиокомпании, проводящие рейтинговые опросы и конкурсы. Абонентами этой услуги могут быть местные телеканалы или радиостанции г. Новокузнецка. Перспективным может стать проведение сеансов голосования (например, социологических опросов) для различных муниципальных структур и учреждений. При этом дополнительным стимулом для повышения активности пользователей при голосовании может стать организация конкурса.

Широкие перспективы имеют Услуги за дополнительную плату, пользующиеся растущим спросом во многих странах мира. Эти услуги могут использоваться в самых различных областях - наиболее популярными примерами являются различные информационно-справочные службы, платные консультации, заказы услуг и товаров, развлекательные программы. Внедрение этих услуг может потребовать затрат на рекламу для потенциальных абонентов и пользователей, но они компенсируются сокращением срока адаптации потребителей к новым услугам и получением дохода в более короткие сроки.

Потенциальными абонентами услуг за дополнительную плату являются организации и предприниматели, реализующие свои товары и услуги по телефону. Абоненту услуги предоставляется возможность организовать собственную платную службу, не неся при этом расходов на закупку, установку и эксплуатацию оборудования связи. При этом оператор ИСС получает доход от возросшего объема трафика, оплачиваемого по повышенному тарифу. Абонентам может быть также предложена возможность использования в качестве автоинформаторов устройств интеллектуальной периферии, входящих в состав платформ ИСС.

Большой популярностью за рубежом в последние годы пользуется услуга Универсального почтового ящика. Спрос на эту услугу может быть обеспечен как со стороны деловых пользователей, так и частных лиц. Круг потенциальных абонентов может быть значительно расширен за счет активных пользователей сети Интернет. Мелкие предприниматели могут пользоваться услугой для организации собственного «электронного офиса». Административные учреждения могут использовать Универсальный почтовый ящик для сбора обращений граждан, а коммунальные службы - для приема заявок.

Таким образом, в результате анализа состава и характеристик услуг с добавленной стоимостью для первоочередного внедрения на ИСС рекомендуются следующие услуги:

·        Универсальный номер доступа;

·        Бесплатный вызов;

·        Услуги за дополнительную плату;

·        Телеголосование;

·        Универсальный почтовый ящик.

Если разделить все предоставляемые телекоммуникационные услуги на традиционные телефонные, связанные с установлением соединений, и услуги интеллектуальных сетей, предлагающие дополнительный сервис, то следует отметить, что рынок традиционных услуг сегодня испытывает сильнейшее ценовое давление. Один из путей сохранить и приумножить количество клиентов - это диверсификация предоставляемых услуг, поскольку согласно аналитическим исследованиям мирового телекоммуникационного рынка удельный вес доходов, полученных от реализации дополнительных услуг, постоянно растет.

6. Выбор оборудования и схема получившейся сети

Выбор оборудования - один из наиболее важных в проектировании. Сформулируем требования к оборудованию, на котором будет реализован проект.

Сеть работает по протоколам IP/MPLS, значит, оборудование уровней ядра и распределения нужно выбрать с поддержкой MPLS. Кроме того, это оборудование должно на уровне ядра обладать несколькими интерфейсами GE. И оборудование на уровне распределения должно быть обеспечено как минимум одним GE по оптике, чтобы подключиться к маршрутизатору ядра.

Нужны медиа-шлюзы, работающие с протоколами ОКС7, PRI и Softswitch, понимающий эти системы. Лучше выбрать шлюзы и Softswitch одного производителя, что обеспечит максимально возможное взаимодействие этих устройств. Нужны шлюзы с поддержкой STM-1 для включения в NGN сетей мобильных операторов, всевозможные сервера приложений и т.д. Итак, необходимо выбрать следующее оборудование:

§ высокопроизводительные маршрутизаторы с поддержкой MPLS и интерфейсов GE;

§  медиа-шлюзы для сопряжения ТфОП с проектируемой сетью;

§ платформу Softswitch для управления голосовым трафиком;

Оборудование необходимого класса производят все крупные компании, такие как Nortel, Alcatel, Cisco, Lucent и другие.

При выборе компании-поставщика оборудования производится сравнительный технико-экономический анализ решений. В г.Новокузнецке такой конкурс был проведён компанией «Сибирьтелеком» и выбор пал на компанию Nortel.

6.1 Состав оборудования

Для оборудования уровня ядра будем использовать оборудование Nortel Passport 15000/20000 Service Router.

Сервисный маршрутизатор Passport 15000/20000 является самым мощным в линейке Passport компании Nortel Networks. По своим функциональным возможностям он аналогичен коммутатору Passport 6400/7400, и отличается намного большей производительностью, более широким перечнем интерфейсов транспортной сети и большей функциональностью сетевых интерфейсов.

К транспортной сети Passport 15000/20000 может подключаться интерфейсами E3 ATM, STM-1 ATM, STM-4 ATM, STM-16 ATM, STM-1 СЦИ, STM-4 СЦИ, STM-16 СЦИ.

Интерфейсы АТМ могут быть настроены для реализации функций в соответствии со спецификациями Форума ATM и Рекомендациями МСЭ-Т UNI 3.0/3.1/4.0, ILMI 4.0, IISP, PNNI, B-ISUP, B-ICI, AINI.

Интерфейсы ATM и СЦИ могут быть настроены для передачи информации сетей Frame Relay и IP в соответствии с протоколами, разработанными IETF и Форумом Frame Relay OSPF, BGP, MPLS, PPP, IP Multicast, FRF.5, FRF.8.

Маршрутизатор Passport 15000/20000 поддерживает механизм POS (Packet-over-SDH).

Повышение надежности сети может достигаться резервированием портов аппаратуры, при этом оптические порты могут быть резервированы по схеме 1:1, а электрические порты по схеме 1:N.

·   Nortel 15000-20000 SR изначально предназначен для эффективной поддержки разнообразных прибыльных услуг. Основным отличием Nortel 15000-20000 SR от типичного граничного интернет-маршрутизатора состоит в тесной интеграции сервисных функций с архитектурой продукта. Это позволяет маршрутизатору Nortel 15000-20000 SR поддерживать широкий ассортимент услуг, включая следующие:

·   DIA (Direct Internet access - прямой интернет-доступ);

·   виртульные частные сети «точка-точка» Уровня 2 поверх сетей Ethernet, Frame Relay и ATM (так называемые «виртуальные выделенные линии»);

·   многоточечные виртуальные частные сети Уровня 2 (Virtual Private LAN Service - VPLS);

·   BGP/MPLS VPNs.

Nortel 15000-20000 SR может поддерживать десятки тысяч индивидуальных услуг с помощью технологий гибкого туннелирования IP и MPLS с индивидуальными настройками QoS и биллинга для каждой отдельной услуги.

Маршрутизатор Nortel 15000-20000 SR удовлетворяет самым строгим требованиям надежности, которые предъявляют к подобным устройствам сервис-провайдеры. При разработке аппаратной и программной архитектуры этого маршрутизатора было сделано все возможное для минимизации простоев.

Плотность, производительность и масштабируемость Passport 15000-20000 SR обладает лучшей в отрасли плотностью, производительностью и масштабируемостью при поддержке современных приложений маршрутизации, виртуальных частных сетей (VPN) и функций интернет-доступа. Passport SR-12 имеет производительность в 160 Гбит/с (с полным дуплексом) (RU).

В качестве шлюзов между IP/MPLS сетью и ТФОП будем использовать Nortel 15000 Media Gateway.Nortel Media Gateway (MG) 15000 является голосовым решением операторского класса. MG 15000/7400 использует протоколы IP или ATM для проводных и беспроводных каналов связи для миграции от сетей TDM к пакетным сетям. MG 15000 сервер использует Multiservice Switching (MSS) платформу. MG 15000 ориентирован на использование в качестве IP trunk gateway для крупных сетей VoIP.

Сетевой шлюз Nortel 15000 Media Gateway (MG) является ведущей в отрасли мультисервисной платформой, предоставляющей услуги шлюза для передачи голоса, факса, данных и сигнализации поверх IP для каждого порта в любое время. Nortel 15000обеспечивает для голосовых соединений незаметное взаимодействие между телефонной сетью общего пользования и сетями IP. Nortel 15000 предлагает возможности высокопроизводительной обработки пакетизированного голоса и полнофункционального шлюза сигнализации. Платформа поддерживает стандартизованные протоколы NGN и может взаимодеиствать с программными коммутаторами разных производителей. Компактная и экономичная платформа Nortel 15000 MG является идеальной для использования в распределенных мультисервисных сетях нового поколения.

Для управления сетью используем Nortel CS2000 Softswitch CS2000 был сертифицирован 19 января 2006 для разрешения применение системы "на сети связи общего пользования в качестве Транзитного Узла Автоматической Ком мутации (УАК) с реализацией функций коммутации пакетов, подсистем сигнализации ОКС 7 (MTP, SCCP, ISUP-R, TC, MAP, INAP-R)". Сертификат за номером ОС-1-M-0012 от 19 апреля 2006 сроком на 3 года разрешает применение "на сети связи общего пользования в качестве средства связи с функциями коммутации пакетов информации в составе транзитного международного узла связи с реализацией подсистем сигнализации ОКС№7 (MTP, SCCP, TC, ISUP, ISUP-R, INAP-R, MAP), 2ВСК и требований по обеспечению оперативно розыскных мероприятий".

Наличие этих сертификатов позволит операторам использовать оборудование NGN Nortel для построения сетей междугородной и международной связи, где раньше было возможно использовать только TDM оборудование.

Программные коммутаторы Nortel обладают интеллектом для управления вызовами и сессиями в сложных динамических сетях и позволяют провайдерам предоставлять услуги операторского класса из огромного набора приложений.

С программными коммутаторами Nortel традиционные операторы могут обеспечить непрерывность предоставления существующих услуг ТфОП, в то же время экономично и эффективно двигаясь к NGN. Новые игроки могут немедленно начать внедрение технологий нового поколения с конкурентоспособным набором услуг.

Платформа Nortel CS2000 Softswitch является мощным решением для разгрузки ТфОП и межсоединения альтернативных операторов, обеспечивающим интеграцию сетей передачи голоса и данных, конвертируя сигнализацию SS7 в протокол SIP в сети передачи данных. Он также обеспечивает масштабируемость, гибкость, эффективность затрат и возможности взаимодействия, необходимые операторам связи. Несколько приложений могут одновременно работать на платформе Nortel CS2000 Softswitch:

· приложение вывода трафика IP: освобождает традиционную сеть ТфОП от перегрузок, возникающих из-за растущего объема трафика интернет, использующего коммутируемые соединения, и предлагает четыре приложения вывода трафика IP: SS7-NAS, Переадресация вызова, Груминг и PRI-Tower для сбора трафика;

· приложение транзита голосового трафика: предлагает решение для транспорта голосового трафика поверх сети IP, используя шлюзы каналов IP;

· приложение IP-телефонии: предоставляет интеллект, необходимый для установления голосового соединения между абонентами сети IP, использующими терминалы IP, и между абонентами сети IP и ТфОП, использующими стандартные телефонные аппараты;

· приложение Мультимедиа: обеспечивает полный набор голосовых и мультимедийных услуг, к которым абонент может получить доступ с любого терминала, в любое время, из любой точки планеты.

По существу платформа Nortel CS2000 Softswitch открывает перед провайдерами услуг связи новые возможности получения дополнительной прибыли, предоставления услуг и, в конечном счёте, построения более прибыльного бизнеса.

6.2 Расчет капитальных затрат на реализацию проекта

Расчет технико-экономических показателей приведен в соответствии с «Инструкцией по расчету основных технико-экономических и финансовых показателей и заполнению форм-таблиц бизнес-плана на стадиях проектирования для предприятий связи», разработанной Гипросвязью (г. Москва) и рекомендованной к применению ОАО «Связьинвест» письмом от 03.04.2000г. №1203 [6].

В данном проекте рассматривается построение сети следующего поколения в г. Новокузнецка. Эта сеть является мультисервисной, то есть она может предоставлять любые услуги с высоким качеством, будь то передача речи, данных или видео.

Мультисервисные сети обладают более высокой степенью управляемости, то есть облегчение процессов мониторинга, администрирования, возможность управления сетью как единым предприятием. С экономической точки зрения все это приводят к сокращению затрат, и как следствие,, к увеличению прибыли даже при неизменном уровне дохода.

В данной главе определяется эффективная динамика проекта путем сопоставления эффекта и затрат. Для реализации проекта потребуются единовременные (капитальные) и операционные (текущие) затраты. Все расчеты приведены в ценах и тарифах по состоянию на весну 2006 года. Расходы по доставке включены в стомость оборудования.

Затраты на оборудование и работы по монтажу, а так же запуску сети приведены в таблице 6.1.

Таблица 6.1 - Спецификация основного технологического оборудования и смета проектных и строительно-монтажных работ

Наименование оборудования

Марка

Кол, шт.

Цена за шт. с

Всего,$

Медиа-шлюз

Media Gateway 15000

3

100 000

300 000

Softswitch

Nortel CS2000 Softswitch

1

550 000

550 000

Маршрутизатор

Nortel

3

210 000

630 000


Итого:

1480 000

Проектные работы, 20%



296 000

Строительно-монтажные работы, 20%



296 000


Итого, $:

 2 0122 000




Итого, тыс. руб,

51 909 600


6.3 Операционные затраты

В состав операционных затрат входят следующие затраты, которые рассчитываются методом прямого счета:

1) Затраты на фонд оплаты труда. Количество дополнительно принятого персонала на создаваемой сети составит, исходя из среднестатистических данных, 4 человек. Средняя заработная плата специалиста по обслуживанию оборудования мультисервисной сети составляет примерно 20000 рублей. Тогда фонд оплаты труда на год будет равен:

Эфоп = З*Ч*12,

где З=20 000 рублей - средняя заработная плата;

Ч=4 чел. - численность рабочих; 12 - количество месяцев.

Эфоп = 20000*4*12 = 960 тыс. рублей.

2) Единый социальный налог составляет 26,0% от фонда оплаты труда и включает:

· отчисления в пенсионный фонд 20%;

· социальное страхование 3,2%»;

· медицинское страхование 2,8%.

Единый социальный налог рассчитывается по формуле:

     

где Эфоп - фонд оплаты труда.

ЕСН = 960000*0,26 = 249600 рублей.

) Амортизационные отчисления рассчитываются по формуле (9.3):


где На - установленная норма амортизации;

Ф - стоимость основных производственных фондов, $. Ф = К*0,97,

где К - капитальные вложения без НДС.

К = 51 909 600/1,18 =43991186 рубля,

Ф = 43991186 *0,97 = 42671451рубля,

А = 42671451*0.1 = 4 267 145.1рубля

С учетом остальных фондов, участвующих в проекте получим величину амортизационных отчислений равную 8 534 290 рублей.

) Затраты на электроэнергию за год (формула 9.4):

Ээл = N*t*24*30*12,

где N=12 кВт - количество электроэнергии в час, кВт; t = 2.1 руб./кВт - тариф на электроэнергию, руб. за кВт; 24 - продолжительность рабочего дня; 30 - количество дней в месяце.

Ээл=12*2.1*24*30*12 = 217 728рублей.

Остальные затраты определяются укрупнено, исходя из их удельного веса в общей сумме затрат на производство. Затраты на запасное имущество и принадлежности (ЗИП) составляет 6%, прочие расходы составляют 10% от общей суммы. Рассчитанные затраты указаны в таблице 6.2.

Таблица 6.2 - Операционные затраты

Виды затрат

В год, руб.

Фонд оплаты труда

960 000

Единый социальный налог

249 600

Амортизационные отчисления

8 534 290

Затраты на электроэнергию

217 728

Материалы и запчасти

597 697

Прочие затраты

996 162

Итого:

11 555 477


.4 Показатели экономической эффективности проекта

Показатели экономической эффективности учитывают затраты и результаты связанные с реализацией проекта.

Количество пользователей услуг ИСС на рынках западных операторов составляет ~45% населения.

Учитывая сложности внедрения интеллектуальных услуг в России (высокая стоимость платформы, низкая платежеспособность населения, состояние ТфОП и др.), можно предположить, что в России количество пользователей услуг ИСС будет составлять 12-25% абонентов ТфОП.

Для более быстрого и эффективного внедрения интеллектуальных услуг необходимо проводить активную маркетинговую политику. Она должна включать в себя опросы населения о необходимости внедрения услуг и готовности оплачивать эти услуги. Кроме того, необходимо информировать абонентов, а также потенциальных пользователей о возможностях, предоставляемых ИСС и преимуществах пользования этими услугами.

При выполнении этих условий количество пользователей услуг ИСС в г. Новокузнецка будет составлять ~18% абонентов ТфОП.

Таким образом, количество пользователей интеллектуальных услуг составляет ~30 000 человек.

Годовой доход оператора от остальных услуг можно рассчитать по формуле 9.8:

 

Где Тер = 250Мбайт - средний входящий трафик на одного пользователя широкополосных услуг в месяц;

С = 2.0 руб./Мбайт - цена за 1 Мбайт трафика=30 000 - количество пользователей интеллектуальных услуг:

M - количество месяцев в году 12

Оценка предстоящих затрат и результатов при определении эффективности инвестиции проекта определяется в пределах расчетного периода, продолжительность которого называется горизонтом расчета (Г). Горизонт расчета измеряется количеством шагов. В данном проекте шаг равен году эксплуатации

Будем считать, что в первый год после коммерческого запуска сети подключатся 15% пользователей, а затем каждый год количество пользователей будет увеличиваться.

Результаты расчетов занесены в таблицу 6.3.

Таблица 6.3 - Годовой доход от реализации услуг проектируемой сети

Шаг расчета, год

0

1

2

3

4

5

6

Удельный вес пользователей, %

0

15

25

45

60

80

100

Количество пользователей интеллектуальными услугами тыс. чел.

0

4.5

7.5

13.5

18.0

24.0

30.0

Годовой доход от пользователей интеллектуальными услугами тыс. чел.

0

27 000

45 000

81 000

108 000

144 000

180 000


Для приведения затрат разных по времени используется коэффициент дисконтирования:


где Е = 25%- постоянная норма дисконта;

t - шаг расчета. Расчет эффективности инвестиционного проекта приведен в таблице 6.4.

Таблица 6.4 - Эффективность инвестиций

Наименование показателей

Шаг расчета, год

 

0

1

2

3

4

5

6

1 Приток средств, тыс.$: -доходы от основной деятельности

0

27 000

45 000

81 000

108 000

144 000

180 000

2 Отток средств, тыс.руб.: -общие инвестиции, без НДС; эксплуатационные расходы, без А; уплаченные налоги из прибыли; Итого:

51 910 0 0 51 910

0 3 021 6 210 9 231

0 3 021 10 350  13 371

0 3 021 18 630  21 651

0 3 021 24 840  27 861

0 3 021 33 120 36 141

0 3 021 41 400 44 421

3 Чистая поток денежных средств, тыс.руб

-51910

17769

31 629

59 349

80 139

107 859

135 579

4 Коэффициент дисконтирования

1,0

0,81

0,66

0,54

0,44

0,36

0,29

5 Чистый дисконтированный поток денежных средств, тыс.руб.

-51910

14 393

20 875

32 049

35 261

38 830

39 318

6 Чистый дисконтированный поток денежных средств нарастающим итогом, тыс.руб.

-51910

-37 517

-16 642

15 407

50 668

89 498

128 816


Как видно из рисунка 6.1, построенного на основе данных таблицы 9.4 окупаемость проекта наступает на втором шаге расчета, то есть в середине третьего года.

Чистый дисконтированный поток денежных средств по годам проектного периода представлен на рисунке 6.1.

Рисунок 6.1 - Чистый дисконтированный поток денежных средств

Работа инженера на АТС связана с обработкой данных на ЭВМ. При работе на ЭВМ существуют следующие опасные и вредные факторы: электромагнитное излучение от экрана дисплея, опасность поражения электрическим током от электропитающих устройств, ухудшение зрения из-за постоянного напряжения и мерцания экрана, эмоциональное перенапряжение,

Зарегистрированы десятки случаев возникновения болезней, связанных с работой на компьютере. Выявлена связь между работой на компьютере и такими недомоганиями, как астенопия (быстрая утомляемость глаз), боли в спине и шее, запястный синдром (болезненное поражение срединного нерва запястья), тендениты (воспалительные процессы в тканях сухожилий), стенокардия и различные стрессовые состояния, сыпь на коже лица, хронические головные боли, головокружение, повышенная возбудимость и депрессивные состояния, снижение концентрации внимания, нарушение сна. Служащие, работающие за дисплеем компьютера по семь и более часов в день, страдают воспалениями и другими заболеваниями глаз на 70% чаще тех, кто проводит за дисплеем меньше времени.

6.5 Требования к рабочим местам

При работе с дисплеем рабочие места должны соответствовать требованиям СанПиН.2.2.2542 - 96 [9].

) Не допускается расположение рабочих мест для работы с дисплеем в помещениях без естественного освещения;

) Рабочие места с дисплеями должны располагаться от стены с оконными проёмами на расстоянии не менее 1.5 м, от других стен на расстоянии не менее 1 м. Расстояние от задней и боковой стенок дисплея до другого сотрудника должно быть не менее 1.5 м;

) Размеры рабочей поверхности столешницы должны быть не менее 1600*900 мм. Под столешницей рабочего стола должно быть свободное пространство для ног с размерами на высоте 600 мм, по ширине 500 мм, по глубине 650 мм;

) Для защиты от прямых солнечных лучей должны предусматриваться солнцезащитные устройства;

) Для исключения бликов отражения на экранах от светильников общего освещения необходимо применять специальные фильтры для экранов. Источники света параллельно направлению взгляда на экран;

) Пол помещения должен быть покрыт материалами, не выделяющими вредных веществ, поглощающими шум и накапливающими статическое электричество;

) Допускаемые уровни напряжённости электростатических полей на рабочих местах не должны превышать 20 кВ/м (ГОСТ 12.0.145-84);

) Мощность ультрафиолетового излучения не должна превышать 10 Вт/мчт*2мч на расстоянии 5 и 30 см от экрана дисплея (ГОСТ 27954-88);

) Клавиатура дисплея не должна быть жёстко связана с монитором.

Основной проблемой, связанной с охраной здоровья людей, использующих в своей работе персональные компьютеры, являются дисплеи с электроннолучевыми трубками (ЭЛТ). Они представляют собой источники наиболее вредных излучений, неблагоприятно влияющих на здоровье операторов. Существует два типа излучений, возникающих при работе монитора:

·        электростатическое;

·        электромагнитное.

Первое возникает в результате облучения экрана потоком заряженных частиц. Неприятности, вызванные им, связаны с пылью, накапливающейся на электростатически заряженных экранах, которая летит на пользователя во время его работы за дисплеем. Результаты медицинских исследований показывают, что такая электризованная пыль может вызвать воспаление кожи.

Электромагнитное излучение создается магнитными катушками отклоняющей системы, находящимися около цокольной части ЭЛТ. Специальные измерения показали, что невидимые силовые поля появляются даже вокруг головы оператора во время его работы за дисплеем.

При правильной организации рабочего места, соблюдении правил техники безопасности и разумном распределении рабочего времени можно решить большинство проблем.

Для устранения негативного влияния на зрение необходимо находиться от экрана на расстоянии не менее чем 50 см и через 30 минут работы делать перерывы на 5 минут. Так же следует делать упражнения для глаз. Общее время работы за дисплеем составляет не долее 4 часов за рабочий день. Для снятия эмоционального стресса должна быть оборудована комната отдыха. Для защиты от электромагнитного излучения следует применять защитный экран или сетку.

.6 Требования к микроклимату

Микроклиматические параметры влияют на функциональную деятельность человека, его самочувствие и здоровье и на надёжность работы средств вычислительной техники. Особенно большое влияние на микроклимат оказывают источники теплоты, находящиеся в помещении. Основными источниками теплоты в дисплейных залах являются: ЭВМ, приборы освещения, обслуживающий персонал.

Средняя величина тепловыделений составляет 310 Вт/м2. Удельная величина тепловыделений от приборов освещения составляет 35-60 Вт/м2. Количество теплоты обслуживающего персонала невелико, оно зависит от числа работающих в помещении и интенсивности работы выполняемой человеком. Кроме того, на суммарные тепловыделения оказывают влияние внешние источники поступлений теплоты. К ним относят теплоту, поступающую через окна от солнечной радиации, приток теплоты через непрозрачные ограждающие конструкции.

Основным тепловыделяющим оборудованием в дисплейном зале является ЭВМ - в среднем до 80 % суммарных выделений. Тепловыделения от приборов освещения составляют в среднем 12%. Поступление теплоты от обслуживающего персонала -1 %, от солнечной радиации - 6 %, приток теплоты через непрозрачные ограждающие конструкции - 1%. Эти источники теплоты являются постоянными.

На организм человека и работу компьютеров оказывает влияние относительная влажность воздуха. При относительной влажности воздуха более 75-80% снижается сопротивление изоляции, изменяются рабочие характеристики элементов ЭВМ, возрастает интенсивность отказов элементов ЭВМ. Скорость движения воздуха также оказывает влияние на функциональную деятельность человека и работу высокоскоростных устройств печати. Большое влияние на самочувствие и здоровье операторов ЭВМ, а также на работу устройств ЭВМ (магнитные ленты, магнитные диски, печатающие устройства) оказывает запылённость воздушной среды.

С целью создания нормальных условий для операторов ЭВМ установлены нормы микроклимата СанПиН.2.2.2542-96. Эти нормы устанавливают оптимальные и допустимые значения температуры, относительной влажности и скорости движения воздуха в дисплейных помещениях с учетом избытков явной теплоты, тяжести выполняемой работы и сезонов года.

Под оптимальными микроклиматическими параметрами принято понимать такие, которые при длительном и систематическом воздействии на человека обеспечивают сохранение нормального функционального и теплового состояния организма без напряжения реакции терморегуляции, создают ощущение теплового комфорта и являются предпосылкой высокого уровня работоспособности.

В рабочем помещении должен поддерживаться микроклимат, соответствующий категории работ (в данном случае " 1 категория). Оптимальная температура воздуха в помещении должна быть 20° - 25°С, допустимая температура 19° - 25°С. Относительная влажность воздуха должна быть в пределах 40 - 75%. Скорость движения воздуха - не более 0,2 м/с.

Работа на ЭВМ относится к IV - V классу точности. Освещение должно удовлетворять следующим требованиям: наиболее приближенное по спектру к дневному свету, равномерное. Норма освещённости 150 - 300 лк. Уровень шума, создаваемого оборудованием составляет 38 дБ.

.7 Требования по электробезопасности

При работе на АТСЭ основным опасным фактором является опасность поражения электрическим током. Электрический ток, воздействуя на организм человека, может вызвать поражения, степень которых зависит от рода и силы тока, а также от пути прохождения по телу.

Электроустановки, к которым относится практически все оборудование системы, представляют для человека большую потенциальную опасность, так как в процессе эксплуатации или проведения профилактических работ человек может коснуться частей, находящихся под напряжением. Специфическая опасность электроустановок: токоведущие проводники, корпуса стоек и прочего оборудования, оказавшегося под напряжением в результате повреждения (пробоя) изоляции, не подают каких-либо сигналов, которые предупреждали бы человека об опасности. Реакция человека на электрический ток возникает лишь при протекании последнего через тело человека.

К техническим мерам организации обеспечения электробезопасности относятся: изоляция сетей и электрооборудования, защитное зануление, электрозащитные средства.

Система выравнивания потенциалов служит для защиты работающего персонала от опасных напряжений и обеспечивает условия, являющиеся необходимыми для бесперебойной работы электронной станции. Выравнивание потенциалов необходимо для всех точек на оборудование станции, для которых предусмотрен основной уровень потенциала. Система заземления и выравнивания потенциалов защищает электронное оборудование станции от напряжений и токов из окружающей среды, которые могли бы нанести повреждения оборудованию станции.

Весь персонал в обязательном порядке инструктируется о мерах электробезопасности. Важное значение для предотвращения электротравматизма имеет правильная организация обслуживания действующих электроустановок, проведения ремонтных и профилактических работ, осуществляемая с помощью следующих мер:

·        допуск к работе;

·        надзор во время работы;

·        производство отключений во время ремонта;

·        вывешивание предупредительных плакатов и знаков безопасности;

·        проверка отсутствия напряжения;

·        наложение заземления.

Ещё одним методом защиты является нейтрализация статического электричества ионизированным газом. Можно также применять общее и местное увлажнение воздуха.

Помещение, рабочее место и персонал, выполняющий работы на АТСЭ должны быть обязательно антистатически защищены, согласно предписанию фирмы SIEMENS, в соответствии с которым имеется три способа защиты на объекте, а именно:

. Обязательно применение личных антистатических защитных средств (антистатический халат, хлопчатобумажные перчатки) и обязательное заземление с помощью проводящего браслета, выполненного из проводящей пластмассы и соединённого с точкой заземления с помощью проводящего шнура и резистора 1 МОм;

. Пол в помещении должен иметь проводящее антистатическое покрытие или должен быть выполнен как двойной антистатический пол и обязательное применение личных антистатических защитных средств (антистатический рабочий халат, хлопчатобумажные перчатки, проводящая обувь);

. Применение проводящего покрытия (коврика) перед оборудованием, подключённого к общей точке заземления посредством резистора 1 МОм и обязательно применение личных защитных средств.

Все выше перечисленные способы обеспечивают соответствующую защиту только при дисциплинированном применении защитных средств и при соблюдении правил по антистатической защите.

.8 Пожарная безопасность

Помещения, в которых расположено оборудование системы и рабочее место оператора по категориям пожарной безопасности относятся к категории «В». Обычно в нем находится большое количество возможных источников возгорания, как например:

·        кабельные линии, используемые для питания ЭВМ от сети переменного тока напряжением 220 В и 380 В, которые в целях понижения воспламеняемости покрывают огнезащитным материалом;

·        электронно-лучевая трубка дисплея, которая взрывоопасна без дополнительной защиты;

·        различные электронные устройства, которые при отказе системы охлаждения могут привести к короткому замыканию;

·        оборудование мебелью из горючих материалов;

·        носители информации, как-то бумага, магнитная лента.

Реально возможно возникновение пожара, для его предотвращения все работники обязаны знать и выполнять правила пожарной безопасности. Они должны проходить инструктаж, обучение и проверку знаний.

Под системами пожарной защиты понимаются комплексы организационных мероприятий и технических средств, направленных на предотвращение воздействия на людей опасных факторов пожара и взрыва.

Пожарная защита и взрывозащита производственных объектов обеспечиваются: ограничением распространения огня в случае возникновения очага пожара; обеспечением безопасной эвакуации людей; применением средств пожарной сигнализации, извещения и пожаротушения.

За системами автоматического обнаружения и тушения пожаров, а также другими средствами пожаротушения должен быть установлен постоянный надзор. Защита электропроводов от короткого замыкания и перегрузок током осуществляется при помощи плавких предохранителей и специальных автоматов, включаемых последовательно в электрическую цепь. Для тушения электротехнического оборудования и установок, находящихся под напряжением применяются угольно-кислотные огнетушители.

Для успешного тушения пожаров решающее значение имеет быстрое обнаружение пожара и своевременное прибытие пожарных подразделений к месту пожара. Различные системы электрической пожарной сигнализации (ЭПС) предназначены для обнаружения начальной стадии пожара и сообщения о месте его возникновения.

Соблюдение всех вышеупомянутых в главе условий, в которых протекает труд человека, способствует лучшей работоспособности, отношению к труду и результатам труда.

Требования к внутристанционной проводке, заземлению и защите.

Требования к внутристанционной проводке:

·  марки применяемых станционных кабелей и проводов должны соответствовать требованиям действуюших ГОСТ:

·  межстоечные соединения цепей тональной частоты должны выполняться станционными низкочастотными кабелями в оболочке из пластиката пониженной горючести (типа ТСВнг);

·  для аналоговых высокочастотных и цифровых цепей должны применяться высокочастотные экранированные кабели (типа КВСМ. КВМ ПЭВ. КВС ПЭВ и др.):

·  для цепей с пакетной передачей должны применяться кабели с витой парой типа UTP Cat 5 4x2 или ВОК;

·  сеть ремонтного освещения с напряжением не выше 42 В должна предусматриваться в производственных помещениях МСУ со стативным оборудованием для питания переносных светильников и электропаяльников:

·  соединение низкочастотных цепей на промежуточных устройствах (кросс, промщиты. вводно-коммутационные устройства, стойки промежуточных переключений) должно производиться кроссовым проводом с медными жилами;

·   составление схем кроссировок на промщитах должно производиться по действующим инструкциям;

·   при поставке в комплексе импортного оборудования требования к внутристаниионной проводке должны быть изложены в ТУ на конкретное оборудование:

♦       проектирование токораспределнтельной сети осуществляется в соответствии с ВСН 332-93.

Требования к заземлению:

·  каркасы оборудования и металлические части кросса должны быть заземлены. Шины заземления прокладываются от щитка заземления до автозала, ЛАЦ и далее вдоль бокового прохода по конструкциям рядов:

·  требования по защите кабельных линий на станционной стороне.

При установке дополнительной защиты в кроссе следует руководствоваться требованиями нормативных документов:

·  от опасных и мешающих напряжении и токов - ГОСТ 5238-81;

·  от ударов молний - «Руководства по защите металлических кабелей от ударов молний». Госкомсвязи РФ. 1997 г.: «Руководства по защите оптических кабелей от ударов молнии», Минсвязи РФ 1996 г.; «Правил технического обслуживания и ремонта линии кабельных, воздушных и смешанных местных сетей связи». Минсвязи РФ, 1996 г.:

♦ «Временных указаний по защите персонала и сооружении связи и радиофикации на участках пересечения и сближения с линиями электропередачи 750 кВ». Минсвязи СССР:

♦ «Правил устройства электроустановок (ПУЭ)» - разд. ПЗ, 4 и 5. Главгосэнергонадзор. 1998 г.;

♦ ТУ на коммутационное оборудование конкретного типа.

В районах, классифицированных как «не подверженные влияниям» (низкая грозодеятельность. высокая удельная проводимость земли, прокладка АЛ и СЛ только в канализации и коллекторе, наличие подземных металлических конструкций, труб водопровода, бронированных кабелей и т. п.) дополнительная зашита не требуется. Исключение составляют случаи, когда разработчик коммутационного оборудования требует установку электрической защиты в кроссе в соответствии с ТУ на коммутационное оборудование конкретного типа.

В регионах, классифицированных как «подверженные влияниям» (высокая грозодеятельность. низкая удельная проводимость земли, воздушные и/или смешанные физические АЛ и СЛ). требуется установка в кроссе дополнительной зашиты по напряжению до уровней не более 1000 В (или до величины, указанной в ТУ на коммутационное оборудование конкретного типа).

Для повышения стойкости оборудования шлюзов, абонентские комплекты которых могут выходить из строя при аварийном попадании в цепь АЛ напряжения сети электропитания 230 Вэфф. по требованию заказчика в кроссе может устанавливаться дополнительная зашита по току, в соответствии с ТУ на коммутационное оборудование конкретного типа, обеспечивающая отсутствие повреждения АК.

Организация охраны окружающей среды

Для исключения и возмещения ущерба, наносимого природной среде, и для исключения возникновения нежелательных экологических воздействий в проектах NGN при проектировании места размещения аккумуляторов должны быть использованы строительные и санитарно-технические нормы из «Правил устройства электроустановок» (ПУЭ), Главгосэнергонадзор. 1999 г.

Аккумуляторы, стоящие на станции, должны обслуживаться в соответствии с «Правилами технической эксплуатации электроустановок потребителем». Минэнерго, 1992 г., и в соответствии с «Инструкцией по техническому обслуживанию и настройке электроустановок на городских телефонных сетях», часть I «Эксплуатация оборудования электропитающих установок», изданной Главным управлением городской и сельской телефонной связи Минсвязи СССР в 1985 г.

При демонтаже свинцовых аккумуляторов в рабочие проекты и рабочую документацию необходимо включать требование о нейтрализации электролита перед его сливом в канализацию.

Мероприятия по охране окружающей среды при проектировании линейных сооружений должны предусматриваться в соответствии с РД 45.120-2000 пп. 19.4-19.7.

Обеспечение техники безопасности

При проектировании сельских мультисервисных сетей необходимо предусматривать:

♦ по станционным сооружениям:

♦       размещение оборудования в технических помещениях с обеспечением нормируемых проходов:

♦       наличие эвакуационных выходов из здания;

♦       заземление всех металлоконструкций здания, в котором размешается оборудование. а также заземление самого оборудования станции:

♦       естественное и искусственное освещение производственных, подсобных помещений, лестничных площадок, а также аварийное освещение;

♦       допустимый уровень шума в производственных помещениях. В помещениях, где уровень шума превышает допустимые пределы, необходимо предусмотреть звукопоглощающие покрытия стен и потолков:

♦       меры защиты помещений от пыли, позволяющие поддерживать запыленность воздуха в норме:

♦       установку необходимых вентиляционных и отопительных устройств:

♦       применение комплекса защитных средств: диэлектрических ковриков, перчаток, предупреждающих плакатов и др. для зашиты обслуживающего персонала от поражения электрическим током;

♦       применение стремянок и т. п. для обслуживания оборудования на высоте;

♦       применение для проведения ремонтных и профилактических работ пониженного напряжения 42 В для переносных ламп и ручного инструмента:

♦       непревышение предельно допустимых уровней напряженности электромагнитных полей оборудования станции, установленных в СанПиН 2.2.4,2.1.8.055-96:

♦       заполнение свободного пространства, оставшегося после прокладки кабелей и проводов в проемах или трубах между помещениями, в том числе между этажами, легко удаляемыми негорючими материалами (минеральной ватой и др.) для предотвращения распространения пожара из помещения в помещение (проектная документация на строительство станционных сооружении связи).

♦ по линейным сооружениям - в соответствии с РД45.120-2000, п. 20.1.

Соблюдение всех вышеупомянутых в главе условий, в которых протекает труд человека, способствует лучшей работоспособности, отношению к труду и результатам труда.

Заключение

сеть коммутация маршрутизатор сигнальный

В данной дипломной работе рассмотрены концептуальные вопросы перехода от ТФОП к сети NGN. Проведен анализ, который позволил дать рекомендации по выбору варианта построения сети связи NGN, определены задачи и принципы ее построения, перечень и принципы предоставления первоочередных услуг, методика расчета оборудования и произведена оценка эффективности предлагаемого проекта.

. Проанализированы тенденции предоставления услуг с добавленной стоимостью и сделан вывод о том, что предоставление услуг является новым перспективным сегментом рынка услуг связи.

. Показано, что развитие рынка услуг связи с добавленной стоимостью приведет к увеличению доходов оператора, как прямых (от непосредственного предоставления услуг), так и косвенных (от увеличения объемов нагрузки).

. Рассмотрено функциональное содержание наиболее популярных услуг ИСС. В качестве первоочередных предложены следующие:

·        телеголосование;

·        универсальный номер доступа;

·        услуги за дополнительную оплату;

·        вызов по предоплаченной карте;

·        универсальный почтовый ящик.

. Выбран наиболее целесообразный способ перехода от ТФОП к сети NGN - реконструкция сети с уровня опорно-транзитных АТС. В качестве производителя основного оборудования использовалось оборудование фирмы Nortel.

. Дана оценка экономической эффективности внедрения предложенного варианта построения сети и показано, что окупаемость затрат произойдет уже на третий год эксплуатации оборудования.

Библиография

1. Семенов Ю.В. Проектирование сетей связи следующего поколения.- Гипросвязь.- 2005 - 236 с.

2. Шувалов В.П. Оборудование Alcatel для сетей нового поколения.- Новосибирск:Веди, 2004.- 249 с.

3. Гольдштейн Б.С. Модернизация сетей доступа в эпоху NGN. // Вестник связи. - 2003. - №6.

4. Гольдштейн А.Б. От ТфОП к NGN: Аспекты переходного периода. // Вестник связи. - 2005 - №4.

5. Вайспапир В.Я., Катунин Г.П., Мефодьева Г.Д. ЕСКД в студенческих работах: учеб. пособие / СибГУТИ. - Новосибирск, 2004. - 101 с.

6. Инструкция по расчёту основных технико-экономических показателей и заполнению форм-таблиц бизнес-плана на стадиях проектирования для предприятий связи (3-я редакция). М.: Гипросвязь, 1999

7. Шмалько А.В. Цифровые сети связи. Основы планирования и построения. - М.: Эко-Трендз, 2001.

8. Соловьев С.Ю., Дорф И В. Интеллектуальные сети связи // Радио - 1999 - №6

9. Шувалов В.П., Субботин Е.А., Величко В.В Телекоммуникационные системы и сети: Учебное пособие. В 3 томах. Том 3. - Мультисервисные сети. - М.: Горячая линия - Телеком, 2005. - 592.: ил.

10.  Быков Ю.П., Егунов М.М., Ромашова Т.И. Справочные материалы по курсовому и дипломному проектированию. - Новосибирск: СибГУТИ, 2001.-54 с.

Похожие работы на - Переход от ТФОП к сети NGN города Новокузнецка

 

Не нашли материал для своей работы?
Поможем написать уникальную работу
Без плагиата!
Без нейросетей!