Оптико-акустические газоанализаторы

  • Вид работы:
    Курсовая работа (т)
  • Предмет:
    Информатика, ВТ, телекоммуникации
  • Язык:
    Русский
    ,
    Формат файла:
    MS Word
    399,36 Кб
  • Опубликовано:
    2013-10-28
Вы можете узнать стоимость помощи в написании студенческой работы.
Помощь в написании работы, которую точно примут!

Оптико-акустические газоанализаторы

Содержание:

Введение

. Оптико-акустические газоанализаторы

. Газоанализатор оптико-акустический

. Оптико-акустический газоанализатор КЕДР-М

.1 Принцип действия

. Лазерный Оптико-акустический газоанализатор внутреннего типа

.1 Применение эффекта

.2 Реализации эффекта

. Оптические абсорбционные в инфракрасной области спектра (оптико-акустические) газоанализаторы на СО, СO2, СH4, С2H2

. Область применения систем газосигнализаторов САКЗ

. Принцип действия систем сигнализаторов загазованности САКЗ

. Системы контроля газа САКЗ-МК

. Системы контроля утечки газа

Заключение

Список используемой литературы


Введение

ГАЗОАНАЛИЗАТОРЫ это приборы, измеряющие содержание (концентрацию) одного или нескольких компонентов в газовых смесях. Каждый газоанализатор предназначен для измерения концентрации только определенных компонентов на фоне конкретной газовой смеси в нормированных условиях. Наряду с использованием отдельных газоанализаторов создаются системы газового контроля, объединяющие десятки таких приборов. В большинстве случаев работа газоанализаторов невозможна без ряда вспомогательных устройств, обеспечивающих создание необходимых титры и давления, очистку газовой смеси от пыли и смол, а в ряде случаев и от некоторых мешающих измерениям компонентов и агрессивных веществ. Газоанализаторов классифицируют по принципу действия на пневматические, магнитные, электрохимические, полупроводниковые и др. Ниже излагаются физические основы и области применения наиболее распространенных газоанализаторов.

Оптико-акустические газоанализаторы. Для контроля состава отработавших газов автотранспорта в процессе эксплуатации разработан оптико-акустический газоанализатор. Ультрамикроконцентрации оксида углерода (II), содержащегося в атмосферном воздухе, также измеряют спектроабсорбционным методом с использованием полосы поглощения СО в инфракрасной области спектра 4,66 мкм, где приемниками лучистой энергии служат герметичные камеры с конденсаторным микрофоном, заполненные газовой смесью из определяемого газа. Такие газоанализаторы называют оптико-акустическими.


1. Оптико-акустические газоанализаторы

Оптико-акустический эффект состоит в следующем: при воздействии на газ (находящийся в замкнутом объеме) прерывистым потоком инфракрасной радиации происходит пульсация температуры, а следовательно, и давления этого газа. Эта пульсация, воздействуя на микрофон, вызывает «звучание» газа.

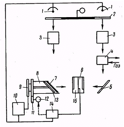
На рис. 1 приведена принципиальная схема газоанализатора. Инфракрасное излучение от двух источников 1 направляется по двум каналам (рабочему и сравнительному), проходя при этом через обтюратор 2,который шесть раз в секунду прерывает оба потока одновременно. Прерывистые потоки излучения проходят через фильтровые камеры 3 заполненные обычно данной смесью газа, из которой исключен анализируемый компонент. Наличие фильтровых камер обеспечивает уменьшение погрешности за счет возможного частичного наложения спектров поглощения анализируемой и не анализируемой составляющей газовой смеси. Далее поток радиации, направленный по рабочему каналу, проходит рабочую камеру 4, через которую непрерывно пропускается анализируемая газовая смесь. Анализируемая составляющая газа поглощает часть энергии, определяемой поглощающей способностью этого газа. Остаток лучистой энергии после отражения от пластины 5 поступает в правую область луче приемника 6. Лучистый поток, проходящий по сравнительному каналу, после фильтровой камеры 3 попадает в компенсационную камеру 8. Компенсационная камера заполнена анализируемой составляющей смеси. На поверхности этой камеры имеются окна из специального стекла (Li+F) 7 свободно пропускающего инфракрасные лучи. Внутри компенсационной камеры имеется отражательное зеркало, которое направляет лучистый поток в левую область луче приемника 6. Если в правую и левую области луче приемника поступают различные по величине прерывистые потоки излучения, то конденсаторный микрофон 15, помещенный в луче приемнике, создает звуковой сигнал, который после усиления усилителем 14 воздействует на реверсивный двигатель 12. Реверсивный двигатель с помощью редуктора 11 перемещает отражательное зеркало 13 до тех пор, пока поток сравнительного канала не уравняется с потоком, поступающим в луче приемник по рабочему каналу. При равенстве этих потоков звучание микрофона прекращается. Перемещение отражательного зеркала внутри уравнительной камеры вызывает изменение ее объема, т. е. изменение пути движения газа, что приводит к изменению поглощения лучистой энергии. Одновременно с редуктором перемещается движок реохорда 9 вторичного прибора10.

Подобные газоанализаторы выпускают для диапазонов от 0÷1% до 0÷100% по объему анализируемого компонента с основной погрешностью от ±2,5 до ±5% от верхнего предела измерения.

Рис. 1. Принципиальная схема оптико- акустического газоанализатора

2. Газоанализатор оптико-акустический

Газоанализатор оптико-акустический - это автоматический непрерывно действующий прибор, предназначаемый для изучения концентрации одного из компонентов в сложных газовых смесях.

Среди возможных применений газоанализатора оптико-акустического стоит отметить:

технологический контроль на различных производствах (в т.ч. ацетилена, аммиака, метанола),

оптимизацию процессов горения на основании данных о составе дымовых газов,

контроль содержания в отходящих газах на топливосжигающих установках различных типов (асфальтовых заводов, ТЭЦ, водогрейных котлов) оксида углерода,

научные исследования и проч.

Принцип действия прибора базируется на избирательном поглощении лучистой энергии определяемыми компонентами изучаемой газовой смеси в инфракрасной области спектра. Эта способность присуща всем газам, кроме N2, О2, С12, Н2 и одноатомных газов. Оптико-акустический приемник фиксирует степень ослабления энергии излучения, пропущенного через определенный слой анализируемого газа. Газоанализатор оптико-акустический отображает электрический сигнал, получаемый в результате пульсаций давления газа. Схожие определения:

Термогигрометр беспроводной <#"697167.files/image002.gif">

Рис 2.

Газоанализатор - это измерительный прибор, позволяющий идентифицировать газы, содержащиеся в воздушной среде, а также определить их количественный состав в процентном соотношении, и наблюдать в режиме реального времени на цифровой панели прибора.

Газоанализаторы Хоббит предназначены для выявления опасной концентрации анализируемых им газов в воздухе. Прибор отображает концентрацию определяемых газов на электронном табло и сигнализирует о превышении заданной опасной концентрации. Повышенная концентрация в воздухе горючих газов может привести к взрыву. Превышение предельнодопустимой концентрации токсичных газов может привести к отравлению людей. Газоанализатор Хоббит предназначен для обеспечения безопасных условий труда. Газоанализатор Хоббит измеряет содержание метана в воздухе и сигнализирует об его увеличении выше допустимого предела. Отличается высокой надежностью, удобством в работе, не требует обслуживания, реактивов и расходных материалов. Работоспособность в широком диапазоне температур позволяет использовать данный газоанализатор в неотапливаемых помещениях.

Хоббит-Т может иметь от одного до шестнадцати каналов измерения в зависимости от объекта (количества газового оборудования которые требуют контроля). Уровень концентрации газа отображается на электронном индикаторе, в случае превышения заданного порога срабатывания активируется световая и звуковая сигнализации, и одновременно срабатывает КЗГЭМ (клапан запорный газовый электромагнитный) которым управляет БУК 2.4 (Блок управления клапаном)

Блок управления клапаном БУК 2.4 предназначен для работы в составах систем автоматики и сигнализации при использовании в таковых предохранительно-запорных клапанов КЗГЭМ. Блок рассчитан на подключение датчиков с выходами типа «сухой контакт» или «открытый коллектор» по двум входам. Третий вход предназначен для подключения датчика с выходом типа «активный», с напряжением до 24 В постоянного тока в состоянии логической «1» и не более 0.8 В постоянного тока в состоянии логического «0». Вход имеет входное сопротивление 51 кОм. Сюда может быть подключен и датчик типа «сухой контакт».





Заключение

Оптико-акустический метод основывается на следующем физическом явлении. Если газ, способный поглощать инфракрасные лучи, поместить в закрытый объем, и подействовать влиянием потока инфракрасной энергии, то за некоторый промежуток времени газ нагревается до некоторой температуры, которая определяется условиями теплопередачи. Одновременно увеличивается также давление газа. Когда поток прерывается с некоторой частотой при помощи обтюратора, газ в закрытом объеме периодически нагревается и охлаждается, возникают колебания температуры и давления газа, которые могут быть восприняты чувствительным элементом газоанализатора.

Системы автоматического контроля газа очень просты при монтаже, наладке, обслуживании.

Ряд таких достоинств как:

простота конструкции;

высокая надежность;

комплектность, позволяющая производить полный монтаж «под ключ»;

низкая стоимость;

позволяет пользователям систем газовых сигнализаторов выбирать их и в дальнейшем.

Список используемой литературы

1. Межерис Р. Лазерное дистанционное зондирование. М.: Мир,1987. 550 с. [Measures R.M. Laser remote sensing . Fundamentals and applications. J. Wiley & Sons, New York, 1984. 510 p.].

. Пономарев Ю.Н. Лазерная оптико-акустическая спектроскопия атмосферы // Оптика атмосферы и океана. 1995. Т.8. N1-2. С. 224-241.

. Лазерная оптико-акустическая спектроскопия межмолекулярных взаимодействий в газах / Ю.Н. Пономарев, Б.Г. Агеев, М.В. Зигрист [и др.] Томск: МГП «РАСКО», 2000. 200 с.

. Оптико-электронные системы экологического мониторинга природной среды / В.И. Козинцев[и др.] М.: Изд-во МГТУ им. Н. Э. Баумана, 2002. 528 с.

. Лазерный оптико-акустический анализ многокомпонентных газовых смесей / В.И. Козинцев[и др.] М.: Изд-во МГТУ им. Н. Э. Баумана, 2003. 352 с.

. Основы количественного лазерного анализа / В.И. Козинцев[и др.] М.: Изд-во МГТУ им. Н. Э. Баумана, 2006. 464 с.

. Воскобойников Ю.Э., Преображенский Н.Г., Седельников А.Н. Математическая обработка эксперимента в молекулярной газодинамике. Новосибирск: Наука, 1984, 238 с.

. Тихонов А.Н., Арсенин В.Я. Методы решения некорректных задач. М.: Наука, 1979, 288 с.

. Еременко Л.Н., Козинцев В.И., Городничев В.А. Метод байесовских оценок в задаче лазерного газоанализа // Известия вузов. Физика. 2008. N9. С. 29-35.

. Преображенский Н.Г., Пикалов В.В. Неустойчивые задачи диагностики плазмы. Новосибирск: Наука, 1982. 238 с.


Не нашли материал для своей работы?
Поможем написать уникальную работу
Без плагиата!
Без нейросетей!