Почему диэлектрики теряют электрическую прочность?
Почему
диэлектрики теряют электрическую прочность?
Диэлектриками
называют вещества, основным электрическим свойством которых является
способность поляризоваться в электрическом поле. В газообразных, жидких и
твердых диэлектриках электрические заряды прочно связаны с атомами, молекулами
или ионами и в электрическом поле могут лишь смещаться. Происходит разделение
центров положительного и отрицательного зарядов, т.е. поляризация. Используемые
на практике диэлектрики содержат и свободные заряды, которые, перемещаясь в
электрическом поле, обусловливают электропроводность, способность диэлектрика
пропускать постоянный электрический ток. Однако количество таких свободных
зарядов в диэлектрике невелико, а поэтому весьма мал и ток. Следовательно, для
диэлектрика характерным является весьма большое сопротивление прохождению
постоянного тока.
Диэлектрическими
материалами называют класс электротехнических материалов, предназначенных для
использования их диэлектрических свойств (оказывать большое сопротивление
прохождению электрического тока и способность поляризоваться).
Электроизоляционными
материалами называют диэлектрические материалы, предназначенные для создания
электрической изоляции токоведущих частей в электротехнических и
радиоэлектронных устройствах. Электрическая изоляция является неотъемлемой
мастью электрической цепи и прежде всего нужна для того, чтобы не пропускать
ток по не предусмотренным электрической схемой путям.
Используемые в
качестве электроизоляционных материалов диэлектрики называются пассивными диэлектриками.
В настоящее время широко применяются так называемые активные диэлектрики,
параметры которых можно регулировать изменяя напряженность электрического поля,
температуру, механические напряжения и другие параметры воздействующих на них
факторов. Например, конденсатор, диэлектрическим материалом в котором служит
пьезоэлектрик, под действием приложенного переменного напряжения изменяет свои
линейные размеры и становится генератором ультрозвуковых колебаний. Емкость
электрического конденсатора, выполненного из нелинейного диэлектрика -
сегнетоэлектрика, изменяется в зависимости от напряженности электрического
поля; если такая емкость включена в колебательный LC-контур, то изменяется и
его частота настройки.
Техника, технология
и эксплуатация электротехнического и радиоэлектронного оборудования предъявляют
самые разнообразные требования к свойствам диэлектрических материалов. Помимо
нужных электрических свойств диэлектрические материалы должны обладать еще
механическими, термическими и многими другими физико-механическими свойствами.
Практически
используемые диэлектрики содержат в своем объеме небольшое количество свободных
зарядов, которые перемещаются в электрическом поле. Поэтому диэлектрики на
постоянном напряжении пропускают весьма малый ток. Этот ток называют сквозным
током утечки.
Удельная
проводимость и удельное сопротивление. На рис.
1 схематически изображен участок твердой изоляции с расстоянием между
электродами 1 и 2h (м) и сечением S = h·l(м2), по которому протекает сквозной ток утечки Iиз
(А). Ток Iиз складывается из объемного тока утечки Iv, протекающего через
объем, и поверхностного тока утечки /», протекающего по поверхности изоляции от
электрода 1 к 2. Если к электродам приложено напряжение U (В), то проводимость Gиз (см) такого участка изоляции равна
Gиз = Iиз/U.
Величина, обратная Gиз называется сопротивлением изоляции:
Rиз= l/Gиз (Ом).
Для твердых
диэлектриков ток Iv определяет величину объемной GV, а ток IS -
поверхностной Gs проводимости изоляции, а соответственно объемное RV и поверхностное RS сопротивления.
Рис. 1. Объемный Iv и поверхностный IS,
токи утечки через участок изоляции
Электропроводность
диэлектрика характеризуют параметрами: удельной объемной σV и поверхностной σs проводимостью или
удельным объемным рv и поверхностным ps сопротивлением.
Если объемное сопротивление изоляции (рис. 1) равно Rv, то р» = RvS/h.
Пробой
диэлектриков и электрическая прочность. Если в
ходе повышения приложенного к изоляции напряжения напряженность электрического
поля в диэлектрике превышает некоторое критическое значение, то диэлектрик
теряет свои электроизолирующие свойства. Сквозной ток, протекающий через
диэлектрик, резко возрастает до 108 А/м2, а сопротивление
диэлектрика уменьшается до такого значения, что происходит короткое замыкание
электродов.
Это явление
называют пробоем диэлектрика.
Значение напряжения
в момент пробоя называют пробивным напряжением, напряженность в момент пробоя -
электрической прочностью.
На рис. 2 показана
типичная зависимость сквозного тока, протекающего через диэлектрик, от
приложенного напряжения при пробое. Если напряжение, приложенное к диэлектрику,
достигло Uпр, то сквозной ток резко
увеличивается даже тогда, когда напряжение на электродах уменьшается, так как в
диэлектрике под действием приложенного напряжения происходят необратимые
изменения, резко уменьшающие его электрическое сопротивление.

В зависимости от
свойств изоляции и мощности источника электрической энергии, с помощью которого
подается напряжение на образец, после пробоя в изоляции могут наблюдаться
следующие изменения. В месте пробоя возникает искра, а при большой мощности
источника - даже электрическая дуга, под действием которой происходят
оплавление, обгорание, растрескивание и тому подобные изменения и диэлектрика,
и электродов. В пробитом твердом диэлектрике в месте пробоя можно обнаружить
пробитое, проплавленное, прожженное отверстие - след пробоя. Если к такому
образцу твердой изоляции напряжение приложить повторно, то пробой происходит,
как правило, при значительно меньших напряжениях, чем Uпр первого пробоя. При пробое газообразных и жидких диэлектриков
после снятия приложенного напряжения пробитый промежуток восстанавливает
первоначальные значения Uпр, так как атомы и
молекулы газа или жидкости практически мгновенно диффундируют в объем, который
занимали разрушенные в процессе пробоя частицы. Если пробой электрической
изоляции происходит в однородном электрическом поле, то
Епр = Uпр/h
где Епр
- электрическая прочность, В/м;
Uпр - пробивное напряжение,
В;
h - расстояние между электродами, толщина изоляции, м.
На практике
пробивное напряжение удобно выражать в киловольтах, толщину диэлектрика - в
миллиметрах, а электрическую прочность - в киловольтах на миллиметр. В этом
случае справедливы следующие соотношения:
6 В/м = 1 МВ/м = 1 кВ/мм.
При определении Еар
твердого диэлектрика может произойти пробой по поверхности - перекрытие
образца, т.е. поверхностный пробой (рис. 3).
Рис. 3. Схема пробоя (1) и
перекрытия (2) образца твердого диэлектрика
В этом случае
пробиваются воздух или жидкость, окружающие образец твердого диэлектрика.
Напряжение поверхностного перекрытия зависит от свойств твердого диэлектрика,
формы образца, электродов и закономерности пробоя окружающей среды.
Экспериментально
определяемая величина Епр зависит от толщины образца диэлектрика,
формы и площади электродов, скорости подъема и времени воздействия приложенного
напряжения. Значение Епр на постоянном напряжении может сильно
отличаться от Епр на переменном, а также различаются значения Enр на импульсном напряжении при частоте 50 Гц и при более высоких
частотах. На величину Епр влияют и другие факторы. Определение
электрической прочности проводится стандартизованными методами. Только в этом
случае возможны сравнение диэлектриков между собой и контроль их качества.
Образцы для
определения Епр твердых диэлектриков должны обеспечивать пробой в
однородном поле; их размеры задаются в стандартах, и они намного больше
размеров электродов для того, чтобы исключить поверхностный пробой. Для
предотвращения поверхностного пробоя можно проводить определение Епр
на образцах, расположенных в жидком диэлектрике, например трансформаторном
масле. На рис. 4 приведены формы и размеры ряда образцов для определения Епр
твердых диэлектриков. Если толщина образца не позволяет определить его UDp, то в нем
выполняют проточку, как это показано для толстых плоского (рис. 4, б) и
цилиндрического (рис. 4, д) образцов.
В качестве
электродов могут использоваться массивные металлические нажимные электроды,
изготовленные из нержавеющей стали, меди, латуни и других металлов; притертые
на вазелине и трансформаторном масле фольговые, напыленные в вакууме
металлические, графитовые и другие электроды. Для получения в месте пробоя
однородного поля диаметр D1 нижнего электрода должен
быть не менее чем в три раза больше диаметра D верхнего электрода (рис. 4, а).
Могут применяться и электроды с одинаковыми диаметрами (рис. 4, в). Однородное
поле в тонких пленочных образцах обеспечивает применение полусферического
верхнего электрода.
В керамических
образцах полусферический электрод образуется в результате металлизации полусферической
лунки (рис. 4, г). Для определения Env жидких диэлектриков используют специальные ячейки, выполненные из
фарфора, стекла, кварца или специальных пластмасс, не реагирующих с испытуемыми
жидкими диэлектриками. Электроды здесь изготовляются из латуни.
Рис. 4. Образцы для
определения электрической прочности твердых электроизоляционных материалов
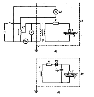
Измерение Unp образцов
диэлектриков производится на испытательных установках, принципиальная схема
которых изображена на рис. 5.
Установка для
измерения Uпр при частоте 50 Гц (рис.
5, а) состоит из испытательного трансформатора Т для повышения напряжения.
Напряжение на низковольтной обмотке этого трансформатора плавно или ступенями
изменяется с помощью автотрансформатора А Т. Образец 1 подключен с помощью
электродов 2 и 3 к высоковольтной обмотке испытательного трансформатора.
Защитный резистор R служит для ограничения тока, протекающего при пробое по
высоковольтной обмотке трансформатора Т. Напряжение на образце измеряется
вольтметром V, который градуируют по напряжению высоковольтной обмотки.
Мощность испытательной установки должна быть достаточной, чтобы установившийся
ток короткого замыкания при пробое со стороны высокого напряжения был не менее
40 мА при испытаниях твердых и 20 мА жидких диэлектриков. Этот ток контролируют
по амперметру мА, проградуированному по току короткого замыкания в
высоковольтной обмотке. Напряжение на токоведущих частях высоковольтного
трансформатора и резисторе R опасно для жизни. Поэтому трансформатор Т, резистор R и испытательное поле, на котором
расположены образец 1, электроды 2, 3, размещают в защитной камере ЗК.

В ходе определения Unp напряжение на
низковольтной обмотке плавно или ступенями повышают и фиксируют напряжение
пробоя по вольтметру V. В цепи низкого напряжения предусмотрено автоматическое
устройство, которое отключает питание установки в момент пробоя. Сигнальная
лампа СЛ указывает на включение и отключение установки.
Для измерения Unp на постоянном токе
(рис. 5, б) в цепь высокого напряжения включают высоковольтный диод Д и
конденсатор Сф, который служит для сглаживания пульсаций тока в этой
однополуперйодной схеме выпрямления.
Число пробоев при
испытаниях оговаривается техническими условиями на свойства материалов. Однако
в любом случае число пробоев должно быть не менее 5, а при испытании узких и
ленточных материалов электродами с диаметром 6 мм число пробоев должно быть не
менее 10. В том случае, если отдельные результаты отличаются от среднего
арифметического более чем на 15%, число пробоев увеличивается в два раза.
Физическая
природа пробоя диэлектриков. Различают
следующие виды пробоя диэлектриков.
Электрический
пробой, в процессе которого диэлектрик разрушается силами, действующими в
электрическом поле на электрические заряды его атомов, ионов или молекул. Этот
вид пробоя протекает в течение 10 -8 - Ю-5 с, т.е.
практически мгновенно. Он вызывается ударной ионизацией электронами. На длине
свободного пробега к электрон в электрическом поле Е приобретает энергию W = еЕλ, где е - заряд электрона. Если энергия электрона достаточна для
ионизации, то электрон при соударении с атомами, ионами или молекулами, из
которых состоит диэлектрик, ионизирует их. В результате появляются новые
электроны, которые также ускоряются электрическим полем до энергии W и. Таким образом,
количество свободных электронов лавинно возрастает, что приводит к резкому
повышению проводимости и электрическому пробою. Плотность жидких и твердых
диэлектриков больше плотности газообразных, а поэтому длина свободного пробега
электронов в них меньше. Для того чтобы электрон приобрел энергию Wи, в жидком и твердом диэлектриках нужна большая напряженность
электрического поля. Следовательно, в случае электрического пробоя
электрическая прочность жидких и твердых диэлектриков больше, чем газообразных.
Действительно, при нормальных условиях для воздуха Eпр =3·106 В/м, для жидких диэлектриков может достигать 108
В/м, для твердых (монокристаллов) - даже 109 В/м.
Электротепловой
пробой, обусловлен прогрессивно нарастающим выделением теплоты в диэлектрике
под действием диэлектрических потерь или электропроводности; его часто называют
тепловым пробоем.
Тепловой пробой
возникает, когда нарушается равновесие между теплотой, выделяющейся в
диэлектрике, и теплотой, которая отводится в окружающую среду. Если
выделяющаяся теплота больше отводимой, то диэлектрик нагревается и в местах
наихудшего теплоотвода температура возрастает до такого значения, что
происходит прожог, проплавление, т.е. пробой. Время развития и величина tnp электротеплового
пробоя зависят от конструкции электроизоляционного изделия (образца) и условий
отвода выделяющейся в диэлектрике теплоты в окружающую среду. Тепловой пробой
развивается в течение 10-3 - 10-2 с, т.е. во много
(миллионы) раз медленнее электрического. Значение Епр составляет до
107 В/м.
Электрохимический
пробой (электрическое старение) обусловлен медленными изменениями химического
состава и структуры диэлектрика, которые развиваются под действием
электрического поля или разрядов в окружающей среде. Время развития
электрохимического пробоя составляет 103 - 108 с и
называется временем жизни τж диэлектрика. С увеличением
напряжения или температуры τж, как правило,
уменьшается. Процесс электрохимического пробоя развивается в электрических
полях, значительно меньших, чем электрическая прочность диэлектрика.
Возможны и другие
разновидности механизмов пробоя, которые имеют место в этих трех типах пробоя,
как отдельные стадии развития процесса потери электрической прочности.
Различают ионизационный, электромеханический, электротермомеханический
механизмы пробоя.
Ионизационный
пробой возникает в результате действия на диэлектрик частичных разрядов в
газовых порах. Разрушительное воздействие частичных разрядов на диэлектрик
обусловлено многими факторами. Например, полимерные диэлектрики под действием
частичных разрядов окисляются; образующиеся в результате частичных разрядов
электроны и ионы, бомбардируя стенки пор, производят их эрозию, т.е.
механически разрушают; образующиеся оксиды азота и озон химически разрушают
полимер; наконец, разрушают стенки поры тепловое воздействие перегретого
разрядом газового включения.
Электромеханический
пробой наблюдается в полимерных диэлектриках при температурах, когда они
находятся в высокоэластичном состоянии. Под действием сил электростатического
притяжения, возникающих между электродами при высоком напряжении, происходит
механическое сдавливание диэлектрика, уменьшение его толщины. При достижении
критической деформации происходит механическое разрушение образца.
Электротермомеханический
пробой является разновидностью электротеплового и наблюдается в хрупких
диэлектриках, например в керамиках, содержащих поры. Вблизи ионизированных
газовых включений образуются перегретые области диэлектрика. Их тепловое
расширение больше, чем у менее нагретых областей. В результате в диэлектрике
возникают механические напряжения, которые приводят к образованию в хрупком
материале микротрещин и в конечном итоге к механическому разрушению.
Пробой
газообразных диэлектриков. Воздух служит
внешней изоляцией электроизоляционных узлов трансформаторов, высоковольтных
выключателей, изоляторов линий электропередачи и других электротехнических
устройств. Воздух и другие газообразные диэлектрики используют в изоляции
конденсаторов, кабелей, распределительных устройств электростанций. Поэтому
конструкции таких электротехнических изделий разрабатываются с учетом электрической
прочности газов, в атмосфере которых они работают.
Газообразные
диэлектрики обладают высокими электроизоляционными свойствами только при низких
напряжениях. В сильных электрических полях, когда начинается процесс ударной
ионизации, проводимость газов резко возрастает. Энергия ионизации молекул или
атомов различных газов изменяется от 4 до 25 эВ. Такую энергию имеет электрон,
если скорость его движения равна 1000 км/с. Вероятность ионизации
перемещающимися в газе положительными ионами намного меньше, чем электронами.
Это связано с тем, что положительные ионы обладают меньшей подвижностью. Если
при столкновении с молекулами они производят ионизацию, то образовавшийся
электрон притягивается к положительному иону и рекомбинирует с ним. Наконец,
ускоренный до больших энергий ион при взаимодействии с электроном атома или
молекулы газа передает ему незначительную часть энергии, так как его масса в
тысячи раз больше массы электрона.
Пробой развивается
следующим образом. Под действием внешнего ионизатора, например при фотоэмиссии
электронов с катода, в разрядном промежутке образуются электроны. Эти первичные
электроны, перемещаясь от катода к аноду, производят ударную ионизацию, в
результате чего возникает и перемещается к аноду ср скоростью 10s м/с первичная электронная
лавина. На пути следования лавины образуется канал, состоящий из электронов и
положительных ионов, плотность которых лавинно увеличивается и она тем больше,
чем ближе фронт лавины расположен к аноду.
В ряде случаев
ускоренный полем электрон при столкновении с частицами газа передает им свою
энергию, однако ионизации не происходит. Энергия затрачивается на перевод в
возбужденное состояние электронов в атомах или молекулах. В последующем
электроны возвращаются в невозбужденное состояние, а запасенная избыточная
энергия излучается в виде кванта света, фотона. Фотоны образуются и в
результате рекомбинации электронов и ионов. Фотоны распространяются со
скоростью света (3·108 м/с), и их энергия в некоторых случаях
достаточна, чтобы произвести фотоионизацию других атомов или молекул,
расположенных далеко впереди фронта первичной лавины. В результате появляются
вторичные, образовавшиеся за счет фотоионизации электроны, которые в свою
очередь начинают процесс ударной ионизации и порождают новые электронные
лавины, расположенные далеко впереди фронта первичной лавины.
На следующей стадии
отдельные лавины нагоняют друг друга, сливаются и образуют сплошной канал.
Более подвижные электроны быстрее перемещаются к аноду, поэтому канал в
основном состоит из положительных ионов и его называют стримером. Стример имеет
форму острия, обращенного к катоду. Вблизи острия - головки стримера -
напряженность электрического поля повышена и образующиеся в разрядном
промежутке электроны притягиваются к острию. В результате область близ головки
стримера превращается в электропроводящую плазму, состоящую из положительных
ионов и электронов. Часть электронов рекомбинйрует с ионами, порождая
фотоизлучение, которое вызывает вторично фотоионизацию. Образующиеся
фотоэлектроны рождают новые, дочерние электронные лавины, и стример
перемещается к катоду, а генерируемые фотоэлектроны втягиваются в область,
занятую положительными ионами, превращая ее в электропроводящую плазму. Стример
перемещается к катоду со скоростью 106 м/с.
Наконец, стример
достигает катода, и электропроводящий плазменный канал замыкает разрядный
промежуток. В результате ударов положительных ионов на поверхности катода
образуется катодное пятно, излучающее электроны, которые со скоростью 107
м/с распространяются по электропроводящему плазменному каналу к аноду. Этот
процесс наблюдается в разрядном промежутке как искра (искровой разряд).
Пробивным напряжением газа является напряжение, при котором происходит искровой
разряд. Если мощность источника напряжения достаточна для поддержания испарения
металла катода и мощного дугового разряда, то между электродами загорается
электрическая дуга (дуговой разряд).
Скорости
распространения электронных лавин к аноду, стримера к катоду и электронов с
катодного пятна к аноду большие, поэтому пробой газа в однородном поле
развивается весьма быстро. Например, пробой промежутка 1 см при нормальных
атмосферных условиях завершается за 10-8 - 10-7 с.
Благодаря большой скорости развития пробой газов на переменном напряжении с
частотой 50 Гц происходит, если амплитудное значение приложенного напряжения
достигает пробивного напряжения промежутка на постоянном токе. При
кратковременном воздействии напряжения разряд в газе может не оформиться и
пробивное напряжение повышается.
Для пробоя газа в
однородном поле характерны зависимости электрической прочности от плотности
газа и расстояния между электродами. Плотность газа прямо пропорциональна
давлению и обратно пропорциональна абсолютной температуре.
Литература
электропроводность диэлектрик
прочность электроизоляционный
1. А.П. Гуляев. Металловедение, М.: Металлургия, 1978.
. Филиков В.А. Конструкционные и электротехнические материалы -
М.: Высшая школа, 1990 г., с. 295.