Центр электронных технологий и технической диагностики технологических сред и твердотельных структур

  • Вид работы:
    Отчет по практике
  • Предмет:
    Информатика, ВТ, телекоммуникации
  • Язык:
    Русский
    ,
    Формат файла:
    MS Word
    356,75 Кб
  • Опубликовано:
    2013-08-07
Вы можете узнать стоимость помощи в написании студенческой работы.
Помощь в написании работы, которую точно примут!

Центр электронных технологий и технической диагностики технологических сред и твердотельных структур

ВВЕДЕНИЕ

Целью производственной практики является приобретение профессиональных навыков, закрепление и углубление теоретических навыков в области проектирования и технологии изготовления РЭС, применение полученных знаний при решении конкретных задач проектирования РЭС и технологических процессов их изготовления.

Содержание практики:

1  Приобретение трудовых навыков в соответствии со спецификой рабочего места техника - конструктора и техника - технолога.

2  Изучение организации работы проектно - конструкторских и технологических подразделений и их взаимосвязи.

3  Изучение современных конструкторских разработок деталей, сборочных единиц и блоков РЭС, а также базовых технологических процессов их изготовления.

4  Изучение современного технологического оборудования, оснастки, инструмента, специальной контрольной и испытательной аппаратуры, средств механизации и автоматизации технологических процессов.

5  Практическое освоение конструкторских и технологических САПР.

6  Изучение действующих на предприятии нормативно - технических документов (ГОСТ, ОСТ, СТП и т.д.).

7  Выполнение индивидуального задания по практике.

1. Организационная структура Центра 10.1

. Центр электронных технологий и технической диагностики технологических сред и твердотельных структур НИЧ УО «Белорусский государственный университет информатики и радиоэлектроники» создан в 2004 г.

Научный руководитель: академик НАН Беларуси, доктор технических наук, профессор Достанко Анатолий Павлович.

2  Штатный состав включает 7 человек, в том числе кандидатов технических наук - 3; научных сотрудников - 4.

3  Главные направления исследований:

- проведение научных исследований, измерений и разработок в области опто-, микро- и наноэлектронных технологий и технической диагностики технологических сред и твердотельных структур по заказам республиканских и международных (в том числе зарубежных) организаций, учреждений, предприятий и фондов по стандартам и согласованным с заказчиками методикам;

разработка новых и совершенствование имеющихся методов и методик теоретического и экспериментального моделирования, формирования и экспериментального исследования твердотельных опто-, микро- и наноструктур и новых материалов для них;

подготовка учебных и учебно-методических материалов для преподавания курсов по технологии оптики, микро- и наноструктур и технической диагностике технологических сред и твердотельных структур в вузах республики ближнего и дальнего зарубежья;

выполнение и координация фундаментальных и прикладных исследований в области опто-, микро- и наноэлектроники до 2005 года в рамках Межвузовской программы фундаментальных исследований «Наукоемкие технологии»; Государственной научно-технической программы «Приборостроение» по разделу «Техническая диагностика»; Государственной программы ориентированных фундаментальных исследований «Материал», с 2006 года ГППИ «Материалы в технике», ГПОФИ «Высокоэнергетические, ядерные и радиационные технологии», ГКПНИ «Кристаллические и молекулярные структуры», ГКПНИ «Фотоника», ГКПНИ «Инфотех», ГКПНИ «Современные технологии в медицине», ГКПНИ «Химические реагенты и материалы», ГКПНИ «Нанотех».

анализ элементного состава поверхности и локальных областей тонких пленок и слоев, исследование дефектообразования;

прецизионные микроскопические измерения линейных размеров в микронном и субмикронном диапазонах;

анализ молекулярного состава, толщин, оптических характеристик (коэффициент пропускания и поглощения) оптически прозрачных пленок, зеркал в видимом и ИК диапазонах.


2. ТЕХНОЛОГИИ ИОННО-ЛУЧЕВОГО И ИОННО-ПЛАЗМЕННОГО ФОРМИРОВАНИЯ ТОНКИХ ПЛЕНОК

В процессе прохождения практики особое внимание было уделено разработкам научно-исследовательской группы №2.

Поэтому в данном разделе будут рассмотрены основные направления деятельности отдела и представлен краткий обзор разработанных устройств.

В лаборатории ионно-плазменных процессов формирования тонких пленок проводятся работы в области исследования и разработки устройств и технологий ионно-плазменного формирования тонкопленочных слоев для оптики, микро-, оптоэлектроники и износостойких, защитно-декоративных тонкопленочных структур.

Направления деятельности лаборатории

·   Разработка ионных источников для процессов ионно-лучевого распыления, двойного ионно-лучевого распыления, ионно-асситированного нанесения слоев (IBAD)

·   Разработка магнетронных распылительных систем и несбалансированных магнетронных распылительных систем, в том числе для процессов магнетронного распыления при пониженном давлении

·   Процессы реактивного ионно-лучевого и магнетронного распыления

·   Процессы несбалансированного магнетронного распыления

·   Методы нейтрализации ионных пучков

·   Разработка процессов ионно-плазменного нанесения отражающих структур с высокой стойкостью параметров

·   Разработка составов и процессов нанесения high-K и low-K диэлектриков

·   Ионная полировка оптических деталей

В лаборатории разработан ряд ионно-лучевых и ионно-плазменных устройств для технологии формирования тонких пленок: двухлучевые ионные источники, распыляющие ионные источники, ионные источники для ионно-ассистированного нанесения слоев, магнетронные распылительные системы (МРС) и несбалансированные магнетронные распылительные системы (НМРС). Разработанные ионно-плазменные устройства имеют простую конструкцию, просты в применении и нечувствительны к загрязнению. Это позволяет использовать данные устройства, как для исследований, так и в промышленности.

В лаборатории разработаны технологии ионно-лучевого и ионно-плазменного формирования тонких пленок, такие как ионно-лучевое распыление, двойное ионно-лучевое распыление, ионно-асситированное нанесение (IBAD), реактивное магнетронное распыление, несбалансированное магнетронное распыление, различающиеся диапазонами энергий ионов, плотностями токов, рабочими давлениями, и т.д.

Разработанные ионно-плазменные устройства и технологии формирования тонких пленок были внедрены на ряде предприятий и в научно-исследовательских лабораториях Республики Беларусь, бывшего СССР и других стран.

Одним из направлений деятельности лаборатории является разработка, развитие и внедрение современных технологий нанесения тонких пленок различного функционального назначения.

В области интересов лаборатории:

·   технологии ионно-лучевого и ионно-плазменного нанесения многослойных структур для оптики и оптоэлектроники (пленки SiO2, ZnO, TiO2, Y2O3, Ta2O5, In2O3, AlN, Al2O3, ITO и т.д. и др.) на крупноформатные подложки;

·   технологии ионно-плазменного нанесения отражающих структур (лазерные зеркала с высокой стойкостью к лазерному излучению, ИК зеркала и тепловые экраны с высокой стойкостью параметров при воздействии повышенных температур и влаги);

·   технологии нанесения многослойных структур на основе тугоплавких соединений (TiB2, Si3N4, AlN, CrN, TiN, и т.д);

·   разработка процессов нанесения сверхтвердых покрытий на основе алмазоподобных пленок (DLC), кубического нитрида бора (с-BN), и нитрида углерода (b-C3N4) методами IBAD, несбалансированного магнетронного распыления и двойного ионно-лучевого распыления;

·   разработка составов и процессов нанесения high-K и low-K диэлектриков.

Далее представлен краткий обзор устройств, разработанных в лаборатории ионно-плазменных процессов формирования тонких пленок.

          Двухлучевой ионный источник на основе ускорителя с анодным слоем

Назначение Двухлучевой ионный источник (ДИИ) на основе ускорителя с анодным слоем предназначен для формирования тонких пленок металлов, полупроводников и диэлектриков методом ионно-лучевого распыления и реактивного ионно-лучевого распыления. ДИИ также применяется для ионной очистки поверхности подложек активации поверхности. Область применения Ионно-лучевое распыление Реактивное ионно-лучевое распыление Двойное ионно-лучевое распыление Предварительная ионная очистка поверхности Ионно-ассистированное нанесение слоев Формирование переходного слоя (ion mixing) Ионное травление Описание ДИИ имеет две отдельные ступени генерации ионных пучков и формирует два независимых ионных пучка, один из которых служит для распыления материала мишени, а второй для предварительной ионной очистки подложек и ионного ассистирования. Ионный источник позволяет распылять металлические, полупроводниковые и диэлектрические (SiO2, BN, графит, и т.д.) мишени. Для формирования многослойных структур в едином вакуумном цикле ионный источник может оснащаться вращаемым мишенедержателем с четырьмя мишенями из различных материалов. Использование смесей инертных и реактивных газов (кислород, азот, и т.д.) позволяет получать компонентные пленки при распылении металлических мишеней. ДИИ может быть изготовлен как круглой, так и протяженной геометрии. Конструкция ДИИ может быть выполнена для фланцевого или внутрикамерного размещения. Характеристики ионного источника с мишенью Æ 80 мм Распыляющая ступень: Анодное напряжение 450 - 6000 В Энергия ионов 300 - 2000 эВ Ток разряда до 300 мА Ток ионного пучка   до 250 мA Рабочее давление   0.01 - 0.06 Па Расход газа     до 40 мл/мин Рабочие газы Ar, O2, N2, CH4 и т.д. Скорость нанесения слоев до 0.8 нм/c Ассистирующая ступень: Анодное напряжение 450 - 3000 В (максимальное - 6000 В) Энергия ионов 300 - 1000 эВ (максимальная - 2000 эВ) Ток ионного пучка   до 120 мA Рабочее давление 0.01 - 0.06 Па Расход газа до 30 мл/мин Рабочие газы Ar, O2, N2, CH4 и т.д.

Магнетронная распылительная система несбалансированного типа МАС-80

Назначение Предназначена для нанесения слоев металлов и соединений методами магнетронного и реактивного магнетронного распыления в условиях ионного ассистирования. Описание В магнетронной распылительной системе несбалансированного типа МАС-80 основная магнитная система формирует сбалансированную конфигурацию магнитного поля на поверхности мишени. Дополнительный соленоид используется для управления распределением магнитного поля в области мишень - подложка. Эта конфигурация позволяет управлять плотностью ионного тока на подложку, и также отношением ион/атом на поверхности конденсации путем изменения уровня несбалансированности магнетрона. Характеристики (мишень Æ 80 мм): Напряжение разряда 300 - 600 В Ток разряда до 4.0 А; Рабочее давление 0.02 - 0.5 Па; Плотность тока подложки до 15 мA/cм2 Коэффициент несбалансированности (K) 1.0 - 8.0 Рабочие газы инертный или смесь инертного и реактивного (O2, N2, CxHy) газов Расход газа до 40 мл/мин; Размер мишени Æ 80 мм* * По требованию заказчика размер мишени может быть изменен в диапазоне от 60 до 160 мм.

Технология ионно-плазменного нанесения многослойных оптических покрытий с высокой стойкостью параметров

Назначение Технология предназначена для нанесения многослойных структур тонких пленок металлов, и соединений методами ионно-лучевого, магнетронного, реактивного ионно-лучевого, реактивного магнетронного распыления и непосредственного нанесения из пучка. Преимущества Возможность нанесения многослойных структур в едином вакуумном цикле; Возможность нанесения слоев металлов, полупроводников и диэлектриков; Возможность нанесения компонентных слоев с сохранением стехиометрии; Возможность нанесения слоев на различные подложки, включая полимеры; Повышение адгезии слоев к подложке и межслойной адгезии за счет применения технологии ионного перемешивания (ion mixing) и ионной очистки; Высокая управляемость характеристиками наносимых слоев. Применение Изготовление лазерных зеркал с высокой стойкостью к лазерному излучению Изготовление оптических фильтров с высокими трибологическими свойствами Изготовление ИК зеркал и тепловых экранов с высокой стойкостью параметров при воздействии повышенных температур и влаги. Характеристики Пленкообразующие материалы Al, Cu, Ag, Ti, In, Ta, Si, TiO2, SiO2, AlN, In2O3, Ta2O5, Al2O3, и др. Количество различных слоев, наносимых в едином вакуумном цикле до 4 Размеры подложки до 500 мм Количество одновременно обрабатываемы подложек 60´48 мм до 200 шт

DC-RF исследовательская Магнетронная распылительная система

Назначение Предназначена для нанесения слоев диэлектриков и сегнетоэлектриков и им подобных соединений методами магнетронного, реактивного ВЧ, импульсного магнетронного распыления и распыления на постоянном токе. Описание В данной магнетронной распылительной системе используются мишени диаметром 36 мм. Использование мишеней такого размера позволяет минимизировать затраты на проведение научных исследований за счет стоимости распыляемых материалов, аппаратуры питания и использования малогабаритных вакуумных постов. Характеристики (мишень Æ36 мм): Напряжение разряда 300 - 600 В Ток разряда до 1.0 А; Рабочее давление 0.02 - 0.5 Па; Плотность тока подложки до 5 мA/cм2 Рабочие газы инертный или смесь инертного и реактивного (O2, N2, CxHy) газов Расход газа 60 мл/мин; Размер мишени Æ 36 мм* * Размер мишени может быть увеличен 160 мм.


3. МАГНЕТРОННАЯ РАСПЫЛИТЕЛЬНАЯ СИСТЕМА. ИЗУЧЕНИЕ КОНСТРУКЦИИ И ПРИНЦИПА ДЕЙСТВИЯ

В настоящее время получение высококачественных тонкопленочных слоев металлов, сплавов, диэлектриков и полупроводников является одной из актуальных задач технологии. Несмотря на то, что производство тонких пленок располагает широким и разносторонним выбором методов и технических средств, применение существующих разработок не всегда может в полной мере удовлетворить требованиям.

Одним из путей уменьшения недостатков присущих ионно-лучевым (малая скорость) и магнетронным (сравнительно высокое давление) распылительным системам является создание интегрированной системы распыления, которая объединяет их достоинства и позволяет обеспечить получение тонких плёнок с высокой адгезией, малым уровнем загрязнений и с высокой скоростью осаждения.

Магнетронным распылительным системам присущи определённые недостатки. В первую очередь к ним следует отнести сравнительно высокое рабочее давление в камере, что отрицательно сказывается на уровне загрязнений получаемого покрытия посторонними газовыми включениями.

Метод ионно-лучевого распыления, проводимый при меньшем давлении, чем магнетронное, вносит меньший уровень газовых включений в формируемые плёнки. С точки зрения получения высокоадгезионных покрытий, ионные методы формирования плёнок доказали свое бесспорное преимущество, в результате чего получили развитие применительно к получению защитных, износостойких, оптических покрытий и, в силу своих особенностей являются одними из наиболее предпочтительных. Этот метод, как и магнетронное распыление, позволяет проводить и реактивное ионное распыление. Однако он не обеспечивает высоких скоростей осаждения (примерно на порядок меньше, чем у магнетронных распылительных систем).

Как правило, магнетронные распылительные системы работоспособны в диапазоне давлений от 10-1 до 1 Па и выше. Важнейшими параметрами, во многом определяющими характер разряда в МРС, являются геометрия и величина магнитного поля, от индукции которого у поверхности мишени во многом зависит рабочее давление. В работе было установлено, что интенсивность разряда МРС растет с увеличением напряженности электрического поля и индукции магнитного поля на поверхности мишени.

В результате замагничивания электронов резко увеличивается интенсивность электрон - атомного взаимодействия, и как следствие, возрастает степень ионизации плазмы и плотность ионного тока. Таким образом, эффект наложения магнитного поля эквивалентен увеличению давления газа. Эквивалентное давление определяется по формуле:

 = po(wete+1)                                                                                (3.1)

где po - рабочее давление;

te - время между столкновениями электрона с атомами рабочего газа;

we - циклотронная частота электрона.

Ионизированные атомы под действием электрического поля ускоряются и бомбардируют поверхность мишени.

С уменьшением давления ВАХ сдвигаются в область больших рабочих напряжений. Аналогичное влияние оказывает увеличение магнитной индукции. Поскольку при низком давлении разряд в МРС поддерживается в основном за счет вторичных электронов, эмитируемых с мишени в результате ионной бомбардировки, то на ВАХ большое влияние оказывает материал мишени.

Существует несколько путей формирования разряда низкого давления в магнетронных распылительных системах.

Одним из путей является ограничение области газового разряда магнитным полем. В этом случае предотвращение попадания силовых линий за края мишени может быть осуществлено оптимизацией распределения магнитного поля использованием дополнительного источника магнитного поля в периферийной области разряда. Предотвращение попадания линий магнитного поля за края мишени препятствует уходу электронов из разрядной зоны в плоскости мишени. Подобное ограничение разряда в МРС управляется величиной и конфигурацией силовых линий, формируемого дополнительным источником магнитного поля (Рисунок 4.1). Такие конструкции называются МРС низкого давления несбалансированного типа, где оптимизация распределения B-поля может быть выполнена двумя электромагнитами, постоянными магнитами или комбинацией из электромагнитов и постоянных магнитов. Несбалансированный магнетрон низкого давления может работать при давлениях до 10-2 Па с довольно большими токами разряда в диапазоне от 0.1 А до нескольких ампер для магнетрона с мишенью диаметра 100 мм.

Рисунок 3.1 - Конфигурация магнитного поля

Однако наряду с положительным эффектом подобная конфигурация магнитного поля в такой системе может уменьшить время нахождения определенной части электронов в разрядной области и, соответственно, уменьшить вероятность ионизационных столкновений. Таким образом, одной из задач, которые необходимо решать в процессе проектирования интегрированной магнетронной распылительной системы является получение наилучшей конфигурации магнитного поля, при которой баланс этих процессов носит положительный характер.

Полученные условия хорошо согласуются с модельным описанием процесса ионообразования в МРС и послужили основой к проектированию высоковакуумных МРС.

Для проектирования высоковакуумных магнетронных распылительных систем необходима разработка интегрированной МРС с индукцией магнитного поля у поверхности мишени порядка не менее 0,07 Тл.

При проектировании высоковакуумных магнетронных распылительных систем необходимо принимать во внимание и другие факторы:

величину охлаждения магнитной системы и мишени для достижения условия непрерывной работы в течение длительного периода времени при подведении максимальной планируемой мощности;

равномерность условий создания разряда в скрещенных E ^ H полях вдоль все го замкнутого контура рабочей зоны;

обеспечение необходимого давления в зоне распыления за счет дифференцированной подачи газа в квазизамкнутый объем разрядной камеры. На рисунке 3.2 представлено схематическое изображение ионно-лучевого источника, который будет базой для создания интегрированной магнетронной распылительной системы.

Рисунок 3.2 - Конструкция исходного ионно-лучевого источника на основе ускорителей с анодным слоем

Изучаемая конструкция интегрированного распылительного оборудования предназначена для монтажа на экспериментальную установку, изготовленную на основе базового вакуумного поста ВУ - 2 МП. Вакуумная установка имеет камеру, оборудованную четырьмя фланцами. Фланцы размещены попарно, одна пара на верхней крышке камеры, а вторая пара на противоположных стенках камеры напротив друг друга. На этих фланцах крепятся распылительные системы. Питание электромагнитов систем осуществляется от двух стабилизированных (для каждого в отдельности) источников постоянного тока ТЕС - 5010. Для питания ионно-лучевого источника применяется высоковольтный блок питания с максимальным выходным напряжением 6.0 КВ и максимальным выходным током 0.5 А. Максимальное выходное напряжение блока питания магнетрона - 1000 В и ток до 5 А. Блок питания магнетрона содержит дугогасящий элемент для подавления дуг, возникающих в процессе работы, и для облегчения режима работы самого блока питания.

Перед процессом распыления камера вакуумной установки откачивалась до остаточного давления 10-3 Па. Рабочий газ (Ar), необходимый для работы интегрированных магнетронной распылительной системы и ионного источника, подавался непосредственно в ионный источник при общем давлении в камере 2´10-2¸6´10-2 Па. Подложки располагались на вращающейся карусели.

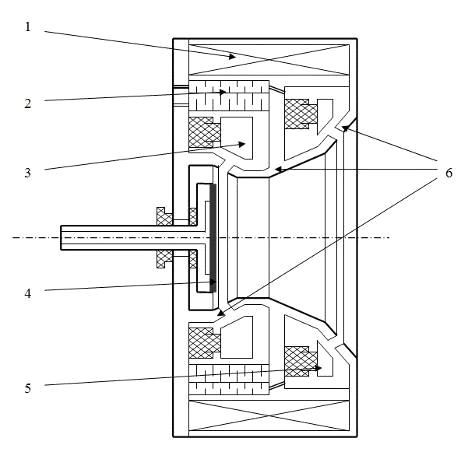
Конструкция интегрированной распылительной системы, позволяет объединить в одном устройстве достоинства двух типов распылительных систем: ионно-лучевой и магнетронной. Общий вид конструкции интегрированной магнетронной распылительной системы представлена на рисунке 3.3, на рисунке 3.4 показано ее устройство.

лучевой ионный плазменный магнетронный

Рисунок 3.3 - Общий вид конструкции интегрированной магнетронной распылительной системы

Рисунок 3.4 - Конструкция интегрированной магнетронной распылительной системы

Мишень 1 крепится прижимом 2 с винтами к мишенедержателю 3, в конструкции которого предусмотрена полость для циркуляции жидкости (система охлаждения). В качестве охлаждающей жидкости будем использовать воду. Ее подача и удаление буде производиться при помощи системы трубок. Герметичность системы охлаждения будет обеспечиваться при помощи прокладок и резьбовых соединений. В качестве бокового магнитопровода используется основание ионного источника 6. Центральный магнитопровод 4 изолирован от мишенедержателя трубками и угловыми изоляторами из фторопласта. Напряжение на обмотку центрального соленоида 5 поступает через токовводы 10, изолированные от основания. В местах крепления магнетрона к основанию установлены изоляторы. Основными элементами ионного источника являются соленоид 7, анод 8 и магнитопроводы 9.

Для упрощения операции сборки магнетрона и замены мишеней предусмотрена возможность частичной разборки. Для установки либо замены мишени достаточно снять прижим. Разрабатываемый магнетрон предназначен для распыления мишеней диаметром 80 мм и толщиной 5-7 мм.

4. Нормативно-техническая документация

В ходе преддипломной практики были рассмотрены нормативно- технические документы, используемые при написании диплома исследовательского типа. Основными из них являются следующие:

ГОСТ 7.32-2001. Структура и правила оформления отчета о научно-исследовательской работе.

ГОСТ 3.1201-85, в котором рассмотрено правильное обозначение технологической документации.

ГОСТ 2.106-96 Единая система конструкторской документации. Общие требования к текстовым документам.

ГОСТ 8.417-81 Государственная система обеспечения единства измерений. Единицы физических величин.

ГОСТ 15.011-82 Система разработки и постановки продукции на производство. Порядок проведения патентных исследований.

ГОСТ 2.102-68, где перечислена номенклатура конструкторских документов.

ГОСТ 2.103-68, где установлены стадии разработки КД.

4.1 Оформление текстовых документов

Весьма важным видом технической документации являются текстовые документы. К ним относятся различные инструкции, технические условия и описания, документы ремонтные и эксплуатационные, пояснительные записки (ПЗ) и т.п. Общие правила оформления текстовых документов регламентированы ГОСТ 2.105-95. В соответствии с требованиями стандартов их выполняют по формам 5 и 5а. Основную надпись и дополнительные графы к ней выполняют по ГОСТ 2.104-68. В дипломных и курсовых проектах допускается пояснительную записку (ПЗ) выполнять на обычных листах формата А4 с соблюдением требований ГОСТ 2.105-95.

ПЗ как правило выполняется с применением печатающих и графических устройств вывода ЭВМ (ГОСТ 2.004-88 ЕСКД). Текст ПЗ печатается с количеством знаков в строке 60-75, с межстрочным интервалом, позволяющим разместить 40±3 строк на странице. При компьютерном наборе печать производится шрифтом 13-14 пунктов. Высота строчных букв, не имеющих выступающих элементов, должна быть не менее 2 мм. Разрешается использовать компьютерные возможности акцентирования внимания на определениях, важных особенностях, применяя шрифты разной гарнитуры, выделение с помощью рамок, разрядки, курсива, подчеркивания и пр.

Текст ПЗ следует размещать на листе, соблюдая следующие размеры полей: левое - не менее 30 мм, правое - не менее 10 мм, верхнее - не менее 15 мм, нижнее - не менее 20 мм.

Текст ПЗ можно излагать на русском или белорусском языках. Сокращение русских и белорусских слов и словосочетаний в записке - по СТБ 7.12 - 94. В тексте ПЗ, за исключением формул, таблиц и рисунков, не допускается применять:

математический знак минус (-) перед отрицательными значениями величин (следует писать слово “минус”);

- знак “ЖЖ” для обозначения диаметра (следует писать слово “диаметр”). В виде исключения, при указании размера диаметра на чертежах, помещенных в тексте документа, перед размерным числом следует писать знак “ЖЖ”;

без числовых значений математические знаки, например > (больше), < (меньше), = (равно), іі (больше или равно), ЈЈ (меньше или равно), №№ (не равно), а также знаки № (номер), % (процент).

В ПЗ следует применять стандартизованные единицы физических величин, их наименования и обозначения в соответствии с ГОСТ 8.417-81.

Дробные числа необходимо приводить в виде десятичных дробей, за исключением размеров в дюймах, которые следует записывать, например, 1/2" .

Иллюстрации, таблицы и распечатки ЭВМ, включенные в ПЗ (по тексту или в приложении), должны соответствовать формату А4. Допускается представлять иллюстрации, таблицы и распечатки с ЭВМ на листах формата А3.Абзацы в тексте начинаются отступом, равным 10-13 мм.

Разделы должны иметь заголовки. Подразделы могут иметь заголовки при необходимости. Пункты, как правило, заголовков не имеют.

Заголовки следует писать с абзацного отступа с прописной буквы без точки в конце, не подчеркивая. Если заголовок состоит из двух предложений, их разделяют точкой. Перенос слов в заголовках не допускается.

Расстояние между заголовком (за исключением заголовка пункта) и текстом должно составлять 2-3 строки. Если между двумя заголовками текст отсутствует, то расстояние между ними устанавливается в 1,5-2 строки. Расстояние между заголовком и текстом, после которого заголовок следует, рекомендуется делать несколько больше, чем расстояние между заголовком и текстом, к которому он относится.

Разделы должны иметь порядковые номера в пределах всей записки, обозначенные арабскими цифрами без точки и записанные с абзацного отступа. Подразделы должны иметь нумерацию в пределах каждого раздела. Номер подраздела состоит из номеров раздела и подраздела, разделенных точкой. В конце номера подраздела точки не ставится. Разделы, как и подразделы, могут состоять из одного или нескольких пунктов. Если раздел или подраздел имеют только один пункт или пункт имеет один подпункт, то нумеровать его не следует.

Если ПЗ не имеет подразделов, то нумерация пунктов в нем должна быть в пределах каждого раздела и номер пункта должен состоять из номеров раздела и пункта, разделенных точкой. В конце номера пункта точка не ставится.

Если записка имеет подразделы, то нумерация пунктов должна быть в пределах подраздела и номер пункта должен состоять из номеров раздела, подраздела и пункта, разделенных точками.

Если текст ПЗ подразделяется только на пункты, они нумеруются порядковыми номерами в пределах документа.

Пункты, при необходимости, могут быть разбиты на подпункты, которые должны иметь порядковую нумерацию в пределах каждого пункта.

Внутри пунктов или подпунктов могут быть приведены перечисления.

Перед каждой позицией перечисления следует ставить дефис или при необходимости ссылки в тексте документа на одно из перечислений - строчную букву, после которой ставится скобка. Для дальнейшей детализации перечислений необходимо использовать арабские цифры, после которых ставится скобка, а запись производится с абзацного отступа.

Страницы нумеруются арабскими цифрами в правом верхнем углу, начиная с титульного листа, соблюдая сквозную нумерацию по всему тексту записки (ГОСТ 2.105-95), либо в центре нижней части листа без точки (ГОСТ 7.32-2001). Номер страницы на титульном листе, аннотации и задании не ставится.

Количество иллюстраций должно быть достаточным для пояснения излагаемого текста. Иллюстрации могут быть расположены как по тексту ПЗ (возможно ближе к соответствующим частям текста), так и в конце его. Иллюстрации должны быть выполнены в соответствии с требованиями стандартов ЕСКД. Иллюстрации, за исключением приложений, следует нумеровать арабскими цифрами сквозной нумерацией. Если рисунок один, то он обозначается “Рисунок 1”.

Допускается нумеровать иллюстрации в пределах раздела. В этом случае номер иллюстрации состоит из номера раздела и порядкового номера иллюстрации, разделенных точкой. Например - Рисунок 1.2.

Иллюстрации каждого приложения обозначают отдельной нумерацией арабскими цифрами с добавлением перед цифрой обозначения приложения. Например - Рисунок В.3.

Иллюстрации, при необходимости, могут иметь наименование и пояснительные данные (подрисуночный текст). Слово “Рисунок” и наименование помещают после пояснительных данных по центру строки.

Оформление таблиц в ПЗ - по ГОСТ 2.105-95.

Таблицы применяют для лучшей наглядности и удобства сравнения показателей. Цифровой материал, как правило, оформляют в виде таблиц.

Таблицы, за исключением таблиц приложений, следует нумеровать арабскими цифрами сквозной нумерацией. Допускается нумеровать таблицы в пределах раздела.

Таблицы каждого приложения обозначают отдельной нумерацией арабскими цифрами с добавлением перед цифрой обозначения приложения. Пример - Таблица А.2.

На все таблицы должны быть даны ссылки в тексте ПЗ, при ссылке следует писать “таблица” с указанием ее номера.

Заголовки граф и строк таблицы следует писать с прописной буквы, а подзаголовки граф - со строчной буквы, если они составляют одно предложение с заголовком, или с прописной буквы, если они имеют самостоятельное значение. В конце заголовков и подзаголовков таблиц точки не ставят. Заголовки и подзаголовки граф указывают в единственном числе.

Таблицу, в зависимости от ее размера, помещают под текстом, в котором впервые дана на нее ссылка, или на следующей странице, а при необходимости - в приложении к записке.

Заменять кавычками повторяющиеся в таблице цифры, математические знаки, знаки процента и номера, обозначения марок материалов и типоразмеров изделий, обозначения нормативных документов не допускается.

В формулах в качестве символов следует применять обозначения, установленные соответствующими государственными стандартами. Пояснения символов и числовых коэффициентов, входящих в формулу, если они не пояснены ранее в тексте, должны быть приведены непосредственно под формулой. Пояснения каждого символа следует давать с новой строки в той последовательности, в которой символы приведены в формуле. Первая строка пояснения должна начинаться со слова “где” без двоеточия после него.

Формулы, за исключением формул, помещаемых в приложении, должны нумероваться сквозной нумерацией арабскими цифрами, которые записывают на уровне формулы справа в круглых скобках. Одну формулу обозначают (1). Допускается нумеровать формулы в пределах раздела.

Формулы, помещаемые в приложениях, должны нумероваться отдельной нумерацией арабскими цифрами в пределах каждого приложения с добавлением перед каждой цифрой обозначения приложения, например, формула (В.1).

Каждое приложение следует начинать с новой страницы с указанием вверху посредине страницы слова “Приложение” и его обозначения, а под ним в скобках для обязательного приложения пишут слово “обязательное”, а для информационного - “рекомендуемое” или “справочное”.

Приложение должно иметь заголовок, который записывают симметрично относительно текста с прописной буквы отдельной строкой.

Приложения выполняют на листах формата А4. Допускается оформлять приложения на листах форматов А3, А4ґґ3, А4ґґ4, А2 и А1 по ГОСТ 2.301-68.

Список использованных источников должен содержать перечень источников, использованных при выполнении курсового или дипломного проекта. Источники располагаются в порядке появления ссылок в тексте. Сведения об источниках должны даваться в соответствии с требованиями ГОСТ 7.1-84, ГОСТ 7.12-93, ГОСТ 7.4-95, СТБ 7.12-2001, ГОСТ 7.82-2001, ГОСТ 7.83-2001.

В ссылке допускается сокращать названия журналов, издательств, мест изданий в соответствии с правилами, приведенными в ГОСТ 7.12-93; 7.11-78.

В ПЗ после аннотации помещают содержание, включающее номера и наименования разделов и подразделов с указанием номеров страниц.

Слово "Содержание" записывают в виде заголовка (симметрично тексту) прописными буквами. Наименования, включенные в содержание, записывают строчными буквами, начиная с прописной буквы.

4.2 Общие правила оформления технологических документов

Технологическая документация разрабатывается в виде комплекта документов. Виды технологических документов устанавливает ГОСТ 3.1102-81, состав, формы и правила оформления информационных блоков основной надписи - ГОСТ 3.1103-82, общие требования к документам, формам и бланкам - ГОСТ 3.1104-81, термины и определения основных понятий - ГОСТ 3.1109-82.

При составлении любого технологического документа обязательно указывают его назначение, область применения, список лиц, участвующих в оформлении документа, и другие сведения.

Каждому разработанному технологическому документу присваивается самостоятельное обозначение. Согласно ГОСТ 3.1201-85, установлена следующая структура обозначения документа:


Четырехзначный буквенный код организации-разработчика присваивается по классификатору предприятий и организаций. В учебных целях для курсовых проектов рекомендуется назначать код КПКП, для дипломного проекта - ДПКП.

Код характеристики документа расшифровывается следующим образом:

Порядковый регистрационный номер присваивают по классификационной характеристике от 00001 до 99999 в пределах кода организации-разработчика или организации, осуществляющей централизованное присвоение.

Операции нумеруют числами ряда арифметической прогрессии (5, 10, 15 и т.д.). Допускается к числам добавлять слева нули. Переходы нумеруют числами натурального ряда (1, 2, 3 и т.д.) в пределах данной операции. Установы нумеруют прописными буквами русского алфавита (А, Б, В и т.д.).

Допускается применять сокращенную запись наименований и обозначений, если в документе записаны коды или полные наименования и обозначения этих данных. При применении инструмента одного кода и наименования в разных переходах одной операции, не следующих друг за другом, в переходе, где впервые был применен данный инструмент, допускается указывать номера последующих переходов, например "ШЦ 11-250-0,05 (для переходов 3, 5, 8)". При этом, записывая соответствующую информацию в этих переходах, дают ссылку, например, "см. переход 1".

ЗАКЛЮЧЕНИЕ

В ходе прохождения производственной практики я ознакомилась со структурной организацией «Центра электронных технологий и технической диагностики технологических сред и твердотельных структур», где выполняются научно-исследовательские работы по ионно-лучевой, ионно-плазменной, плазмохимической, фотонной и электромагнитной обработке материалов и изделий электронной техники.

Изучила основные направления работы Лаборатории ионно-плазменных процессов формирования тонких пленок, где проводятся работы в области исследования и разработки устройств и технологий ионно-плазменного формирования тонкопленочных слоев для оптики, микро-, оптоэлектроники и износостойких, защитно-декоративных тонкопленочных структур. Получила возможность ознакомиться с рядом устройств, разработанных в данной лаборатории: ионно-лучевыми и ионно-плазменными аппаратами для технологии формирования тонких пленок: двухлучевыми ионными источниками, распыляющими ионные источники, ионными источниками для ионно-ассистированного нанесения слоев, магнетронными распылительными системами (МРС) и несбалансированными магнетронными распылительными системами (НМРС). Ознакомилась с нормативно-техническими документами, действующими в Центре.

Производственная практика позволила закрепить знания, полученные на протяжении обучения в университете.

ЛИТЕРАТУРА

1. Данилин Б. С. Вакуумная техника в производстве интегральных схем М.: Энергия, 1972.

2. Данилин Б. С., Сырчин В. К. Магнетронные распылительные системы -М.: Радио и связь, 1982.- 72 с., ил.

3. Достанко А.П., Бордусов С.В., Свадковский И.В. и др. Плазменные процессы в производстве изделий электронной техники. В 3-х т. Том 2; Под общ. ред. А. П. Достанко. - Минск: ФУАинформ, 2001 - 244 с.

Похожие работы на - Центр электронных технологий и технической диагностики технологических сред и твердотельных структур

 

Не нашли материал для своей работы?
Поможем написать уникальную работу
Без плагиата!
Без нейросетей!